СТРОИТЕЛЬНЫЕ НОРМЫ И ПРАВИЛА
ПОДЗЕМНЫЕ ХРАНИЛИЩА НЕФТИ, НЕФТЕПРОДУКТОВ И СЖИЖЕННЫХ ГАЗОВ
СНиП 2.11.04-85
ГОССТРОЙ СССР
Москва 1988
СОДЕРЖАНИЕ
РАЗРАБОТАНЫ ВНИИпромгазом Мингазпрома (д-р техн. наук, проф. В.А. Мазуров, В.А. Грохотов, канд. техн. наук В.И. Смирнов - руководители темы; Ю.А. Берестянский, канд. техн. наук Ю.С. Васюта, канд. геол.-минералог. Наук П.И. Калашников, канд. физ.-мат. Наук Л.Н. Кислер; А.Г. Никишова; канд. техн. наук А.Г. Поздняков; Т.Н. Самолаева, кандидаты техн. наук Л.К. Сильвестров, Т.В. Скосарева, В.Б. Сохренский, Е.М. Шафаренко; В.П. Шустров) с участием ПНИИИСа Госстроя СССР (канд. техн. наук Р.М. Саркисян).
ВНЕСЕНЫ Мингазпромом.
ПОДГОТОВЛЕНЫ К УТВЕРЖДЕНИЮ Главтехнормированием Госстроя СССР (И.В. Сессин, В.П. Бовбель).
С введением в действием СНиП 2.11.04-85 «Подземные хранилища нефти, нефтепродуктов и сжиженных газов» утрачивают силу: «Временные указания по проектированию подземных хранилищ в устойчивых горных породах (для светлых нефтепродуктов и сжиженных газов)» - СН 310-65; «Временные указания по проектированию и строительству подземных хранилищ в отложениях каменной соли (для нефти, нефтепродуктов и сжиженных газов)» - СН 320-65; «Инструкция по проектированию подземных низкотемпературных хранилищ сжиженных углеводородных газов» - СН 486-76; «Инструкция по проектированию и строительству подземных хранилищ светлых нефтепродуктов и газового конденсата в вечномерзлых грунтах» - СН 315-81.
При пользовании нормативным документом следует учитывать утвержденные изменения строительных норм и правил и государственных стандартов, публикуемые в журнале «Бюллетень строительной техники», «Сборнике изменений к строительным нормам и правилам» Госстроя СССР и информационном указателе «Государственные стандарты СССР» Госстандарта.
|
Госстрой ссср |
Строительные нормы и правила |
СНиП 2.11.04-85 |
|
Подземные хранилища нефти, нефтепродуктов и сжиженных газов |
Взамен СН 310-65, СН 320-65, СН 486-76, СН 315-81 |
Настоящие нормы распространяются на проектирование новых, расширяемых и реконструируемых подземных хранилищ нефти, нефтепродуктов и сжиженных углеводородных газов (СУГ), сооружаемых геотехнологическими и горными способами в непроницаемых для этих продуктов массивах горных пород.
Настоящие нормы не распространяются на проектирование хранилищ с подземными резервуарами:
металлическими и железобетонными;
низкотемпературными ледопородными для нормального бутана;
для сжатых газов;
сооружаемыми методами камуфлетных взрывов;
используемыми в качестве технологических аппаратов.
1.1. В состав подземных хранилищ входят: подземный комплекс, включающий подземные резервуары (выработки-емкости), вскрывающие и вспомогательные горные выработки, буровые скважины; наземный комплекс, состоящий из наземных технологических сооружений, производственных и административных зданий, инженерных коммуникаций и других сооружений, а также подземные или наземные рассолохранилища.
1.2. Подземные резервуары, входящие в состав подземного комплекса хранилищ, подразделяются на следующие типы:
бесшахтные, сооружаемые через буровые скважины геотехнологическим способом в каменной соли или вечномерзлых горных породах;
шахтные, сооружаемые горным способом в породах с положительной температурой и в вечномерзлых горных породах;
траншейные, сооружаемые открытым способом в вечномерзлых горных породах;
низкотемпературные ледопородные, сооружаемые открытым способом в искусственно замороженных горных породах.
1.3. Подземные бесшахтные резервуары, сооружаемые в каменной соли, и шахтные резервуары, сооружаемые горным способом в породах с положительной температурой, следует предусматривать для хранения нефти, светлых и темных нефтепродуктов и СУГ. Сроки хранения светлых нефтепродуктов в подземных резервуарах, сооруженных в каменной соли, допускается определять согласно рекомендуемому приложению 1.
Подземные резервуары всех типов, сооружаемые в вечномерзлых горных породах, следует предусматривать для хранения нефтепродуктов и нефти с вязкостью не более 15 мПа.с (15 сП) при температуре минус 10 С, а бесшахтные резервуары - также для хранения СУГ.
Подземные низкотемпературные ледопородные резервуары, сооружаемые в искусственно замороженных горных породах, следует предусматривать для хранения пропана, пропилена при давлении насыщенных паров газа от 1,02.105 до 1,05.105 Па (от 765 до 788 мм рт. ст.) и соответствующей этому давлению температуре кипения.
1.4. Герметичность подземных резервуаров следует определять согласно ВСН 515-85, утвержденным Мингазпромом.
1.5. Подземные резервуары следует размещать в специально сооруженных или образовавшихся при добыче полезного ископаемого и проведении других горных работ выработках с учетом требований охраны недр.
1.6. Проектирование подземных хранилищ, в том числе выбор типа резервуаров, следует выполнять на основании результатов инженерно-геологических изысканий и обследования существующих горных выработок. Объем этих работ для проектирования конкретных объектов должен определяться проектной организацией в зависимости от степени изученности района строительства. При этом на площадке одного подземного хранилища допускается располагать резервуары нескольких типов.
1.7. При размещении подземного хранилища вблизи или на территории горного отвода предприятия по добыче полезных ископаемых следует предусматривать охранные целики, обеспечивающие сохранность подземных и наземных сооружений хранилища. Размеры охранных целиков следует определять расчетом в соответствии с требованиями СНиП II-8-78.
1.8. Земельные участки для строительства подземных хранилищ следует выбирать в соответствии с требованиями Основ земельного законодательства Союза ССР и союзных республик с учетом требований охраны окружающей среды и другого действующего законодательства по этому вопросу.
|
Внесены Министерством газовой промышленности |
Утверждены постановлением Государственного комитета СССР по делам строительства от 18 декабря 1985 г. №235 |
Срок введения в действие 1 января 1987 г. |
1.9. Объемно-планировочные схемы подземных хранилищ должны обеспечивать наилучшее использование вмещающей толщи горных пород (максимальное использование мощности и минимальное - площади), а также минимально возможный объем и протяженность вскрывающих и вспомогательных выработок.
Выбор объемно-планировочных схем подземных хранилищ должен производиться с учетом:
горногеологических условий места строительства;
назначения хранилища;
заданной вместимости хранилища; ассортимента предназначенных к хранению продуктов и их объемного соотношения;
типа и количества основного технологического оборудования (продуктовые насосы, трубопроводы, контрольно-измерительные приборы и др.) ;
характера хранимых продуктов (жидкие, вязкие и др.);
давления паровой фазы в резервуарах; температуры хранения продуктов; принятой технологии сооружения резервуара.
1.10. Конструкция скважин подземных резервуаров должна исключать возможность утечки продукта в водоносные горизонты в случае пересечения их указанными скважинами (промежуточные обсадные колонны, сварные соединения, прошедшие контроль неразрушающими физическими методами и пр.) .
1.11. Для контроля за режимом водоносных горизонтов, содержащих пресные воды, пригодные для хозяйственно-питьевого водоснабжения, и лечебные воды, в проекте следует предусматривать гидронаблюдательные скважины на площадке размещения подземных резервуаров, сооружаемых через буровые скважины геотехнологическим способом в каменной соли и горным способом в породах с положительной температурой. Гидронаблюдательные скважины должны быть пробурены, оборудованы и опробованы до начала сооружения подземных резервуаров. Число скважин, их глубины, конструкция и схема размещения определяются проектом.
1.12. Здания и сооружения наземного комплекса подземных хранилищ для нефти, нефтепродуктов и СУГ следует проектировать в соответствии с требованиями СНиП II-106-79, СНиП II-37-76, СНиП II-60-75* СНиП 2.03.11-85, СНиП II-2-80, СНиП II-90-81, СНиП II-92-76. СНиП II-91-77, СН 433-79, СН 245-71 и других нормативных документов, утвержденных в установленном порядке.
2.1. Подземные хранилища для нефти и нефтепродуктов следует размещать в соответствии с требованиями СНиП II-106-79, а для СУГ - с требованиями СНиП II-37-76.
Подземные резервуары необходимо располагать за пределами II пояса зон санитарной охраны действующих и проектируемых подземных и поверхностных источников водоснабжения с учетом перспектив их развития.
2.2. Минимальные расстояния от оголовков скважин, стволов, эксплуатационных колодцев подземных резервуаров всех типов, предназначенных для хранения нефти и нефтепродуктов, кровля которых размещена на глубине, превышающей два максимальных пролета (ширину, диаметр) выработки, до зданий и сооружений, не относящихся к хранилищу, и других объектов, а также до зданий и сооружений подземного хранилища следует принимать в соответствии с требованиями СНиП II-106-79.
2.3. Минимальные расстояния от оголовков скважин, стволов, эксплуатационных колодцев подземных резервуаров всех типов, предназначенных для хранения СУГ, до зданий и сооружений, не относящихся к хранилищу, и других объектов следует принимать по табл. 1, а до зданий и сооружений наземного комплекса подземных хранилищ - по табл. 2.
Расстояния от зданий и сооружений наземного комплекса, не приведенные в табл. 1 и 2, до зданий, сооружений и других объектов (относящихся и не относящихся к подземным хранилищам СУГ) следует принимать в соответствии с требованиями СНиП II-37-76.
2.4. Расстояние от трубы свечи для сжигания газа до зданий и сооружений любой категории по взрыво - и пожароопасности следует принимать не менее 100 м.
2.5. Для подземных хранилищ независимо от их вместимости следует предусматривать два выезда на автомобильные дороги общей сети или на подъездные пути хранилища.
2.6. Оголовки технологических скважин, шахтных стволов и эксплуатационных колодцев подземных резервуаров, а также низкотемпературные ледопородные резервуары СУГ должны иметь ограждения из негорючих материалов высотой не менее 2 м. Размер ограждаемого участка следует назначать из условия возможности проведения ремонтных работ (монтаж и демонтаж оголовков и коммуникаций, спуск и подъем труб и т. д.) .
Ограждение оголовков скважин бесшахтных подземных резервуаров в каменной соли в зависимости от соотношения площадей ограждения и обвалования допускается размещать как внутри обвалованной площади, так и вне -его.
2.7. Площадка, на которой предусматривается размещение подземных резервуаров в вечномерзлых породах, должна быть надежно защищена от временных поверхностных водотоков искусственными сооружениями (обвалования, водоотводы).
2.8. На площадке размещения подземных резервуаров следует предусматривать закладку реперов для наблюдения за смещением земной поверхности в зоне влияния подземных выработок.
2.9. Минимальные расстояния от низкотемпературных ледопородных до металлических резервуаров СУГ следует принимать по табл. 3.
Таблица I
|
Здания и сооружения |
Расстояние, м |
||
|
от оголовков скважин бесшахтных резервуаров (в каменной соли) |
от ледопородных низкотемпературных резервуаров; оголовков стволов, скважин бесшахтных (в вечномерзлых породах) и шахтных (в породах с положительной температурой) резервуаров вместимостью |
||
|
до50 тыс. м3 |
св. 50 тыс. м3 |
||
|
Общественные здания |
500 |
300 |
500 |
|
Жилые здания |
300 |
250 |
300 |
|
Здания и сооружения соседних предприятий |
250 |
200 |
250 |
|
Лесные массивы: |
|
|
|
|
а) хвойных пород |
100 |
50 |
50 |
|
б) лиственных пород |
30 |
20 |
30 |
|
Железные дороги: |
|
|
|
|
а) станции |
500 |
300 |
500 |
|
б) разъезды и платформы |
100 |
60 |
80 |
|
в) перегоны |
80 |
40 |
50 |
|
Автодороги: |
|
|
|
|
а) I—III категории |
60 |
30 |
50 |
|
б) IV и V категории |
50 |
25 |
25 |
|
Склады лесных материалов, торфа, сена, волокнистых веществ, соломы, а также участки открытого залегания торфа |
100 |
100 |
100 |
|
Воздушные линии электропередач |
По ПУЭ |
По ПУЭ |
По ПУЭ |
Примечания: 1. Расстояние от оголовка технологической скважины бесшахтного резервуара в каменной соли следует отсчитывать от внутренней поверхности гребня обвалования вокруг оголовка скважины. Объем обвалования допускается определять согласно рекомендуемому приложению 2.
2. Расстояние от ледопородного низкотемпературного резервуара необходимо отсчитывать от наружной поверхности узла сопряжения перекрытия с грунтом.
|
Здания и сооружения |
Расстояние, м |
||
|
от оголовков скважин бесшахтных резервуаров (в каменной соли) |
от ледопородных низкотемпературных резервуаров |
от оголовков стволов и скважин шахтных(в породах с положительной температурой) и бесшахтных (в вечномерзлых породах) резервуаров |
|
|
Сливо-наливные причалы и пирсы |
100 |
100 |
50 |
|
Железнодорожные сливо-наливные эстакады, складские здания для нефтепродуктов в таре |
40 |
40 |
20 |
|
Сливо-наливные устройства для автоцистерн, продуктовые насосные станции, компрессорные, канализационные насосные станции производственных сточных вод разливочные, расфасовочные и раздаточные установки для испарения и смешения газов |
40 |
40 |
20 |
|
Водопроводные и противопожарные насосные станции, пожарные депо и посты, противопожарные водоемы (до люка резервуара или места забора воды из водоема) |
40 |
40 |
40 |
|
Здания и сооружения I и П степени огнестойкости с применением открытого огня |
60 |
60 |
50 |
|
Прочие здания и сооружения |
40 |
30 |
40 |
|
Рассолохранилища (открытые) |
40 |
— |
— |
|
Ограждение резервуаров |
15 |
15 |
15 |
|
Воздушные линии электропередач |
По ПУЭ |
По ПУЭ |
По ПУЭ |
Примечание. Примеч. 1 - 3 к табл. 1 распространяются и на данную таблицу.
|
Металлический резервуар |
Общая вместимость резервуаров, м3 |
Расстояние, м |
|
Наземный |
До 500 |
150 |
|
|
Св. 500 до 1000 |
200 |
|
Подземный |
До 500 |
75 |
|
|
Св. 500 до 1000 |
100 |
|
|
„ 1000 „ 2000 |
150 |
3.1. Подземные резервуары допускается сооружать в соляных залежах всех морфологических типов (пластовых, пластово-линзообразных, линзообразных, куполах и штоках). При этом мощность соляной залежи для создания подземных резервуаров через вертикальные скважины должна быть не менее 10 м, а через вертикально-горизонтальные и наклонно-горизонтальные скважины - не менее 5 м, исходя из технико-экономических предпосылок.
3.2. Глубину заложения подземных резервуаров следует принимать от 60 до 2500 м.
3.3. Содержание рассеянных включений нерастворимых пород в каменной соли а интервале глубин заложения резервуара не должно превышать 35 % (по массе) , а содержание NaCL - не менее 64 % (по массе).
3.4. Мощность единичных прослоев нерастворимых пород в каменной соли в интервалах глубин заложения подземных резервуаров не должна превышать 2.5 м.
3.6. Передача строительного рассола солепотребляющему предприятию допускается при условии, если химический состав каменной соли в интервалах заложения подземных резервуаров удовлетворяет требованиям, предъявляемым к горнохимическому сырью солепотребляющим предприятием.
3.7. Закачка строительного рассола, получаемого в процессе сооружения подземных резервуаров, допускается в глубокие водоносные горизонты, надежно изолированные водоупорами от водоносных горизонтов с пресными и другими ценными для народного хозяйства подземными водами и содержащие непригодные для использования подземные воды с минерализацией более 35 г/л,. а также в водоносные горизонты с промышленными и лечебными водами, химический состав которых аналогичен составу закачиваемого рассола.
3.8. Параметр проводимости водоносного горизонта, в который предусматривается закачка строительного рассола, должен быть, как правило, не меньше 10-11 м3 (10м.Д).
3.9. Подземные выработки рассолодобывающих предприятий допускается использовать в качестве резервуаров подземного хранилища, если эти выработки соответствуют требованиям п.п. 3.2, 3.5 и 4.3 и условиям:
скважины и подземные выработки герметичны (если скважины, используемые при рассолодобыче, пробурены более 25 лет назад, следует проводить их дополнительное крепление обсадными колоннами меньшего диаметра);
над кровлей выработки имеется целик соли мощностью не менее 10м;
ширина целика соли между соседними выработками равна или более предусмотренной проектом отработки месторождения соли.
При этом при наличии отработанных через одну скважину нескольких пластов соли, разделенных между собой пластами нерастворимых пород мощностью более 2,5 м, хранение продуктов следует предусматривать, как правило, только в выработке, образованной в верхнем пласте, а максимальный диаметр этой выработки не должен превышать установленных для камер рассолодобычи проектных размеров в интервале хранения продуктов.
Допускается сооружать выработки-емкости с применением крепи в непроницаемых породах III категории устойчивости согласно требованиям СНиП II-94-80.
3.11. Выработки-емкости следует размещать в горных породах, непроницаемых для продуктов, предназначенных к хранению, или трещиноватых породных массивах с напорными водами.
При этом экранирующую способность (непроницаемость) горных пород по отношению к продуктам допускается определять согласно рекомендуемому приложению 3, а степень обводненности породных массивов и величина напора подземных вод должны отмечать условию обеспечения подпора на поверхность выработок-емкостей при постоянно действующем водоотливе.
3.12. Мощность толщи непроницаемых для продуктов горных пород т, м, в которой допускается располагать выработки-емкости, должна быть не менее
m = mr + h + is + mg (1)
где mr - минимально допустимая мощность непроницаемых пород над кровлей выработки-емкости, м;
i - уклон почвы выработки-емкости;
s - протяженность выработки-емкости, м;
mg-минимально допустимая мощность непроницаемых пород толщи под почвой выработки-емкости, м;
mr, mg-определяются из условия устойчивости выработок, но принимаются не менее 5 м каждая.
Остальные основные буквенные обозначения данной и других формул приведены в справочном приложении 17.
3.13. Глубина залегания толщи пород, вмещающей выработки-емкости, должна соответствовать требованиям п. 4.62.
3.14. При создании хранилищ в отработанных горных выработках естественные породные массивы, в которых они пройдены, и глубина их заложения должны соответствовать требованиям п.п. 3.10- 3.13.
К переоборудованию под подземные резервуары допускаются отработанные горные выработки любой конфигурации и независимо от способа их вскрытия, но преимущественно горные выработки рудников и шахт по добыче полезных ископаемых с камерной и камерно-столбовой системами разработки.
Выработки, не пригодные к использованию в качестве резервуаров, должны быть изолированы от остальных выработок герметичными перемычками.
ПОДЗЕМНЫЕ РЕЗЕРВУАРЫ В ВЕЧНОМЕРЗЛЫХ ГОРНЫХ ПОРОДАХ
3.15. Вечномерзлые горные породы, в которых предусматривается размещение выработки-емкости, должны удовлетворять следующим требованиям:
находиться в естественном твердомерзлом состоянии;
иметь экранирующую способность (непроницаемость) ;
быть химически нейтральными по отношению к продукту, предназначенному для хранения.
Вечномерзлые горные породы, вмещающие бесшахтный резервуар, а дополнение к указанным требованиям должны быть дисперсными в талом состоянии, иметь скорость теплового разрушения не менее 10-6 м/с и не содержать неразрушающихся при оттаивании включений размером более 0,1 м в количестве более 1 % (по объему) .
3.16. Максимальная естественная температура вечномерзлых горных пород, при которой допускается размещать в них подземные резервуары, должна быть ниже температуры их оттаивания при проектировании резервуаров:
бесшахтных -на 2°С;
шахтных и траншейных:
в скальных породах -на 1°С;
„ дисперсных « - на 3°С.
3.17. Экранирующую способность вечномерзлых горных пород следует определять с помощью опытных наливов в разведочные скважины керосина, зимнего дизельного топлива или подлежащего хранению продукта.
Допускается оценивать экранирующую способность вечномерзлых пород согласно рекомендуемому приложению 4.
3.18. Размещение подземных низкотемпературных ледопородных резервуаров следует предусматривать в рыхлых, однородных по литологии, выдержанных по мощности породах с коэффициентом водонасыщения не менее 0,8, подстилаемых, как правило, слоем водоупорных пород.
Допускается размещение резервуаров в рыхлых породах с коэффициентом водонасыщения менее 0,8 при условии их искусственного обводнения.
3.19. Мощность пород, вмещающих резервуар, должна быть не менее 8,0 м.
3.20. Минимальную мощность водоупорного слоя, подстилающего замороженные водоносные породы, следует определять согласно ВСН 189-78, утвержденным Минтрансстроем.
ПОДЗЕМНЫЕ РЕЗЕРВУАРЫ В КАМЕННОЙ СОЛИ
4.1. Подземные резервуары следует закладывать по глубине, как правило, на одном уровне.
4.2. Минимальную глубину заложения подземных резервуаров следует определять согласно обязательному приложению 5.
4.3. Максимальный пролет (диаметр) резервуара по условиям прочности допускается определять расчетом по методике, приведенной в рекомендуемом приложении 6.
4.4. Коэффициент использования резервуара за счет изменения объема продукта от действия температуры при наличии защитной колонны следует принимать:
для резервуаров под нефть и нефтепродукты - 0,985;
для резервуаров под СУГ - 0,95 вместимости подземного резервуара, рассчитанной выше башмака (нижнего торца) промежуточной защитной колонны.
4.5. При отсутствии защитной колонны коэффициент использования резервуара следует принимать:
для резервуаров под нефть и нефтепродукты - 0,95;
для резервуаров под СУГ-0,9.
4.6. Определение расстояния между устьями соседних технологических скважин следует производить согласно обязательному приложению 7.
Минимально допускаемое расстояние между оголовками скважин соседних подземных резервуаров должно составлять 50 м.
4.7. При отсутствии водоупоров, исключающих проникновение подземных вод в соляную толщу, в кровле резервуара должны оставляться охранные целики каменной соли мощностью, обоснованной расчетом. Расчет допускается производить по формуле, приведенной в рекомендуемом приложении 8.
4.8. Вокруг оголовка скважины следует предусматривать обвалование высотой не менее 1 м и шириной по верху вала не менее 0,5 м. Вместимость обвалования и величину возможного изливав случае повреждения оголовка допускается определять расчетом по формуле, приведенной в рекомендуемом приложении 2.
4.9. При вытеснении продуктов хранения из подземных резервуаров следует использовать, как правило, насыщенный рассол. Допускается применение ненасыщенного рассола при эксплуатации с запланированным увеличением вместимости подземных резервуаров.
4.10. Конструкция технологической скважины должна обеспечивать: герметичность подземного резервуара; надежное разобщение и изоляцию вскрытых подземных водоносных горизонтов;
создание и эксплуатацию подземного резервуара по заданным проектным параметрам.
4.11. Для уточнения геологических условий, определения химического состава, количества нерастворимых включений и физико-механических свойств соли в проекте на бурение технологических скважин следует предусматривать сплошной отбор керна в интервале предполагаемого заложения резервуара и 50 м над ним. В процессе бурения технологических скважин следует уточнять положение водоносных горизонтов.
4.12. Отклонение оси скважины от вертикали не должно выходить за пределы конуса средних отклонений, образующая которого составляет угол 1° с вертикалью, проходящей через устье скважины. Допускается искривление скважины на отдельных интервалах в пределах конуса средних отклонений не более 4°.
4.13. Конструкция обсадных колонн скважины должна приниматься исходя из конкретных горно-геологических условий и состоять, как правило. из кондуктора и основной обсадной колонны. В условиях сложного геологического разреза и наличия водоносных горизонтов следует предусматривать применение промежуточных обсадных колонн. Затрубное пространство всех обсадных колонн должно цементироваться по всей глубине их до устья скважины.
4.14. Толщину стенки обсадных труб следует определять расчетом. В интервалах залегания пород. склонных к текучести, внешнюю нагрузку на обсадную колонну следует определять по полному горному давлению. При комплектовании колонн для обсадки скважин в коррозионно-активных средах следует предусматривать мероприятия по защите труб: противокоррозионные покрытия, электрозащиту, ингибиторы или применение труб из специальных сталей, стойких в коррозионной среде.
4.15. Диаметр трубы основной обсадной колонны следует определять расчетом исходя из условий эксплуатации резервуара с учетом требований настоящих норм и возможности дополнительного крепления скважины обсадной колонной меньшего диаметра в период эксплуатации.
4.16. Диаметр труб подвесной рабочей колонны следует определять из условия равенства гидравлических сопротивлений движения рассола и хранимого продукта в период эксплуатации, а диаметр труб подвесных рабочих колонн в период растворения соли при создании резервуара - из равенства гидравлических сопротивлений движения воды и рассола.
Скорости движения жидкостей в подвесных колоннах, не оборудованных специальными демпфирующими устройствами, не должна превышать значений, приведенных в табл. 4.
|
Диаметр подвесных колонн, мм |
Скорость движения жидкостей в подвесных колоннах, м/с, при длине свободно висящих труб в резервуаре, м |
||
|
100 |
150 |
200 |
|
|
114; 127; 140; 146; 168 |
3,5 |
2,5 |
1,5 |
|
178; 194; 219; 245 |
4,0 |
3,0 |
2.0 |
4.18. Глубина спуска в скважину подвесных рабочих колонн перед началом сооружения резервуара принимается в соответствии с выбранным интервалом заложения резервуара и принятой технологической схемой ее создания.
Основная рабочая колонна на период эксплуатации резервуара устанавливается, как правило, не менее, чем на 1,5 м выше дна резервуара.
Для резервуаров СУГ, а при кооперации с рассоло-промыслами - резервуаров нефти и нефтепродуктов следует предусматривать установку двух подвесных соосных рабочих колонн. При этом башмак центральной рабочей колонны необходимо устанавливать ниже башмака внешней защитной рабочей колонны. Межтрубное пространство между подвесными рабочими колоннами следует использовать для контроля и предотвращения переполнения резервуара. Расстояние между башмаками подвесных рабочих колонн определяется расчетом из условия недопущения переполнения резервуара за время срабатывания контрольной системы и автоматического прекращения закачки продукта.
4.19. Создание резервуаров подземных хранилищ в каменной соли следует предусматривать циркуляционным растворением соли водой, нагнетаемой в скважину, с одновременным вытеснением образующегося при этом рассола на земную поверхность. Для управления формообразованием резервуара при растворении солей следует предусматривать ввод в скважину нерастворителя (нефтепродукта, сжатого газа или воздуха) .
4.20. Создание резервуаров подземных хранилищ следует предусматривать, как правило, через одну скважину.
4.21. При строительстве резервуаров через одну скважину следует принимать одну из следующих технологических схем растворения соли водой:
снизу вверх с перемещением внешней рабочей колонны на каждом этапе (черт. 1, а) ;
снизу вверх без перемещения внешней рабочей колонны (черт. 1, б) ;
с подачей растворителя через перфорированную колонну (черт. 1,в);
сверху вниз на сближенном противотоке с постепенным накоплением нерастворителя в верхней части растворяемой выработки (черт. 1 , г) ;
„комбинированная" схема, когда нижняя часть выработки создается по схеме „снизу вверх", а верхняя - по схеме ..сверху вниз" (черт. 1, д)
с применением энергии „затопленных струй" с вводом растворителя в нижнюю часть выработки через специальные насадки (черт. 1,е).

Черт.1. Технологические схемы сооружения подземных резервуаров
I-VII - ступени сооружения резервуара
4.22. При строительстве резервуаров через две скважины (черт. 1, ж) следует предусматривать как независимую, так и совместную подачу воды. Соединение выработок следует предусматривать сбойкой гидроврубов или с помощью специальных устройств.
4.23. Выбор схемы создания резервуаров следует производить на основании сравнения вариантов с учетом следующих факторов:
технической возможности применения выбираемой схемы в конкретных горно-геологических условиях;
планируемого срока строительства;
формы и вместимости резервуара;
допустимых размеров резервуара по условию его прочности;
количества нерастворимых включений, вида нерастворителя и его влияния на чистоту продукта.
4.24. Подземные рассолохранилища в каменной соли, следует проектировать аналогично подземным резервуарам, предназначенным для хранения продукта.
4.25. Подземное рассолохранилище в каменной соли и резервуар, предназначенный для хранения продукта, могут быть размещены на одной скважине.
4.26. Отбор рассола из подземных рассолохранилищ в каменной соли следует, как правило, предусматривать:
вытеснением водой с постепенным увеличением вместимости подземного рассолохранилища;
вытеснением сжатыми газами;
погружными насосами или другими специальными устройствами;
за счет разности отметок расположения подземных резервуаров и подземных рассолохранилищ.
4.27. Удаление рассола с площадок подземных хранилищ следует предусматривать одним из следующих способов:
передачей рассола солепотребляющим предприятиям;
сбросом рассола в отработанные горные выработки;
естественной выпаркой рассола;
передачей рассола в системы заводнения нефтяных месторождений;
сбросом рассола в глубокие водоносные горизонты ;
сбросом рассола в поверхностные акватории.
При соответствующем технико-экономическом обосновании допускается предусматривать одновременно несколько способов удаления рассола.
4.28. Сброс рассола в глубокие водоносные горизонты следует предусматривать при невозможности использования иных решений по его удалению.
4.29. Комплекс по удалению рассола включает, как правило, следующие сооружения: рассолопроводы, насосные станции, буферные резервуары, очистные сооружения. В зависимости от способа удаления рассола в комплекс сооружений могут также входить нагнетательные скважины и испарительные карты для рассола.
4.30. Проектирование сооружений по очистке рассола от нерастворимой взвеси следует осуществлять в соответствии с требованиями СНиП 2.04.03-85 и СН 496-77.
4.31. Проектирование рассолопроводов должно производиться в соответствии с требованиями СНиП 2.04.03-85, СН 527-80, СН 550-82.
Определение технических характеристик сооружений по закачке рассола в глубокие водоносные горизонты допускается осуществлять в соответствии с рекомендуемым приложением 9.
4.32. Для сброса рассола в глубокие водоносные горизонты следует использовать вновь проектируемые и существующие (разведочные, отработанные нефтегазовые и др.) скважины.
4.33. Для поддержания фактической приемистости нагнетательных скважин на уровне расчетной в проекте по сбросу рассола в глубокие водоносные горизонты следует предусматривать восстановление их приемистости.
4.34. Конструкция нагнетательной скважины, предназначенной для сброса рассола в глубокие водоносные горизонты, должна обеспечивать:
надежную изоляцию поглощающего водоносного горизонта от вышележащих водоносных горизонтов с пресными и другими ценными для народного хозяйства подземными водами;
оптимальное вскрытие поглощающего водоносного горизонта;
возможность проведения работ по восстановлению приемистости нагнетательной скважины;
возможность замера устьевого давления и расхода закачиваемого в скважину рассола.
4.35. Во избежание загрязнения поверхностных и подземных вод и засоления почв у каждой нагнетательной скважины для сброса рассола следует предусматривать проектирование прудов-отстойников с противофильтрационными экранами для сбора рассола, извлекаемого на поверхность при восстановлении приемистости нагнетательных скважин.
4.36. При согласовании с соответствующими органами государственного надзора допускается предусматривать сброс рассола в соленые озера и моря и, в порядке исключения, в крупные водотоки.
4.37. Естественную выпарку рассола следует предусматривать в районах с аридным климатом при наличии малоценных земель (солонцы, солончаки, развеваемые пески и т. п.) для размещения испарительных карт.
4.38. По окончании строительства подземных резервуаров комплекс сооружений по удалению рассола должен быть передан заказчику или другой заинтересованной организации. При невозможности или нецелесообразности дальнейшего использования этих сооружений необходимо их ликвидировать и осуществить рекультивацию нарушенных земель.
ПОДЗЕМНЫЕ РЕЗЕРВУАРЫ, СООРУЖАЕМЫЕ ГОРНЫМ СПОСОБОМ В ПОРОДАХ С ПОЛОЖИТЕЛЬНОЙ ТЕМПЕРАТУРОЙ
4.39. В качестве выработок-емкостей следует предусматривать, как правило, подземные горизонтальные выработки камерного типа.
4.40. При выборе схемы вскрытия число вскрывающих выработок должно быть минимальным.
4.41. При штольневом вскрытии устья штолен должны располагаться выше максимального уровня хранимых продуктов в выработках-емкостях. При невозможности соблюдения этого требования в штольнях и подходных выработках следует возводить дополнительные герметичные перемычки и предусматривать другие необходимые мероприятия, исключающие вытекание продукта на поверхность земли в случае аварийной разгерметизации выработок-емкостей.
4.42. Продольные уклоны почвы подземных выработок должны предусматриваться в зависимости от применяемого при проходке этих выработок транспорта.
4.43. Ширина целиков между отдельными выработками-емкостями должна приниматься по расчету на прочность, но не менее утроенной ширины выработок-емкостей.
4.44. Расстояния между сбойками в спаренных выработках-емкостях должны приниматься в зависимости от технологии проходки, но не менее удвоенной ширины целиков между выработками-емкостями.
4.45. В обособленных выработках-емкостях допускается устройство ниш для укрытия проходческого оборудования, при этом глубина ниш должна быть минимально возможной (по габаритам оборудования), а породные целики между нишами и смежной выработкой-емкостью должны быть не менее расчетной ширины целика.
4.46. Заборные зумпфы подземного резервуара должны располагаться в наиболее низких точках профиля выработок-емкостей.
Число зумпфов должно соответствовать числу изолированных выработок-емкостей. В спаренных выработках-емкостях следует предусматривать, как правило, один зумпф.
4.47. В хранилищах, предназначенных для одновременного хранения нескольких видов продуктов, следует предусматривать специальную околоствольную (коллекторную) выработку.
4.48. Для прокладки дыхательных и технологических трубопроводов допускается использовать скважины, пробуренные с поверхности земли в выработки-емкости.
4.49. При использовании непогружных насосов в хранилищах нескольких видов продуктов подземные насосные станции следует предусматривать как в специальных камерах, так и в коллекторных или подходных выработках.
4.50. В хранилищах нескольких видов продуктов размещение погружных насосов следует предусматривать в скважинах, пробуренных с поверхности земли в заборные зумпфы выработок-емкостей (черт. 2).
4.51. При использовании непогружных насосов в хранилищах на один вид продукта насосные станции допускается располагать непосредственно во вскрывающих выработках либо в камерах, пройденных вблизи вскрывающих выработок и соединенных с ними. При использовании погружных насосов их следует располагать непосредственно в вертикальных стволах или технологических скважинах.
4.52. Специальные строительные выработки (заезды, сбойки, камеры различного назначения, скважины и др.), необходимые для проходки выработок-емкостей, оставляются открытыми или изолируются перемычками, если они усложняют условия эксплуатации хранилища (по условиям вентиляции, безопасности и др.).
4.53. Число специальных строительных выработок должно быть минимальным.
4.54. Выбор формы поперечного сечения вскрывающих выработок, их армирование, а также расчет нагрузок на крепь и выбор типа крепи следует производить в соответствии с требованиями СНиП II-94-80.
4.55. Площадь поперечного сечения вскрывающих выработок подземных резервуаров должна приниматься минимальной, исходя из условий:
размещения постоянного эксплуатационного оборудования;
размещения горнопроходческого оборудования;
пропуска необходимого количества воздуха при скорости его движения не более 8 м/с;
возможности спуска оборудования или его узлов, имеющих наибольшие габариты.
4.56. Сечения вскрывающих выработок при размещении в них стационарного эксплуатационного оборудования следует принимать с учетом:
устройства лестничного отделения для вертикальных и наклонных выработок с углом наклона более 45° или свободного людского прохода для горизонтальных и наклонных выработок с углом наклона до 45° в соответствии с требованиями Единых правил безопасности при разработке рудных, нерудных и россыпных месторождений подземным способом, утвержденных Госгортехнадзором СССР;
устройства грузолюдского подъема в вертикальных и наклонных выработках;
оставления проема для спуска-подъема длинномерных предметов в вертикальных выработках;
прокладки труб принудительной вентиляции;
проведения ремонтно-восстановительных работ;
прокладки продуктовых и других трубопроводов и кабелей.
4.57. В устьях вертикальных стволов на необходимой глубине следует предусматривать проемы (ниши) для ввода и вывода трубопроводов и кабелей, имея в виду следующее:
ввод и вывод трубопроводов и кабелей в вертикальный ствол на отметках ниже верха устья должен осуществляться через уплотнительные устройства, препятствующие поступлению в ствол поверхностных и грунтовых вод;
часть трубопроводов допускается вводить через верх устья, но водопровод, подающий в ствол воду, и кабели любого назначения должны вводиться только ниже верха устья;
водоотливные трубы допускается выводить из ствола на отметках выше устья при условии сброса воды из них в водоприемный колодец вблизи ствола.
4.58. Во вскрывающих выработках, используемых полностью или частично для хранения продуктов, крепь должна быть непроницаемой для хранимых продуктов и воды.

Черт. 2. Схема подземного резервуара с погружным и непогружным насосами
1 - выработка-емкость; 2 - зумпф; 3 - герметичная перемычка; 4- непогружные насосы; 5 - насосная камера; 6 - подходная выработка; 7-коллекторная выработка; 8-трубопроводы для залива продуктов; 9- трубопроводы для отбора продуктов; 10 - ствол; 11 - технологическая скважина; 12 - погружной насос
4.59. Во вскрывающих выработках, закрепленных водопроницаемыми видами крепи, необходимо предусматривать мероприятия по подавлению притока воды, исходя из следующих условий:
остаточный приток воды во вскрывающие выработки не должен превышать 1 м3/ч на каждые 100 м их длины;
свободный капеж воды во всех типах вскрывающих выработок не допускается.
4.60. Объем зумпфов вертикальных и наклонных стволов подземных хранилищ следует устанавливать а зависимости от ожидаемого притока подземных вод в период строительства. При использовании зумпфов в качестве единственного водосборника их объем должен рассчитываться на двухчасовой ожидаемый приток воды.
4.61. При размещении герметичной перемычки горизонтального типа в нижней части вертикального ствола устройство опорного венца производится над перемычкой и не менее чем на 5 м ниже кровли непроницаемой толщи пород.
При сооружении подземного резервуара в трещиноватом массиве с напорными водами опорный венец должен устанавливаться выше перемычки на участках пород с наиболее высокими прочностными характеристиками.
4.63. Размеры поперечного сечения выработок-емкостей должны приниматься максимальными для конкретных горно-геологических условий при возможно большем отношении высоты выработок к их ширине.
Форма и размеры выработок-емкостей должны исключать возможность сдвижения вышележащих пород на весь период эксплуатации.
4.64. Определение полезных (заполняемых) объемов выработок-емкостей производится с учетом коэффициента использования резервуара, который для нефти и нефтепродуктов следует принимать не более 0,97, для сжиженных газов - не более 0,9.
4.65. Выработки-емкости следует проектировать, как правило, без крепи или с применением анкерной крепи. Сплошную несущую крепь следует предусматривать на участках геологических нарушений в комбинации с тампонажем породного массива в целях его укрепления и снижения проницаемости.
4.66. При расчете размеров и устойчивости незакрепленных выработок-емкостей и выработок вспомогательного назначения следует руководствоваться требованиями СНиП II-94-80 и СНиП 2.01.07-85.
В составе длительных временных нагрузок необходимо учитывать внутреннее давление нефти, нефтепродуктов и сжиженных газов в выработках.
Постоянные и временные нагрузки и воздействия (за исключением нагрузки от внутреннего давления) следует определять в соответствии с требованиями СНиП 2.06.09-84.
Временные нагрузки от внутреннего давления хранимых продуктов следует определять исходя из гидростатического давления продуктов и упругости их паров при максимально возможной температуре в выработках-емкостях.
Расчеты крепей следует выполнять по методу предельных состояний в соответствии с требованиями СНиП 2.06.09-84.
4.67. Заборные зумпфы должны крепиться монолитным бетоном и облицовываться сварными металлическими обечайками.
В хранилищах сжиженных газов материал обечайки следует выбирать с учетом минимальной температуры, которую приобретает подаваемый газ при первом заполнении подземного резервуара.
4.68. При использовании погружных насосов в подземных хранилищах сжиженных газов объем заборных зумпфов должен быть не менее удвоенного объема воды, необходимого для заполнения технологических скважин при извлечении погружных насосов без разгерметизации выработок-емкостей.
4.69. В подземных резервуарах, эксплуатируемых без постоянного притока подземных вод, для обеспечения полного стока продукта к заборному зумпфу следует предусматривать устройство выравнивающих полов из монолитного бетона класса не ниже В7,5.
4.70. Околоствольные (коллекторные) и подходные выработки следует проектировать минимальной длины и сечения с учетом размещения в них технологического оборудования, а также с учетом проходов для людей и транспортирования оборудования.
4.71. Площадь поперечного сечения коллекторных выработок должна быть проверена на пропуск необходимого для вентиляции количества воздуха при скорости его движения не более 8 м/с.
4.72. Необходимость крепления коллекторных и подходных выработок должна решаться по аналогии с выработками-емкостями и с учетом устройства герметичных перемычек.
4.73. В коллекторных и подходных выработках, по которым прокладываются продуктовые трубопроводы, необходимо предусматривать устройство выравнивающих полов из монолитного бетона класса не ниже В7,5.
4.74. При проектировании электромашинных камер (распределительных подстанций и насосных) следует руководствоваться требованиями СНиП II-94-80.
4.75. При использовании для аварийного подъема людей технологических, вентиляционных или специальных скважин диаметр их должен определяться с учетом габаритов спасательной подъемной лестницы (или другого аналогичного устройства) , но не менее 600 мм в свету.
4.76. Продуктовые трубопроводы следует предусматривать внутри обсадных колонн скважин или в трубах большего диаметра, расположенных в стволе.
Запрещается использовать в качестве эксплуатационных трубопроводов трубы обсадных колонн скважин.
4.77. Вертикальные стволы подземных резервуаров при расположении герметичной перемычки в подходных выработках независимо от места установки насосов должны быть оборудованы при глубине:
до 25м- лестничным отделением и грузовым отсеком;
более 25 м - лестничным отделением и механическим грузолюдским подъемом.
4.78. Грузовой отсек в стволе на уровне сопряжения с горизонтальной выработкой или камерой (если она примыкает непосредственно к стволу) оборудуется приемной площадкой, имеющей звукосветовую сигнализацию с поверхностью.
4.79. В качестве механического грузолюдского подъема на период эксплуатации хранилищ, как правило, должен применяться лифтовый подъемник. Устройство и ввод в эксплуатацию лифтового подъемника должны согласовываться с местными органами Госгортехнадзора СССР.
4.80. Грузоподъемность лифтового подъемника должна определяться наибольшим весом транспортируемого оборудования или его частей, но не менее 3500 Н (350 кгс) .
Управление лифтовым подъемником должно обеспечиваться с земной поверхности и из кабины лифта.
4.81. В подземных хранилищах, сооружаемых в трещиноватых породах с напорными водами, для откачки воды из выработок-емкостей должен быть предусмотрен водоотлив.
Обустройство насосных станций должно быть выполнено в соответствии с требованиями СНиП II-94-80 и других нормативных документов, утвержденных в установленном порядке. Работа их должна быть автоматизирована.
4.82. Изоляция выработок-емкостей должна обеспечиваться герметичными перемычками, которые отделяют выработки-емкости, заполненные продуктами, от остальных выработок или от внешней среды.
4.83. Герметичные перемычки должны:
выдерживать давление, создаваемое хранимым продуктом;
быть непроницаемыми для хранимых продуктов, в том числе и в местах контакта с вмещающими породами;
обеспечивать пропуск необходимых технологических трубопроводов и коммуникаций;
сооружаться из материалов, не подвергающихся агрессивному воздействию со стороны хранимых продуктов и не оказывающих влияний на их товарные качества;
перекрывать зоны повышенной проницаемости пород вокруг выработок в месте сооружения перемычек (размеры этой зоны должны определяться экспериментально в период строительства).
Конструкции перемычек и материалы для их сооружения допускается принимать согласно рекомендуемому приложению 10.
4.84. Герметичные перемычки, устанавливаемые в вертикальных и наклонных стволах, следует располагать на участках, пройденных по непроницаемой толще пород. При наличии в стволах продуктонепроницаемой крепи перемычки допускается размещать в любой его части.
В хранилищах на несколько видов продуктов герметичные перемычки следует размещать в коллекторных и подходных выработках.
4.85. При достаточной мощности непроницаемой толщи вмещающих пород допускается герметичные перемычки размещать таким образом, чтобы они находились в паровой фазе без непосредственного подпора их жидкой фазы хранимых продуктов путем устройства наклонных участков подходных (коллекторных) выработок или „слепых" стволов.
4.86. Расчеты герметичных перемычек должны вестись по методу предельных состояний в соответствии с требованиями СНиП 2.03.01-84 и СНиП II-23-81.
Коэффициенты надежности по нагрузке, состояний и условий работы, а также предельную ширину раскрытия трещин в бетоне следует принимать в соответствии с требованиями СНиП 2.06.09-84.
Расчет на прочность должен производиться на давление, определяемое по упругости паров хранимых продуктов при максимальной возможной температуре в выработках-емкостях, и ударную нагрузку от аварийного взрыва паров в насосной станции или подходной выработке.
Стенки герметичных перемычек должны рассчитываться на изгиб как плиты, нагруженные равномерно распределенной нагрузкой и проверяться дополнительным расчетом на срез.
Для предварительного выбора толщины стенки при расчетах по предельным состояниям допускается пользоваться графиком, приведенным в рекомендуемом приложении 11.
4.87. Для герметизации выработок-емкостей. включающей тампонаж: затрубного пространства скважин, закрепного пространства вскрывающих выработок (если они используются для хранения продуктов), контура герметичных перемычек и трещиноватых зон вмещающих пород, - допускается применять продуктонепроницаемые растворы и материалы согласно рекомендуемому приложению 10.
ТРАНШЕЙНЫЕ РЕЗЕРВУАРЫ, СООРУЖАЕМЫЕ В ВЕЧНОМЕРЗЛЫХ ПОРОДАХ
4.88. Траншейный резервуар включает одну выработку-емкость и технологическое оборудование. При строительстве траншейного резервуара буровзрывным способом и транспортировании горной массы автотранспортом следует предусматривать пандус уклоном не более 1:10. После завершения проходки пандус должен быть засыпан извлеченной породой с послойным ее промораживанием.
4.89. Размеры целиков между выработками-емкостями следует принимать не менее 15 м.
4.90. Траншейные резервуары следует располагать протяженной стороной в направлении господствующих зимних ветров с подветренной стороны от ближайших зданий и сооружений. Глубина заложения почвы траншейных резервуаров не должна превышать, как правило, 15 м.
4.91. Траншейные резервуары следует проектировать в виде протяженной выработки, разработанной открытым способом и снабженной герметичным перекрытием (черт. 3).
4.92. Размеры выработки-емкости следует принимать в зависимости от конкретных условий строительства, как правило, они не должны превышать: по длине 200 м, по ширине 20 м.
4.93. В конструкции резервуара должны быть предусмотрены эксплуатационный колодец и сливные устройства, обеспечивающие равномерное распределение продукта.
4.94. Почва выработки-емкости должна, как правило, иметь уклон не менее 0,002 в сторону эксплуатационного колодца.
4.95. Под эксплуатационным колодцем в почве выработки-емкости следует предусматривать зумпф, обеспечивающий полный отбор нефтепродукта, также сбор и удаление воды, попавшей в резервуар.
4.96. Перекрытие выработки-емкости следует предусматривать из несгораемых строительных материалов.
4.97. Выбор материала перекрытия выработки-емкости, конструкции перекрытия и узла его сопряжения с горной породой следует производить с учетом конкретных условий строительства и необходимости обеспечения герметичности резервуара в период его эксплуатации.
4.98. При использовании для перекрытия сборных металлических или железобетонных конструкций допускается применение промежуточных несущих опор, расположенных по оси траншеи.
4.99. Снаружи перекрытие следует покрывать стационарной или съемной теплоизоляцией из несгораемого материала, толщина которой определяется из условия сохранения отрицательной температуры под перекрытием.
4.100. Узел сопряжения перекрытия с грунтом, как правило, следует покрывать слоем несгораемой теплоизоляции. Толщина теплоизоляции и размеры ее по площади определяются расчетом из условия сохранения грунта в мерзлом состоянии.

Черт. 3. Подземный ледопородный резервуар траншейного типа
1-вечномерзлая порода; 2- ледяная облицовка; 3-резервуар с нефтепродуктом; 4- узел сопряжения перекрытия резервуара с мерзлой породой; 5-теплоизоляция; 6-трубопровод для залива; 7-перекрытие; 8- воздушный теплообменник; 9- электродвигатель; 10-дыхательный клапан; 11 -помещение насосной; 12- эксплуатационный колодец; 13-насос; 14 - распределительное устройство для слива нефтепродукта
4.101. Ледогрунтовое перекрытие допускается предусматривать при пролете выработки-емкости не более 6 м с устройством опоры на грунтовые бермы, расположенные по бортам траншеи. Толщину полуциркульного ледяного свода траншейного резервуара допускается рассчитывать согласно рекомендуемому приложению 12. На ледогрунтовое перекрытие следует укладывать слой несгораемой теплоизоляции, пригруженной дренирующей засыпкой из крупнозернистого материала (керамзитового щебня, гальки, гравия и др.)
ПОДЗЕМНЫЕ ШАХТНЫЕ РЕЗЕРВУАРЫ. СООРУЖАЕМЫЕ ГОРНЫМ СПОСОБОМ 8 ВЕЧНОМЕРЗЛЫХ ПОРОДАХ
4.103. Шахтные резервуары следует предусматривать в виде системы горизонтальных выработок-емкостей, примыкающих с одной или двух сторон к коллекторной выработке (черт. 4) .
4.104. При двустороннем примыкании выработок-емкостей к коллекторной выработке их следует располагать в шахматном порядке.
4.105. Ширину целиков между выработками-емкостями следует принимать по расчетам на прочность, но не менее 15 м.
4.106. Глубину заложения кровли шахтных резервуаров следует выбирать от 10 до 40 м.
4.107. Число вскрывающих выработок следует принимать, как правило, не более одной. Допускается применение большего числа вскрывающих выработок при обосновании этого решения технико-экономическим расчетом.
4.108. В качестве вскрывающей выработки следует предусматривать, как правило, наклонный ствол (черт. 5). Допускается вскрытие выработок-емкостей вертикальным стволом.
4.109. В шахтном резервуаре следует предусматривать эксплуатационный колодец и технологические скважины, оборудованные сливными устройствами, обеспечивающими рассредоточенный слив продукта в выработки-емкости.
4.110. Размеры и формы сечения вскрывающих выработок и выработок-емкостей должны обеспечивать их устойчивость на период строительства и эксплуатации. Выработки-емкости следует предусматривать, как правило, без постоянного крепления.
4.111. Продольный уклон кровли выработки-емкости следует принимать не менее 0,002 в противоположную сторону от ближайшего эксплуатационного колодца.
Почву выработки-емкости следует предусматривать с уклоном не менее 0.002 в сторону ближайшего эксплуатационного колодца.
4.112. В почве выработки-емкости под эксплуатационным колодцем следует предусматривать зумпф. Объем и глубину зумпфов следует определять из условий нормальной работы насоса с заданной производительностью до полного отбора продукта, сбора и удаления воды из резервуара.

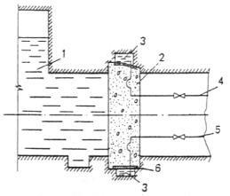
Черт. 4. Принципиальная схема многокамерного подземного резервуара
1 - выработки-емкости; 2 - наклонный ствол; 3 - коллекторная выработка; 4 - эксплуатационный колодец: 5 - технологические скважины
4.113. Технологические скважины для приема продукта с положительной температурой следует оборудовать двумя расположенными одна в другой трубами по всей глубине; внешняя труба является обсадной, а внутренняя предназначена для слива продукта в резервуар. В межтрубном пространстве следует предусматривать теплоизоляцию, толщину которой допускается определять согласно рекомендуемому приложению 13.
4.114. Закрепное пространство вскрывающих выработок следует герметизировать послойным намораживанием снизу вверх водонасыщенного песка.
4.115. Устья вскрывающих выработок следует закреплять крепью из несгораемых материалов.
4.116. Для герметизации вскрывающих выработок следует предусматривать перемычки (см. черт. 5).
4.117. Оголовки эксплуатационных колодцев, технологических скважин и вскрывающих выработок должны быть приподняты над окружающей местностью за счет рельефа или искусственной подсыпки грунта из условия предотвращения затекания талых вод в выработки.
Вокруг указанных оголовков следует предусматривать теплоизоляцию из естественных или искусственных материалов из условия исключения оттаивания породы.
4.118. В резервуаре следует предусматривать хранение, как правило, продукта одного вида.
При необходимости хранения в резервуаре продуктов нескольких видов следует предусматривать перемычки, изолирующие выработки-емкости.
4.119. Конструкцию и материал перемычек следует принимать из условия обеспечения герметичности резервуара, пропуска технологических трубопроводов и сохранения качества продукта.
В перемычках следует предусматривать люки-лазы размером в свету не менее 0,6´0,7 м.

Черт. 5. Принципиальная схема однокамерного шахтного резервуара
1 - технологическая скважина; 2 - трубопровод для залива нефтепродукта; 3 - теплоизоляция оголовка; 4 - дыхательный клапан; 5 - оголовок колодца; 6 - эксплуатационный колодец; 7 - смотровой колодец наклонного ствола; 8 - перемычки; 9- наклонный ствол; 10-насос в зумпфе: 11-распределительное устройство для слива нефтепродукта; 12- ледяная облицовка; 13 - выработка-емкость с нефтепродуктом
4.120. Внутренняя поверхность выработок-емкостей, как правило, должна иметь ледяную облицовку, которую следует предусматривать в соответствии с требованиями п. 4.102.
Ледяную облицовку допускается не предусматривать для резервуаров, сооружаемых в скальных монолитных породах.
ПОДЗЕМНЫЕ РЕЗЕРВУАРЫ, СООРУЖАЕМЫЕ ГЕОТЕХНОЛОГИЧЕСКИМ СПОСОБОМ В ВЕЧНОМЕРЗЛЫХ ПОРОДАХ (БЕСШАХТНЫЕ РЕЗЕРВУАРЫ)
4.121. В состав подземных резервуаров, сооружаемых геотехнологическим способом в вечномерзлых породах, входят подземная полость, технологическая скважина, эксплуатационные колонны и технологическое оборудование (черт. 6) .
4.122. Подземные резервуары, сооружаемые геотехнологическим способом в вечномерзлых породах, следует размещать по глубине и площади толщи вечномерзлых пород в зависимости от геокриологических условий, объема хранилища и количества продуктов, подлежащих хранению в этих резервуарах.
Минимальное
расстояние между устьями технологических скважин
м, соседних
резервуаров следует определять по формуле
, (2)
где d1, d2 - максимальные диаметры смежных подземных резервуаров, м.
Расстояние от стенки резервуара до стенки соседней скважины следует принимать не менее 10 м.
4.123. Глубину заложения бесшахтных резервуаров следует принимать в зависимости от глубины залегания и мощности толщи вечномерзлых пород, свойств покрывающих пород и вида продукта, предназначенного для хранения, но, как правило, не менее 10 м.
При выборе интервалов глубин заложения бесшахтных резервуаров при прочих равных геокриологических условиях следует отдавать предпочтение:
минимальным глубинам заложения, определяемым согласно обязательному приложению 5;
интервалам глубин, содержащим минимальное количество негабаритных и кольматирующих включений и переслаивающихся пропластков, а также неразмокающих после оттаивания и резко неоднородных пород;
интервалам глубин, содержащим породы, которые могут быть использованы для попутной добычи песчано-гравийной смеси или других полезных ископаемых.
4.124. Допускается проектирование и сооружение подземных резервуаров в предохранительных и охранных целиках горнодобывающих предприятий и наземных сооружений при согласовании с местными органами Госгортехнадзора СССР.
4.125. Число подземных резервуаров следует определять в зависимости от объема предназначенных к хранению продуктов и максимального объема единичного резервуара. При этом для одного вида продукта следует предусматривать, как правило, не менее двух резервуаров.

Черт. 6. Принципиальная схема бесшахтного резервуара в вечномерзлых породах
1-оголовок обсадной колонны; 2-обсадная колонна; 3 - цементное кольцо; 4 - трубопровод для залива нефтепродукта; 5 - уровнемер; 6 - уровень нефтепродукта; 7-парогазовое пространство; 8- нефтепродукт; 9-ледяная облицовка; 10 - насос для отбора нефтепродукта; 11 - струеотбойное устройство
4.126. Объем единичного резервуара для каждого хранимого продукта следует выбирать исходя из геокриологических условий площадки и максимально допустимых по условиям прочности размеров.
При определении объема бесшахтного резервуара, сооружаемого в вечномерзлых породах, следует учитывать объемное расширение продукта, предназначенного к хранению, и принимать коэффициент заполнения резервуара не более 0,95 при хранении нефти, нефтепродуктов и не более 0,9 - при хранении сжиженных газов.
4.127. В толщах мерзлых дисперсных пород мощностью не менее 70 м, разделенных пропластками скальных, вязких или содержащих негабаритные включения пород, допускается двух- или многоярусное расположение резервуаров по вертикали на одной технологической скважине.
4.128. Дно подземной выработки бесшахтного резервуара следует проектировать коническим с углом наклона образующей к горизонту, равным углу естественного откоса оттаявших пород под водой.
4.129. Бесшахтные резервуары следует проектировать с вертикальной осью симметрии и сводчатой кровлей.
4.130. Максимальный диаметр подземного резервуара следует принимать в зависимости от геокриологических условий вмещающих, покрывающих и подстилающих вечномерзлых пород и режима эксплуатации, но, как правило, не более 40 м. Высоту резервуара следует принимать равной не менее половины максимального диаметра.
4.131. Внутреннюю поверхность кровли подземного резервуара следует облицовывать слоем льда толщиной не менее 0,01 м в соответствии с требованиями ВСН 515-85, утвержденных Мингазпромом.
Допускается не предусматривать ледяной облицовки резервуара, предназначенного для хранения нетоварного продукта (конденсата, широкой фракции легких углеводородов, нефти).
4.132. В бесшахтных резервуарах, предназначенных для хранения продуктов под избыточным давлением, намораживание ледяной облицовки следует производить с постепенным увеличением давления в резервуаре от гидростатического до максимального рабочего.
4.133. Сооружение резервуара следует предусматривать через вертикальную технологическую скважину.
При соответствующем технико-экономическом обосновании (в зависимости от вмещающих пород, конструкции резервуара и пр.) допускается помимо технологических скважин предусматривать проходку дополнительных скважин, предназначенных только для эксплуатации резервуара.
4.134. Конструкция технологической скважины должна обеспечивать герметичность затрубного пространства от нижнего торца (башмака) обсадной колонны до устья скважины.
4.135. Технологические скважины следует крепить обсадной колонной, конструкция которой должна обеспечить ее охлаждение в период сооружения и эксплуатации резервуара и поддержание средней температуры мерзлых пород в затрубном пространстве не выше их естественной температуры и максимального давления продукта в резервуаре.
4.136. Для сооружения резервуара следует предусматривать, как правило, три рабочие колонны: соосно-наружную (водовод) и промежуточную (пульповод), свободно подвешенную центральную (газовод).
При этом разность между внутренним диаметром пульповода и наружным диаметром газовода следует принимать не менее 0,1 м, а площадь поперечного сечения кольцевого зазора в свету между водоводом и пульповодом следует принимать, как правило, не менее площади поперечного сечения между пульповодом и газоводом.
4.137. Оголовок обсадной колонны технологической скважины следует предусматривать не менее чем на 0,5 м выше планировочной отметки прилегающей к ней территории (в радиусе 6 м) на локальном повышении рельефа местности или на пологом склоне площади водосбора водоема, из которого предусматривается водозабор для сооружения резервуара.
В радиусе до 1м от оголовка обсадной колонны технологической скважины следует предусматривать локальное понижение глубиной до 0,1 м (для временного заполнения жидкостью при контроле герметичности затрубного пространства скважин) .
4.138. Разработку выработки бесшахтного резервуара следует предусматривать, как правило, по схеме сближенного противотока, при котором башмаки водовода и пульповода следует размещать на одной отметке и применять газлифт только на вертикальном участке пульповода.
4.139. Для изменения положения башмаков водовода и пульповода следует предусматривать устройство для подъема и спуска этих колонн на высоту не менее 0,02 их длины.
4.140. Концентрация выдаваемой пульпы не должна превышать концентрацию, вызывающую закупорку пульповода.
4.141. Управление формообразованием бесшахтного резервуара в вечномерзлых породах и производительность оттаивания вечномерзлых пород следует предусматривать с помощью нерастеплителя, закачиваемого в резервуар через кольцевой зазор между обсадной и наружной рабочими колоннами.
4.142. В качестве нерастеплителя следует предусматривать химически инертное по отношению к вмещающим породам и продукту, подлежащему хранению, вещество с меньшим удельным весом, чем у продукта, как правило, газообразное (воздух, природный газ).
4.143. На период сооружения резервуара для охлаждения обсадной колонны следует предусматривать парокомпрессионные или другие холодильные установки.
4.144. Холодильные установки следует проектировать в соответствии с требованиями СНиП II-105-74, а для газовых холодильных машин также и Правил безопасности в газовом хозяйстве, утвержденных Госгортехнадзором СССР.
Расчет охлаждения обсадной колонны допускается определять в соответствии с рекомендуемым приложением 14.
4.145. Следует предусматривать теплоизоляцию соединительных трубопроводов холодильной установки и обсадной колонны на оголовке технологической скважины.
4.146. В установках получения холода по газовым циклам следует предусматривать устройства, позволяющие осуществить ввод в дроссели и технологические трубопроводы ингибиторов гидратообразования.
4.147. При проектировании холодильной установки для строительства бесшахтного резервуара следует предусматривать возможность ее использования для охлаждения заливаемого продукта в период эксплуатации резервуара, если это предусмотрено технологической частью проекта.
ПОДЗЕМНЫЕ НИЗКОТЕМПЕРАТУРНЫЕ ЛЕДОПОРОДНЫЕ РЕЗЕРВУАРЫ СУГ
4.148. Резервуары следует проектировать в виде вертикально-цилиндрической выработки (черт. 7), оборудованной перекрытием из искусственных материалов (сталь, бетон, железобетон).
4.149. При наличии естественного водоупора под днищем резервуара проходку выработки следует предусматривать способом предварительного замораживания пород по контуру ее стен в соответствии с требованиями ВСН 189-78, утвержденных Минтрансстроем.
4.150. При отсутствии естественного водоупора в геологическом разрезе площадки строительства допускается создание искусственного водоупора способом предварительного замораживания пород почвы будущего котлована до смыкания его с ледопородными стенками. Толщину предварительно замороженного днища следует определять в соответствии с требованиями п. 3.20.

Черт. 7. Подземный низкотемпературный ледопородный резервуар СУГ
1 - водоупор; 2 - незамороженный грунт; 3 - замороженный грунт; 4 - замораживающая колонка; 5 - резервуар; 6- перекрытие; 7-теплоизоляция; 8-узел сопряжения перекрытия резервуара с ледопородной стенкой; 9 - сжиженный газ
4.151. Для контроля за герметичностью ледопородной стенки при эксплуатации резервуаров следует предусматривать наблюдательные скважины, расположенные по периметру резервуара в зоне талого грунта.
4.152. Размеры резервуара следует принимать в зависимости от глубины расположения водоупорного пласта и объема хранения СУГ, но не более 30 000 м3.
4.153. Ледопородная оболочка, перекрытие и узел сопряжения между ними должны обеспечивать герметичность резервуара. При невозможности обеспечить необходимую герметичность ледопородной оболочки допускается применение металла для облицовки внутренних поверхностей выработки.
4.154. Перекрытие резервуара должно быть рассчитано на воспринятие внешних нагрузок, рабочего давления паров СУГ и разрежения в резервуаре. Нагрузки, воздействия и их сочетания следует принимать в соответствии с требованиями СНиП 2.01.07-85.
4.155. Рабочее давление газа в паровом пространстве ледопородного резервуара не должно превышать 5000 Па (0,05 кгс/см2), в разрежение - минус 250 Па (0,0025 кгс/см2) .
4.156. Для перекрытия резервуара следует предусматривать несгораемые и химически нейтральные по отношению к парам СУГ материалы.
4.157. Перекрытие резервуара следует предусматривать с наружной тепловой изоляцией из несгораемого материала, которую необходимо защищать от воздействия атмосферных осадков и солнечной радиации. Допускается размещать тепловую изоляцию с внутренней стороны перекрытия. При этом следует предусматривать ее защиту от паров СУГ.
4.158. Толщину тепловой изоляции перекрытия резервуара следует принимать не менее 25 см.
4.159. В качестве материала для защиты тепловой изоляции перекрытия от атмосферных осадков и паров СУГ следует предусматривать алюминий, оцинкованную или кровельную сталь, а для защиты от солнечной радиации - окраску в светлые тона.
5.1. В составе наземного комплекса подземных хранилищ в зависимости от характера технологических процессов приема, хранения и выдачи нефти, нефтепродуктов и СУГ следует предусматривать здания и сооружения основного производственного назначения, вспомогательные здания и сооружения и внутриплощадочные инженерные сети.
Перечень зданий и сооружений, входящих в состав наземного комплекса конкретного подземного хранилища, следует определять в зависимости от его объема и назначения.
5.2. Здания и сооружения наземного комплекса следует по возможности объединять (блокировать) по следующим группам:
оголовки стволов или скважин подземных резервуаров;
насосные и компрессорные станции; операторные, подстанции, мастерские, лаборатории;
административно-хозяйственные помещения;
гаражи, здания и сооружения пожарной и военизированной охраны, проходные;
железнодорожные сливо-наливные эстакады и другие сооружения, связанные со сливо-наливными операциями;
наземные парки для нефти, нефтепродуктов и СУГ;
сети водоснабжения, канализации и другие инженерные коммуникации.
5.3. Здания и сооружения наземного комплекса подземных хранилищ (наземные резервуары, здания и сооружения для хранения продукта в таре, железнодорожные сливо-наливные эстакады, сливо-наливные причалы и пирсы, разливочные, расфасовочные и раздаточные пункты, насосные и компрессорные станции, административно-хозяйственные здания или помещения и др.) следует проектировать в соответствии с требованиями СНиП II-106-79, СНиП II-37-76, СНиП II-90-81, СНиП II-91-77, СНиП II-92-76, СНиП II-2-80 и других нормативных документов на проектирование соответствующих зданий и сооружений, утвержденных в установленном порядке, а также с требованиями настоящих норм.
5.4. Проектирование фундаментов зданий и сооружений наземного комплекса подземных хранилищ, размещаемых на территории распространения вечномерзлых грунтов, следует осуществлять согласно требованиям СНиП II-18-76. При этом грунты оснований следует использовать в мерзлом состоянии, сохраняемом в процессе строительства и в течение всего заданного периода эксплуатации хранилища.
5.5. При проектировании фундаментов зданий, сооружений и оборудования наземного комплекса подземных хранилищ, которые могут оказаться в зоне распространения границы промерзания пород от низкотемпературного ледопородного резервуара и располагаться на участках, сложенных пучинистыми грунтами, следует предусматривать специальные решения согласно СНиП II-18-76, осуществление которых исключает возможность проявления недопустимых деформаций под основаниями.
5.6. Эстакады, предназначаемые для транспортирования пульпы к гидроотвалу при сооружении бесшахтных резервуаров в вечномерзлых породах, следует предусматривать с уклоном, величина которого должна обеспечивать удаление пульпы по открытым лоткам самотеком, но не менее 0,05.
Конструкция эстакады должна предусматривать возможность переноса места сброса пульпы.
5.7. Расстояние от оголовка бесшахтного резервуара в вечномерзлых породах до места сброса пульпы, следует принимать не менее радиуса гидроотвала r, м, определяемого по формуле
, (3)
где
- угол откоса отвала, принимается, как правило, не более 5°.
5.8. Время слива и налива продукта на железнодорожных эстакадах следует принимать в соответствии с требованиями Правил перевозки отдельных грузов и Устава железных дорог, утвержденных МПС в установленном порядке.
5.9. Налив нефти, нефтепродуктов и СУГ в речные и морские суда следует предусматривать, как правило, средствами подземных хранилищ, а слив в хранилище - средствами судов или береговыми насосными станциями.
5.10. Для выполнения технологических операций по сливу и наливу продуктов, отстою воды, охлаждению продукта при его низкотемпературном хранении и при необходимости обеспечения стабильной эксплуатации всех типов хранилищ в условиях неравномерности поступления и отбора продукта допускается предусматривать наземные (буферные) резервуары.
5.11. Объем и количество наземных резервуаров следует определять на основании технико-экономических расчетов в зависимости от режима эксплуатации подземных хранилищ, производительности налива и отгрузки, но не менее двух резервуаров для каждого вида продукта.
5.12. Для низкотемпературного подземного хранилища СУГ допускается предусматривать напорные металлические (буферные) резервуары суммарным объемом до 1000 м3 при наземном и до 2000 м3 - при подземном расположении. При этом объем единичного цилиндрического металлического резервуара не должен превышать 200 м3 , а давление в нем 1,6 МПа (16 кгс/см2). При соответствующем технико-экономическом обосновании допускается увеличивать суммарный объем буферных резервуаров, устанавливаемых на территории низкотемпературного хранилища СУГ, до значений, приведенных в СНиП II-37-76.
5.13. При размещении подземных резервуаров СУГ следует предусматривать возможность подъезда пожарной техники к каждому резервуару.
5.14. Для перемещения СУГ по трубопроводам следует предусматривать насосы, компрессоры и холодильные турбоагрегаты, предназначенные для работы в среде углеводородных газов.
5.15. При наличии буферных резервуаров в насосных станциях следует предусматривать две группы насосов как низкого, так и высокого давления.
5.16. Для предотвращения выпадения жидкости и конденсатообразования испарительные установки следует предусматривать, как правило, с пароперегревателями.
5.17. Трубопроводы подземных хранилищ следует проектировать в соответствии с требованиями СНиП II-106-79, СНиП II-37-76, СН 527-80, СН 550-82 и других нормативных документов на соответствующие трубопроводы, утвержденных в установленном порядке, а также указаний настоящих норм.
5.18. Для рассолопроводов, в которых по условиям их прокладки возможно образование льда и выпадение гидратов, следует предусматривать одно из решений:
возможность слива рассола из трубопровода при прекращении его перекачки;
подогрев рассола и теплоизоляцию трубопровода;
принудительную постоянную циркуляцию рассола.
5.19. Для трубопроводов, расположенных в вертикальных стволах хранилищ, следует предусматривать устройства, исключающие возникновение гидравлических ударов.
5.20. Трубопроводы, предусматриваемые для транспортирования продукта от холодильных установок до подземных резервуаров, следует проектировать с теплоизоляцией, выполняемой из негорючих материалов.
5.21. Надземные трубопроводы, предусматриваемые для перекачки вязких и высокозастывающих нефти и нефтепродуктов, следует проектировать с теплоизоляцией и с тепловым спутником.
5.22. Защиту от коррозии наружной поверхности трубопроводов следует осуществлять:
при подземной прокладке - в соответствии с требованиями ГОСТ 9.015-74;
при надземной прокладке - в соответствии с требованиями СНиП 2.05.06-85;
при прокладке трубопроводов с тепловым спутником - в соответствии с требованиями СНиП II-Г.10-73*.
5.23. Запорная арматура, устанавливаемая на технологических трубопроводах, должна предусматриваться с автоматикой, обеспечивающей отключение отдельных звеньев технологического комплекса в случае утечки продукта или понижения давления в трубопроводах.
5.24. Насосные, компрессорные и другие помещения, в которых может образоваться взрывоопасная концентрация паров, следует оборудовать сигнализаторами взрывоопасных концентраций, срабатывающими при достижении концентрации паров газа в воздухе не более 20 % нижнего предела воспламеняемости.
5.25. Запорная и регулирующая арматура, устанавливаемая на трубопроводах для СУГ и легковоспламеняющихся жидкостей, должна быть, как правило, стальной и соответствовать первому классу герметичности затвора по ГОСТ 9544-75.
5.26. Проектирование рассолохранилищ следует осуществлять в соответствии с требованиями СНиП II-16-76, СНиП 2.06.05-84, СНиП 2.06.06-85, СНиП II-56-77 и настоящих норм.
5.27. При проектировании рассолохранилищ следует принимать один из следующих типов:
открытый - наземный (образуемый с помощью насыпных дамб), полузаглубленный (образуемый частично за счет выемок и частично за счет отсыпки дамб) и заглубленный (в виде выемок на полную глубину рассолохранилища, без защитных дамб) ;
закрытый - в виде наземных железобетонных или металлических резервуаров (как исключение, например, в случае необходимости хранения небольших объемов рассола или расположения хранилища в зоне полупустынь);
подземный - в виде выработки, созданной растворением каменной соли через скважину или сооруженной горным способом.
5.28. Объем рассолохранилища следует предусматривать равным, как правило, объему подземного хранилища. При соответствующем технико-экономическом обосновании допускается уменьшать объем рассолохранилища, но во всех случаях он должен быть не менее объема самого крупного подземного резервуара. При кооперировании подземных хранилищ с рассолопромыслами следует предусматривать проектирование буферного рассолохранилища, объем которого определяется на основании технико-экономического анализа.
Рассолохранилища открытого типа для районов распространения вечномерзлых грунтов допускается проектировать только при соответствующем технико-экономическом обосновании.
5.29. Для контроля за утечкой рассола по контуру рассолохранилища следует предусматривать гидронаблюдательные скважины.
5.30. Коэффициент фильтрации гидроизоляционных экранов рассолохранилищ не должен превышать 10-11 м/с.
5.31. Уклон откосов следует рассчитывать в соответствии со СНиП 2.06.05-84. При этом уклон внутренних откосов рассолохранилища следует назначать исходя из технологии укладки пленочного экрана 1:2,5-1:3. Внутренние откосы дамб должны защищаться от волнового воздействия в соответствии с требованиями СНиП 2.06.04-82. Ширину гребня дамбы следует устанавливать в зависимости от условий производства работ и эксплуатации, но не менее 3 м.
5.32. Глубину рассолохранилища следует принимать с учетом величины испарения и количества атмосферных осадков, а также „мертвого" объема, заиления и условий эксплуатации рассолохранилища.
5.33. Основные размеры рассолохранилища следует определять для каждой конкретной площадки в зависимости от климатических условий:
в районах с превышением испарения над осадками минимальные размеры в плане - за счет увеличения глубины рассолохранилища;
в районах с превышением осадков над испарением - исходя из наивыгоднейшего объема земляных работ.
5.34. На рассолохранилищах открытого типа следует предусматривать решения по стабилизации объема и концентрации оперативного рассола.
5.35. Территория рассолохранилища должна быть ограждена.
5.36. При расположении рассолохранилища в зоне пустынь или полупустынь полевые откосы дамб рассолохранилища следует защищать от ветровой эрозии обработкой их полиакриламидом (состоит из 8% полиакриламида и 92 % воды) и последующим посевом растительного покрова.
5.37. Проектирование внешних сетей и инженерного оборудования зданий и сооружений (водопровода, канализации, отопления, вентиляции, энергоснабжения и других коммуникаций) подземных хранилищ следует осуществлять в соответствии с требованиями СНиП 2.04.03-85, СНиП 2.04.01-85. СНиП П-37-76, СНиП II-106-79, СНиП II-33-75*, СНиП II-Г.10-73*, ГОСТ 12.1073-78. ГОСТ 12.1005-76 и других нормативных документов, утвержденных в установленном порядке, а также настоящих норм.
5.38. В проектах сетей канализации и водоснабжения, прокладываемых в зоне температурного влияния подземных низкотемпературных ледопородных резервуаров, следует предусматривать решения по исключению возможности замерзания перекачиваемых сред.
5.39. При расчете систем отопления и вентиляции их следует относить к параметру „Б" в соответствии с требованиями СНиП II-33-75*. Проектирование вентиляции подземных выработок хранилищ в устойчивых горных породах с положительной температурой следует осуществлять в соответствии с требованиями СНиП II-33-75* и дополнительными указаниями обязательного приложения 15.
5.40. Категории электроприемников подземных хранилищ в отношении обеспечения надежности электроснабжения следует принимать;
для хранилищ нефти и нефтепродуктов - согласно требованиям СНиП II-106-79;
для хранилищ СУГ (противопожарных и продуктовых насосных станций) - первой категории.
5.41. Производственные здания и сооружения подземных хранилищ СУГ в отношении опасности при применении электрооборудования следует классифицировать в соответствии с требованиями СНиП II-37-76.
5.42. Во всех взрывопожароопасных помещениях и сооружениях подземных хранилищ следует предусматривать рабочее и аварийное освещение, а у оголовков эксплуатационных колодцев и скважин - рабочее освещение, оборудованное светильниками в противовзрывоопасном исполнении.
5.43. Для подземных хранилищ следует предусматривать, как правило, следующие виды связи и сигнализации:
административно-хозяйственную телефонную связь, осуществляемую через автоматическую телефонную станцию предприятия;
прямую связь диспетчера хранилищ с железнодорожным узлом и водным причалом;
громкоговорящую производственную связь из операторной хранилищ; пожарную и охранную сигнализацию; радиофикацию.
5.44. Молниезащиту наземных зданий и сооружений подземных хранилищ следует проектировать в соответствии с требованиями СН 305-77 и Правил устройства электроустановок (ПУЭ), утвержденных Минэнерго СССР.
5.45. Пожаротушение наземных зданий и сооружений подземных хранилищ всех типов следует проектировать в соответствии с требованиями СНиП 2.04.02-84, СНиП II-37-76, СНиП II-106-79,СНиП 2.04.09-84, СНиП 2.04.01-85, СНиП II-89-80 и других нормативных документов, утвержденных в установленном порядке.
5.46. Для низкотемпературных ледопородных резервуаров СУГ следует предусматривать термодатчики, устройство которых обеспечивает подачу сигнала на щит операторной при повышении температуры в паровом пространстве резервуара (непосредственно под перекрытием) выше минус 3°С.
5.47. Водоснабжение на наружное пожаротушение подземных низкотемпературных ледопородных хранилищ СУГ следует предусматривать, как правило, от противопожарного водопровода высокого давления.
При соответствующем технико-экономическом обосновании допускается предусматривать для этой цели подачу воды из водоемов или от гидрантов водопровода низкого давления при условии, что расчетные расходы воды не превышают 20 л/с.
5.48. При проектировании противопожарного водоснабжения для подземных хранилищ СУГ следует учитывать расход воды на охлаждение перекрытий подземных низкотемпературных ледопородных резервуаров, расположенных ближе двух нормативных расстояний от горящего резервуара.
Расход воды на охлаждение перекрытий этих резервуаров следует принимать из расчета 0,05 л/(м2 • с). Расчетное время охлаждения следует принимать равным 3 ч. За расчетную площадь орошения перекрытия резервуара следует принимать проекцию перекрытия на горизонтальную плоскость.
5.49. Подача воды для охлаждения перекрытия подземного низкотемпературного ледопородного резервуара СУГ должна предусматриваться, как правило, с помощью стационарной системы, подающей тонкодисперсную воду. Для этих резервуаров с диаметром перекрытия более 15 м следует предусматривать подачу распыленной воды из стационарных установок.
5.50. За расчетный расход воды на наружное пожаротушение подземных низкотемпературных ледопородных хранилищ СУГ следует принимать один из наибольших расходов:
на наружное пожаротушение напорных металлических резервуаров, определяемый согласно требованиям СНиП II-37-76;
на охлаждение перекрытий подземных низкотемпературных ледопородных резервуаров или наибольший суммарный расход на наружное и внутреннее пожаротушение одного из зданий хранилища.
5.51. Сеть противопожарного водопровода подземных хранилищ следует проектировать кольцевой. Прокладка противопожарных водопроводов вблизи подземных резервуаров (за исключением шахтных и траншейных резервуаров в вечномерзлых породах) должна предусматриваться в талом грунте.
ПОДЗЕМНЫЕ РЕЗЕРВУАРЫ, ПРЕДНАЗНАЧЕННЫЕ ДЛЯ ЭКСПЛУАТАЦИИ МЕТОДОМ ЗАМЕЩЕНИЯ ПРОДУКТА РАССОЛОМ, ГАЗОМ ИЛИ ВОДОЙ
6.1. Оголовки скважин подземных резервуаров, эксплуатация которых будет осуществляться методом замещения продукта рассолом, газом или водой, должны обеспечивать:
при строительстве - раздельную закачку в скважины воды и нерастворителя с одновременной выдачей рассола, переключение на различные режимы перекачек жидкостей (прямоток-противоток), пропуск в скважины геофизических приборов, замеры давлений и температур на водяных и рассольных линиях и на линиях нерастворителя, отбор проб воды, рассола и нерастворителя;
при эксплуатации - закачку продукта в резервуары с одновременной выдачей рассола (газа) и, наоборот, пропуск в скважины геофизических приборов, предотвращение попадания продукта в наземные рассольные трубопроводы, аварийный сброс СУГ на свечу через продуктовую и рассольную (водяную) часть оголовка, замеры давлений и температур на всех коммуникациях, отбор проб продукта, рассола (воды) и газа (вытесняющего агента).
6.2. Оголовки технологических скважин должны соответствовать требованиям Правил устройства и безопасной эксплуатации сосудов, работающих под давлением, утвержденных Госгортехнадзором СССР.
6.3. Оголовки скважин всех типов подземных резервуаров следует проектировать сборно-разборными с учетом максимального использования их узлов при строительстве и эксплуатации резервуаров.
6.4. Для компенсации уменьшения объема продукта хранения и рассола в резервуарах от снижения температуры и донасыщения рассола в резервуаре следует предусматривать устройства, автоматически пополняющие подземные резервуары рассолом.
6.5. На рассолопроводах хранилищ СУГ следует предусматривать устройство для отделения и отвода на свечу растворенного в рассоле или попавшего в него сжиженного газа.
6.6. При отборе СУГ из подземных резервуаров безнасосным способом следует предусматривать установку разделительных аппаратов (дегазаторы, адсорберы, газосепараторы и др.) для сепарации газожидкостных и парогазовых смесей и выделения воды из сжиженных газов.
6.7. Резервуары, отбор продукта из которых осуществляется методом вытеснения газом, следует оборудовать предохранительными клапанами, обеспечивающими сброс паровой фазы из резервуаров при достижении в них давления свыше 10% рабочего.
ПОДЗЕМНЫЕ РЕЗЕРВУАРЫ, ПРЕДНАЗНАЧЕННЫЕ ДЛЯ ЭКСПЛУАТАЦИИ БЕЗ ЗАМЕЩЕНИЯ ПРОДУКТА ХРАНЕНИЯ
6.8. Технологическое оборудование подземных резервуаров, эксплуатация которых будет осуществляться без замещения продукта хранения другой средой, должно обеспечивать:
налив и отбор продуктов и откачку воды, замеры уровней продукта и воды (с сигнализацией минимально и максимально допускаемых уровней), давления (или разрежения в низкотемпературных ледопородных резервуарах СУГ) и температуры жидкой и паровой фаз продуктов;
„дыхание" и сброс аварийного давления СУГ на свечу.
6.9. Для выдачи вязких и высокозастывающих продуктов из подземных резервуаров при соответствующем обосновании допускается предусматривать системы общего и местного подогрева.
6.10. Для обеспечения рассредоточенного залива продукта в резервуар допускается разводка распределительных устройств внутри выработок-емкостей.
6.11. Вертикальные и горизонтальные участки подземного трубопровода, по которому производится залив продукта в подземный резервуар, следует предусматривать разъемными.
6.12. Погружные насосы, предназначенные для откачки нефтепродуктов из подземного резервуара, сооружаемого в вечномерзлых породах, следует оборудовать системой обогрева. В этом случае установку электродвигателей погружных насосов следует предусматривать в обогреваемых помещениях или под обогреваемыми колпаками.
РАССОЛОХРАНИЛИЩА
6.13. Рассолохранилища следует оборудовать устройствами, предотвращающими попадание в них нефтепродуктов и сжиженных газов с рассолом.
6.14. Наземные рассолохранилища открытого типа следует, как правило, оборудовать устройствами стабилизации объема и концентрации оперативного рассола. Эти устройства должны обеспечивать отбор разбавленного водой рассола с зеркала его переменного уровня при преобладании осадков над испарением и добавление пресной воды на поверхность зеркала рассола при превышении испарения над осадками.
НАЗЕМНЫЕ ТЕХНОЛОГИЧЕСКИЕ УСТАНОВКИ
6.15. При проектировании оборудования наземных технологических установок подземных хранилищ следует руководствоваться требованиями СНиП II-37-76, СНиП II-106-79. Система автоматизации и телемеханизации технологических процессов подземных хранилищ должна предусматривать автоматический учет получаемого и отпускаемого продукта, запись температуры, давления в парогазовом пространстве и, как правило, уровня продукта в подземных резервуарах.
6.16. При проектировании закачки рассола в поглощающие водоносные горизонты, сложенные неустойчивыми породами, в насосных станциях помимо основных следует предусматривать дополнительные насосы с производительностью 5-10 м3/ч для поддержания избыточного давления в нагнетательных скважинах во время перерывов в сбросе рассола. Не допускается установка насосов с характеристиками по давлению нагнетания, превышающими расчетные более чем на 15 %.
6.17. Для поддержания проектного температурного режима в подземном резервуаре траншейного и шахтного типа, сооружаемых в вечномерзлых породах, а также для охлаждения СУГ перед сливом в низкотемпературный ледопородный резервуар, в составе наземного комплекса хранилища следует, как правило, предусматривать охлаждающее устройство. Допускается не предусматривать охлаждающие устройства для подземных резервуаров:
сооружаемых в мерзлых монолитных скальных породах, не теряющих экранирующих свойств при оттаивании;
предназначаемых для нефтепродуктов, температура которых при сливе не превышает температуру таяния вмещающих пород и если среднегодовая температура внутренних поверхностей подземного резервуара не превышает минус 3°С.
6.18. Охлаждающее устройство для резервуаров, сооружаемых в вечномерзлых породах, следует проектировать, как правило, с использованием естественного холода атмосферного воздуха при температуре ниже минус 15°С.
6.19. Производительность и конструктивные параметры охлаждающего устройства для траншейных и шахтных резервуаров следует рассчитывать из условия восстановления естественной температуры вмещающего выработки-емкости массива вечномерзлых пород к очередному заполнению резервуара топливом.
6.20. Мощность и количество холодильных установок следует определять в зависимости от заданной производительности слива газа и скорости его испарения в период хранения.
В качестве хладагента в холодильной установке следует применять хранимый в низкотемпературном резервуаре сжиженный газ. При соответствующем технико-экономическом обосновании допускается применение холодильно-технологических схем, использующих другие хладагенты.
6.21. Холодопроизводительность охлаждающей установки бесшахтного резервуара следует принимать из условия исключения возможности оттаивания ледяной облицовки или породных стенок резервуара в любой период эксплуатации, включая период заполнения хранимым продуктом, и поддержания среднегодовой температуры продукта и стенок емкостей не выше естественной температуры вмещающих вечномерзлых пород.
Холодопроизводительность охлаждающего устройства следует определять в соответствии с рекомендуемым приложением 16.
Рекомендуемое
ДОПУСКАЕМЫЕ СРОКИ ХРАНЕНИЯ СВЕТЛЫХ НЕФТЕПРОДУКТОВ
|
Светлые нефтепродукты |
Допускаемые сроки хранения, лет, при температуре вмещающей каменной соли, С |
|
|
|
от 15 до 20 |
от 20 до 26 |
от 26 до 30 |
|
Бензин авиационный |
5 |
5 |
3 |
|
Бензин автомобильный этилированный |
12 |
10 |
6 |
|
То же, неэтилированный |
11 |
9 |
5 |
|
Дизельное топливо |
12 |
10 |
8 |
|
Топливо для реактивных двигателей |
5 |
5 |
3 |
Рекомендуемое
ОПРЕДЕЛЕНИЕ ОБЪЕМА ВЫБРОСА НЕФТЕПРОДУКТОВ И СУГ ПРИ РАЗГЕРМЕТИЗАЦИИ ОГОЛОВКА СКВАЖИН ПОДЗЕМНЫХ РЕЗЕРВУАРОВ В КАМЕННОЙ СОЛИ
Объем выброса продукта хранения Ve, м3, допускается вычислять по формуле
,
где ![]()
- изменение давления внутри резервуара при разгерметизации
оголовка. Па;
- степень
заполнения резервуара продуктами (в долях единицы);
-
изотермический коэффициент сжимаемости рассола, 1/Па, для насыщенного
рассола допускается принимать равным 2,3 • 10
1/Па;
- изотермический коэффициент сжимаемости продукта. 1/Па, допускается
принимать равным (8-12)10
1/Па, где нижние значения коэффициента относятся к дизельным
топливам, верхние - к бензинам;
для сжиженных газов
следует принимать по имеющимся справочным данным;
- коэффициент
концентрации напряжений на контуре резервуара,
принимаемый равным:
для резервуаров сферической или близкой к сферической формы - 1,5;
для резервуаров, вытянутых вдоль оси скважины (цилиндрической или близкой к ней формы) , - 2;
Е - модуль упругости каменной соли. Па. Для каменной соли можно принимать Е = 1,8 .10
Па.
Примечание. При расчете объема обвалования уровень разлившейся жидкости при максимальном объеме излива следует принимать ниже верхней отметки гребня обвалования на 0,2 м.
Рекомендуемое
ОЦЕНОЧНАЯ КЛАССИФИКАЦИЯ ГОРНЫХ ПОРОД ПО ЭКРАНИРУЮЩЕЙ СПОСОБНОСТИ
|
Экранирующая способность горных пород |
Давление прорыва через водонасыщенную породу, МПа (кгс/см2) |
Коэффициент
проницаемости по газу |
Коэффициент водонасыщенности породы, % |
|
Высокая |
Св. 7 (70) |
Менее 1(1) |
85 и более |
|
Повышенная |
Св. 4(40) до 7(70) |
Св.10(10) до 1(1) |
То же |
|
Средняя |
" 1,5(15) " 4(40) |
" 102 (102) до 10 (10) |
" |
|
Пониженная |
" 0,5(5) " 1,5(15) |
" 103(103) "102(102) |
" |
|
Низкая |
" 0,1(1) "0,5(5) |
" 104(104) "103(103) |
" |
|
Очень низкая |
" 0,01 (0.1) " 0,1(1) |
" 105(105) "104(104) |
25 и более |
Примечания: Коэффициенты проницаемости по газу
и водонасыщенности
пород определяются при инженерно-геологических изысканиях.
2. Оценку пригодности пород следует производить по величине давления прорыва через водонасыщенную породу. При этом давление прорыва должно быть не менее избыточного давления в выработках-емкостях, определяемого технологической частью проекта.
Рекомендуемое
1. Экранирующие свойства массивов вечномерзлых пород, предназначаемых для строительства подземных резервуаров, рекомендуется оценивать по данным опытных наливов светлых нефтепродуктов в разведочные скважины.
2. При проведении опытных наливов в разведочные скважины в качестве испытательной жидкости следует использовать светлый нефтепродукт, подлежащий хранению. Допускается в качестве испытательной жидкости, использовать керосин и реактивное топливо независимо от видов подлежащих хранению светлых нефтепродуктов.
3. Испытываемый интервал в разведочной скважине перед заливом испытательной жидкости должен быть проработан буровым инструментом „всухую". Диаметр бурового инструмента должен быть равен или больше диаметра ствола скважины.
4. Замеры глубины уровня испытательной жидкости в разведочной скважине следует производить один раз в сутки.
5. Вечномерзлые породы в испытанном интервале глубин считаются пригодными для строительства подземных резервуаров, если понижение уровня испытательной жидкости а разведочной скважине за 10 сут, не считая первых, составило менее 5 см.
6. По окончании опытных наливов испытательная жидкость из разведочной скважины вытесняется водой, собирается или сжигается на месте.
Обязательное
1. Минимальную глубину заложения кровли подземных резервуаров, эксплуатирующихся в условиях избыточного давления, Hmin, м, при сооружении резервуаров в непроницаемых породах следует определять по формуле
(1)
где Pmax - максимальное давление продукта, Па, принимаемое: для бесшахтных резервуаров на уровне башмака основной обсадной колонны; для резервуаров, сооружаемых горным способом в породах с положительной температурой, - на уровне кровли резервуара;
n - коэффициент условия работы, принимаемый:
1.0 - для бесшахтных резервуаров в вечномерзлых породах;
0,9 - для резервуаров в каменной соли при спокойном пластовом или пластово-линзообразном залегании соли, когда надсолевая толща представлена плотными непроницаемыми породами;
0,8 - для резервуаров, сооружаемых горным способом в породах с положительной температурой;
0,7 - в остальных случаях;
- длина
необсаженной части скважины, м, принимаемая для резервуаров: в каменной соли -
согласно п.
4.17; сооружаемых горным способом в породах с положительной температурой -
равной нулю:
- усредненная
плотность пород, залегающих выше кровли выработок, кг/м3;
, (2)
здесь
- плотность пород соответствующих слоев, кг/м3;
- мощность
слоев, м;
n - число слоев.
В трещиноватом массиве с напорными подземными водами глубину заложения кровли резервуаров, сооружаемых горным способом в породах с положительной температурой, следует выбирать с таким расчетом, чтобы величина подпора подземных вод на кровлю выработок-емкостей превышала внутреннее давление в резервуаре не менее чем на 0,05 МПа (0,5 кгс/см2 ) .
2. Глубину заложения кровли выработок-емкостей подземных резервуаров для нефти и нефтепродуктов, сооружаемых горным способом в породах с положительной температурой, следует определять:
при сооружении хранилищ в непроницаемых породах - из условия максимального приближения выработок-емкостей к поверхности с обеспечением устойчивости кровли, но не менее 20 м;
при сооружении хранилищ в трещиноватом водоносном массиве - из условия размещения кровли выработок-емкостей не менее чем на 5 м ниже местного статического уровня подземных вод.
Рекомендуемое
Устойчивость подземного резервуара следует обеспечивать выбором рациональной формы и таких геометрических размеров, при которых:
не вся поверхность резервуара принадлежит области запредельного деформирования (ОЗД);
объем каждой ОЗД не превышает некоторого заданного значения Vmax;
максимальный размер ОЗД в направлении, нормальном поверхности резервуара, не превышает 0,04 l, где l - пролет резервуара;
растягивающие напряжения в породном массиве не превышают прочности породы.
Напряженное состояние породного массива и положение ОЗД определяются путем решения соответствующей задачи механики горных пород (по программе для ЭВМ, разработанной специализированной организацией) при уравнении состояния каменной соли:
; (1)
; (2)
где
;
;
;
;
.
В формулах (1) и (2):
- интенсивность касательных напряжений;
- интенсивность касательных напряжений, соответствующая
пределу длительной прочности при заданной сумме главных напряжений
;
- интенсивность деформации сдвига;
- интенсивность деформации сдвига при
и бесконечно большом
значении времени;
Е - модуль деформации;
- коэффициент Пуассона;
- объемная деформация;
- главные напряжения;
- главные
деформации.
ОЗД
включает точки породного массива, в которых значение интенсивности деформации
сдвига
, превысило величину
.
Параметры
уравнений (1) и (2)
,
, Е,
определяются путем обработки результатов длительных
испытаний (700 ч) образцов каменной соли при сжатии в условиях ползучести для
постоянной суммы главных напряжений
, Па, вычисляемой по формуле
,
где
- усредненная
плотность пород, залегающих выше кровли резервуара, кг/м3.
Наибольшее
значение
, при котором не наблюдается увеличение объема образца в
процессе деформирования каменной соли в условиях ползучести, есть величина
,. Для вычисления параметра
необходимо
экспериментально определить величину
при разрушении в
результате длительного действия (более 100 ч) интенсивности касательных
напряжений
. Тогда величина
вычисляется по
формуле
.
Модуль
деформации и коэффициент Пуассона определяются по полученным во время испытаний
мгновенным продольным и поперечным деформациям при
.
Для цилиндрического резервуара пролет l, м, рекомендуется определять по формуле
где Vadm - допустимый объем ОЗД в окрестности потолочины, м";
Vr — объем ОЗД а окрестности потолочины для резервуара с пролетом l = 1, определяемый по формуле
— безразмерные параметры,
значения которых приведены в таблице в зависимости от безразмерной величины
, определяемой по формуле
, (5)
и от отношения высоты h к пролету l (см. таблицу)
|
|
|
|
|
|
3 и более |
1,105 1.073 1,04 |
29,6 19,1 4,9 |
4,8 5,13 6,19 |
|
1 |
1,105 1.073 1,04 |
22,3 10 1,1 |
4,63 5,32 7,23 |
|
|
1,105 1,073 1,04 |
4,5 1,5 0,72 |
6,41 7,34 7,37 |
На
основании опыта эксплуатации подземных хранилищ рекомендуется принимать Vadm = 700 м3, Vr
1,37•10-3 .Если вычисленное по
формуле (4) значение Vr меньше 1.37 • 10-3,
то следует принимать Vr = 1,37•10-3
При значениях
, отличающихся от приведенных в таблице, по формуле (4) вычисляются объемы ОЗД для двух
ближайших
, линейной интерполяцией находится необходимое значение Vr и по формуле (3) определяется пролет резервуара.
Обязательное
ОПРЕДЕЛЕНИЕ РАССТОЯНИЯ МЕЖДУ УСТЬЯМИ СОСЕДНИХ ТЕХНОЛОГИЧЕСКИХ СКВАЖИН
Расстояние между устьями соседних технологических скважин, следует определять по формуле
,
где r - радиус подземного резервуара*, м;
z - коэффициент, учитывающий минимальную величину целика между резервуарами в зависимости от их формы, принимаемый равным для резервуаров:
шарообразной формы ............................. 2
в виде тел вращения, вытянутых
вдоль оси скважины............................... 2,5
n - коэффициент, учитывающий погрешности контроля при формообразовании, принимаемый равным:
для схемы растворения соли
сверху вниз .............................................. 0,1
то же, снизу вверх ....................................0,5
для комбинированной и иных схем ...... 0,2
k - коэффициент, учитывающий расстояние от стенок резервуара до оси скважины и возможную асимметричность формы резервуара, образуемого а процессе растворения соли, определяемый по таблице.
* Если соседние резервуары имеют разные размеры, то значение r в формуле принимается равным большему радиусу.
Форму кровли подземного резервуара рекомендуется принимать куполообразной или конусообразной, кровлю резервуара допускается проектировать с верхней плоской частью диаметром до 30 м.
|
Морфологический тип месторождения |
Значение коэффициента k при схеме растворения |
||
|
сверху вниз |
снизу вверх |
комбинированной и иной |
|
|
Пластовый |
2.2 |
2.7 |
2,4 |
|
Пластово-линзообразный |
2,2 |
2,7 |
2.4 |
|
Куполо - и штокообразный |
2,5 |
3,5 |
3 |
В мощных соляных залежах расстояние между устьями скважин допускается уменьшать за счет двух- или многоярусного расположения резервуаров. При этом величина целика между соседними подземными резервуарами по кратчайшему расстоянию должна соответствовать требованиям формулы, а расстояние от стенки резервуара до соседней скважины должно быть не менее 50 м.
При необходимости вытеснения продукта из подземного резервуара ненасыщенным рассолом или водой следует произвести расчет до размыва подземного резервуара в процессе эксплуатации и определение ее конечной конфигурации. Значение r в формуле принимается в соответствии с конечной конфигурацией. Доразмыв резервуара может быть запланирован на стадии проектирования в соответствии с потребностями в расширении объема хранения без капитальных затрат.
Рекомендуемое
РАСЧЕТ РАЗМЕРА ОХРАННОГО ЦЕЛИКА СОЛИ В КРОВЛЕ РЕЗЕРВУАРА ПО УСЛОВИЯМ ФИЛЬТРАЦИИ ПРОДУКТА (ПРИ ОТСУТСТВИИ ВОДОУПОРОВ)
Мощность целика соли в кровле резервуара m, м, допускается определять по формуле
,
но принимать не менее 20 м по конструктивным соображениям,
где
- коэффициент
проницаемости затрубного цементного кольца в пределах целика, м2;
А - средняя площадь затрубного цементного кольца в пределах целика, м2;
Нr - расстояние от поверхности земли до кровли пласта каменной соли, в котором создается камера, м;
Pb - статическое давление пластовой жидкости на уровне кровли пласта каменной соли, Па;
- коэффициент,
учитывающий время закачки продукта в резервуар по отношению к общему времени
хранения (в долях от единицы);
Pr - сумма гидравлических сопротивлении в центральной колонне технологической скважины и противодавления рассола на оголовке при движении рассола в процессе закачки продукта в резервуар. Па;
-динамическая вязкость хранимого продукта, Па с;
Qp -допускаемый объемный расход хранимого продукта через затрубное цементное кольцо в пределах целика соли, м3/с, который следует определять в соответствии с действующими санитарными нормами охраны подземных вод от загрязнения и согласовывать с органами охраны природы в установленном порядке, в расчетах рекомендуется Qp = 4-10-11 м3/с.
Если по условиям прочности подземного резервуара размер целика соли превышает размер целика по условиям фильтрации хранимого продукта через затрубное цементное кольцо обсадной колонны, то принимается большая величина.
Рекомендуемое
ОПРЕДЕЛЕНИЕ ТЕХНИЧЕСКИХ ХАРАКТЕРИСТИК СООРУЖЕНИЙ ПО ЗАКАЧКЕ РАССОЛА В ГЛУБОКИЕ ВОДОНОСНЫЕ ГОРИЗОНТЫ
1. РАСЧЕТ ОЧИСТНЫХ СООРУЖЕНИЙ
1.1. Допускаемое содержание нерастворимой взвеси (НВ) в закачиваемом рассоле рекомендуется определять в зависимости от проницаемости и вида водоносного коллектора поглощающего горизонта в соответствии с данными табл. 1.
Таблица 1
|
Коллектор водоносного горизонта |
Коэффициент проницаемости, |
Допускаемое содержание НВ с гидравлической крупностью до 0.02 мм/с в рассоле, мг/л |
|
Трещинный |
1,0 и более |
150 |
|
|
0,5-1,0 |
100 |
|
|
Менее 0,5 |
15 |
|
Поровый сцементированный |
0,5 и более |
50 |
|
|
0,25-0.5 |
25 |
|
Поровый рыхлый |
0,5 и более |
25 |
|
|
0,25-0.5 |
15 |
|
Всех видов |
Менее 0,25 |
10 |
1.2. При выборе способа очистки рассола от НВ следует руководствоваться данными табл. 2.
Таблица 2
|
Содержание НВ с гидравлической крупностью до 0,02 мм/с в неочищенном рассоле, мг/л |
Допускаемое содержание НВ в очищенном (закачиваемом) рассоле, мг/л |
Рекомендуемый способ очистки рассола |
|
Св. 200 |
Менее 150 |
Коагуляция |
|
125-200 |
50-100 |
Отстаивание |
|
125-200 |
25-50 |
Коагуляция |
|
65-125 |
10-25 |
Отстаивание с фильтрацией |
|
Менее 65 |
C8.25 |
Отстаивание |
|
|
15-25 |
Коагуляция |
|
|
10-15 |
Отстаивание с фильтрацией |
1.3. Средняя концентрация взвеси (твердая фаза) в
уплотненном шламе
принимается в
зависимости от содержания НВ в исходном рассоле по табл. 3.
Таблица 3
|
Содержание НВ в исходном |
Средняя концентрация уплотненного шлама, кг/м3, через |
|
|
24 ч |
720 ч. |
|
|
До 100 |
10 |
25 |
|
100-400 |
10-20 |
25-65 |
|
400-1000 |
20-100 |
65-200 |
|
1000-2500 |
100-400 |
200-600 |
1.4. Продолжительность отстаивания рассола должна быть не менее 6 ч. Глубина зоны осаждения в отстойных картах не должна превышать 1,5 м.
1.5. Очистка рассола коагуляцией производится с помощью поочередного ввода в рассол водных растворов сернокислого закисного железа (FeSO4), силиката натрия (Na2Si03) и полиакриламида (ПАА), при рН рассола в пределах от 6 до 8. При других значениях рН следует предусматривать нейтрализацию рассола.
2. РАСЧЕТ ЧИСЛА НАГНЕТАТЕЛЬНЫХ СКВАЖИН В РАССОЛОСБРОСЕ
2.1. Удельную приемистость одиночной нагнетательной скважины qs, м3/(ч • МПа), следует рассчитывать по формуле
, (1)
где -коэффициент снижения приемистости нагнетательной скважины за счет кольматации призабойной зоны принимается равным 0,25;
- коэффициент
проницаемости водоносного горизонта, м2 ;
m - мощность вскрытых водоносных пород, м;
- динамическая
вязкость рассола в пластовых условиях, Па • с;
- коэффициент пьезопроводности, м2 /сут;
t -общая продолжительность закачки рассола, сут;
rs - радиус рассолоприемной части скважины, м.
2.2.
Допустимый перепад давлений
, Па, при нагнетании рассола в одиночную скважину следует
рассчитывать по формуле
, (2)
где
- усредненная плотность пород кровли водоносного горизонта,
кг/м3;
Нr- глубина кровли вскрытого интервала водоносного горизонта, м;
Pb, - статическое пластовое давление в водоносном горизонте, Па.
2.3. При определении расчетного числа нагнетательных скважин в рассолосбросе следует учитывать гидравлическое взаимодействие между ними.
Снижение
перепада давлений
, Па в скважине i от влияния скважины j следует рассчитывать по формуле
, (3)
где i, j - номера скважин;
rij - расстояние между скважинами i и j, м.
2.4. Расчетное число нагнетательных скважин n в рассолосбросе должно удовлетворять условию
(4)
где Q - требуемая производительность закачки рассола, м3/ч.
2.5.
При n
2 следует предусматривать одну резервную нагнетательную скважину.
3. РАСЧЕТ ВЫСОКОНАПОРНЫХ РАССОЛОПРОВОДОВ
3.1. Расчетное давление в высоконапорном рассолопроводе Pp, Па, следует определять по формуле
где Ph - максимально допустимое давление на устье нагнетательной скважины, Па;
Pbr,Ploc - соответственно линейное и местное сопротивления в рассолопроводе, Па, рассчитываются по общеизвестным формулам гидравлики.
3.2. Максимально допустимое давление на устье нагнетательной скважины Рh, Па, следует рассчитывать по формуле
, (6)
где
- коэффициент гидравлических сопротивлений, принимаемый
равным 0,024;
- скорость движения
рассола, м/с (принимается не более 2 м/с) ;
r - гидравлический радиус канала в нагнетательной скважине, по которому ведется закачка рассола, м.
4. РАСЧЕТ НАСОСНОГО ОБОРУДОВАНИЯ
4.1. Производительность насосного оборудования для закачки рассола следует принимать равной производительности подземного растворения соли.
4.2. Давление нагнетания насосного оборудования следует рассчитывать по формуле (5).
4.3. Паспортное давление нагнетания насоса для закачки рассола в нагнетательные скважины не должно превышать расчетное давление более чем на 10%.
Рекомендуемое
КОНСТРУКЦИИ ГЕРМЕТИЧНЫХ ПЕРЕМЫЧЕК И МАТЕРИАЛЫ ДЛЯ ГЕРМЕТИЗАЦИИ ВЫРАБОТОК-ЕМКОСТЕЙ
1. Для герметизации выработок-емкостей следует предусматривать следующие конструкции герметичных перемычек:
бетонная с контурным гидрозатвором (черт. 1) - для нефти и нефтепродуктов;
двойная бетонная с гидрозатвором (черт. 2) - для СУГ;
двойная металлическая (черт. 3 и 4) -для СУГ;
одинарная металлическая - для нефти и нефтепродуктов.
В перемычках следует предусматривать проем диаметром в свету не менее 600 мм, перекрываемый герметичным люком.

Черт.1. Бетонная перемычка с контурным гидрозатвором
1 - выработка-емкость; 2 - напорная стенка; 3 - полость контурного гидрозатвора; 4, 5 - система трубопроводов для залива и перемешивания изолирующей жидкости; 6 - металлический лист

Черт. 2. Двойная бетонная перемычка с гидрозатвором
1 - выработка-емкость; 2 - напорные стенки герметичной перемычки; 3 - полость гидрозатвора с изолирующей жидкостью; 4 - штроба; 5 - трубопровод для выпуска воздуха из гидрозатвора; 6 - трубопровод для заполнения гидрозатвора

Черт. 3. Двойная металлическая перемычка, расположенная в верхней части ствола
1, 2 - металлические перемычки в обсадной трубе; 3 - устье ствола; 4 - продуктонепроницаемый раствор; 5 - обсадная труба; 6 - выработка-емкость; 7 - зумпф

Черт. 4. Двойная металлическая перемычка, расположенная в нижней части ствола
1 - опорный венец крепи ствола; 2 - кольцевые металлические воротники; 3 - металлические перемычки; 4- продуктонепроницаемый раствор; 5 - металлическая сварная обечайка; 6 - железобетонная рубашка; 7 - выработка-емкость; 8- зумпф
2. В качестве материалов для герметичных перемычек следует предусматривать бетон, железобетон (в случае необходимости - в комбинации с листовой сталью) и металл.
3. Бетоны, используемые для сооружения герметичных перемычек, должны иметь:
классы по прочности на сжатие В35;
классы по прочности на осевое растяжение Вt2,4;
марки по морозостойкости F100;
марки по водонепроницаемости не ниже W12;
коэффициент проницаемости по газу не более 10-8 мкм2 (10-5 мД);
коэффициент агрессивной стойкости к углеводородным средам не ниже 0,80.
4. Для приготовления бетона допускается применять напрягающий цемент, а также бетоны и растворы. приготовленные на основе или с введением различных химических добавок, при условии соблюдения требований, изложенных в п. 3 настоящего приложения.
5. Для заполнения полостей гидрозатворов следует применять изолирующие жидкости, как правило, на основе глинистого раствора из бентонитового порошка ПБВ по ТУ 39-01-08-658-81.
Заполнение полости гидрозатвора производится поэтапно в соответствии с ВСН 515-85, утвержденными Мингазпромом, при этом изолирующие жидкости должны иметь различную водоотдачу (2-6 см3 и 15-18 см3 по прибору для измерения водоотдачи глинистых растворов) и не расслаиваться.
В качестве добавок к изолирующей жидкости допускается применять жидкое стекло, карбоксиметилцеллюлозу, щелочь, гипан и другие добавки, обеспечивающие стабильность раствора.
Давление изолирующей жидкости в полости гидрозатвора должно превышать на 0,05-0,1 МПа (0,5-1,0 кгс/см2) давление хранимых продуктов в выработках-емкостях.
6. Для тампонажа затрубного пространства скважин, закрепного пространства выработок, контура перемычек и трещиноватых зон следует применять растворы, приготовленные на основе цементов и смол с различными добавками.
7. К тампонажным растворам на основе цементов предъявляются следующие требования:
прочность при изгибе в возрасте 2 сут - не менее 2.7 МПа (27 кгс/см2);
коэффициент проницаемости по газу - не более 10-8 мкм2 (10-5 мД);
деформации расширения - не менее 4 и не более 14 мм/м;
коэффициент агрессивной стойкости к углеводородным средам - не менее 0,85.
К тампонажным растворам на основе смол предъявляются следующие требования:
коэффициент проницаемости по газу - не более 10-8 мкм2 (10-5 мД);
вязкость 14-18 с (по ГОСТ 8420-74);
коэффициент агрессивной стойкости к углеводородным средам - не менее 0,85;
безусадочность.
Рекомендуемое
ГРАФИК ЗАВИСИМОСТИ ТОЛЩИНЫ
СТЕНКИ ГЕРМЕТИЧНЫХ ПЕРЕМЫЧЕК
ОТ НАГРУЗКИ Р ПРИ СЕЧЕНИИ ПОДХОДНОЙ ВЫРАБОТКИ 3.8 х
3,8 м
(на основе расчетов свободно опертых плит)

I - для бетона класса В25;
II - то же, В30;
III - " " В40.
Рекомендуемое
ОПРЕДЕЛЕНИЕ ТОЛЩИНЫ ПОЛУЦИРКУЛЬНОГО ЛЕДЯНОГО СВОДА ТРАНШЕЙНОГО РЕЗЕРВУАРА
Толщину h, м, полуциркульного ледяного свода (черт. 1) , обеспечивающую устойчивость свода, следует определять из формулы для расчета осадки замка полуциркульного свода s, м, за время t, с
, (1)
где
- вязкость льда. Па •
с;
- плотность
засыпки, кг/м3;
- высота
засыпки, м;
, - платность льда, кг/м3;
r - радиус свода, м.

Черт. 1. Схема траншейного резервуара с ледяным полуциркульным сводом
По формуле (1) построена номограмма (черт. 2) для определения величины h/r при принятых значениях hf, r и коэффициента k, вычисляемого по формуле
. (2)

Черт. 2. Номограмма для определения толщины полуциркульного ледяного свода траншейного резервуара
h - толщина свода; hf- высота засыпки; r - радиус свода
Для
построения номограммы принято
= 2. При заданном r по величине
находим толщину свода
h.
Примечание. Для вычисления k рекомендуются следующие значения входящих в формулу (2) величин:
Па.с;
= 900 кг/м3; s/r= 0,01 -
при условии t =3,15.107
с (1 год).
Рекомендуемое
РАСЧЕТ ТОЛЩИНЫ ТЕПЛОИЗОЛЯЦИИ ТЕХНОЛОГИЧЕСКИХ СКВАЖИН ШАХТНЫХ РЕЗЕРВУАРОВ
Минимально допустимую (из условия сохранения породы в мерзлом состоянии) толщину теплоизоляции технологической скважины d, м, рекомендуется определять согласно уравнению
, (1)
где
- температура фазовых переходов воды в лед, ° С;
tr - естественная температура вечномерзлой породы. °С;
tp -средняя за период заполнения температура продукта, °С;
erf
- функция ошибок Гаусса, затабулирована и
приводится в справочной литературе
;
b и
- коэффициенты, определяемые по формулам:
; (2)
, (3)
здесь
-коэффициент температуропроводности теплоизоляции, м2/с;
Q - скорость заполнения резервуара, м3/с;
- коэффициент
теплопроводности теплоизоляции, Вт/(м3•°С) ;
сi-объемная теплоемкость теплоизоляции, Дж/( м3•°С);
-коэффициент теплопроводности вечномерзлой породы,
Вт/(м • °С);
cr - объемная теплоемкость вечномерзлой породы, Дж/ (м3 • ° С) .
Уравнение решается графоаналитическим способом. Задаваясь значениями d, м, в диапазоне 0,01 - 0,2 м с шагом 0,02 - 0,05 м, расчетным путем определяется правая часть уравнения и строится ее график. Расчетом определяется левая часть уравнения и в виде прямой, параллельной оси абсцисс, наносится на предыдущий график. Точка пересечения графиков левой и правой частей уравнения является его решением, определяющим минимально допустимую толщину теплоизоляции технологической скважины.
Рекомендуемое
Расчет требуемой холодопроизводительности Q, кВт, для охлаждения обсадной колонны производится по формуле
,
где
- поправочный
коэффициент, определяемый по табл. 1 в зависимости от отношения Нс к глубине заложения Н;
Q -теплоприток к охлаждаемой колонне в расчетном интервале высот без учета потерь от самонагревания хладоносителя и давления газовой прослойки в межтрубном пространстве, кВт;
q - удельные потери холода с учетом давления в межтрубном пространстве, самонагревания хладоносителя и других видов потерь, кВт/м;
Нс - длина охлаждаемой колонны, м.
Значения Qс и q в зависимости от наружных диаметров и величины Нс приведены в табл. 2.
Таблица 1
|
|
0,20 |
0,30 |
0,40 |
0,50 |
0,60 |
0,70 |
0,80 |
0,90 |
1,00 |
|
|
0,30 |
0,45 |
0,60 |
0,72 |
0,85 |
0,90 |
1,00 |
1,10 |
1,20 |
Таблица 2
|
Наружный диаметр обсадной колонны, м |
Нс ,м |
Qc. кВт |
q, кВт/м |
|
3,525 |
От 10 до 20 |
3,0 |
0,450 |
|
|
Св. 20 " 50 |
3,3 |
0,433 |
|
|
" 50" 120 |
10,7 |
0,285 |
|
|
"120" 300 |
15,0 |
0,250 |
|
0,425 |
От 10 до 20 |
2,0 |
0,400 |
|
|
Св. 20 " 50 |
4,7 |
0,266 |
|
|
" 50" 150 |
8,0 |
0,200 |
|
|
"120" 300 |
10,0 |
0,183 |
Обязательное
ТРЕБОВАНИЯ К СИСТЕМАМ ВЕНТИЛЯЦИИ ПОДЗЕМНЫХ ВЫРАБОТОК-ХРАНИЛИЩ, СООРУЖАЕМЫХ ГОРНЫМ СПОСОБОМ В ПОРОДАХ С ПОЛОЖИТЕЛЬНОЙ ТЕМПЕРАТУРОЙ
1. Во вскрывающих, коллекторных и подходных выработках и подземных насосных следует предусматривать системы приточной и вытяжной вентиляции с искусственным побуждением. При этом должно быть предусмотрено резервирование всех приточных и вытяжных вентиляторов.
2. В хранилищах, предназначенных для нескольких видов продуктов, объединять между собой вытяжные системы вентиляции, обслуживающие подземные насосные камеры для перекачки различных видов продукта, не допускается.
3. Часовую кратность воздухообмена следует принимать:
в подземных насосных камерах и в зонах перемычек - 20;
в стволах и коллекторных выработках - 6.
При хранении этилированных продуктов указанные кратности воздухообмена должны быть увеличены на 50 %.
4. Приточную вентиляцию вскрывающих и коллекторных выработок следует осуществлять путем подачи воздуха непосредственно в ствол.
Расчетное сечение выработок для пропуска приточного воздуха следует принимать за вычетом площади, занятой подъемно-транспортным оборудованием, лестничным отделением, технологическими и вентиляционными трубопроводами, при этом скорость движения воздуха в выработках не должна превышать 8 м/с.
5. Подачу приточного воздуха в подземные насосные камеры следует предусматривать в рабочую зону этих помещений.
6. В подземных насосных камерах в дополнение к обще обменной вентиляции следует предусматривать устройство местных отсосов в местах возможных утечек паров хранимых продуктов.
7. Вытяжные вентиляторы, обеспечивающие воздухообмен подземной части хранилищ, следует устанавливать наземной в специальных помещениях. Включение и выключение вентиляторов должно осуществляться дистанционно с диспетчерского пункта.
Все вентиляционные установки должны быть сблокированы с технологическим оборудованием, с тем чтобы исключить работу последнего при недействующей вентиляции.
8. Соединение вытяжных воздуховодов следует предусматривать на сварке с минимальным количеством разъемных соединений, с тем, чтобы свести к минимуму попутные подсосы воздуха.
9. Для обеспечения проектных тепловлажностных параметров воздуха в подземных выработках хранилищ следует предусматривать системы подогрева и кондиционирования приточной вентиляции.
Рекомендуемое
РАСЧЕТ ОХЛАЖДАЮЩЕГО УСТРОЙСТВА БЕСШАХТНЫХ РЕЗЕРВУАРОВ
1. Расчет следует производить для двух случаев:
для периода заполнения резервуара;
для годового цикла эксплуатации.
2. Для периода заполнения резервуара нефтепродуктом с положительной температурой допустимую максимальную температуру сливаемого продукта tmax, °С, рекомендуется определять в зависимости от производительности слива, геометрических характеристик резервуара и теплофизических свойств мешающих мерзлых пород и сливаемого продукта по формуле
, (1)
- температура таяния льда вмещающих пород, °С;
- естественная температура вмещающих пород, °С;
Aw-площадь внутренних поверхностей резервуара, смоченных нефтепродуктом при заливе, м2;
Ср - объемная теплоемкость нефтепродукта, Дж/(м3 • °С);
- коэффициент теплопроводности и объемная теплоемкость
вмещающих пород, Вт/(м•°С) и Дж/(м3•°С);
Q - производительность слива нефтепродукта, м3/с;
Vp - объем сливаемого нефтепродукта, м3.
3. Если фактическая температура нефтепродукта tp превышает допустимую tmax, то необходимо уменьшить производительность заполнения в соответствии с формулой (1) либо обеспечить предварительное охлаждение нефтепродукта холодильной машиной, холодопроизводительность Nс, Вт, которой определяют по формуле
. (2)
4. Расчет охлаждающего устройства для поддержания температурного режима годового цикла эксплуатации бесшахтного резервуара сводится к определению площади поверхности аппарата воздушного охлаждения А, м2, по формуле
, (3)
где tg - естественная температура массива, °С;
k - коэффициент теплопередачи системы продукт—атмосферный воздух, Вт/(м2. °С); минимальное значение этого коэффициента можно принимать 35 Вт/(м2. °С);
tm- усредненная за время охлаждения
, с, температура атмосферного воздуха, °С.
Оптимальные соотношения A,
и k следует выбирать на основании
технико-экономических расчетов.
Справочное
h - высота подземного резервуара, м;
V- объем подземного резервуара, м3;
Hd - расстояние от поверхности земли до забоя скважины, м;
Н- расстояние от поверхности земли до кровли резервуара, м;
g - ускорение силы тяжести, м/с2;
- плотность рассола, кг/м3;
- плотность продукта, кг/м3;
- усредненная плотность пород, кг/м3.
|
_________________________________________________________ |