Министерство нефтяной промышленности
НПО "Бурение"
Всесоюзный научно-исследовательский институт
разработки и эксплуатации нефтепромысловых труб
(ВНИИТнефть)
ИНСТРУКЦИЯ
ПО ЗАЩИТЕ ОТ КОРРОЗИИ ВНУТРИПРОМЫСЛОВОГО
ОБОРУДОВАНИЯ ПРИ ПОМОЩИ ИНГИБИТОРОВ
ОТЕЧЕСТВЕННОГО ПРОИЗВОДСТВА
РД 39-0147014-348-89
Куйбышев 1989
Руководящий документ разработан Всесоюзным научно-исследовательским институтом разработки и эксплуатации нефтепромысловых труб.
В составлении инструкции принимали участие А.И. Жанко, Л.А. Григоровская, Л.В. Кияченкова (ВНИИТнефть), канд. техн. наук В.Н. Долинкин, канд. техн. наук Н.А. Громова (НИИМСК).
Согласован с зам. директора ВНИИСПТнефть К.Р. Низамовым, с главным инженером п/о "Куйбышевнефть" А.З. Шефером, с зам. директора НИИМСКа С.Ю. Павловым.
Утвержден начальником Главного научно-технического управления Миннефтепрома Е.М. Довитом 14 октября 1988 г.
РУКОВОДЯЩИЙ ДОКУМЕНТ
ИНСТРУКЦИЯ
ПО ЗАЩИТЕ ОТ КОРРОЗИИ ВНУТРИПРОМЫСЛОВОГО ОБОРУДОВАНИЯ ПРИ ПОМОЩИ ИНГИБИТОРОВ ОТЕЧЕСТВЕННОГО ПРОИЗВОДСТВА
РД 39-0147014-348-89
Куйбышев 1989
Вводится взамен РД 39-3-221-79
Срок введения установлен с 01.01.89 г.
Срок действия до 01.01.92 г.
В инструкции содержится технология применения ингибиторов для защиты от коррозии нефтепромыслового оборудования, разработанная на основании лабораторных исследований, опытно-промышленных испытаний и результатов промышленного использования ингибиторов коррозии И-1-А, И-1-В, "Север-1" и др. в объединениях "Куйбышевнефть", "Оренбургнефть" и Главтюменнефтегазе. Приведена также временная инструкция по технике безопасности при работе с ингибиторами.
1.1. Наиболее эффективным и перспективным способом защиты оборудования нефтепромыслов от коррозии является применение ингибиторов коррозии (табл. 1) - поверхностно-активных веществ, растворимых в воде или в жидких углеводородах. Введение в агрессивную среду небольших количеств ингибиторов значительно снижает скорость коррозии металла (табл. 1).
1.2. Ингибиторы образуют на поверхности металла защитные адсорбционные пленки, препятствующие доступу агрессивной среды к поверхности металла. Ингибиторы можно использовать, не изменяя соответствующих технологических процессов и их аппаратурного оформления.
Применение ингибиторов коррозии является единственным методом защиты действующего нефтепромыслового оборудования по всей технологической линии - от эксплуатационных до нагнетательных и поглощающих скважин (табл. 2).
Таблица 1
Физико-химические характеристики ингибиторов коррозии
|
Марка ингибитора |
Общая характеристика |
Плотность при 20 °С, г/см3 |
Содержание, % |
Вязкость при 50 °С, сСт |
Температура, °С |
|||||
|
основного азота, в пределах |
смол, не более |
механических примесей |
застывания |
вспышки |
самовоспламенения |
|||||
|
1 |
И-1-А* (ТУ 38-103246-87) |
Вязкая темно-коричневая жидкость с характерным запахом пиридинов, почти не растворяется в воде, хорошо растворяется в органических растворителях, а также в соляной, серной и других сильных кислотах |
1,0...1,1 |
7,0...9, 5 |
5 |
0,2 |
- |
- |
- |
- |
|
2 |
И-1-В* (ТУ 38-103-238-74) |
Темно-коричневая жидкость с характерным слабым запахом, легко растворимая в кислотах и в воде |
1,25...1,35 |
- |
3,0 |
- |
- |
- |
- |
- |
|
3 |
"Север-1" (И-2-А)* (ТУ 38-103-201-76) |
Легкоподвижная темно-коричневая жидкость, хорошо растворяется в бензоле, спирте, ацетоне, соляной и серной кислотах |
0,93...1,05 |
4,90...6,65 |
3,5 |
0,2 |
7...12 |
-65 |
+23 |
+385 |
|
4 |
И-З-А* (ТУ 38-403-29-73) |
Темно-коричневая жидкость с характерным запахом, хорошо растворимая в полярных органических растворителях и минеральных кислотах |
0,99...1,07 |
8,3…11,0 |
3,5 |
0,2 |
15 |
-33…-45 |
+76 |
+413 |
|
5 |
И-4-А* (ТУ 38-403-44-73) |
Темно-коричневая жидкость с характерным запахом, хорошо растворимая в бензоле, спирте, ацетоне, соляной, серной кислотах и ряде других продуктов |
0,94...1,00 |
4,9…6,65 |
3,5 |
0,2 |
3…7 |
-50…-75 |
+15 |
+413 |
|
6 |
И-4-Д (ТУ 38-403-46-73) |
Темно-коричневая вязкая жидкость с характерным запахом, эмульгируется в водных растворах, растворяется в толуоле, хлороформе, четыреххлористом углероде и некоторых других средах |
0,85…0,95 |
- |
- |
- |
65…95 |
-12…-15 |
+81 |
+239 |
|
7 |
"Тайга-1" (И-5-ДНК) (ТУ 38-403-47-73) |
Легкоподвижная темно-коричневая жидкость с характерным запахом, эмульгируется в водных растворах, растворяется в углеводородах |
0,92...0,96 |
- |
- |
- |
- |
-50 |
+20 |
+340 |
|
8 |
И-2-Е |
Легкоподвижная темно-коричневая жидкость со слабым характерным запахом, растворимая в воде, спирте, кислотах |
1,0...1,1 |
- |
- |
8...10 |
- |
-50 |
- |
- |
|
9 |
"Тайга-2" (И-5-ДТМ) ТУ 38-403-78-78) |
Легкоподвижная темно-коричневая жидкость, растворимая в спирте, бензоле, дихлорэтане и других органических растворителях |
0,87…0,89 |
- |
- |
3,9... 4,0 |
- |
-45 |
- |
- |
|
10 |
И-21-Д (ТУ 38-403-101-78) |
Легкоподвижная темно-коричневая жидкость, растворимая в спирте, бензоле, дихлорэтане и других органических растворителях |
0,8...0,9 |
- |
- |
5,0 |
- |
-16 |
- |
- |
|
11 |
И-30-Д (ТУ 38-403-79-76) |
Легкоподвижная темно-коричневая жидкость, эмульгируется в воде, растворяется в спирте, бензоле, дихлорэтане |
0,85... 0,87 |
- |
- |
5,0 |
- |
-40 |
- |
- |
|
12 |
И-К-10 (ТУ 38-403-68-75) |
Легкоподвижная коричневая жидкость, растворяется в воде, спирте, кислотах |
1,06...1,1 |
- |
- |
8...11 |
- |
-50 |
- |
- |
|
13 |
И-К-40 (ТУ 38-403-75-75) |
Легкоподвижная коричневая жидкость, растворяется в воде, спирте, кислотах |
0,95...1,15 |
- |
- |
10...15 |
- |
-50 |
- |
- |
|
14 |
Нефтехим (ТУ 38. УССР 201463-66) |
Представляет собой смесь полиэтиленполиамидов карбоновых кислот легкого талового масла и солей пиперазина этих кислот в растворе керосина и катализата риформинга |
- |
- |
- |
- |
7 |
-18 |
+37 |
340...435 |
|
15 |
Газохим (ТУ 113-03-20-73) |
Однородная жидкость темно-коричневого цвета, растворяется в углеводородах |
0,97 |
- |
- |
- |
- |
-10 |
+61 |
262 |
* Скорость растворения Ст.3 в 20 %-ном растворе серной кислоты, определяемая в присутствии 1 % ингибитора, при 20 ± 2 °С в течение 24 ч испытания составляет не более 0,15 г/м2·ч.
Таблица 2
Рекомендуемые области применения ингибиторов коррозии
|
Ингибиторы коррозии |
|
|
Для защиты нефтепромыслового оборудования от сероводородной коррозии и коррозии, вызываемой смесью сероводорода и углекислого газа, могут применяться также при солянокислотных обработках скважин. Замедляют коррозию сталей в растворах серной и соляной кислот |
И-1-А, И-1-В, "Север-1" И-3-А, И-4-А, И-21-Д |
|
Для защиты от коррозии нефтегазопромыслового оборудования, вызываемой пластовыми и сточными водами, как содержащими, так и не содержащими сероводород |
И-4-Д |
|
Для защиты нефтегазопромыслового оборудования от коррозии, вызываемой пластовыми и сточными водами, содержащими сероводород, смесь сероводорода с углекислотой, кислород |
"Тайга-1" (И-5-ДНК), "Тайга-2" (И-5-ДТМ), И-30-Д, Газохим, Нефтехим |
|
Для защиты нефтегазопромыслового оборудования от коррозии, вызываемой пластовыми и сточными водами, содержащими сероводород или смесь сероводорода и углекислого газа |
И-2-Е, И-К-10 |
|
Для подавления жизнедеятельности СВБ, для защиты нефтегазопромыслового оборудования от коррозии, вызываемой пластовыми и сточными водами, содержащими сероводород или смесь сероводорода с углекислотой |
И-К-40 |
1.3. Ингибиторы являются замедлителями сероводородной коррозии и могут быть рекомендованы для защиты нефтепромыслового оборудования, работающего в агрессивных сероводородных средах, высокоминерализованных пластовых и сточных водах.
1.4. "Север-1" обладает высокими ингибирующими свойствами в водах апт-альб-сеноманского комплекса Главтюменнефтегаза и пластовых сероводородных средах. Защитное действие ингибитора "Север-1" в сероводородных пластовых водах на 5 - 8 % ниже, чем И-1-А.
1.5. Оценка эффективности защиты металла от коррозии при помощи ингибиторов основана на сравнении скоростей коррозии образцов-свидетелей до и после закачки ингибиторов. Образцы-свидетели устанавливаются в байпасах по всей технологической линии. Кроме того, эффективность ингибирования определяется по уменьшению числа аварий нефтепромыслового оборудования, происходящих вследствие коррозии.
2.1. Для промысловых испытаний применяются образцы двух видов:
а) плоские - для определения скорости коррозии в трубопроводах;
б) цилиндрические - для определения скорости коррозии в затрубном пространстве и внутри лифтовых труб.
2.2. Плоские образцы изготавливаются из Ст. 3 размерами 2,5 x 20 x 80 мм с площадью поверхности 0,004 м.
Размеры цилиндрических образцов обусловлены размерами труб, из которых они изготавливаются.
2.3. Поверхность образцов шлифуют до шероховатости Rz = 32, затем полируют на войлочном круге пастой ГОИ.
2.4. Следы пасты ГОИ удаляют с поверхности образцов хлопчатобумажной салфеткой.
2.5. Затем определяют размеры и площадь образца в м2, чтобы выяснить, соответствуют ли они заданным.
2.7. После выдержки в эксикаторе образцы взвешивают на аналитических весах с точностью до 0,0001 г.
2.8. Подготовленные коррозионные образцы находятся в эксикаторе до испытаний.
2.9. Перед испытаниями образцы из эксикатора пинцетом переносят в коррозионные кассеты, которые вставляются в катушку байпаса.
2.10. После испытаний образцы промывают бензином, эластиком удаляют продукты коррозии, обезжиривают гидролизным этиловым спиртом, помещают в эксикатор и выдерживают в течение 24 ч, затем взвешивают.
2.11. Скорость коррозии рассчитывают по формуле
r0 = (A - B)/ St, (1)
где r0 - контрольная скорость коррозии, г/м2·ч;
A - масса образцов до испытаний, г;
B - масса образца после испытаний, г;
S - площадь поверхности, образца, м;
t - время испытания, ч.
2.12. На основании анализа значений контрольных скоростей коррозии определяют технологию защиты и место ввода ингибитора.
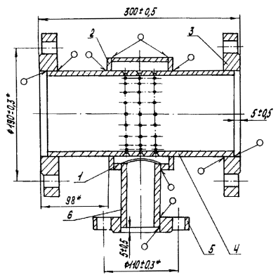
3.1. Для установки кассет и коррозионными образцами в выкидные линии скважин, водоводы сточных вод, нефтепроводы используют байпасы различных конструкций (рис. 1)*. Конструкция кассеты для байпаса показана на рис. 2, а ее деталей - на рис. 3 - 8.
* Все рисунки, на которые в дальнейшем сделаны ссылки, приводятся в прил. 1.
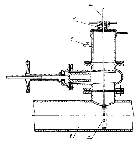
3.2. В трубопроводы большого диаметра (больше 203 мм) коррозионные образцы спускаются в кассетах, конструкция которых показана на рис. 9, а детали - на рис. 10 - 17, через задвижку со специальным приспособлением - лубрикатором. Схема установки контрольных образцов через задвижку показана на рис. 18.
3.3. Байпасы катушки и кассеты должны удовлетворять следующим требованиям:
1. Байпас должен иметь три отсекающие задвижки.
2. Диаметр байпаса и запорной арматуры должен соответствовать диаметру технологического трубопровода.
3. Байпас и технологический трубопровод располагают в одной плоскости.
3.4. Недопустимо ставить кассеты с коррозионными образцами в застойные зоны байпасов и оборудования.
3.5. Кассеты изготавливают из текстолита или органического стекла.
3.6. Размеры катушек кассет должны соответствовать размерам кассет.
3.7. Для упора кассеты в конце катушки по диаметру приваривают крестовину или штырь.
3.8. Установку кассеты с образцами и гидроиспытания байпасов необходимо производить по следующей методике:
а) при открытой задвижке на основном технологическом трубопроводе и при закрытых двух задвижках на байпасе отсоединить катушку и вставить в нее кассету с образцами. Кассета с образцами должна полностью помещаться в катушке и упираться в штырь или в крестовину;
б) образцы расположить в катушке узкой стороной вертикально к потоку;
в) после установки катушки с образцами в байпас необходимо выполнить гидравлические испытания фланцевых соединений согласно установленным правилам;
г) при открытых двух задвижках на байпасе закрыть задвижку на основном трубопроводе и направить поток жидкости через байпас.
3.9. Для снятия образцов после испытания необходимо:
а) открыть задвижку на основном технологическом трубопроводе;
б) закрыть первую по ходу потока задвижку на байпасе, а затем и вторую;
в) сбросить давление в отсекаемом участке байпаса;
г) отсоединить катушку;
д) вынуть из кассеты два коррозионных образца, промыть их бензином, насухо вытереть фильтровальной бумагой, поместить в эксикатор для дальнейших обработок в лаборатории.
3.10. Образцы-свидетели снимать по два через каждые 7, 14, 21, 28, 35, 42, 49, 56 сут.
3.11. В лаборатории производят обработку образцов согласно пп. 2.6 - 2.8.
Затем рассчитывают скорость коррозии по формуле (1) и строят график изменения скорости коррозии во времени (контрольные опыты).
3.12. При эксплуатации байпасов и работе с ингибиторами необходимо строго соблюдать правила техники безопасности (прил. 2).
4.1. Способ ввода ингибиторов в коррозионно-активную среду зависит от конструкции защищаемого оборудования. Так, в трубопроводы наземных выкидных линий, водоводов сточных вод ингибитор закачивают через распределительную головку (рис. 19) с помощью дозировочного насоса. Детали распределительной головки приведены на рис. 20 - 28. Для защиты от коррозии глубинного оборудования ингибитор залавливают в кольцевое межтрубное пространство скважины при помощи агрегата типа "АзИНМАШ".
4.2. Установка для закачки ингибитора коррозии (рис. 29) включает две емкости для растворения ингибитора. В нижней части емкостей расположены змеевики для подогрева раствора ингибитора. В первую емкость загружают расчетное количество ингибитора и растворителя (нефти, пластовой воды, технической воды и др.), затем при помощи центробежного насоса в течение четырех часов перемешивают раствор, подавая его из емкости 1 в дозировочную емкость 2. Перемешанный ингибитор дозировочными насосами типа РПН подают в распределительную головку, вмонтированную в технологический трубопровод.
4.3. Ингибитор вводят в трубопровод на расстоянии 10 м до первого байпаса (по направлению технологического потока).
5.1. 10 - 50 %-ный раствор ингибитора (в нефти, пластовой или технической воде и других растворителях) при помощи дозировочного насоса через распределительную головку подается в технологические коммуникации.
5.2. В первые три часа для более быстрого создания защитной пленки концентрация ингибитора должна быть в 5 - 8 раз больше оптимальной (больше 100...150 мг/л).
5.3. Остальные 69 ч ингибитор подается равномерно из расчета 100...150 мг/л.
5.4. Через 20...30 мин после начала закачки ингибитора устанавливают по десять образцов-свидетелей - с первого байпаса около ввода ингибитора и затем с интервалом через каждые 30...40 мин по всей технологической линии.
5.5. После окончания закачки ингибитора из каждого байпаса, начиная с первого, вынимают по два образца-свидетеля и определяют скорость коррозии после введения ингибитора по описанной выше методике.
5.6. Последующие образцы-свидетели снимают по два через каждые 7, 14, 21, 28 сут и определяют скорость коррозии после введения ингибитора.
5.7. Строят график изменения скорости коррозии после ввода ингибитора во времени.
5.8. Рассчитывают эффективность замедления скорости коррозии ингибиторов по формуле
z = [(r0 - r)/ r0] × 100 %, (2)
где z - эффект защитного действия ингибитора, %;
r0 - скорость коррозии образцов-свидетелей без ингибитора, г/м2·ч;
r - скорость коррозии образцов-свидетелей в присутствии ингибитора, г/м2·ч.
5.9. После снижения эффективности замедления скорости коррозии до 75 % необходимо проводить следующую закачку ингибитора.
Рис. 1. Байпас с открывающимся фланцем для установки коррозионных образцов-свидетелей
Рис. 2. Кассета для установки контрольных образцов через байпас (сборочный чертеж):
1 - планка [1]**; 2 - фланец [2]; 3 - планка [1]; 4 - планка прижимная [1]; 5 - планка распорная [1]; 6 - винт [5]; 7 - винт 2М6 х 22.58 (ГОСТ 1491-80) [4]
*Размеры для справок
**В квадратных скобках указано число деталей
Рис. 3. Планка кассеты для установки контрольных образцов через байпас. Материал - текстолит ПТ-13 (ГОСТ 5-78Е)
*Размер для справок

Рис. 4. Планка, кассеты для установки контрольных образцов через байпас. Материал - текстолит ПТ-13 (ГОСТ 5-78Е)
*Размер для справок

Рис. 5. Фланец кассеты для установки контрольных образцов через байпас. Материал - текстолит ПТ-13 (ГОСТ 5-78Е)
*Размер для справок

Рис. 6. Планка прижимная кассеты для установки контрольных образцов через байпас. Материал - текстолит ПТ-3 (ГОСТ 5-78Е)
*Размер для справок

Рис. 7. Планка распорная кассеты для установки контрольных образцов через байпас. Материал - текстолит ПТ-2 (ГОСТ 5-78Е)
Рис. 8. Винт кассеты для установки контрольных образцов через байпас. Материал - пруток БрКМц 3-1т-кр-7,5 (ГОСТ 1628-78)
Рис. 9. Кассета для установки контрольных образцов через задвижку (сборочный чертеж):
1 - планка [1]**; 2 - планка [1]; 3 - винт [4]***; 4 - винт [2]; 5 - планка [1]; 6 - планка установочная [1]; 7 - планка [1]; 8 - шток [1]; 9 - гайка M10.5 (ГОСТ 5915-70) [3]; 10 - шайба 10 (ГОСТ 11371-78) [1]
*Размеры для справок
** В квадратных скобках указано число деталей
*** Чертеж винта приведен на рис. 8
Рис. 10. Планка для установки коррозионных образцов через задвижку. Материал - текстолит ПТ-30 (ГОСТ 5-78Е)

Рис. 11. Планка кассеты для установки контрольных образцов через задвижку. Материал - текстолит ПТ-30 (ГОСТ 5-78Е)

Рис. 12. Планка кассеты для установки контрольных образцов через задвижку. Материал - текстолит ПТ-30 (ГОСТ 5-78Е)

Рис. 13. Планка кассеты для установки контрольных образцов через задвижку. Материал - текстолит ПТ-30 (ГОСТ 5-78Е)

Рис. 14. Планка установочная кассеты для установки контрольных образцов через задвижку. Материал - текстолит ПТ-30 (ГОСТ 5-78Е)

Рис. 15. Винт кассеты для установки контрольных образцов через задвижку. Материал - пруток БрКМц3-1т-кр-12 (ГОСТ 1628-78)

Рис. 16. Винт кассеты для установки контрольных образцов через задвижку. Материал - пруток БрКМц3-1т-кр-10 (ГОСТ 1628-78)
Рис. 17. Шток кассеты для установки контрольных образцов через задвижку. Материал - Ст. 35 (ГОСТ 14959-79)
Рис. 18. Схема установки контрольных образцов через задвижку:
1 - кассета с образцами; 2 - трубопровод; 3 - вентиль; 4 - сальник; 5 - шток
Рис. 19. Распределительная головка для ввода ингибитора (сборочный чертеж):
1 - ввод [1]**, 2 - прокладка [2]; 3 - болт М20 х 60.66.056 (ГОСТ 7805-70) [12]; 4 - гайка М20.8 (ГОСТ 5927-70) [12]; 5 - прокладка [1]
*Размер для справок
**В квадратных скобках указано число деталей
Рис. 20. Прокладка распределительной головки для ввода ингибитора. Материал - паронит ПОН-1 (ГОСТ 481-80)
*Размер для справок

Рис. 21. Прокладка распределительной головки для ввода ингибитора. Материал - лист Л63М1 (ГОСТ 931-78)
*Размер для справок

Рис. 22. Ввод (сборочный чертеж). Сварные швы по ГОСТ 16037-80:
1 - кольцо [1]**; 2 - кольцо [2]; 3 - фланец [2]; 4 - труба [1]; 5 - фланец [1]; 6 - патрубок [1]
*Размеры для справок
**В квадратных скобках указано число деталей

Рис. 23. Кольцо. Материал - труба (152 x 8 x 96 (ГОСТ 8732-78))/(5 Ст. 4сп (ГОСТ 8731-74))
*Размер для справок

Рис. 24. Кольцо. Материал - лист (Б-ПН-8 (ГОСТ 19903-74))/(В Ст. 3-2 (ГОСТ 14637-79))

Рис. 25. Патрубок ввода. Материал труба (57 x 8 x 115 (ГОСТ 8732-78))/(Б Ст. 4сп (ГОСТ 8731-74))
*Размеры для справок

Рис. 26. Фланец. Материал - лист (Б-ПН-28 (ГОСТ 19903-74))/(В Ст. 3-2 (ГОСТ 14637-79))

Рис. 27. Фланец. Материал - лист (Б-ПН-22 (ГОСТ 19903-74))/(В Ст. 3-2 (ГОСТ 14637-79))
Рис. 28. Труба ввода. Материал - труба (114 x 7 x 290 (ГОСТ 8732-78))/(Б Ст. 4сп (ГОСТ 8731-74))
*Размер для справок
Рис. 29. Схема установки для закачки ингибитора:
1 - дозировочная емкость; 2 - насос дозировочный; 3 - насос центробежный; 4 - емкость для перемешивания; 5 - распарочная емкость для подогрева опытных партий ингибиторов, затаренных в бочки
1. ОБЩАЯ ЧАСТЬ
1.1. При работе с ингибиторами руководствоваться настоящей временной инструкцией по технике безопасности и "Правилами безопасности в нефтегазодобывающей промышленности"* (раздел 1, главы 1.1, 1.2, 1.7, 1.11, 1.13, 1.16, раздел 4, главы 4.1, 4.5, раздел 13, глава 13.10, раздел 16, глава 16.1).
*Правила безопасности в нефтегазодобывающей промышленности. М.; Недра, 1974. -253 с.
1.2. Выполнение требований безопасности, изложенных в настоящей инструкции, обязательно на всех этапах работ с ингибиторами коррозии, включая перевозку ингибиторов.
1.3. К работе допускаются наиболее квалифицированные, опытные специалисты, дополнительно проинструктированные в объеме требований настоящей инструкции. В карточке инструктажа по технике безопасности или в журнале по технике безопасности должна быть сделана отметка.
1.4. Работы проводятся под руководством инженерно-технического работника. Посторонние лица не должны находиться при производстве работ.
2. ТЕХНИКА БЕЗОПАСНОСТИ ПРИ РАБОТЕ С ИНГИБИТОРАМИ
2.1. Ингибиторы коррозии металлов являются промышленными ядами, в связи с чем не допускается их применение в пищевой промышленности и водоснабжении, а также попадание их в наземные и грунтовые воды.
2.2. Санитарный режим водоемов определяется по органолептическому показателю. Предельно допустимые концентрации (мг/л) ингибитора И-1-А (как наиболее токсичного) приведены ниже:
По водоемам............................................................... 0,06
По воздействию на процессы самоочищения......... 15,00
По влиянию на кислородный режим....................... 2,00
2.3. Степень воздействия применяемых ингибиторов на организм человека и их токсикологические характеристики в соответствии с ГОСТ 12.1.007-76 приведены в табл. 1.
2.4. При всех работах необходимо избегать попадания ингибиторов на тело, одежду, почву, площадки, пол, машины, оборудование.
2.5. Во избежание поражения кожи при работе с ингибиторами следует тщательно соблюдать правила личной гигиены (чистоту рук, спецодежды, посуды, инструментов и т.п.).
2.6. При случайном загрязнении кожи ингибитором ее надлежит вымыть. Для этого можно воспользоваться мылом, эмульгаторами типа ОП-7, ОП-10.
2.7. Многократное воздействие ингибиторов на незащищенную кожу приводит к развитию дерматита (воспалительных изменений кожи); однократное попадание видимых изменений кожного покрова не вызывает.
2.8. Чтобы предупредить попадание ингибитора на руки, при работе и ним следует пользоваться резиновыми перчатками.
2.9. Лица, работающие с ингибиторами, должны быть снабжены спецодеждой, желательно с силикатно-казеиновой пленкой, препятствующей возникновению вторичных загрязнений.
2.10. Более сильное местное действие на кожу и слизистые оболочки оказывает ингибитор И-1-В. Это обусловлено его значительной кислотностью. Особую опасность представляет попадание И-1-В непосредственно в глаза - в конъюнктивную полость и на роговицу. В этом случае происходит химический ожог глаз 2 - 3-й степени, который может привести к помутнению роговицы и частичной потере зрения. Попадание в глаза И-1-А приводит к развитию конъюнктивита, который серьезной опасности не представляет и без лечения проходит через 2 - 3 дня.
2.11. Для защиты глаз от попадания ингибиторов необходимо пользоваться очками типа № 1396 1/2.
2.12. В случае попадания ингибиторов в глаза следует в порядке само- и взаимопомощи немедленно обильно промыть глаза водой и сразу же обратиться к глазному врачу.
2.13. При появлении признаков отравления (головной боли, головокружения, тошноты, рвоты, потери аппетита и сна) следует сообщить об этом мастеру и обратиться к врачу.
Таблица 1
Токсикологические характеристики ингибиторов
|
Марка ингибитора |
Степень воздействия на организм человека |
Токсилогическая характеристика |
|
И-1-А, "Север-1" |
Относятся к 3-му классу опасности - умеренно опасным веществам |
Канцерогенным действием не обладают. Однократное действие на кожу опасности не представляет, при многократном воздействии возможно развитие дерматита. Способны проникать через неповрежденную кожу |
|
И-2-Е |
Относится к 4-му классу опасности - малоопасным веществам |
Продукт не проникает через неповрежденную кожу, и его однократное действие на кожу не приводит к болезненным изменениям. При многократном воздействии возможен циклический поверхностный дерматит, который проходит без лечения через 10 - 15 дней. При попадании в глаза наблюдается химический ожог 3-й степени |
|
"Тайга-1" (И-5-ДНК), "Тайга-2" (И-5-ДТМ) |
Относятся к 4-му классу опасности - малоопасным веществам |
Продукты не проникают через неповрежденную кожу, однако при многократном воздействии у отдельных лиц возможен вяло текущий поверхностный дерматит, который проходит без лечения. При попадании в глаза наблюдается ожог 2-й степени. Изменения обратимы и проходят через 20 - 30 дней |
|
И-4-Д, И-21-Д, И-30-Д |
Относятся к 4-му классу опасности - малоопасным веществам |
Не проникают через неповрежденную кожу. При попадании в глаза вызывают химический ожог 1-й степени, который проходит без лечения через 7 дней |
|
И-К-10, И-К-40 |
Относятся к 3-му классу опасности - умеренно опасным веществам |
Не проникают через неповрежденную кожу. При попадании в глаза вызывают химический ожог 2 - 3-й степени, который проходит без лечения через 2 - 3 недели |
|
Нефтехим |
Относится к 4-му классу - малотоксичным веществам |
Раздражающим и аллергенным действием не обладает. При попадании в глаза вызывает незначительное воспаление слизистой оболочки |
|
Газохим |
Относится к 3-му классу - умеренно опасным веществам |
Раздражающим действием не обладает. Обладает аллергическими свойствами |
2.14. Хранение и прием пищи в местах работы с ингибиторами категорически запрещается.
2.15. Применение ингибитора для мытья рук, чистки одежды и других бытовых нужд запрещается.
2.16. Категорически запрещается наклоняться над люком емкости с ингибитором.
2.17. При употреблении И-1-А в смеси с соляной кислотой нельзя допускать образования аэрозолей.
2.18. Перемешивание ингибиторов производится только механическим путем.
2.19. Во избежание вдыхания паров ингибитора во время замера, отбора проб, открывания люков емкостей и других операций необходимо становиться с наветренной стороны. Отбор проб производить только в противогазах.
2.20. Работу внутри емкостей аппаратов, предназначенных для ингибиторов, необходимо производить в шланговых противогазах ПШ-1, ПШ-2 после специальной промывки и пропаривания емкостей аппаратов инертным газом (азотом) или водяным паром до достижения предельно допустимой концентрации паров ингибитора в воздухе 0,001 мг/л.
2.21. При работе в местах, где концентрация газа превышает допустимые санитарные нормы, рабочие должны обеспечиваться противогазами. Типы противогазов (марки А, М, КД, КИП-7) согласовываются с командиром газоспасательной службы.
2.22. Фильтрующие противогазы применяются, когда в воздушной среде содержится не менее 16 % кислорода, а содержание вредных газов не превышает пределов, допустимых для данного типа и марки противогаза.
2.23. Фильтрующие противогазы должны перезаряжаться в те сроки и в том порядке, которые указаны в технических паспортах на эти средства защиты.
2.24. Продолжительность непрерывной работы в шланговом противогазе не должна превышать 15 мин с последующим отдыхом на свежем воздухе не менее 15 мин.
2.25. Противогазы, закрепленные за рабочими, должны храниться в особых шкафах по возможности ближе к месту работы.
2.26. Противопоказаниями для допуска к работе с ингибиторами следует считать имевшиеся в анамнезе поражения кожи (дерматит, экзема, каратоз), заболевания печени и почек, а также беременность.
2.27. Лица, находящиеся в контакте с ингибиторами, должны проходить медосмотры не реже одного раза в год. Те, у кого в процессе работы с ингибитором возникнут кожные заболевания, болезни печени, почек и нервной системы, а также беременные женщины и кормящие матери в обязательном порядке переводятся на другую работу.
2.28. Для лиц, соприкасающихся с ингибиторами в течение всей смены, распоряжением по предприятию устанавливается 6-часовой рабочий день. Основанием для этого являются:
а) содержание в ингибиторах веществ типа пиколинов и метилэтилпиридинов, вызывающих острое и хроническое отравление;
б) возможность проникновения ингибиторов через кожу;
в) возникновение при длительном контакте с ингибиторами хронического дерматита.
3. ПРОТИВОПОЖАРНАЯ БЕЗОПАСНОСТЬ
3.1. Ингибиторы коррозии огнеопасны и взрывоопасны. Пожарные характеристики ингибиторов приведены в табл. 2.
3.2. При работе с ингибиторами необходимо соблюдать такие же противопожарные правила, как и при работе с нефтью и нефтепродуктами.
3.3. Установка для закачки ингибиторов должна быть снабжена огнетушителями, асбестовым одеялом, песком и другими средствами пожаротушения.
3.4. Ингибиторы нельзя хранить вместе с самовозгорающимися и самовоспламеняющимися веществами (щелочными металлами, перекисными и металлоорганическими соединениями и т.д.), с легковоспламеняющимися веществами (эфирами, ацетонами и др.).
3.5. При работе с ингибиторами коррозии необходимо использовать только медненный инструмент.
3.6. В случае, если ингибитор был разлит, необходимо засыпать его песком, убрать песок и обработать место разлива 5 %-ным раствором соляной кислоты, а затем водой.
3.7. Около емкостей с ингибитором нельзя производить сварочные работы, разводить открытый огонь (без разрешения пожарной охраны на производство огневых работ), курить.
3.8. При возникновении пожара следует немедленно сообщить в пожарную охрану и приступить к его тушению имеющимися средствами.
Таблица 2
Пожароопасность ингибиторов
|
Группа горючести |
Температура, °С |
Средства тушения |
|||
|
вспышки |
воспламенения |
самовоспламенения |
|||
|
И-1-А |
ГЖ |
114 |
128 |
375 |
Тонкораспыленная вода |
|
"Север-1" |
ЛВЖ |
23 |
24 |
385 |
Вода, раствор смачивателя, тонкораспыленная вода, воздушно-механическая пена |
|
И-1-Е |
ЛВЖ |
23 |
29 |
454 |
Те же |
|
"Тайга-1" (И-5-ДНК) |
ЛВЖ |
19 |
25 |
379 |
Те же |
|
"Тайга-2" (И-5-ДТМ) |
ЛВЖ |
15 |
19 |
381 |
Те же |
|
И-21-Д |
ЛВЖ |
17 |
19 |
237 |
Воздушно-механическая пена, химическая и химически омыленная пена |
|
И-4-Д |
ГЖ |
81 |
105 |
239 |
Тонкораспыленная вода |
|
И-К-10 |
ЛВЖ |
35 |
96 |
501 |
Вода, раствор смачивателя, тонкораспыленная вода, воздушно-механическая пена |
|
И-К-40 |
ЛВЖ |
34 |
101 |
410 |
Вода, раствор смачивателя, тонкораспыленная вода, воздушно-механическая пена |
|
И-30-Д |
ЛВЖ |
15 |
18 |
261 |
Воздушно-механическая пена, химическая и химически омыленная пена |
|
Нефтехим |
ГЖ |
37 |
|
340 - 435 |
Вода, раствор смачивателя, воздушно-механическая пена |
|
Газохим |
ГЖ |
61 |
|
262 |
Те же |
4. ТРАНСПОРТИРОВКА И ХРАНЕНИЕ ИНГИБИТОРОВ КОРРОЗИИ
4.1. Перевозка и хранение ингибиторов коррозии разрешается лишь в герметичных емкостях и бойлерах.
4.2. Бойлеры для перевозки ингибиторов коррозии должны быть оборудованы:
а) огнетушителями, ведрами, лопатами;
б) заземляющим устройством;
в) приспособлениями для крепления сливных шлангов в нерабочем положении;
г) искрогасителями.
4.3. Если в пути следования в бойлере будет обнаружена течь, необходимо принять следующие меры:
а) по возможности удалить бойлер с дороги;
б) ликвидировать утечку;
в) разлитый ингибитор засыпать землей.
4.4. При длительной остановке в пути следования бойлер необходимо располагать на безопасном расстоянии от транспортных средств с другими грузами и тщательно охранять.
4.5. Перед установкой бойлера, транспортирующего ингибитор, на технический осмотр и после окончания работ с ингибиторами необходимо его промыть или пропарить.
Стоянка агрегатов и автоцистерн с остатками ингибитора в закрытом гараже запрещается.
4.6. Перед заполнением ингибитором емкость должна быть тщательно проверена. Наливать ингибитор в неисправные емкости воспрещается.
4.7. Емкости, предназначенные для ингибитора, должны быть заземлены.
4.8. На емкостях с ингибитором должна быть надпись "Ингибитор. Ядовит. Огнеопасно".
4.9. Емкость для ингибитора должна иметь:
а) металлическую лестницу с перилами;
б) ограждение крыши по всему периметру, за исключением мест выхода с лестницы;
в) автоматический регулятор уровня.
4.10. Учет, хранение и расход ингибиторов коррозии следует вести в специальном журнале.
5. ЭКСПЛУАТАЦИЯ УСТАНОВКИ ДЛЯ ЗАКАЧКИ ИНГИБИТОРА
5.1. Перед началом работы необходимо проверить исправность агрегатов, запорной арматуры, контрольно-измерительных приборов и освещения.
5.2. Проверить наличие противопожарного инвентаря - огнетушителей, лопат, ведер, песка.
5.3. В процессе эксплуатации установки необходимо строго следить за герметичностью сальников насосов, перекачивающих ингибитор, сальников задвижек, фланцевых и других соединений, все неплотности немедленно устранять, разлитый ингибитор собирать и загрязненные места засыпать землей.
5.4. Во время работы запрещается ремонтировать или крепить какие-либо части насоса.
5.5. При длительных остановках насосов в зимнее время запрещается:
а) пускать их в работу без достаточного прогрева (паром, горячей водой) манифольда и пробной прокачки жидкости по трубам;
б) прогревать манифольд открытыми источниками огня.
5.6. По окончании работ все оборудование и трубопроводы желательно освободить от ингибитора и промыть водой.
5.7. Площадка установки для закачки ингибиторов коррозии должна иметь плотный гладкий пол с устройством для стока и сбора пролитого ингибитора и смывных вод, а также канализацию.
6. МОЙКА, ЧИСТКА ЕМКОСТЕЙ
6.1. Емкости и их оборудование должны периодически осматриваться ответственным работником.
6.2. Очистка емкостей должна быть механизированной и проводиться под руководством ответственного работника.
6.3. Работы внутри емкостей разрешаются только после полного спуска остатка ингибитора, отсоединения всех трубопроводов и открытия всех отверстий (лазов, люков), тщательной промывки или пропарки емкости и проветривания.
6.4. При работе внутри емкости рабочие должны быть одеты в непроницаемую для ингибитора спецодежду. Поверх спецодежды надевается пояс с крестообразными лямками, к которому прикрепляется сигнально-спасательная веревка. Другой конец веревки должен выходить наружу через люк.
6.5. У люка все время должно находиться не менее двух рабочих, имеющих при себе шланговые противогазы для оказания в случае необходимости помощи работающему в емкости, причем один рабочий все время должен держать конец сигнально-спасательной веревки.
6.6. Рабочие, допускаемые к очистке емкостей, должны быть предварительно проинструктированы по правилам безопасности проведения этой работы.
6.7. При появлении трещин в сварных швах или в основном металле корпуса емкость должна быть немедленно опорожнена и поставлена на ремонт. Запрещается чеканка трещин или отдельных свищей в сварном шве емкости, а также заварка трещин на емкостях, заполненных ингибитором.
6.8. Ремонтные, монтажные и строительные работы на территории эксплуатируемых резервуаров, связанные с применением огня (сварки, резки, клепки), необходимо проводить под руководством ответственного работника с письменного разрешения технического руководителя после предварительного согласования с пожарной охраной.
6.9. При обслуживании и ремонте резервуаров разрешается применять только переносные светильники напряжением не выше 12 вольт во взрывобезопасном исполнении.
ЖУРНАЛ
|
Характеристики образцов-свидетелей
|
Дата установки образцов |
Номера образцов |
Поверхность образцов, м2 |
Время испытания образцов, ч |
Масса образцов, г |
Потери массы образцов, г |
Скорость коррозии после введения ингибитора, г/м2·ч |
Эффективность ингибирования, % |
Примечание |
|
|
до испытания |
после испытания |
||||||||
|
|
|
|
|
|
|
|
|
|
|
СОДЕРЖАНИЕ
|
_________________________________________________________ |