ТИПОВЫЕ ТЕХНОЛОГИЧЕСКИЕ КАРТЫ
НА ПРОИЗВОДСТВО ОТДЕЛЬНЫХ ВИДОВ РАБОТ
РАЗДЕЛ 04
ТИПОВАЯ ТЕХНОЛОГИЧЕСКАЯ КАРТА
НА БЕТОННЫЕ И ЖЕЛЕЗОБЕТОННЫЕ РАБОТЫ
(МОНОЛИТНЫЙ БЕТОН)
4.01.01.64
УСТРОЙСТВО МОНОЛИТНЫХ ЖЕЛЕЗОБЕТОННЫХ СТЕН
ПОДВАЛОВ ВЫСОТОЙ ДО 6 м И ТОЛЩИНОЙ ДО 500 мм
ЗДАНИЙ И СООРУЖЕНИЙ ОБЩЕГО НАЗНАЧЕНИЯ
МОСКВА – 1989
|
РАЗРАБОТАНА Институтом «Промстройпроект Госстроя» СССР Главный инженер института В.И. Королев Начальник отдела Б.М. Тиунов Главный инженер проекта Ю.С. Езерский |
СОГЛАСОВАНО Отделом механизации и технологии строительства Госстроя СССР Письмо от 14.12.1988 г. № 23-712 Введена в действие с 1 февраля 1989 г |
Типовая технологическая карта разработана на устройство монолитных железобетонных стен подвалов высотой до 6 м и толщиной до 500 мм зданий и сооружений общего назначения.
Параметры монолитной железобетонной стены технологического подвала (размеры, армирование, расход материалов) приняты применительно к одному из реальных проектов института «Промстройпроект».
Армирование конструкций стены - пространственными каркасами и плоскими сетками; стыки арматурных сеток и каркасов выполняются внахлестку, без сварки, с расположением их вразбежку.
Калькуляция затрат труда, график выполнения работ, потребность в материально-технических ресурсах, технико-экономические показатели выполнены для стены, расположенной в пределах температурного блока размером 36 ´ 42 м толщиной 500 мм (базовый вариант).
Данная карта позволяет также с помощью фасетов произвести расчет вышеперечисленных показателей для стен толщиной 250 мм и высотой до 3,6 м и 6 м.
Технологической картой предусматривается устройство монолитной железобетонной стены с применением унифицированной разборно-переставной опалубки «Монолпт-77», укрупненной в опалубочные панели.
В технологической карте приняты 3 варианта подачи и укладки бетонной смеси: автобетононасосом СБ-126А (базовый вариант) и стреловыми самоходными кранами МКГ-16М (вариант 2) и КС-4362 (вариант 3).
Погрузо-разгрузочные работы, арматурные и опалубочные работы выполняются автомобильным краном грузоподъемностью 6,3 т.
При привязке технологической карты к конкретному объекту и условиям строительства уточняются объемы работ, калькуляция затрат труда, средства механизации с учетом использования наличного парка машин, оборудования и приспособлений.
До начала устройства монолитной железобетонной стены должны быть выполнены следующие работы:
устроены подъездные пути и автодороги;
обозначены пути движения механизмов, места складирования, укрупнения элементов опалубки, подготовлена монтажная оснастка и приспособления;
завезены арматурные сетки, каркасы и комплекты опалубки в количестве, обеспечивающем бесперебойную работу не менее, чем в течение двух смен;
составлены акты приемки в соответствии с требованиями нормативных документов;
предусмотрены мероприятия по обеспечению сохранения арматурных выпусков из фундаментных плит от коррозии и деформации;
произведена геодезическая разбивка осей и разметка положения стен в соответствии с проектом; на поверхность фундаментной плиты краской нанесены риски, фиксирующие положение рабочей плоскости щитов опалубки.
Работы выполняются в 2 смены.
В состав работ, рассматриваемых картой, входят:
вспомогательные (разгрузка, складирование, сортировка арматурных изделий и комплектов опалубки);
арматурные;
опалубочные;
бетонные.
Разгрузку, сортировку, раскладку арматурных сеток, армокаркасов, элементов опалубки, монтаж армокаркасов, сеток и укрупненных панелей опалубки, навеску площадок, а также демонтаж опалубки выполняют с помощью автокранов КС-2561Д. Количество кранов принимается согласно ППР.
Арматурные сетки и армокаркасы поступают на стройплощадку в собранном виде.
Опалубочные панели собирают из отдельных щитов на специальных стендах. Последовательность сборки приведена ниже:
щиты укладывают рабочей поверхностью вниз, в местах установки монтажных и рабочих креплений кладут деревянные рейки;
выверяют габаритные размеры панелей, по контуру панелей прибивают деревянные бруски-ограничители;
щиты соединяют между собой пружинными скобами или крюками;
в местах расположения деревянных реек щиты соединяют болтами;
в деревянных рейках в местах пропуска стяжек просверливают отверстия диаметром 18 - 20 мм;
поверх щитов раскладывают схватки;
схватки со щитами соединяют натяжными крюками с клиновым или винтовым запором;
поверх схваток перпендикулярно им укладывают связи жесткости, для чего используют те же схватки;
схватки со связями соединяют болтами;
на верхнем ярусе схваток укрепляют монтажные петли;
к нижним ярусам схваток или связям жесткости прикрепляют подкосы, обеспечивающие устойчивость панелей в вертикальном положении.
В данной технологической карте даны схемы укрупненных панелей опалубки высотой 2,1 м и 1,8 м (на высоту яруса бетонирования) и длиной 4,55 мм.
Работы по возведению монолитной стены подвала выполняются в определенной последовательности.
Укладывают по всему периметру стены маячные рейки, которые крепят гвоздями к деревянным пробкам, заложенным в фундаментной плите; внутренняя грань рейки должна совпадать с наружной гранью бетонируемой стены.
Устанавливают наружные опалубочные панели первого яруса.
Укладывают арматурные сетки и каркасы на всю высоту с раскреплением их расчалками; на арматурных сетках и каркасах располагают фиксаторы с шагом 1 м для создания защитного слоя бетона; работы ведутся с передвижных площадок; для временного крепления арматурных каркасов к опалубке используются струбцины.
Устанавливают наружные опалубочные панели стены второго яруса и внутренние опалубочные панели первого яруса. Опалубочные панели устанавливают таким образом, чтобы нижнее внутреннее ребро панели совпало с нанесенными рисками. Между панелями кладут прокладки-компенсаторы из деревянных реек или оргалита для ликвидации всех отклонений в проектных размерах панели. Смежные панели соединяют пружинными крюками или болтами. Установку панелей опалубки производят с передвижных площадок. На монтируемых опалубочных панелях первого яруса должны быть закреплены подкосы. Стропы подъемного механизма могут быть освобождены лишь после того, как установленная и выверенная относительно горизонтальной оси панель раскреплена расчалками. После расстроповки ставят монтажные крепления между противоположными панелями. Для этого в отверстия деревянных реек пропускают проволочные стяжки и на их концах укрепляют клиновые замки. Затем с помощью регулировочных винтов подкосов выверяют панели относительно вертикальной оси. После соединения противоположных панелей и установки временных распорок инвентарные подкосы снимают и используют при монтаже других панелей. Расчалки оставляют до укладки в опалубку бетонной смеси.
Бетонируют 1 ярус стены по высоте. Бетонную смесь укладывают слоями 30 - 40 см. Бетонная смесь должна иметь осадку конуса 4 - 12 см. Подбор и назначение состава бетонной смеси осуществляется строительной лабораторией. Бетонирование стены производится автобетононасосом (базовый вариант) в сочетании с необходимым количеством автобетоносмесителей. Бетонирование стены следует производить без перерыва участками по 20 м с устройством заглушек из стальной сетки. При бетонировании стреловыми самоходными кранами (варианты 2, 3) подача бетонной смеси производится в поворотных бункерах вместимостью 1 м3. Строповку бункера производят двухветвевым стропом грузоподъемностью 5 т.
Устанавливают наружные опалубочные панели третьего яруса и внутренние опалубочные панели второго яруса. На щитах нижележащей панели закрепляют прокладки из деревянных реек. Вертикальные связи нижележащих панелей соединяют с вертикальными связями вышележащих панелей. Внутренние панели второго яруса крепятся расчалками к наружным панелям третьего яруса. На внутренние панели навешивают рабочие площадки для бетонирования. Производят выверку панелей и устанавливают рабочие крепления (проволочные) стяжки.
Бетонируют II ярус стены. Устанавливают внутреннюю опалубку третьего (верхнего) яруса. После выверки панелей на уровне верхнего яруса устанавливают 2 - 3 временные деревянные распорки, которые привязывают проволокой к стяжкам.
Бетонируют III ярус стены.
Мероприятия по уходу за бетоном в период набора прочности, порядок и сроки их проведения, контроль за выполнением этих мероприятий необходимо осуществлять в соответствии с требованиями СНиП 3.03.01-87. Открытые поверхности бетона необходимо защитить от потерь влаги путем поливки водой или укрытия их влажными материалами (брезентом). Сроки выдерживания и периодичность поливки назначает строительная лаборатория.
При производстве работ в зимних условиях принимают меры по обеспечению нормального твердения бетона при ожидаемой среднесуточной температуре наружного воздуха ниже 5 °С и минимальной суточной температуре ниже 0 °С в соответствии со СНиП 3.03.01-87.
Демонтаж боковых элементов опалубки следует производить после достижения бетоном прочности, обеспечивающей сохранность поверхности и кромок углов от повреждений.
Демонтаж опалубки производят с передвижных площадок в следующем порядке:
снимают замки на стяжках;
убирают навесные площадки;
снимают крепления, соединяющие смежные опалубочные панели;
убирают расчалки и подкосы;
стропят демонтируемую опалубочную панель, производят ее отрыв от забетонированной конструкции с помощью ломика или ручного домкрата;
переставляют панель на площадку складирования.
Варианты рекомендуемых машин и оборудования для возведения монолитной железобетонной стены приводятся в табл. 1.
Таблица 1
|
Вариант (фасет-код) |
Техническая характеристика |
Марка |
Количество, шт. |
|
|
Кран монтажный |
1, 2, 3 (28-1) |
Кран автомобильный грузоподъемностью 6,3 т |
КС-2561Д |
2 |
|
Машины для бетонирования |
1 (28-2) |
Автобетононасос производительностью 17 м3/ч |
СБ-126А |
1 |
|
2 (28-3) |
Кран гусеничный грузоподъемностью до 16 т |
МКГ-16М |
1 |
|
|
3 (28-4) |
Кран пневмоколесный грузоподъемностью до 16 т |
КС-4362 |
1 |
При приемке материалов, изделий и инвентаря на объекте проверяют их размеры, предельные отклонения положения элементов опалубки, арматурных изделий относительно разбивочных осей или ориентирных рисок.
Отклонения не должны превышать величин, указанных в СНиП 3.03.01-87.
При приемке работ предъявляют журналы сварочных работ, документы лабораторных анализов и испытаний строительных лабораторий, акты освидетельствования скрытых работ.
Средства контроля операций и процессов приводятся в табл. 2.
Таблица 2
|
Предмет контроля |
Инструмент и способ контроля |
Периодичность контроля |
Ответственный за контроль |
Технические критерии оценки качества |
|
|
Приемка арматуры |
Соответствие арматурных сеток и каркасов проекту |
Визуально |
До начала установки сеток и каркасов |
Производитель работ |
В соответствии с требованиями ГОСТа или ТУ (рабочие чертежи) |
|
Складирование арматурных сеток и каркасов |
Правильность складирования, хранения |
То же |
То же |
Мастер |
В соответствии с требованиями СНиП III-4-80 |
|
Установка сеток и каркасов |
Соответствие проекту |
« |
В процессе установки |
То же |
В соответствии с проектом |
|
Приемка опалубки и сортировка |
Наличие комплектов элементов опалубки. Маркировка элементов |
« |
В процессе разгрузки |
Производитель работ |
В соответствии с ППР |
|
Установка опалубки |
Соответствие установки элементов опалубки проекту. Допускаемые отклонения положения установленной опалубки по отношению к осям и отметкам. Правильность положения вертикальных плоскостей |
Теодолит, нивелир, рулетка, отвес |
После установки опалубки |
Мастер, геодезическая служба |
В соответствии с требованиями СНиП 3.03.01-87 и проектом |
|
Укладка бетонной смеси |
Качество бетонной смеси |
Конус СтройЦНИЛпресс (ПСУ-500), лабораторный контроль |
До бетонирования |
Мастер, лаборант |
То же |
|
Правильность технологии укладки бетонной смеси |
Визуально |
В процессе укладки |
Мастер |
« |
|
|
Шаг перестановки и глубина погружения вибраторов, правильность установки вибраторов, толщина бетонного слоя при уплотнении |
То же, стальная линейка |
В процессе уплотнения |
То же |
« |
|
|
Уход за бетоном при твердении |
Соблюдение влажностного и температурного режимов |
Термометр, влагомер. Лабораторный контроль |
В процессе твердения |
Мастер, лаборант |
« |
|
Разборка опалубки |
Технологическая последовательность разборки элементов опалубки |
Визуально, лабораторный контроль |
После набора прочности бетоном |
То же |
« |
|
Подготовка опалубки |
Очистка элементов опалубки от бетонных наплывов |
Визуально |
После разборки опалубки |
Мастер |
« |
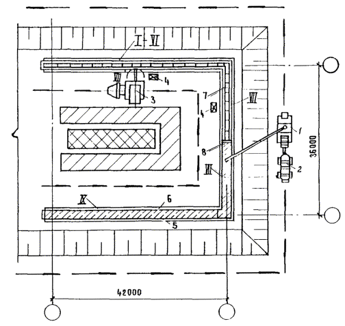
СХЕМА ВОЗВЕДЕНИЯ МОНОЛИТНОЙ ЖЕЛЕЗОБЕТОННОЙ СТЕНЫ ПРИ УКЛАДКЕ БЕТОННОЙ СМЕСИ АВТОБЕТОНОНАСОСОМ (1 вариант)

СХЕМА ВОЗВЕДЕНИЯ МОНОЛИТНОЙ ЖЕЛЕЗОБЕТОННОЙ СТЕНЫ ПРИ УКЛАДКЕ БЕТОННОЙ СМЕСИ С ПОМОЩЬЮ СТРЕЛОВОГО КРАНА
(2, 3 варианты)

Состав работ
I - установка наружной опалубки 1-го яруса
II - установка арматурных сеток и каркасов
III - установка внутренней опалубки 1-го яруса и наружной опалубки 2-го яруса
IV - бетонирование 1-го яруса
V - установка внутренней опалубки 2-го яруса и наружной опалубки 3-го яруса
VI - бетонирование 2-го яруса
VII - установка внутренней опалубки 3-го яруса
VIII - бетонирование 3-го яруса
IX - разборка опалубки
1 - автобетононасос
2 - автобетоносмеситель
3 - автомобильный кран
4 - передвижные подмостки
5 - наружная опалубка
6 - внутренняя опалубка
7 - арматурные каркасы
8 - заглушки
9 - бункеры поворотные
10 - стреловой кран
- складские площадки
- площадки укрупнительной сборки панелей
опалубки
-
направление движения автобетононасоса при возведении стены
ОСНОВНЫЕ ЭТАПЫ ВОЗВЕДЕНИЯ МОНОЛИТНОЙ ЖЕЛЕЗОБЕТОННОЙ СТЕНЫ

а - установка арматурных каркасов; б - установка панелей опалубки; в - укладка бетонной смеси автобетононасосом (вариант 1), г - укладка бетонной смеси с помощью стрелового крана (варианты 2, 3)
1 - панель опалубки; 2 - подкос; 3 - арматурный каркас; 4 - фиксаторы для создания защитного слоя; 5 - арматурные выпуски; 6 - струбцины; 7 - строп; 8 - расчалки; 9 - якорь; 10 - передвижные подмости; 11 - навecная площадка; 12 - лоток; 13 - бункер поворотный; 14 - стреловой кран; 15 - стяжки монтажные; 16 - распорки; 17 - автобетононасос.
СХЕМА РАСКЛАДКИ ПАНЕЛЕЙ ОПАЛУБКИ СТЕН ПОДВАЛА

СХЕМА АРМИРОВАНИЯ СТЕНЫ ПОДВАЛА


1 - укрупненные панели опалубки (УП-1, УП-2)
2 - добор из отдельных щитов
3 - торцевая опалубка
4 - прокладки-компенсаторы между панелями
5 - подкосы
6 - стяжка
7 - стяжка монтажная
8 - распорка
9 - маячная рейка
10 - фундаментальная сварка
11 - клиновой замок
12 - арматурные каркасы
13 - арматурные сетки
14 - монтажная сварка
УКРУПНЕННАЯ ПАНЕЛЬ ОПАЛУБКИ УП-1

УКРУПНЕННАЯ ПАНЕЛЬ ОПАЛУБКИ УП-2


1 - металлические щиты опалубки 6 – чека
2 - схватки составные 7 - клин
3 - вертикальные связи жесткости 8 - скоба прижимная
4 - деревянные рейки 9 - крюк натяжной
5 - монтажные петли
Таблица 3
|
Наименование процессов |
Номер фасет для пересчета показателей |
Единица измерения |
Объем работ |
Обоснование (ЕНиР и др. нормы) |
Норма времени |
Расценка, р.-к. |
Затраты труда |
Заработная плата, р.-к. |
Время пребывания машины на объекте, маш.-ч |
Заработная плата машиниста с учетом пребывания машины на объекте, р.-к. |
|
||||
|
рабочих, чел.-ч |
машиниста, чел.-ч (маш.-ч) |
рабочих |
машиниста |
рабочих, чел.-ч |
машиниста, чел.-ч (маш.-ч) |
||||||||||
|
рабочих |
машиниста |
|
|||||||||||||
|
1. Разгрузка с транспортных средств элементов опалубки, арматурных изделий, инвентаря и приспособлений |
01, 02 |
100 т |
2,035 |
ЕНиР, §Е1-5, табл. 2, п. 2, ПР-3 |
12 |
6,1 |
7-68 |
5-56 |
24,42 |
12,41 |
15-63 |
11-31 |
12,41 |
11-31 |
|
|
2. Сортировка элементов опалубки, арматурных изделий и подача к месту работ |
03 |
1 т |
200,5 |
ЕНиР, §Е5-1-1, пп. 1, 2 |
0,65 |
0,32 |
0-48,4 |
0-33,9 |
130,32 |
64,16 |
97-04 |
67-97 |
64,16 |
67-97 |
|
|
3. Укрупнительная сборка панелей опалубки стен |
04 |
м2 |
1390 |
ЕНиР, §Е4-1-40, п. 1 |
0,38 |
- |
0-28,3 |
- |
528,20 |
- |
393-37 |
- |
- |
- |
|
|
4. Монтаж крупнощитовой металлической опалубки стен |
04, 05 |
м2 |
1390 |
ЕНиР, §E4-1-37, табл. 4, п. 2а |
0,24 |
0,08 |
0-17,5 |
0-07,3 |
333,60 |
111,2 |
243-25 |
101-47 |
111,2 |
101-47 |
|
|
5. Установка прокладок-компенсаторов между панелями опалубки |
06 |
100 м заделки |
3 |
ЕНиР, §Е4-1-43, п. 16 |
6,6 |
- |
4,62 |
- |
19,80 |
- |
13-86 |
|
|
|
|
|
6. Установка доборов из отдельных щитов |
07 |
м2 |
80 |
ЕНиР, §Е4-1-37, табл. 2, п. 1 |
0,39 |
- |
0-29,1 |
- |
31,20 |
- |
23-28 |
|
|
|
|
|
7. Монтаж навесных площадок |
08 |
шт. |
180 |
ЕНиР, §Е5-1-2, п. 4 |
0,27 |
0,14 |
0-20,1 |
0-14,8 |
48,60 |
25,20 |
36-18 |
26-64 |
25,2 |
26-64 |
|
|
8. Кладка арматурных сеток |
09 |
шт. |
122 |
ЕНиР, §Е4-1-44, табл. 1, п. 2а |
0,79 |
0,395 |
0-53,5 |
0-35,9 |
96,38 |
48,19 |
65-27 |
43-80 |
48,19 |
43-80 |
|
|
9. Кладка арматурных каркасов |
10, 11 |
т |
64 |
ВниР, §В14-1-10, табл. 2, п. 4г, ПР-3 |
2,97 |
0,594 |
2-43,7 |
0-54,1 |
190,1 |
38,02 |
155-97 |
34-62 |
38,02 |
34-62 |
|
|
10. Кладка арматуры из отдельных стержней |
I2, 13 |
т |
8,5 |
ЕНиР, §Е4-1-46, п. 10г |
15 |
- |
11-63 |
- |
127,5 |
- |
98-85 |
- |
- |
- |
|
|
11. Монтажная сварка |
14, 15 |
100 соединений |
39 |
ВНиР, §В14-1-13г, табл. 4, п. 2в, ПР-8 |
1,3 |
- |
1-18,3 |
- |
50,7 |
- |
46-14 |
- |
- |
- |
|
|
12. Прием бетонной смеси |
16, 29 |
100 м3 |
3.70 |
ЕНиР, §Е4-1-54, п. 20 |
0 |
- |
0 |
- |
0 |
- |
0 |
- |
- |
- |
|
|
13. Подача бетонной смеси |
17, 18 |
т |
925 |
ЕНиР, 1973г., § 24-13 |
0 |
0 |
0 |
0 |
0 |
0 |
0 |
0 |
- |
- |
|
|
14. Укладка бетонной смеси |
19, 20 |
м3 |
370 |
Расчет № 1 |
0,18 |
0,125 |
0-11,4 |
0-11,9 |
66,3 |
46,25 |
42-18 |
44-03 |
23,12 |
44-03 |
|
|
15. Поливка бетонных поверхностей водой |
21 |
100 м2 |
176,4 |
ЕНиР, §Е4-1-54, п. 9 |
0,14 |
- |
0-09 |
- |
24,70 |
- |
15-88 |
- |
- |
- |
|
|
16. Демонтаж навесных площадок |
08 |
шт. |
180 |
ЕНиР, §Е5-1-2. п. 4, ПР-2 |
0,216 |
0,112 |
0-16,1 |
0-11,8 |
38,88 |
20,16 |
28-98 |
21-24 |
20,16 |
21-24 |
|
|
17. Демонтаж крупнощитовой опалубки |
04, 22 |
м2 |
1390 |
ЕНиР, §E4-1-37, п. 2б |
0,14 |
0,047 |
0-09,2 |
0-04,3 |
194,60 |
65,33 |
127-88 |
59-77 |
65,33 |
59-77 |
|
|
18. Разборка доборов |
07 |
м2 |
80 |
ЕНиР, §Е4-1-37. т. 2. п. 2 |
0,21 |
- |
0-14,1 |
- |
16,80 |
- |
11-28 |
- |
|
|
|
|
19. Погрузка элементов опалубки, инвентаря и приспособлений |
02, 23 |
100 т |
1,184 |
ЕНиР, §Е1-5, табл. 2, п. 2, ПР-3 |
12 |
6,1 |
7-68 |
5-56 |
14,21 |
7,22 |
9-09 |
6-58 |
7,22 |
6-58 |
|
|
Итого: |
|
|
|
|
|
|
|
|
1936,6 |
438,14 |
1424-13 |
417-43 |
415,01 |
417-43 |
|
Калькуляция затрат труда, машинного времени и заработной платы составлена для варианта возведения монолитной железобетонной стены высотой 6 м, толщиной 0,5 м при бетонировании с помощью автобетононасоса.

График производства работ составлен для варианта возведения монолитной железобетонной стены высотой 6 м, толщиной 0,5 м при бетонировании с помощью автобетононасоса.
Потребность в инструменте, инвентаре и приспособлениях приведена в табл. 5.
Таблица 5
|
Марка, техническая характеристика, ГОСТ, № чертежа |
Количество по вариантам |
Назначение |
|||
|
1 |
2 |
3 |
|||
|
Бункер |
Проект 389-2.00.000 |
- |
1 |
1 |
Подача бетонной смеси |
|
Вибратор глубинный |
ИВ-47А ТУ-22-4666-80 |
1 |
1 |
1 |
Вибрирование уложенной бетонной смеси |
|
Строп двухветвевой |
2СК-5,0;500 |
1 |
1 |
1 |
Подъем элементов |
|
Строп четырехветвевой |
4СК 1-0,8 |
1 |
1 |
1 |
То же |
|
Домкрат ручной |
ГОСТ 18042-72 |
1 |
1 |
1 |
Распалубка |
|
Навесные площадки |
ЦНИИОМТП Р.Ч. «Монолит-77» 2493.00.000 |
20 |
20 |
20 |
Бетонирование стен |
|
Лоток |
|
- |
1 |
1 |
Для спуска бетонной смеси в опалубку |
|
Передвижные подмости |
ЦНИИОМТП |
2 |
2 |
2 |
Установка армокаркасов и панелей опалубки |
|
Уровень строительный |
Тип УС 2 |
1 |
1 |
1 |
Проверка установки элементов опалубки и армокаркасов |
|
Отвес строительный |
ОТ-400 |
1 |
1 |
1 |
То же |
|
Ключ гаечный разводной |
ГОСТ 7275-75 |
2 |
2 |
2 |
Установка опалубки |
|
Метр складной |
РСТ 149-76 |
2 |
2 |
2 |
Обмер конструктивных элементов |
|
Рулетка металлическая |
РС-20 ГОСТ 7502-80* |
1 |
1 |
1 |
То же |
|
Термометр стеклянный технический |
ГОСТ 2823-73*Е (СТ СЭВ 2944-81) |
1 |
1 |
1 |
Проверка температурного режима при твердении бетона |
|
Влагомер |
ГОСТ 15528-70* |
1 |
1 |
1 |
Проверка влажностного режима при твердении бетона |
|
Дрель универсальная |
ТУ 1-370-72 |
1 |
1 |
1 |
Установка опалубки |
|
Плоскогубцы комбинированные |
ГОСТ 17439-72*Е |
2 |
2 |
2 |
Опалубочные и арматурные работы |
|
Зубило слесарное |
ГОСТ 7211-86Е |
1 |
1 |
1 |
« |
|
Кусачки |
ГОСТ 7282-75* |
2 |
2 |
2 |
« |
|
Клещи 250 |
ГОСТ 14184-83 |
1 |
1 |
1 |
« |
|
Отвертка |
ГОСТ 17199-71**Е |
1 |
1 |
1 |
« |
|
Ножницы |
ГОСТ 7210-75 |
1 |
1 |
1 |
« |
|
Молоток слесарный |
ГОСТ 2310-77*Е |
1 |
1 |
1 |
« |
|
Щетка стальная |
ТУ 36-2460-82 |
10 |
10 |
10 |
Очистка опалубки |
|
Кисть маховая |
КМ-65 ГОСТ 10597-80* |
2 |
2 |
2 |
Смазка поверхности опалубки эмульсией |
|
Лом стальной |
ЛО-24 ГОСТ 1405-83 |
1 |
1 |
1 |
Опалубочные работы |
|
Лопата растворная |
ГОСТ 3620-76 |
2 |
2 |
2 |
Укладка бетонной смеси |
|
Поливочный рукав |
длина 40 м |
1 |
1 |
1 |
Поливка бетонных поверхностей |
Потребность в материалах и полуфабрикатах для выполнения работ по возведению монолитных железобетонных стен приведена в табл. 6.
Таблица 6
|
Наименование материала, полуфабриката, конструкций (марка, ГОСТ) |
Номер фасет |
Исходные данные |
Потребность в материалах |
||
|
Единица измерения |
Объем работ в нормативных единицах |
Принятая норма расхода материалов |
|||
|
Унифицированная разборно-переставная опалубка ЦНИИОМТП «Монолит-77» |
24, 25 |
м2 |
1470 |
0,0785 т |
115,4 |
|
Арматурные изделия |
19, 26 |
м3 стены |
370 |
0,23 т |
85,1 т |
|
Бетонная смесь В10, В15 |
19 |
м3 |
370 |
1,015 м3 |
376 м3 |
|
Эмульсия ЭКС |
24 |
м2 опалубки |
1470 |
0,36 кг |
529 кг |
|
Электроды |
14, 27 |
100 сварных соединений |
39 |
37 кг |
1443 кг |
Устройство монолитных железобетонных стен необходимо выполнять в соответствии со СНиП III-4-80, «Правилами пожарной безопасности при производстве строительно-монтажных работ» ГУПО 1978 г. и «Правилами устройства и безопасной эксплуатации грузоподъемных кранов» Госгортехнадзора СССР. Применяемое оборудование должно отвечать требованиям безопасности в соответствии с ГОСТ 12.1.013-78.
1. Нормативные затраты труда рабочих, чел.-ч:
на весь объем - 1936,6
на 100 м3 - 523,4.
2. Нормативные затраты машинного времени, маш.-ч:
на весь объем - 438,14
на 100 м3 - 118,49.
3. Заработная плата рабочих-монтажников, р.-к.:
на весь объем - 1424-13.
4. Заработная плата механизаторов, р.-к.:
на весь объем - 417,43.
5. Продолжительность выполнения работ, смена - 37,3.
6. Выработка на одного рабочего в смену, м3 - 1,57;
с учетом механизаторов - 1,28.
7. Условные затраты на механизацию для базового варианта, р.-к. - 1894-00.
8. Сумма изменяемых затрат, р.-к. - 3318-13.
Привязка типовой технологической карты к конкретным условиям производится с помощью фасетного классификатора факторов, влияющих на расход материально-технических ресурсов, затрат труда, зарплату.
В фасетах содержится информация по всем вариантам производства работ, предусмотренных в ТТК.
При выборе одного из этих вариантов необходимо произвести пересчет базовой калькуляции затрат труда, машинного времени и зарплаты, входящих в ПК.
Для автоматизации расчетов калькуляции при привязке ТТК ЦНИИОМТП Госстроя СССР разработана программа для ЭВМ. Она позволяет использовать библиотеки ТТК и фасет на машинных носителях, производить в диалоговом режиме расчеты калькуляций. Привязка калькуляции заключается в коррекции базовой калькуляции в соответствии с выбранными из фасет вариантами.
Фасет 01
Масса грузов при разгрузке, 100 т
|
Наименование фактора |
Обоснование |
Код |
Значение фактора |
|
Стена размерами, м: |
|
|
|
|
высотой 6; толщиной 0,5 |
По проекту |
1 |
2,035 |
|
то же, толщиной 0,25 |
« |
2 |
1,406 |
|
высотой 3,6; толщиной 0,5 |
« |
3 |
1,232 |
|
то же, толщиной 0,25 |
« |
4 |
0,854 |
Фасет 02
Нормы времени и расценки на погрузку и выгрузку материалов (грузов)
|
Наименование фактора |
Обоснование |
Код |
Значение фактора |
|
Общая масса поднимаемого груза, т, до: |
|
|
|
|
0,5 |
ЕНиР, §Е1-5, табл. 2, п. 1, ПР-3 |
1 |
Н. вр. для рабочих - 22; для машиниста - 11. Расц. для рабочих -14-09; для машиниста - 10-03. |
|
1 |
То же, п. 2 |
2 |
По калькуляции |
|
1,5 |
То же, п. 3 |
3 |
Н. вр. для рабочих - 8,8; для машиниста - 4,4. Расц. для рабочих - 5-63; для машиниста - 4-01. |
|
2 |
То же, п. 4 |
4 |
Н. вр. для рабочих - 7,2; для машиниста - 3,6. Расц. для рабочих - 4-61; для машиниста - 3-29. |
|
3 |
То же, р. 5 |
5 |
Н. вр. для рабочих - 5,4; для машиниста - 2,7. Расц. для рабочих - 3-46; для машиниста - 2-46. |
Фасет 03
Масса грузов при сортировке, т
|
Наименование фактора |
Обоснование |
Код |
Значение фактора |
|
Стена размерами, м: |
|
|
|
|
высотой 6; толщ. 0,5 |
По проекту |
1 |
200,5 |
|
то же, толщ. 0,25 |
« |
2 |
137,6 |
|
высотой 3,6; толщ. 0,5 |
« |
3 |
120,2 |
|
то же, толщ. 0,25 |
« |
4 |
82,4 |
Фасет 04
Площадь крупнощитовой опалубки стен, м2
|
Наименование фактора |
Обоснование |
Код |
Значение фактора |
|
Стена высотой, м: |
|
|
|
|
6 |
По проекту |
1 |
1390 |
|
3,6 |
« |
2 |
840 |
Фасет 05
Нормы времени и расценки на установку опалубки стен
|
Наименование фактора |
Обоснование |
Код |
Значение фактора |
|
Площадь щитов, м2, до: |
|
|
|
|
10 |
ЕНиР, §Е4-1-37, табл. 4, п. 1а |
1 |
Н. вр. и расц. умножить на 1,166 |
|
20 |
То же, п. 2а |
2 |
По калькуляции |
Фасет 06
Количество прокладок-компенсаторов, 100 м
|
Наименование фактора |
Обоснование |
Код |
Значение фактора |
|
Высота стены, м: |
|
|
|
|
6 |
По проекту |
1 |
300 |
|
3,6 |
« |
2 |
180 |
Фасет 07
Площадь доборной опалубки, м2
|
Наименование фактора |
Обоснование |
Код |
Значение фактора |
|
Стена высотой, м: |
|
|
|
|
6 |
По проекту |
1 |
80 |
|
3,6 |
« |
2 |
50 |
Фасет 08
Количество навесных площадок, шт.
|
Наименование фактора |
Обоснование |
Код |
Значение фактора |
|
Высота стены, м: |
|
|
|
|
6 |
По ППР |
1 |
180 |
|
3,6 |
« |
2 |
120 |
Фасет 09
Количество арматурных сеток, шт.
|
Наименование фактора |
Обоснование |
Код |
Значение фактора |
|
Толщина стены, м: |
|
|
|
|
0,5 |
По проекту |
1 |
122 |
|
0,25 |
« |
2 |
0 |
Фасет 10
Масса арматурных каркасов, т
|
Наименование фактора |
Обоснование |
Код |
Значение фактора |
|
Стена размерами, м: |
|
|
|
|
высотой 6 м; толщ. 0,5 |
По проекту |
1 |
64 |
|
то же, толщ. 0,25 |
« |
2 |
20 |
|
высотой 3,6м; толщ. 0,5 |
« |
3 |
39 |
|
то же, толщ. 0,25 |
« |
4 |
12 |
Фасет 11
Норма времени и расценка на установку армокаркасов
|
Наименование фактора |
Обоснование |
Код |
Значение фактора |
|
Масса армокаркасов, т, до: |
|
|
|
|
0,2 |
ВНиР, §В14-1-10, табл. 2, п. 4а, ПР-3 |
1 |
Н. вр. для рабочих - 6,05; для машиниста - 1,21. Расц. для рабочих - 4-96; для машиниста - 1-10. |
|
0,4 |
То же, п. 4б |
2 |
Н. вр. для рабочих - 4,675; для машиниста - 0,935. Расц.для рабочих - 3-83; для машиниста - 0-85,1. |
|
0,6 |
То же, п. 4в |
3 |
Н. вр. для рабочих - 3,41; для машиниста - 0,682. Расц. для рабочих - 2-79,4; для машиниста - 0-62,1. |
|
1 |
То же, п. 4г |
4 |
По калькуляции |
|
2 |
То же, п. 4д |
5 |
Н. вр. для рабочих - 2,255; для машиниста - 0,451. Расц. для рабочих - 1-84,8; для машиниста - 0-41. |
|
3 |
То же, п. 4е |
6 |
Н. вр. для рабочих - 1,705; для машиниста - 0,341. Расц. для рабочих - 1-39,7; для машиниста - 0-31. |
Фасет 12
Масса отдельных арматурных стержней, т
|
Наименование фактора |
Обоснование |
Код |
Значение фактора |
|
Стена размерами, м: |
|
|
|
|
высотой 6; толщ. 0,5 |
По проекту |
1 |
8,5 |
|
то же, толщ. 0,25 |
« |
2 |
2,2 |
|
высотой 3,6; толщ. 0,5 |
« |
3 |
5,1 |
|
то же, толщ. 0,25 |
« |
4 |
1,3 |
Фасет 13
Нормы времени и расценки на установку арматуры отдельными стержнями
|
Наименование фактора |
Обоснование |
Код |
Значение фактора |
|
Диаметр арматуры, мм, до: |
|
|
|
|
6 |
ЕНиР, §Е4-1-46, п. 10а |
1 |
Н. вр. и расц. умножить на 2,37 |
|
8 |
То же, п. 10б |
2 |
Н. вр. и расц. умножить на 2,10 |
|
12 |
То же, п. 10в |
3 |
Н. вр. и расц. умножить на 1,33 |
|
18 |
То же, п. 10г |
4 |
По калькуляции |
Фасет 14
Количество сварных соединений, 100 соединений
|
Наименование фактора |
Обоснование |
Код |
Значение фактора |
|
Стена высотой 6 м |
По проекту |
1 |
39 |
|
То же, высотой 3,6 м |
То же |
2 |
27 |
Фасет 15
Норма времени и расценка на 100 сварных соединений
|
Наименование фактора |
Обоснование |
Код |
Значение фактора |
|
Наименьший диаметр арматуры до 12 мм и наибольший диаметр, мм, до |
|
|
|
|
40 |
ВНиР, §В14-1-13Г, табл. 4, п. 2в, ПР-8 |
1 |
По калькуляции |
|
20 |
То же, п. 2б |
2 |
Н. вр. для рабочих - 0,78; Расц. - 0-70,9. |
Фасет 16
Количество принимаемой бетонной смеси, 100 м3
|
Наименование фактора |
Обоснование |
Код |
Значение фактора |
|
Стена размерами, м: |
|
|
|
|
высотой 6; толщ. 0,5 |
Объем стены |
1 |
3,7 |
|
то же, толщ. 0,25 |
« |
2 |
1,85 |
|
высотой 3,6; толщ. 0,5 |
« |
3 |
2,22 |
|
то же, толщ. 0,25 |
« |
4 |
1,11 |
Фасет 17
Количество подаваемой бетонной смеси, т
|
Наименование фактора |
Обоснование |
Код |
Значение фактора |
|
Стена размерами, м: |
|
|
|
|
высотой 6; толщ. 0,5 |
Масса бетонной смеси для стен |
1 |
925 |
|
то же, толщ. 0,25 |
« |
2 |
462,5 |
|
высотой 3,6; толщ. 0,5 |
« |
3 |
555 |
|
то же, толщ. 0,25 |
« |
4 |
277,5 |
Фасет 18
Норма времени и расценка на подачу бетонной смеси
|
Наименование фактора |
Обоснование |
Код |
Значение фактора |
|
При работе: |
|
|
|
|
автобетононасоса |
- |
1 |
По калькуляции |
|
стрелового крана |
ЕНиР, 1973г. ,§24-13, табл. 2, п. 9; ЕНиР 1987г., Общая часть |
2 |
Н. вр. для рабочих - 0,17; для машиниста - 0,085. Расц. для рабочих - 0-11,4; для машиниста - 0-07,7. |
Фасет 19
Количество укладываемой бетонной смеси, м3
|
Наименование фактора |
Обоснование |
Код |
Значение фактора |
|
Стена размерами, м: |
|
|
|
|
высотой 6; толщ. 0,5 |
Объем стены на захватке |
1 |
370 |
|
то же, толщ. 0,25 |
« |
2 |
185 |
|
высотой 3,6; толщ. 0,5 |
« |
3 |
222 |
|
то же, толщ. 0,25 |
« |
4 |
111 |
Фасет 20
Норма времени и расценка на укладку бетонной смеси
|
Наименование фактора |
Обоснование |
Код |
Значение фактора |
|
При подаче автобетононасосом |
Расчет № 1 |
1 |
По калькуляции |
|
При подаче стреловым краном |
|
|
|
|
100 |
ЕНиР, §Е4-1-49, табл. 3, п. 1а, ПР-9 |
2 |
Н. вр. для рабочих - 4,38; Расц.для рабочих - 3-12,5. |
|
150 |
То же, п. 1б, ПР-9 |
3 |
Н. вр. для рабочих - 2,88; Расц. для рабочих - 2-05. |
|
200 |
То же, п. 1в, ПР-10 |
4 |
Н. вр. для рабочих - 1,84; Расц. для рабочих - 1-31. |
|
300 |
То же, п. 1г, ПР-10 |
5 |
Н. вр. для рабочих - 1,38; Расц. для рабочих - 0-98,7. |
|
более 300 |
То же, п. 1д, ПР-10 |
6 |
Н. вр. для рабочих - 0,91; Расц. для рабочих - 0-65. |
Фасет 21
Площадь поливаемых бетонных поверхностей, м2
|
Наименование фактора |
Обоснование |
Код |
Значение фактора |
|
Высота стены, м: |
|
|
|
|
6 |
Площадь опалубки стен |
1 |
176,40 |
|
3,6 |
« |
2 |
106,80 |
Фасет 22
Нормы времени и расценки на демонтаж крупнощитовой опалубки
|
Наименование фактора |
Обоснование |
Код |
Значение фактора |
|
Площадь щитов, м2, до: |
|
|
|
|
10 |
ЕНиР, §E4-1-37, табл. 4, п. 1б |
1 |
Н. вр. и расценки умножить на 0,79 |
|
20 |
То же, п. 2б |
2 |
По калькуляции |
Фасет 23
Масса грузов при погрузке после разборки опалубки, 100 т
|
Наименование фактора |
Обоснование |
Код |
Значение фактора |
|
Высота стены, м: |
|
|
|
|
6 |
По проекту |
1 |
1,184 |
|
3,6 |
То же |
2 |
0,721 |
Фасет 24
Общая площадь опалубки, м2
|
Наименование фактора |
Обоснование |
Код |
Значение фактора |
|
Стена высотой, м: |
|
|
|
|
6 |
По проекту |
1 |
1470 |
|
3,6 |
То же |
2 |
890 |
Фасет 25
Норма расхода материалов на 1 м2 опалубки, т
|
Наименование фактора |
Обоснование |
Код |
Значение фактора |
|
Стена высотой, м: |
|
|
|
|
6 |
По проекту |
1 |
0,0785 |
|
3,6 |
« |
2 |
0,0776 |
Фасет 26
Норма расхода арматуры на 1 м3 стены, т
|
Наименование фактора |
Обоснование |
Код |
Значение фактора |
|
Стена толщиной, м: |
|
|
|
|
0,5 |
По проекту |
1 |
0,23 |
|
0,25 |
« |
2 |
0,12 |
Фасет 27
Норма расхода электродов на 100 сварных соединений, кг
|
Наименование фактора |
Обоснование |
Код |
Значение фактора |
|
Наибольший диаметр арматуры, мм: |
|
|
|
|
14 |
Подсчет по формуле: (0,058d2 - 8,5) |
1 |
2,9 |
|
16 |
« |
2 |
6,4 |
|
18 |
« |
3 |
10,3 |
|
20 |
« |
4 |
14,7 |
|
22 |
« |
5 |
19,6 |
|
24 |
« |
6 |
24,9 |
|
26 |
« |
7 |
30,7 |
|
28 |
« |
8 |
37 |
|
30 |
« |
9 |
43,7 |
Фасет 28
Стоимость 1 маш.-ч работы механизмов, руб.
|
Наименование фактора |
Обоснование |
Код |
Значение фактора |
|
Кран автомобильный грузоподъемностью до 6,3 т |
СНиП IV-3-82. Приложение, табл. 10, код 0470 |
1 |
4,01 |
|
Автобетононасос |
Расчет экономической эффективности автобетононасоса, ЦНИИОМТП, 1981 г. |
2 |
13,95 |
|
Кран гусеничный грузоподъемностью до 16 т |
СНиП IV-3-82. Приложение, табл. 10, код 0488 |
3 |
5,64 |
|
Кран пневмоколесный грузоподъемностью до 10 т |
То же, код 0520 |
4 |
6,65 |
Фасет 29
Норма времени и расценка на прием бетонной смеси
|
Наименование фактора |
Обоснование |
Код |
Значение фактора |
|
При работе: |
|
|
|
|
стрелового крана |
ЕНиР, § Е4-1-54, п. 20 |
1 |
Н. вр. для рабочих - 5,7; Расц. для рабочих - 3-65. |
|
автобетононасоса |
- |
2 |
По калькуляции |
Расчет № 1
Норма времени и расценка на прием, подачу и укладку бетонной смеси автобетононасосом с очисткой бетоновода
А. Норма времени и расценка на прием, подачу и укладку бетонной смеси автобетононасосом.
Эксплуатационная среднечасовая производительность составляет:
Пэ = Пт ´ Кт ´ Кпр м3/ч,
где: Пт = 60 м3/ч - техническая производительность автобетононасоса (паспортная);
Кт = 0,4 - коэффициент перехода от технической производительности к эксплуатационной;
Кпр = 0,7 - коэффициент, учитывающий простои.
Коэффициенты Кт и Кпр взяты из «Инструкции по определению экономической эффективности новых строительных, дорожных, мелиоративных машин; противопожарного оборудования; лифтов; изобретений и рационализаторских предложений. Часть II, 1978 г.».
Эксплуатационная среднечасовая производительность составит:
Пэ = 60 ´ 0,4 ´ 0,7 = 17 м3/ч.
Измеритель - 1 м3 бетонной смеси.
Время бетонирования 1 м3 составит: 1 : 17 = 0,06 ч.
Состав звена: машинист 5 разр. - 1 чел., оператор 5 разр. - 1 чел., бетонщики 3 разр. - 1 чел., 2 разр. - 2 чел.
Норма времени на измеритель составит:
для машиниста - 0,06 чел.-ч;
для оператора - 0,06 чел.-ч;
для остального звена - 0,06 ´ 3 = 0,18 чел.-ч.
Б. Норма времени на очистку бетоновода.
Согласно ЕНиР §Е4-1-48, табл. 6 (К = 0,3 на очистку 100 м бетоновода сжатым воздухом) норма времени составляет 1,89 чел.-ч. Для принятой длины бетоновода (20 м) норма времени составит:
1,89 ´ 0,2 = 0,378 чел.-ч.
Очистка бетоновода проводится один раз в смену. За это время будет уложено:
17 ´ 8,2 = 139,4 м3 бетонной смеси.
Приведенная норма времени на очистку бетоновода на измеритель (1 м3) составит:
0,378 : 139,4 = 0,0027 чел.-ч.
В. Общая норма времени на прием, подачу, укладку бетонной смеси и очистку бетоновода составит:
для рабочих - 0,18 чел.-ч;
для машиниста и оператора - (0,06 + 0,0027) ´ 2 = 0,125 чел.-ч.
Расценка составит:
для рабочих - (18/3)·(0-70 + 0-64 + 0-64) = 0-11,9 руб.
для машиниста и оператора - 0-91 ´ 0,125 = 0-11,4 руб.
СОДЕРЖАНИЕ
|
_________________________________________________________ |