МЕЖГОСУДАРСТВЕННЫЙ СТАНДАРТ
|
СТОЙКИ УСТАНОВОЧНЫЕ КРЕПЕЖНЫЕ КРУГЛЫЕ С ЛЫСКАМИ С РЕЗЬБОВЫМИ КОНЦОМ И ОТВЕРСТИЕМ Конструкция и размеры |
ГОСТ 20863-81 |
|
Adjusting fixturing rings supports with a flat, threaded end and hole. Design and dimensions |
Взамен |
Постановлением Государственного комитета СССР
по стандартам от 15 апреля
01.07.82
Ограничение срока действия снято Постановлением Госстандарта от 10.09.92 № 1166
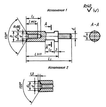
1. Настоящий стандарт распространяется на круглые крепежные установочные стойки с лысками и резьбовыми концом и отверстием, предназначенные для монтажа радиоэлектронной аппаратуры, и устанавливает их конструкцию и размеры.
2. Конструкция и размеры крепежных установочных стоек должны соответствовать указанным на чертеже и в табл. 1 - 3.

Таблица 1
мм
|
Номинальный диаметр резьбы d |
2 |
2,5 |
3 |
4 |
5 |
6 |
8 |
|
|
Шаг резьбы Р |
0,40 |
0,45 |
0,50 |
0,70 |
0,80 |
1,00 |
1,25 |
|
|
Размер под ключ S |
Номинальный |
4,0 |
5,0 |
5,5 |
7,0 |
8,0 |
10,0 |
13,0 |
|
Пред. откл. |
-0,16 |
-0,20 |
-0,24 |
|||||
|
D |
5 |
6 |
7 |
8 |
9 |
11 |
15 |
|
|
d1 |
2,2 |
2,7 |
3,2 |
4,3 |
5,3 |
6,4 |
8,4 |
|
|
l |
4 |
5 |
6 |
7 |
8 |
9 |
12 |
|
|
l1 |
5 |
6 |
9 |
10 |
12 |
13 |
16 |
|
|
l2 |
5 |
6 |
8 |
10 |
12 |
|||
Таблица 2
мм
|
L |
Длина L1 и применяемость при номинальном диаметре резьбы d |
|||||||||||||
|
2 |
2,5 |
3 |
4 |
5 |
6 |
8 |
||||||||
|
7 |
11 14 |
- |
|
|
|
|
|
|
|
|
|
|
|
|
|
8 |
12 15 |
- |
13 16 |
- |
|
|
|
|
|
|
|
|
|
|
|
9 |
13 16 |
- |
14 17 |
- |
|
|
|
|
|
|
|
|
|
|
|
10 |
14 17 |
- |
15 18 |
- |
|
|
|
|
|
|
|
|
|
|
|
11 |
15 18 |
- |
16 19 |
- |
|
|
|
|
|
|
|
|
|
|
|
12 |
16 19 |
- |
17 20 |
- |
|
|
|
|
|
|
|
|
|
|
|
13 |
17 20 |
- |
18 21 |
- |
|
|
|
|
|
|
|
|
|
|
|
14 |
18 21 |
- |
19 22 |
- |
|
|
|
|
|
|
|
|
|
|
|
15 |
19 22 |
- |
20 23 |
- |
20 24 |
- |
|
|
|
|
|
|
|
|
|
16 |
20 23 |
- |
21 24 |
- |
21 25 |
- |
|
|
|
|
|
|
|
|
|
17 |
21 24 |
- |
22 25 |
- |
22 26 |
- |
|
|
|
|
|
|
|
|
|
18 |
22 25 |
- |
23 26 |
- |
23 27 |
- |
24 30 |
- |
|
|
|
|
|
|
|
19 |
23 26 |
- |
24 27 |
- |
24 28 |
- |
25 31 |
- |
|
|
|
|
|
|
|
20 |
24 27 |
- |
25 28 |
- |
25 29 |
- |
26 32 |
- |
|
|
|
|
|
|
|
22 |
26 29 |
- |
27 30 |
- |
27 31 |
- |
28 34 |
- |
|
|
|
|
|
|
|
24 |
28 31 |
- |
29 32 |
- |
29 33 |
- |
30 36 |
- |
|
|
|
|
|
|
|
26 |
30 33 |
- |
31 34 |
- |
31 35 |
- |
32 38 |
- |
|
|
|
|
|
|
|
28 |
32 35 |
- |
33 36 |
- |
33 37 |
- |
34 40 |
- |
|
|
|
|
|
|
|
30 |
34 37 |
- |
35 38 |
- |
35 39 |
- |
36 42 |
- |
38 44 |
- |
|
|
|
|
|
32 |
|
|
37 40 |
- |
37 41 |
- |
38 42 |
- |
40 46 |
- |
|
|
|
|
|
34 |
|
|
39 42 |
- |
39 43 |
- |
40 46 |
- |
42 49 |
- |
|
|
|
|
|
36 |
|
|
41 44 |
- |
41 45 |
- |
42 48 |
- |
44 50 |
- |
|
|
|
|
|
38 |
|
|
43 46 |
- |
43 47 |
- |
44 49 |
- |
46 52 |
- |
|
|
|
|
|
40 |
|
|
45 48 |
- |
45 49 |
- |
46 52 |
- |
48 54 |
- |
49 57 |
- |
|
|
|
42 |
|
|
|
|
47 51 |
- |
48 54 |
- |
50 57 |
- |
51 60 |
- |
|
|
|
45 |
|
|
|
|
50 54 |
- |
51 56 |
- |
53 59 |
- |
54 62 |
- |
|
|
|
48 |
|
|
|
|
53 57 |
- |
54 60 |
- |
56 63 |
- |
57 66 |
- |
|
|
|
50 |
|
|
|
|
55 59 |
- |
56 62 |
- |
58 64 |
- |
59 67 |
- |
|
|
|
53 |
|
|
|
|
58 62 |
- |
59 65 |
- |
61 68 |
- |
62 71 |
- |
|
|
|
55 |
|
|
|
|
60 64 |
- |
61 66 |
- |
63 69 |
- |
64 72 |
- |
|
|
|
58 |
|
|
|
|
63 67 |
- |
64 70 |
- |
66 73 |
- |
67 76 |
- |
|
|
|
60 |
|
|
|
|
65 69 |
- |
66 71 |
- |
67 74 |
- |
68 77 |
- |
|
|
|
65 |
|
|
|
|
|
|
71 76 |
- |
73 79 |
- |
74 83 |
- |
|
|
|
70 |
|
|
|
|
|
|
76 81 |
- |
78 84 |
- |
79 87 |
- |
82 93 |
- |
|
75 |
|
|
|
|
|
|
82 86 |
- |
83 89 |
- |
84 92 |
- |
87 98 |
- |
|
80 |
|
|
|
|
|
|
86 91 |
- |
88 94 |
- |
89 97 |
- |
92 103 |
- |
|
85 |
|
|
|
|
|
|
92 96 |
- |
93 99 |
- |
94 102 |
- |
97 108 |
- |
|
90 |
|
|
|
|
|
|
97 101 |
- |
98 104 |
- |
99 107 |
- |
102 113 |
- |
|
95 |
|
|
|
|
|
|
102 106 |
- |
103 109 |
- |
104 112 |
- |
107 118 |
- |
|
100 |
|
|
|
|
|
|
107 111 |
- |
108 114 |
- |
109 117 |
- |
112 123 |
- |
|
110 |
|
|
|
|
|
|
116 121 |
- |
118 124 |
- |
119 127 |
- |
122 133 |
- |
|
120 |
|
|
|
|
|
|
|
|
128 134 |
- |
129 137 |
- |
132 143 |
- |
|
130 |
|
|
|
|
|
|
|
|
138 144 |
- |
139 147 |
- |
142 153 |
- |
|
140 |
|
|
|
|
|
|
|
|
|
|
149 157 |
- |
152 163 |
- |
|
150 |
|
|
|
|
|
|
|
|
|
|
|
|
162 173 |
- |
Примечание. Знак ограничения применяемости по типоразмерам проставляют в графе рядом со значением L1.
Таблица 3
|
L, мм |
Масса 1000 шт., кг, стальных стоек при номинальном диаметре резьбы d, мм |
||||||
|
2 |
2,5 |
3 |
4 |
5 |
6 |
8 |
|
|
7 |
0,524 0,619 |
|
|
|
|
|
|
|
8 |
0,599 0,708 |
0,866 1,018 |
|
|
|
|
|
|
9 |
0,674 0,796 |
0,974 1,145 |
|
|
|
|
|
|
10 |
0,749 0,885 |
1,083 1,273 |
|
|
|
|
|
|
11 |
0,840 0,976 |
1,210 1,400 |
|
|
|
|
|
|
12 |
0,928 1,064 |
1,340 1,530 |
|
|
|
|
|
|
13 |
1,017 1,153 |
1,470 1,660 |
|
|
|
|
|
|
14 |
1,106 1,242 |
1,595 1,785 |
|
|
|
|
|
|
15 |
1,194 1,330 |
1,725 1,915 |
2,304 2,595 |
|
|
|
|
|
16 |
1,284 1,420 |
1,830 2,020 |
2,499 2,770 |
|
|
|
|
|
17 |
1,373 1,509 |
1,972 2,162 |
2,652 2,943 |
|
|
|
|
|
18 |
1,463 1,599 |
2,106 2,296 |
2,829 3,120 |
3,480 4,080 |
|
|
|
|
19 |
1,551 1,687 |
2,231 2,421 |
3,000 3,290 |
3,710 4,300 |
|
|
|
|
20 |
1,639 1,775 |
2,356 2,546 |
3,170 3,461 |
3,940 4,530 |
|
|
|
|
22 |
1,679 1,951 |
2,430 2,810 |
3,422 3,810 |
4,365 4,975 |
|
|
|
|
24 |
1,754 2,026 |
2,680 3,060 |
3,767 4,155 |
4,840 5,430 |
|
|
|
|
26 |
1,930 2,320 |
2,940 3,320 |
4,112 4,500 |
5,280 5,870 |
|
|
|
|
28 |
2,210 2.482 |
3,195 3.575 |
4,465 4,850 |
5,745 6,335 |
|
|
|
|
30 |
2,388 2,660 |
3,435 3,815 |
4,812 5,200 |
6,196 6,785 |
7,510 8,580 |
|
|
|
32 |
|
3,705 4,085 |
5,162 5,550 |
6,660 7,250 |
8,080 9,150 |
|
|
|
34 |
|
3,965 4,345 |
5,507 5,895 |
7,110 7,700 |
8,650 9,720 |
|
|
|
36 |
|
4,215 4,595 |
5,780 6,285 |
7,560 8,150 |
9,220 10,290 |
|
|
|
38 |
|
4,465 4,845 |
6,180 6,585 |
8,010 8,600 |
9,800 10,870 |
|
|
|
40 |
|
4,964 5,100 |
6,716 6,930 |
8,460 9,050 |
10,350 11,420 |
15,000 17,160 |
|
|
42 |
|
|
7,061 7,275 |
8,910 9,500 |
10,900 11,970 |
15,800 17,960 |
|
|
45 |
|
|
7,576 7,800 |
9,600 10,190 |
11,790 12,860 |
17,000 19,350 |
|
|
48 |
|
|
8,087 8,311 |
10,270 10,860 |
12,680 13,750 |
18,200 20,650 |
|
|
50 |
|
|
8,432 8,656 |
10,720 11,310 |
13,230 14,300 |
19,000 21,450 |
|
|
53 |
|
|
8,961 9,185 |
11,310 12,000 |
14,090 15,160 |
20,200 22,810 |
|
|
55 |
|
|
9,306 9,530 |
11,860 12,450 |
14,640 15,710 |
21,000 23,610 |
|
|
58 |
|
|
9,831 10,055 |
12,560 13,150 |
15,530 16,600 |
22,200 24,990 |
|
|
60 |
|
|
10,176 10,400 |
13,010 13,600 |
16,080 17,150 |
23,000 25,790 |
|
|
65 |
|
|
|
14,110 14,700 |
17,500 18,570 |
25,000 27,980 |
|
|
70 |
|
|
|
15,250 15,840 |
18,930 20,000 |
28,000 30,100 |
51,050 55,570 |
|
75 |
|
|
|
16,510 17,000 |
20,340 21,410 |
30,000 32,200 |
55,000 59,700 |
|
80 |
|
|
- |
17,530 18,120 |
21,760 22,830 |
32,000 34,400 |
58,900 63,600 |
|
85 |
|
|
|
18,660 19,250 |
23,160 24,230 |
34,000 36,500 |
62,850 67,550 |
|
90 |
|
|
|
19,600 20,190 |
24,630 25,700 |
36,000 38,650 |
64,900 71,600 |
|
95 |
|
, |
|
20,910 21,500 |
26,080 27,150 |
38,000 40,800 |
70,900 75,600 |
|
100 |
|
|
|
22,030 22,620 |
27,530 28,600 |
41,000 43,600 |
74,990 79,600 |
|
110 |
|
|
|
24,410 24,900 |
30,380 31,450 |
45,000 47,300 |
82,800 87,500 |
|
120 |
|
|
|
|
33,280 34,350 |
49,000 51,600 |
90,800 95,500 |
|
130 |
|
|
|
|
36,130 37,200 |
53,000 55,900 |
98,560 103,360 |
|
140 |
|
|
|
|
|
58,000 60,150 |
105,370 110,130 |
|
150 |
|
|
|
|
|
|
114,500 119,200 |
Примечания:
1. В числителе приведено значение массы коротких стоек, в знаменателе - длинных.
2. Для определения массы стоек из латуни значения масс, указанные в таблице, следует умножить на коэффициент 1,08.
Пример условного обозначения стойки исполнения 1
повышенной степени точности с диаметром резьбы d =
Стойка М4×30×36-58.016 ГОСТ 20863-81
То же, нормальной степени точности:
Стойка НМ4×30×36-58.016 ГОСТ 20863-81
То же, исполнения 2 нормальной степени точности:
Стойка 2Н М4×30×36-58.016 ГОСТ 20863-81
То же, повышенной степени точности:
Стойка 2М4×30×36-58.016 ГОСТ 20863-81
Примечание. Исполнение 1 и повышенную степень точности в обозначении не указывают.
3. Марка материала и вид покрытия стоек должны соответствовать указанным в табл. 4.
Таблица 4
|
Марка материала |
Применяемость |
Класс прочности или условное обозначение группы по ГОСТ 1759.0-87, ГОСТ 1759.1-82, ГОСТ 1759.2-82, ГОСТ 1759.3-83, ГОСТ 1759.4-87, ГОСТ 1759.5-87 |
Покрытие |
Обозначение материала и покрытия |
|||
|
Вид |
Шаг резьбы Р, мм |
Обозначение |
|||||
|
условное |
|||||||
|
Сталь 35 |
|
5.6 |
Цинковое с хроматированием |
До 0,45 |
Ц3-6.хр |
01 |
56.013 |
|
0,5-0,75 |
Ц6-9.хр |
56.016 |
|||||
|
0,8 и более |
Ц9.хр |
56.019 |
|||||
|
Кадмиевое с хроматированием |
До 0,45 |
Кд3-6.хр |
02 |
56.023 |
|||
|
0,5-0,75 |
Кд6-9.хр |
56.026 |
|||||
|
0,8 и более |
Кд9.хр |
56.029 |
|||||
|
Кадмиевое с оксидированием и фосфатированием |
До 0,45 |
Кд3-6. Хим. Окс. фос |
02.05 |
56.023.05 |
|||
|
0,5-0,75 |
Кд6-9. Хим. Окс. фос |
56.026.05 |
|||||
|
0,8 и более |
Кд9. Хим. Окс. фос |
56.029.05 |
|||||
|
Сталь А12 ГОСТ 1414-75 Сталь 10, 20 |
|
5.8 |
Цинковое с хроматированием |
До 0,45 |
Ц3-6.хр |
01 |
58.013 |
|
0,5-0,75 |
Ц6-9.хр |
58.016 |
|||||
|
0,8 и более |
Ц9.хр |
58.019 |
|||||
|
Кадмиевое с хроматированием |
До 0,45 |
Кд3-6.хр |
02 |
58.023 |
|||
|
0,5-0,75 |
Кд6-9.хр |
58.026 |
|||||
|
0,8 и более |
Кд9.хр |
58.029 |
|||||
|
Кадмиевое с оксидированием и фосфатированием |
До 0,45 |
Кд3-6. Хим. Окс. фос |
02.05 |
58.023.05 |
|||
|
0,5-0,75 |
Кд6-9. Хим. Окс. фос |
58.026.05 |
|||||
|
0,8 и более |
Кд9. Хим. Окс. фос |
58.028.05 |
|||||
|
Сталь 12Х18Н9Т Сталь 14Х17Н2 ГОСТ 5632-72 |
21 |
Пассивное |
0,4 и более |
Хим. Пас. |
11 |
21.11 |
|
|
Латунь ЛС59-1, Л63 ГОСТ 15527-2004 |
32 |
Пассивное |
0,4 и более |
Хим. Пас. |
11 |
32.11 |
|
(Измененная редакция, Изм. № 1).
4. Технические требования по ГОСТ 20868-81.
|
_________________________________________________________ |