ГОСУДАРСТВЕННЫЙ СТАНДАРТ СОЮЗА ССР
ОКНА И БАЛКОННЫЕ ДВЕРИ ДЕРЕВЯННЫЕ С ДВОЙНЫМ
ОСТЕКЛЕНИЕМ ДЛЯ ЖИЛЫХ И ОБЩЕСТВЕННЫХ ЗДАНИЙ
Типы, конструкция и размеры
ГОСТ 11214-86
Государственный строительный комитет СССР
Москва - 1986
ИНФОРМАЦИОННЫЕ ДАННЫЕ
РАЗРАБОТАН Государственным комитетом по гражданскому строительству и архитектуре при Госстрое СССР
ИСПОЛНИТЕЛИ
И. В. Строков (руководитель темы); Б. А. Филозофович; И. С. Посельская; Г.Г. Коваленко; Н. Н. Цаплев, канд. техн. наук; А. В. Ткаченко; Г. В. Левушкин; Н.В. Шведов
ВНЕСЕН Государственным комитетом по гражданскому строительству и архитектуре при Госстрое СССР
Зам. Председателя М.П. Коханенко
УТВЕРЖДЕН И ВВЕДЕН В ДЕЙСТВИЕ постановлением Государственного комитета СССР по делам строительства от 14.11.85 № 191
ГОСУДАРСТВЕННЫЙ СТАНДАРТ СОЮЗА ССР
|
ОКНА И БАЛКОННЫЕ ДВЕРИ ДЕРЕВЯННЫЕ С ДВОЙНЫМ Типы, конструкция и размерыWooden
windows and balcony doors of double |
ГОСТ Взамен |
Постановлением Государственного комитета СССР по делам строительства от 14 ноября 1985 г. № 191 срок введения установлен
с 01.01.87
Настоящий стандарт распространяется на деревянные окна и балконные двери с двойным остеклением, предназначаемые для жилых и общественных зданий, а также для вспомогательных зданий и помещений предприятий различных отраслей народного хозяйства.
1.1. Окна и балконные двери, изготовляемые по настоящему стандарту, подразделяют на типы:
С - со спаренными створками и дверными полотнами;
Р - с раздельными створками и дверными полотнами.
1.2. Габаритные размеры окон, балконных дверей и размеры проемов для них должны соответствовать:
для жилых зданий - указанным на черт. 1 и в приложении 1;
для общественных зданий - указанным на черт. 2 и в приложении 2.
Окна и балконные двери, приведенные на черт. 1, допускается применять и для общественных зданий.
1.3. Окна размерами 9-13,5; 12-13,5; 15-13,5; 18-13,5 и 21-13,5 модулей (модуль М-100 мм) для заполнения проемов в стенах из немодульного кирпича лицевой кладки по требованию потребителя допускается изготовлять шириной на 80 мм больше указанных, за счет увеличения широких створок, а окно размерами 15-6 модулей - шириной на 70 мм меньше указанного, при этом маркировку изменяют соответственно на 9-14; 12-14; 15-14; 18-14; 21-14 и 15-5.
1.4. Для жилых зданий, возводимых в IV климатическом районе, допускается применять окна с узкой створкой (без форточки).
1.5. По требованию потребителей одностворные окна и балконные двери, в т.ч. с форточными створками и фрамугами, должны изготовляться также и левыми, а окна многостворные с несимметричным рисунком - в негативном изображении.
1.6. Устанавливают следующую структуру условного обозначения (марки) окон и балконных дверей:

В конце марки окон и балконных дверей с одинарным остеклением, перед обозначением стандарта, добавляют цифру 1 через тире.
Пример условного обозначения окно типа С для проема высотой 15 и шириной 9 дм, с правой навеской створок:
ОС 15-9 ГОСТ 11214-86
То же, с левой навеской створок:
ОС 15-9Л ГОСТ 11214-86
Дверь балконная правая типа С для проема высотой 22 и шириной 9 дм:
БС 22-9 ГОСТ 11214-86
То же, окно типа Р для проема высотой 18 и шириной 18 дм, с несимметричным рисунком окна (вариант В):
ОР 18-18В ГОСТ 11214-86
То же, в негативном изображении:
ОР 18-18ВН ГОСТ 11214-86
То же, окна типа С для проема высотой 15 и шириной 13,5 дм, с форточной створкой:
ОС 15-13,5 ГОСТ 11214-86
То же, правой балконной двери типа С для проема высотой 22 и шириной 7,5 дм с правой навеской полотна:
БС 22-7,5 ГОСТ 11214-86
То же, левой балконной двери:
БС 22-7,5Л ГОСТ 11214-86
2.1. Окна и балконные двери должны изготовляться в соответствии с требованиями ГОСТ 23166-78, требованиями настоящего стандарта и по рабочим чертежам, утвержденным в установленном порядке.
2.2. Конструкция, форма, основные размеры и марки окон и балконных дверей типа С для жилых зданий должны соответствовать указанным на черт. 3-5, для общественных зданий - на черт. 6-11, а размеры сечений деталей и притворов - на черт. 12-23.
2.3. Конструкция, форма, основные размеры и марки окон и балконных дверей типа Р для жилых зданий должны соответствовать указанным на черт. 24-27, для общественных зданий - на черт. 37-43, а размеры сечений деталей и притворов для жилых зданий - на черт. 28-36, общественных зданий - на черт. 44-53.
2.4. Размеры на общих видах окон и балконных дверей даны в свету по наружным сторонам створок, фрамуг, форточек, полотен дверей и по наружным сторонам коробок.
На чертежах, приведенных в настоящем стандарте, указаны в миллиметрах размеры неокрашенных деталей и изделий.
2.5. Для отвода дождевой воды в нижних брусках коробок и в горизонтальных импостах окон и балконных дверей типа С делают прорези шириной 12 мм, а в окнах и балконных дверях типа Р сверлят отверстия диаметром 10 мм, располагаемые под широкими створками, полотнами балконных дверей и фрамугами на расстоянии 50 мм от вертикальных брусков коробок и импостов, а под форточными и узкими створками - одну прорезь или одно отверстие на середине.
2.6. Наружные створки окон и полотна балконных дверей типа Р должны быть навешены на врезные петли с вынимающимися стержнями по ГОСТ 5088. Внутренние створки окон типа С высотой более 1400 мм и шириной более 600 мм, а также высотой более 1000 мм и шириной более 900 мм должны быть навешены на 3 петли.
2.7. Для остекления окон и балконных дверей жилых зданий следует применять стекло толщиной 2,5-3 мм по ГОСТ 111-78, а для общественных зданий толщиной 3-4 мм.
Толщину стекла уточняют в проекте и при заказе изделий с учетом ветровых нагрузок и шумовых воздействий в районе строительства.
2.8. Места расположения уплотняющих пенополиуретановых прокладок по ГОСТ 10174-72 в притворах окон и балконных дверей указаны на чертежах сечений.
2.9. По требованию потребителей по периметру оконных и дверных коробок на торцевых и боковых поверхностях допускается устройство продольных пазов различного профиля, заполняемых вкладышами и обрамляемых наличниками при соединении блоков друг с другом.
2.10. В жилых и общественных зданиях для климатических районов, где по теплотехническим расчетам не требуются окна и балконные двери с двойным остеклением, а также в неотапливаемых зданиях и помещениях должны применяться только наружные элементы окон и балконных дверей типа Р, при этом толщина бруска коробки должна быть не менее 54 мм, а размеры сечений устанавливают в рабочих чертежах.
2.11. Для обеспечения возможности оснащения окон и балконных дверей общественных зданий фрамужными приборами рычажного типа допускается увеличивать толщину верхних и вертикальных брусков коробок и импостов на 20 мм без изменения габаритов изделий.
2.12. По согласованию изготовителя с потребителем допускается изготовление балконных дверей высотой 28 модулей с фрамугами в отдельных коробках. В этом случае высоту глухой части полотен или остекленной части фрамуг уменьшают на 50 мм.
2.13. По согласованию изготовителя с потребителем допускается изготовление окон типа С высотой 6 и 9 модулей, предназначенных для лестничных клеток, без импоста с навеской створки на нижней горизонтальной оси с обязательной установкой ограничителей открывания.
2.14. По согласованию изготовителя с потребителем допускается заполнение глухой части внутренних полотен балконных дверей типов С и Р цементностружечными плитами по ГОСТ 26816-86 отдельно или с древесноволокнистыми плитами, а в наружных полотнах замена деревянной обшивки цементностружечными плитами толщиной 12 мм. Допускаются др. варианты заполнения глухой части наружных полотен, не снижающие эксплуатационные характеристики изделий, при этом заполнение (филенка) должно быть заглублено в четвертях брусков и закреплено раскладкой (штапиком).
2.15. Расположение приборов в окнах и балконных дверях (примеры) приведено в рекомендуемом приложении 3; спецификация стекол для окон и балконных дверей жилых зданий приведена в справочном приложении 4, спецификация стекол для окон и балконных дверей общественных зданий приведена в справочном приложении 5.
Габаритные размеры окон и балконных дверей типов С и Р жилых зданий

Черт. 1
Габаритные размеры окон и балконных дверей типов С и Р общественных зданий

Черт. 2
Примечания к черт. 1 и 2:
1. Схемы изделий изображены со стороны фасада.
2. Цифры над схемами изделий означают размеры проемов в модулях.
3. Окна жилых зданий высотой 18 модулей и балконные двери высотой 24 модуля - ограниченного применения для климатических подрайонов 1А, 1Б и 1Г.
Тип С
Конструкция, форма, основные размеры и марки окон и балконных дверей жилых зданий

Черт. 3

Черт. 4

Черт. 5
Конструкция, форма, основные размеры и марки окон и балконных дверей общественных зданий

Черт. 6

Черт. 7

Черт. 8

Черт. 9

Черт. 10

Черт. 11
Сечения по притворам окон и балконных дверей жилых и общественных зданий

1 - уплотняющие прокладки; 2 - петля (для бокового сечения)
Черт. 12
|
Сечение |
а |
б |
в |
Деталь |
|
|
А1 |
55 |
42 |
85 |
1 |
3 |
|
Б1 |
65 |
52 |
95 |
2 |
4 |
Примечания:
1. Пазы в местах монтажа петель для спаривания створок условно не показаны.
2. Размеры штапика допускается уменьшать до 14´9 мм.
3. Профиль створок в межстекольном пространстве допускается изготовлять без уклона (скоса).

1 - уплотняющие прокладки; 2 - прорезь для отвода воды шириной 12 мм
Черт. 13
|
Сечение |
а |
б |
в |
Деталь |
|
|
А2 |
55 |
45 |
90 |
5 |
7 |
|
Б2 |
65 |
55 |
100 |
6 |
8 |
Примечания:
1.К1 – профили сечения коробок; 1 (в круге) – профили сечения створок.
2. Ширину верхнего выступа нижнего бруска коробки допускается уменьшать на 2 мм.
3. Толщину нижнего бруска коробки допускается увеличивать на 3 мм с соответствующим увеличением высоты коробки.

Черт. 14
|
Сечение |
а |
б |
в |
Деталь |
|||
|
А3 |
55 |
45 |
93 |
5 |
7 |
9 |
11 |
|
Б3 |
65 |
55 |
113 |
6 |
8 |
10 |
12 |

|
Сечение |
а |
б |
Деталь |
|
|
А4 |
55 |
130 |
1 |
3 |
|
Б4 |
65 |
150 |
2 |
4 |
Черт. 15
Примечание: Допускается поднутрение профиля импоста в притворе глубиной до 2 мм.

Черт. 16

Черт. 17
Примечание: Петля для навески широкой створки трехстворных окон.

Черт. 18

Черт. 19
1 - мягкая древесноволокнистая плита толщиной 12 мм ГОСТ 4598-74; 2 - твердая древесноволокнистая плита марки Т группы А толщиной 3,2 -4 мм по ГОСТ 4598-74; 3 - шлифованная древесноволокнистая плита толщиной 16 мм по ГОСТ 10632-77; 4 - пергамин по ГОСТ 2697-83; 5 - обшивка типа О-2 по ГОСТ 8242-75; 6 - раскладка; 7 - уплотняющая прокладка

Черт. 20

1 - нащельник
Черт. 21

Черт. 22

Черт. 23
Тип Р
Конструкция, форма, основные размеры и марки окон и балконных дверей жилых
зданий

Черт. 24
Примечание: Высоту внутренних подфорточных створок допускается увеличивать на 5 мм за счет соответствующего уменьшения высоты форточных створок.

Черт. 25

Черт. 26

Черт. 27
Сечения по притворам окон и балконных дверей жилых зданий

1 - уплотняющая прокладка
Черт. 28
|
Сечение |
а |
б |
в |
Деталь |
|
А1 |
55 |
85 |
115 |
1 |
|
Б1 |
65 |
95 |
125 |
2 |
Примечания:
1. Допускается размеры штапика уменьшать до 14´9 мм.
2. Толщину брусков внутренней коробки (кроме нижних) допускается уменьшать на 5 мм с соответствующим изменением габаритов коробки.
3. Ширину канавки в брусках наружной коробки допускается уменьшать до 8 мм.

1 - отверстие диаметром 10 мм для отвода воды
Черт. 29
|
Сечение |
а |
б |
в |
Детали |
|
|
А2 |
55 |
90 |
110 |
3 |
5 |
|
Б2 |
65 |
100 |
120 |
4 |
6 |

Черт. 30
|
Сечение |
а |
б |
в |
Деталь |
|
|
А3 |
55 |
8 |
125 |
1 |
К5 |
|
Б3 |
65 |
95 |
135 |
2 |
К5 |

1 - прорезь для отвода воды шириной 12 мм
Черт. 31
|
Сечение |
а |
б |
Деталь |
|||
|
А4 |
55 |
103 |
3 |
5 |
7 |
9 |
|
Б4 |
65 |
123 |
4 |
6 |
8 |
10 |

Черт. 32
|
Сечение |
а |
б |
в |
Деталь |
|
А5 |
55 |
130 |
190 |
1 |
|
Б5 |
65 |
150 |
210 |
2 |

Черт. 33

1 - мягкая древесноволокнистая плита толщиной 12 мм по ГОСТ 4598-86; 2 - твердая древесноволокнистая плита марки Т группы А толщиной 3,2-4 мм по ГОСТ 4598-86; 3 - шлифованная древесностружечная плита толщиной 16 мм по ГОСТ 10632-89; 4 - пергамин по ГОСТ 2697-83; 5 - обшивка типа О-2 по ГОСТ 8242-88; 6 - раскладка
Черт. 34

Черт. 35

Черт. 36
Конструкция, форма, основные размеры и марки окон и балконных дверей общественных зданий

Черт. 37

Черт. 38
Черт. 39

Черт. 40

Черт. 41

Черт. 42

Черт. 43
Сечения по притворам окон и балконных дверей общественных зданий

Примечание. Допускается размеры штапика уменьшать на 1 мм.
1 - уплотняющая прокладка
Черт. 44

1 - отверстие диаметром 10 мм для отвода воды
Черт. 45

Черт. 46

Черт. 47
|
Сечение |
а |
б |
в |
г |
Детали |
|
В4 |
30 |
10 |
124 |
210 |
К15 |
|
В5 |
40 |
20 |
134 |
220 |
К16 |
Примечание. Петля для сечения В5.

Черт. 48

Черт. 49
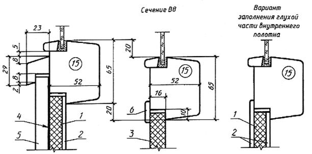
Примечание. Заполнение полотен и вариант заполнения глухой части внутреннего полотна см. черт. 50.

1 - мягкая древесноволокнистая плита толщиной 12 мм по ГОСТ 4598-86; 2 - твердая древесноволокнистая плита марки Т группы «А» толщиной 3,2-4 мм по ГОСТ 4598-86; 3 - шлифованная древесностружечная плита толщиной 16 мм по ГОСТ 10632-89; 4 - пергамин по ГОСТ 269783; 5 - обшивка типа О-2 по ГОСТ 8242; 6 - раскладка
Черт. 50

Черт. 51

1 - нащельник
Черт. 52

Черт. 52

Примечание. Размеры ширины проемов указаны для стен из панелей и модульного кирпича.

Примечание. Размеры ширины проемов указаны для стен из панелей и модульного кирпича.


1 - петля ПВ1-100 для внутренних створок и полотен типов С и Р; 2 - петля ПВ2-100-1 для наружных створок и полотен типа Р; 3 - петля ПВ3-1 для типа С; 4 - стяжка СТ для типа С; 5 - упор УО для типа Р; 6 - завертка ЗР2-1
Черт. 1

1 - петля ПВ1-100 для внутренних створок и полотен типов С и Р; 2 - петля ПВ2-100-1 для наружных створок и полотен типа Р; 3 - петля ПВ3-1 для типа С; 4 - петля ПВ2-100-2 для фрамуг; 5 - прибор фрамужный ПФ2; 6 - фиксатор ФК1 для типа С или ФК3 для типа Р; 7 завертка ЗР2-1; 8 - стяжка СТ для типа С; 9 - упор УО для типа Р; 10 - ручка РС80.
Черт. 2
Примечания к черт. 1 и 2
1. Приборы для окон и балконных дверей должны соответствовать ГОСТ 538-78, ГОСТ 5087-80, ГОСТ 5088, ГОСТ 5090-79 и ГОСТ 5091-78.
2. Наружные створки должны навешиваться на петли типов ПВ2 с вынимающимися стержнями.
3. Завертки показаны в открытом положении.
4. Ручки РС80 устанавливают на наружных створках с внешней стороны здания на высоте 1000 мм от порога.
5. Фрамужный прибор показан условно.
6. Угольники устанавливают в соответствии с п.2.13 ГОСТ 23166-78.
7. Стяжки СТ располагают на створках со стороны помещения.
8. Фиксаторы устанавливают на узкие створки окон жилых и общественных зданий.
9. В случае применения заверток со съемными ручками типа Р2 число ручек на изделие устанавливают по согласованию изготовителя с потребителем, но не менее одной.
Тип С
|
Марка |
Размеры, мм |
Количество |
|
|
|
Высота |
Ширина |
|
|
ОС 6-9 |
400 |
715 |
2 |
|
ОС 6-12 |
400 |
585 315 |
2 2 |
|
ОС 9-9 |
700 |
715 |
2 |
|
ОС 9-12 |
700 |
585 315 |
2 2 |
|
ОС 12-9 |
460 |
715 |
4 |
|
ОС 12-12 |
1000 460 |
585 315 |
2 4 |
|
ОС 15-6 |
760 460 |
415 |
2 2 |
|
ОС 15-9 |
760 460 |
715 |
2 2 |
|
ОС 15-12 |
1300 760 460 |
585 315 |
2 2 2 |
|
ОС 15-9А |
1300 |
715 |
2 |
|
ОС 9-13,5 |
700 |
735 315 |
2 2 |
|
ОС 9-15 |
700 |
885 315 |
2 2 |
|
ОС 12-13,5 |
1000 460 |
735 315 |
2 4 |
|
БС 22-7,5 |
1300 |
545 |
2 |
|
БС 24-7,5 |
1580 |
545 |
2 |
|
ОС 12-15 |
1000 460 |
885 315 |
2 4 |
|
ОС 15-13,5 |
1300 760 460 |
735 315 |
2 2 2 |
|
ОС 15-15 |
1300 760 460 |
885 315 |
2 2 2 |
|
ОС 15-18 |
1300 760 460 |
315 755 315 |
2 2 2 2 |
|
ОС 15-21 |
1300 760 460 |
685 315 |
4 2 2 |
|
ОС 18-9 |
1020 460 |
695 |
2 2 |
|
ОС 18-13,5 |
1580 1020 460 |
695 315 |
2 2 2 |
|
ОС 18-15 |
1580 1020 460 |
845 3115 |
2 2 2 |
|
ОС 18-9А |
1580 |
695 |
2 |
|
БС 22-9 |
1300 |
695 |
2 |
|
БС 24-9 |
1580 |
695 |
2 |
Тип Р
|
|
Размеры, мм |
|||||
|
Марка |
внутренние |
наружные |
||||
|
|
Высота |
Ширина |
Количество |
Высота |
Ширина |
Количество |
|
ОР 6-9 |
400 |
715 |
1 |
350 |
635 |
1 |
|
ОР 6-12 |
400 |
315 585 |
1 1 |
350 |
245 515 |
1 1 |
|
ОР 9-9 |
700 |
715 |
1 |
650 |
635 |
1 |
|
ОР 9-12 |
700 |
315 585 |
1 1 |
650 |
245 515 |
1 1 |
|
ОР 12-9 |
450 460 |
715 |
1 1 |
445 415 |
635 |
1 1 |
|
ОР 12-12 |
1000 450 460 |
585 315 |
1 1 1 |
950 445 415 |
515 245 |
1 1 1 |
|
ОР 15-6 |
750 460 |
415 |
1 1 |
745 415 |
335 |
1 1 |
|
ОР 15-9 |
750 460 |
715 |
1 1 |
745 415 |
635. |
1 1 |
|
ОР 15-12 |
1300 750 460 |
585 315 |
1 1 1 |
1250 745 415 |
515 245 |
1 1 1 |
|
ОР 9-13,5 |
700 |
315 735 |
1 1 |
650 |
245 665 |
1 1 |
|
ОР 9-15 |
700 |
315 885 |
1 1 |
650 |
245 815 |
1 1 |
|
ОР 12-13,5 |
1000 450 460 |
735 315 |
1 1 1 |
950 445 415 |
665 245 |
1 1 1 |
|
ОР 12-15 |
1000 450 460 |
885 315 |
1 1 1 |
950 445 415 |
815 245 |
1 1 1 |
|
ОР 15-9А |
1300 |
715 |
1 |
1250 |
635 |
1 |
|
ОР 15-13,5 |
1300 750 460 |
735 315 |
1 1 1 |
1250 745 415 |
665 245 |
1 1 1 |
|
ОР 15-15 |
1300 750 460 |
885 315 |
1 1 1 |
1250 745 415 |
815 245 |
1 1 1 |
|
ОР 15-18 |
1300 750 460 |
755 315 315 |
1 1 1 1 |
1250 745 415 |
685 245 245 |
1 1 1 1 |
|
ОР 15-21 |
1300 750 460 |
685 315 |
2 1 1 |
1250 745 415 |
615 245 |
2 1 1 |
|
ОР 18-9А |
1580 |
695 |
1 |
1530 |
615 |
1 |
|
ОР 18-9 |
1010 460 |
695 |
1 1 |
1005 415 |
615 |
1 1 |
|
ОР 18-13,5 |
1580 1010 460 |
695 315 |
1 1 1 |
1530 1005 415 |
625 245 |
1 1 1 |
|
ОР 18-15 |
1580 1010 460 |
845 315 |
1 1 1 |
1530 1005 415 |
775 245 |
1 1 1 |
|
БР 22-7,5 |
1300 |
545 |
1 |
1250 |
465 |
1 |
|
БР 22-9 |
1300 |
695 |
1 |
1250 |
615 |
1 |
|
БР 24-7,5 |
1580 |
545 |
1 |
1530 |
465 |
1 |
|
БР 24-9 |
1580 |
695 |
1 |
1530 |
615 |
1 |
Тип С
|
Марка |
Размеры, мм |
Количество |
|
|
|
Высота |
Ширина |
|
|
ОС 12-9В |
980 |
695 |
2 |
|
ОС 12-12В |
980 |
995 |
2 |
|
ОС 12-13,5В |
980 |
1145 |
2 |
|
ОС 12-15В |
980 |
775 385 |
2 2 |
|
ОС 18-9В |
1050 395 |
695 |
2 2 |
|
ОС 18-12В |
1050 395 |
995 |
2 2 |
|
ОС 18-13,5В |
1050 395 |
1145 |
2 2 |
|
ОС 18-15В |
1580 1050 395 |
385 775 |
2 2 2 |
|
ОС 18-9Г |
1580 |
695 |
2 |
|
ОС 18-12Г |
1580 |
995 |
2 |
|
ОС 18-13,5Г |
1580 |
1145 |
2 |
|
ОС 18-15Г |
1580 |
775 385 |
2 2 |
|
ОС 12-18В |
980 |
465 995 |
2 2 |
|
ОС 12-21В |
980 |
565 1195 |
2 2 |
|
ОС 18-18В |
1580 1050 395 |
465 995 |
2 2 2 |
|
ОС 18-21В |
1580 1050 395 |
565 1195 |
2 2 2 |
|
ОС 18-24В |
1580 1050 395 |
1030 |
2 2 2 |
|
ОС 18-18Г |
1580 |
465 995 |
2 2 |
|
ОС 18-21Г |
1580 |
565 1195 |
2 2 |
|
ОС 18-24Г |
1580 |
1030 |
4 |
|
ОС 21-21В |
1880 1350 395 |
565 1195 |
2 2 2 |
|
ОС 21-24В |
1880 1350 395 |
1030 |
2 2 2 |
|
ОС 21-21Г |
1880 |
565 1195 |
2 2 |
|
ОС 21-24Г |
1880 |
1030 |
4 |
|
ОС 18-27В |
1580 1050 395 |
1180 |
2 2 2 |
|
ОС 18-27Г |
1580 |
525 1175 |
4 2 |
|
ОС 21-27В |
1880 1350 395 |
1180 |
2 2 2 |
|
ОС 21-27Г |
1880 |
525 1175 |
4 2 |
|
ОС 21-9В |
1360 395 |
695 |
2 2 |
|
ОС 21-12В |
1350 395 |
995 |
2 2 |
|
ОС 21-13,5В |
1350 395 |
1145 |
2 2 |
|
ОС 21-9Г |
1880 |
695 |
2 |
|
ОС 21-12Г |
1880 |
995 |
2 |
|
ОС 21-13,5Г |
1880 |
1145 |
2 |
|
ОС 21-15В |
11880 1350 395 |
385 775 |
2 2 2 |
|
ОС 21-18В |
1880 1350 395 |
465 995 |
2 2 2 |
|
ОС 21-45Г |
1880 |
385 775 |
2 2 |
|
ОС 21-18Г |
1880 |
465 995 |
2 2 |
|
БС 38-9 |
1350 395 |
695 |
2 2 |
|
БС 28-12 |
1350 395 |
995 |
2 2 |
|
БС 28-18 |
1350 395 |
750 |
4 4 |
Тип Р
|
|
Размеры, мм |
||||||
|
Марка |
внутренние |
наружные |
|||||
|
|
Высота |
Ширина |
Количество |
Высота |
Ширина |
Количество |
|
|
ОР 12-9В |
980 |
695 |
1 |
930 |
615 |
1 |
|
|
ОР 12-12В |
980 |
995 |
1 |
930 |
915 |
1 |
|
|
ОР 12-13,5В |
980 |
1145 |
1 |
930 |
1065 |
1 |
|
|
ОР 12-15В |
980 |
385 775 |
1 1 |
930 |
315 705 |
1 1 |
|
|
ОР 18-9В |
1050 395 |
695 |
1 1 |
1015 350 |
615 |
1 1 |
|
|
ОР 18-12В |
1050 395 |
995 |
1 1 |
1015 350 |
915 |
1 1 |
|
|
ОР 18-13,5В |
1050 395 |
1145 |
1 1 |
1015 350 |
1065 |
1 1 |
|
|
ОР 18-15В |
1580 1050 395 |
385 775 |
1 1 1 |
1530 1015 350 |
315 705 |
1 1 1 |
|
|
ОР 18-9Г |
1580 |
695 |
1 |
1530 |
615 |
1 |
|
|
ОР 18-12Г |
1580 |
995 |
1 |
1530 |
915 |
1 |
|
|
ОР 18-13,5Г |
1580 |
1145 |
1 |
1530 |
1065 |
1 |
|
|
ОР 18-15Г |
1580 |
385 775 |
1 1 |
1530 |
315 705 |
1 1 |
|
|
ОР 12-18В |
980 |
465 995 |
1 1 |
930 |
395 925 |
1 1 |
|
|
ОР 12-21В |
980 |
565 1195 |
1 1 |
930 |
495 1125 |
1 1 |
|
|
ОР 18-18В |
1580 1050 395 |
465 995 |
1 1 1 |
1530 1015 350 |
395 925 |
1 1 1 |
|
|
ОР 18-21В |
1580 1050 395 |
565 1195 |
1 1 1 |
1530 1015 350 |
495 1125 |
1 1 1 |
|
|
ОР 18-24В |
1580 1050 395 |
1030 |
1 1 1 |
1530 1015 350 |
960 |
1 1 1 |
|
|
ОР18-18Г |
1580 |
465 995 |
1 1 |
1530 |
395 925 |
1 1 |
|
|
ОР 18-21Г |
1580 |
565 1195 |
1 1 |
1530 |
495 1125 |
1 1 |
|
|
ОР 18-24Г |
1580 |
1030 |
1 |
1530 |
960 |
2 |
|
|
ОР 18-27В |
1580 1050 395 |
1180 |
1 1 1 |
1530 1015 350 |
1110 |
1 1 1 |
|
|
ОР 18-27Г |
1580 |
525 1175 |
2 1 |
1530 |
455 1105 |
2 1 |
|
|
ОР 21-27В |
1880 1350 395 |
1180 |
1 1 1 |
1830 1315 350 |
110 |
1 1 1 |
|
|
ОР 21-27Г |
1880 |
525 1175 |
2 1 |
1830 |
455 1105 |
2 1 |
|
|
ОР 21-21В |
1880 1350 395 |
565 1195 |
1 1 1 |
1830 1315 350 |
495 1125 |
1 1 1 |
|
|
ОР 21-24В |
1880 1350 395 |
1030 |
1 1 1 |
1830 1315 350 |
960 |
1 1 1 |
|
|
ОР 21-21Г |
1880 |
565 1195 |
1 1 |
1830 |
495 1125 |
1 1 |
|
|
ОР 21-24Г |
1880 |
1030 |
2 |
1830 |
960 |
2 |
|
|
ОР 21-9В |
1350 395 |
695 |
1 1 |
1315 350 |
615 |
1 1 |
|
|
ОР 21-12В |
1350 395 |
995 |
1 1 |
1315 350 |
915 |
1 1 |
|
|
ОР 21-13, В5 |
1350 395 |
1145 |
1 1 |
1315 350 |
1065 |
1 1 |
|
|
ОР 21-9Г |
1880 |
695 |
1 |
1830 |
615 |
1 |
|
|
ОР 21-12Г |
1880 |
995 |
1 |
1830 |
915 |
1 |
|
|
ОР 21-13,5Г |
1880 |
1145 |
1 |
1830 |
1065 |
1 |
|
|
ОР 21-15В |
1880 1350 395 |
385 775 |
1 1 1 |
1830 1315 350 |
315 705 |
1 1 1 |
|
|
ОР 21-18В |
1880 1350 395 |
465 995 |
1 1 1 |
1830 1315 350 |
395 925 |
1 1 1 |
|
|
ОР 21-15Г |
1880 |
775 385 |
1 1 |
1830 |
705 315 |
1 1 |
|
|
ОР 21-18Г |
1880 |
995 465 |
1 1 |
1830 |
925 395 |
1 1 |
|
|
БР 28-9 |
1350 395 |
695 |
1 1 |
1315 350 |
615 |
1 1 |
|
|
БР 28-12 |
1350 395 |
995 |
1 1 |
1315 350 |
915 |
1 1 |
|
|
|
1350 |
|
2 |
1315 |
735 685 |
1 1 |
|
|
БР 28-18 |
395 |
750 |
2 |
350 |
735 685 |
1 1 |
|
|
_________________________________________________________ |