(СИСПР 22-97)
РАДИОПОМЕХИ
ИНДУСТРИАЛЬНЫЕ
ОТ ОБОРУДОВАНИЯ ИНФОРМАЦИОННЫХ
ТЕХНОЛОГИЙ
Нормы и методы испытаний
ГОССТАНДАРТ РОССИИ
Предисловие
1 РАЗРАБОТАН Ленинградским отраслевым научно-исследовательским институтом радио (ЛОНИИР) и Техническим комитетом по стандартизации в области электромагнитной совместимости технических средств (ТК 30)
ВНЕСЕН Техническим комитетом по стандартизации в области электромагнитной совместимости технических средств (ТК 30)
2 ПРИНЯТ И ВВЕДЕН В ДЕЙСТВИЕ Постановлением Госстандарта России от 22 декабря 1999 г. № 561-ст
3 Настоящий стандарт содержит аутентичный текст международного стандарта СИСПР 22 (1997-11), изд. 3 «Оборудование информационных технологий. Характеристики индустриальных радиопомех. Нормы и методы измерений» с дополнительными требованиями, отражающими потребности экономики страны
4 ВВЕДЕН ВПЕРВЫЕ
Область применения настоящего стандарта охватывает всю полосу радиочастот от 9 кГц до 400 ГГц, однако нормы определены только в ограниченной полосе частот, которая считается достаточной для установления уровней помехоэмиссии в целях защиты служб радиовещания и связи и обеспечения возможности для другой аппаратуры работать должным образом на приемлемом расстоянии.
(СИСПР 22-97)
РАДИОПОМЕХИ ИНДУСТРИАЛЬНЫЕ ОТ
ОБОРУДОВАНИЯ
ИНФОРМАЦИОННЫХ ТЕХНОЛОГИЙ
Нормы и методы испытаний
Настоящий стандарт распространяется на оборудование информационных технологий (ОИТ) в соответствии с определением ОИТ, приведенным в 3.1.
Стандарт устанавливает нормы и методы измерений индустриальных радиопомех (ИРП) от ОИТ классов А и Б в полосе частот от 0,15 до 1000 МГц. Измерения на частотах, применительно к которым нормы не установлены, не проводят.
Целью настоящего стандарта являются установление единообразных требований к уровням ИРП от оборудования, соответствующего области применения настоящего стандарта, и фиксированных норм радиопомех; описание методов измерений, стандартизация рабочих условий при проведении испытаний; определение порядка оценки результатов испытаний.
Настоящий стандарт не распространяется на оборудование, для которого нормы ИРП установлены в других государственных стандартах, содержащих требования публикаций МЭК или СИСПР.
Любое оборудование (или часть ОИТ), основной функцией которого является передача и/или прием радиосигналов в соответствии с определениями, приведенными в Регламенте радиосвязи Международного союза электросвязи, исключается из области применения настоящего стандарта.
Примечание - Любое оборудование, которое имеет функцию передачи и/или приема радиосигналов в соответствии с определениями, приведенными в Регламенте радиосвязи Международного союза электросвязи, должно удовлетворять правилам регулирования радиосвязи, установленным национальной администрацией связи, независимо от применимости настоящего стандарта.
Требования настоящего стандарта являются обязательными.
Содержание публикации СИСПР 22-97 набрано прямым шрифтом, дополнительные требования к публикации СИСПР 22-97, отражающие потребности экономики страны, - курсивом.
(Измененная редакция, Изм. № 1).
Перечисленные ниже нормативные документы содержат положения, обеспечивающие с помощью ссылок в тексте положения настоящего стандарта. На момент издания настоящего стандарта действуют редакции документов, указанные в тексте. Все нормативные документы подлежат пересмотру, и участникам соглашений, основывающимся на настоящем стандарте, рекомендуется исследовать возможности применения последних редакций документов, ссылки на которые приведены ниже. Члены МЭК и ИСО постоянно ведут перечни действующих международных стандартов.
В настоящем стандарте использованы ссылки на [1] - [3], а также следующие стандарты:
ГОСТ 14777-76 Радиопомехи индустриальные. Термины и определения
ГОСТ 30372-95/ГОСТ Р 50397-92 Совместимость технических средств электромагнитная. Термины и определения
ГОСТ Р 51317.4.6-99 (МЭК 61000-4-6-96) Совместимость технических средств электромагнитная. Устойчивость к кондуктивным помехам, наведенным радиочастотными электромагнитными полями. Требования и методы испытаний
ГОСТ Р 51317.6.3-99 (СИСПР/МЭК 61000-6-3-96) Совместимость технических средств электромагнитная. Помехоэмиссия от технических средств, применяемых в жилых, коммерческих зонах и производственных зонах с малым энергопотреблением. Нормы и методы испытаний
ГОСТ Р 51318.11-99 (СИСПР11-97) Совместимость технических средств электромагнитная. Радиопомехи индустриальные от промышленных, научных, медицинских и бытовых (ПНМБ) высокочастотных устройств. Нормы и методы испытаний
ГОСТ Р 51319-99 Совместимость технических средств электромагнитная. Приборы для измерения индустриальных радиопомех. Технические требования и методы испытаний
ГОСТ Р 51320-99 Совместимость технических средств электромагнитная. Методы испытаний технических средств - источников индустриальных радиопомех
(Измененная редакция, Изм. № 1).
В настоящем стандарте используют термины, установленные в ГОСТ 14777, ГОСТ 30372/ГОСТР 50397, ГОСТ Р 51317.4.6, а также следующие:
3.1 Оборудование информационных технологий (ОИТ) - любое оборудование:
а) выполняющее основную функцию, связанную с вводом, хранением, отображением, поиском, передачей, обработкой, управлением или коммутацией данных и сообщений связи, которое при этом может быть снабжено одним или несколькими портами, используемыми обычно для передачи информации;
б) имеющее номинальное напряжение питания не более 600 В.
ОИТ включает, например, оборудование обработки данных, офисные машины, электронное оборудование для делопроизводства и оборудование связи.
3.2 Испытуемое оборудование (ИО) - отдельно применяемое ОИТ или функционально взаимодействующая группа ОИТ (система), которая включает один или несколько основных блоков и используется для целей испытаний.
3.3 Основной блок - часть системы ОИТ или блок, конструкция которого обеспечивает механическое размещение модулей, которые могут содержать источники радиочастотных сигналов и обеспечивать распределение напряжений электропитания для других ОИТ. Распределение электропитания между основным блоком (блоками) и модулями или другими ОИТ может осуществляться по постоянному току, по переменному току или одновременно по обоим.
3.4 Модуль - часть ОИТ, которая выполняет определенную функцию и может иметь источники радиочастотных сигналов.
3.5 Идентичные модули и ОИТ - модули и ОИТ, изготовленные в значительном количестве по единым техническим требованиям и в пределах установленных производственных допусков.
3.6 Порты связи - порты, предназначенные для подключения ОИТ к сетям связи (например, общественным коммутируемым сетям проводной связи, цифровым сетям общего пользования, локальным сетям и аналогичным сетям связи).
3.7 Порт - граница между ОИТ и внешней электромагнитной средой (зажим, разъем, клемма, стык связи и т.п.)
3.8. Затухание продольного перехода (ЗПП) - отношение общего несимметричного напряжения ИРП, возникающего на портах связи из симметричного напряжения полезного сигнала в линии связи, к величине этого симметричного напряжения сигнала при измерении в регламентированных условиях в соответствии с [3].
3.9 Низковольтная распределительная электрическая сеть - низковольтная распределительная электрическая сеть энергоснабжающей организации (электрическая сеть общего назначения) или низковольтная электрическая сеть потребителя электрической энергии, предназначенная для питания различных приемников электрической энергии в местах их размещения.
ОИТ разделяют на две категории, которые обозначены как ОИТ класса А и ОИТ класса Б.
ОИТ класса Б - категория оборудования, удовлетворяющая нормам ИРП, установленным для ОИТ класса Б.
ОИТ класса Б предназначено в основном для применения в бытовой обстановке и включает:
- оборудование без фиксированного места использования, например, переносное оборудование с питанием от встроенных батарей;
- оконечное оборудование связи, питаемое от сети связи;
- персональные компьютеры и вспомогательное оборудование, подключаемое к ним.
Примечания
1 Бытовая обстановка - это обстановка, в которой радио- и телевизионные приемники могут быть установлены с удалением 10 м от ОИТ.
2 ОИТ класса Б предназначено для применения в жилых, коммерческих зонах и производственных зонах с малым энергопотреблением (см. ГОСТ Р 51317.6.3).
ОИТ класса А - категория оборудования, удовлетворяющая нормам ИРП, установленным для ОИТ класса А.
Такое оборудование не должно быть ограничено в продаже.
В эксплуатационной документации на ОИТ класса А должна быть приведена предупреждающая надпись:
|
ВНИМАНИЕ! Настоящее изделие (аппарат, оборудование) удовлетворяет нормам индустриальных радиопомех, установленным для оборудования класса А по ГОСТ Р 51318.22-99 (СИСПР 22-97). При использовании в жилых, коммерческих зонах и производственных зонах с малым энергопотреблением и подключении к низковольтным распределительным электрическим сетям настоящее оборудование может нарушить функционирование других технических средств в результате воздействия создаваемых им индустриальных радиопомех. В этом случае пользователь обязан предпринять адекватные меры. |
(Измененная редакция, Изм. № 1).
ИО должно удовлетворять нормам, установленным в таблицах 1-4, при использовании измерителей ИРП с квазипиковыми детекторами и детекторами средних значений и проведении измерений в соответствии с методами, приведенным в разделе 9. Для портов связи должны выполняться нормы общего несимметричного напряжения ИРП (далее в тексте - напряжение ИРП на портах связи) или нормы общего несимметричного тока ИРП (далее в тексте - ток ИРП на портах связи), установленные в таблицах 3 или 4, за исключением измерений, когда должны выполняться обе нормы (подраздел 9.5).
Если при использовании измерителя ИРП с квазипиковым детектором выполняется норма на средние значения, то ИО признают удовлетворяющим обеим нормам и нет необходимости в измерениях средних значений.
Если измеритель ИРП отмечает показания, близкие к норме, то эти показания наблюдают в течение времени не менее 15 с на каждой частоте измерений и регистрируют самые высокие показания, кроме отдельных кратковременных выбросов, которые исключают.
Таблица 1 - Нормы напряжения ИРП на сетевых зажимах ОИТ класса А
|
Полоса частот, МГц |
Напряжение Uc, дБ (мкВ) |
|
|
Квазипиковое значение |
Среднее значение |
|
|
0,15-0,5 |
79 |
66 |
|
0,5-30 |
73 |
60 |
|
Примечание - На граничной частоте нормой является меньшее значение напряжения ИРП. |
||
Таблица 2 - Нормы напряжения ИРП на сетевых зажимах ОИТ класса Б
|
Полоса частот, МГц |
Напряжение Uc, дБ (мкВ) |
|
|
Квазипиковое значение |
Среднее значение |
|
|
0,15-0,5 |
66-56 |
56-46 |
|
0,5-5 |
56 |
46 |
|
5-30 |
60 |
50 |
|
Примечания 1 На граничной частоте нормой является меньшее значение напряжения ИРП. 2 В полосе частот от 0,15 до 0,5 МГц допустимые значения напряжения ИРП вычисляют по формулам: Uc = 66-19,1 lg f / 0,15 для квазипиковых значений и Uc = 56-19,1 lg f / 0,15 для средних значений, где f - частота измерений, МГц. |
||
Нормы напряжения и силы тока ИРП на портах связи находятся на рассмотрении.
(Измененная редакция, Изм. № 1).
ИО должно удовлетворять нормам, установленным в таблицах 5 и 6, при измерении на измерительном расстоянии R в соответствии с методами, установленными в разделе 10.
Если измеритель ИРП отмечает показания, близкие к норме, эти показания наблюдают в течение времени не менее 15 с на каждой частоте измерений и регистрируют самые высокие показания, кроме отдельных кратковременных выбросов, которые исключают.
Таблица 5 - Нормы напряженности поля ИРП от ОИТ класса А при измерительном расстоянии 10 м
|
Полоса частот, МГц |
Напряженность поля, дБ (мкВ/м), квазипиковое значение |
|
30-230 |
40 |
|
230-1000 |
47 |
|
примечание - На граничной частоте нормой является меньшее значение напряженности поля ИРП |
|
Таблица 5 - Нормы напряженности поля ИРП от ОИТ класса Б при измерительном расстоянии 10 м
|
Полоса частот, МГц |
Напряженность поля, дБ (мкВ/м), квазипиковое значение |
|
30-230 |
30 |
|
230-1000 |
37 |
|
примечание - На граничной частоте нормой является меньшее значение напряженности поля ИРП |
|
7.1.1 Нормы установлены на статистической основе, в соответствии с которой не менее 80 % серийно изготовленного ОИТ отвечают нормам с достоверностью не менее 80 %.
7.2.1 Испытания проводят:
а) на выборке оборудования определенного типа при использовании статистического метода оценки в соответствии с 7.2.3 или
б) с целью упрощения только на одном образце оборудования.
7.2.2 Время от времени необходимы последующие испытания оборудования, выбранного случайным образом из партии изготовленных изделий, особенно в случае, указанном в 7.2.1 б).
7.2.3 Соответствие нормам на базе статистической оценки
Данное испытание проводят на выборке не менее чем из пяти и не более чем из двенадцати образцов изделий данного типа; если в исключительных случаях невозможно обеспечить пять изделий, то используют выборку из четырех или трех изделий. Соответствие норме оценивают с использованием следующих соотношений:
;
,
где
- среднее арифметическое
значение результатов измерений ИРП по выборке;
хn - значение ИРП по отдельному изделию на частоте измерений;
L - соответствующая норма;
k - коэффициент из таблиц нецентрального t-распределения, который гарантирует с достоверностью 80 %, что не менее 80 % изделий будут удовлетворять норме. Значение k зависит от объема выборки n и приводится ниже.
Количественно
величины
и L выражены в
дБ (мкВ), дБ (мкА), дБ (мкВ/м) или дБ (пВт).
|
n |
3 |
4 |
5 |
6 |
7 |
8 |
9 |
10 |
11 |
12 |
|
k |
2,04 |
1,69 |
1,52 |
1,42 |
1,35 |
1,30 |
1,27 |
1,24 |
1,21 |
1,20 |
Примечание - См. также ГОСТ Р 51320.
(Измененная редакция, Изм. № 1).
7.2.4 Запрет на продажу
Решение о запрете на продажу или об изъятии одобрения типа принимается только после проведения испытаний и применения статистического метода оценки в соответствии с 7.2.1, перечисление а).
Измерительная площадка должна позволять отличать ИРП, создаваемые ИО, от посторонних радиопомех. Пригодность площадки определяют путем измерения уровня посторонних радиопомех при неработающем ИО, при этом уровень посторонних радиопомех должен быть, по крайней мере, на 6 дБ ниже норм, указанных в разделах 5 и 6. Если в определенных полосах частот уровень посторонних радиопомех не будет на 6 дБ ниже установленной нормы, для выявления соответствия ИО нормам допускается использовать методы, приведенные в 10.6.
Основные конструктивные параметры измерительной площадки приведены на рисунках 1, 2, 3.
Если суммарный уровень посторонних радиопомех и ИРП от ИО не превышает значения соответствующей нормы, то допускается не снижать уровень посторонних радиопомех на 6 дБ относительно нормы. В этом случае считают, что ИО удовлетворяют соответствующей норме ИРП. Если суммарный уровень посторонних радиопомех и ИРП от ИО превышает норму, то рекомендуется считать ИО соответствующим норме, если на частотах превышения выполняются два условия:
а) уровень посторонних радиопомех не менее чем на 6 дБ ниже суммарного уровня посторонних радиопомех и ИРП;
б) уровень посторонних радиопомех не менее чем на 4,8 дБ ниже нормы.
Конфигурация ИО, его расположение, установка и порядок включения должны соответствовать типовому применению ОИТ.
Соединительные кабели (нагрузки, оборудование, связанное с ИО) подключают, по крайней мере, к одному из портов каждого вида ИО. В качестве оборудования, связанного с ИО, используют устройства, типичные для реальных условий применения ИО.
При наличии значительного количества идентичных портов может потребоваться подключение к ИО дополнительных соединительных кабелей (нагрузок, образцов оборудования, связанного с ИО) с учетом результатов предыдущих испытаний. Количество дополнительно подключаемых кабелей определяют из условия, что подключение другого кабеля не уменьшает существенно разность между нормой и измеренным уровнем помех (например, более чем на 2 дБ).
В протоколе испытаний должно быть приведено обоснование выбора конфигурации ИО и нагрузки портов.
Типы и длины соединительных кабелей должны соответствовать установленным в технической документации на ОИТ. Если длина кабелей может меняться, то она должна быть такой, чтобы уровень ИРП был максимальным. Если для обеспечения соответствия нормам во время испытаний используют экранированные или специальные кабели, то в эксплуатационную документацию должно быть включено соответствующее указание об использовании таких кабелей.
При избыточной длине кабель укладывают в связку длиной от 30 до 40 см, располагаемую в середине кабеля. Если это на практике неосуществимо из-за размеров кабеля или его жесткости или потому, что испытания проводятся на месте установки, расположение избыточного кабеля должно быть точно отражено в протоколе испытаний. Если имеется значительное количество однотипных портов связи, то кабель подключают только к одному из портов каждого типа при условии, что может быть показано отсутствие существенного влияния дополнительно подключенных кабелей на результаты испытаний.
Для обеспечения воспроизводимости испытаний любые результаты испытаний сопровождают детальным описанием расположения соединительных кабелей и оборудования. Если для обеспечения соответствия нормам требуются определенные условия использования ОИТ, то эти условия должны быть установлены и отражены в протоколе испытаний, например, в части длин и типов кабелей, экранирования и заземления. Эти условия необходимо включить в эксплуатационную документацию.
Оборудование, включающее большое число модулей (выдвижные панели, съемные платы, печатные платы и т.п.), испытывают при его укомплектовании набором определенного количества этих модулей, типичным для реальных условий применения ИО. Количество реально используемых дополнительных плат или выдвижных панелей должно ограничиваться тем условием, что установка другой платы или панели не приводит к существенному уменьшению разности между нормой и измеренным уровнем помех (например, более чем на 2 дБ).
В протоколе испытаний должно быть приведено обоснование выбора количества и типов модулей.
Систему из ряда отдельных блоков формируют так, чтобы используемая конфигурация соответствовала типовому применению ОИТ, была минимальной и характерной. В протоколе испытаний должно быть приведено обоснование выбора блоков. Ниже приведены примеры характерных конфигураций.
Для персонального компьютера или периферийных устройств персонального компьютера, группируемых и испытываемых совместно, минимальная конфигурация включает:
а) персональный компьютер;
б) клавиатуру;
в) блок визуального дисплея;
г) периферийное внешнее устройство для каждого из имеющихся двух типов протоколов ввода/вывода (последовательного и параллельного);
д) устройства специального назначения, например, мышь или джойстик, для которых в ИО имеется отдельный порт и которые входят в минимальную конфигурацию.
Примечание - В некоторых системах устройства а), б) и/или в) могут быть смонтированы на одном шасси. Устройства по перечислениям а) - в), мышь или джойстик не могут быть использованы в качестве замены для устройств по перечислению г).
Для кассового терминала минимальная система устройств, группируемых и испытываемых совместно, включает:
а) активный процессор (кассу);
б) кассовый выдвижной ящик;
в) клавиатуру (клавиатуры);
г) дисплеи (оператора и клиента);
д) типичное периферийное устройство (устройство считывания штрихового кода);
е) ручное устройство (устройство считывания штрихового кода).
В каждом ОИТ при испытаниях допускается использовать один модуль каждого типа. В ИО, представляющее собой систему, включают одно ОИТ каждого типа, которое может входить в возможную конфигурацию системы.
Оборудование, представляющее собой часть системы, распределенной на значительной площади (терминалы обработки данных, автоматизированные рабочие места операторов, АТС пользователей сети связи и т.п.), которое может являться подсистемой, испытывают независимо от основного блока или системы. Распределенные сети связи, например, местные сети, могут моделироваться на измерительной площадке с применением отрезков кабеля и периферийных устройств, применяемых в реальных условиях, или имитаторов сети связи, расположенных на расстояниях, при которых отсутствует увеличение измеряемого уровня ИРП.
Результаты оценки ИО, имеющего один модуль или одно ОИТ каждого типа, могут быть применены к конфигурациям, имеющим более одного такого модуля или ОИТ. Это допустимо, так как практически подтверждено, что уровни ИРП от идентичных модулей или идентичных ОИТ (см. 3.5) обычно не складываются.
Для ИО, функционально связанного с другим ОИТ, включая оборудование, связанное с основным блоком в части распределения напряжения электропитания, используют либо реальное взаимодействующее ОИТ, либо имитаторы, обеспечивающие условия функционирования ИО. Если ИО разработано в качестве основного блока для другого ОИТ, то может потребоваться подсоединение указанного ОИТ для обеспечения нормальных условий работы основного блока.
Имитатор, используемый вместо реального оборудования, должен иметь электрические и в необходимых случаях механические характеристики взаимодействующего ОИТ, особенно в части радиочастотных сигналов и полных сопротивлений. Это позволяет считать результаты измерений для отдельного ОИТ справедливыми для системы при объединении с другим аналогичным ОИТ, включая оборудование, произведенное и испытанное различными изготовителями.
Сборки изготовляемых отдельно печатных плат, используемых для расширения возможности различных основных блоков ОИТ (например, интерфейсы цифровых сетей связи, центральный процессор, платы адаптеров и т. п.), испытывают при их установке, по крайней мере, в одном характерном основном блоке по выбору изготовителя сборок. Это позволяет гарантировать соответствие сборок элементам основных блоков ОИТ, в которых предполагается установить эти сборки.
Основной блок должен быть типичным образцом изготовляемой продукции.
Сборки печатных плат для ОИТ класса Б не должны испытываться в основных блоках, относящихся к ОИТ класса А.
В эксплуатационной документации на сборки печатных плат должны быть приведены сведения об основных блоках, в составе которых испытывались сборки, а также сведения, позволяющие пользователю опознавать основные блоки, в составе которых сборки будут соответствовать классу А или Б.
(Измененная редакция, Изм. № 1).
8.1.1 Определение конфигураций, при которых уровни ИРП являются максимальными
В начале испытаний определяют частоту, на которой наблюдаются наибольшие ИРП по отношению к норме, при типичных конфигурациях системы, функционирования ИО в обычных режимах и характерных положениях соединительных кабелей. Определение частот, на которых уровни ИРП максимальны по отношению к норме, проводят путем измерения уровней ИРП на ряде основных частот, чтобы удостовериться в выборе наиболее вероятных частот, соответствующих максимальным уровням ИРП, при условии, что установлены соответствующие положения соединительных кабелей, конфигурация системы и режимы функционирования ИО.
Для проведения начальных испытаний оборудование размещают в соответствии с рисунками 4-14. Расстояния между испытуемым оборудованием и оборудованием, связанным с ИО (периферийными устройствами), устанавливают в соответствии с рисунками.
Окончательные измерения кондуктивных ИРП проводят в соответствии с разделом 9, излучаемых ИРП - в соответствии с разделом 10.
8.1.2 Размещение ИО относительно пластины заземления
Размещение ИО относительно пластины заземления должно быть эквивалентным размещению ИО в условиях применения, т.е. напольное оборудование размещают на пластине заземления или на изолирующем полу (например, деревянном) вблизи от пластины заземления. Портативное (переносное) оборудование размещают на неметаллическом столе. Кабели электропитания и сигнальные кабели располагают относительно пластины заземления аналогично условиям применения ОИТ. Пластина заземления должна быть металлической.
Примечание - Требования к пластине заземления приведены в 9.3 применительно к измерениям кондуктивных ИРП, в 10.3.4 - применительно к измерениям излучаемых ИРП, а также на рисунках 4-14.
ИО должно функционировать при напряжении электропитания, равном номинальному или находящемся в установленных для ИО пределах, и при типовой нагрузке (механической или электрической), для которой ИО было сконструировано. При испытаниях применяют, по возможности, реальные нагрузки. При использовании имитатора он должен представлять реальную нагрузку в отношении радиочастотных и функциональных характеристик.
Испытательные программы или другие средства проверки ИО должны обеспечивать испытания различных элементов системы таким образом, чтобы были обнаружены все ИРП, создаваемые ОИТ. Например, режимы функционирования дисководов и лентопротяжных устройств компьютерной системы при испытаниях должны включать последовательность: считывание - запись - стирание и предусматривать адресование к различным участкам памяти. При испытаниях должны быть выполнены все виды механических действий, предусмотренных технической документацией на ОИТ.
8.2.1 Функционирование визуальных дисплеев
Если ИО включает монитор или визуальный дисплей, применяют следующие правила:
- орган управления контрастностью устанавливают на максимум;
- орган управления яркостью устанавливают на максимум или, если гашение растра происходит при яркости, меньше максимальной на это значение гашения растра;
- для цветных мониторов используют белые символы (буквы) на черном фоне;
- выбирают наибольший уровень ИРП при подаче положительного или отрицательного видеосигнала, если имеются обе возможности;
- устанавливают размер символов и количество их в строке таким образом, чтобы на экране отображалось наибольшее количество символов;
- для мониторов с графическими возможностями на экран выводится вертикально сдвигаемая картинка, состоящая из символов «Н». Для мониторов, обладающих только текстовыми возможностями, на экран выводится случайный текст. Если изображения этих видов применить нельзя, используют типовой дисплей.
При выполнении вышеуказанных правил ИО должно функционировать в режиме, обеспечивающем наибольший уровень ИРП.
(Измененная редакция, Изм. № 1).
8.2.2 Функционирование факсимильных аппаратов
Факсимильные аппараты испытывают при приеме и передаче с применением тест-таблицы для факсимильных приемников в режиме наиболее детального изображения.
Примечание - Для выявления наибольшего уровня ИРП может потребоваться повторение тестовой таблицы несколько раз.
8.2.3 Функционирование телефонных аппаратов
Телефонные аппараты, которые могут передавать речевую информацию с применением цифровых сигналов, испытывают в режимах приема и передачи стандартной речевой информации.
Измерения проводят с помощью измерителей ИРП с квазипиковыми детекторами и детекторами средних значений. Оба детектора устанавливают в одном измерителе ИРП.
Примечание - Рекомендуется проводить измерения кондуктивных ИРП в экранированном помещении.
Для уменьшения времени испытаний вместо измерителя ИРП с детектором средних значений или квазипиковым детектором допускается применять измеритель ИРП с детектором пиковых значений. В спорных случаях при испытаниях ОИТ на соответствие нормам для квазипиковых значений отдают преимущество измерителю ИРП с квазипиковым детектором, а при испытаниях на соответствие нормам для средних значений - измерителю ИРП с детектором средних значений.
Используемые при испытаниях средства измерений должны иметь действующее свидетельство о поверке, а испытательное оборудование - действующий аттестат.
Измеритель ИРП с квазипиковым детектором и детектором средних значений должен соответствовать ГОСТ Р 51319. Измеритель ИРП с пиковым детектором должен соответствовать ГОСТ Р 51319, в том числе в части ширины полосы пропускания на уровне 6 дБ.
Алгоритм принятия решения при измерениях с применением пикового детектора приведен в приложении А, испытательные установки при измерении напряжения и силы тока ИРП на портах связи приведены в приложении Б, схемы эквивалентов полного сопротивления сети - в приложении В, сведения о параметрах сигналов на портах связи - в приложении Г.
При измерении кондуктивных ИРП на сетевых зажимах используют эквивалент сети электропитания, обеспечивающий определенное значение полного сопротивления на высоких частотах в точке измерений на вилке сетевого шнура, а также развязку ИО от радиопомех в сети питания. Используют V-образный эквивалент сети типа 4 с полным номинальным сопротивлением 50 Ом/мкГн в соответствии с ГОСТ Р 51319 (далее в тексте - эквивалент сети).
ИО подсоединяют к эквиваленту сети и размещают таким образом, чтобы расстояние между внешней поверхностью ИО и эквивалентом сети составляло 0,8 м.
Если ИО имеет штатный гибкий сетевой шнур длиной более 1 м, то часть его избыточной длины укладывают в связку, длина которой не должна превышать 0,4 м.
Если тип сетевого шнура определен в технической документации на ИО, то для соединения ИО с эквивалентом сети используют шнур указанного типа длиной 1 м.
Кондуктивные ИРП измеряют между зажимом фазного провода и эталонным заземлением измерительной схемы (зажимом «Земля» эквивалента сети) и между зажимом нейтрального провода и эталонным заземлением. Оба измеренных значения должны удовлетворять соответствующим нормам.
Отдельные провода защитного заземления (при их наличии) подключают к эталонному заземлению. Указанные провода должны иметь длину 1 м и прокладываться параллельно сетевому шнуру на расстоянии не более 0,1 м от него (если иные требования не установлены в технической документации на ИО).
Другие провода заземления (применяемые, например, для целей обеспечения ЭМС), которые в соответствии с технической документацией на ИО должны подключаться к тому же зажиму, что и провод защитного заземления, также подключают к эталонному заземлению.
Проведение измерений на некоторых частотах может оказаться невозможным из-за кондуктивных радиопомех, связанных с радиочастотными электромагнитными полями местных радиовещательных передатчиков. В этом случае между эквивалентом сети и сетью электропитания устанавливают дополнительный высокочастотный фильтр или измерения проводят в экранированном помещении. Дополнительный высокочастотный фильтр должен иметь металлический экран, который соединяют с эталонным заземлением. Требования к полному сопротивлению эквивалента сети на частоте измерений должны выполняться при подключенном дополнительном высокочастотном фильтре.
Если ИО представляет собой группу ОИТ с одним или несколькими основными блоками, причем каждое ОИТ имеет отдельный шнур, точку подключения эквивалента сети определяют, применяя следующие правила:
а) каждый шнур питания, заканчивающийся вилкой стандартной конструкции, испытывают отдельно;
б) шнуры питания или зажимы, которые в соответствии с технической документацией на ИО не определены для подключения через основной блок, испытывают отдельно;
в) шнуры питания или зажимы, которые в соответствии с технической документацией на ИО определены для подключения к основному блоку или другому питающему оборудованию, подключают к указанному основному блоку (питающему оборудованию). Зажимы или шнуры питания основного блока или питающего оборудования подключают к эквиваленту сети и проводят испытания;
г) если в соответствии с технической документацией на ИО предусмотрено специальное электрическое соединение, необходимые технические средства для его осуществления при испытаниях должны поставляться изготовителем;
д) при испытании оборудования, имеющего несколько сетевых шнуров, не подвергаемые испытанию шнуры подключают к разветвителю, который, в свою очередь, подключают к дополнительному эквиваленту сети.
Настольные ИО располагают на расстоянии 0,4 м от вертикальной металлической пластины заземления размерами не менее 2×2 м и на расстоянии не менее 0,8 м от любой другой металлической поверхности или другой пластины заземления, не являющейся частью ИО. Если измерения проводят в экранированном помещении, то расстояние 0,4 м может относиться к одной из стен помещения. Если измерения проводят на открытой измерительной площадке или в экранированном помещении, то расстояние 0,4 м может также относиться к горизонтальной пластине заземления.
Напольные ИО размещают на горизонтальной пластине заземления, при этом не должно быть электрического контакта между ИО и пластиной заземления, но соприкосновения возможны. Пластину заземления может заменить металлический пол. Горизонтальная пластина заземления должна выступать, по крайней мере, на 0,5 м за контуры ИО и иметь минимальные размеры 2×2 м. Зажим «Земля» эквивалента сети подключают к пластине заземления с помощью проводника минимально возможной длины.
ИО должно быть размещено и функционировать в соответствии с требованиями раздела 8. Рабочее место для испытаний организуют в соответствии с рисунками 4-9 для настольного, напольного и комбинированного (настольного и напольного) оборудования. На рисунках 13 и 14 приведено рабочее место для испытаний напольного оборудования с воздушными кабелями.
Настольные ИО располагают на неметаллическом столе высотой 80 см над горизонтальной пластиной заземления (см. 9.3) и на расстоянии 40 см от вертикальной пластины заземления, соединенной с горизонтальной пластиной заземления (см. рисунки 4-6). В тех случаях, когда ИО располагают на высоте 40 см над горизонтальной пластиной заземления (альтернативное рабочее место для испытаний, см. рисунок 7), этот факт отражают в протоколе испытаний.
ИО, предназначенное как для настольного, так и для напольного применения, испытывают как настольное оборудование, за исключением случая, когда типовым применением ИО является напольное. В этом случае ИО испытывают как напольное.
ИО, предназначенное для работы при настенном монтаже, испытывают как настольное, при этом расположение ИО должно соответствовать типовому применению.
Порт электропитания подключают к эквиваленту сети с использованием штатного сетевого шнура. Порт связи подключают к эквиваленту полного сопротивления сети с использованием сигнального кабеля.
Методы измерений ИРП на портах связи находятся на рассмотрении.
(Измененная редакция, Изм. № 1).
Регистрируют уровни ИРП и частоты измерений, по крайней мере, шести ИРП для каждого сетевого зажима и каждого порта связи, имеющих наибольшие величины и превышающих уровень (L - 20 дБ), где L - норма в логарифмических единицах.
Измерения проводят измерителем ИРП с квазипиковым детектором в полосе частот от 30 до 1000 МГц.
Для уменьшения времени испытаний вместо измерителя ИРП с квазипиковым детектором допускается применять измеритель ИРП с пиковым детектором. В спорных случаях преимуществом обладают результаты измерений квазипиковых значений ИРП.
Измерители ИРП с квазипиковым детектором и с пиковым детектором должны соответствовать ГОСТ Р 51319.
Антенна должна представлять собой симметричный вибратор (диполь). На частотах 80 МГц и выше применяют настраиваемый полуволновый симметричный вибратор. На частотах ниже 80 МГц - симметричный вибратор, размер которого равен длине полуволнового симметричного вибратора на частоте 80 МГц (см. также ГОСТ Р 51319).
Примечание - Могут использоваться и другие антенны, но при условии, что полученные результаты могут коррелироваться с результатами для симметричной дипольной антенны с приемлемой степенью точности.
10.2.1 Расстояние между антенной и ИО
Измерение излучаемого поля осуществляют с применением антенны, устанавливаемой таким образом, чтобы расстояние между проекциями на землю центра антенны и ближайшей к антенне границы ИО соответствовало измерительному расстоянию, определенному в разделе 6. Граница ИО определяется воображаемой линией, описывающей простую геометрическую фигуру, окружающую ИО. Все соединительные и внутрисистемные кабели ОИТ располагают внутри этой линии (см. рисунок 2).
Примечания
1 Если невозможно проводить измерения напряженности поля ИРП на расстоянии 10 м из-за высоких уровней посторонних радиопомех или по другим причинам, то испытания ОИТ класса Б проводят на более близком расстоянии, например, 3 м. Для приведения нормы к определенному расстоянию используют коэффициент обратной пропорциональности 20 дБ на декаду изменения измерительного расстояния. Следует быть внимательным при измерениях на расстоянии 3 м на частотах около 30 МГц из-за возможных влияний ближнего поля при испытании крупногабаритного оборудования.
2 Ввиду значительной погрешности измерений напряженности поля ИРП при измерительном расстоянии 3 м допускается использовать результаты измерений на указанном расстоянии для подтверждения соответствия ОИТ установленным нормам при сертификационных и приемочных испытаниях только в том случае, если измеренное значение напряженности поля Еизм, приведенное к расстоянию 10 м (Е) с использованием выражения Е = (Еизм - 10) дБ, не менее чем на 8 дБ меньше нормы. Если это условие не выполняется, измерения должны быть повторены при измерительном расстоянии 10 м.
10.2.2 Расстояние между антенной и пластиной заземления
Высоту антенны над пластиной заземления изменяют от 1 до 4 м до получения максимального отсчета измерительного прибора на каждой частоте измерений.
10.2.3 Азимут антенны по отношению к ИО
Азимут антенны по отношению к ИО изменяют во время испытаний для выявления максимальных показаний по величине напряженности поля ИРП. Допускается вращение ИО. Если на практике это невозможно, то ИО оставляют неподвижным и измерения проводят вокруг ИО.
10.2.4 Поляризация антенны по отношению к ИО
Для выявления максимальных показаний по напряженности поля ИРП во время измерений изменяют также поляризацию антенны (горизонтальную и вертикальную).
10.3.1 Общие положения
Измерительную площадку поверяют путем измерений затухания электромагнитного поля при горизонтальной и вертикальной поляризации в полосе частот от 30 до 1000 МГц. Расстояние между приемной и передающей антеннами должно быть таким же, как при измерениях напряженности поля ИРП во время испытаний.
10.3.2 Измерение затухания площадки
Измерительную площадку считают приемлемой, если результаты измерений затухания площадки при горизонтальной и вертикальной поляризации поля находятся в пределах ± 4 дБ от теоретических величин затухания идеальной площадки (см. ГОСТ Р 51320).
10.3.3 Открытая измерительная площадка
Измерительная площадка должна быть плоской, свободной от навесных проводов и близко расположенных отражающих конструкций. Площадка должна быть достаточно большой, чтобы обеспечить размещение антенны на определенном расстоянии и гарантировать соответствующий разнос между антенной, испытуемым оборудованием и отражающими конструкциями. Под отражающими конструкциями понимают конструкции в основном из проводящего материала.
Открытая измерительная площадка должна быть оборудована горизонтальной пластиной заземления в соответствии с 10.3.4. Схема открытой измерительной площадки приведена на рисунке 1. Схема минимальной альтернативной измерительной площадки приведена на рисунке 2. Открытая измерительная площадка должна удовлетворять требованиям к затуханию, установленным в ГОСТ Р 51320 (приложение Г).
Пластина заземления должна, по крайней мере, на 1 м выступать за контур ИО и наибольшей измерительной антенны и покрывать внутреннее пространство между испытуемым оборудованием и антенной (рисунок 3). Она должна выполняться из металла, при этом размеры отверстий и зазоров не должны превышать одну десятую длины волны, соответствующей наивысшей частоте измерений. Если требования к затуханию измерительной площадки не выполняются, применяют пластину заземления большего размера.
10.3.5 Альтернативные испытательные площадки
Испытания могут быть проведены с применением других измерительных площадок, физические характеристики которых не соответствуют требованиям, установленным в 10.3.3 и 10.3.4. При этом необходимо доказательство, что применение таких альтернативных измерительных площадок позволяет получить обоснованные результаты измерений. Альтернативные измерительные площадки пригодны для испытаний, если удовлетворяют требованиям к затуханию, установленным в ГОСТ Р 51320 (приложение Д). Должны быть также выполнены требования, установленные в примечании 2 к 10.2.1.
Одним из примеров альтернативной измерительной площадки является экранированное помещение, стены которого покрыты радиопоглощающим материалом.
Примечание - Требования к затуханию альтернативных измерительных площадок и метод измерений, установленные в приложении А к публикации СИСПР 22, приведены в ГОСТ Р 51320 (приложение Д).
(Измененная редакция, Изм. № 1).
ИО должно быть установлено и функционировать в соответствии с требованиями раздела 8. ИО устанавливают в соответствии с рисунками 10, 11 и 12 для настольного, напольного и комбинированного (настольного и напольного) оборудования. На рисунках 13 и 14 приведены схемы установки для испытаний напольного оборудования с воздушными кабелями.
Настольное ИО располагают на столе из неметаллического материала высотой 80 см над горизонтальной пластиной заземления измерительной площадки. Напольное ИО размещают непосредственно на пластине заземления, при этом оборудование должно быть отделено от пластины заземления изоляционной прокладкой толщиной 15 мм.
Оборудование, сконструированное для настольного и напольного применения, испытывают как настольное, за исключением случаев, когда типовым применением оборудования является напольное.
Оборудование, сконструированное для применения при установке на стене, испытывают как настольное оборудование. При этом ориентация элементов ИО должна соответствовать типовому применению.
Регистрируют уровни и частоты измерений, по крайней мере, шести ИРП, имеющих наибольшие величины и превышающих уровень (L - 20 дБ), где L - соответствующая норма в логарифмических единицах.
В общем случае посторонние сигналы не должны превышать установленных уровней (см. раздел 8). Однако измерение излучаемых ИРП от ИО на некоторых частотах может оказаться невозможным из-за электромагнитных полей, создаваемых местными радио- и телевизионными передатчиками, другими источниками ИРП и естественными источниками.
Если напряженность поля посторонних сигналов велика (см. раздел 8), то для проверки соответствия ИО нормам ИРП применяют следующие методы:
а) проводят измерения на более близких расстояниях и определяют норму L2, соответствующую меньшему измерительному расстоянию d2 с помощью следующего соотношения:
L2 = L1 (d1/d2),
где L1 - норма в мкВ/м при измерительном расстоянии d1.
Определяют условия испытаний, сформулированные в разделе 8, для новой нормы L2 с учетом измерительного расстояния d2.
Примечание - При этом должны быть выполнены требования, установленные в примечании 2 к 10.2.1;
б) в полосах частот, где уровни посторонних сигналов выше указанных в разделе 8, значения напряженности поля ИРП от ИО определяют путем интерполирования значений напряженности поля ИРП, соседних по отношению к посторонним сигналам. Интерполированные значения напряженности поля ИРП от ИО должны лежать на кривой, описывающей непрерывную функцию значений ИРП на частотах, соседних по отношению к частотам посторонних сигналов;
в) применяют метод, приведенный в ГОСТ Р 51318.11 (приложение В).
В некоторых случаях может быть необходимо проведение испытаний ОИТ класса А в местах его установки пользователем.
В этих случаях измерения ИРП целесообразно проводить на границе помещения пользователя (вне здания). Если указанная граница находится на расстоянии менее 10 м от ИО, измерения проводят на расстоянии 10 м от оборудования.
Результаты измерений при указанном способе проверки соответствия зависят от характеристик места установки оборудования и должны относиться только к конкретному месту установки.
К установленному пользователем оборудованию, удовлетворяющему нормам ИРП при испытаниях на месте установки, могут быть добавлены отдельные образцы ОИТ, соответствующие требованиям настоящего стандарта при испытаниях на измерительной площадке.

Примечания
1 Объем над землей должен быть свободен от отражающих объектов.
2 Характеристики измерительной площадки приведены в 10.3, значение R - в разделе 6.
Рисунок 1 - Измерительная площадка
Данный метод не применяют для испытаний ОИТ, имеющих физически очень большие размеры (например, оборудования центра связи). Для указанного оборудования нормы ИРП и методы испытаний находятся на рассмотрении.

Примечания
1 Внутри объема, ограниченного на поверхности земли линией, указанной на рисунке, а по высоте - горизонтальной плоскостью, расположенной на высоте не менее 3 м над самым высоким элементом измерительной антенны или ИО, не должно быть отражающего объекта.
2 Относительно применимости альтернативной измерительной площадки см. 10.3.5. Определение границы ИО приведено в 10.2.1
Рисунок 2 - Минимальная альтернативная измерительная площадка

D = d + 2 м, где d - максимальный размер ИО;
W = а + 2 м, где а - максимальный размер измерительной антенны;
L = 3 м или 10 м
Рисунок 3 - Минимальный размер металлической пластины заземления
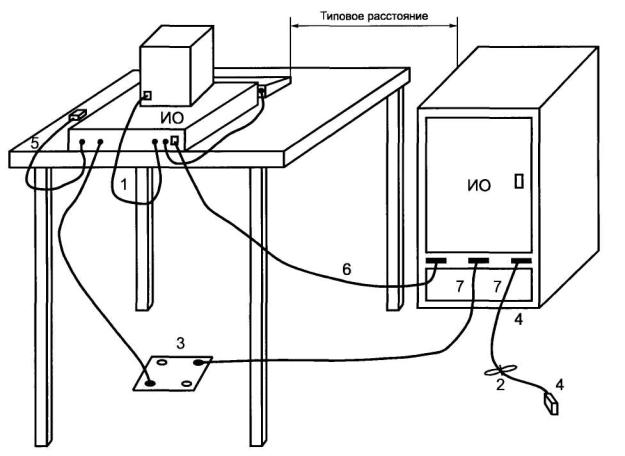
ЭС - V-образный эквивалент сети; ИО - испытуемое оборудование; ОС - оборудование, связанное с ИО; ЭПСС - эквивалент полного сопротивления сети;
1 - кабели, которые висят на расстоянии менее 40 см от горизонтальной пластины заземления и не могут быть укорочены до подходящей длины, укладывают в связки длиной от 30 до 40 см;
2 - излишнюю часть сетевого шнура укладывают в связку, расположенную в центральной части, или сетевой шнур укорачивают;
3 - ИО подсоединяют к одному из применяемых ЭС. Все применяемые ЭС и ЭПСС подключают к вертикальной пластине заземления либо к металлической стене помещения (см. рисунки 5 и 6):
а) все другие блоки системы запитывают через второй ЭС. Для подключения нескольких сетевых шнуров используют разветвитель;
б) ЭС и ЭПСС размещают на расстоянии 80 см от ИО и не менее 80 см от других блоков и металлических пластин;
в) сетевые шнуры и сигнальные кабели располагают по возможности на полную длину на расстоянии 40 см от вертикальной пластины заземления;
4 - кабели и устройства, управляемые вручную (например, клавиатуры, мыши и т. п.), располагают как при обычном применении;
5 - периферийные устройства размещают на расстоянии 10 см друг от друга и от устройства управления, за исключением монитора, который в соответствии с типовым применением располагают непосредственно на устройстве управления;
6 - сигнальный кабель, предназначенный для подключения к оборудованию, связанному с основным;
7 - концы сигнальных кабелей, которые не подключены к оборудованию, связанному с основным, нагружают при необходимости на соответствующие сопротивления нагрузки;
8 - токосъемник при использовании размещают на расстоянии 10 см от ЭПСС
Рисунок 4 - Расположение настольного оборудования при испытаниях (измерение кондуктивных ИРП)
1 - кабели, которые висят на расстоянии менее 40 см от горизонтальной пластины заземления и не могут быть укорочены до подходящей длины, укладывают в связки длиной от 30 до 40 см;
2 - излишнюю часть сетевого шнура укладывают в связку, расположенную в центральной части, или сетевой шнур укорачивают;
3 - ИО подсоединяют к одному из применяемых ЭС. Все применяемые ЭС и ЭПСС подключают к горизонтальной пластине заземления (см. рисунки 4 и 7):
а) все другие блоки системы запитывают через второй ЭС. Для нескольких сетевых шнуров используют разветвитель;
б) ЭС и ЭПСС размещают на расстоянии 80 см от ИО и не менее 80 см от других блоков и металлических пластин;
в) сетевые шнуры и сигнальные кабели располагают по возможности на полную длину на расстоянии 40 см от вертикальной пластины заземления;
4 - кабели и устройства, управляемые вручную (например, клавиатуры, мыши и т. п.), располагают как при обычном применении;
5 - периферийные устройства размещают на расстоянии 10 см друг от друга и от устройства управления, за исключением монитора, который в соответствии с типовым применением располагают непосредственно на устройстве управления;
6 - сигнальный кабель, предназначенный для подключения к оборудованию, связанному с основным;
7 - концы сигнальных кабелей, которые не подключены к оборудованию, связанному с основным, нагружают при необходимости на соответствующее сопротивление нагрузки;
8 - токосъемник при использовании размещают на расстоянии 10 см от ЭПСС
Рисунок 5 - Альтернативное расположение настольного оборудования при испытаниях (измерение кондуктивных ИРП)
Рисунок 6 - Альтернативное расположение настольного оборудования при испытаниях (измерение кондуктивных ИРП) (вид сверху)
(Измененная редакция, Изм. № 1).
1 - кабели, которые висят на расстоянии менее 40 см от горизонтальной пластины заземления и не могут быть укорочены до подходящей длины, укладывают в связки длиной от 30 до 40 см;
2 - излишнюю часть сетевого шнура укладывают в связку, расположенную в центральной части, или сетевой шнур укорачивают;
3 - ИО подсоединяют к одному из применяемых ЭС. Все применяемые ЭС и ЭПСС подключают к горизонтальной пластине заземления (см. рисунок 5):
а) все другие блоки системы запитывают через второй ЭС. Для нескольких сетевых шнуров используют разветвитель;
б) ЭС и ЭПСС размещают на расстоянии 80 см от ИО и не менее 80 см от других блоков и металлических пластин;
в) сетевые шнуры и сигнальные кабели располагают по возможности на полную длину на расстоянии 40 см от горизонтальной пластины заземления;
4 - кабели и устройства, управляемые вручную (например, клавиатуры, мыши и т. п.), располагают как при обычном применении;
5 - периферийные устройства размещают на расстоянии 10 см друг от друга и от устройства управления, за исключением монитора, который в соответствии с типовым применением располагают непосредственно на устройстве управления;
6 - сигнальный кабель, предназначенный для подключения к оборудованию, связанному с основным;
7 - концы сигнальных кабелей, которые не подключены к оборудованию, связанному с основным, нагружают при необходимости на соответствующее сопротивление нагрузки;
8 - токосъемник при использовании размещают на расстоянии 10 см от ЭПСС
Рисунок 7 - Расположение настольного оборудования при испытаниях (измерение кондуктивных ИРП на измерительной площадке)
(Измененная редакция, Изм. № 1).
1 - если кабели не могут быть укорочены до подходящей длины, то их излишние части укладывают в связки длиной от 30 до 40 см. Если сложить связку не представляется возможным, то кабели укладывают кольцами;
2 - излишнюю часть сетевого шнура укладывают в связку, расположенную в его центральной части, или сетевой шнур укорачивают;
3 - концы сигнальных кабелей, не подсоединенных к периферийным устройствам, нагружают при необходимости на соответствующее сопротивление нагрузки;
4 - ИО и кабели изолируют от горизонтальной пластины заземления с использованием прокладки толщиной не более 12 мин;
5 - ИО подсоединяют к одному из применяемых ЭС. ЭС могут быть расположены над горизонтальной пластиной заземления или непосредственно под указанной пластиной;
6 - все другое оборудование запитывают от второго ЭС или дополнительных ЭС;
7 - токосъемник при использовании размещают на расстоянии 10 см от ЭПСС (или характерного оконечного устройства)
Рисунок 8 - Расположение напольного оборудования при испытаниях (измерение кондуктивных ИРП)
1 - кабели, которые висят на расстоянии менее 40 см от горизонтальной пластины заземления и не могут быть укорочены до подходящей длины, укладывают в связки длиной от 30 до 40 см;
2 - излишнюю часть сетевого шнура укладывают в связку, расположенную в центральной части, или сетевой шнур укорачивают;
3 - ИО подключают к одному из применяемых ЭС. Применяемые ЭС подсоединяют к вертикальной пластине заземления:
а) все другое оборудование запитывают от одного или нескольких дополнительных ЭС;
б) ЭС размещают на расстоянии 80 см от ИО и не менее 80 см от других блоков и металлических пластин;
4 - ИО и кабели изолируют от горизонтальной пластины заземления;
5 - кабели и устройства, управляемые вручную (например, клавиатуры, мыши и т. п.), располагают как при обычном применении;
6 - сигнальный кабель к напольному блоку опускают перпендикулярно к пластине заземления, его излишнюю часть укладывают в связку. Кабели, которые не достигают пластины заземления, опускают до высоты разъема напольного блока или до 40 см в зависимости от того, что ниже;
7 - настольную часть оборудования располагают в соответствии с рисунками 4 или 7
Рисунок 9 - Расположение напольного и настольного оборудования при испытаниях (измерение кондуктивных ИРП)
1 - кабели, которые висят на расстоянии менее 40 см от горизонтальной пластины заземления и не могут быть укорочены до подходящей длины, укладывают в связки длиной от 30 до 40 см;
2 - концы сигнальных кабелей, не подсоединенных к периферийному устройству, нагружают при необходимости на соответствующее сопротивление нагрузки;
3 - сетевую разветвительную коробку (коробки) монтируют заподлицо с горизонтальной пластиной заземления и соединяют с ней.
Примечание - При использовании ЭС его устанавливают под горизонтальной пластиной заземления;
4 - кабели и устройства, управляемые вручную (например, клавиатуры, мыши и т. п.), располагают как при обычном применении;
5 - периферийные устройства размещают на расстоянии 10 см друг от друга и от устройства управления, за исключением монитора, который в соответствии с типовым применением располагают непосредственно на устройстве управления;
6 - сетевые кабели спускают до пола и затем прокладывают к разветвительной коробке. Удлинительные сетевые шнуры не используют
Рисунок 10 - Расположение настольного оборудования при испытаниях (измерение излучаемых ИРП)
1 - кабели, которые висят на расстоянии менее 40 см от горизонтальной пластины заземления и не могут быть укорочены до подходящей длины, укладывают в связки длиной от 30 до 40 см;
2 - излишнюю часть сетевого шнура укладывают в связку, расположенную в центральной части, или сетевой шнур укорачивают;
3 - концы сигнальных кабелей, не подсоединенных к периферийному устройству, нагружают при необходимости на соответствующее сопротивление нагрузки;
4 - ИО и кабели изолируют от горизонтальной пластины заземления;
5 - сетевую разветвительную коробку (коробки) монтируют заподлицо с горизонтальной пластиной заземления и соединяют с ней.
Примечание - При использовании ЭС его устанавливают под горизонтальной пластиной заземления;
6 - сетевые и сигнальные кабели опускают на пол. Удлинительные сетевые шнуры не используют
Рисунок 11 - Расположение напольного оборудования при испытаниях (измерение излучаемых ИРП)
1 - кабели, которые висят на расстоянии менее 40 см от горизонтальной пластины заземления и не могут быть укорочены до подходящей длины, укладывают в связки длиной от 30 до 40 см;
2 - излишние части сигнальных кабелей, не подсоединенных к периферийному устройству, укладывают в связки длиной 30-40 см в центре кабеля. Концы сигнальных кабелей, не подключенных к периферийным устройствам, нагружают при необходимости на соответствующее сопротивление нагрузки;
3 - сетевую разветвительную коробку (коробки) монтируют заподлицо с горизонтальной пластиной заземления и соединяют с ней.
Примечание - При использовании ЭС его устанавливают под горизонтальной металлической пластиной заземления;
4 - ИО и кабели изолируют от горизонтальной пластины заземления;
5 - кабели и устройства, управляемые вручную (например, клавиатуры, мыши и т. п.), располагают как при обычном применении;
6 - сигнальный кабель к напольному блоку опускают перпендикулярно пластине заземления. Кабель укорачивают до подходящей длины или его излишнюю часть укладывают в связку. Кабели, которые не достигают пластины заземления, опускают до высоты разъема напольного блока или до 40 см в зависимости от того, что ниже;
7 - сетевые и сигнальные кабели опускают до пола. Удлинительные сетевые шнуры не используют
Рисунок 12 - Расположение напольного и настольного оборудования при испытаниях (измерение излучаемых ИРП)
1 - в случае, если система состоит из типовых элементов, допускается проводить испытания только с одним вертикальным стояком;
2 - излишнюю часть сетевого шнура укладывают в связку, расположенную в центральной части, или шнур укорачивают;
3 - ИО и кабели изолируют от горизонтальной заземляющей пластины. Расположение элементов оборудования при испытаниях должно соответствовать требованиям технической документации на ИО и типовым условиям его применения;
4 - испытуемый сетевой шнур подключают к одному из применяемых ЭС. Все другие сетевые шнуры системы запитывают через другие ЭС, при этом используют разветвитель с большим количеством зажимов;
5 - при измерениях кондуктивных ИРП V-образные эквиваленты сети располагают на пластине заземления или непосредственно под ней и соединяют с пластиной заземления. При измерениях излучаемых ИРП V-образные эквиваленты сети при их использовании располагают под пластиной заземления. Штепсельные разъемы V-образных эквивалентов сети должны быть заподлицо с пластиной заземления;
6 - сигнальные кабели для подключения удаленного периферийного или вспомогательного оборудования, к концам которых подключают при необходимости соответствующие нагрузки;
7 - при расположении оборудования для испытаний учитывают практический опыт его установки на месте эксплуатации
Рисунок 13 - Расположение напольного оборудования с воздушными кабелями при испытаниях (вид сбоку)
1 - в случае, если система состоит из типовых элементов, допускается проводить испытания только с одним вертикальным стояком;
2 - излишнюю часть сетевого шнура укладывают в связку, расположенную в центральной части, или шнур укорачивают;
3 - ИО и кабели изолируют от горизонтальной заземляющей пластины. Расположение элементов оборудования при испытаниях должно соответствовать требованиям технической документации на ИО и типовым условиям его применения;
4 - испытуемый сетевой шнур подключают к одному из применяемых ЭС. Все другие сетевые шнуры системы запитывают через другие ЭС, при этом используют разветвитель с большим количеством зажимов;
5 - при измерениях кондуктивных ИРП V-образные эквиваленты сети располагают на пластине заземления или непосредственно под ней и соединяют с пластиной заземления. При измерениях излучаемых ИРП V-образные эквиваленты сети при их использовании располагают под пластиной заземления. Штепсельные разъемы V-образных эквивалентов сети должны быть заподлицо с пластиной заземления;
6 - при расположении оборудования для испытаний учитывают практический опыт его установки на месте эксплуатации
Рисунок 14 - Расположение напольного оборудования с воздушными кабелями при испытаниях (вид сверху)
Для уменьшения времени испытаний ОИТ при измерениях кондуктивных ИРП на сетевых портах и портах связи в полосе частот от 0,15 до 30 МГц используют измерители ИРП с пиковым детектором. При их использовании окончательное решение относительно результатов испытаний может быть принято с применением приведенного ниже алгоритма.
Анализаторы спектра или измерительные приемники, имеющие высокочастотный преселектор, которые автоматически следят за частотой и позволяют проводить сканирование по частоте, должны иметь достаточное время обработки на каждой частоте, чтобы избежать ошибок при измерениях ИРП. Кроме того, для исключения влияния на результаты измерений ширина полосы видеотракта в анализаторе спектра должна быть не менее ширины полосы пропускания измерителя ИРП.

ПК - пиковые значения; КВП - квазипиковые значения; СР - средние значения
Рисунок А.1 - Алгоритм принятия решения о результатах испытаний ИО при измерениях пиковых значений ИРП
Испытательные установки для измерений общего несимметричного напряжения и тока ИРП находятся на рассмотрении.
(Измененная редакция, Изм. № 1).

Рисунок В.1 - Эквивалент полного сопротивления сети для применения с одной неэкранированной симметричной парой

Рисунок В.2 - Эквивалент полного сопротивления сети с большим затуханием продольного перехода для применения с двумя неэкранированными симметричными парами

Рисунок В.3 - Эквивалент полного сопротивления сети для применения с двумя неэкранированными симметричными парами (вариант 1)

Рисунок В.4 - Эквивалент полного сопротивления сети для применения с двумя неэкранированными симметричными парами (вариант 2)
В настоящем стандарте не регламентированы уровни симметричных напряжений и токов полезных сигналов. Тем не менее максимальные допустимые уровни симметричных напряжений и токов сигналов, которые могут присутствовать на портах связи ОИТ, зависят (и определяются) от электрической симметрии (затухания продольного перехода) портов связи, кабелей или сетей. Полезные сигналы ОИТ не должны появляться в виде недопустимых ИРП на общем несимметричном сопротивлении относительно земли.
Затухание продольного перехода порта связи, кабеля или сети приводит к тому, что определенная часть симметричного напряжения сигналов на указанном порте, в кабеле или сети преобразуется в общие несимметричные напряжения и токи ИРП, для которых установлены нормы в настоящем стандарте. Указанные ИРП являются источником радиопомех, излучаемых в окружающее пространство, и должны быть ограничены до минимума. Общие несимметричные напряжения и токи ИРП, возникающие на номинально симметричном порте связи или в линии передачи, например, в скрученной паре проводов, должны контролироваться и ограничиваться вне зависимости от проведения мероприятий по экранированию порта или линии передачи. Если применяется экранированная среда, то недостатки самого экрана и соединителей экрана могут привести к значительным электрическим неоднородностям, при этом часть общих несимметричных напряжений и токов ИРП, создаваемых в среде экрана, появляются вне экрана.
Допустимые значения симметрии и затухания продольного перехода, приводимые в различной технической документации, относящейся к сетям связи, основаны на характеристиках качества передачи полезного сигнала и уровнях перекрестных помех в сетях и необязательно относятся к контролю за несимметричными напряжениями и токами ИРП, регламентируемыми в настоящем стандарте.
Чтобы гарантировать, что технические требования, предъявляемые к сетям связи, не приводят к созданию недопустимых электромагнитных помех, необходимо требования электромагнитной совместимости к некоторым критическим параметрам рассматривать при разработке стандартов для сетей связи.
Для обеспечения требований электромагнитной совместимости сетей связи, использующих в качестве среды распространения скрученные пары, наиболее важными считают следующие параметры:
- уровни симметричных напряжений и токов полезных электрических сигналов;
- спектральные характеристики полезных сигналов;
- проект протокола полезных сигналов;
- электрическая симметрия и затухание продольного перехода среды передачи полезных сигналов по месту установки оборудования;
- электрическая симметрия и затухание продольного перехода портов связи в оборудовании, которое будет подключаться к средам передачи;
- ожидаемые полные сопротивления (симметричное и общее несимметричное) среды, в которой будут передаваться полезные сигналы;
- полные сопротивления (симметричное и общее несимметричное) на портах связи оборудования;
- ожидаемая эффективность экранирования соединителей и линий передачи, если экранирование предусмотрено.
Вопрос о влиянии уровней симметричных напряжений полезных сигналов на результирующие несимметричные напряжения ИРП нуждается в некотором уточнении. При отсутствии нелинейностей общие несимметричные напряжения и токи ИРП, возникающие в результате преобразования симметричных напряжений полезных сигналов из-за недостаточной симметрии портов связи или линий передачи, пропорциональны уровням полезных сигналов. Спектральные характеристики и протоколы полезных сигналов также оказывают значительное влияние на уровень общих несимметричных напряжений ИРП, появляющихся в средах передачи. При определенной скорости передачи данных менее вероятно, чтобы полезный сигнал высокого уровня с линейным кодированием, разработанным для передачи в широкой полосе частот, создавал более неприемлемые общие несимметричные напряжения ИРП, чем сигнал с линейным кодированием, мощность которого концентрируется в узкой спектральной полосе или полосах частот.
Выбор протоколов сигналов может существенно повлиять на их спектральные характеристики. Форматы разделителей начала и конца комбинации, разрядов кадровой синхронизации, комбинации разрядов символов и, в конечном счете, схема протоколов управления доступом в значительной степени влияют на концентрацию мощности полезных сигналов в узких спектральных полосах при различных рабочих состояниях сетей связи (периоды высокой нагрузки, периоды низкой нагрузки, периоды молчания). Если уровни общих несимметричных напряжений ИРП, создаваемые полезными сигналами в сети, должны быть минимизированы, необходимо избегать создания форм сигналов с высокой частотой повторения, сохраняемой в течение продолжительных периодов времени.
Оценка уровней общих несимметричных напряжений и токов ИРП, создаваемых за счет преобразования симметричных напряжений полезных сигналов в линии передачи, возможна, если известны соотношения между важнейшими электрическими и спектральными параметрами. В частности, можно оценить максимальные допустимые уровни симметричных напряжений и токов полезных сигналов, чтобы ИРП, создаваемые этими сигналами, не превышали нормы общего несимметричного напряжения и тока ИРП.
Рассмотрим соединенные вместе в локальной сети номинально симметричный порт связи и номинально симметрированную неэкранированную скрученную пару, нагруженную на ее характеристическое полное сопротивление. Предположим, что один из этих элементов имеет значительно более низкое затухание продольного перехода ЗПП. Уровни общего несимметричного напряжения и тока ИРП, создаваемых в результате преобразования симметричного напряжения полезного сигнала, могут быть приближенно оценены через ЗПП с помощью выражений:
- при оценке общего несимметричного тока IОН, вызываемого симметричным напряжением сигнала Uc,
; (Г.1)
- при оценке общего несимметричного напряжения UОH, вызываемого симметричным напряжением сигнала Uc,
, (Г.2)
где Z0 - полное сопротивление на порте полезного сигнала;
ZH - полное общее несимметричное сопротивление для одного из двух элементов, подключенных к локальной сети в приведенном выше примере, имеющего меньшее значение затухания продольного перехода;
ZB - полное общее несимметричное сопротивление для второго из двух элементов, подключенных к локальной сети в приведенном выше примере, имеющего большее значение затухания продольного перехода.
В приведенных выше выражениях предполагается, что оба элемента локальной сети имеют полное сопротивление, равное Z0. Устанавливая в этих выражениях уровни общего несимметричного напряжения и тока, равными нормам ИРП на портах связи, можно оценить максимальные допустимые уровни симметричных напряжений полезных сигналов.
При использовании выражений (Г.1), (Г.2) следует помнить, что нормы общего несимметричного напряжения и тока ИРП установлены в настоящем стандарте применительно к определенной ширине полосы пропускания измерителя ИРП (например, 9 кГц) и использованию определенного типа детектора (квазипикового или средних значений). Поэтому при заданных величинах затухания продольного перехода максимальные допустимые уровни симметричных напряжений сигналов, оцениваемые с помощью приведенных выше выражений, определяют для той же ширины полосы пропускания измерителя ИРП при раздельных измерениях с использованием тех же типов детекторов.
[1] ИСО/МЭК 11801:1995 Информационные технологии. Общая проводка кабелей в помещениях заказчика
[2] Рекомендация G. 117 МСЭ-Т: 1996, Вопросы, касающиеся несимметрии линий передачи относительно земли
[3] Рекомендация 0.9 МСЭ-Т: 1988, Схемы измерений для определения степени несимметрии относительно земли
Ключевые слова: электромагнитная совместимость; оборудование информационных технологий, оборудование связи, оборудование обработки данных, персональные компьютеры и связанное с ними оборудование, индустриальные радиопомехи; нормы, методы испытаний
|
_________________________________________________________ |