ГОСТ 30067-93
МЕЖГОСУДАРСТВЕННЫЙ СТАНДАРТ
ЭКСКАВАТОРЫ ОДНОКОВШОВЫЕ УНИВЕРСАЛЬНЫЕ ПОЛНОПОВОРОТНЫЕ
ОБЩИЕ ТЕХНИЧЕСКИЕ УСЛОВИЯ
МЕЖГОСУДАРСТВЕННЫЙ СОВЕТ
ПО СТАНДАРТИЗАЦИИ, МЕТРОЛОГИИ И СЕРТИФИКАЦИИ
Минск
Предисловие
1 РАЗРАБОТАН Техническим комитетом по стандартизации ТК 295 «Машины землеройные»
2 ВНЕСЕН Госстандартом России
3 ПРИНЯТ Межгосударственным Советом по стандартизации, метрологии и сертификации (протокол № 4-93 от 21.10.93)
За принятие проголосовали:
|
Наименование государства |
Наименование национального органа стандартизации |
|
Республика Азербайджан |
Азгосстандарт |
|
Республика Армения |
Армгосстандарт |
|
Республика Беларусь |
Белстандарт |
|
Республика Казахстан |
Казгосстандарт |
|
Республика Кыргызстан |
Кыргызстандарт |
|
Республика Молдова |
Молдовастандарт |
|
Российская Федерация |
Госстандарт России |
|
Таджикистан |
Таджикгосстандарт |
|
Республика Туркменистан |
Туркменгосстандарт |
|
Республика Узбекистан |
Узгосстандарт |
|
Украина |
Госстандарт Украины |
4 Постановлением Комитета Российской Федерации по стандартизации, метрологии и сертификации от 11.04.95 № 204 межгосударственный стандарт ГОСТ 30067-93 введен в действие непосредственно в качестве государственного стандарта Российской Федерации с 1 января 1996 г.
5 ВВЕДЕН ВЗАМЕН ГОСТ 26959-86, ГОСТ 22894-77, 17343-83, ГОСТ 4.111-84, ГОСТ 12910-79
СОДЕРЖАНИЕ
8 Транспортирование и хранение
|
Классификация и методика определения категории грунтов |
|
|
Термины, применяемые в настоящем стандарте, и их пояснения |
|
|
Номенклатура технических показателей экскаваторов одноковшовых универсальных, включаемых в технические условия |
|
|
Индексация полноповоротных одноковшовых универсальных экскаваторов |
|
|
Методика определения давления на опорную поверхность для гусеничных экскаваторов |
|
|
Методика проверки технически достижимых продолжительности рабочего цикла, максимальной производительности и минимального удельного расхода топлива |
|
|
Хронометражная ведомость наблюдений за работой экскаватора |
|
|
Хронометражная ведомость наблюдений за техническим обслуживанием |
|
|
Сводная ведомость хронометражных наблюдений за работой экскаватора |
МЕЖГОСУДАРСТВЕННЫЙ СТАНДАРТ
ЭКСКАВАТОРЫ ОДНОКОВШОВЫЕ УНИВЕРСАЛЬНЫЕ ПОЛНОПОВОРОТНЫЕ
Общие технические условия
Universal single-bucket full turning excavator. General specifications
Дата введения 1996-01-01
Настоящий стандарт распространяется на одноковшовые универсальные полноповоротные экскаваторы массой до 71 т (далее - экскаваторы), предназначенные в основном для разработки немерзлых грунтов категории I-IV в соответствии с приложением А, а также предварительно разрыхленных скальных и мерзлых грунтов в диапазоне температур от минус 40 °С до плюс 40 °С (для других диапазонов температур экскаваторы изготавливают по специальным требованиям) и устанавливают требования к конструкции, а также к приемке и методам испытаний. Конкретные условия работы экскаваторов указывают в технических условиях на каждую модель.
Стандарт не распространяется на экскаваторы специального назначения (железнодорожные, подземные, туннельные, плавучие и другие), экскаваторы с телескопическим рабочим оборудованием, а также на экскаваторы с прочим рабочим оборудованием, которые в связи с характером работы должны отвечать стандартам и предписаниям организаций технического надзора на экскаваторы на базе тракторов, тягачей, автомобилей и спецшасси автомобильного типа.
Требования 5.1.3; 5.4; 7.1; 7.3.4; 7.3.8-7.3.12; 7.3.14; приложения В (в части подпунктов, обозначенных - *); 5.2; 5.3; 5.6, приложения Г настоящего стандарта являются обязательными. Другие требования настоящего стандарта являются рекомендуемыми.
В настоящем стандарте использованы ссылки на следующие стандарты:
|
ГОСТ 2.601-68 |
ЕСКД. Эксплуатационные документы |
|
ГОСТ 2.602-68 |
ЕСКД. Ремонтные документы |
|
ГСИ. Метрологическая аттестация средств измерений |
|
|
ГОСТ 8.513-84 |
ГСИ. Поверка средств измерений. Организация и порядок проведения |
|
ССБТ. Шум. Общие требования безопасности |
|
|
ССБТ. Пожарная безопасность. Общие требования |
|
|
ССБТ. Вибрационная безопасность. Общие требования |
|
|
ССБТ. Шум. Определение шумовых характеристик источников шума в свободном звуковом поле над звукоотражающей плоскостью. Технический метод |
|
|
ССБТ. Изделия электротехнические. Общие требования безопасности |
|
|
ГОСТ 12.2.011-75 |
ССБТ. Машины строительные и дорожные. Общие требования безопасности |
|
ССБТ. Цвета сигнальные и знаки безопасности |
|
|
ГОСТ 17.2.2.01-84 |
Охрана природы. Атмосфера. Дизели автомобильные. Дымность отработавших газов. Нормы и методы измерений |
|
ГОСТ 17.2.2.02-86 |
Охрана природы. Атмосфера. Нормы и методы измерения дымности отработавших газов тракторных и комбайновых дизелей |
|
Охрана природы. Атмосфера. Нормы и методы измерения выбросов вредных веществ с отработавшими газами тракторных и комбайновых дизелей |
|
|
Таблички для машин и приборов. Технические требования |
|
|
ГОСТ 14192-77 |
Маркировка грузов |
|
Машины, приборы и другие технические изделия. Исполнения для различных климатических районов. Категории, условия эксплуатации, хранения и транспортирования в части воздействия климатических факторов внешней среды |
|
|
ГОСТ 16812-82 |
Радиопомехи индустриальные. Методы испытаний источников индустриальных радиопомех |
|
Экскаваторы одноковшовые универсальные. Методы определения вместимости ковша |
|
|
ГОСТ 17822-91 |
Совместимость технических средств электромагнитная. Радиопомехи индустриальные от устройств с двигателями внутреннего сгорания. Нормы и методы испытаний |
|
ГОСТ 19853-74 |
Пресс-масленки. Технические условия |
|
Гидроаппаратура. Правила приемки и методы испытаний |
|
|
Машины землеройные. Метод испытаний по определению времени перемещения рабочих органов |
|
|
Машины землеройные. Консервация и хранение |
|
|
Машины землеройные. Приборы для обслуживания |
|
|
Машины землеройные. Методы определения размеров машин с рабочим оборудованием |
|
|
Машины землеройные. Размеры наливных горловин топливных баков |
|
|
Акустика. Измерение воздушного шума, создаваемого землеройными машинами на рабочем месте оператора. Испытания в стационарном режиме |
|
|
Акустика. Измерение воздушного шума, излучаемого землеройными машинами. Метод проверки соответствия нормативным требованиям по внешнему шуму. Испытания в стационарном режиме |
|
|
Машины землеройные. Минимальные размеры смотровых отверстий |
|
|
Машины землеройные. Методы измерения масс машин в целом, рабочего оборудования и составных частей |
|
|
Машины землеройные. Определение скорости движения |
|
|
Машины землеройные. Приборы для эксплуатации |
|
|
ГОСТ 28983-91 |
Машины землеройные. Инструмент для технического обслуживания. Часть I. Инструмент для ухода и регулировки |
|
ГОСТ 29292-92 |
Машины землеройные. Бортовые звуковые сигнализаторы переднего и заднего хода. Методы акустических испытаний |
|
ОСТ 37.001.234-81 |
Охрана природы. Атмосфера. Дизели автомобильные. Выбросы вредных веществ с отработавшими газами. Нормы и методы измерений |
Термины и определения приведены в приложении Б.
4.1 В зависимости от главного параметра (эксплуатационной массы с основным рабочим оборудованием по приложению Б) экскаваторы подразделяют на размерные группы, которые приведены в таблице.
Ряд одноковшовых универсальных экскаваторов
|
Размерная группа |
Масса экскаватора, т |
|
|
Свыше |
До |
|
|
1 |
- |
6,3 |
|
2 |
6,3 |
10 |
|
3 |
10 |
18 |
|
4 |
18 |
32 |
|
5 |
32 |
50 |
|
6 |
50 |
71 |
4.2 В зависимости от ходового устройства экскаваторы подразделяют на следующие типы: гусеничные, гусеничные с увеличенной опорной поверхностью гусениц и колесные.
4.3 В зависимости от исполнения рабочего оборудовании экскаваторы делят на виды:
- экскаваторы с гибкой подвеской рабочего оборудования;
- экскаваторы с жесткой подвеской рабочего оборудования.
5.1 Характеристики
5.1.1 Экскаваторы следует изготавливать в соответствии с обязательными требованиями настоящего стандарта и технических условий на экскаваторы конкретных моделей, а также по рабочим чертежам, разработанным в установленном порядке.
В технических условиях на экскаваторы конкретных моделей приводят значения технических показателей качества, номенклатуру которых устанавливают по согласованию с потребителем с учетом приложения В.
5.1.2 Экскаваторы изготавливают в климатическом исполнении и категории размещения по ГОСТ 15150 по согласованию с потребителем. Требования к системам пуска двигателя при низких температурах устанавливают в технических условиях на конкретные модели экскаваторов.
5.1.3 Конструкция экскаватора должна обеспечивать:
- возможность использования не менее 3 видов рабочего оборудования (в т.ч. основного по приложению Б) с различными сменными рабочими органами (например, ковши различного назначения, рыхлитель, отвал, захват и др.);
- движение элементов рабочего оборудования в отдельности и возможное совмещение рабочих движений;
- устойчивость при работе, в том числе с наклоном в любом направлении на угол не менее 0,087 рад (5°) к горизонту с основным рабочим оборудованием *;
- устойчивость при передвижении по твердой сухой поверхности вдоль косогора (конкретные значения поперечного уклона указывают в технических условиях)*;
- стопорение поворотной части относительно неповоротной в транспортном положении *;
- установку буксировочного приспособления и буксирование со скоростью до 40 км/ч (для пневмоколесных экскаваторов массой до 20 тн)*;
- управление колесными тормозами и стоп-сигналами экскаватора от соответствующих систем тягача (при передвижении на буксире для пневмоколесных экскаваторов с электрооборудованием напряжения 12 В)*;
- освещение рабочей зоны собственными источниками света *;
- освещение приборов па пульте управления *.
5.1.4 Топливные баки на экскаваторе должны иметь вместимость, обеспечивающую не менее 9 моточасов непрерывной работы двигателя.
5.1.5 Минимальные размеры смотровых отверстий - по ГОСТ 27921.
5.1.6 Размеры наливных горловин топливных баков - по ГОСТ 27533.
5.1.7 Смазочные масленки ниппельного типа - по ГОСТ 19853.
5.1.8 Приборы для эксплуатации - по ГОСТ 28034.
5.1.9 Конструкция экскаваторов должна обеспечивать безопасность их эксплуатации, технического обслуживания и хранения при соблюдении обслуживающим персоналом требовании эксплуатационной документации.
5.2 Требования эргономики и безопасности
5.2.1 Требования безопасности, предъявляемые к электрооборудованию, - по ГОСТ 12.2.007.0.
5.2.2 Цвета сигнальные и знаки безопасности - по ГОСТ 12.4.026.
5.2.3 Требования эргономики и безопасности - по ГОСТ 12.2.011.
5.2.4 Уровень радиопомех - по ГОСТ 17822.
5.2.5 Требования пожарной безопасности - по ГОСТ 12.1.004.
5.2.6 Шумовые и вибрационные характеристики экскаваторов со специфическими (например, гидромолот) сменными видами рабочего оборудования - по техническим условиям на конкретные модели, разработанные в установленном порядке.
5.3 Требования защиты окружающей среды
5.3.1 Конструкция экскаватора должна обеспечивать возможность заправки топливом и замену смазочных материалов и рабочей жидкости при техническом обслуживании без загрязнения окружающей среды.
5.3.2 При установке на экскаваторах тракторных и автомобильных дизелей и их модификаций дымность отработавших газов:
- тракторных дизелей - по ГОСТ 17.2.2.02;
- автомобильных дизелей - по ГОСТ 17.2.2.01 (принимают по документации предприятия-изготовителя двигателей).
5.3.3 Выбросы вредных веществ с отработавшими газами из системы выпуска двигателей:
- тракторных двигателей и их модификаций - по ГОСТ 17.2.2.05;
- автомобильных дизелей и их модификаций - по ОСТ 37.001.234 (принимают по документации предприятия-изготовителя двигателей).
5.3.4 Среднее давление на опорную поверхность гусеничных экскаваторов не должно быть больше следующих значений для экскаваторов массой:
до 18 т - 50 кПа (0,5 кгс/см2);
до 25 т - 65 кПа (0,65 кгс/см2);
до 32 т - 90 кПа (0,9 кгс/см2);
до 50 т - 120 кПа (1,2 кгс/см2);
св. 50 т - 220 кПа (2,2 кгс/см2);
5.4 Требования к приводу и системам управления
Конструкция привода и систем управления должна обеспечивать:
- герметичность элементов систем гидропривода - по ГОСТ 20245. Вытекание рабочей жидкости через неподвижные и поворотные сопряжения не допускается. Вынос масла в подвижных соединениях (на поверхности штоков гидроцилиндров, во вращающихся соединениях и т.п.) при работе не должен превышать норм, установленных стандартами и техническими условиями на элементы гидропривода *;
- предотвращение вытекания рабочей жидкости из гидробака при замене рабочего оборудования и техническом обслуживании фильтров;
- ограничение скорости опускания стрелы *;
- предотвращение опускания под действием силы тяжести стрелы или рукояти при включении гидроцилиндров на подъем этих элементов рабочего оборудования *;
- возможность свободного перемещения стрелы и поворота платформы при буксировке экскаватора типа ЭП (при буксировке с опиранием ковша на буксирующую машину)*.
5.5 Комплектность
5.5.1 В комплект экскаватора, как правило, входят:
рабочее оборудование и рабочие органы согласно договору на поставку; запасные части, инструмент, принадлежности и материалы согласно ведомости ЗИП - по ГОСТ 2.601;
вентилятор;
переносная электрическая лампа;
огнетушитель;
стеклоочиститель с электрическим или другим механизированным приводом;
устройство для крепления запасного колеса на пневмоколесном экскаваторе в транспортном положении;
запасное колесо и буксировочное устройство для экскаваторов типа ЭП.
К экскаватору, как правило, прикладывают:
каталог деталей и сборочных единиц по ГОСТ 2.602;
ремонтная документация по ГОСТ 2.602;
эксплуатационная документация в соответствии с требованиями ГОСТ 2.601 (формуляр, ведомость ЗИП, техническое описание и инструкция по эксплуатации).
Инструкция по эксплуатации должна содержать схемы:
размещения и крепления гусеничных экскаваторов 3-5-й размерных групп на прицепе тяжеловоза и буксировки тягачом пневмоколесного экскаватора типа ЭП;
строповки экскаватора при подъеме краном;
размещения на железнодорожной платформе.
Конкретный перечень комплектации определяется согласно договору на поставку.
5.6.1 На каждом экскаваторе должна быть прикреплена маркировочная табличка, содержащая следующие данные:
наименование предприятия изготовителя и (или) его товарный знак;
индекс экскаватора (по приложению Г);
номер по системе нумерации предприятия-изготовителя;
обозначение нормативного документа, по которому изготовлен экскаватор.
5.6.2 На каждое грузовое место наносят транспортную маркировку по ГОСТ 14192.
5.7 Упаковка
Требования к упаковке устанавливают в технических условиях на экскаваторы конкретных моделей в соответствии с ГОСТ 27252.
6.1 Для проверки качества изготовления экскаваторов серийного производства проводят приемо-сдаточные и периодические испытания.
6.2 Приемо-сдаточные испытания экскаватора проводят по техническим условиям на конкретные модели, разработанные с учетом настоящего стандарта.
6.2.1 Приемо-сдаточные испытания, как правило, включают:
визуальный контроль, при котором проверяют комплектность экскаватора, внешний вид (правильность сборки, отсутствие видимых повреждении агрегатов, сборочных единиц и деталей, состояние покрытий, окраски, сварных швов и крепежных соединений), заправку экскаватора топливом, рабочими и охлаждающими жидкостями, смазочными материалами в необходимых количествах, наличие пломб и маркировки;
проверку функционирования механизмов и устройств в отдельности и машины в целом на холостом ходу, движение элементов рабочего оборудования и возможное совмещение операций, вращение поворотной платформы, передвижение машины вперед и назад, развороты, торможение;
проверку работы экскаватора под нагрузкой, при которой контролируют работу механизмов, систем силового привода и управления (эффективность работы стояночного и основного тормозов, отсутствие утечки рабочей жидкости из гидросистемы, отсутствие самопроизвольного опускания (просадки) рабочего оборудовании под действием силы тяжести при включении гидроцилиндров (лебедок) на подъем), давление в гидросистеме на соответствие нормам, установленным в конструкторской и эксплуатационной документации.
6.3 Периодические испытания проводят по программам и методикам, разработанным с учетом требований настоящего стандарта и нормативно-технической документации.
6.3.1 При периодических испытаниях проверяют:
габаритные размеры экскаватора в транспортном положении;
рабочие параметры (например, глубину, радиус копания обратной лопаты и драглайна, высоту копания и радиус выгрузки прямой лопаты);
вместимость ковшей;
эксплуатационную массу экскаватора с одним из видов рабочего оборудования и массу испытуемого сменного рабочего оборудования;
продолжительность рабочего цикла и производительность;
расход топлива (электроэнергии);
оперативную трудоемкость ежесменного технического обслуживания (ЕО) и оперативную трудоемкость технического обслуживания (ТО-1);
выполнение требований безопасности, эргономики и экологии.
6.3.2 Устойчивость, частоту вращения поворотной платформы, проходимость и маневренность экскаватора (углы въезда и съезда, клиренс, минимальный радиус поворота для пневмоколесных экскаваторов), обзорность и освещенность, а также скорость передвижения при периодических испытаниях проверяют в случае, если при серийном производстве проводилось усовершенствование соответствующих механизмов систем.
6.3.3 Проверку уровня радиопомех проводят в случае, если при приемочных испытаниях их значение превышало 1/3 допустимых значений.
7.1. Требования к средствам испытаний *
7.1.1 Перечень средств испытаний должен быть приведен в программе и методике испытаний конкретной модели экскаватора.
7.1.2 Стандартизованные средства измерений должны быть поверены в соответствии с требованиями ГОСТ 8.513, а нестандартизованные - аттестованы в соответствии с требованиями ГОСТ 8.326.
7.1.3 Погрешности применяемых средств измерений должны быть не более:
±2 % - при измерении массы;
±0,5 мм - при измерении линейных размеров до 1 м;
±5 мм - при измерении линейных размеров до 10 м;
±3° - при измерении угловых размеров;
±1 °С - при измерении температуры окружающей среды;
±5 % -при измерении освещенности;
±5 % - при измерении эргономических показателей;
от 1 до 2,5 % - при измерении частоты вращения.
7.1.4 Для измерения неоговоренных выше физических величин допускается использовать другие средства измерений, которые соответствуют классам точности от 0,6 до 2,5.
7.2 Подготовка к испытаниям
7.2.1 Для проведения приемо-сдаточных испытаний подготавливают документацию в объеме, определяемом предприятием-изготовителем.
7.2.2 Для периодических испытаний, как правило, подготавливают:
программу и методику периодических испытаний;
акт приемо-сдаточных испытаний;
комплект сборочных чертежей серийного производства;
материалы предшествующих периодических испытаний;
материалы основных конструктивных и технологических изменений, внесенных в документацию в период между предшествующими и настоящими периодическими испытаниями;
инструкцию по эксплуатации и формуляр или паспорт;
нормативно-техническую документацию на серийно выпускаемые экскаваторы.
7.3 Проведение испытаний
7.3.1 Испытания экскаватора проводят как в лабораторных условиях, так и в условиях эксплуатации или на специализированных полигонах.
7.3.2 Габаритные размеры экскаватора и линейные параметры рабочего оборудования определяют в соответствии с ГОСТ 27256.
7.3.3 Проверку эксплуатационной массы экскаватора и его составных частей проводят в соответствии с ГОСТ 27922.
7.3.4 Давление на опорную поверхность определяют как отношение эксплуатационной массы экскаватора к площади опорной поверхности его гусеничного хода в соответствии с приложением Д *.
7.3.5 Вместимость ковша - по ГОСТ 17257.
7.3.6 Определение времени и скорости перемещения рабочих органов - по ГОСТ 27251.
7.3.7 Определение скорости движения экскаваторов - по ГОСТ 27927.
7.3.8 Испытание звуковой сигнализации - по ГОСТ 29292 *.
7.3.9 Дымность отработавших газов тракторных и автомобильных двигателей и их модификаций, а также выбросы вредных веществ с отработавшими газами из системы выпуска двигателей принимают по документации на двигатели *.
7.3.10 Проверку уровня радиопомех проводят по ГОСТ 17822 *.
7.3.11 Испытания экскаваторов под нагрузкой с рабочим оборудованием и рабочими органами из числа входящих в комплект экскаватора проводят при выполнении наиболее характерных видов работ. При этом проводят хронометраж и учет наработки экскаватора, фиксируются неисправности и их причины *.
7.3.12 Проверку технически достижимых: продолжительности рабочего цикла, максимальной производительности и минимального удельного расхода топлива проводят в соответствии с приложением *.
7.3.13 Оперативную трудоемкость плановых технических обслуживаний (ЕО, TO-1) проверяют на основании данных хронометража при имитации выполнения всех операций, предусмотренных инструкцией по эксплуатации экскаватора. Повторность выполнения операций - не менее 3 раз.
7.3.14 Проверку выполнения требований безопасности и эргономики проводят в соответствии с ГОСТ 12.2.011, ГОСТ 12.1.003, ГОСТ 12.1.012, ГОСТ 27534, ГОСТ 27717* и нормативной документацией предприятия-изготовителя экскаватора.
7.3.15 Сроки проведения, объем периодических испытаний, а также неустановленные методы испытаний и методы испытаний неоговоренных показателей устанавливают предприятия-изготовители.
7.3.16 Результаты приемосдаточных и периодических испытаний оформляют протоколом.
7.3.17 Результаты хронометрических наблюдений заносят в ведомости (приложения К, Л, М).
8.1 Группа условий хранения и транспортирования экскаваторов - 7 (Ж1) по ГОСТ 15150.
8.2 Экскаваторы при транспортировании с основными видами рабочего оборудования следует вписывать в установленный габарит погрузки в соответствии с «Техническими условиями погрузки и крепления грузов» Министерства путей сообщения, в том числе:
экскаваторы 1-2-х размерных групп и гусеничные экскаваторы 3-4-х размерных групп без разборки;
экскаваторы с увеличенной опорной поверхностью и колесные экскаваторы, а также гусеничные экскаваторы 5-й размерной группы - с частичной разборкой (кабина, рабочее оборудование и гусеничные ленты);
экскаваторы 6-й размерной группы - с разборкой на основные составные части.
8.3 Габариты колесных экскаваторов должны допускать перегон собственным ходом (без разборки) по дорогам общей сети страны под мостами и другими наддорожными сооружениями в соответствии с «Правилами дорожного движения», утвержденными МВД.
9.1 Эксплуатацию экскаваторов следует осуществлять в соответствии с настоящим стандартом, техническими условиями и эксплуатационном документацией на конкретные модели, утвержденными в установленном порядке.
9.2 К эксплуатации допускаются только полностью укомплектованные и технически исправные машины.
9.3 К управлению экскаваторами допускаются лица, имеющие удостоверение на право управления экскаваторами данной модели.
10.1 Изготовитель гарантирует соответствие экскаватора требованиям настоящего стандарта и техническим условиям при соблюдении потребителем условий эксплуатации, хранения и монтажа, установленных настоящим стандартом и техническими условиями.
Остальные требования к конкретной продукции должны быть установлены разработчиком в технических условиях, согласованных в установленном порядке.
(рекомендуемое)
КЛАССИФИКАЦИЯ И МЕТОДИКА ОПРЕДЕЛЕНИЯ
КАТЕГОРИИ ГРУНТОВ
Классификация немерзлых и мерзлых грунтов в зависимости от числа ударов динамического плотномера приведена в таблице.
|
Категория грунтов |
Немерзлые грунты |
Мерзлые грунты |
||||||
|
I |
II |
III |
IV |
V |
VI |
VII |
VIII |
|
|
Среднее по глубине копания число ударов Сср динамического плотномера (см. чертеж) |
1-4 |
5-8 |
9-16 |
17-35 |
36-70 |
71-140 |
141-280 |
281-560 |
Среднее по глубине копания число ударов Сср рассчитывают по формуле

где С1 - среднее число ударов на поверхности грунта;
С2 - среднее число ударов на средней глубине промерзшего слоя грунта (или слоя немерзлого грунта, плотность которого отличается от плотности нижележащего слоя грунта);
С3 - среднее число ударов на границе промерзшего и немерзлого грунта, плотность которых отличается друг от друга;
С4 - среднее число ударов на дне траншеи;
h1 - глубина промерзания грунта (или толщина немерзлого грунта, плотность которого отличается от плотности нижележащего слоя грунта), м;
h2 - толщина немерзлого слоя грунта (или толщина немерзлого слоя грунта, плотность которого отличается от плотности вышележащего слоя грунта), м;
Н - глубина копания, м.
Примечание. Среднее число ударов динамического плотномера C1-С2 следует определить как среднеарифметические значения измерений, выполняемых не менее чем в трех точках на поверхности грунта, на равной глубине и на дне траншеи.
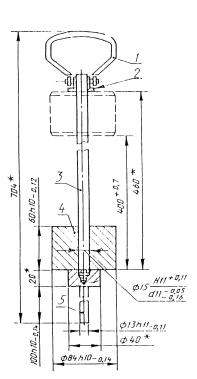
Динамический плотномер

___________
* Размеры для справок
1 - ручка; 2 - втулка в сборе; 3 - шток; 4 - груз; 5 - наконечник
(рекомендуемое)
Термины, применяемые в настоящем стандарте, и их пояснения
|
Термин |
Пояснение |
|
Эксплуатационная масса экскаватора |
Масса готового к функционированию экскаватора с полной заправкой рабочей жидкостью, топливом и смазочными материалами, с инструментом и принадлежностями в соответствии с инструкцией предприятия-изготовителя и массой оператора (75±3) кг по ГОСТ 27922 |
|
Рабочее оборудование |
Совокупность частей экскаватора (стрела, рукоять, ковш или другие элементы), непосредственно предназначенные для разработки или рыхления грунтов и выполнения других видов работ |
|
Основное рабочее оборудование |
Рабочее оборудование (для гидравлических экскаваторов 1-5-й размерных групп обратная лопата, 6-й - прямая лопата; для механических экскаваторов 3-й размерной группы - обратная лопата), 4-й и 5-й - прямая лопата, предназначенные для разработки грунтов I-IV категорий) |
|
Основной (расчетный) ковш |
Ковш для разработки грунтов категории III |
|
Вместимость ковша |
По ГОСТ 17257 |
|
Глубина копания |
Наибольшая кинематическая глубина копания, определяемая геометрией рабочего оборудования по режущей кромке зуба ковша |
|
Удельный расход топлива (электроэнергии) |
Отношение общего расхода топлива (электроэнергии) к объему вынутого грунта при проверке производительности по методике в соответствии с приложением Ж |
|
Увеличенная опорная поверхность |
Опорная поверхность гусеничного хода экскаватора, обеспечивающая пониженное (не менее чем на 25 % относительно значения, устанавливаемого 3.3.3) давление на грунт |
(обязательное)
НОМЕНКЛАТУРА
технических показателем экскаваторов одноковшовых универсальных,
включаемых в технические условия
1 Геометрическая и номинальная вместимость ковша
2 Мощность основного двигателя или основной насосной установки
3 Давление на опорную поверхность (для гусеничных машин)*
4 Эксплуатационная масса
5 Рабочие параметры (глубина, радиус копания обратной лопаты и драглайна, высота копания и радиус выгрузки прямой лопаты)
6 Уровень внешнего шума*
7 Уровень шума в кабине машиниста*
8 Уровень вибрации на рабочем месте машиниста*
9 Габаритные размеры
10 Продолжительность рабочего цикла
11 Расход топлива (электроэнергии)
12 Частота вращения поворотной платформы
13 Клиренс
14 Углы въезда и съезда (для пневмоколесных экскаваторов)
15 Минимальный радиус поворота (для пневмоколесных экскаваторов)
16 Скорость передвижения
(обязательное)
ИНДЕКСАЦИЯ ПОЛНОПОВОРОТНЫХ ОДНОКОВШОВЫХ УНИВЕРСАЛЬНЫХ ЭКСКАВАТОРОВ
|
|
ЭО |
|
Х |
|
Х |
|
Х |
|
Х |
|
Х |
|
Х |
|||||||
|
|
|
|
|
|
|
|
|
|
|
|
|
|
|
|
|
|
|
|
|
|
|
Буквенное обозначение одноковшового экскаватора |
|
|
|
|
|
|
|
|
|
|
|
|
|
|
|
|
|
|
|
|
|
|
|
|
|
|
|
|
|
|
|
|
|
|
|
|
|
|
|
|
|
|
|
Размерная группа |
|
|
|
|
|
|
|
|
|
|
|
|
|
|
|
|
||||
|
|
|
|
|
|
|
|
|
|
|
|
|
|
|
|
|
|
|
|
|
|
|
Обозначение типа ходового устройства (гусеничного - 1, гусеничного с увеличенной опорной поверхностью гусениц - 2, колесного - 3) |
|
|
|
|
|
|
|
|
|
|
|
|
|
|||||||
|
|
|
|
|
|
|
|
|
|
|
|
|
|
|
|
|
|
|
|
|
|
|
Обозначение исполнения рабочего оборудования (с гибкой подвеской - 1, с жесткой - 2) |
|
|
|
|
|
|
|
|
|
|
||||||||||
|
|
|
|
|
|
|
|
|
|
|
|
|
|
|
|
|
|
|
|
|
|
|
Порядковый номер модели (1, 2, 3 и т.д.) |
|
|
|
|
|
|
|
|||||||||||||
|
|
|
|
|
|
|
|
|
|
|
|
|
|
|
|
|
|
|
|
|
|
|
Буквенное обозначение очередной модернизации (А, Б, В и т.д.) |
|
|
|
|
||||||||||||||||
|
|
|
|
|
|
|
|
|
|
|
|
|
|
|
|
|
|
|
|
|
|
|
Буквенное обозначение климатического исполнения (ХЛ, ТС или ТВ) |
|
|||||||||||||||||||
Примечания
1 Основное исполнение У для макроклиматических районов с умеренным климатом и индексе не указывают.
2 Если модернизация не проводилась, то ее обозначение не указывают.
3 Порядковый номер модификации экскаватора указывают соответствующей арабской цифрой после основного индекса.
4 Индекс присваивают на основе утвержденного техническою задания на проектирование экскаватора (или заменяющего документа) базовой организацией по стандартизации (или техническим комитетом).
Пример условного обозначения индексации одноковшового универсального экскаватора 4-й размерной группы на пневмоколесном ходовом устройстве с жесткой подвеской рабочего оборудования, второй модели, первой модернизации, в исполнении для макроклиматических районов с холодным климатом, первая модификация:
ЭО-4322 АХЛ-1
(рекомендуемое)
МЕТОДИКА
определения давления на опорную поверхность
для гусеничных экскаваторов
Давление на опорную поверхность Рон, кПа, рассчитывают по формуле
![]()
где G - эксплуатационная масса экскаватора с рабочим оборудованием, кг;
g - ускорение земного тяготения, равное 9,81 м/с;
Вг - ширина гусеничной ленты, м;
l - среднее расстояние между ведущим и натяжным колесами гусениц, рассчитанное исходя из шага гусеничной цепи и числа звеньев, м;
d - диаметр окружности, описанный вокруг гусеницы, лежащей на ведущем колесе, м.
(рекомендуемое)
МЕТОДИКА ПРОВЕРКИ ТЕХНИЧЕСКИ
ДОСТИЖИМЫХ ПРОДОЛЖИТЕЛЬНОСТИ РАБОЧЕГО ЦИКЛА,
МАКСИМАЛЬНОЙ ПРОИЗВОДИТЕЛЬНОСТИ И
МИНИМАЛЬНОГО
УДЕЛЬНОГО РАСХОДА ТОПЛИВА
1 Указанные показатели используют для подтверждения данных технической характеристики конкретных моделей экскаваторов.
2 Проверку показателей проводят при соблюдении следующих условий:
- температура воздуха - от 10 °С до 25 °С;
- погода - без осадков;
- регулирование двигателя - на максимальную подачу топлива или на рекомендуемое ПТД предприятия-изготовителя экскаватора;
- нагрев рабочей жидкости в гидросистеме - до плюс (50±10) °С;
- квалифицированное обслуживание и управление экскаватором.
3 Проверку показателей для основных видов оборудования проводят на следующих видах работ:
- для экскаваторов, оборудованных прямой лопатой, - разработка в грунтах III категории траншеи глубиной не более 2/3 наибольшей кинематической глубины копания, но не менее 2,5 м для экскаваторов 3-й размерной группы и 3,0 м для экскаваторов 4-6-й размерных групп и шириной не более двухкратной ширины ковша с выгрузкой в отвал;
- для экскаваторов, оборудованных прямой лопатой - разработка в грунтах III категории забоя высотой не менее половины наибольшей кинематической высоты копания с выгрузкой в отвал;
- для экскаваторов с рабочим оборудованием драглайна - разработка грунта III категории в котловане глубиной не более 2/3, но не менее половины максимальной глубины копания с выгрузкой в отвал.
Условия испытаний и методика проверки технически достижимых показателей экскаваторов с другими видами рабочего оборудования и рабочих органов, а также экскаваторов с увеличенной опорной поверхностью устанавливают в программе и методике испытаний на конкретную модель.
4 Продолжительность рабочего цикла определяют как среднее арифметическое не менее десяти измерений времени при работе со средним углом поворота 1,57 рад (90°), коэффициентом наполнения копта не менее 1,0.
5 Техническую производительность рассчитывают, исходя из фактических данных по продолжительности цикла, коэффициентов наполнения ковша и разрыхления грунта, зафиксированных при проведении испытании по проверке продолжительности рабочего цикла.
6 Производительность экскаватора для определения минимального удельного расхода топлива выявляют по объему грунта, разработанного в течение 30 мин непрерывной работы (включая время на необходимые передвижения и подготовку забоя), исходя из измерений траншеи или выработки.
Допускается определение объема грунта по числу ковшей с соответствующим учетом коэффициентов наполнения ковша и разрыхления грунта.
За производительность принимают среднее арифметическое значение результатов трех испытаний, каждое из которых проводят в течение 30 мин на одной и той же машине квалифицированным машинистом.
Расход топлива при этом следует определять с помощью тарированного бака и градуированного щупа (бак должен быть оттарирован до начала испытаний) или взвешиванием.
Расход электроэнергии контролируют путем регистрации показаний счетчика электроэнергии при проверке производительности.
(рекомендуемое)
ХРОНОМЕТРАЖНАЯ ВЕДОМОСТЬ
|
наблюдений за работой экскаватора _______________________________________ индекс ______________________________________________________________________ наименование предприятия-изготовителя Номер по системе нумерации предприятия-изготовителя _____________________ Вид рабочего оборудования ______________________________________________ Вместимость ковша, м3 __________________________________________________ Длина, м: стрелы ______________ вставки _____________ штанги _____________ Категория грунта ______________ Коэффициент разрыхления и наполнения (Кр и Кн) __________________________ Высота (глубина) капания, м _____________________________________________ Характеристика погоды _________________________________________________ Фамилия и инициалы машиниста _________________________________________ Квалификация машиниста _______________________________________________ Дата наблюдений ________________ Смена _______________
|
|
Наименование работы или простоя |
Время работы |
Число рабочих циклов |
Угол поворота платформы |
Средняя продолжительность рабочего цикла, с |
Примечание |
|
|
Начало |
Конец |
|||||
|
|
|
|
|
|
|
|
|
|
|
|
|
|
|
|
|
|
|
|
|
|
|
|
|
Хронометражист __________________________ |
||||||
(рекомендуемое)
ХРОНОМЕТРАЖНАЯ ВЕДОМОСТЬ
|
наблюдений за техническим обслуживанием ______________________________ Экскаватора ___________________ (ЕО, ТО-1) _________________ (индекс) ______________________________________________________________________ (предприятия-изготовителя) Номер по системе нумерации предприятия-изготовителя _____________________ Вид рабочего оборудования ______________________________________________ Вместимость копта, м3 __________________________________________________ Характеристика погоды _________________________________________________ Фамилия и инициалы машиниста _________________________________________ _________________________________________ Фамилия, инициалы и квалификации лиц, проводивших техническое обслуживание _________________________________________________________ ______________________________________________________________________ ______________________________________________________________________
|
|
Дата наблюдений |
Наименование работы |
Персонал |
Время |
Продолжительность операции, мин |
Оперативное время, мин |
Оперативная трудоемкость, чел.-ч |
||||
|
Квалификация |
Количество |
Начало |
Конец |
|||||||
|
Пример заполнения |
||||||||||
|
21.10 |
Регулировка хода золотника |
Машинист |
1 |
13.10 |
13.19 |
09 |
09 |
|
||
|
|
|
|
|
|
|
|
|
14 |
=0,23 |
|
|
|
|
|
|
|
|
|
|
60 |
||
|
|
|
Слесарь |
1 |
13.10 |
13.15 |
0,5 |
0,5 |
|
|
|
Хронометражисты: ___________________________________________________
___________________________________________________
(рекомендуемое)
СВОДНАЯ ВЕДОМОСТЬ
хронометражных наблюдений за работой экскаватора __________________________________________________
(индекс) наименование предприятия-изготовителя
Номер экскаватора по системе нумерации предприятия-изготовителя _____________________________________
с рабочим оборудованием
|
Дата наблюдений |
Номер хронометражной ведомости |
Смена |
Продолжительность хронометражных наблюдений за смену, ч |
||||||||||||||
|
Общее время работы |
Итого |
Перерывы в работе |
Итого |
||||||||||||||
|
Полезная работа |
Техническое обслуживание и ремонт |
Обеденный перерыв и отдых машиниста |
По метеорологическим условиям |
Из-за отсутствия электроэнергии, топлива, материалов, запасных частей |
По прочим причинам (переезды в другой забой, смена рабочего оборудования и др.) |
Всего |
|||||||||||
|
Чистое время работы |
Переезды и передвижки в забое |
Подготовка забоя |
Всего |
Ежесменное (ЕО) |
ТО-1 |
Аварийный ремонт |
Необходимые регулировки |
||||||||||
|
1 |
2 |
3 |
4 |
5 |
6 |
7 |
8 |
9 |
10 |
11 |
12 |
13 |
14 |
15 |
16 |
17 |
18 |
|
Условия работы |
Результаты работы |
Примечание |
|||||||||||||||||
|
Категория грунта |
Коэффициент разрыхления грунта |
Средняя высота (глубина) забоя, м |
Средняя температура воздуха, °С |
Средний угол поворота платформы, град |
Коэффициент наполнения ковша |
Количество вытянутых ковшей грунта, шт. |
Средняя продолжительность рабочего цикла за чистое время работы, с |
Объем разработанного грунта, м3 |
Производительность, м3/ч, за время работы |
Часовой расход топлива электроэнергии) за время испытаний, г/ч (Вт/ч) |
Удельный расход топлива (электроэнергии) на м3 разработанного грунта за время испытаний, г/м (Вт/м3) |
Расход смазочных материалов на технические обслуживания, а также рабочей жидкости за время испытаний |
|||||||
|
чистого |
полезного |
общего |
|||||||||||||||||
|
разрыхленного |
в плотном теле |
При работе в отвал |
При работе в транспорт |
При работе в отвал |
При работе в транспорт |
При работе в отвал |
При работе в транспорт |
||||||||||||
|
при работе в отвал или погрузке в транспорт |
|||||||||||||||||||
|
19 |
20 |
21 |
22 |
23 |
24 |
25 |
26 |
27 |
28 |
29 |
30 |
31 |
32 |
33 |
34 |
35 |
36 |
37 |
38 |
Ключевые слова: экскаватор, гибкая подвеска рабочего оборудования, жесткая подвеска рабочего оборудования, глубина копания, прямая лопата, обратная лопата, драглайн, вместимость ковша
|
_________________________________________________________ |