Система нормативных документов в строительстве
СВОДЫ ПРАВИЛ ПО ПРОЕКТИРОВАНИЮ И СТРОИТЕЛЬСТВУ
ПРОЕКТИРОВАНИЕ
ТЕПЛОВЫХ ПУНКТОВ
СП 41-101-95
МИНИСТЕРСТВО СТРОИТЕЛЬСТВА РОССИЙСКОЙ ФЕДЕРАЦИИ
(МИНСТРОЙ РОССИИ)
Москва
ПРЕДИСЛОВИЕ
1 РАЗРАБОТАНЫ Техническим комитетом Ассоциации инженеров по отоплению, вентиляции, кондиционированию воздуха, теплоснабжению и строительной теплофизике (АВОК), Агентством по энергосбережению Правительства Москвы, Министерством России, ВНИПИэнергопромом Минтопэнерго России.
2 СОГЛАСОВАНЫ Главным управлением стандартизации, технического нормирования и сертификации Минстроя России.
3 ПРИНЯТЫ в качестве свода правил по проектированию и строительству к СНиП 2.04.07-86* «Тепловые сети».
СОДЕРЖАНИЕ
ВВЕДЕНИЕ
Свод правил по проектированию тепловых пунктов содержит дополнительные требования, рекомендации и справочные материалы к действующему нормативному документу - СНиП 2.04.07-86* «Тепловые сети».
В своде правил приведены требования к объемно-планировочным и конструктивным решениям помещений тепловых пунктов, даны рекомендации по расчету и подбору оборудования, приборов учета, контроля и автоматизации, применяемых в ЦТП и ИТП, приведены также сведения по используемым трубам и арматуре.
Применение свода правил будет способствовать принятию более экономичных проектных решений и экономии тепловой энергии.
При разработке свода правил использованы положения действующих нормативных документов, материалы заводов-изготовителей и наиболее эффективные технические решения, принимавшиеся по отдельным объектам в Российской Федерации.
По мере накопления опыта проектирования, строительства и эксплуатации тепловых пунктов будет определена эффективность установленных положений, на основании которых будут внесены необходимые изменения в свод правил и нормативные документы.
Замечания и предложения по совершенствованию свода правил следует направлять в Главтехнормирование Минстроя России.
СП 41-101-95
СВОДЫ ПРАВИЛ ПО ПРОЕКТИРОВАНИЮ И СТРОИТЕЛЬСТВУ
ПРОЕКТИРОВАНИЕ ТЕПЛОВЫХ ПУНКТОВ
DESIGN OF HEAT POINTS
Дата введения 1996-07-01
1.1 Настоящие правила дополняют и развивают требования по проектированию тепловых пунктов, содержащиеся в СНиП 2.04.07-86* «Тепловые сети».
Правила следует использовать при проектировании вновь строящихся и реконструируемых тепловых пунктов, предназначенных для присоединения к тепловым сетям систем отопления, вентиляции, кондиционирования воздуха, горячего водоснабжения и технологических теплоиспользующих установок промышленных и сельскохозяйственных предприятий, жилых и общественных зданий.
В тех случаях, когда может быть принято несколько различных технических решений, следует производить экономический расчет с учетом уровня цен, долговечности и надежности конструкций, социальных и экологических факторов, а также требований заказчика.
1.2 Правила распространяются на тепловые пункты с параметрами теплоносителя: горячая вода с рабочим давлением до 2,5 МПа и температурой до 200 °С, пар с рабочим давлением в пределах условного давления Ру до 6,3 МПа и температурой до 440 °С.
Правила распространяются на проектирование тепловых пунктов в границах: от запорной арматуры тепловой сети и хозяйственно-питьевого водопровода на вводе в тепловой пункт до запорной арматуры (включительно) местных систем отопления, вентиляции, кондиционирования воздуха, горячего водоснабжения и технологических потребителей, расположенной в помещении теплового пункта.
1.3 В тепловых пунктах предусматривается размещение оборудования, арматуры, приборов контроля, управления и автоматизации, посредством которых осуществляется:
преобразование вида теплоносителя или его параметров;
контроль параметров теплоносителя;
регулирование расхода теплоносителя и распределение его по системам потребления теплоты;
отключение систем потребления теплоты;
защита местных систем от аварийного повышения параметров теплоносителя;
заполнение и подпитка систем потребления теплоты;
учет тепловых потоков и расходов теплоносителя и конденсата;
сбор, охлаждение, возврат конденсата и контроль его качества, аккумулирование теплоты;
водоподготовка для систем горячего водоснабжения.
В тепловом пункте в зависимости от его назначения и конкретных условий присоединения потребителей могут осуществляться все перечисленные функции или только их часть.
1.4 Тепловые пункты подразделяются на:
индивидуальные тепловые пункты (ИТП) - для присоединения систем отопления, вентиляции, горячего водоснабжения и технологических теплоиспользующих установок одного здания или его части;
центральные тепловые пункты (ЦТП) - то же, двух зданий или более.
Допускается устройство ЦТП для присоединения систем теплопотребления одного здания, если для этого здания требуется устройство нескольких ИТП.
1.5 Устройство ИТП обязательно для каждого здания независимо от наличия ЦТП, при этом в ИТП предусматриваются только те функции, которые необходимы для присоединения систем потребления теплоты данного здания и не предусмотрены в ЦТП.
1.6 Для промышленных и сельскохозяйственных предприятий при теплоснабжении от внешних источников теплоты и числе зданий более одного устройство ЦТП является обязательным, а при теплоснабжении от собственных источников теплоты необходимость сооружения ЦТП следует определять в зависимости от конкретных условий теплоснабжения. Мощность ЦТП не регламентируется.
1.7 Для жилых и общественных зданий необходимость устройства ЦТП определяется конкретными условиями теплоснабжения района строительства на основании технико-экономических расчетов. В закрытых системах теплоснабжения рекомендуется предусматривать один ЦТП на микрорайон или группу зданий с расходом теплоты в пределах 12 - 35 МВт (по сумме максимального теплового потока на отопление и среднего теплового потока на горячее водоснабжение).
При теплоснабжении от котельных мощностью 35 МВт и менее рекомендуется предусматривать в зданиях только ИТП.
1.8 Теплоснабжение промышленных и сельскохозяйственных предприятий от ЦТП, обслуживающих жилые и общественные здания, предусматривать не рекомендуется.
1.9 В состав проекта теплового пункта включается технический паспорт, содержащий:
краткое описание схем присоединения потребителей теплоты;
расчетные расходы теплоты и теплоносителей по каждой системе (для горячего водоснабжения - средний и максимальный), МВт;
виды теплоносителей и их параметры (рабочее давление, МПа, температуру, °С) на входе и на выходе из теплового пункта;
давление в трубопроводе на вводе и выводе хозяйственно-питьевого водопровода, МПа;
тип водоподогревателей, поверхность их нагрева, м2, число секций или пластин по ступеням нагрева и потери давления по обеим средам;
тип, количество, характеристики и мощность насосного оборудования;
тип, количество и производительность оборудования для обработки воды для систем горячего водоснабжения:
количество и установленную вместимость баков-аккумуляторов горячего водоснабжения и конденсатных баков, м3;
тип и число приборов регулирования и приборов учета количества теплоты и воды, потери давления в регулирующих клапанах;
установленную суммарную мощность электрооборудования, ожидаемое годовое потребление тепловой и электрической энергии;
общую площадь, м2, и строительный объем, м3, помещений теплового пункта.
2.1 Тепловые пункты по размещению на генеральном плане подразделяются на отдельно стоящие, пристроенные к зданиям и сооружениям и встроенные в здания и сооружения.
2.2 Объемно-планировочные и конструктивные решения тепловых пунктов должны удовлетворять требованиям СНиП 2.09.02-85*. При размещении встроенных и пристроенных тепловых пунктов должны соблюдаться также требования СНиП на проектирование зданий, в которых они размещаются или к которым они пристроены.
2.3 При выборе материалов для строительных конструкций тепловых пунктов следует принимать влажный режим помещения согласно СНиП II-3-79* (изд. 1995 г.).
2.4 Для защиты строительных конструкций от коррозии должны применяться антикоррозионные материалы в соответствии с требованиями СНиП 2.03.11-85.
2.5 Здания отдельно стоящих и пристроенных тепловых пунктов должны быть I, II или IIIа степеней огнестойкости.
В ограждающих конструкциях помещений не допускается применение силикатного кирпича.
Внешние формы, материал и цвет наружных ограждающих конструкций рекомендуется выбирать, учитывая архитектурный облик расположенных вблизи зданий и сооружений или зданий, к которым тепловые пункты пристраиваются.
2.6 К центральным тепловым пунктам следует предусматривать проезды с твердым покрытием и площадки для временного складирования оборудования при производстве ремонтных работ.
2.7 В ЦТП с постоянным обслуживающим персоналом следует предусматривать уборную с умывальником, шкаф для хранения одежды, место для приема пищи.
При невозможности обеспечить самотечный отвод стоков от уборной в канализационную сеть санузел в ЦТП допускается не предусматривать при обеспечении возможности использовать уборную в ближайших к тепловому пункту зданиях, но не далее 50 м.
2.8 Индивидуальные тепловые пункты должны быть встроенными в обслуживаемые ими здания и размещаться в отдельных помещениях на первом этаже у наружных стен здания. Допускается размещать ИТП в технических подпольях или в подвалах зданий и сооружений.
2.9 Центральные тепловые пункты (ЦТП) следует, как правило, предусматривать отдельно стоящими. Рекомендуется блокировать их с другими производственными помещениями.
Допускается предусматривать ЦТП пристроенными к зданиям или встроенными в общественные, административно-бытовые или производственные здания и сооружения.
2.10 При размещении тепловых пунктов, оборудованных насосами, внутри жилых, общественных, административно-бытовых зданий, а также в производственных зданиях, к которым предъявляются повышенные требования по допустимым уровням шума и вибрации в помещениях и на рабочих местах, должны выполняться требования разд. 10.
2.11 Здания отдельно стоящих и пристроенных тепловых пунктов должны предусматриваться одноэтажными, допускается сооружать в них подвалы для размещения оборудования, сбора, охлаждения и перекачки конденсата и сооружения канализации.
Отдельно стоящие тепловые пункты допускается предусматривать подземными при условии:
отсутствия грунтовых вод в районе строительства и герметизации вводов инженерных коммуникаций в здание теплового пункта, исключающей возможность затопления теплового пункта канализационными, паводковыми и другими водами;
обеспечения самотечного отвода воды из трубопроводов теплового пункта;
обеспечения автоматизированной работы оборудования теплового пункта без постоянного обслуживающего персонала с аварийной сигнализацией и частичным дистанционным управлением с диспетчерского пункта.
2.12 По взрывопожарной и пожарной опасности помещения тепловых пунктов следует относить к категории Д.
2.13 Тепловые пункты допускается размещать в производственных помещениях категорий Г и Д, а также в технических подвалах и подпольях жилых и общественных зданий. При этом помещения тепловых пунктов должны отделяться от этих помещений ограждениями (перегородками), предотвращающими доступ посторонних лиц в тепловой пункт.
2.14 При разработке объемно-планировочных и конструктивных решений отдельно стоящих и пристроенных зданий тепловых пунктов, предназначенных для промышленных и сельскохозяйственных предприятий, рекомендуется предусматривать возможность их последующего расширения.
2.15 Встроенные в здания тепловые пункты следует размещать у наружных стен зданий на расстоянии не более 12 м от выхода из этих зданий.
2.16 Из встроенных в здания тепловых пунктов должны предусматриваться выходы:
при длине помещения теплового пункта 12 м и менее и расположении его на расстоянии менее 12 м от выхода из здания наружу - один выход наружу через коридор или лестничную клетку;
при длине помещения теплового пункта 12 м и менее и расположении его на расстоянии более 12 м от выхода из здания - один самостоятельный выход наружу;
при длине помещения теплового пункта более 12 м - два выхода, один из которых должен быть непосредственно наружу, второй - через коридор или лестничную клетку.
Помещения тепловых пунктов с теплоносителем паром давлением более 1,0 МПа должны иметь не менее двух выходов независимо от габарита помещения.
2.17 В подземных отдельно стоящих или пристроенных тепловых пунктах допускается второй выход предусматривать через пристроенную шахту с люком или через люк в перекрытии, а в тепловых пунктах, размещаемых в технических подпольях или подвалах зданий, - через люк в стене.
2.18 Двери и ворота из теплового пункта должны открываться из помещения или здания теплового пункта от себя.
2.19 Оборудование тепловых пунктов рекомендуется применять в блочном исполнении, для чего необходимо:
принимать водоподогреватели, насосы и другое оборудование в блоках заводской готовности;
принимать укрупненные монтажные блоки трубопроводов;
укрупнять технологически связанное между собой оборудование в транспортабельные блоки с трубопроводами, арматурой, КИП, электротехническим оборудованием и тепловой изоляцией.
2.20 Минимальные расстояния в свету от строительных конструкций до трубопроводов, оборудования, арматуры, между поверхностями теплоизоляционных конструкций смежных трубопроводов, а также ширину проходов между строительными конструкциями и оборудованием (в свету) следует принимать по прил. 1.
2.21 Высоту помещений от отметки чистого пола до низа выступающих конструкций перекрытия (в свету) рекомендуется принимать не менее, м: для наземных ЦТП - 4,2; для подземных - 3,6; для ИТП - 2,2.
При размещении ИТП в подвальных и цокольных помещениях, а также в технических подпольях зданий допускается принимать высоту помещений и свободных проходов к ним не менее 1,8 м.
2.22 В центральном тепловом пункте следует предусматривать монтажную (ремонтную) площадку.
Размеры монтажной площадки в плане следует определять по габариту наиболее крупной единицы оборудования (кроме баков вместимостью более 3 м3) или блока оборудования и трубопроводов, поставляемого для монтажа в собранном виде, с обеспечением прохода вокруг него не менее 0,7 м.
Для производства мелкого ремонта оборудования, приборов и арматуры следует предусматривать место для установки верстака.
2.23 Конденсатные баки и баки-аккумуляторы вместимостью более 3 м3 следует устанавливать вне помещения тепловых пунктов на открытых площадках. При этом должны предусматриваться тепловая изоляция баков, устройство гидрозатворов, встроенных непосредственно в бак, а также устройство ограждений высотой не менее 1,6 м на расстоянии не более 1,5 м от поверхности баков, предотвращающее доступ посторонних лиц к бакам.
2.24 Для монтажа оборудования, габариты которого превышают размеры дверей, в наземных тепловых пунктах следует предусматривать монтажные проемы или ворота в стенах.
При этом размеры монтажного проема и ворот должны быть на 0,2 м больше габарита наибольшего оборудования или блока трубопроводов.
2.25 Предусматривать проемы для естественного освещения тепловых пунктов не требуется.
2.26 Для перемещения оборудования и арматуры или неразъемных частей блоков оборудования следует предусматривать инвентарные подъемно-транспортные устройства.
Стационарные подъемно-транспортные устройства следует предусматривать:
при массе перемещаемого груза от 150 кг до 1 т - монорельсы с ручными талями и кошками или краны подвесные ручные однобалочные;
то же, более 1 до 2 т - краны подвесные ручные однобалочные;
то же, более 2 т - краны подвесные электрические однобалочные.
Допускается предусматривать возможность использования передвижных малогабаритных подъемно-транспортных средств при условии обеспечения въезда и передвижения транспортных средств по тепловому пункту.
Средства механизации могут быть уточнены проектной организацией при разработке проекта для конкретных условий.
2.27 Для стока воды полы следует проектировать с уклоном 0,01 в сторону трапа или водосборного приямка. Минимальные размеры водосборного приямка должны быть, как правило, в плане не менее 0,5´0,5 м при глубине не менее 0,8 м. Приямок должен быть перекрыт съемной решеткой.
2.28 В помещениях тепловых пунктов следует предусматривать отделку ограждений долговечными, влагостойкими материалами, допускающими легкую очистку, при этом необходимо выполнить:
штукатурку наземной части кирпичных стен;
затирку цементным раствором заглубленной части бетонных стен;
расшивку швов панельных стен;
побелку потолков;
бетонное или плиточное покрытие полов.
Стены тепловых пунктов покрываются плитками или окрашиваются на высоту 1,5 м от пола масляной или другой водостойкой краской, выше 1,5 м от пола - клеевой или другой подобной краской.
2.29 В тепловых пунктах следует предусматривать открытую прокладку труб. Допускается прокладка труб в каналах, верх перекрытия которых совмещается с уровнем чистого пола, если по этим каналам не происходит попадания в тепловой пункт взрывоопасных или горючих газов и жидкостей.
Каналы должны иметь съемные перекрытия единичной массой не более 30 кг.
Дно каналов должно иметь продольный уклон не менее 0,02 в сторону водосборного приямка.
2.30 Для обслуживания оборудования и арматуры, расположенных на высоте от 1,5 до 2,5 м от пола, должны предусматриваться передвижные или переносные конструкции (площадки). В случаях невозможности создания проходов для передвижных площадок, а также для обслуживания оборудования и арматуры, расположенных на высоте 2,5 м и более, необходимо предусматривать стационарные площадки шириной 0,6 м с ограждениями и постоянными лестницами. Расстояние от уровня стационарной площадки до потолка должно быть не менее 1,8 м.
2.31 В помещениях тепловых пунктов допускается размещать оборудование систем хозяйственно-питьевого и противопожарного водоснабжения здания, в том числе насосные установки, а в помещениях пристроенных и встроенных тепловых пунктов - также оборудование приточных вентиляционных систем, обслуживающих производственные помещения категорий В, Г, Д по взрывопожарной опасности и административно-бытовые помещения.
2.32 Минимальное расстояние от края подвижных опор до края опорных конструкций (траверс, кронштейнов, опорных подушек) трубопроводов должно обеспечивать максимально возможное смещение опоры в боковом направлении с запасом не менее 50 мм. Кроме того, минимальное расстояние от края траверсы или кронштейна до оси трубы должно быть не менее 1,0Dу (где Dу - условный диаметр трубы).
2.33 Расстояние от поверхности теплоизоляционной конструкции трубопровода до строительных конструкций здания или до поверхности теплоизоляционной конструкции другого трубопровода должно быть в свету не менее 30 мм с учетом перемещения трубопровода.
2.34 В тепловых пунктах допускается к трубопроводам большего диаметра крепить трубопроводы меньшего диаметра при расчете труб на прочность.
2.35 Прокладку водопровода следует предусматривать в одном ряду или под трубопроводами тепловых сетей, при этом необходимо выполнять тепловую изоляцию водопровода для исключения образования конденсата на поверхности водопроводных труб.
2.36 В тепловых пунктах подающий трубопровод следует располагать справа от обратного трубопровода (по ходу теплоносителя в подающем трубопроводе) при прокладке трубопроводов в одном ряду.
3.1 Присоединение систем потребления теплоты следует выполнять с учетом гидравлического режима работы тепловых сетей (пьезометрического графика) и графика изменения температуры теплоносителя в зависимости от изменения температуры наружного воздуха.
3.2 Расчетная температура воды в подающих трубопроводах водяных тепловых сетей после ЦТП при присоединении систем отопления зданий по зависимой схеме должна приниматься равной расчетной температуре воды в подающем трубопроводе тепловых сетей до ЦТП, но не выше 150 °С.
3.3 Системы отопления, вентиляции и кондиционирования воздуха должны присоединяться к двухтрубным водяным тепловым сетям, как правило, по зависимой схеме.
По независимой схеме, предусматривающей установку водоподогревателей, допускается присоединять системы отопления 12-этажных зданий и выше (или более 36 м); системы отопления, вентиляции и кондиционирования воздуха зданий при гидравлических условиях, изложенных в п. 3.5, а также системы отопления зданий в открытых системах теплоснабжения при невозможности обеспечения требуемого качества воды.
3.4 Системы отопления зданий следует присоединять к тепловым сетям:
непосредственно при совпадении гидравлического и температурного режимов тепловой сети и местной системы. При этом следует учитывать требования прил. 11 СНиП 2.04.05-91* и обеспечивать невскипаемость перегретой воды при динамическом и статическом режимах системы:
через элеватор при необходимости снижения температуры воды в системе отопления и располагаемом напоре перед элеватором, достаточном для его работы;
через смесительные насосы при необходимости снижения температуры воды в системе отопления и располагаемом напоре, недостаточном для работы элеватора, а также при осуществлении автоматического регулирования системы.
3.5 При присоединении систем отопления и вентиляции к тепловым сетям по зависимой схеме для открытой и закрытой систем теплоснабжения в соответствии с пьезометрическим графиком следует предусматривать:
а) при располагаемом напоре в тепловой сети перед тепловым пунктом, недостаточном для преодоления гидравлического сопротивления трубопроводов и оборудования теплового пункта и систем потребления теплоты после ТП, - подкачивающие насосы на обратном трубопроводе перед выходом из теплового пункта. Если при этом давление в обратном трубопроводе присоединяемых систем будет ниже статического давления в этих системах, подкачивающий насос должен устанавливаться на подающем трубопроводе;
б) при давлении в подающем трубопроводе тепловой сети перед тепловым пунктом, недостаточном для обеспечения невскипания воды (при расчетной температуре) в верхних точках присоединенных систем потребления теплоты, - подкачивающие насосы на подающем трубопроводе на вводе в тепловой пункт:
в) при давлении в подающем трубопроводе тепловой сети перед тепловым пунктом ниже статического давления в системах потребления теплоты - подкачивающие насосы на подающем трубопроводе на вводе в тепловой пункт и регулятор давления «до себя» на обратном трубопроводе на выходе из теплового пункта;
г) при статическом давлении в тепловой сети ниже статического давления в системах потребления теплоты - регулятор давления «до себя» на обратном трубопроводе на выходе из теплового пункта, а на подающем трубопроводе на вводе в тепловой пункт - обратный клапан;
д) при давлении в обратном трубопроводе тепловой сети после теплового пункта ниже статического давления в системах потребления теплоты при различных режимах работы сети (в том числе при максимальном водоразборе из обратного трубопровода в открытых системах водоснабжения) - регулятор давления «до себя» на обратном трубопроводе на выходе из теплового пункта;
е) при давлении в обратном трубопроводе тепловой сети после теплового пункта, превышающем допускаемое давление для систем потребления теплоты, - отсекающий клапан на подающем трубопроводе на вводе в тепловой пункт, а на обратном трубопроводе на выходе из теплового пункта - подкачивающие насосы с предохранительным клапаном;
ж) при статическом давлении в тепловой сети, превышающем допускаемое давление для систем потребления теплоты, - отсекающий клапан на подающем трубопроводе после входа в тепловой пункт, а на обратном трубопроводе перед выходом из теплового пункта - предохранительный и обратный клапаны.
3.6 К одному элеватору присоединяется, как правило, одна система отопления. Допускается присоединять к одному элеватору несколько систем отопления с увязкой гидравлических режимов этих систем.
3.7 Смесительные насосы для систем отопления устанавливаются:
а) на перемычке между подающим и обратным трубопроводами при располагаемом напоре перед узлом смешения, достаточном для преодоления гидравлического сопротивления системы отопления и тепловых сетей после ЦТП, и при давлении в обратном трубопроводе тепловой сети после теплового пункта не менее чем на 0,05 МПа выше статического давления в системе отопления;
б) на обратном трубопроводе перед узлом смешения или на подающем трубопроводе после узла смешения при располагаемом напоре перед узлом смешения, недостаточном для преодоления гидравлического сопротивления, указанного в подпункте «а», при этом в качестве смесительных насосов могут быть использованы подкачивающие насосы, предусматриваемые в соответствии с пп. 3.5, а, б, в, е.
3.8 Системы вентиляции и кондиционирования воздуха зданий присоединяются к тепловым сетям:
непосредственно - когда не требуется изменения расчетных параметров теплоносителя;
через смесительные насосы - при необходимости снижения температуры воды в системах вентиляции и кондиционирования воздуха; для поддержания постоянной температуры воды, поступающей в калориферы второго подогрева систем кондиционирования воздуха, а также для обеспечения невскипания воды в верхних точках трубопроводов и калориферов систем вентиляции и кондиционирования воздуха (если не установлены подкачивающие насосы для других систем по п. 3.5, б).
Места установки смесительных насосов для систем вентиляции выбираются аналогично смесительным насосам для систем отопления по п. 3.7.
3.9 В тепловых пунктах потребителей теплоты с зависимым присоединением систем отопления, вентиляции и кондиционирования воздуха, в которых режим теплопотребления не обеспечивается принятым на источнике теплоты центральным качественным регулированием отпуска теплоты, следует предусматривать корректирующие насосы или регулируемые элеваторы, осуществляющие снижение температуры воды после ЦТП или ИТП в соответствии с графиками температур теплоносителя в этих системах. При этом изменение температуры воды производится автоматически регулятором подачи теплоты.
Корректирующие насосы устанавливаются, как правило, на перемычке между подающим и обратным трубопроводами после отбора воды из подающего трубопровода и до отбора воды из обратного трубопровода на водоподогреватели или смесительные устройства горячего водоснабжения. Периоды работы этих насосов определяются в зависимости от принятого на источнике теплоты графика регулирования отпуска теплоты, схемы присоединения водоподогревателей горячего водоснабжения, расчетного графика температур воды в сетях после ЦТП и расчетных температур внутреннего воздуха в помещениях. Они могут быть также совмещены с подкачивающими насосами, устанавливаемыми по п. 3.5.
3.10 В тепловых пунктах потребителей теплоты с независимым присоединением систем отопления, вентиляции и кондиционирования воздуха для регулирования в соответствии с расчетным графиком температуры воды после водоподогревателей следует предусматривать регулятор подачи теплоты на отопление.
Циркуляционные насосы при независимой системе теплоснабжения устанавливаются на обратном трубопроводе от систем отопления, вентиляции и кондиционирования воздуха перед водоподогревателем.
3.11 Общественное здание с тепловым потоком на вентиляцию более 0,5 МВт следует присоединять к тепловым сетям в ЦТП отдельно от жилых и общественных зданий с тепловым потоком на вентиляцию менее 0,5 МВт каждое. ИТП такого общественного здания должен обеспечивать работоспособность всех систем теплопотребления здания.
Предусматривать самостоятельные трубопроводы от ЦТП к зданию для присоединения отдельно систем вентиляции не рекомендуется.
3.12 При присоединении к ЦТП группы зданий с независимым присоединением систем отопления и вентиляции следует предусматривать установку в ЦТП общего водоподогревателя.
Расчетная температура воды после водоподогревателя в этом случае должна приниматься в зависимости от радиуса действия тепловых сетей после теплового пункта, как правило, на 10 - 30 °С ниже принятой в сетях до водоподогревателя со смесительным устройством в ИТП, обеспечивающим требуемое снижение температуры воды в системах отопления.
3.13 Заполнение и подпитку водяных тепловых сетей после ЦТП и систем потребления теплоты, присоединяемых к тепловым сетям по независимой схеме, следует предусматривать водой из обратного трубопровода тепловой сети подпиточным насосом или без него, если давление в обратном трубопроводе тепловой сети достаточно для заполнения местной системы.
При обосновании допускается подпитка указанных систем из подающего трубопровода тепловой сети с обеспечением защиты этих систем от превышения в них давления и температуры воды, а в открытых системах теплоснабжения - и из системы горячего водоснабжения.
Подпитка водой из водопровода не допускается.
3.14 Схема присоединения водоподогревателей горячего водоснабжения (рис. 1 - 8) в закрытых системах теплоснабжения выбирается в зависимости от соотношения максимального потока теплоты на горячее водоснабжение Qhmax и максимального потока теплоты на отопление Qomax;
- одноступенчатая схема (рис.
1, 7);
- двухступенчатая схема
(рис. 2
- 6,
8).
При этом для схем, указанных на рис. 1 - 6, предусматривается автоматическое ограничение максимального расхода воды из тепловой сети на ввод и регулирование расхода теплоты на отопление.
Схемы, указанные на рис. 7 и 8, применяются при отсутствии регуляторов расхода теплоты на отопление. Для этих схем применяется стабилизация расхода воды на отопление, осуществляемая регулятором перепада давлений (поз. 4).
3.15 В схемах, указанных на рис. 2 и 4 (с ограничением максимального расхода воды на ввод для жилых и общественных зданий с присоединением их к тепловым сетям через ЦТП и с максимальным тепловым потоком на вентиляцию Qnmax более 15 % максимального теплового потока на отопление Qomax), при определении максимального расхода воды из тепловой сети на ввод следует исходить из максимальных тепловых потоков на отопление и вентиляцию и среднего теплового потока на горячее водоснабжение в средние сутки за неделю отопительного периода Qhm. Ограничение подачи теплоносителя для этих схем следует выполнять путем прикрытия клапана, регулирующего подачу теплоносителя на отопление и вентиляцию.
3.16 В схемах, указанных на рис. 1 и 3 (с ограничением максимального расхода воды на ввод для производственных зданий, а также для общественных зданий с присоединением их к тепловым сетям через ЦТП и с тепловым потоком на вентиляцию и кондиционирование воздуха Qnmax более 15 % максимального теплового потока на отопление Qomax), при определении максимального расхода воды из тепловой сети на ввод следует исходить из максимальных тепловых потоков на отопление, вентиляцию и горячее водоснабжение: Qhmax - при отсутствии баков-аккумуляторов на горячее водоснабжение или среднего теплового потока на горячее водоснабжение, Qhm - при наличии баков-аккумуляторов. В этом случае ограничение подачи теплоносителя на ввод следует выполнять путем прикрытия клапана, регулирующего подачу теплоносителя на водоподогреватель горячего водоснабжения.
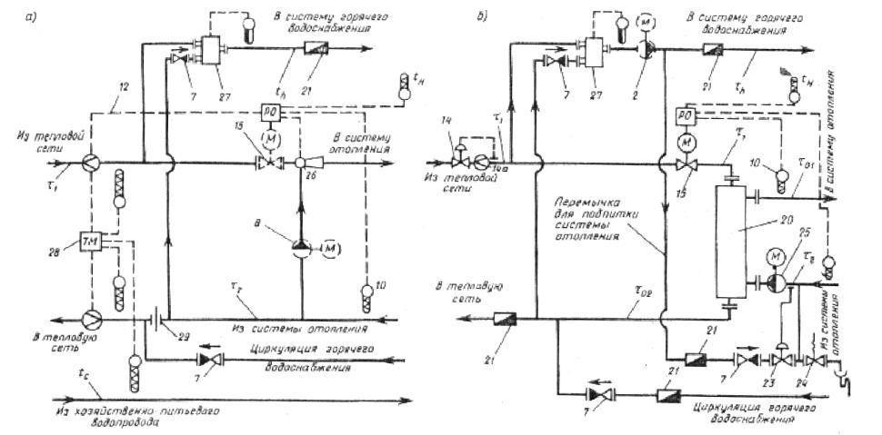
Рис. 1. Одноступенчатая система присоединения водоподогревателей горячего водоснабжения с автоматическим регулированием расхода теплоты на отопление и зависимым присоединением систем отопления в ЦТП и ИТП
1 - водоподогреватель горячего водоснабжения; 2 - повысительно-циркуляционный насос горячего водоснабжения (пунктиром - циркуляционный насос); 3 - регулирующий клапан с электроприводом; 4 - регулятор перепада давлений (прямого действия); 5 - водомер для холодной воды; 6 - регулятор подачи теплоты на отопление, горячее водоснабжение и ограничения максимального расхода сетевой воды на ввод; 7 - обратный клапан; 8 - корректирующий подмешивающий насос; 9 - теплосчетчик; 10 - датчик температуры; 11 - датчик расхода воды; 12 - сигнал ограничений максимального расхода воды из тепловой сети на ввод; 13 - датчик давления воды в трубопроводе
Рис. 2. Двухступенчатая схема присоединения водоподогревателей горячего водоснабжения для жилых и общественных зданий и жилых микрорайонов с зависимым присоединением систем отопления в ЦТП и ИТП
а - схема с самостоятельным регулятором ограничения расхода сетевой воды на ввод; б - фрагмент схемы с совмещением функций регулирования расхода теплоты на отопление, горячее водоснабжение и ограничения расхода сетевой воды в одном регуляторе
1 - 13 - см. рис 1; 14 - регулятор ограничений максимального расхода воды на ввод (прямого действия); 14а - датчик расхода воды в виде сужающего устройства (камерная диафрагма); 15 - регулятор подачи теплоты на отопление; 16 - задвижка, нормально закрытая; 17 - регулятор подачи теплоты на горячее водоснабжение (прямого действия)
Рис. 3. Двухступенчатая схема присоединения водоподогревателей горячего водоснабжения для промышленных зданий и промплощадок с зависимым присоединением систем отопления в ЦТП
1 - 17 - см. рис. 1, 2; 18 - сигнал включения насоса при закрытии клапана К-2; 19 - регулятор перепада давлений (электронный)
Рис. 4. Двухступенчатая схема присоединения водоподогревателей горячего водоснабжения для жилых и общественных зданий и жилых микрорайонов с независимым присоединением систем отопления в ЦТП и ИТП
1 - 19 - см. рис. 1 - 3; 20 - водоподогреватель отопления; 21 - водомер горячеводный; 22 - подпиточный насос отопления; 23 - регулятор подпитки; 24 - предохранительный клапан; 25 - циркуляционный насос отопления
Рис. 5. Двухступенчатая схема присоединения водоподогревателей горячего водоснабжения в ИТП с водоструйным элеватором и автоматическим регулированием расхода теплоты на отопление (пример учета теплоты по водомерам)
1 - 25 - см. рис. 1 - 4; 26 - водоструйный элеватор
Рис. 6. Двухступенчатая схема присоединения водоподогревателей горячего водоснабжения в ИТП с зависимым присоединением систем отопления и пофасадным автоматическим регулированием расхода теплоты на отопление
Рис. 7. Одноступенчатая схема присоединения водоподогревателей горячего водоснабжения с зависимым присоединением систем отопления при отсутствии регуляторов расхода теплоты на отопление в ЦТП и ИТП
Рис. 8. Двухступенчатая схема присоединения водоподогревателей горячего водоснабжения с зависимым присоединением систем отопления при отсутствии регуляторов расхода теплоты на отопление в ЦТП и ИТП
Рис. 9. Схемы присоединения систем горячего водоснабжения и отопления в ИТП при зависимом (а) присоединении системы отопления через элеватор (пунктиром - с циркуляционным насосом) с учетом теплоты по тепломеру и независимом (б) - с учетом теплоты по водомеру
1 - 26 - см. рис. 1 - 5; 27 - регулятор смешения горячей воды; 28 - тепломер двухпоточный трехточечный; 29 - дроссельная диафрагма
3.17 Схемы, указанные на рис. 1, 2, 4, могут применяться также и в ИТП, при этом подающий трубопровод системы вентиляции подключается до клапана, регулирующего подачу теплоты на отопление.
3.18 На рис. 5 и 6 приведены двухступенчатые схемы присоединения водоподогревателей горячего водоснабжения в ИТП с центральным автоматическим регулированием подачи теплоты на отопление с помощью водоструйного элеватора с регулирующей иглой и с пофасадным автоматическим регулированием подачи теплоты на отопление (см. рис. 6).
Автоматическое регулирование подачи теплоты на отопление в ИТП может быть применено также для одноступенчатой схемы присоединения водоподогревателей горячего водоснабжения по рис. 1.
3.19 При применении одноступенчатой схемы по рис. 7 перемычка с задвижкой А открыта в отопительный период при
соотношении
(водоподогреватель
работает по предвключенной схеме), а перемычка с задвижкой Б
предусматривается для работы в летний период; при соотношении
перемычка с задвижкой
А не требуется, и водоподогреватель
работает в течение всего года по параллельной схеме.
При применении двухступенчатой схемы по рис. 8 для жилых и общественных зданий с максимальным тепловым потоком на вентиляцию менее 15 % максимального теплового потока на отопление водоподогреватель 2-й ступени в отопительный период работает по перемычке с задвижкой А (по предвключенной схеме), а перемычка с задвижкой Б предусматривается для работы в летний период. При применении этой схемы в производственных зданиях или на группу общественных зданий с тепловым потоком на вентиляцию более 15 % теплового потока на отопление перемычка с задвижкой А в схеме на рис. 8 не предусматривается, водоподогреватель работает в наличии всего года по перемычке с задвижкой Б по смешанной схеме.
3.20 Приведенные схемы присоединения потребителей теплоты к тепловым сетям не охватывают всех возможных вариантов. Могут применяться также другие схемы присоединения потребителей теплоты к тепловым сетям, обеспечивающие минимальный расход воды в тепловых сетях, экономию теплоты за счет применения регуляторов расхода теплоты и ограничителей максимального расхода сетевой воды, корректирующих насосов или элеваторов с автоматическим регулированием, снижающих температуру воды, поступающей в системы отопления, вентиляции и кондиционирования воздуха.
3.21 При теплоснабжении от котельной мощностью 35 МВт и менее при технико-экономическом обосновании допускается присоединение к тепловым сетям водоподогревателей систем горячего водоснабжения по одноступенчатой схеме (см. рис. 1 и 7) независимо от соотношения тепловых нагрузок систем горячего водоснабжения и отопления.
3.22 В закрытых системах теплоснабжения при присоединении к тепловым сетям систем горячего водоснабжения с циркуляционным трубопроводом (см. рис. 1 - 8) должны предусматриваться циркуляционные или повысительно-циркуляционные насосы в соответствии с требованиями СНиП 2.04.01-85.
3.23 При двухступенчатых схемах присоединения водоподогревателей систем горячего водоснабжения с принудительной циркуляцией воды циркуляционный трубопровод рекомендуется присоединять к трубопроводу нагреваемой воды между водоподогревателями I и II ступеней, а при параллельной схеме присоединения - к трубопроводу холодной водопроводной воды или к трубопроводу нагреваемой воды между секциями водоподогревателя.
3.24 Горячее водоснабжение в открытых системах теплоснабжения должно присоединяться к подающему и обратному трубопроводам двухтрубных водяных тепловых сетей через регулятор смешения воды (рис. 9) для подачи в систему горячего водоснабжения воды заданной температуры.
Отбор воды для горячего водоснабжения из трубопроводов и приборов систем отопления не допускается.
3.25 В открытых системах теплоснабжения циркуляционный трубопровод системы горячего водоснабжения рекомендуется присоединять к обратному трубопроводу тепловой сети после отбора воды в систему горячего водоснабжения (рис. 9, а), при этом на трубопроводе между местом отбора воды и местом подключения циркуляционного трубопровода должна предусматриваться диафрагма, рассчитанная на гашение напора, равного сопротивлению системы горячего водоснабжения в циркуляционном режиме.
3.26 В открытых системах теплоснабжения при давлении в обратном трубопроводе тепловой сети, недостаточном для подачи воды в систему горячего водоснабжения, на трубопроводе горячей воды после регулятора смешения следует предусматривать повысительно-циркуляционный насос (рис. 9, б). При этом установка диафрагмы, предусмотренной п. 3.25, не требуется.
3.27 Горячее водоснабжение для технологических нужд допускается предусматривать из системы горячего водоснабжения для хозяйственно-бытовых нужд, если параметры воды в системе хозяйственно-питьевого водопровода удовлетворяют требованиям технологического потребителя, при условии:
наличия горячей воды питьевого качества для технологических процессов;
отсутствия производственного водопровода с качеством воды, пригодным для данного технологического процесса.
3.28 При теплоснабжении от одного теплового пункта производственного или общественного здания, имеющего различные системы потребления теплоты, каждую из них следует присоединять по самостоятельным трубопроводам от распределительного (подающего) и сборного (обратного) коллекторов. Допускается присоединять к одному общему трубопроводу системы теплопотребления, работающие при различных режимах, удаленные от теплового пункта более чем на 200 м, с проверкой работы этих систем при максимальных и минимальных расходах и параметрах теплоносителя.
3.29 Обратный трубопровод от систем вентиляции присоединяется перед водоподогревателем горячего водоснабжения I ступени.
При этом, если потери давления по сетевой воде в водоподогревателе I ступени превысят 50 кПа, оборудуется перемычка вокруг водоподогревателя, на которой устанавливаются дроссельная диафрагма или регулирующий клапан, рассчитанные на то, чтобы потери давления в водоподогревателе не превышали расчетной величины.
3.30 К паровым тепловым сетям потребители теплоты могут присоединяться: по зависимой схеме - с непосредственной подачей пара в системы теплопотребления с изменением или без изменения параметров пара; по независимой схеме - через пароводяные подогреватели.
Использование для целей горячего водоснабжения паровых водонагревателей барботажного типа не допускается.
3.31 При необходимости изменения параметров пара должны предусматриваться редукционно-охладительные, редукционные или охладительные установки.
Размещение этих устройств, а также установок сбора, охлаждения и возврата конденсата в ЦТП или в ИТП следует предусматривать на основании технико-экономического расчета в зависимости от числа потребителей и расхода пара со сниженными параметрами, количества возвращаемого конденсата, а также расположения потребителей пара на территории предприятия.
3.32 При проектировании систем сбора и возврата конденсата следует руководствоваться требованиями разд. 3 СНиП 2.04.07-86*.
3.33 В тепловых пунктах с установками сбора, охлаждения и возврата конденсата должны предусматриваться мероприятия по использованию теплоты конденсата путем:
охлаждения конденсата в водоподогревателях с использованием нагретой воды для хозяйственно-бытовых или технологических потребителей горячей воды;
получения пара вторичного вскипания в расширительных баках с использованием его для технологических потребителей пара низкого давления.
3.34 В тепловых пунктах, в которые возможно поступление загрязненного конденсата, должна предусматриваться проверка качества конденсата в каждом сборном баке и на дренажных трубопроводах. Способы контроля устанавливаются в зависимости от характера загрязнения и схемы водоподготовки на источнике теплоснабжения паром.
3.35 На трубопроводах тепловых сетей и конденсатопроводах при необходимости поглощения избыточного напора должны предусматриваться регуляторы давления или дроссельные диафрагмы.
4.1 В тепловых пунктах следует применять водяные горизонтальные секционные кожухотрубные или пластинчатые водоподогреватели либо паровые горизонтальные многоходовые водоподогреватели.
В качестве кожухотрубных секционных водоподогревателей рекомендуется применять водо-водяные подогреватели по ГОСТ 27590, состоящие из секций кожухотрубного типа с блоком опорных перегородок для теплоносителя давлением до 1,6 МПа и температурой до 150 °С. В качестве пластинчатых применялись водоподогреватели по ГОСТ 15518. Однако они не предназначались специально для работы в системах теплоснабжения. Они громоздки и менее эффективны по сравнению с конструкциями таких фирм, как Альфа-Лаваль, СВЕП, АРV, Цететерм и др. Но зарубежные фирмы не раскрывают методики подбора водоподогревателей, поэтому в прил. 8 даны только общие характеристики рекомендуемых к применению в тепловых пунктах пластинчатых водоподогревателей перечисленных фирм.
4.2 Для систем горячего водоснабжения допускается применять емкостные водоподогреватели с использованием их в качестве баков-аккумуляторов горячей воды в системах горячего водоснабжения при условии соответствия их вместимости требуемой по расчету вместимости баков-аккумуляторов.
4.3 Для водо-водяных подогревателей следует принимать противоточную схему потоков теплоносителей.
Для горизонтальных секционных кожухотрубных водоподогревателей греющая вода из тепловой сети должна поступать: для водоподогревателей систем отопления - в трубки, для водоподогревателей систем горячего водоснабжения - в межтрубное пространство.
Для пластинчатых теплообменников нагреваемая вода должна проходить вдоль первой и последней пластин.
Для пароводяных подогревателей пар должен поступать в межтрубное пространство.
4.4 Для систем горячего водоснабжения горизонтальные секционные кожухотрубные водоподогреватели должны применяться с латунными трубками, а емкостные - с латунными или со стальными змеевиками. Для пластинчатых теплообменников должны применяться пластины из нержавеющей стали по ГОСТ 15518.
4.5 Расчет поверхности нагрева водо-водяных подогревателей для систем отопления проводится при температуре воды в тепловой сети, соответствующей расчетной температуре наружного воздуха для проектирования отопления, а для систем горячего водоснабжения - при температуре воды в подающем трубопроводе тепловой сети, соответствующей точке излома графика температуры воды или минимальной температуре воды, если отсутствует излом графика температур.
Методика определения расчетной тепловой производительности водоподогревателей отопления и горячего водоснабжения, методика определения параметров для расчета водоподогревателей систем отопления и горячего водоснабжения при различных схемах присоединения водоподогревателей приведены в прил. 2 - 6, а в прил. 7, 8 приведены тепловой и гидравлический расчеты водо-водяных подогревателей различных конструкций.
4.6 Каждый пароводяной подогреватель должен быть оборудован конденсатоотводчиком или регулятором перелива для отвода конденсата, штуцерами с запорной арматурой для выпуска воздуха и спуска воды и предохранительным клапаном, предусматриваемым в соответствии с требованиями «Правил устройства и безопасной эксплуатации сосудов, работающих под давлением» Госгортехнадзора. Тепловой и гидравлический расчет пароводяных подогревателей приведен в прил. 9.
4.7 Емкостные водоподогреватели должны быть оборудованы предохранительными клапанами, устанавливаемыми со стороны нагреваемой среды, а также воздушными и спускными устройствами.
4.8 Число паро-водяных водоподогревателей следует принимать:
для систем горячего водоснабжения - два параллельно включенных водоподогревателя в каждой ступени подогрева, рассчитанных на 50 % производительности каждый;
для систем отопления зданий и сооружений, не допускающих перерывов в подаче теплоты, - два параллельно включенных водоподогревателя, каждый из которых должен рассчитываться на 100 % производительности.
При максимальном тепловом потоке на горячее водоснабжение до 2 МВт или при возможности подключения передвижных водоподогревательных установок допускается предусматривать в каждой ступени подогрева один водоподогреватель горячего водоснабжения, кроме зданий, не допускающих перерывов в подаче теплоты на горячее водоснабжение.
Для промышленных и сельскохозяйственных предприятий установка двух параллельно включенных водоподогревателей в каждой ступени горячего водоснабжения для хозяйственно-бытовых нужд может предусматриваться только для производств, не допускающих перерывов в подаче горячей воды.
При установке для систем отопления, вентиляции и горячего водоснабжения пароводяных водоподогревателей число их должно приниматься не менее двух, включаемых параллельно, резервные водоподогреватели не предусматриваются.
Для технологических установок, не допускающих перерывов в подаче теплоты, должны предусматриваться резервные водоподогреватели. Расчетная производительность резервных водоподогревателей должна приниматься в соответствии с режимом работы технологических установок предприятия.
4.9 При выборе подкачивающих насосов, устанавливаемых в соответствии с требованиями п. 3.5, следует принимать:
подачу насоса - по расчетному расходу воды на вводе в тепловой пункт (прил. 10);
напор - в зависимости от расчетного давления в тепловой сети и требующегося давления в присоединяемых системах потребления теплоты.
4.10 При выборе смесительных насосов для систем отопления, устанавливаемых в соответствии с требованиями пп. 3.4 и 3.7, в ИТП следует принимать:
а) при установке насоса на перемычке между подающим и обратным трубопроводами системы отопления:
напор - на 2 - 3 м больше потерь давления в системе отопления;
подачу насоса G, кг/ч, - по формуле
где Gdo - расчетный максимальный расход воды на отопление из тепловой сети, кг/ч, определяется по формуле
где Qomax - максимальный тепловой поток на отопление, Вт;
с - удельная теплоемкость воды, кДж/(кг × °С);
u - коэффициент смешения, определяемый по формуле
где t1 - температура воды в подающем трубопроводе тепловой сети при расчетной температуре наружного воздуха для проектирования отопления tо, °С;
to1 - тоже, в подающем трубопроводе системы отопления, °С;
t2 - то же, в обратном трубопроводе от системы отопления, °С;
б) при установке насоса на подающем или обратном трубопроводе системы отопления:
напор - в зависимости от давления в тепловой сети и требующегося давления в системе отопления с запасом в 2 - 3 м;
подачу насоса G, кг/ч, - по формуле
4.11 Смесительные насосы для систем вентиляции, устанавливаемые в соответствии с п. 3.8, следует принимать по п. 4.10, подставляя в формулах (1) и (4) вместо Gdo расчетный расход воды на вентиляцию Gnmax, определяемый по формуле
где Qnmax - максимальный тепловой поток на вентиляцию Вт;
tB1 - температура воды в подающем трубопроводе, поступающей в калориферы, при расчетной температуре наружного воздуха tо, °С;
tB2 - то же, в обратном трубопроводе после калориферов, °С.
Коэффициент смешения следует определять по формуле (3), принимая вместо tо1 и t2 требуемые температуры воды в трубопроводах до и после калориферов системы вентиляции при расчетной температуре наружного воздуха.
4.12 При выборе циркуляционных насосов для систем отопления и вентиляции, устанавливаемых в соответствии с требованиями п. 3.10, следует принимать:
подачу насоса - по расчетным расходам воды в системе отопления и вентиляции, определенным по формулам прил. 3;
напор - при установке насосов в ИТП - по сумме потерь давления в водоподогревателях и в системах отопления и вентиляции, а при установке насосов в ЦТП дополнительно следует учитывать потери давления в тепловых сетях от ЦТП до наиболее удаленных ИТП.
4.13 При выборе корректирующих насосов, устанавливаемых в соответствии с требованиями п. 3.9 следует принимать:
подачу насоса - по расчетному расходу воды в системе, на трубопроводах которой он устанавливается;
напор - по минимально необходимому располагаемому напору в месте присоединения данных насосов, включая сопротивление трубопровода и регулирующих устройств перемычки.
4.14 При выборе подпиточных насосов, устанавливаемых в соответствии с требованиями п. 3.13 следует принимать:
подачу насоса - в размере 20 % объема воды, находящейся в трубопроводах тепловой сети и систем отопления, подключенных к водоподогревателю;
напор - из условия поддержания статического давления в системах отопления и вентиляции с проверкой работы систем в отопительный период исходя из пьезометрических графиков.
4.15 Число насосов, указанных в пп. 4.9 - 4.14, следует принимать не менее двух, один из которых является резервным.
В ИТП при использовании бесфундаментных циркуляционных насосов последние допускается устанавливать без резерва (второй насос хранится на складе).
При установке корректирующих смесительных насосов на перемычке допускается принимать два насоса, по 50 % требуемой подачи каждый, без резерва.
4.16 При подборе подкачивающих, смесительных и циркуляционных насосов расчетная подача их должна быть в пределах 0,7 - 1,1 подачи при максимальном КПД для данного типа насосов. При больших фактических расходах воды рекомендуется увеличивать гидравлическое сопротивление системы за счет установки дроссельных диафрагм или применять насос с регулируемым электроприводом.
4.17 Диаметр отверстий дроссельных диафрагм d, мм, устанавливаемых в соответствии с требованиями пп. 3.26, 3.29 и 3.35, следует определять по формуле
где G - расчетный расход воды в трубопроводе, т/ч;
DH - напор, гасимый дроссельной диафрагмой, м.
Минимальный диаметр отверстия дроссельной диафрагмы должен приниматься равным 3 мм.
При необходимости следует устанавливать последовательно две диафрагмы соответственно с большими диаметрами отверстий; при этом расстояние между диафрагмами должно приниматься не менее 10Dу трубопровода (Dу - условный диаметр трубопровода, мм).
4.18 Диаметр горловины элеватора dг, мм, следует определять по формуле
где Gdo - расчетный расход воды на отопление из тепловой сети, т/ч, определяемый по формуле (2);
u - коэффициент смешения, определяемый по формуле (3);
Hо - потери напора в системе отопления после элеватора при расчетном расходе воды, м.
При выборе элеватора следует принимать стандартный элеватор с ближайшим меньшим диаметром горловины.
4.19 Минимально необходимый напор Н, м, перед элеватором для преодоления гидравлического сопротивления элеватора и присоединенной к нему системы отопления (без учета гидравлического сопротивления трубопроводов, оборудования, приборов и арматуры до места присоединения элеватора) допускается определять по приближенной формуле
4.20 Диаметр сопла элеватора dc, мм, следует определять по формуле
где H1 - напор перед элеватором, определяемый по пьезометрическому графику, м.
Диаметр сопла следует определять с точностью до десятых долей миллиметра с округлением в меньшую сторону и принимать не менее 3 мм. Если напор H1 превышает напор H, определенный по формуле (8), в два раза и более, а также в случае когда диаметр сопла, определенный по формуле (9), получается менее 3 мм, избыток напора следует гасить регулирующим клапаном или дроссельной диафрагмой, устанавливаемыми перед элеватором. Диаметр отверстия диафрагмы должен определяться по формуле (6).
4.21 Перед элеватором на подающем трубопроводе рекомендуется предусматривать прямую вставку длиной 0,25 м на фланцах.
Диаметр вставки следует принимать равным диаметру трубопровода.
4.22 Баки-аккумуляторы для систем горячего водоснабжения у потребителей следует проектировать в соответствии со СНиП 2.04.01-85.
Баки-аккумуляторы, устанавливаемые в ЦТП жилых районов, должны рассчитываться на выравнивание суточного графика расхода воды за сутки наибольшего водопотребления. При этом вместимость баков-аккумуляторов рекомендуется принимать исходя из условий расчета производительности водоподогревателей по среднему потоку теплоты на горячее водоснабжение.
Вместимость баков-аккумуляторов, устанавливаемых на промышленных и сельскохозяйственных предприятиях, должна приниматься в соответствии с требованиями СНиП 2.04.01-85.
Баки-аккумуляторы, работающие под давлением выше 0,07 МПа, должны соответствовать требованиям «Правил устройства и безопасной эксплуатации сосудов, работающих под давлением» Госгортехнадзора.
4.23 В закрытых системах сбора, охлаждения и возврата конденсата должны приниматься баки, конструкция которых рассчитана на рабочее давление от 0,015 до 0,3 МПа, а в открытых системах - на атмосферное давление (под налив).
4.24 Рабочую вместимость и число сборных баков конденсата следует принимать в соответствии с требованиями разд. 3 СНиП 2.04.07-86*.
4.25 Конденсатные баки должны быть цилиндрической формы.
Применение прямоугольных баков допускается только для отстоя конденсата при условии невозможности появления в баке избыточного давления.
4.26 Днища конденсатных баков, как правило, должны приниматься сферической формы. Допускается применение днищ эллиптической и конической форм, при этом неотбортованные конические днища должны иметь общий центральный угол не более 45°.
4.27 В конденсатных баках должен предусматриваться люк диаметром в свету не менее 0,6 м.
4.28 Конденсатные баки должны быть оборудованы постоянными лестницами снаружи, а при высоте бака более 1,5 м - также и внутри бака.
4.29 Конденсатные баки должны быть оборудованы: указателями уровня, предохранительными устройствами от повышенного давления и, при необходимости, штуцерами с кранами и холодильниками для отбора проб.
В качестве предохранительных устройств в баках должны, как правило, применяться предохранительные клапаны; гидрозатворы рекомендуется применять при рабочем давлении в баке не более 15 кПа.
Для баков, работающих под налив, предохранительные устройства не предусматриваются; эти баки должны быть оборудованы штуцером для сообщения с атмосферой без установки на нем запорной арматуры; условные проходы этих штуцеров следует принимать по табл. 1.
4.30 Подвод конденсата в баки должен предусматриваться ниже нижнего уровня конденсата.
4.31 Разность отметок между нижним уровнем конденсата в баке и осью насосов для перекачки конденсата из бака должна быть достаточной, чтобы обеспечивалось невскипание конденсата во всасывающем патрубке насоса, но не менее 0,5 м.
4.32 Наружная и внутренняя поверхности конденсатных баков должны иметь антикоррозионное покрытие.
4.33 При установке расширительных баков их объем Vб, м3, следует определять по формуле
где n - удельный объем пара в зависимости от давления в баке, м3/кг;
х - массовое паросодержание конденсата в долях единицы, определяемое по формуле
|
1 |
2; 3 |
5 |
10 |
15; 20 |
25 |
40; 50 |
60 |
75 |
100; 125 |
150; 200 |
|
|
Условный диаметр штуцера, мм |
50 |
70 |
80 |
100 |
125 |
150 |
200 |
250 |
300 |
350 |
400 |
i1, i2 - удельное теплосодержание конденсата соответственно при давлении пара перед конденсатоотводчиком и в расширительном баке (энтальпия воды на линии насыщения), кДж/кг;
r2 - удельная скрытая теплота парообразования при давлении в расширительном баке, кДж/кг;
G - расчетный расход конденсата, т/ч;
k - коэффициент, учитывающий наличие пролетного пара, который допускается принимать равным 1,02 - 1,05.
4.34 Расширительные баки должны быть цилиндрической формы; для баков с внутренним диаметром корпуса до 500 мм должны приниматься плоские приварные или эллиптические днища, а при диаметре более 500 мм - эллиптические.
4.35 Расширительные баки должны быть оборудованы предохранительными клапанами.
4.36 Грязевики в тепловых пунктах следует предусматривать:
на подающем трубопроводе при вводе в тепловой пункт непосредственно после первой запорной арматуры;
на обратном трубопроводе перед регулирующими устройствами, насосами, приборами учета расхода воды и тепловых потоков - не более одного.
4.37 Перед механическими водосчетчиками и пластинчатыми водоподогревателями по ходу воды следует устанавливать сетчатые ферромагнитные фильтры.
4.38 Трубопроводы в пределах тепловых пунктов должны предусматриваться из стальных труб в соответствии с требованиями СНиП 2.04.07-86* и СНиП 2.04.01-85.
Трубопроводы, на которые распространяется действие «Правил устройства и безопасной эксплуатации трубопроводов пара и горячей воды» Госгортехнадзора, должны удовлетворять также требованиям этих Правил.
Трубы, рекомендуемые для применения, приведены в прил. 11.
Кроме того, для сетей горячего водоснабжения в закрытых системах теплоснабжения следует применять оцинкованные трубы по ГОСТ 3262, ТУ 14-3-482, ТУ 14-3-1428 и другие с толщиной цинкового покрытия не менее 30 мкм или эмалированные, а также неметаллические трубы, удовлетворяющие санитарным требованиям.
Для сетей горячего водоснабжения открытых систем теплоснабжения допускается применять неоцинкованные трубы.
4.39 Расположение и крепление трубопроводов внутри теплового пункта не должны препятствовать свободному перемещению эксплуатационного персонала и подъемно-транспортных устройств.
4.40 Для трубопроводов условным диаметром 25 мм и более в тепловых пунктах рекомендуется применять изделия и детали трубопроводов, опоры и подвески трубопроводов, а также баки расширительные и конденсатные по рабочим чертежам, разработанным Энергомонтажпроектом для тепловых сетей с параметрами теплоносителя:
Ру £ 2,5 МПа, t £ 200 °С - для воды;
Ру £ 4,0 МПа, t £ 425 °С - для пара.
Перечень выпусков типовой документации на конструкции, изделия и узлы зданий и сооружений серии 45.903-13 «Изделия и детали трубопроводов тепловых сетей. Рабочие чертежи» приведен в прил. 12.
4.41 Для компенсации тепловых удлинений трубопроводов в тепловых пунктах рекомендуется использовать углы поворотов трубопроводов (самокомпенсация). Установку на трубопроводах П-образных, линзовых, сильфонных, сальниковых компенсаторов следует предусматривать при невозможности компенсации тепловых удлинений за счет самокомпенсации.
4.42 Запорная арматура предусматривается:
на всех подающих и обратных трубопроводах тепловых сетей на вводе и выводе их из тепловых пунктов:
на всасывающем и нагнетательном патрубках каждого насоса;
на подводящих и отводящих трубопроводах каждого водоподогревателя.
В остальных случаях необходимость установки запорной арматуры определяется проектом. При этом число запорной арматуры на трубопроводах должно быть минимально необходимым, обеспечивающим надежную и безаварийную работу. Установка дублирующей запорной арматуры допускается при обосновании.
4.43 На вводе тепловых сетей в ЦТП должна применяться стальная запорная арматура, а на выводе из ЦТП допускается предусматривать арматуру из ковкого или высокопрочного чугуна.
Запорную арматуру на вводе в ИТП с суммарной тепловой нагрузкой на отопление и вентиляцию 0,2 МВт и более рекомендуется применять стальную.
В пределах тепловых пунктов допускается предусматривать арматуру из ковкого, высокопрочного и серого чугуна в соответствии с «Правилами устройства и безопасной эксплуатации трубопроводов пара и горячей воды» Госгортехнадзора (прил. 13).
На спускных, продувочных и дренажных устройствах применять арматуру из серого чугуна не допускается.
При установке чугунной арматуры в тепловых пунктах должна предусматриваться защита ее от напряжений изгиба. В тепловых пунктах допускается также применение арматуры из латуни и бронзы.
4.44 Принимать запорную арматуру в качестве регулирующей не допускается.
4.45 Не допускается размещение арматуры, дренажных устройств, фланцевых и резьбовых соединений в местах прокладки трубопроводов над дверными и оконными проемами, а также над воротами.
4.46 В подземных отдельно стоящих ЦТП должна предусматриваться на вводе трубопроводов тепловой сети запорная арматура с электроприводом независимо от диаметра трубопровода.
4.47 Предохранительные устройства должны быть рассчитаны и отрегулированы так, чтобы давление в защищенном элементе не превышало расчетное более чем на 10 %, а при расчетном давлении до 0,5 МПа - не более чем на 0,05 МПа. Расчет пропускной способности предохранительных устройств должен производиться согласно ГОСТ 24570.
4.48 Отбор теплоносителя от патрубка, на котором установлено предохранительное устройство, не допускается. Установка запорной арматуры непосредственно у предохранительных устройств не допускается.
Предохранительные клапаны должны иметь отводящие трубопроводы, предохраняющие обслуживающий персонал от ожогов при срабатывании клапанов. Эти трубопроводы должны быть защищены от замерзания и оборудованы дренажами для слива скапливающегося в них конденсата. Установка запорных органов на них не допускается.
4.49 Для промывки и опорожнения систем потребления теплоты на их обратных трубопроводах до запорной арматуры (по ходу теплоносителя) предусматривается установка штуцера с запорной арматурой. Диаметр штуцера следует определять расчетом в зависимости от вместимости и необходимого времени опорожнения систем.
4.50 На трубопроводах следует предусматривать устройство штуцеров с запорной арматурой:
в высших точках всех трубопроводов - условным диаметром не менее 15 мм для выпуска воздуха (воздушники);
в низших точках трубопроводов воды и конденсата, а также на коллекторах - условным диаметром не менее 25 мм для спуска воды (спускники).
4.51 В тепловых пунктах не допускается предусматривать пусковые перемычки между подающим и обратным трубопроводами тепловых сетей.
4.52 Предусматривать обводные трубопроводы для насосов (кроме подкачивающих), элеваторов, регулирующих клапанов, грязевиков и приборов для учета тепловых потоков и расхода воды не допускается.
4.53 На паропроводе должны предусматриваться пусковые (прямые) и постоянные (через конденсатоотводчик) дренажи в соответствии с требованиями разд. 9 СНиП 2.04.07-86*.
Пусковые дренажи должны устанавливаться:
перед запорной арматурой на вводе паропровода в тепловой пункт;
на распределительном коллекторе;
после запорной арматуры на ответвлениях паропроводов при уклоне ответвления в сторону запорной арматуры (в нижних точках паропровода).
Постоянные дренажи должны устанавливаться в нижних точках паропровода.
4.54 При проектировании систем сбора конденсата необходимо учитывать возможность попадания в эти системы пролетного пара в количестве 2 - 5 % объема возвращаемого конденсата.
4.55 Устройства для отвода конденсата из пароводяных водоподогревателей (конденсатоотводчики или регуляторы перелива - по п. 4.6) и паропроводов (конденсатоотводчики - по п. 4.53) должны размещаться ниже точек отбора конденсата и соединяться с ними вертикальными или горизонтальными трубопроводами с уклоном не менее 0,1 в сторону устройства для отбора конденсата.
4.56 Регуляторы перелива и конденсатоотводчики должны иметь обводные трубопроводы, обеспечивающие возможность сброса конденсата помимо этих устройств.
В случаях когда имеется противодавление в трубопроводах для сбора конденсата, должна предусматриваться установка обратного клапана на конденсатопроводе после обводного трубопровода. Обратный клапан должен быть установлен на обводном трубопроводе, если в конструкции конденсатоотводчика предусмотрен обратный клапан.
4.57 При выборе конденсатоотводчиков следует принимать:
расход конденсата после пароводяных водоподогревателей - равным максимальному расходу пара с коэффициентом 1,2, а для дренажа паропроводов - равным максимальному количеству конденсирующегося пара на дренируемом участке паропровода с коэффициентом 2;
давление в трубопроводе перед конденсатоотводчиком Р1, МПа, - равным 0,95 давления пара перед водоподогревателем или равным давлению пара в точке дренажа паропровода;
давление в трубопроводе после конденсатоотводчика Р2, МПа, - определяется по формуле
где а - коэффициент, учитывающий потерю давления в конденсатоотводчике и при отсутствии данных принимаемый равным 0,6.
При свободном сливе конденсата давление на выходе из трубопровода Р2, принимается равным 0,01 МПа, а при сливе в открытый бак - равным 0,02 МПа.
4.58 Обратные клапаны, кроме случаев, указанных в пп. 3.5 и 4.56, предусматриваются:
а) на циркуляционном трубопроводе системы горячего водоснабжения перед присоединением его к обратному трубопроводу тепловых сетей в открытых системах теплоснабжения или к водоподогревателям в закрытых системах теплоснабжения;
б) на трубопроводе холодной воды перед водоподогревателями системы горячего водоснабжения за водомерами по ходу воды;
в) на ответвлении от обратного трубопровода тепловой сети перед регулятором смешения в открытой системе теплоснабжения;
г) на трубопроводе перемычки между подающим и обратным трубопроводами систем отопления или вентиляции при установке смесительных или корректирующих насосов на подающем или обратном трубопроводе этих систем;
д) на нагнетательном патрубке каждого насоса до задвижки при установке более одного насоса;
е) на обводном трубопроводе у подкачивающих насосов;
ж) на подпиточном трубопроводе системы отопления при отсутствии на нем насоса.
Не следует предусматривать обратные клапаны, дублирующие обратные клапаны, устанавливаемые за насосами.
4.59 Диаметр труб гидрозатвора, мм, следует определять при условии свободного слива конденсата по формуле
где G - расчетный расход конденсата, т/ч.
Высота защитного столба конденсата в гидрозатворе должна приниматься в зависимости от давления в конденсатном баке, водоподогревателе или расширительном баке по табл. 2.
4.60 Площадь поперечного сечения корпуса распределительного коллектора принимается не менее суммы площадей поперечных сечений отводящих трубопроводов, а сборного коллектора - площадей сечений подводящих трубопроводов.
4.61 Для коллекторов диаметром более 500 мм применение плоских накладных приварных заглушек не допускается, должны применяться заглушки плоские приварные с ребрами или эллиптические.
4.62 Нижняя врезка отводящих и подводящих трубопроводов в коллектор не рекомендуется.
Врезки подводящего трубопровода распределительного коллектора и отводящего трубопровода сборного коллектора следует предусматривать около неподвижной опоры.
4.63 Коллектор устанавливается с уклоном 0,002 в сторону спускного штуцера.
4.64 Предохранительные клапаны на коллекторах следует предусматривать в соответствии с требованиями «Правил устройства и безопасной эксплуатации сосудов, работающих под давлением» Госгортехнадзора при условном проходе коллекторов более 150 мм и в соответствии с «Правилами безопасной эксплуатации трубопроводов пара и горячей воды» Госгортехнадзора при условном проходе 150 мм и менее.
4.65 Для трубопроводов, арматуры, оборудования и фланцевых соединений должна предусматриваться тепловая изоляция, обеспечивающая температуру на поверхности теплоизоляционной конструкции, расположенной в рабочей или обслуживаемой зоне помещения, для теплоносителей с температурой выше 100 °С - не более 45 °С, а с температурой ниже 100 °С - не более 35 °С (при температуре воздуха помещения 25 °С).
При проектировании тепловой изоляции оборудования и трубопроводов тепловых пунктов должны выполняться требования СНиП 2.04.14-88 «Тепловая изоляция оборудования и трубопроводов», а также требования к тепловой изоляции, содержащиеся в других действующих нормативных документах.
4.66 Материалы и изделия для теплоизоляционных конструкций трубопроводов, арматуры и оборудования тепловых пунктов, встроенных в жилые и общественные здания, должны приниматься негорючие. В качестве унифицированных могут применяться теплоизоляционные конструкции по «Типовым проектным решениям по применению теплоизоляционных конструкций для трубопроводов и оборудования тепловых электростанций» (прил. 14).
До начала выполнения проектной документации по тепловой изоляции для конкретного объекта по основному варианту типовых теплоизоляционных конструкций рекомендуется согласовать поставку применяемых материалов с организацией, выполняющей теплоизоляционные работы.
4.67 Толщина основного теплоизоляционного слоя для арматуры и фланцевых соединений принимается равной толщине основного теплоизоляционного слоя трубопровода, на котором они установлены.
Применять асбестоцементную штукатурку в качестве покровного слоя теплоизоляционных конструкций с последующей окраской масляной краской допускается только для небольших объемов работ.
4.68 В зависимости от назначения трубопровода и параметров среды поверхность трубопровода должна быть окрашена в соответствующий цвет и иметь маркировочные надписи в соответствии с требованиями «Правил устройства и безопасной эксплуатации трубопроводов пара и горячей воды» Госгортехнадзора.
Окраска, условные обозначения, размеры букв и расположение надписей должны соответствовать ГОСТ 14202. Пластинчатые теплообменники следует окрашивать теплостойкой эмалью.
5.1 Для защиты от коррозии и накипеобразования трубопроводов и оборудования централизованных систем горячего водоснабжения, присоединяемых к тепловым сетям по закрытой системе теплоснабжения (через водоподогреватели), в тепловых пунктах предусматривается при необходимости обработка воды.
Защиту трубопроводов горячего водоснабжения от внутренней коррозии следует осуществлять также путем использования труб с защитными покрытиями, преимущественно эмалированными, которые обеспечивают самую высокую эффективность. Оцинкованные трубы должны применяться более ограниченно, в зависимости от коррозионных показателей водопроводной нагретой воды или в сочетании с противокоррозионной обработкой в тепловых пунктах. Внутреннюю разводку труб систем горячего водоснабжения от стояков к потребителям рекомендуется осуществлять термостойкими трубами из полимерных материалов.
5.2 Обработку воды следует предусматривать в зависимости от качества воды, подаваемой из сетей хозяйственно-питьевого водопровода, материала труб и оборудования систем горячего водоснабжения, принятых в проекте, а также результатов технико-экономических обоснований.
5.3 Качество воды, поступающей в систему горячего водоснабжения, должно удовлетворять требованиям ГОСТ 2674.
Противокоррозионная и противонакипная обработка воды, подаваемой потребителям не должна ухудшать ее качество, указанное в ГОСТ 2874.
5.4 Реагенты и материалы, применяемые для обработки воды, имеющие непосредственный контакт с водой, поступающей в систему горячего водоснабжения, должны быть разрешены Минздравом России для использования в практике хозяйственно-питьевого водоснабжения.
5.5 Способ обработки воды следует выбирать в соответствии с прил. 15.
При исходной воде с положительным индексом насыщения, карбонатной жесткостью не более 4 мг-экв/л, суммарным содержанием хлоридов и сульфатов не более 50 мг/л, содержанием железа не более 0,3 мг/л обработку воды в тепловых пунктах предусматривать не требуется.
5.6 Обработку воды в соответствии с требованиями прил. 15 следует, как правило, предусматривать в ЦТП. В ИТП допускается применение магнитной, силикатной и ультразвуковой обработки воды. Обработку воды следует предусматривать для защиты трубок водоподогревателей горячего водоснабжения от карбонатного накипеобразования путем применения магнитной или ультразвуковой обработки.
5.7 Обезжелезивание воды должно предусматриваться в осветлительных фильтрах (следует использовать стандартные катионитные фильтры, загружаемые сульфоуглем).
Вода, поступающая в обезжелезивающие фильтры, должна содержать не менее 0,6 мг О2, на 1 мг двухвалентного железа, содержащегося в воде.
При отсутствии в воде необходимого количества кислорода следует проводить аэрацию воды подачей сжатого воздуха или добавлением атмосферного воздуха с помощью эжектора в трубопровод перед фильтром до содержания кислорода не более 0,9 мг О2 на 1 мг двухвалентного железа.
Характеристики фильтрующего слоя и технологические показатели осветлительных фильтров приведены в прил. 16.
5.8 Магнитную обработку воды надлежит осуществлять в электромагнитных аппаратах или в аппаратах с постоянными магнитами.
5.9 При выборе обезжелезивающих фильтров и магнитных аппаратов следует принимать:
производительность - по максимальному часовому расходу воды на горячее водоснабжение, т/ч;
количество - по требуемой производительности без резерва;
5.10 Напряженность магнитного поля в рабочем зазоре магнитного аппарата не должна превышать 159 × 103 А/м.
В случае применения электромагнитных аппаратов необходимо предусматривать контроль напряженности магнитного поля по силе тока.
5.11 Для деаэрации воды должны приниматься термические деаэраторы по ГОСТ 16860, как правило, струйные вертикальные.
Для вакуумной деаэрации допускается использовать деаэраторы со струйными тарельчатыми колонками при исходной воде с карбонатной жесткостью от 2 до 4 мг-экв/л или с колонками с насадочными керамическими кольцами при воде с карбонатной жесткостью до 2 мг-экв/л, при воде с карбонатной жесткостью от 4 до 7 мг-экв/л должны использоваться деаэраторы со струйными тарельчатыми колонками в сочетании с магнитной обработкой воды.
В атмосферных деаэраторах при исходной воде с карбонатной жесткостью до 2 мг-экв/л допускается применять струйные тарельчатые колонки.
5.12 Производительность деаэратора, т/ч, принимается по среднему расходу воды на горячее водоснабжение. Число деаэраторов должно быть минимальным, без резерва.
5.13 Размещение деаэрационных колонок вне помещения на открытом воздухе не рекомендуется.
5.14 При деаэрации воды в качестве деаэрационных баков следует предусматривать безнапорные (открытые) баки-аккумуляторы. Если последние требуются в системе горячего водоснабжения, установка деаэраторных баков не рекомендуется.
5.15 В тепловых пунктах с деаэраторной установкой следует предусматривать возможность подачи воды в систему горячего водоснабжения помимо деаэратора.
5.16 Высоту установки деаэраторной колонки с открытым баком-аккумулятором следует принимать из условия, обеспечивающего поступление деаэрированной воды самотеком на колонки в бак при наивысшем уровне воды в баке.
5.17 Вода из деаэрационной колонки в бак-аккумулятор подается в нижнюю часть бака под минимальный уровень воды по трубам с отверстиями. Отверстия располагаются вдоль трубы в горизонтальной плоскости.
5.18 Обязательными элементами вакуумного деаэратора являются охладитель выпара и газоотсасывающее устройство для отвода неконденсирующихся газов и поддержания вакуума в деаэраторе.
В качестве газоотсасывающего устройства следует предусматривать водоструйные эжекторы с насосами и баком рабочей воды. Допускается вместо водоструйных эжекторов с насосами применять вакуум-насосы.
Число насосов и эжекторов следует предусматривать не менее двух к каждой деаэрационной колонке, один из которых является резервным.
5.19 Для защиты внутренней поверхности баков-аккумуляторов от коррозии и деаэрированной воды в них от аэрации, как правило, следует применять герметизирующую жидкость марки АГ-4И. При этом в конструкции бака следует предусматривать устройство, исключающее попадание герметизирующей жидкости в систему горячего водоснабжения.
Допускается применять комбинацию защиты баков от коррозии и воды от аэрации с помощью антикоррозионных покрытий (например, на основе цинксиликатной композиции «Барьер IП»), а также катодной защиты, металлизационных покрытий в сочетании с антиаэрационными плавающими шариками, изготовленными из вспенивающегося полимерного материала.
При отсутствии вакуумной деаэрации защиты воды в баках от аэрации не требуется, а внутренняя поверхность баков должна быть защищена от коррозии за счет применения защитных покрытий или катодной защиты.
5.20 Силикатную обработку воды и ее подщелачивание, осуществляемые совместно с деаэрацией (см. прил. 15), следует предусматривать путем добавления в исходную воду раствора жидкого натриевого стекла, изготовляемого по ГОСТ 13078.
Силикатный модуль жидкого натриевого стекла должен быть в пределах 2,8 - 3,2, при этом меньшее значение модуля следует принимать при исходной воде с отрицательным индексом насыщения, большее - с положительным индексом насыщения. Допускается применение высокомодульного жидкого стекла с силикатным модулем 3,8 - 4,2 фирмы «Картэк».
Предельно допустимая концентрация (ПДК) соединений кремния 50 мг/л (в пересчете на SiO32-) В указанную величину входят начальная концентрация SiO32- в исходной воде и доза вводимого жидкого натриевого стекла.
Подщелачивание допускается также осуществлять другими реагентами, удовлетворяющими требованию п. 5.4 настоящего свода правил.
5.21 Дозу жидкого натриевого стекла, вводимого для силикатной обработки воды, следует принимать по прил. 17.
Для подщелачивания воды следует предусматривать введение в исходную воду жидкого натриевого стекла в количестве 2,8 мг (в пересчете на SiO32-) на 1 мг связываемой углекислоты (СО2), но не выше 50 мг/л с учетом начальной концентрации SiO32- в исходной воде.
5.22 Дозирование раствора жидкого натриевого стекла для силикатной обработки и подщелачивания воды предусматривается с помощью вытеснительного шайбового дозатора, устанавливаемого без резерва. Допускается применение автоматизированных плунжерных насосов-дозаторов.
5.23 Место ввода раствора жидкого натриевого стекла в воду следует предусматривать:
при карбонатной жесткости исходной воды до 4 мг-экв/л - в трубопровод холодной воды до водоподогревателя;
при карбонатной жесткости более 4 мг-экв/л и наличии циркуляционного трубопровода в системе централизованного горячего водоснабжения - в трубопровод нагреваемой воды непосредственно перед подсоединением циркуляционного трубопровода, а при отсутствии циркуляционного трубопровода - в трубопровод горячей воды после водоподогревателя.
5.24 Для технологического контроля качества обработанной воды необходимо предусматривать устройство штуцеров с кранами условным диаметром Dy = 15 мм на трубопроводах обработанной воды.
На пробоотборных трубопроводах должны предусматриваться холодильники для охлаждения проб до 40 °С. В случаях контроля содержания в воде растворенного кислорода и железа штуцер отбора проб, подводящий трубопровод и змеевик холодильника должны предусматриваться из коррозионно-стойких материалов.
6.1 При проектировании отопления, вентиляции, водопровода и канализации тепловых пунктов следует выполнять требования СНиП 2.04.05-91*, СНиП 2.04.01-85, а также указания настоящего раздела.
6.2 Отопление помещений не предусматривается, если имеющиеся в них тепловыделения от оборудования и трубопроводов достаточны для обогрева этих помещений.
При необходимости устройства систем отопления отдельно стоящих тепловых пунктов, эти системы следует присоединять к трубопроводам тепловых сетей на выходе из теплового пункта с установкой диафрагмы для гашения избыточного напора.
6.3 В тепловых пунктах должна предусматриваться приточно-вытяжная вентиляция, рассчитанная на воздухообмен, определяемый по тепловыделениям от трубопроводов и оборудования.
Температура воздуха в рабочей зоне в холодный и переходный периоды года должна быть не более 28 °С, в теплый период года - не более чем на 5 °С выше расчетной температуры наружного воздуха по параметрам А.
При размещении тепловых пунктов в жилых и общественных зданиях следует производить проверочный расчет теплопоступлений из помещения теплового пункта в смежные с ним помещения. В случае превышения в этих помещениях допустимой температуры воздуха следует предусматривать мероприятия по дополнительной теплоизоляции ограждающих конструкций смежных помещений.
6.4 Прочистку трубопроводов в тепловых пунктах и систем потребления теплоты следует производить водопроводной водой или сжатым воздухом.
6.5 Опорожнение трубопроводов и оборудования тепловых пунктов и систем потребления теплоты должно осуществляться самотеком в канализацию с разрывом струи через воронку, раковину или водосборный приямок. При невозможности обеспечить опорожнение систем самотеком должен предусматриваться ручной насос или насос с электроприводом.
Опорожнение конденсатных баков предусматривается по напорным конденсатопроводам, в водосборный приямок допускается предусматривать слив конденсата, оставшегося в баке ниже уровня всасывающих патрубков насосов.
6.6 В полу теплового пункта следует предусматривать трап, если отметки системы канализации водостока или попутного дренажа тепловых сетей позволяют осуществлять самотечный отвод случайных вод в эти системы, или водосборный приямок при невозможности самотечного отвода случайных вод.
6.7 Для откачки воды из водосборного приямка в систему канализации, водостока или попутного дренажа должен предусматриваться один дренажный насос (без резерва) В подземных тепловых пунктах должны предусматриваться два дренажных насоса с электроприводами, один из которых - резервный. Насос, предназначенный для откачки воды из водосборного приямка, не допускается использовать для промывки систем потребления теплоты.
7.1 При проектировании электроснабжения и электрооборудования тепловых пунктов следует руководствоваться требованиями «Правил устройства электроустановок» (ПУЭ) и указаниями настоящего раздела.
7.2 Тепловые пункты в части надежности электроснабжения следует относить к электроприемникам II категории при установке в них подкачивающих смесительных и циркуляционных насосов систем отопления, вентиляции и горячего водоснабжения, а также запорной арматуры при телеуправлении.
7.3 В тепловых пунктах следует предусматривать рабочее искусственное освещение для VI разряда зрительной работы и аварийное освещение.
7.4 Электрические сети должны обеспечивать возможность работы сварочных аппаратов и ручного электромеханического инструмента.
7.5 Местное управление задвижками с электроприводами и насосами для подземных ЦТП должно дублироваться дистанционным управлением со щита, расположенного на высоте не ниже планировочной отметки земли.
7.6 Электрооборудование должно отвечать требованиям ПУЭ для работы во влажных помещениях, а в подземных встроенных и пристроенных тепловых пунктах - в сырых помещениях.
7.7 Для металлических частей электроустановок, не находящихся под напряжением, должно быть предусмотрено заземление.
8.1 Средства автоматизации и контроля должны обеспечивать работу тепловых пунктов без постоянного обслуживающего персонала (с пребыванием персонала не более 50 % рабочего времени).
8.2 Автоматизация тепловых пунктов закрытых и открытых систем теплоснабжения должна обеспечивать:
поддержание заданной температуры воды, поступающей в систему горячего водоснабжения;
регулирование подачи теплоты (теплового потока) в системы отопления в зависимости от изменения параметров наружного воздуха с целью поддержания заданной температуры воздуха в отапливаемых помещениях;
ограничение максимального расхода воды из тепловой сети на тепловой пункт путем прикрытия клапана регулятора расхода теплоты на отопление закрытых систем теплоснабжения для отдельных жилых и общественных зданий и микрорайонов с максимальным тепловым потоком на вентиляцию менее 15 % максимального теплового потока на отопление либо путем прикрытия клапана регулятора температуры воды, поступающей в систему горячего водоснабжения в тепловых пунктах открытых систем теплоснабжения и закрытых систем теплоснабжения промышленных зданий, а также жилых микрорайонов и общественных зданий с максимальным тепловым потоком на вентиляцию более 15 % максимального теплового потока на отопление. Допускается ограничение максимального расхода воды из тепловой сети на тепловой пункт путем установки специального регулятора с клапаном на подающем трубопроводе. Эту же роль выполняет регулятор постоянства расхода воды, устанавливаемый на перемычке II ступени водоподогревателя (см. рис. 8) при отсутствии регуляторов расхода теплоты на отопление и закрытой задвижке перемычки Б;
поддержание требуемого перепада давлений воды в подающем и обратном трубопроводах тепловых сетей на вводе в ЦТП или ИТП при превышении фактического перепада давлений над требуемым более чем на 200 кПа;
минимальное заданное давление в обратном трубопроводе системы отопления при возможном его снижении;
поддержание требуемого перепада давлений воды в подающем и обратном трубопроводах систем отопления в закрытых системах теплоснабжения при отсутствии регуляторов расхода теплоты на отопление (см. рис. 7, 8), а также установке корректирующих насосов, характеризующихся изменением напора в пределах более 20 % (в диапазоне рабочих расходов), на перемычке между обратным и подающим трубопроводами тепловой сети (см. рис 1, 2);
включение и выключение подпиточных устройств для поддержания статического давления в системах теплопотребления при их независимом присоединении;
защиту систем потребления теплоты от повышения давления или температуры воды в трубопроводах этих систем при возможности превышения допустимых параметров;
поддержание заданного давления воды в системе горячего водоснабжения;
включение и выключение корректирующих насосов;
блокировку включения резервного насоса при отключении рабочего;
защиту системы отопления от опорожнения;
прекращение подачи воды в бак-аккумулятор или в расширительный бак при независимом присоединении систем отопления по достижении верхнего уровня в баке и включение подпиточных устройств при достижении нижнего уровня;
включение и выключение дренажных насосов в подземных тепловых пунктах по заданным уровням воды в дренажном приямке.
Примечание - Автоматизацию деаэрационных установок рекомендуется предусматривать в соответствии со СНиП II-35-76.
8.3 Для учета расхода тепловых потоков и расхода воды потребителями должны предусматриваться приборы учета тепловой энергии в соответствии с «Правилами учета отпуска тепловой энергии».
8.4 При независимом присоединении систем отопления к тепловым сетям следует предусматривать горячеводный водомер на трубопроводе для подпитки систем.
8.5 Расходомеры и водомеры должны рассчитываться на максимальный часовой расход теплоносителя по прил. 10 и подбираться так, чтобы стандартное значение верхнего предела измерения было ближайшим по отношению к значению максимального часового расхода.
8.6 Применение в открытых системах теплоснабжения и системах горячего водоснабжения ртутных дифманометров не допускается.
8.7 Длина прямых участков трубопровода до и после измерительных устройств расходомеров должна определяться в соответствии с инструкциями на приборы.
8.8 При подаче от источника теплоты потребителю пара нескольких различных параметров допускается для учета возвращаемого конденсата предусматривать один расходомер на общем конденсатопроводе после конденсатных насосов.
8.9 В тепловых пунктах с расходом теплоты более 2,3 МВт, как правило, должны предусматриваться следующие контрольно-измерительные приборы:
а) манометры самопишущие - после запорной арматуры на вводе в тепловой пункт подающего и обратного трубопроводов водяных тепловых сетей, паропроводов и конденсатопроводов.
б) манометры показывающие:
до запорной арматуры на вводе в тепловой пункт трубопроводов водяных тепловых сетей, паропроводов и конденсатопроводов;
на распределительном и сборном коллекторах водяных тепловых сетей и паропроводов;
после узла смешения;
на паропроводах до и после редукционных клапанов;
на трубопроводах водяных тепловых сетей и паропроводах до и после регуляторов давления;
на подающих трубопроводах после запорной арматуры на каждом ответвлении к системам потребления теплоты и на обратных трубопроводах до запорной арматуры - из систем потребления теплоты;
в) штуцеры для манометров - до и после грязевиков, фильтров и водомеров;
г) термометры самопишущие - после запорной арматуры на вводе в тепловой пункт трубопроводов водяных тепловых сетей, паропроводов и конденсатопроводов;
на распределительном и сборном коллекторах водяных тепловых сетей и паропроводов;
на трубопроводах водяных тепловых сетей после узла смешения;
на подающих и обратных трубопроводах из каждой системы потребления теплоты по ходу воды перед задвижкой.
8.10 В тепловых пунктах с расходом теплоты до 2,3 МВт должны предусматриваться:
а) манометры показывающие:
после запорной арматуры на вводе в тепловой пункт трубопроводов водяных тепловых сетей, паропроводов и конденсатопроводов;
после узла смешения;
до и после регуляторов давления на трубопроводах водяных тепловых сетей и паропроводов;
на паропроводах до и после редукционных клапанов;
на подающих трубопроводах после запорной арматуры на каждом ответвлении к системам потребления теплоты и на обратных трубопроводах до запорной арматуры - из систем потребления теплоты;
б) штуцеры для манометров:
до запорной арматуры на вводе в тепловой пункт трубопроводов водяных тепловых сетей, паропроводов и конденсатопроводов;
до и после грязевиков, фильтров и водомеров;
в) термометры показывающие:
после запорной арматуры на вводе в тепловой пункт трубопроводов водяных тепловых сетей, паропроводов и конденсатопроводов;
на трубопроводах водяных тепловых сетей после узла смешения;
на обратных трубопроводах из систем потребления теплоты по ходу воды перед задвижками.
8.11 Показывающие манометры и термометры должны предусматриваться на входе и выходе трубопроводов греющей и нагреваемой воды для каждой ступени водоподогревателей систем горячего водоснабжения и отопления.
8.12 Показывающие манометры должны предусматриваться перед всасывающими и после нагнетательных патрубков насосов.
8.13 При установке самопишущих термометров и манометров следует предусматривать кроме них на тех же трубопроводах штуцеры для показывающих манометров и гильзы для термометров.
8.14 В случаях когда приборы учета расхода теплоты комплектуются самопишущими или показывающими расходомерами, термометрами и манометрами, предусматривать дублирующие контрольно-измерительные приборы не следует.
8.15 Автоматизацию и контроль установок сбора и возврата конденсата следует предусматривать в объеме, указанном в СНиП 2.04.07-86* для конденсатных насосных.
8.16 Для деаэрационных установок следует предусматривать следующие контрольно-измерительные приборы: термометры показывающие; указатели уровня воды в баках; манометры показывающие и самопишущие.
8.17 На местном щите управления следует предусматривать световую сигнализацию о включении резервных насосов и достижении следующих предельных параметров:
температуры воды, поступающей в систему горячего водоснабжения (минимальная - максимальная);
давления в обратных трубопроводах систем отопления каждого здания или в обратном трубопроводе распределительных сетей отопления на выходе из ЦТП (минимальные - максимальные);
минимального перепада давлений в подающем и обратном трубопроводах тепловой сети на входе и на выходе из ЦТП;
уровней воды или конденсата в баках и водосборных приямках.
При применении регуляторов расхода теплоты на отопление следует предусматривать сигнализацию о превышении заданной величины отклонения регулируемого параметра.
8.18 Методика расчета графиков регулирования подачи теплоты на отопление у потребителей, поддерживаемых системой автоматизации, предусматриваемой в тепловых пунктах, приведена в прил. 18. При расчете этих графиков следует учитывать принятый режим регулирования отпуска теплоты на источнике, внутренние тепловыделения в помещениях зданий и сооружений, метеорологические условия и др.
9.1 Дистанционный контроль за работой оборудования и параметрами теплоносителя осуществляется в диспетчерских пунктах предприятия тепловых сетей, объединенной диспетчерской службе (ОДС) жилого района, промышленного и сельскохозяйственного предприятия или на щите управления источника теплоты.
При теплоснабжении от котельных мощностью 35 МВт и менее диспетчеризацию предусматривать не рекомендуется
9.2 Диспетчеризация осуществляется:
аварийно-предупредительной сигнализацией путем передачи одного общего светозвукового сигнала о нарушениях режимов работы, предусмотренной в п. 8.17;
дистанционным управлением;
телемеханизацией, как правило, в телемеханизированных системах теплоснабжения.
При отсутствии ОДС на промышленном или сельскохозяйственном предприятии следует предусматривать аварийно-предупредительную сигнализацию из индивидуальных тепловых пунктов в ЦТП.
9.3 Дистанционное управление следует предусматривать при обосновании для клапанов, регулирующих расход теплоты на отопление и горячее водоснабжение, в соответствии с пп. 3.9, 3.10, 3.15 и 3.16 и для другой арматуры и оборудования.
9.4 При телемеханизации предусматриваются:
а) телеизмерение по вызову следующих параметров теплоносителя:
температуры воды в подающем трубопроводе тепловой сети на входе в ЦТП или ИТП при отсутствии ЦТП. Для жилых и общественных зданий телеизмерение температуры предусматривается одно на все ЦТП и ИТП в данном микрорайоне при теплоснабжении от одного источника теплоты;
температуры воды в подающем и обратном трубопроводах системы отопления каждого здания;
б) телесигнализация путем передачи одного общего светозвукового сигнала о нарушениях режимов работы предусмотренного п. 8.17;
в) телеуправление при обосновании в объеме, указанном в п. 9.3.
9.5 Для тепловых пунктов при расходе теплоты 2,3 МВт и более следует предусматривать телефонную связь с диспетчерским пунктом.
10.1 Требования настоящего раздела должны соблюдаться в целях предотвращения превышения уровней шума и вибрации, допускаемых ГОСТ 12.1.003, ГОСТ 12.1.012 и СНиП II-12-77 в зданиях со встроенными тепловыми пунктами и близлежащих к тепловым пунктам.
Примечание - Требования настоящего раздела распространяются на тепловые пункты промышленных и сельскохозяйственных предприятий, если они предусмотрены техническим заданием на проектирование теплового пункта.
10.2 Тепловые пункты, оборудуемые насосами, не допускается размещать смежно, под или над помещениями жилых квартир, спальных и игровых детских дошкольных учреждений, спальными помещениями школ-интернатов, гостиниц, общежитий, санаториев, домов отдыха, пансионатов, палатами и операционными больниц, помещениями с длительным пребыванием больных, кабинетами врачей, зрительными залами зрелищных предприятий, за исключением тех пунктов, где устанавливаются бесфундаментные насосы, обеспечивающие уровень звукового давления в смежных помещениях, не превышающий допустимый по СНиП II-12-77.
Примечание - На тепловые пункты, в которых предусматривается установка бесфундаментных насосов требования настоящего раздела не распространяются.
10.3 Минимальное расстояние в свету от отдельно стоящих наземных ЦТП до наружных стен помещений, перечисленных в п. 10.2, должно приниматься не менее 25 м.
10.4 Наружные ограждающие конструкции наземных тепловых пунктов должны иметь величину изоляции от воздушного шума, определяемую в соответствии со СНиП II-12-77.
10.5 Наружные двери и ворота тепловых пунктов не должны, как правило, быть направлены в сторону помещений перечисленных в п. 10.2, и должны иметь уплотнение притворов с допускаемым зазором по периметру не более 1 м. Допускается размещать наружные двери и ворота в стенах тепловых пунктов, обращенных в сторону наиболее удаленного из указанных помещений.
10.6 Необходимость применения глушителей шума на вентиляционных проемах в наружных ограждениях, звукопоглощающей облицовки стен и потолка и выбор их конструкции должны определяться расчетом.
Звукопоглощающая облицовка должна предусматриваться из несгораемых материалов.
10.7 В отдельно стоящих тепловых пунктах толщина бетонного пола должна приниматься не менее 0,2 м по песчаной подсыпке толщиной не менее 0,2 м. При этом в наземных тепловых пунктах пол должен отделяться от наружных ограждающих конструкций зазором шириной не менее 0,05 м с заполнением его песком.
10.8 В отдельно стоящих тепловых пунктах рекомендуется предусматривать жесткое крепление насосов к фундаменту, а во встроенных и пристроенных тепловых пунктах насосы следует устанавливать на виброизолирующие основания, как правило, с пружинными виброизоляторами.
Для соединения трубопроводов с патрубками насосов должны предусматриваться гибкие вставки длиной не менее 1 м, устанавливаемые, как правило, в горизонтальной плоскости. В качестве гибких вставок при температуре теплоносителя до 100 °С рекомендуется принимать резиновые напорные рукава с текстильным каркасом по ГОСТ 18698.
В отдельно стоящих тепловых пунктах гибкие вставки допускается не предусматривать.
10.9 В местах ввода трубопроводов, идущих от отдельно стоящих или пристроенных тепловых пунктов, в здания жесткая заделка труб в стены и фундаменты этих зданий не допускается.
Размеры отверстий для пропуска труб через стены и фундаменты должны обеспечивать зазор между поверхностями теплоизоляционной конструкции трубы и строительной конструкцией здания. Для заделки зазора следует применять эластичные водогазонепроницаемые материалы.
Неподвижные опоры на этих трубопроводах должны размещаться на расстоянии не менее чем 2 м от наружной стены здания.
10.10 Во встроенных и пристроенных тепловых пунктах под опоры трубопроводов и оборудования при их креплении к строительным конструкциям здания необходимо предусматривать виброизолирующие прокладки, в качестве которых рекомендуется применять резиновые виброизоляторы (коврики).
11.1 При проектировании тепловых пунктов в районах с сейсмичностью 8 баллов и более, на вечномерзлых грунтах, на подрабатываемых территориях и в районах с просадочными от замачивания грунтами II типа необходимо соблюдать требования СНиП 2.02.01-83, СНиП II-7-81* (изд. 1995 г.), СНиП 2.02.04-88.
При размещении баков на просадочных грунтах II типа следует соблюдать также требования СНиП 2.04.02-84*.
Примечание - При просадочных грунтах I типа тепловые пункты проектируются без учета требований данного раздела.
11.2 Расчетная сейсмичность для зданий тепловых пунктов должна приниматься одинаковой с установленной расчетной сейсмичностью для зданий, обслуживаемых тепловым пунктом.
11.3 Высота зданий наземных тепловых пунктов не должна превышать 4 м.
11.4 Запорная регулирующая и предохранительная арматура независимо от параметров теплоносителей и диаметров труб должна приниматься стальной.
11.5 В местах присоединения трубопроводов к насосам, водоподогревателям и бакам должны предусматриваться конструкции компенсационных устройств, обеспечивающие продольные и угловые перемещения трубопроводов. Допускается применение гибких вставок по п. 10.8 настоящего свода правил.
11.6 В местах прохода трубопроводов тепловых сетей через фундаменты и стены зданий тепловых пунктов зазор между поверхностью теплоизоляционной конструкции трубы, верхом и стенками проема должен предусматриваться не менее 0,2 м.
Для заделки зазора следует применять эластичные водогазонепроницаемые материалы.
11.7 При расчете трубопроводов на самокомпенсацию тепловых удлинений с целью повышения гибкости участков трубопроводов между неподвижными опорами расчетное тепловое удлинение участка следует увеличивать на 20 %.
11.8 Здания и сооружения тепловых пунктов следует проектировать надземными с вентилируемыми подпольями.
11.9 Прокладку трубопроводов следует предусматривать выше уровня пола. Устройство в полу каналов и приямков не допускается.
11.10 Для опорожнения оборудования и трубопроводов теплового пункта и систем потребления теплоты следует предусматривать систему дренажа и слива воды, исключающую воздействие теплоты на грунт.
11.11 Число параллельно работающих водоподогревателей для систем отопления должно быть не менее двух, рассчитанных на 75 % производительности каждый, а для системы отопления зданий и сооружений, не допускающих перерывов в подаче теплоты, - на 100 %.
11.12 При применении арматуры общепромышленного назначения и крепежа, изготовленного из углеродистой стали, должны соблюдаться мероприятия, исключающие возможность снижения температуры стали ниже минус 30 °С при транспортировании, хранении, монтаже и эксплуатации.
11.13 Заглубление баков горячей воды и конденсатных баков ниже планировочных отметок земли при строительстве на вечномерзлых грунтах по принципу I (с сохранением мерзлого состояния грунтов) не допускается.
11.14 При проектировании тепловых пунктов на подрабатываемых территориях должны соблюдаться требования пп. 11.4 - 11.6.
11.15 Усилия от неподвижных опор не должны передаваться на конструкцию зданий.
11.16 Под полами тепловых пунктов и баками следует предусматривать уплотнение грунта на глубину 2,0 - 2,5 м. Контур уплотненного грунта основания должен быть больше габаритов сооружения не менее чем на 3,0 м в каждую сторону.
Полы должны быть водонепроницаемыми и иметь уклон не менее 0,01 м в сторону водосборного водонепроницаемого приямка.
В местах сопряжения полов со стенами должны предусматриваться водонепроницаемые плинтусы на высоту 0,1 - 0,2 м.
11.17 Расстояние от баков-аккумуляторов и конденсатных баков, размещаемых вне тепловых пунктов, до зданий и сооружений должно быть: при грунтовых условиях II типа (с водопроницаемыми подстилающими грунтами) не менее 1,5 толщины просадочного слоя; при грунтовых условиях II типа (с водонепроницаемыми подстилающими грунтами) не менее трех толщин просадочного слоя, но не более 40 м.
11.18 Прокладку трубопроводов следует предусматривать, как правило, выше уровня пола.
Допускается прокладка трубопроводов в водонепроницаемых каналах.
11.19 В местах прохода тепловых сетей через фундаменты или стены зданий тепловых пунктов зазор между поверхностью теплоизоляционной конструкции трубопровода и верхом (низом) отверстия должен предусматриваться с учетом возможной просадки здания или сооружения.
Минимальные расстояния в свету от трубопроводов до строительных конструкций и до смежных трубопроводов
|
Расстояние от поверхности теплоизоляционной конструкции трубопроводов, мм, не менее |
|||||
|
до стены |
до перекрытия |
до пола |
до поверхности теплоизоляционной конструкции смежного трубопровода |
||
|
по вертикали |
по горизонтали |
||||
|
25 - 80 |
150 |
100 |
150 |
100 |
100 |
|
100 - 250 |
170 |
100 |
200 |
140 |
140 |
|
300 - 350 |
200 |
120 |
200 |
160 |
160 |
|
400 |
200 |
120 |
200 |
160 |
200 |
|
500 - 700 |
200 |
120 |
200 |
200 |
200 |
|
800 |
250 |
150 |
250 |
200 |
250 |
|
900 |
250 |
150 |
300 |
200 |
250 |
|
1000 - 1400 |
350 |
250 |
350 |
300 |
300 |
|
Примечание - При реконструкции тепловых пунктов с использованием существующих строительных конструкций допускается отступление от размеров, указанных в данной таблице, но с учетом требований п. 2.33. |
|||||
|
Наименование оборудования и строительных конструкций, между которыми предусматриваются проходы |
Ширина проходов в свету, мм, не менее |
|
Между насосами с электродвигателями напряжением до 1000 В |
1,0 |
|
То же, 1000 В и более |
1,2 |
|
Между насосами и стеной |
1,0 |
|
Между насосами и распределительным щитом или щитом КИПиА |
2,0 |
|
Между выступающими частями оборудования (водоподогревателей, грязевиков, элеваторов и др.) или выступающими частями оборудования и стеной |
0,8 |
|
От пола или перекрытия до поверхности теплоизоляционных конструкций трубопроводов |
0,7 |
|
Для обслуживания арматуры и компенсаторов (от стены до фланца арматуры или до компенсатора) при диаметре труб, мм: |
|
|
до 500 |
0,6 |
|
от 600 до 900 |
0,7 |
|
При установке двух насосов с электродвигателями на одном фундаменте без прохода между ними, но с обеспечением вокруг сдвоенной установки проходов |
1,0 |
Минимальное расстояние в свету между трубопроводами и строительными конструкциями
|
Расстояние в свету, мм, не менее |
|
|
От выступающих частей арматуры или оборудования (с учетом теплоизоляционной конструкции) до стены |
200 |
|
От выступающих частей насосов с электродвигателями напряжением до 1000 В с диаметром напорного патрубка не более 100 мм (при установке у стены без прохода) до стены |
300 |
|
Между выступающими частями насосов и электродвигателей при установке двух насосов с электродвигателями на одном фундаменте у стены без прохода |
300 |
|
От фланца задвижки на ответвлении до поверхности теплоизоляционной конструкции основных труб |
100 |
|
От выдвинутого шпинделя задвижки (или штурвала) до стены или перекрытия при Dу £ 400 мм |
100 |
|
То же, при Dу ³ 500 мм |
200 |
|
От пола до низа теплоизоляционной конструкции арматуры |
100 |
|
От стены или от фланца задвижки до штуцеров для выпуска воды или воздуха |
100 |
|
От пола или перекрытия до поверхности теплоизоляционной конструкции труб ответвлений |
300 |
1. Расчетную тепловую производительность водоподогревателей Qsp, Вт, следует принимать по расчетным тепловым потокам на отопление, вентиляцию и горячее водоснабжение, приведенным в проектной документации зданий и сооружений.
При отсутствии проектной документации допускается определять расчетные тепловые потоки в соответствии с указаниями СНиП 2.04.07-86* (по укрупненным показателям).
2. Расчетную тепловую производительность водоподогревателей для систем отопления Qspo следует определять при расчетной температуре наружного воздуха для проектирования отопления to, °С, и принимать по максимальным тепловым потокам Qomax, определяемым в соответствии с указанием п. 1.
При независимом присоединении систем отопления и вентиляции через общий водоподогреватель расчетная тепловая производительность водоподогревателя, Вт, определяется по сумме максимальных тепловых потоков на отопление и вентиляцию:
![]()
3. Расчетную тепловую производительность водоподогревателей, Вт, для систем горячего водоснабжения с учетом потерь теплоты подающими и циркуляционными трубопроводами Qsph, Вт, следует определять при температурах воды в точке излома графика температур воды в соответствии с указаниями п. 1, а при отсутствии проектной документации - по тепловым потокам, определяемым по следующим формулам:
при наличии
баков-аккумуляторов нагреваемой воды у
потребителей - по среднему тепловому потоку на горячее водоснабжение за отопительный период, определяемому по п. 3.13, а СНиП
2.04.01-85, по формуле
или в зависимости от
принятого запаса теплоты в баках по прил. 7 и 8
указанной главы (или по СНиП 2.04.07-86* -
);
при отсутствии баков-аккумуляторов нагреваемой воды у потребителей
- по максимальным тепловым потокам на горячее водоснабжение, определяемым по п.
3.13, б СНиП 2.04.01-85,
(или по СНиП
2. 04.07-86* -
);
4. При отсутствии данных о величине потерь теплоты трубопроводами систем горячего водоснабжения допускается тепловые потоки на горячее водоснабжение, Вт, определять по формулам:
при наличии баков-аккумуляторов
при отсутствии баков-аккумуляторов
(2)
где kтп - коэффициент, учитывающий потери теплоты трубопроводами систем горячего водоснабжения, принимаемый по табл. 1.
|
Коэффициент, учитывающий потери теплоты трубопроводами, kтп |
||
|
при наличии тепловых сетей горячего водоснабжения после ЦТП |
без тепловых сетей горячего водоснабжения |
|
|
С изолированными стояками без полотенцесушителей |
0,15 |
0,1 |
|
То же, с полотенцесушителями |
0,25 |
0,2 |
|
С неизолированными стояками и полотенцесушителями |
0,35 |
0,3 |
|
150 |
250 |
350 |
500 |
700 |
1000 |
1500 |
2000 |
|
|
Коэффициент часовой неравномерности водопотребления kч |
5,15 |
4,5 |
4,1 |
3,75 |
3,5 |
3,27 |
3,09 |
2,97 |
|
2500 |
3000 |
4000 |
5000 |
6000 |
7500 |
10000 |
20000 |
|
|
Коэффициент часовой неравномерности водопотребления kч |
2,9 |
2,85 |
2,78 |
2,74 |
2,7 |
2,65 |
2,6 |
2,4 |
При отсутствии данных о количестве и характеристике водоразборных приборов часовой расход горячей воды Ghmax для жилых районов допускается определять по формуле
(3)
где kч - коэффициент часовой неравномерности водопотребления принимаемый по табл. 2.
Примечание - Для систем горячего водоснабжения, обслуживающих одновременно жилые и общественные здания, коэффициент часовой неравномерности следует принимать по сумме численности жителей в жилых зданиях и условной численности жителей Uусл в общественных зданиях, определяемой по формуле
где Gобщhm - средний расход воды на горячее водоснабжение за отопительный период, кг/ч, для общественных зданий, определяемый по СНиП 2.04.01-85.
При отсутствии данных о назначении общественных зданий допускается при определении коэффициента часовой неравномерности по табл. 2 условно численность жителей принимать с коэффициентом 1,2.
1. Расчет поверхности нагрева водоподогревателей отопления F, м2, проводится при температуре воды в тепловой сети, соответствующей расчетной температуре наружного воздуха для проектирования отопления, и на расчетную производительность Qspo, определенную по прил. 2, по формуле
2. Температуру нагреваемой воды следует принимать:
на входе в водоподогреватель t2 - равной температуре воды в обратном трубопроводе систем отопления при температуре наружного воздуха tо;
на выходе из водоподогревателя tо1 - равной температуре воды в подающем трубопроводе тепловых сетей за ЦТП или в подающем трубопроводе системы отопления при установке водоподогревателя в ИТП при температуре наружного воздуха tо.
Примечание - При независимом присоединении систем отопления и вентиляции через общий водоподогреватель температуру нагреваемой воды в обратном трубопроводе на входе в водоподогреватель следует определять с учетом температуры воды после присоединения трубопровода системы вентиляции. При расходе теплоты на вентиляцию не более 15 % суммарного максимального часового расхода теплоты на отопление допускается температуру нагреваемой воды перед водоподогревателем принимать равной температуре воды в обратном трубопроводе системы отопления.
3. Температуру греющей воды следует принимать:
на входе в водоподогреватель - равной температуре воды в подающем трубопроводе тепловой сети на вводе в тепловой пункт t1, при температуре наружного воздуха tо;
на выходе из водоподогревателя tо2 - на 5 - 10 °С выше температуры воды в обратном трубопроводе системы отопления при расчетной температуре наружного воздуха tо.
4. Расчетные расходы воды Gdo и Gomax, кг/ч, для расчета водоподогревателей систем отопления следует определять по формулам:
греющей воды
При независимом присоединении систем отопления и вентиляции через общий водоподогреватель расчетные расходы воды Gdo и Gomax, кг/ч, следует определять по формулам:
греющей воды
нагреваемой воды
где Qomax, Qnmax - соответственно максимальные тепловые потоки на отопление и вентиляцию, Вт.
5. Температурный напор Dtср, °С, водоподогревателя отопления определяется по формуле
6. Коэффициент теплопередачи в зависимости от конструкции водоподогревателя следует определять по прил. 7 - 9.
1. Расчет поверхности нагрева водоподогревателей горячего водоснабжения следует производить (см. рис. 1) при температуре воды в подающем трубопроводе тепловой сети, соответствующей точке излома графика температур воды, или при минимальной температуре воды, если отсутствует излом графика температур, и по расчетной производительности, определенной по прил. 2
где QhSP определяется при наличии баков-аккумуляторов по формуле (1) прил. 2, а при отсутствии баков-аккумуляторов - по формуле (2) прил. 2.
2. Температуру нагреваемой воды следует принимать: на входе в водоподогреватель tc - равной 5 °С, если отсутствуют эксплуатационные данные на выходе из водоподогревателя th - равной 60 °С, а при вакуумной деаэрации - 65 °С.
3. Температуру греющей воды следует принимать: на входе в водоподогреватель t¢1 - равной температуре воды в подающем трубопроводе тепловой сети на вводе в тепловой пункт при температуре наружного воздуха в точке излома графика температур воды; на выходе из водоподогревателя t¢3 - равной 30 °С.
4. Расчетные расходы воды Gdh и Gh, кг/ч, для расчета водоподогревателя горячего водоснабжения следует определять по формулам
греющей воды
нагреваемой воды
5. Температурный напор водоподогревателя горячего водоснабжения определяется по формуле
(4)
6. Коэффициент теплопередачи в зависимости от конструкции водоподогревателя следует определять по прил. 7 - 9.
Методика расчета водоподогревателей горячего водоснабжения, присоединенных к тепловой сети по двухступенчатой схеме (см. рис. 2 - 4) с ограничением максимального расхода сетевой воды на ввод, применяемая до настоящего времени, основана на косвенном методе, по которому тепловая производительность I ступени водоподогревателей определяется балансовой нагрузкой горячего водоснабжения, а II ступени - по разнице нагрузок между расчетной и нагрузкой I ступени. При этом не соблюдается принцип непрерывности: температура нагреваемой воды на выходе из водоподогревателя I ступени не совпадает с температурой той же воды на входе во II ступень, что затрудняет ее использование для машинного счета.
Новая методика расчета более логична для двухступенчатой схемы с ограничением максимального расхода сетевой воды на ввод. Она основана на том положении, что в час максимального водоразбора при расчетной для подбора водоподогревателей температуре наружного воздуха, соответствующей точке излома центрального температурного графика, возможно прекращение подачи теплоты на отопление, и вся сетевая вода поступает на горячее водоснабжение.
Для выбора необходимого типоразмера и числа секций кожухотрубного либо числа пластин и числа ходов пластинчатого водоподогревателей следует определить поверхность нагрева по расчетной производительности и температурам греющей и нагреваемой воды из теплового расчета в соответствии с нижеприведенными формулами.
1. Расчет поверхности нагрева F, м2, водоподогревателей горячего водоснабжения должен производиться при температуре воды в подающем трубопроводе тепловой сети, соответствующей точке излома графика температур воды или при минимальной температуре воды, если отсутствует излом графика температур, так как при этом режиме будет минимальный перепад температур и значений коэффициента теплопередачи, по формуле
где QhSP - расчетная тепловая производительность водоподогревателей горячего водоснабжения, определяется по прил. 2;
k - коэффициент теплопередачи, Вт/(м2 × °С), определяется в зависимости от конструкции водоподогревателей по прил. 7 - 9;
Dtср - среднелогарифмическая разность температур между греющей и нагреваемой водой (температурный напор) °С, определяется по формуле (18) настоящего приложения.
2. Распределение расчетной тепловой производительности QhSP водоподогревателей между I и II ступенями осуществляется исходя из условия, что нагреваемая вода во II ступени догревается до температуры th = 60 °С, а в I ступени - до температуры tIh, определяемой технико-экономическим расчетом или принимаемой на 5 °С менее температуры сетевой воды в обратном трубопроводе в точке излома графика.
Расчетная тепловая производительность водоподогревателей I и II ступеней QhSPI, II, Вт, определяется по формулам
3. Температура нагреваемой воды, °С, после I ступени определяется по формулам:
при зависимом присоединении системы отопления
при независимом присоединении системы отопления
4. Максимальный расход нагреваемой воды, кг/ч, проходящей через I и II ступени водоподогревателя, следует рассчитывать исходя из максимального теплового потока на горячее водоснабжение Qhmax, определяемого по формуле 2 прил. 2, и нагрева воды до 60 °С во II ступени:
5. Расход греющей воды GdSP, кг/ч:
а) для тепловых пунктов при отсутствии вентиляционной нагрузки расход греющей воды принимается одинаковым для I и II ступеней водоподогревателей и определяется:
при регулировании отпуска теплоты по совмещенной нагрузке отопления и горячего водоснабжения - по максимальному расходу сетевой воды на горячее водоснабжение (формула (7)) либо по максимальному расходу сетевой воды на отопление (формула (8)):
В качестве расчетной принимается большая из полученных величин;
при регулировании отпуска теплоты по нагрузке отопления расчетный расход греющей воды определяется по формуле
При этом следует проверять температуру греющей воды на выходе из водоподогревателя I ступени при Qhmax по формуле
В случае если температура, определенная по формуле (11), получилась ниже 15 °С, то tI2 следует принимать равной 15 °С, а расход греющей воды пересчитать по формуле
б) для тепловых пунктов при наличии вентиляционной нагрузки расход греющей воды принимается:
для I ступени
(13)
для II ступени
(14)
6. Температура греющей воды, °С, на выходе из водоподогревателя II ступени tII2:
7. Температура греющей воды, °С, на входе в водоподогреватель I ступени tI1:
8. Температура греющей воды, °С, на выходе из водоподогревателя I ступени tI2:
9. Среднелогарифмическая разность температур между греющей и нагреваемой водой, °С
(18)
1. Поверхность нагрева водоподогревателей (см. рис. 8) горячего водоснабжения F, м2, определяется при температуре воды в подающем трубопроводе тепловой сети, соответствующей точке излома графика температур воды, или при минимальной температуре воды, если отсутствует излом графика температур, так как при этом режиме будет минимальный перепад температур и значений коэффициента теплопередачи, по формуле
где QhSP - расчетная тепловая производительность водоподогревателей горячего водоснабжения, Вт, определяется по прил. 2;
Dtср - среднелогарифмическая разность температур между греющей и нагреваемой водой, °С, определяется по прил. 5;
k - коэффициент теплопередачи, Вт/(м2·°С), определяется в зависимости от конструкции водоподогревателей по прил. 7 - 9.
2. Тепловой поток на II ступень водоподогревателя QhdSPII, Вт, при двухступенчатой схеме присоединения водоподогревателей горячего водоснабжения (по рис. 8), необходимый только для вычисления расхода греющей воды, при максимальном тепловом потоке на вентиляцию не более 15 % максимального теплового потока на отопление определяется по формулам:
при отсутствии баков-аккумуляторов нагреваемой воды
(2)
при наличии баков-аккумуляторов нагреваемой воды
(3)
где Qht - тепловые потери трубопроводов систем горячего водоснабжения, Вт.
При отсутствии данных о величине тепловых потерь трубопроводами систем горячего водоснабжения тепловой поток на II ступень водоподогревателя, Вт, QhSPII допускается определять по формулам:
при отсутствии баков-аккумуляторов нагреваемой воды
(4)
при наличии баков-аккумуляторов нагреваемой воды
(5)
где kтп - коэффициент, учитывающий потери теплоты трубопроводами систем горячего водоснабжения, принимается по прил. 2.
3. Распределение расчетной тепловой производительности водоподогревателей между I и II ступенями, определение расчетных температур и расходов воды для расчета водоподогревателей следует принимать по таблице.
|
Область применения схемы (по рис. 8) |
|||
|
производственные здания, группа жилых и общественных зданий с максимальным тепловым потоком на вентиляцию более 15 % максимального теплового потока на отопление |
жилые и общественные здания с максимальным тепловым потоком на вентиляцию не более 15 % максимального теплового потока на отопление |
||
|
1 |
2 |
3 |
|
|
I ступень двухступенчатой схемы |
|||
|
Расчетная тепловая производительность I ступени водоподогревателя |
|
|
|
|
Температура нагреваемой воды, °С, на входе в водоподогреватель |
tc, а при вакуумной деаэрации tc + 5 |
||
|
То же, на выходе из водоподогревателя |
tIh |
||
|
Температура греющей воды, °С, на входе в водоподогреватель |
t¢2 |
||
|
То же, на выходе из водоподогревателя |
|
||
|
Расход нагреваемой воды, кг/ч |
Без баков-аккумуляторов |
||
|
|
|
|
|
|
|
С баками-аккумуляторами
|
||
|
Расход греющей воды, кг/ч |
|
|
|
|
II ступень двухступенчатой схемы |
|||
|
Расчетная тепловая производительность II ступени водоподогревателя |
|
||
|
Температура нагреваемой воды, °С, на входе в водоподогреватель |
С баками-аккумуляторами
Без баков-аккумуляторов
|
||
|
То же, на выходе из водоподогревателя |
|
||
|
Температура греющей воды, °С, на входе в водоподогреватель |
|
||
|
То же, на выходе из водоподогревателя |
|
|
|
|
Расход нагреваемой воды, кг/ч |
Без баков-аккумуляторов
|
||
|
|
С баками-аккумуляторами при отсутствии циркуляции
|
С баками-аккумуляторами
|
|
|
|
При наличии циркуляции
|
|
|
|
Расход греющей воды, кг/ч |
|
|
|
|
Примечания 1 При независимом присоединении систем отопления вместо t¢2 следует принимать t¢02. 2 Величина недогрева в I ступени d, °С, принимается: с баками-аккумуляторами d = 5 °С, при отсутствии баков-аккумуляторов d = 10 °С. 3 При определении расчетного расхода греющей воды для I ступени водоподогревателя расход воды от систем вентиляции не учитывается. 4 Температуру нагреваемой воды на выходе из подогревателя th в ЦТП и в ИТП следует принимать равной 60 °С, а в ЦТП с вакуумной деаэрацией - th = 65 °С. 5 Величина теплового потока на отопление в точке излома графика температур Q¢о определяется по формуле
|
|||
Горизонтальные секционные скоростные водоподогреватели по ГОСТ 27590 с трубной системой из прямых гладких или профилированных труб отличаются тем, что для устранения прогиба трубок устанавливаются двухсекторные опорные перегородки, представляющие собой часть трубной решетки. Такая конструкция опорных перегородок облегчает установку трубок и их замену в условиях эксплуатации, так как отверстия опорных перегородок расположены соосно с отверстиями трубных решеток.
Каждая опора установлена со смещением относительно друг друга на 60°, что повышает турбулизацию потока теплоносителя, проходящего по межтрубному пространству, и приводит к увеличению коэффициента теплоотдачи от теплоносителя к стенке трубок, а соответственно - возрастает теплосъем с 1 м2 поверхности нагрева. Используются латунные трубки наружным диаметром 16 мм, толщиной стенки 1 мм по ГОСТ 21646 и ГОСТ 494.
Еще большее увеличение коэффициента теплопередачи достигается применением в трубном пучке вместо гладких латунных трубок профилированных, которые изготавливаются из тех же трубок путем выдавливания на них роликом поперечных или винтовых канавок, что приводят к турбулизации пристенного потока жидкости внутри трубок.
Водоподогреватели состоят из секций, которые соединяются между собой калачами по трубному пространству и патрубками - по межтрубному (рис. 1 - 4 настоящего приложения). Патрубки могут быть разъемными на фланцах или неразъемными сварными. В зависимости от конструкции водоподогреватели для систем горячего водоснабжения имеют следующие условные обозначения: для разъемной конструкции с гладкими трубками - РГ, с профилированными - РП; для сварной конструкции - соответственно СГ, СП (направление потоков теплообменивающихся сред приведено в п. 4.3 настоящего свода правил).
Пример условного обозначения водоподогревателя разъемного типа с наружным диаметром корпуса секции 219 мм, длиной секции 4 м, без компенсатора теплового расширения, на условное давление 1,0 МПа, с трубной системой из гладких трубок из пяти секций, климатического исполнения УЗ: ПВ 219´4-1,0-РГ-5-УЗ ГОСТ 27590.
Технические характеристики водоподогревателей приведены в табл. 1, а номинальные габариты и присоединительные размеры - в табл. 2 настоящего приложения.
МЕТОДИКА РАСЧЕТА ВОДОПОДОГРЕВАТЕЛЕЙ ГОРЯЧЕГО ВОДОСНАБЖЕНИЯ
Рис. 1. Общий вид горизонтального секционного кожухотрубного водоподогревателя с опорами-турбулизаторами
Рис. 2. Конструктивные размеры водоподогревателя
1 - секция; 2 - калач; 3 - переход; 4 - блок опорных перегородок; 5 - трубки; 6 - перегородка опорная; 7 - кольцо; 8 - пруток;
Рис. 3. Калач соединительный
Рис. 4. Переход
Технические характеристики водоподогревателей по ГОСТ 27590
|
Число трубок в секции n, шт, |
Площадь сечений межтрубного пространства fмтр, м2 |
Площадь сечения трубок fтр, м2 |
Эквивалентный диаметр межтрубного пространства dэкв, м |
Поверхность нагрева одной секции fсек, м2, при длине, м |
Тепловая производительность QсекSP, кВт, секции длиной, м |
Масса, кг |
||||||||||
|
Система из труб |
секции длиной, м |
калача, исполнение |
перехода |
|||||||||||||
|
гладких (исполнение 1) |
профилированных (исполнение 2) |
|||||||||||||||
|
2 |
4 |
2 |
4 |
2 |
4 |
2 |
4 |
1 |
3 |
1 |
2 |
|||||
|
57 |
4 |
0,00116 |
0,00062 |
0,0129 |
0,37 |
0,75 |
8 |
18 |
10 |
23 |
23,5 |
37,0 |
8,6 |
7,9 |
5,5 |
3,8 |
|
76 |
7 |
0,00233 |
0,00108 |
0,0164 |
0,65 |
1,32 |
12 |
25 |
15 |
35 |
32,5 |
52,4 |
10,9 |
10,4 |
6,8 |
4,7 |
|
89 |
10 |
0,00327 |
0,00154 |
0,0172 |
0,93 |
1,88 |
18 |
40 |
20 |
50 |
40,0 |
64,2 |
13,2 |
12,0 |
8,2 |
5,4 |
|
114 |
19 |
0,005 |
0,00293 |
0,0155 |
1,79 |
3,58 |
40 |
85 |
50 |
110 |
58,0 |
97,1 |
17,7 |
17,2 |
10,5 |
7,3 |
|
168 |
37 |
0,0122 |
0,00570 |
0,019 |
3,49 |
6,98 |
70 |
145 |
90 |
195 |
113,0 |
193,8 |
32,8 |
32,8 |
17,4 |
13,4 |
|
219 |
61 |
0,02139 |
0,00939 |
0,0224 |
5,75 |
11,51 |
114 |
235 |
150 |
315 |
173,0 |
301,3 |
54,3 |
52,7 |
26,0 |
19,3 |
|
273 |
109 |
0,03077 |
0,01679 |
0,0191 |
10,28 |
20,56 |
235 |
475 |
315 |
635 |
262,0 |
461,7 |
81,4 |
90,4 |
35,0 |
26,6 |
|
325 |
151 |
0,04464 |
0,02325 |
0,0208 |
14,24 |
28,49 |
300 |
630 |
400 |
840 |
338,0 |
594,4 |
97,3 |
113,0 |
43,0 |
34,5 |
Примечания1 Наружный диаметр трубок 16 мм, внутренний - 14 мм. 2 Тепловая производительность определена при скорости воды внутри трубок 1 м/с, равенстве расходов теплообменивающихся сред и температурном напоре 10 °С (температурный перепад по греющей воде 70 - 15 °С, нагреваемой - 5 - 60 °С). 3 Гидравлическое сопротивление в трубках не более 0,004 МПа для гладкой трубки и 0,008 МПа - для профилированной при длине секции 2 м и соответственно не более 0,006 МПа и 0,014 МПа при длине секции 4 м; в межтрубном пространстве гидравлическое сопротивление равно 0,007 МПа при длине секции 2 м и 0,009 МПа при длине секции 4 м. 4 Масса определена при рабочем давлении 1 МПа. 5 Тепловая производительность дана для сравнения с подогревателями других типоразмеров или типов. |
||||||||||||||||
Номинальные габариты и присоединительные размеры водоподогревателей, мм
|
D |
D1 |
D2 |
d |
dH |
H |
h |
L |
L1 |
L2 |
L3 по рис. 4 |
||
|
исполнение по рис. 3 |
||||||||||||
|
1 |
3 |
|||||||||||
|
57 |
160 |
45 |
145 |
145 |
45 |
200 |
100 |
2225; 4225 |
|
133 |
146 |
70 |
|
76 |
180 |
57 |
160 |
160 |
57 |
200 |
100 |
2265; 4265 |
|
143 |
176 |
80 |
|
89 |
195 |
76 |
180 |
180 |
76 |
240 |
120 |
2320; 4320 |
|
170 |
217 |
85 |
|
114 |
215 |
89 |
195 |
195 |
89 |
300 |
150 |
2350; 4350 |
2000; |
210 |
250 |
90 |
|
168 |
280 |
114 |
215 |
245 |
133 |
400 |
200 |
2490; 4490 |
4000 |
310 |
340 |
140 |
|
219 |
325 |
168 |
280 |
280 |
168 |
500 |
250 |
2610; 4610 |
|
415 |
450 |
150 |
|
273 |
390 |
219 |
335 |
335 |
219 |
600 |
300 |
2800; 4800 |
|
512 |
600 |
190 |
|
325 |
440 |
219 |
335 |
390 |
273 |
600 |
300 |
2800; 4800 |
|
600 |
600 |
190 |
1. Для выбора необходимого типоразмера водоподогревателя предварительно задаемся оптимальной скоростью нагреваемой воды в трубках, равной Wтр = 1 м/с, и исходя из двухпоточной компоновки каждой ступени определяем необходимое сечение трубок водоподогревателя fтрусл, м2, по формуле
В соответствии с полученной величиной fтрусл и по табл. 1 выбираем необходимый типоразмер водоподогревателя.
2. Для выбранного типоразмера водоподогревателя определяем фактические скорости воды в трубках и межтрубном пространстве каждого водоподогревателя при двухпоточной компоновке по формулам:
3. Коэффициент теплоотдачи a1, Вт/(м2×°С), от греющей воды к стенке трубки определяется по формуле
(5)
Эквивалентный диаметр межтрубного пространства, м, определяется по формуле
Для выбранного типоразмера водоподогревателя dэкв принимается по табл. 1.
4. Коэффициент теплоотдачи a2, Вт/(м2×°С) от стенки трубки к нагреваемой воде определяется по формуле
(8)
5. Коэффициент теплопередачи водоподогревателя k, Вт/(м2×°С), следует определять по формуле
где y - коэффициент эффективности теплообмена для гладкотрубных водоподогревателей с опорами в виде полок y = 0,95, для гладкотрубных с блоком опорных перегородок y = 1,2, для профилированных и с блоком опорных перегородок y = 1,65;
b - коэффициент, учитывающий загрязнение поверхности труб в зависимости от химических свойств воды, принимается b = 0,8 - 0,95.
6. При заданной величине расчетной производительности водоподогревателя QhSP по полученным значениям коэффициента теплопередачи k и среднелогарифмической разности температур Dtср определяется необходимая поверхность нагрева водоподогревателя F по формуле (1) прил. 5.
7. Число секций водоподогревателя в одном потоке N, шт., исходя из двухпоточной компоновки определяется по формуле
(10)
Если величина N, полученная по формуле (10) имеет дробную часть, составляющую более 0,2, число секций следует округлять в большую сторону.
8. Потери давления DР, кПа, в водоподогревателях следует определять по формулам:
для нагреваемой воды, проходящей в гладких трубках:
а) при длине секции 4 м
б) при длине секции 2 м
где j - коэффициент, учитывающий накипеобразование; принимается по опытным данным, при их отсутствии - следует принимать j = 2 ... 3.
для нагреваемой воды, проходящей в профилированных трубках, в формулах (11) и (12) вводится повышающий коэффициент 3;
для греющей воды, проходящей в межтрубном пространстве:
Коэффициент В приведен в табл. 3.
|
Значение коэффициента В |
||
|
при длине секции, м |
||
|
2 |
4 |
|
|
57 |
25 |
30 |
|
76 |
25 |
30 |
|
89 |
25 |
30 |
|
114 |
18 |
25 |
|
168 |
11 |
25 |
|
219 |
11 |
24 |
|
273 |
11 |
20 |
|
325 |
11 |
20 |
ПРИМЕР РАСЧЕТА ДЛЯ ДВУХСТУПЕНЧАТОЙ СХЕМЫ ПРИСОЕДИНЕНИЯ ВОДОПОДОГРЕВАТЕЛЕЙ ГОРЯЧЕГО ВОДОСНАБЖЕНИЯ С ОГРАНИЧЕНИЕМ МАКСИМАЛЬНОГО РАСХОДА ВОДЫ ИЗ ТЕПЛОВОЙ СЕТИ НА ВВОД И РЕГУЛИРОВАНИЕМ ПОДАЧИ ТЕПЛОТЫ НА ОТОПЛЕНИЕ
Выбрать и рассчитать водоподогревательную установку для системы горячего водоснабжения центрального теплового пункта на 1516 условных квартир (заселенность - 3,5 чел на квартиру), оборудованную водоподогревателями, состоящими из секций кожухотрубного типа с трубной системой из прямых гладких трубок и блоками опорных перегородок по ГОСТ 27590.
Водоподогреватели присоединены к тепловой сети по двухступенчатой смешанной схеме с ограничением максимального расхода воды из тепловой сети на ввод.
Система отопления присоединена к тепловым сетям по зависимой схеме с автоматическим регулированием подачи теплоты.
Баки-аккумуляторы нагреваемой воды как в ЦТП, так и у потребителей отсутствуют.
Исходные данные:
1. Регулирование отпуска теплоты в системе централизованного теплоснабжения принято центральное, качественное по совмещенной нагрузке отопления и горячего водоснабжения.
2. Температура теплоносителя (греющей воды) в тепловой сети в соответствии с принятым для данной системы теплоснабжения графиком изменения температуры воды в зависимости от температуры наружного воздуха принята:
при расчетной температуре наружного воздуха для проектирования отопления t0 = -26 °С:
в подающем трубопроводе t1 = 150 °С;
в обратном трубопроводе t2 = 70 °С;
в точке излома графика температуры t¢н = 23 °С:
в подающем трубопроводе t¢1 = 80 °С;
в обратном трубопроводе t¢2 = 42 °С.
3. Температура холодной водопроводной (нагреваемой) воды в отопительный период, поступающей в водоподогреватель I ступени, tc = 2 °С (по данным эксплуатации).
4. Температура воды, поступающей в систему горячего водоснабжения на выходе из II ступени водоподогревателя th = 60 °С.
5. Максимальный тепловой поток на отопление потребителей, присоединенных к ЦТП, Qomax = 5,82 × 106 Вт.
6. Расчетная тепловая производительность водоподогревателей QhSP = 4,57 × 106 Вт.
7. Максимальный расчетный секундный расход воды на горячее водоснабжение gh = 21,6 л/с.
Порядок расчета:
1. Максимальный расход сетевой воды на отопление
![]()
2. Максимальный расход греющей воды на горячее водоснабжение
![]()
3. Для ограничения максимального расхода сетевой воды на ЦТП в качестве расчетного принимается больший из двух расходов, полученных по пп. 1, 2
![]()
4. Максимальный расход нагреваемой воды через I и II ступени водоподогревателя
![]()
5. Температура нагреваемой воды за водоподогревателем I ступени
![]()
6. Расчетная производительность водоподогревателя I ступени
![]()
7. Расчетная производительность водоподогревателя II ступени
![]()
8. Температура греющей воды на выходе из водоподогревателя II ступени tII2 и на входе в водоподогреватель I ступени tI1
Температура греющей воды на выходе из водоподогревателя I ступени
![]()
10. Среднелогарифмическая разность температур между греющей и нагреваемой водой для I ступени водоподогревателя

11. Среднелогарифмическая разность температур между греющей и нагреваемой водой для II ступени водоподогревателя

12. В соответствии с п. 1 настоящего приложения определяем необходимое сечение трубок водоподогревателя при скорости воды в трубках Wтр = 1 м/с и двухпоточной схеме включения
![]()
По табл. 1 настоящего приложения и полученной величине fтрусл подбираем тип водоподогревателя со следующими характеристиками:
fтр = 0,0093 м2;
Dн = 219 мм;
fмтр = 0,02139 м2;
dэкв = 0,0224 м;
fсек = 11,51 м2 (при длине секции 4 м);
![]()
13. Скорость воды в трубках при двухпоточной компоновке
![]()
14. Скорость воды в межтрубном пространстве при двухпоточной компоновке
![]()
15. Расчет водоподогревателя I ступени:
а) средняя температура греющей воды
![]()
б) средняя температура нагреваемой воды
![]()
в) коэффициент теплопередачи от греющей воды к стенке трубки

г) коэффициент теплоотдачи от стенки трубки к нагреваемой воде

д) коэффициент теплопередачи при b = 0,9

Коэффициент y принят равным 1,2 для гладких трубок;
е) требуемая поверхность нагрева водоподогревателя I ступени

ж) число секций водоподогревателя I ступени при длине секции 4 м
![]()
Принимаем 5
секций в одном потоке; действительная поверхность нагрева будет ![]()
16. Расчет водоподогревателя II ступени:
а) средняя температура греющей воды
![]()
б) средняя температура нагреваемой воды
![]()
в) коэффициент теплопередачи от греющей воды к стенке трубки

г) коэффициент теплоотдачи от стенки трубки к нагреваемой воде

д) коэффициент теплопередачи при b = 0,9

е) требуемая поверхность нагрева водоподогревателя II ступени

ж) число секций водоподогревателя II ступени
![]()
Принимаем 2
секции в одном потоке, действительная поверхность нагрева будет ![]()
В результате расчета получилось по 2 секции в каждом водоподогревателе II ступени и 5 - в каждом водоподогревателе I ступени суммарной поверхностью нагрева 161 м2.
17. Потери давления в водоподогревателях (7 последовательных секций в каждом потоке):
для воды, проходящей в трубках (с учетом j = 2)

для воды, проходящей в межтрубном пространстве
![]()
Коэффициент В принимается по табл. 3 настоящего приложения.
При применении водоподогревателя с профилированными трубками необходимое число секций в I ступени составит 3 секции, а во II - 2 секции в одном потоке. Потери давления по нагреваемой воде с коэффициентом j = 2 составляют 300 кПа.
В 1994 г. на московском заводе «Сатэкс» освоен выпуск кожухотрубных многоходовых водоподогревателей с I и II ступенями нагрева в одном корпусе (рис. 5), технические характеристики которых приведены в табл. 4 настоящего приложения. Тепловая производительность определена для условий, близких к реальным в системе теплоснабжения:
для водоподогревателей горячего водоснабжения: температурный перепад по греющей воде 70 - 30 °С, по нагреваемой - 5 - 60 °С, максимальные потери давления по нагреваемой воде, направляемой по трубкам, - 27 - 36 кПа (ИТП - ЦТП);
для водоподогревателей отопления: температурный перепад по греющей воде - 150 - 76 °С, по нагреваемой, направляемой по межтрубному пространству, при применении в ИТП - 105 - 70 °С и максимальной потере давления - 30 кПа; при применении в ЦТП - 120 - 70 °С и максимальной потере давления - 60 кПа (потери давления приняты везде для нового, чистого теплообменника).
Запас в поверхности нагрева принят 20 %.
В пересчете на расчетный режим работы по ГОСТ 27950-88Е (скорость воды в трубках 2 м/с) эти же установки ТМПО и ТМПГ, применяемые в ИТП, будут иметь характеристики, приведенные в табл. 5. При этом достигаются такие же коэффициенты теплопередачи, как и в пластинчатых водоподогревателях на максимальных скоростях теплоносителей.
С 1996 г. на том же заводе «Сатэкс» начат выпуск водоподогревателей установки полуразборной конструкции облегченного типа (рис. 6) для тепловых пунктов, размещаемых в подвале здания.
Рис. 5 Общий вид горизонтального многоходового кожухотрубного водоподогревателя
а - общий вид; б - разрез по секциям; 1 - вход холодной воды - I ступень; 2 - выход теплоносителя - I ступень; 3 - выход горячей воды - I ступень; 4 - выход горячей воды - II ступень; 5 - вход теплоносителя - I ступень, 6 - выход теплоносителя - II ступень; 7 - выход теплоносителя - II ступень; 8 - вход холодной воды - II ступень, в, г - конструктивные размеры: 1 - секции; 2 - соединительная камера межтрубного пространства; 3 - то же, трубного; 4 - трубная доска; 5 - шарнир;
В1 - холодная вода; В2 - горячая вода; В3 - циркуляционная линия горячего водоснабжения; Т1 - подающая теплосети; Т2 - выход греющей воды из II ступени; Т3 - вход греющей воды в I ступень; Т4 - обратная теплосети
Рис. 6. Водоподогреватель блочного типа по ТУ 400-28-132-90
Основные технические характеристики водоподогревателей блочного типа для ИТП (установка из 3 блоков)
|
Диаметр секции D, мм, ´ кол. секц. |
Размеры, мм |
Масса, кг, одного блока |
Поверхность нагрева, м2 |
Расчетный тепловой поток, кВт, при Wтр = 1 м/с, Dtср = 10 °С |
||||||||||||||
|
d1 |
d2 |
H |
H1 |
h |
h1 |
h2 |
l |
l1 |
l2 |
l3 |
l4 |
b |
b1 |
всего подогревателя |
||||
|
ПВ 57´2-1,0-БП-6-У3 |
57´6 |
45 |
38 |
276 |
828 |
87 |
189 |
552 |
100 |
84 |
160 |
238 |
34 |
160 |
260 |
60 × 3 180 |
0,74 × 3 = 2,22 |
90,0 |
|
ПВ 76´2-1,0-БП-6-У3 |
76´6 |
57 |
45 |
314 |
942 |
106 |
208 |
628 |
115 |
93 |
170 |
257 |
43 |
180 |
280 |
80 × 3 240 |
1,3 × 3 = 3,9 |
156,0 |
|
ПВ 89´2-1,0-БП-6-У3 |
89´6 |
76 |
57 |
342 |
1026 |
119 |
223 |
684 |
125 |
100 |
185 |
271 |
50 |
195 |
295 |
100 × 3 300 |
1,86 × 3 = 5,58 |
223,0 |
|
ПВ 114´2-1,0-БП-6-У3 |
114´6 |
89 |
76 |
387 |
1161 |
144 |
243 |
774 |
135 |
112 |
205 |
294 |
62 |
215 |
315 |
140 × 3 420 |
3,58 × 3 = 10,74 |
430,0 |
|
ПВ 168´2-1,0-БП-6-У3 |
168´6 |
133 |
108 |
498 |
1482 |
198 |
300 |
996 |
150 |
139 |
240 |
349 |
89 |
280 |
380 |
250 × 3 750 |
6,98 × 3 = 20,94 |
840,0 |
|
Примечание - Гидравлическое сопротивление установки при Wтр = 1 м/с, Wмтр = 0,5 м/с составляет: DРтр = 40 кПа, DРмтр = 25 кПа. |
||||||||||||||||||
Технические характеристики горизонтальных многоходовых, кожухотрубных водоподогревателей с профилированной трубкой для систем отопления и горячего водоснабжения
|
Тепловая мощность, кВт |
Площадь поверхности нагрева, м2 |
Число ходов (секций) |
Площадь сечения |
Размер трубки dв / dн мм |
Эквивалентный диаметр, мм |
Наружный диаметр корпуса Dн, мм |
Габариты a´l´h, мм |
Масса, кг |
Потери давления |
Максимальный расход нагреваемой воды, м3/ч |
Коэффициент теплопередачи, Вт/(м2×°С) |
||||
|
трубок, м2 |
межтрубного пространства, м2 |
по трубкам, кПа |
по межтрубному пространству, кПа |
||||||||||||
|
1 |
2 |
3 |
4 |
5 |
6 |
7 |
8 |
9 |
10 |
11 |
12 |
13 |
14 |
15 |
|
|
Теплообменники многоходовые для отопления в ИТП (параметры теплоносителей 150 - 76/105 - 70 °С, нагреваемая вода по межтрубному пространству) |
|
|
|||||||||||||
|
ТМПО 76´2-1,0-5-У3 |
270 |
3,25 |
5 |
0,00108 |
0,00233 |
14/16 |
0,0164 |
500 |
0,55´2,51´0,73 |
350 |
20 |
29 |
6,7 |
5180 |
|
|
ТМПО 89´2-1,0-5-У3 |
380 |
4,65 |
5 |
0,00154 |
0,00327 |
14/16 |
0,0172 |
565 |
0,62´2,53´0,80 |
500 |
19 |
29 |
9,4 |
5120 |
|
|
ТМПО 114´2-1,0-5-У3 |
585 |
8,95 |
5 |
0,00293 |
0,0050 |
14/16 |
0,0155 |
670 |
0,73´2,59´0,94 |
700 |
13 |
29 |
14,4 |
4760 |
|
|
ТМПО 133´2-1,0-5-У3 |
880 |
10,80 |
5 |
0,0040 |
0,0075 |
14/16 |
0,0197 |
670 |
0,73´2,65´1,07 |
900 |
15 |
29 |
21,6 |
- |
|
|
ТМПО 168´2-1,0-5-У3 |
1430 |
17,45 |
5 |
0,0057 |
0,0122 |
14/16 |
0,0190 |
895 |
0,95´2,69´1,20 |
1020 |
19 |
29 |
35,1 |
5080 |
|
|
Теплообменники многоходовые для горячего водоснабжения в ИТП (параметры теплоносителей 70 - 30/5 - 60 °С, нагреваемая вода по трубкам) |
|||||||||||||||
|
ТМПГ 76´2-1,0-7-У3 |
200 |
4,55 |
7 |
0,00108 |
0,00233 |
14/16 |
0,0164 |
400 |
0,55´2,51´0,73 |
400 |
27 |
16 |
3,1 |
3090 |
|
|
ТМПГ 89´2-1,0-7-У3 |
280 |
6,51 |
7 |
0,00154 |
0,00327 |
14/16 |
0,0172 |
565 |
0,62´2,53´0,8 |
560 |
27 |
17 |
4,4 |
3100 |
|
|
ТМПГ 114´2-1,0-7-У3 |
540 |
12,53 |
7 |
0,00293 |
0,0050 |
14/16 |
0,0155 |
670 |
0,73´2,59´0,94 |
760 |
27 |
26 |
8,4 |
3430 |
|
|
ТМПГ 133´2-1,0-7-У3 |
735 |
15,12 |
7 |
0,0040 |
0,0075 |
14/16 |
0,0197 |
670 |
0,73´2,65´1,07 |
960 |
27 |
22 |
11,5 |
- |
|
|
ТМПГ 168´2-1,0-7-У3 |
1050 |
24,43 |
7 |
0,0057 |
0,0122 |
14/16 |
0,0190 |
895 |
0,95´2,69´1,21 |
1140 |
27 |
16 |
16,4 |
3050 |
|
|
Теплообменники многоходовые для отопления в ЦТП (параметры теплоносителей 150 - 76/120 - 70 °С, нагреваемая вода по межтрубному пространству) |
|||||||||||||||
|
ТМПО 168´4-1,0-4-У3 |
2550 |
27,92 |
4 |
0,0057 |
0,0122 |
14/16 |
0,0190 |
670 |
0,73´4,69´0,94 |
1220 |
76 |
60 |
43,9 |
6920 |
|
|
ТМПО 219´4-1,0-4-У3 |
4470 |
46,0 |
4 |
0,00939 |
0,02139 |
14/16 |
0,0224 |
895 |
0,95´4,74´1,20 |
2240 |
85 |
60 |
77,0 |
6915 |
|
|
ТМПО 273´4-1,0-4-У3 |
6420 |
82,24 |
4 |
0,01679 |
0,03077 |
14/16 |
0,0191 |
1010 |
1,10´4,83´1,31 |
2800 |
55 |
60 |
110,8 |
6590 |
|
|
Теплообменники многоходовые для горячего водоснабжения в ЦТП при двухпоточной схеме (параметры, как и в ИТП) |
|||||||||||||||
|
ТМПГ 114´4-1,0-4+4-У3 |
1350 |
28,64 |
4 + 4 |
2´0,00293 |
2´0,0050 |
14/16 |
0,0155 |
2´565 |
2,15´4,59´0,84 |
1560 |
36 |
49 |
21,1 |
3810 |
|
|
ТМПГ 133´4-1,0-4+4-У3 |
1840 |
34,56 |
4 + 4 |
2´0,0040 |
2´0,0075 |
14/16 |
0,0197 |
2´565 |
2,25´4,64´0,90 |
2000 |
36 |
32 |
28,8 |
- |
|
|
ТМПГ 168´4-1,0-4+4-У3 |
2620 |
55,84 |
4 + 4 |
2´0,0057 |
2´0,0122 |
14/16 |
0,0190 |
2´670 |
2,35´4,69´0,94 |
2440 |
36 |
25 |
41,0 |
3360 |
|
|
ТМПГ 210´4-1,0-4+4-У3 |
4310 |
92,0 |
4 + 4 |
2´0,00939 |
2´0,02139 |
14/16 |
0,0224 |
2´895 |
2,8´4,74´1,20 |
4480 |
36 |
28 |
67,6 |
3200 |
|
|
ТМПГ 273´4-1,0-4+4-У3 |
7710 |
164,48 |
4 + 4 |
2´0,01679 |
2´0,03077 |
14/16 |
0,0191 |
2´1010 |
3,0´4,83´1,31 |
5600 |
36 |
34 |
120,9 |
3610 |
|
|
Теплообменник и многоходовые для горячего водоснабжения в ЦТП при однопоточной схеме (параметры, как и в ИТП) |
|||||||||||||||
|
ТМПГ 168´4-1,0-4-У3 |
1310 |
27,92 |
4 |
0,0057 |
0,0122 |
14/16 |
0,0190 |
670 |
0,73´4,69´0,94 |
1220 |
36 |
25 |
20,5 |
3360 |
|
|
ТМПГ 219´4-1,0-4-У3 |
2150 |
46,0 |
4 |
0,00939 |
0,02139 |
14/16 |
0,0224 |
895 |
0,95´4,74´1,20 |
2240 |
36 |
28 |
33,8 |
3200 |
|
|
ТМПГ 273´4-1,0-4-У3 |
3850 |
82,24 |
4 |
0,01679 |
0,03077 |
14/16 |
0,0191 |
1010 |
1,10´4,83´1,31 |
2800 |
36 |
34 |
60,5 |
3610 |
|
|
Примечание - Рабочее давление - 1 МПа, максимальная температура теплоносителя - 150 °С, запас по поверхности нагрева - около 20 %. Условное обозначение при заказе: ТМПО - теплообменник многоходовой с профильной трубкой для отопления; ТМПГ - то же, для горячего водоснабжения; далее - диаметр корпуса секции, длина секции, давление; число секций в теплообменнике (две цифры через «+» - двухпоточная схема); У3 - вид климатического исполнения теплообменника по ГОСТ 15150. |
|||||||||||||||
Технические характеристики многоходовых водоподогревателей с профилированной трубкой при расчетном режиме работы (Wтр = 2 м/с)
|
Поверхность нагрева, м2 |
Масса, кг |
Тепловая мощность, кВт |
Коэффициент теплопередачи, Вт(м2×°С) |
Потери давления, кПа, по |
||
|
трубкам |
межтрубному пространству |
|||||
|
ТМПО 76´2-1,0-5-У3 |
3,25 |
350 |
550 |
10520 |
122 |
180 |
|
ТМПО 89´2-1,0-5-У3 |
4,65 |
500 |
760 |
10240 |
119 |
180 |
|
ТМПО 114´2-1,0-5-У3 |
8,95 |
700 |
1415 |
11520 |
125 |
190 |
|
ТМПО 168´2-1,0-5-У3 |
17,45 |
1020 |
2900 |
10310 |
116 |
180 |
|
ТМПГ 76´2-1,0-7-У3 |
4,55 |
400 |
400 |
6180 |
170 |
100 |
|
ТМПГ 89´2-1,0-7-У3 |
6,51 |
560 |
560 |
6200 |
170 |
105 |
|
ТМПГ 114´2-1,0-7-У3 |
12,53 |
760 |
1080 |
6860 |
170 |
160 |
|
ТМПГ 168´2-1,0-7-У3 |
24,43 |
1140 |
2100 |
6100 |
170 |
100 |
В соответствии с каталогом ЦИНТИхимнефтемаш (М., 1990) выпускаются теплообменники пластинчатые для теплоснабжения следующих типов полуразборные (РС) с пластинами типа 0,5Пр и разборные (Р) с пластинами типа 0,3р и 0,6р.
Технические характеристики указанных пластин и основные параметры теплообменников, собираемых из этих пластин, приведены в табл. 1 и 2.
Допускаемые температуры теплоносителей определяются термостойкостью резиновых прокладок. Для теплообменников, используемых в системах теплоснабжения, обязательным является применение прокладок из термостойкой резины, марки которой приведены в табл. 3.
Условное обозначение теплообменного пластинчатого аппарата: первые буквы обозначают тип аппарата - теплообменник Р (РС) разборный (полусварной); следующее обозначение - тип пластины; цифры после тире - толщина пластины, далее - площадь поверхности теплообмена аппарата (м2), затем - конструктивное исполнение (в соответствии с табл. 2), марка материала пластины и марка материала прокладки (в соответствии с табл. 3). После условного обозначения приводится схема компоновки пластин.
Техническая характеристика пластин
|
Тип пластины |
|||
|
0,3р |
0,6р |
05Пр |
|
|
Габариты (длина ´ ширина ´ толщина), мм |
1370´300´1 |
1375´600´1 |
1380´650´1 |
|
Поверхность теплообмена, м2 |
0,3 |
0,6 |
0,5 |
|
Вес (масса), кг |
3,2 |
5,8 |
6,0 |
|
Эквивалентный диаметр канала, м |
0,008 |
0,0083 |
0,009 |
|
Площадь поперечного сечения канала, м2 |
0,0011 |
0,00245 |
0,00285 |
|
Смачиваемый периметр в поперечном сечении канала, м |
0,66 |
1,188 |
1,27 |
|
Ширина канала, мм |
150 |
545 |
570 |
|
Зазор для прохода рабочей среды в канале, мм |
4 |
4,5 |
5 |
|
Приведенная длина канала, м |
1,12 |
1,01 |
0,8 |
|
Площадь поперечного сечения коллектора (угловое отверстие на пластине), м2 |
0,0045 |
0,0243 |
0,0283 |
|
Наибольший диаметр условного прохода присоединяемого штуцера, мм |
65(80) |
200 |
200 |
|
Коэффициент общего гидравлического сопротивления |
19,3 Re0,25 |
15 Re0,25 |
15 Re0,25 |
|
Коэффициент гидравлического сопротивления штуцера x |
1,5 |
1,5 |
1,5 |
|
Коэффициенты: А |
0,368 |
0,492 |
0,492 |
|
Б |
4,5 |
3,0 |
3,0 |
Техническая характеристика и основные параметры пластинчатых теплообменных аппаратов
|
Тип пластины |
|||
|
0,3р |
0,6р |
0,5Пр |
|
|
1 |
2 |
3 |
4 |
|
Тип аппарата |
Разборный |
Полуразборный |
|
|
Расход теплоносителя (не более), м3/ч |
50 |
200 |
200 |
|
Номинальная площадь поверхности теплообмена аппарата, м2, и исполнение на раме: |
|
|
|
|
консольной (исполнение 1) |
От 3 до 10 |
От 10 до 25 |
- |
|
двухопорной (исполнение 2) |
От 12,5 до 25 |
От 31,5 до 160 |
От 31,5 до 140 |
|
трехопорной с промежуточной плитой (исполнение 3) |
- |
От 200 до 300 |
От 160 до 320 |
|
1 (10) |
1 (10) |
1,6 (16) 2,5 (25) |
|
|
Габарит теплообменников, мм |
650´400´1665 |
605´750´1800 |
2570´650´1860 (3500) |
Характеристики прокладок для пластин
|
Условное обозначение прокладок |
Марка материала и технические условия |
Каучуковая основа |
Температура рабочей среды, °С |
|
0 |
Резина 359 (ТУ 38-1051023-89) |
СКМС-30 и АРКМ-15 (бутадиенметилстирольный каучук) |
От -20 до + 80 |
|
1 |
Резина 4326-Г (ТУ- 38-1051023-89) |
СКН-18 (бутадиеннитрильный каучук) |
От -30 до +100 |
|
2 |
Резина 51-3042 (ТУ 38-1051023-89) |
СКЭПТ (этиленпропилендиеновый каучук) |
До 150 |
|
3 |
Резина 51-1481 (ТУ 38-1051023-89) |
СКЭП (этиленпропилендиеновый каучук) |
До 150 |
|
4 |
Резина ИРП-1225 (ТУ 38-1051023-89) |
СКФ-32 и ИСКФ-26 (фторированный каучук) |
От -30 до +200 |
Пример условного обозначения пластинчатого разборного теплообменного аппарата: теплообменник Р 0,6р-0,8-16-1К-01 - теплообменник разборный (Р) с пластинками типа 0,6р, толщиной 0,8 мм, площадью поверхности теплообмена 16 м2, на консольной раме, в коррозионно-стойком исполнении, материал пластин и патрубков - сталь 12Х18Н10Т; материал прокладки - теплостойкая резина 359; схема компоновки:
![]()
что означает: над чертой - число каналов в каждом ходе для греющей воды, под чертой - то же, для нагреваемой воды.
Дополнительный канал со стороны хода нагреваемой воды предназначен для охлаждения плиты и уменьшения теплопотерь.
Из рассматриваемых трех теплообменников наиболее целесообразно применение теплообменников РС 0,5Пр, поскольку эти теплообменники надежно работают при рабочем давлении до 1,6 МПа (16 кгс/см2).
Пластины попарно сварены по контуру образуя блок. Между двумя сваренными пластинами имеется закрытый (сварной) канал для теплофикационной греющей воды. Разборные каналы допускают давление в них до 1 МПа (10 кгс/см2).
Теплообменники типа Р 0,3р могут применяться в системах теплоснабжения при отсутствии теплообменников типа РС 0,5Пр и параметрах теплоносителей до 1,0 МПа (до 10 кгс/см2), до 150 °С и перепаде давлений между теплоносителями не более 0,5 МПа (5 кгс/см2).
Применение теплообменников типа Р 0,6р (титан) в системах теплоснабжения ограничено и допустимо только при отсутствии теплообменников РС 0,5Пр и Р 0,3р при параметрах теплоносителей не более 0,6 МПа (6 кгс/см2), до 150 °С и перепаде давлений теплоносителей не более 0,3 МПа (3 кгс/см2).
1. Методика расчета пластинчатых водоподогревателей основана на использовании в них всего располагаемого напора теплоносителей с целью получения максимальной скорости каждого теплоносителя и соответственно максимального значения коэффициента теплопередачи или при неизвестных располагаемых напорах по оптимальной скорости нагреваемой воды, как и при подборе кожухотрубных водоподогревателей.
В первом случае оптимальное соотношение числа ходов для греющей Х1 и нагреваемой Х2 воды находится по формуле
Если соотношение ходов получается > 2, то для повышения скорости воды целесообразна несимметричная компоновка, т.е. число ходов теплообменивающихся сред будет неодинаковым (рис. 1 - 3 настоящего приложения). При несимметричной компоновке получается смешанное движение потоков: в части каналов - противоток, в части - прямоток, что снижает температурный напор установки по сравнению с противоточным характером движения теплообменивающихся сред, который имеет место при симметричной компоновке, и в определенной степени уменьшает выгоду от повышения скорости воды при несимметричной компоновке. Поэтому для исключения смешанного тока теплоносителей более эффективно водоподогревательную установку собирать из двух или нескольких раздельных теплообменников с симметричной компоновкой, включенных последовательно по теплоносителю, у которого получается большее число ходов, и параллельно - по другому теплоносителю. При этом обвязка соединительными трубопроводами должна обеспечить противоток в каждом теплообменнике.
Рис. 1. Симметричная компоновка пластинчатого водоподогревателя, обозначение Сх 4/5
Рис. 2. Несимметричная компоновка пластинчатого водоподогревателя, обозначение Сх (2 + 2)/5
Рис. 3. Схема компоновки водоподогревателей I и II подогрева в одну установку с противоточным движением воды
2. При расчете пластинчатого водоподогревателя оптимальная скорость принимается исходя из получения таких же потерь давления в установке по нагреваемой воде, как при применении кожухотрубного водоподогревателя - 100 - 150 кПа, что соответствует скорости воды в каналах Wопт = 0,4 м/с.
Поэтому, выбрав тип пластины рассчитываемого водоподогревателя горячего водоснабжения, по оптимальной скорости находим требуемое количество каналов по нагреваемой воде mн:
где fк - живое сечение одного межпластинчатого канала.
3. Компоновка водоподогревателя симметричная, т.е. mгр = mн. Общее живое сечение каналов в пакете по ходу греющей и нагреваемой воды
4. Находим фактические скорости греющей и нагреваемой воды, м/с
В случае если соотношение ходов, определенное по формуле (1), оказалось > 2 (при подстановке DPн = 100 кПа, а DPгр = 40 кПа - для I ступени), водоподогреватель собираем из двух раздельных теплообменников и более и в формулах (4) или (5) расход того теплоносителя, у которого получилось меньше ходов, уменьшаем соответственно в 2 раза и более.
5. Коэффициент теплоотдачи a1, Вт/(м2×°С) от греющей воды к стенке пластины определяется по формуле
где А - коэффициент, зависящий от типа пластин, принимается по табл. 1 настоящего приложения;
![]()
6. Коэффициент тепловосприятия a2, Вт/(м2×°С), от стенки пластины к нагреваемой воде принимается по формуле
где ![]()
7. Коэффициент теплопередачи k, Вт/(м2×°С), определяется по формуле
где b - коэффициент, учитывающий уменьшение коэффициента теплопередачи из-за термического сопротивления накипи и загрязнений на пластине, в зависимости от качества воды принимается равным 0,7 - 0,85.
8. При заданной величине расчетной производительности QSP и по полученным значениям коэффициента теплопередачи k и температурному напору Dtср определяется необходимая поверхность нагрева Fтр по формуле (1) прил. 5.
При сборке водоподогревателя из двух раздельных теплообменников и более теплопроизводительность уменьшается соответственно в 2 раза и более.
9. Количество ходов в теплообменнике Х:
где fпл - поверхность нагрева одной пластины, м2.
Число ходов округляется до целой величины.
В одноходовых теплообменниках четыре штуцера для подвода и отвода греющей и нагреваемой воды располагаются на одной неподвижной плите. В многоходовых теплообменниках часть штуцеров должна располагаться на подвижной плите, что вызывает некоторые сложности при эксплуатации. Поэтому целесообразней вместо устройства многоходового теплообменника разбить его по числу ходов на раздельные теплообменники, соединенные по одному теплоносителю последовательно, а по другому - параллельно, с соблюдением противоточного движения.
10. Действительная поверхность нагрева всего водоподогревателя определяется по формуле
11. Потери давления DР, кПа в водоподогревателях следует определять по формулам:
для нагреваемой воды
для греющей воды
где j - коэффициент, учитывающий накипеобразование, который для греющей сетевой воды равен единице, а для нагреваемой воды должен приниматься по опытным данным, при отсутствии таких данных можно принимать j = 1,5 - 2,0;
Б - коэффициент, зависящий от типа пластины, принимается по табл. 1 настоящего приложения;
Wн.с - скорость при прохождении максимального секундного расхода нагреваемой воды.
Выбрать и рассчитать водоподогревательную установку пластинчатого теплообменника собранного из пластин 0,6р для системы горячего водоснабжения того же ЦТП, что и в примере с кожухотрубными секционными водоподогревателями. Следовательно, исходные данные, величины расходов и температуры теплоносителей на входе и выходе каждой ступени водоподогревателя принимаются такими же, как и в предыдущем примере.
1. Проверяем соотношение ходов в теплообменнике I ступени по формуле (1), принимая DРн = 100 кПа и DРгр = 40 кПа;

Соотношение ходов не превышает 2, следовательно, принимается симметричная компоновка теплообменника.
2. По оптимальной скорости нагреваемой воды определяем требуемое число каналов по формуле (2)
![]()
3. Общее живое сечение каналов в пакете определяем по формуле (3) (mн принимаем равным 20).
![]()
4. Фактические скорости греющей и нагреваемой воды по формулам (4) и (5):
![]()
![]()
5. Расчет водоподогревателя I ступени:
а) коэффициент теплоотдачи от греющей воды к стенке пластины, формула (6), принимая из табл. 1 А = 0,492:
![]()
б) коэффициент тепловосприятия от стенки пластины к нагреваемой воде, формула (7)
![]()
в) коэффициент теплопередачи, принимая j = 0,8, формула (8)
г) требуемая поверхность нагрева водоподогревателя I ступени, формула (1) прил. 5
д) количество ходов (или пакетов при разделении на одноходовые теплообменники), формула (9)
![]()
Принимаем три хода;
е) действительная поверхность нагрева водоподогревателя I ступени, формула (10)
![]()
ж) потери давления I ступени водоподогревателя по греющей воде, формула (12), принимая j = 1 и из табл. 1 Б = 3:
![]()
6. Расчет водоподогревателя II ступени:
а) коэффициент теплоотдачи от греющей воды к стенке пластины, формула (6):
![]()
б) коэффициент тепловосприятия от пластины к нагреваемой воде, формула (7)
![]()
в) коэффициент теплопередачи, принимая j = 0,8, формула (8):

г) требуемая поверхность нагрева водоподогревателя II ступени, формула (1) прил. 5:
![]()
д) количество ходов (или пакетов при разделении на одноходовые теплообменники), формула (9):
![]()
Принимаем 2 хода;
е) действительная поверхность нагрева водоподогревателя II ступени, формула (10):
![]()
ж) потери давления II ступени водоподогревателя по греющей воде, формула (12):
![]()
з) потери давления обеих ступеней водоподогревателя по нагреваемой воде, принимая j = 1,5, при прохождении максимального секундного расхода воды на горячее водоснабжение, формула (11):
![]()
В результате расчета в качестве водоподогревателя горячего водоснабжения принимаем два теплообменника (I и II ступени) разборной конструкции (Р) с пластинами типа 0,6р, толщиной 0,8 мм, из стали 12Х18Н10Т (исполнение 01), на двухопорной раме (исполнение 2К), с уплотнительными прокладками из резины марки 359 (условное обозначение - 10). Поверхность нагрева I ступени - 71,4 м2, II ступени - 47,4 м2. Схема компоновки I ступени:
![]()
схема компоновки II ступени.
![]()
Условное обозначение теплообменников, указываемое в бланке заказов, будет:
I ступени: Р0,6р-0,8-71,4-2К-01-10 ![]()
II ступени Р0,6р-0,8-47,4-2К-01-10 ![]()
Расчет водоподогревателя, собранного из пластинчатых теплообменников фирмы «Альфа-Лаваль» (технические характеристики см. в табл. 4), показывает, что в I ступень требуется установить теплообменник М15-BFG8 с числом пластин 64, площадь поверхности нагрева 38,4 м2 (коэффициент теплопередачи - 4350 Вт/(м2×°С)).
Таблица 4
Технические характеристики пластинчатых теплообменников фирмы «Альфа-Лаваль» для теплоснабжения
|
Неразборные паяные |
Разборные с резиновыми прокладками |
||||||
|
СВ-51 |
СВ-76 |
СВ-300 |
М3-XFG |
M6-MFG |
М10-ВFG |
М15-ВFG8 |
|
|
Поверхность нагрева пластины, м2 |
0,05 |
0,1 |
0,3 |
0,032 |
0,14 |
0,24 |
0,62 |
|
Габариты пластины, мм |
50´520 |
92´617 |
365´990 |
140´400 |
247´747 |
460´981 |
650´1885 |
|
Минимальная толщина пластины, мм |
0,4 |
0,4 |
0,4 |
0,5 |
0,5 |
0,5 |
0,5 |
|
Масса пластины, кг |
0,17 |
0,44 |
1,26 |
0,24 |
0,8 |
1,35 |
29,5 |
|
Объем воды в канале, л |
0,047 |
0,125 |
0,65 |
0,09 |
0,43 |
1,0 |
1,55 |
|
Максимальное число пластин в установке, шт. |
60 |
150 |
200 |
95 |
250 |
275 |
700 |
|
Рабочее давление, МПа |
3,0 |
3,0 |
2,5 |
1,6 |
1,6 |
1,6 |
1,6 |
|
Максимальная температура, °С |
225 |
225 |
225 |
130 |
160 |
150 |
150 |
|
Габариты установки, мм: |
|
|
|
|
|
|
|
|
ширина |
103 |
192 |
466 |
180 |
320 |
470 |
650 |
|
высота |
520 |
617 |
1263 |
480 |
920 |
981 |
1885 |
|
длина, не более |
286 |
497 |
739 |
500 |
1430 |
2310 |
3270 |
|
« « менее |
58 |
120 |
- |
240 |
580 |
710 |
1170 |
|
Диаметр патрубков, мм |
24 |
50 |
65/100 |
43 |
60 |
100 |
140 |
|
Стандартное число пластин |
10, 20, 30, 40, 50, 60, 80 |
20, 30, 40, 50, 60, 70, 80, 90, 100, 110, 120, 130, 140, 150 |
- |
- |
- |
- |
- |
|
Масса установки, кг, при числе пластин: |
|
|
|
|
|
|
|
|
минимальном |
5,2 |
15,8 |
- |
38 |
146 |
307 |
1089 |
|
максимальном |
15,4 |
73,0 |
309 |
59 |
330 |
645 |
3090 |
|
Максимальный расход жидкости, м3/ч |
8,1 |
39 |
60/140 |
10 |
54 |
180 |
288 |
|
Потери давления при максимальном расходе, кПа |
150 |
150 |
150 |
150 |
150 |
150 |
150 |
|
Коэффициент теплопередачи, Вт/(м2×°С), при стандартных условиях |
7700 |
7890 |
7545 |
6615 |
5950 |
5935 |
6810 |
|
Тепловая мощность, кВт, при стандартных условиях |
515 |
2490 |
8940 |
290 |
3360 |
11480 |
18360 |
|
Примечания 1. Стандартные условия - максимальный расход жидкости, параметры греющего теплоносителя 70 - 15 °С, нагреваемого - 5 - 60 °С. 2. Номенклатура теплообменников «Альфа-Лаваль» не ограничена типами аппаратов, приведенных в таблице. 3. Материал пластин - нержавеющая сталь АISI 316, материал прокладок - ЕРDМ. |
|||||||
Технические характеристики паяных пластинчатых теплообменников «Цетепак» производства компании «Цететерм»
|
СР410 |
СР415 |
СР422 |
СР422-2V* |
СР500 |
СР500-2V* |
|
|
Поверхность нагрева пластины, м2 |
0,025 |
0,05 |
0,095 |
0,28 |
||
|
Габариты пластины h´a, мм |
311´112 |
520´103 |
617´192 |
950´364 |
||
|
Минимальная толщина пластины, мм |
0,4 |
0,4 |
0,4 |
0,4 |
||
|
Масса пластины, кг |
0,1 |
0,17 |
0,35 |
1,26 |
||
|
Объем воды в канале, л |
0,05 |
0,094 |
0,21 |
0,52/0,7 |
||
|
Максимальное число пластин в установке, шт. |
150 |
80 |
150 |
200 |
||
|
Рабочее давление, МПа |
2,5 |
2,5 |
2,5 |
2,5/1,6 |
||
|
Максимальная температура, °С |
225 |
225 |
225 |
225 |
||
|
Основные размеры теплообменника в изоляции h´а´l, мм |
360´182´320 |
590´182´260 |
670´284´508 |
1200´450´818 |
||
|
Диаметр патрубков, мм |
25 |
25 |
50 |
65/100 |
||
|
Масса теплообменника, кг, при числе пластин: минимальном** |
- |
- |
20 |
69,6 |
||
|
максимальном |
- |
- |
75 |
246 |
||
|
Максимальный расход нагреваемой воды при потере давления 100 кПа, м3/ч |
20 |
12 |
62 |
26 |
340 |
165 |
|
Коэффициент теплопередачи при стандартных условиях***, Вт/(м2×°С) |
2420 |
- |
- |
3090 |
- |
1700 |
|
Тепловая мощность при стандартных условиях, кВт |
95 (СР410-150-2V) |
- |
- |
440 (СР422-150-2V) |
- |
2000 (СР500-200-2V) |
|
Максимальная тепловая мощность, кВт, при параметрах теплоносителя 150-76/165-70 °С |
300 |
250 |
1200 |
800 |
4000 |
2500 |
|
* Теплообменники этой модели предназначены для ГВС с двухступенчатым подогревом воды в одном корпусе. ** Число пластин подбирается с шагом 10 пластин при минимальном числе 10 пластин. *** Стандартные условия - максимальный расход жидкости, параметры греющего теплоносителя 70 - 15 °С, нагреваемого - 5 - 60 °С. Примечания 1. Теплообменники поставляются в комплекте с изоляцией. 2. Числа через дробь означают параметры для первичного и вторичного теплоносителей. 3. Материал пластин - АISI 316. |
||||||
Таблица 6
Технические характеристики пластинчатых теплообменников фирмы «АРV» для теплоснабжения
|
Неразборные паяные |
||||||||
|
BD4 |
BD7 |
BF2 |
N25 |
N35 |
N50 |
М60 |
М92 |
|
|
Поверхность нагрева пластины, м2 |
0,04 |
0,07 |
0,14 |
0,25 |
0,35 |
0,5 |
0,6 |
0,92 |
|
Габариты пластины, мм |
290´120 |
525´120 |
574´235 |
924´368 |
1200´368 |
1614´368 |
1188´740 |
1563´740 |
|
0,4 |
0,4 |
0,4 |
0,5 |
0,5 |
0,5 |
0,5 |
0,5 |
|
|
Масса пластины, кг |
0,14 |
0,26 |
0,42 |
1,3 |
1,79 |
2,45 |
3,08 |
4,22 |
|
0,03 |
0,052 |
0,133 |
0,7 |
0,95 |
1,3 |
2,05 |
2,77 |
|
|
3,0 |
3,0 |
3,0 |
1,0 |
1,0 |
1,0 |
1,0 |
1,0 |
|
|
Максимальная температура, °С |
220 |
220 |
220 |
150 |
150 |
150 |
150 |
150 |
|
Диаметр патрубков, мм |
25 |
25 |
65 |
80 |
80 |
80 |
200 |
200 |
|
93 |
93 |
123 |
39/83* |
39/83* |
39/83* |
91/151* |
91/151* |
|
|
Габариты установки, мм: h´a |
290´120 |
525´120 |
574´235 |
1249´450 |
1525´450 |
1939´450 |
1560´886 |
1935´906 |
|
длина, не более |
246 |
246 |
315 |
570 (10/2) |
570 (10/2) |
570 (10/2) |
1340 (10/2) |
1340 (10/2) |
|
« « менее |
48 |
48 |
48 |
370 (10/1) |
370 (10/1) |
370 (10/1) |
1090 (10/1) |
1090 (10/1) |
|
Стандартное число пластин в установке |
7, 11, 17, 25, 33, 43, 63, 93 |
7, 11, 17, 25, 33, 43, 63, 93 |
7, 11, 17, 25, 33, 43, 63, 93, 123 |
- |
- |
- |
- |
- |
|
Масса установки, кг: |
|
|
|
|
|
|
|
|
|
не более |
14,4 |
26,2 |
58,4 |
310 |
410 |
460 |
1755 |
2270 |
|
не менее |
2,4 |
4,0 |
10,5 |
210 |
300 |
380 |
1330 |
170 |
|
* Перед чертой - для рамы 10/1, за чертой - 10/2. Примечания 1. Материал пластин неразборных - АISI 316, разборных АISI 304, материал прокладок разборных - ЕРDМ. 2. Номенклатура теплообменников «АРV» не ограничивается типами аппаратов, приведенных в таблице. |
||||||||
Технические характеристики пластинчатых теплообменников фирмы «СВЕП» для теплоснабжения
|
Неразборные паяные |
Разборные с резиновыми прокладками |
||||||||||
|
В25 |
В35 |
В45 |
В50 |
В65 |
G´6NI |
G´12Р |
G´18Р |
G´26Р |
G´42Р |
G´51Р |
|
|
Поверхность нагрева пластины, м2 |
0,063 |
0,093 |
0,128 |
0,112 |
0,270 |
0,070 |
0,120 |
0,180 |
0,275 |
0,450 |
0,550 |
|
Масса пластины, кг |
0,234 |
0,336 |
0,427 |
0,424 |
1,080 |
- |
- |
- |
- |
- |
- |
|
Объем воды в канале, л |
0,095 |
0,141 |
0,188 |
0,188 |
0,474 |
- |
- |
- |
- |
- |
- |
|
Максимальное число пластин в установке, шт. |
120 |
200 |
200 |
250 |
300 |
100 |
160 |
160 |
450 |
450 |
450 |
|
Рабочее давление, МПа |
3,0 |
3,0 |
3,0 |
3,0 |
3,0 |
1,0 |
1,6 |
1,6 |
1,6 |
1,6 |
1,6 |
|
Максимальная температура, °С |
185 |
185 |
185 |
185 |
185 |
150 |
150 |
150 |
150 |
150 |
150 |
|
Габариты установки, мм: |
|
|
|
|
|
|
|
|
|
|
|
|
ширина |
117 |
241 |
241 |
241 |
362 |
160 |
320 |
320 |
460 |
460 |
630 |
|
высота |
524 |
392 |
524 |
524 |
864 |
745 |
840 |
1070 |
1265 |
1675 |
1730 |
|
длина, не более |
317 |
518 |
518 |
670 |
790 |
500 |
1090 |
1090 |
3080 |
3080 |
3130 |
|
Диаметр подсоединительных патрубков, мм |
25 |
40 |
65 |
65 |
100 |
25 |
50 |
50 |
100 |
100 |
150 |
|
Масса установки при максимальном числе пластин, кг |
30,6 |
71,4 |
119 |
119 |
900 |
38* |
127* |
183* |
363* |
554* |
1138* |
|
Максимально эффективная тепловая мощность, кВт, при параметрах теплоносителя 150 - 80/105 - 70 °С и DРнап не более 150 кПа |
350 |
550 |
900 |
2200 |
6100 |
400 |
550 |
1500 |
3000 |
7300 |
15000 |
|
Коэффициент теплопередачи, Вт/(м2×°С) |
5970 |
7880 |
6570 |
7820 |
7035 |
12920 |
9380 |
11550 |
10810 |
9500 |
11840 |
|
Эффективное число пластин, шт. |
42 |
52 |
48 |
140 |
140 |
21 |
23 |
33 |
47 |
77 |
101 |
|
Тепловая мощность, кВт, при стандартных условиях |
450 |
- |
1500 |
- |
4100 |
430 |
750 |
1050 |
- |
9500 |
- |
|
Коэффициент теплопередачи, Вт/(м2×°С), при стандартных условиях |
6210 |
- |
6260 |
- |
5150 |
7980 |
7080 |
7030 |
- |
7320 |
- |
|
Эффективное число пластин, шт. (через дробь - число ходов) |
117/2 |
- |
189/2 |
- |
297/2 |
79/3 |
89/4 |
85/3 |
- |
74/2 |
- |
|
* Масса принята для числа пластин, требуемых при обеспечении мощности нижеследующей строки. Примечания 1. Стандартные условия - максимальный расход жидкости, ограниченный допустимыми скоростями и потерями давления в водоподогревателе по нагреваемой воде не более 150 кПа; параметры теплоносителя: греющего 70 - 15 °С, нагреваемого 5 - 60 °С. 2. Материал пластин - нержавеющая сталь АISI 316 толщиной 0,3 - 0,6 мм, материал прокладок - ЕРDМ. 3. Номенклатура теплообменников не ограничена типами аппаратов, приведенных в таблице. |
|||||||||||
Во II ступени требуется теплообменник М10-ВFG с числом пластин 71, площадь поверхности нагрева 16,6 м2 (коэффициент теплопередачи - 5790 Вт/(м2×°С)).
Потери давления в обеих ступенях при прохождении максимального секундного расхода нагреваемой воды и том же коэффициенте загрязнения (j = 1,5) составляют 186 кПа.
В табл. 5, 6, 7 приведены технические характеристики теплообменников «Цетепак», «АРУ» и «СВЭП».
Подогреватели горизонтальные пароводяные тепловых сетей (двух- и четырехходовые) по ОСТ 108.271.105 предназначены для систем отопления и горячего водоснабжения.
1. Поверхность нагрева пароводяных подогревателей F, м2, определяется по формуле
где Qsp - расчетная тепловая производительность водоподогревателя, Вт;
k - коэффициент теплопередачи водоподогревателя, Вт/(м2×°C);
Dtср - расчетная разность температур между греющей и нагреваемой средами, °С.
2. Расчетная тепловая производительность водоподогревателя на отопление Qspo или на горячее водоснабжение Qsph определяется по прил. 2.
При этом, учитывая требования п. 4.8 настоящего свода правил, для каждого подогревателя расчетная производительность, определенная по прил. 2, делится на 2.
3. Коэффициент теплопередачи k, Вт/(м2×°С) определяется по формуле
где a2 - коэффициент теплоотдачи при продольном смывании от стенки трубки к нагреваемой воде, Вт/(м2×°С);
aп - коэффициент теплоотдачи от конденсирующегося пара к горизонтальной стенке трубки, Вт/(м2×°С);
dст - толщина стенки трубки, м;
dнак - толщина накипи, м, принимаемая на основании эксплуатационных данных для конкретного района с учетом качества воды, а при отсутствии данных допускается принимать равной 0,0005 м;
lст - теплопроводность стенки трубки, Вт/(м×°С), принимается для стали равной 58 Вт/(м×°С), для латуни - 105 Вт/(м×°С);
lнак - то же, слоя накипи, принимается равной 2,3 Вт/(м×°С).
4. Коэффициент теплоотдачи a2, Вт/(м2×°С), от стенки трубки к нагреваемой воде в области турбулентного движения, определяется по формуле
где tнср - средняя температура нагреваемой воды, °С, определяемая по формуле
tнвх; tнвых - температура нагреваемой воды соответственно на входе и выходе из водоподогревателя, °С;
dвн - внутренний диаметр трубок, м;
Wтр - скорость воды в трубках, м/с, определяется по формуле
fтр - площадь сечения всех трубок в одном ходу подогревателя, м2, определяется по формуле
n - количество трубок в одном ходу, шт.;
r - плотность воды при средней температуре tнср, кг/м3;
Gh - расчетный расход нагреваемой воды в трубках, кг/ч.
5. Коэффициент теплоотдачи aп, Вт/(м2×°С), от конденсирующегося пара к стенке трубки определяется по формуле
где ts - температура насыщения пара, °С;
m - приведенное число трубок, шт., определяемое по формуле
где nоб - общее число трубок в подогревателе, шт.;
nmax - максимальное число трубок в вертикальном ряду, шт.;
tст - средняя температура стенок трубок, °С, определяется приближенно по формуле
и проверяется после предварительного расчета подогревателя по формуле
При несовпадении значений tст, определенных по формулам (9) и (10), более чем на 3 °С, aп следует пересчитывать, приняв значение tст, определенное по формуле (10).
6. Расчетную разность температур Dtср, °С, между греющей и нагреваемой средами определяют по формуле
где Dtб, Dtм - соответственно большая и меньшая разность температур между греющей и нагреваемой средами на входе и выходе из подогревателя, °С, определяется по формулам:
При расчете пароводяных водоподогревателей отопления температуру нагреваемой воды на входе и выходе из водоподогревателя следует принимать
![]()
где t2 - температура воды в обратном трубопроводе систем отопления при расчетной температуре наружного воздуха tо, °С;
![]()
где t01 - температура воды в подающем трубопроводе тепловых сетей за ЦТП или в подающем трубопроводе системы отопления при установке водоподогревателя в ИТП при расчетной температуре наружного воздуха tо, °С.
В этом случае расчетная разность температур Dtср, °С, определится по формуле
Примечание - При независимом присоединении систем отопления и вентиляции через общий водоподогреватель температуру нагреваемой воды в обратном трубопроводе на входе в водоподогреватель следует определять с учетом температуры воды после присоединения трубопровода систем вентиляции. При расходе теплоты на вентиляцию не более 15 % суммарного максимального теплового потока на отопление допускается температуру нагреваемой воды перед водоподогревателем принимать равной температуре воды в обратном трубопроводе системы отопления.
При расчете водоподогревателя на горячее водоснабжение температуру нагреваемой воды, °С, следует принимать:
на входе в водоподогреватель - равной температуре холодной (водопроводной) воды tс в отопительный период; при отсутствии данных принимается равной 5 °С;
на выходе из водоподогревателя - равной температуре воды, поступающей в систему горячего водоснабжения th, в ЦТП и в ИТП th = 60 °С, а в ЦТП с вакуумной деаэрацией th = 65 °С.
7. Расходы нагреваемой воды для расчета водоподогревателей систем отопления, кг/ч, следует определять по формулам:
(15)
при независимом присоединении систем отопления и вентиляции через общий водоподогреватель
(16)
где Qomax, Qvmax - соответственно максимальные тепловые потоки на отопление и вентиляцию, Вт.
Расход нагреваемой воды, кг/ч, для расчета водоподогревателей горячего водоснабжения определяется по формуле
(17)
где Qsph - расчетная производительность водоподогревателя, Вт (см. прил. 2).
8. Потери давления DРн, Па, для воды, проходящей в трубках водоподогревателя
![]()
где Wтр - скорость воды, м/с, определяемая по формуле (5);
z - число последовательных ходов водоподогревателя;
l - длина одного хода, м;
Sx - сумма коэффициентов местных сопротивлений;
l - коэффициент гидравлического трения.
Эквивалентную шероховатость внутренней поверхности латунных трубок при определении l можно принимать 0,0002 м.
Сумму коэффициентов местных сопротивлений в трубках можно принимать:
для двухходовых водоподогревателей Sx = 9,5;
для четырехходовых водоподогревателей Sx = 18,5.
1. При отсутствии нагрузки горячего водоснабжения и зависимом присоединении систем отопления и вентиляции по формуле
(1)
а при независимом присоединении через водоподогреватели вместо t2 подставляется tо2, принимаемое на 5 - 10 °С выше температуры воды в обратном трубопроводе системы отопления t2.
2. При наличии нагрузки горячего водоснабжения в закрытых системах теплоснабжения:
а) при наличии баков-аккумуляторов у потребителя и присоединении водоподогревателей горячего водоснабжения:
по одноступенчатой схеме с регулированием расхода теплоты на отопление
(2)
но не менее расхода воды, определенного по формуле (1);
по одноступенчатой схеме со стабилизацией расхода воды на отопление и вентиляцию
(3)
по двухступенчатой схеме с регулированием расхода теплоты на отопление
(4)
но не менее расхода воды, определенного по формуле (1);
по двухступенчатой схеме со стабилизацией расхода воды на отопление и вентиляцию
(5)
б) при отсутствии баков-аккумуляторов у потребителей и присоединении водоподогревателей горячего водоснабжения:
по одноступенчатой схеме с регулированием расхода теплоты на отопление
(6)
но не менее расхода воды, определенного по формуле (1);
по одноступенчатой схеме со стабилизацией расхода воды на отопление и вентиляцию
(7)
по двухступенчатой схеме с регулированием расхода теплоты на отопление и максимальным тепловым потоком на вентиляцию менее 15 % максимального теплового потока на отопление
(8)
но не менее расхода воды, определенного по формуле (1);
по двухступенчатой схеме с регулированием расхода теплоты на отопление и максимальным тепловым потоком на вентиляцию более 15 % максимального теплового потока на отопление
(9)
по двухступенчатой схеме со стабилизацией расхода воды на отопление и максимальным тепловым потоком на вентиляцию менее 15 % максимального теплового потока на отопление
(10)
по двухступенчатой схеме со стабилизацией расхода воды на отопление и максимальным тепловым потоком на вентиляцию более 15 % максимального теплового потока на отопление
(11)
Примечания
1. В формулах (4),
(5),
(8),
(10)
; В формулах (9), (11)
.
2. В формулах (8), (10) коэффициент 1,2 учитывает увеличение среднечасового теплового потока на горячее водоснабжение в сутки наибольшего водопотребления.
3. Расход теплоты на отопление Q¢o, Вт, при температуре наружного воздуха, соответствующей точке излома графика температур воды t¢н, с учетом постоянной в течение отопительного периода величины бытовых или производственных тепловыделений определен по формуле
где Sq - тепловыделения, принимаемые для жилых зданий по СНиП 2.04.05-91* и для общественных и производственных зданий - по расчету, Вт;
ti - расчетная температура внутреннего воздуха в отапливаемых зданиях, °С;
tiопт - оптимальная температура воздуха в отапливаемых помещениях, принимаемая по среднему значению температур, приведенных в прил. 4 к СНиП 2.04.05-91*;
to - расчетная температура наружного воздуха для проектирования отопления, принимаемая как средняя температура наиболее холодной пятидневки в соответствии со СНиП 2.01.01-82, °С.
3. В открытых системах теплоснабжения
(13)
или по формуле (17) СНиП 2.04.07-86*.
|
Условный диаметр труб Dy, мм |
Нормативно-техническая документация на трубы (НТД) |
Марки стали |
||
|
1 |
2 |
3 |
4 |
5 |
|
Трубы электросварные прямошовные |
||||
|
15 - 400 |
Технические требования по ГОСТ 10705 (группа В, термообработанные) |
ВСт3сп5; |
300 |
1,6 (16) |
|
|
Сортамент по ГОСТ 10704 |
10, 20 |
300 |
1,6 (16) |
|
400 - 1400 |
Технические требования по ГОСТ 10706 (по изменению 2, группа В, термообработанные) |
ВСт3сп5 ВСт3сп4 |
200 |
2,5 (25) |
|
|
|
17ГС, 17Г1С, 17Г1С-У, 13ГС, 13Г1С-У |
300 |
2,5 (25) |
|
150 - 400 |
ГОСТ 20295 (тип 1) |
20 (К42) |
350 |
2,5 (25) |
|
500 - 800 |
ГОСТ 20295 (тип 3, термообработанные) |
17ГС, 17Г1С (К52) |
425 |
2,5 (25) |
|
500 - 800 1000 - 1200 1200 |
ТУ 14-3-620 |
17ГС, 17Г1С, 17Г1С, 17Г1С-У, 13ГС |
300 |
2,5 (25) |
|
1000 |
ТУ 14-3-1424 |
17Г1С-У (К52) |
350 |
2,5 (25) |
|
1000, 1200 |
ТУ 14-3-1138 |
17Г1С-У (К52) |
425 |
2,5 (25) |
|
1000, 1200 |
ТУ 14-3-1698 |
13ГС, 13ГС-У, 13Г1С-У, 17Г1С-У |
350 |
2,5 (25) |
|
500 - 1200 |
ТУ 14-3-1680 |
Вст3сп5 |
200 |
2,5 (25) |
|
500 - 800 |
ТУ 14-3-1270 |
17ГС |
350 |
2,5 (25) |
|
1200 |
ТУ 14-3-1464 |
13Г1С-У 13ГС-У (К52, К5) |
350 |
2,5 (25) |
|
Трубы электросварные спирально-шовные |
||||
|
150 - 350 |
ГОСТ 20295 (тип 2) |
20 (К42) |
350 |
2,5 (25) |
|
500 - 800 |
ГОСТ 20295 (тип 2, термообработанные) |
20 (К42) |
350 |
2,5 (25) |
|
|
|
17ГС, 17Г1С (К52) |
350 |
2,5 (25) |
|
|
|
Вст3сп5 |
300 |
2,5 (25) |
|
500 - 1400 |
ТУ 14-3-954 |
20 17Г1С, 17ГС |
350 |
2,5 (25) |
|
500 - 1400 |
ТУ 14-3-808 |
20 |
350 |
2,5 (25) |
|
Трубы бесшовные |
||||
|
40 - 400 |
Технические требования по ГОСТ 8731 (группа В), |
10, 20 |
300 |
1,6 (16) |
|
|
Сортамент по ГОСТ 8732 |
10Г2 |
350 |
2,5 (25) |
|
15 - 100 |
Технические требования по ГОСТ 8733 (группа В) |
10, 20 |
300 |
1,6 (16) 4,0 (40) |
|
|
Сортамент по ГОСТ 8734 |
10Г2 09Г2С |
350 425 |
5,0 (50) 5,0 (50) |
|
15 - 300 350, 400 |
ТУ 14-3-190 |
10, 20 20 |
425 |
6,4 (64) |
|
50 - 400 |
ТУ 14-3-460 |
20 15ГС |
450 |
Не ограничено |
|
50 - 400 |
ТУ 14-3-1128, Сортамент по ГОСТ 8732 |
09Г2С |
425 |
5,0 (50) |
|
20 - 200 |
ГОСТ 550 (группа А) |
10, 20 |
425 |
5,0 (50) |
|
|
|
10Г2 |
350 |
5,0 (50) |
|
Примечания 1. В таблицу включены трубы по ТУ 14-3-1424, ТУ 14-3-1464, ТУ 14-3-1680 и ТУ 14-3-1698, отсутствующие в «Правилах устройства и безопасной эксплуатации трубопроводов пара и горячей воды» и рекомендуемые к применению. 2. В таблицу включены трубы из сталей марок 13ГС, 13ГС-У и 13Г1С-У, отсутствующие в «Правилах устройства и безопасной эксплуатации трубопроводов пара и горячей воды», испытанные и одобренные Всесоюзным теплотехническим институтом и рекомендованные к применению ЦКТИ. 3. Применение труб и сталей, указанных в примечаниях 1 и 2, следует дополнительно согласовывать с органами Госгортехнадзора. |
||||
|
Наименование выпуска |
Состав выпуска |
Краткая характеристика |
||
|
1 |
2 |
3 |
4 |
|
|
1 |
Детали трубопроводов |
Отвод крутоизогнутый, черт. ТС-582 |
Dу = 40 ... 600 мм, угол гиба 30, 45, 60, 90°, R = 1,5Dу для Dу £ 400 мм, R = Dу для Dу ³ 500 мм |
|
|
|
|
Отвод сварной, черт. ТС-583.000СБ |
Dу = 100 ... 1400 мм, угол поворота 15, 30, 45, 60, 90°, Pу £ 2,5 МПа, t £ 350 °С, Pу £ 1,6 МПа, t £ 300 °С, Pу £ 2,2 МПа, t £ 350 °С |
|
|
|
|
Отводы гнутые, черт. ТС-584 |
Dу = 10 ... 400 мм, Pу = 1,6; 2,5; 4,0 МПа |
|
|
|
|
Переход сварной листовой концентрический, черт. ТС-585 и эксцентрический, черт. ТС-586 |
Dу £ 1400 мм, Ру = 2,5 МПа, t £ 350 °С, Ру £ 1,6 МПа, t £ 300 °С, Pр £ 2,2 МПа, t £ 415 °С |
|
|
|
|
Переход штампованный концентрический и эксцентрический, черт. ТС-594 |
Dу £ 400 мм, Ру £ 4,0 МПа, t £ 425 °С |
|
|
|
|
Тройники и штуцеры для ответвления трубопроводов, черт. ТС-588.000СБ-ТС592 |
Dу = 10 ... 1400 мм - трубопроводы, Dу = 10 ... 1400 мм - ответвления, Pу £ 4,0 МПа |
|
|
|
|
Фланцы плоские приварные с патрубком, черт. ТС-593.000СБ, черт. ТС-599.000СБ |
Dу = 15 ... 1400 мм, Ру £ 2,5 МПа, t £ 350 °С. Присоединительные размеры по ГОСТ 12815-80 |
|
|
|
|
Заглушки плоские приварные, черт. ТС-59.000СБ |
Dу = 25 ... 1000 мм, Ру до 4,0 МПа |
|
|
|
|
Заглушки плоские приварные с ребрами, черт. ТС-596.000 |
Dу = 300 ... 1400 мм, Pу от 0,25 до 4,0 МПа |
|
|
|
|
Примечание - Сводная таблица ответвлений трубопроводов, черт. ТС-587 ТБ |
||
|
2 |
Дренажные узлы |
Узел штуцера и арматуры на водяной тепловой сети и конденсатопроводе (спускник), черт. ТС-631.000СБ и ТС-632.000СБ |
Dу = 32 ... 1400 мм, Ру = 1,6; 2,5 МПа |
|
|
|
|
Узел штуцера и арматуры для гидропневматической промывки водяных тепловых сетей (спускник), черт. ТС-633.000СБ, ТС-634.000СБ |
Dу = 50 ... 1400 мм, Ру = 1,6; 2,5; МПа |
|
|
|
|
Узел штуцера с вентилем для выпуска воздуха на водяных тепловых сетях и конденсатопроводах (воздушник), черт. ТС-635.000СБ |
Dу = 32 ... 1400 мм, Ру = 1,6, 2,5; МПа |
|
|
|
|
Узел штуцера с вентилем для подключения сжатого воздуха при гидропневматической промывке на водяной тепловой сети и конденсатопроводе (воздушник), черт. ТС-636.000СБ |
Dу = 50 ... 1400 мм, Ру = 1,6; 2,5; МПа |
|
|
|
|
Узел пускового дренажа паропроводов, черт. ТС-637.000СБ |
Dу = 65 ... 1200 мм, Ру = 1,0; 1,6; 2,5; 4,0; 6,4 МПа |
|
|
|
|
Узел пускового дренажа паропроводов с отводом, черт. ТС-638.000СБ |
Dу = 65 ... 1200 мм, Ру = 1,0; 1,6; 2,5; 4,0 МПа, Dу = 50 ... 700 мм, Ру = 6,4 МПа |
|
|
|
|
Узел пускового и постоянного дренажа паропровода, черт. ТС-639.000СБ |
Dу = 65 ... 1200 мм, Ру = 1,0; 1,6; 2,5; 4,0 МПа, Dу = 50 ... 700 мм, Ру = 6,4 МПа |
|
|
|
|
Воздушник на паропроводе, черт. ТС-640.000СБ |
DY = 65 ... 1200 мм, Рy = 1,0; 1,6; 2,5; 4,0 МПа, Dy = 50 ... 700 мм, Рy = 6,4 МПа |
|
|
3 |
Установка контрольно-измерительных приборов (термометров, манометров) |
Установка термометра на горизонтальном трубопроводе, черт. ТС-3.001.000СБ |
Dу = 100 ... 1400 мм, t £ 200 °С, Dу = 100 ... 1000 мм, t £ 350 °С, Dу = 100 ... 1000 мм, t £ 440 °С |
|
|
|
|
Установка термометра углового с углом поворота 90° на вертикальном и горизонтальном трубопроводах, черт. ТС-3.002.000СБ |
То же |
|
|
|
|
Установка манометра на горизонтальном трубопроводе, черт. ТС-3.003.000СБ |
Pу £ 2,5 МПа, t £ 200 °С |
|
|
|
|
Установка манометра на вертикальном трубопроводе, черт. ТС-3.004.000СБ |
Ру £ 2,5 МПа, t £ 200 °С |
|
|
|
|
Установка манометра на горизонтальном трубопроводе, черт. ТС-3.005.000СБ |
Pу £ 6,2 МПа, t £ 440 °С |
|
|
|
|
Установка манометра на вертикальном трубопроводе, черт. ТС-3.006.000СБ |
Pу £ 6,2 МПа, t £ 440 °С |
|
|
4 |
Компенсаторы сальниковые |
Компенсатор сальниковый односторонний: вариант 1 - с уплотняющим устройством, вариант 2 - без уплотняющего устройства, черт. ТС-579.00.000СБ |
Dу = 100 ... 1400 мм, Pу £ 2,5 МПа, t £ 300 °С. Компенсирующая способность от 190 до 500 мм |
|
|
|
|
Компенсатор сальниковый двухсторонний: вариант 1 - с уплотняющим устройством, вариант 2 - без уплотняющего устройства, черт. ТС-580.00.000СБ |
Dу = 100 ... 800 мм, Pу £ 2,5 МПа, t £ 300 °С. Компенсирующая способность от 380 до 900 мм |
|
|
5 |
Грязевики |
Грязевик горизонтальный, черт. ТС-565.00.000СБ |
Dу = 150 ... 400 мм, Ру = 2,5; 1,6; 1,0 МПа |
|
|
|
|
Грязевик горизонтальный, черт. ТС-566.00.000СБ |
Dу = 500 ... 1400 мм, Ру = 2,5; 1,6 МПа |
|
|
|
|
Грязевик вертикальный, черт. ТС-567.00.000СБ |
Dу = 200 ... 300 мм, Ру = 2,5; 1,6 МПа |
|
|
|
|
Грязевик вертикальный, черт, ТС-568.00.000СБ |
Dу = 350 ... 1000 мм, Ру = 2,5; 1,6 МПа |
|
|
|
|
Грязевик тепловых пунктов, черт. ТС-569.00.000СБ |
Dу = 40 ... 200 мм, Ру = 2,5; 1,6; 1,0 МПа |
|
|
НТД |
Предельные параметры |
|||
|
Dу, мм |
t, °С |
P, МПа (кгс/см2) |
||
|
Сч10, Сч15 |
80 300 |
130 200 |
3 (30) 0,8 (8) |
|
|
Сч20, Сч25 Сч30, Сч35 |
100 200 300 |
300 |
3 (30) 1,3 (13) 0,8 (8) |
|
|
Сч20, Сч25 Сч30, Сч35 |
600 1000 |
130 |
0,64 (6,4) 0,25 (2,5) |
|
|
Кч33-8, Кч35-10, Кч37-12 |
200 |
300 |
1,6 (16) |
|
|
Вч35, Вч40, Вч45 |
ГОСТ 7293 |
200 600 |
350 130 |
4 (40) 0,8 (8) |
|
Примечания 1. Нормируемые показатели и объем контроля должны соответствовать указанным в стандартах. 2. Применение чугуна Сч10 допускается с временным сопротивлением не ниже 1,2 МПа (12 кгс/см2). |
||||
|
Название |
Альбом |
Содержание материалов в альбомах |
|
|
ТЭП ТХТ-05 |
Типовые проектные решения по применению теплоизоляционных конструкций для трубопроводов и оборудования тепловых электростанций Часть 1 Объекты, расположенные внутри помещений |
№ 1 ТЭП ТХГ-05-Т ТЭП ТХТ-05-0 |
Трубопроводы и оборудование |
|
№ 2 ТЭП ТХТ-05-А ТЭП ТХТ-05-Ф |
Арматура и фланцевые соединения |
||
|
№ 3 (с изменениями) ТЭП ТХТ-05-МТ ТЭП ТХТ-05-МО |
Масса теплоизоляционных конструкций для трубопроводов и оборудования |
||
|
ТЭП ТХТ-ОП-II |
То же Часть II Объекты, расположенные на открытом воздухе |
№ 5 ТЭП ТХТ-05-П-ОП ТЭП ТХТ-05-П-ОК |
Разгружающие устройства для трубопроводов, расположенных внутри помещений и на открытом воздухе (опорные полки и опорное кольцо) |
|
Примечания 1. Типовые проектные решения ТХТ-05 и ТХТ-05-П разработаны институтом Теплоэлектропроект, СПКБ ВПСМО Союзэнергозащита и ВНИПИтеплопроект и согласованы ВССМО Союзэнергозащиты. Утверждены ВГНИПИИ Теплоэлектропроект, введены в действие ГПИО Энергопроект, часть I с 1.01.90 г. (протокол № 45), часть II - с 1.01.91 г. (протокол № 66) и утверждены Минэнерго СССР. 2. Отраслевая УТПД предназначена для применения при проектировании и монтаже тепловой изоляции наружной поверхности трубопроводов диаметром от 10 до 1420 мм, арматуры и фланцевых соединений плоских и криволинейных поверхностей оборудования ТЭС с температурой теплоносителя от плюс 50 до плюс 60 °С. 3. При разработке УТПД толщина основного слоя тепловой изоляции определялась по нормам линейной плотности теплового потока, приведенных в СНиП 2.04.14-88. 4. При разработке УТПД использованы материалы ВНИПИтеплопроект: типовые конструкции, изделия и узлы зданий и сооружений. Серия 7.903.9-2 «Тепловая изоляция трубопроводов с положительными температурами»: вып. 1. Тепловая изоляция трубопроводов. Рабочие чертежи, вып. 2. Тепловая изоляция арматуры и фланцевых соединений. Рабочие чертежи Серия 3.903-11 «Тепловая изоляция криволинейных и фасонных участков трубопроводов и узлов оборудования. Рабочие чертежи». 5. Калькодержателями УТПД являются институты Теплоэлектропроект и СПКБ ВПСМО Союзэнергозащита. |
|||
|
Показатели качества исходной питьевой воды из хозяйственного водопровода (средние за год) |
Способы противокоррозионной и противонакипной обработки воды в зависимости от вида труб |
||||
|
Индекс насыщения карбонатом кальция J при 60 °С |
Суммарная концентрация хлоридов и сульфатов, мг/л |
Перманганатная окисляемость, мг О/л |
Стальные трубы без покрытия совместно с оцинкованными трубами |
Оцинкованные трубы |
Стальные трубы с внутренними эмалевыми и другими неметаллическими покрытиями или термостойкие пластмассовые трубы |
|
1 |
2 |
3 |
4 |
5 |
6 |
|
J < -1,5 |
£ 50 |
0 - 6 |
ВД |
ВД |
- |
|
J < -1,5 |
> 50 |
0 - 6 |
ВД + С |
ВД + С |
- |
|
-1,5 £ Ј < -1,5 |
£ 50 |
0 - 6 |
С |
C |
- |
|
-0,5 £ Ј £ 0 |
£ 50 |
0 - 6 |
С |
- |
- |
|
0 < Ј £ 0,5 |
£ 50 |
> 3 |
С |
- |
- |
|
0 < Ј £ 0,5 |
£ 50 |
£ 3 |
С + М |
М |
М |
|
Ј > 0,5 |
£ 50 |
0 - 6 |
М |
М |
М |
|
-1,5 £ Ј £ 0 |
51 - 75 |
0 - 6 |
С |
C |
- |
|
-1,5 £ Ј £ 0 |
76 - 150 |
0 - 6 |
ВД |
C |
- |
|
-1,5 £ Ј £ 0 |
> 150 |
0 - 6 |
ВД + С |
ВД |
- |
|
0 < Ј £ 0,5 |
51 - 200 |
> 3 |
С |
C |
- |
|
0 < Ј £ 0,5 |
51 - 200 |
£ 3 |
С + М |
C + М |
М |
|
0 < Ј £ 0,5 |
> 200 |
> 3 |
ВД |
ВД |
- |
|
0 < Ј £ 0,5 |
> 200 |
£ 3 |
ВД + М |
ВД + М |
М |
|
Ј > 0,5 |
51 - 200 |
0 - 6 |
C + М |
C + М |
М |
|
Ј > 0,5 |
201 - 350 |
0 - 6 |
ВД + М |
С + М |
М |
|
Ј > 0,5 |
> 350 |
0 - 6 |
ВД + М |
ВД + М |
М |
|
Примечания 1. В графах 4 - 6 приняты следующие обозначения способов обработки воды: противокоррозионный: ВД-вакуумная деаэрация, С-силикатный; противонакипный: М - магнитный. Знак «-» обозначает, что обработка воды не требуется. 2. Значение индекса насыщения карбонатом кальция J определяется в соответствии со СНиП 2.04.02-84*, а средние за год концентрации хлоридов сульфатов и других растворенных в воде веществ - по ГОСТ 2761. При подсчете индекса насыщения следует вводить поправку на температуру, при которой определяется водородный показатель рН. 3. Суммарную концентрацию хлоридов и сульфатов следует определять по выражению [Сl-] + [SO42-]. 4. Содержание хлоридов [Сl-] в исходной воде согласно ГОСТ 2874 не должно превышать 350 мг/л, а [SO42-] - 500 мг/л. 5. Использование для горячего водоснабжения исходной воды с окисляемостью более 5 мг О/л, определенной методом окисления органических веществ перманганатом калия в кислотной среде, как правило, не допускается. При допущении органами Минздрава цветности исходной воды до 35 ° окисляемость воды может быть допущена более 6 мг О/л. 6. При наличии в тепловом пункте пара вместо вакуумной деаэрации следует предусматривать деаэрацию при атмосферном давлении с обязательной установкой охладителей деаэрированной воды. 7. Если в исходной воде концентрация свободной углекислоты [СО2] превышает 10 мг/л, то следует после вакуумной деаэрации производить подщелачивание. 8. Магнитная обработка применяется при общей жесткости исходной воды не более 10 мг-экв/л и карбонатной жесткости (щелочности) более 4 мг-экв/л. Напряженность магнитного поля в рабочем зазоре магнитного аппарата не должна превышать 159 × 103 А/м. 9. При содержании в воде железа [Fе2+; 3+] более 0,3 мг/л следует предусматривать обезжелезивание воды независимо от наличия других способов обработки воды. 10. Силикатную обработку воды и подщелачивание следует предусматривать путем добавления в исходную воду раствора жидкого натриевого стекла по ГОСТ 13078. 11. При среднечасовом расходе воды на горячее водоснабжение менее 50 т/ч деаэрацию воды предусматривать не рекомендуется. |
|||||
|
Единица измерения |
Показатели |
|
|
Крупность зерен |
мм |
0,5 - 1,1 |
|
Насыпная масса 1 м3 сухого материала |
т |
0,6 - 0,7 |
|
Насыпная масса 1 м3 влажного материала |
« |
0,55 |
|
Высота слоя |
м |
1,0 - 1,2 |
|
Длительность взрыхления |
мин |
15 |
|
Интенсивность взрыхления |
л/(с×м2) |
4 |
|
Оптимальная скорость фильтрования |
м/ч |
20 |
|
Потеря давления в свежем фильтрующем слое |
МПа |
0,03 - 0,05 |
|
Потеря давления в загрязненном слое перед промывкой |
« |
0,1 |
|
Показатели качества исходной водопроводной воды (средние за год) |
Доза вводимого жидкого натриевого стекла в пересчете на SiO32-, мг/л |
|||
|
Индекс насыщения карбонатом кальция J при 60 °С |
Концентрация, мг/л |
|||
|
соединений кремния* SiO32- |
растворенного кислорода O2 |
хлоридов и сульфатов (суммарно) [Cl-] + [SO42-] |
||
|
-0,5 £ Ј £ 0 |
До 35 |
Любая |
£ 50 |
15 |
|
-1,5 £ Ј £ 0,5 |
« 15 |
« |
£ 50 |
35 |
|
J > 0 |
« 25 |
« |
51 - 100 |
25 |
|
J > 0 |
« 15 |
« |
101 - 200 |
35* |
|
* При концентрации в исходной воде соединений кремния < 15 мг/л (в пересчете на SiO32-) доза вводимого жидкого натриевого стекла должна быть увеличена до ПДК, указанной в п. 5.20 настоящего свода правил. |
||||
А. РАСЧЕТ ГРАФИКОВ ПОДАЧИ ТЕПЛОТЫ В СИСТЕМЫ ОТОПЛЕНИЯ В ЗАВИСИМОСТИ ОТ ПОГОДНЫХ УСЛОВИЙ
Для промышленных и общественных зданий, при расчете теплопотерь которых не учитываются бытовые тепловыделения, изменение подачи теплоты на отопление определяется по формуле (рис. 1, линия 1)
(1)
где
- относительный
тепловой поток на отопление;
Qo - тепловой поток на отопление при текущей температуре наружного воздуха tн, Вт;
Qomax - расчетный тепловой поток на отопление при расчетной температуре наружного воздуха для проектирования отопления to, Вт;
ti - расчетная температура внутреннего воздуха в отапливаемых зданиях.
Рис. 1. Графики относительного изменения теплового потока на отопление
в зависимости от наружной температуры to для разного типа потребителей и способов авторегулирования
1 - для промышленных и общественных зданий; 2 - для жилых зданий при регулировании без коррекции по отклонению внутренней температуры от заданной; 3 - для жилых зданий при регулировании с коррекцией по ti
Для жилых зданий при расчете изменения теплового потока на отопление в соответствии со СНиП 2.04.05-91* учитываются бытовые тепловыделения в квартирах, которые в отличие от теплопотерь через ограждения не зависят от величины tн. Поэтому с ее повышением доля бытовых тепловыделений в тепловом балансе жилого здания возрастает, за счет чего можно сократить подачу теплоты на отопление по сравнению с определением его по формуле (1). Тогда относительный тепловой поток на отопление жилых зданий, ориентируясь на квартиры с угловыми комнатами верхнего этажа, где доля бытовых тепловыделений от теплопотерь самая низкая, определяется по формуле
где tiопт - оптимальная температура воздуха в отапливаемых помещениях, принимаемая с учетом принятого способа регулирования;
0,14 - доля бытовых тепловыделений в квартирах с угловой комнатой от теплопотерь для условий tо = -25 °С.
При регулировании систем отопления поддержанием графика подачи теплоты в зависимости от tн без коррекции по температуре внутреннего воздуха, когда скорость ветра при расчете теплопотерь принимается равной расчетной, что соответствует примерно постоянному объему инфильтрующегося наружного воздуха в течение всего отопительного периода, tiопт принимается равной 20,5 °С при tн, соответствующей параметрам А, постепенно снижаясь до 19 °С с понижением tн до tн = tо (рис. 1, линия 2).
При регулировании систем отопления с автоматической коррекцией графика подачи теплоты при отклонении внутренней температуры от заданной, когда скорость ветра при расчете теплопотерь принимается равной нулю, что соответствует сокращению объемов инфильтрующегося наружного воздуха, но не менее санитарной нормы притока, tiопт принимается равной 21,5 °С. График изменения относительного теплового потока на отопление будет представлять собой прямую линию, пересекающую ось абсцисс в той же точке, что и при регулировании без коррекции по ti, а при tн = tо относительный тепловой поток будет равным 0,9Qоmax (рис. 1, линия 3).
Б. РАСЧЕТ ГРАФИКОВ ТЕМПЕРАТУР ТЕПЛОНОСИТЕЛЯ У ПОТРЕБИТЕЛЯ, ПОДДЕРЖИВАЕМЫХ ПРИ АВТОМАТИЗАЦИИ СИСТЕМ ОТОПЛЕНИЯ
При автоматизации систем отопления заданный график подачи теплоты обеспечивается путем поддержания регулятором соответствующего графика температур теплоносителя. Могут применяться следующие способы поддержания графика температур теплоносителя, циркулирующего в системе отопления:
1) поддержание графика температур теплоносителя в подающем трубопроводе - tо1;
2) поддержание графика температур теплоносителя в обратном трубопроводе - t2;
3) поддержание графика разности температур теплоносителя в обоих трубопроводах Dt = tо1 - t2.
Первый способ, наиболее распространенный за рубежом, приводит к завышению подачи теплоты в теплый период отопительного сезона примерно на 4 % годового теплопотребления на отопление вследствие необходимости спрямления криволинейного графика температур воды в подающем трубопроводе.
Второй способ рекомендуется применять при автоматизации систем, в которых возможно изменение расхода циркулирующего теплоносителя (например, при подключении системы отопления к тепловым сетям через элеватор с регулируемым сечением сопла, с корректирующим насосом, установленным на перемычке между подающим и обратным трубопроводами). Контроль температуры в обратном трубопроводе гарантирует нормальный прогрев последних по ходу воды в стояке отопительных приборов.
Третий способ наиболее эффективен, так как при нем повышается точность регулирования, из-за того, что график разности температур - линейный, в отличие от криволинейных графиков температур воды в подающем и обратном трубопроводах систем отопления. Но он может применяться только в системах отопления, в которых поддерживается постоянный расход циркулирующего теплоносителя (например, при независимом присоединении через водоподогреватель или с корректирующими насосами, установленными на подающем или обратном трубопроводах системы отопления). При известном расходе воды, циркулирующей в системе, этот способ регулирования является наиболее точным, так как еще устраняет ошибки в подаче теплоты при наличии запаса в поверхности нагрева отопительных приборов (при других способах регулирования поддержание расчетного графика приведет к перерасходу теплоты и из-за незнания фактического значения показателя степени т в формуле коэффициента теплопередачи отопительного прибора).
На рис. 2 и 3
представлены графики изменения относительной температуры воды в подающем
и обратном ![]()
трубопроводах систем
отопления с постоянной циркуляцией воды (температурного критерия системы
отопления) в зависимости от относительного теплового потока на отопление
, определенного по разделу А настоящего приложения, и с
учетом возможных значений показателя степени m в формуле коэффициента
теплопередачи отопительного прибора (здесь и далее с индексом «т» - значения
температур при текущей температуре наружного воздуха).
Рис. 2. Графики изменения температурного критерия системы отопления по
температуре воды в подающем трубопроводе
для различных значений показателя степени m и при постоянной циркуляции теплоносителя в системе
Эти рисунки иллюстрируют значительное влияние на степень криволинейности графиков температур воды фактического значения коэффициента m, который зависит от типа отопительных приборов и способа прокладки стояка. Так, например, в системах отопления с замоноличенными стояками и конвекторами «Прогресс» следует принимать m = 0,15, а в системах отопления с конвекторами «Комфорт» и открыто проложенными стояками m = 0,32. В системах с чугунными радиаторами m = 0,25.
Рис. 3. Графики
изменения температурного критерия системы отопления по температуре воды в обратном трубопроводе
при постоянной циркуляции воды в системе
Используя эти
графики, находят искомую температуру воды в подающем или обратном трубопроводе
при различных температурах наружного воздуха: для требуемой tн
находят по формулам (1) и (2) или из графика рис. 1
относительный расход теплоты на отопление
, а по нему - из графиков рис. 2 или 3 относительную температуру
воды. Затем по нижеперечисленным формулам - искомую температуру воды:
Значения ti и tiопт принимаются теми же, что и
при определении
.
На рис. 4 приведены для однотрубных систем отопления требуемые графики изменения относительной температуры воды в подающем (tто1 - tiопт) / (tо1 - ti), обратном (tт2 - tiопт) / (t2 - ti) трубопроводах и их разности (tто1 - tт2) / (tо1 - t2), обозначаемые далее критерием q, и определенные исходя из обеспечения одинакового изменения теплоотдачи первых и последних по ходу воды в стояке отопительных приборов. При этом в системах отопления расход циркулирующего теплоносителя должен изменяться (количественно-качественное регулирование) в соответствии с графиками, приведенными на рис. 5. Графики построены по следующим формулам для различных m:
где Gо, Gоmax - расход циркулирующего теплоносителя соответственно при текущей наружной температуре и расчетной для проектирования отопления.
Рис. 4. Графики изменения относительных температур теплоносителя в однотрубных системах отопления при количественно-качественном регулировании
При регулировании подачи теплоты в системах отопления центральных тепловых пунктов (ЦТП) температурные графики определяются по тем же зависимостям, как и для систем отопления отдельных зданий, подставляя иное значение расчетной температуры. Например, для ЦТП с независимым присоединением квартальных сетей отопления tо1 = 120 °С, а для ЦТП с зависимым присоединением - tо1 = 150 °С.
Рис. 5. Графики изменения относительного расхода воды в однотрубной системе отопления при количественно-качественном регулировании
Если вентиляционная нагрузка потребителей, подключенных к ЦТП, не превышает 15 % отопительной, более оптимальным в ЦТП остается регулирование по разности температур воды в подающем и обратном трубопроводах (при размещении корректирующих насосов на перемычке устанавливают дополнительный регулятор для стабилизации расхода воды в квартальных сетях). При этом, соблюдая принцип ограничения максимального расхода сетевой воды на вводе теплового пункта, для компенсации недогрева зданий в часы прохождения максимального водоразбора график температур, задаваемый регулятору, повышается на 3 °С против отопительного. Тогда в часы максимального водоразбора график все равно не будет выдерживаться, но за счет превышения его в остальные часы в целом за сутки здание получит норму расхода теплоты. Примерные графики регулирования подачи теплоты для условий расчетной наружной температуры минус 25 °С приведены на рис. 6.
При регулировании подачи теплоты на отопление в ЦТП, когда постоянство расхода теплоносителя не обеспечивается (отсутствует корректирующий насос или при установке корректирующего насоса на перемычке отсутствует регулятор стабилизации расхода воды) и системы отопления подсоединены к квартальным сетям через элеваторные узлы, следует поддерживать график температур воды в обратном трубопроводе. При этом значение параметра (tт2 - tiопт) / (t2 - ti) следует определять исходя из соответствия изменения теплоотдачи в последних по ходу воды стояках отопительных приборов, т.е. на основе зависимостей, приведенных на рис. 3, и формулы (4).
Если вентиляционная нагрузка потребителей, подключенных к ЦТП, превышает 15 % отопительной (т.е. создается нестабильность изменения температуры обратной воды, поступающей в ЦТП, и из-за малой инерционности калориферов не допускается снижение температуры теплоносителя, поступающего к ним), подачу теплоты в квартальные сети следует регулировать поддержанием температурного графика в подающем трубопроводе без повышения его из-за ограничения расхода сетевой воды. Последнее выполняется в этом случае исходя из максимального часового расхода теплоты на горячее водоснабжение и путем воздействия на клапан, изменяющий расход теплоносителя на водоподогреватель горячего водоснабжения, а не отопления, что имеет место при меньшей вентиляционной нагрузке.
Рис. 6. Графики изменения разности температуры воды в подающем и обратном трубопроводах системы отопления Dt в зависимости от tн
1 - 3 - Dt = 150 ... 70 °С соответственно наветренная ориентация фасада здания, заветренная и с ограничением максимального расхода воды; 4 - 6 Dt = 120 ... 70 °С, тоже; 7 - Dt = 105 ... 70 °С - заветренная ориентация; 8 - Dt = 95 ... 70 °С - то же
Qоmax - максимальный тепловой поток на отопление при tо, Вт.
Q¢о - тепловой поток на отопление в точке излома графика температуры воды при температуре наружного воздуха t¢н, Вт.
Qvmax - максимальный тепловой поток на вентиляцию при tо или при tнв, Вт.
Qhmax - максимальный тепловой поток на горячее водоснабжение в сутки наибольшего водопотребления за период со среднесуточной температурой наружного воздуха 8 °С и менее (отопительный период), Вт.
Qhm - средний тепловой поток на горячее водоснабжение в средние сутки за неделю в отопительный период.
Qosp - расчетная тепловая производительность водоподогревателя систем отопления и вентиляции (при общих тепловых сетях), Вт.
Qhsp - расчетная тепловая производительность водоподогревателя для систем горячего водоснабжения, Вт.
Qht - тепловые потери трубопроводами от ЦТП и в системах горячего водоснабжения зданий и сооружений, Вт.
Gomax - максимальный расход воды, циркулирующей в системе отопления при to, кг/ч.
Ghmax, Ghm - соответственно максимальный и средний за отопительный период расходы воды в системе горячего водоснабжения, кг/ч.
Gd - расчетный расход воды из тепловой сети на тепловой пункт, кг/ч.
Gvmax - максимальный расход воды из тепловой сети на вентиляцию, кг/ч.
Gdh, Gdo - расчетный расход сетевой (греющей) воды соответственно на горячее водоснабжение и отопление, кг/ч.
Gdsp - расчетный расход сетевой (греющей) воды через водоподогреватель, кг/ч.
qh - максимальный расчетный секундный расход воды на горячее водоснабжение, л/с.
F - поверхность нагрева водоподогревателя, м2.
to - расчетная температура наружного воздуха для проектирования отопления, °С.
t¢н - температура наружного воздуха в точке излома графика температур, °С.
tнv - расчетная температура наружного воздуха для проектирования вентиляции по параметру А, °С.
tc - температура холодной (водопроводной) воды в отопительный период (при отсутствии данных принимается 5 °С).
th - температура воды, поступающей в систему горячего водоснабжения потребителей на выходе из водоподогревателя при одноступенчатой схеме включения водоподогревателей или после II ступени водоподогревателя при двухступенчатой схеме, °С.
tсргр - средняя температура греющей воды между температурой на входе tвхгр и на выходе tвыхгр из водоподогревателя, °С.
tсрн - то же, нагреваемой воды между температурой на входе tвхн и на выходе tвыхн из водоподогревателя, °С.
ts - температура насыщенного пара, °С.
thI - температура нагреваемой воды после I ступени водоподогревателя при двухступенчатой схеме присоединения водоподогревателей, °С.
Dtср - температурный напор или расчетная разность температур между греющей и нагреваемой средой (среднелогарифмическая), °С.
Dtб; Dtм - соответственно большая и меньшая разности температур между греющей и нагреваемой водой на входе или на выходе из водоподогревателя, °С.
ti - средняя расчетная температура внутреннего воздуха отапливаемых зданий, °С.
t1 - температура сетевой (греющей) воды в подающем трубопроводе тепловой сети при расчетной температуре наружного воздуха tз, °С.
to1 - то же, в подающем трубопроводе системы отопления, °С.
t2 - то же, в обратном трубопроводе тепловой сети и после системы отопления зданий, °С.
to2 - то же, в обратном трубопроводе тепловой сети при независимом присоединении систем отопления, °С.
t¢1 - температура сетевой (греющей) воды в подающем трубопроводе тепловой сети в точке излома графика температуры воды, °С.
t¢2 - то же, в обратном трубопроводе тепловой сети и после систем отопления зданий, °С.
t¢3 - то же, после водоподогревателя горячего водоснабжения, подключенного к тепловой сети по одноступенчатой схеме, рекомендуется принимать t¢3 = 30 °С.
r - плотность воды при средней температуре tср, кг/м3, ориентировочно принимается равной 1000 кг/м3.
k - коэффициент теплопередачи, Вт/(м2×°С).
a1 - коэффициент теплоотдачи от греющей воды к стенке трубки, Вт/(м2×°С).
a2 - то же, от стенки трубки к нагреваемой воде, Вт/(м2×°С).
aп - коэффициент теплоотдачи от конденсирующегося пара к горизонтальной стенке трубки, Вт/(м2×°С).
lст - теплопроводность стенки трубки, Вт/(м×°С), принимается равной: для стали 58 Вт/(м×°С), для латуни 105 Вт/(м×°С).
lнак - то же, слоя накипи, Вт/(м×°С), принимается равной 2,3 Вт/ (м×°С).
Wтр - скорость воды в трубках, м/с.
Wмтр - скорость воды в межтрубном пространстве, м/с.
fтр - площадь сечения всех трубок в одном ходу водоподогревателя, м2.
fмтр - площадь сечения межтрубного пространства секционного водоподогревателя, м2.
dст - толщина стенки трубок, м.
dнак - толщина слоя накипи, м, принимается на основании эксплуатационных данных для конкретного района с учетом качества воды, при отсутствии данных допускается принимать равной 0,0005 м.
Dвн - внутренний диаметр корпуса водоподогревателя, м.
dвн - внутренний диаметр трубок, м.
dнар - наружный диаметр трубок, м.
dэкв - эквивалентный диаметр межтрубного пространства, м.
y - коэффициент эффективности, теплообмена.
b - коэффициент, учитывающий загрязнение поверхности труб при определении коэффициента теплопередачи в водоподогревателях.
j - коэффициент, учитывающий накипеобразование на трубках водоподогревателей при определении потерь давления в водоподогревателях.
Ключевые слова: тепловой поток, тепловая производительность, тепловые потери, водоподогреватель, теплопередача, теплопроводность.
|
_________________________________________________________ |