Госгортехнадзор России
НТЦ «Промышленная безопасность»
Серия 03
Нормативные
документы межотраслевого
применения по вопросам промышленной
безопасности и охраны недр
Выпуск 13
ИНСТРУКЦИЯ
ПО ЭКСПЛУАТАЦИИ СТАЛЬНЫХ КАНАТОВ
В ШАХТНЫХ СТВОЛАХ
РД 03-439-02
Москва
Государственное унитарное предприятие
«Научно-технический центр по безопасности в промышленности
Госгортехнадзора России»
Ответственные составители-разработчики:
А.И. Субботин, В.Д. Чигрин, А.И. Перепелицын, В.И. Пасюта, В.М. Голубчиков, Л.А. Беляк, В.К. Дуганов, А.В. Меньшиков, В.Ф. Меньшиков, Ю.Д. Мамаев
Инструкция по эксплуатации стальных канатов в шахтных стволах (РД 03-439-02). Серия 03. Выпуск 13 / Колл. авт. - М.: Государственное унитарное предприятие «Научно-технический центр по безопасности в промышленности Госгортехнадзора России», 2002.
Приведены современные прогрессивные направления по выбору и расчету рациональных конструкций подъемных, уравновешивающих, проводниковых, тормозных и амортизационных канатов, правила при их замене, навеске, эксплуатации, техническом обслуживании и смазке. Использованы материалы Правил безопасности в угольных и сланцевых шахтах, стандартов и отраслевых нормативов на стальные канаты. Изложены требования к прицепным и подвесным устройствам, правила их эксплуатации и технические характеристики.
С вводом настоящей Инструкции Инструкция по эксплуатации стальных канатов в шахтных стволах (М.: Недра, 1989) на подконтрольных Госгортехнадзору России объектах не применяется.
Для работников угольных шахт, рудников по добыче полезных ископаемых, а также проектных и научно-исследовательских организаций угольной и горнорудной промышленности.
СОДЕРЖАНИЕ
Утверждена
постановлением Госгортехнадзора
России от 12.04.02 № 19
Введена в действие с 01.09.02 г.
постановлением Госгортехнадзора
России от 12.04.02 № 19
ИНСТРУКЦИЯ
ПО ЭКСПЛУАТАЦИИ СТАЛЬНЫХ КАНАТОВ
В ШАХТНЫХ СТВОЛАХ
РД 03-439-02
Стальной канат представляет собой гибкое витое изделие, состоящее из стальных проволок круглого или фасонного сечения и органического или металлического сердечника. Эффективность использования канатов в значительной степени определяется правильностью их выбора, расчета и эксплуатации.
Сортамент канатов, рекомендуемых к применению в шахтных стволах, в зависимости от назначения приведен в табл. 1, конструкции - на рис. 1 - 6.
В соответствии с ГОСТ 3241-91 (государственный стандарт на стальные канаты общего назначения), ГОСТ 18899-73 (стальные закрытые несущие канаты общего назначения), ГОСТ 10505-76 (стальные закрытые подъемные канаты, применяемые в угольной и горнорудной промышленности) канаты подразделяются по следующим признакам:
по конструкции1:
1 В шахтных стволах применение канатов кабельтовой свивки не допускается.
одинарной свивки - состоящие из проволок, свитых по спирали;
двойной свивки - состоящие из прядей, свитых в один или несколько концентрических слоев;
по форме поперечного сечения:
круглые;
плоские - поперечное сечение которых близко к прямоугольнику;
по форме поперечного сечения прядей:
круглопрядные;
фасоннопрядные - поперечное сечение прядей которых отличается от круглого;
по типу свивки прядей и канатов одинарной свивки:
ТК - с точечным касанием проволок между слоями;
ЛК - с линейным касанием проволок между слоями;
ЛК-О - с линейным касанием проволок между слоями при одинаковом диаметре проволок по слоям пряди;
ЛК-Р - с линейным касанием проволок между слоями при разных диаметрах проволок в наружном слое пряди;
ЛК-З - с линейным касанием проволок между слоями и проволоками заполнения;
ЛК-РО - с линейным касанием проволок между слоями и имеющих в пряди слои с проволоками разных диаметров и слои с проволоками одинакового диаметра;
ТЛК - с комбинированным точечно-линейным касанием проволок;
ПК - канаты из пластически деформированных прядей, например по ТУ 14-4-874-78 и ТУ 14-4-875-78, марки «Дайформ»;
по материалу сердечника:
ОС - с органическим сердечником из натуральных или синтетических материалов;
МС - с металлическим сердечником;
ГОСТ и ТУ на канаты, допускаемые к применению на шахтных подъемных установках
|
Канаты наклонных подъемов |
Канаты уравновешивающие |
Канаты проводниковые и отбойные |
Канаты тормозные для парашютов5 типа |
|||
|
барабанных машин |
машин со шкивом трения |
ПТКА (диаметр, мм; ГОСТ или ТУ6) |
ПКЛА (диаметр, мм; ГОСТ или ТУ6) |
|||
|
Для эксплуатационных подъемов: ТУ 14-4-1444-87-Б (ГОСТ 16828-81) ТУ 14-4-1444-87-А1 ТУ 14-4-496-74 ТУ 14-4-1552-89 «Дайформ»8 Для проходческих подъемов: ГОСТ 16828-81 |
ТУ 14-4-1444-87-А (ТУ 14-4-1444-87-Б2) (ГОСТ 7668-802) Круглый овальнопрядный8 «Дайформ»8 |
ГОСТ 7668-803 ТУ 14-4-1444-87-Б3 Канат с пластически обжатыми прядями ПК типа ТУ 14-4-874-78 ТУ 14-4-875-78 «Дайформ»8 |
Плоский со шпильками Резинотросовый (ГОСТ 16827-81) (ГОСТ 16828-81) Круглый некрутящийся повышенной гибкости8 |
Для эксплуатационных подъемов: ТУ 14-4-1158-814 ТУ 14-4-1444-87-Б Полузакрытые7 Для проходческих подъемов: ГОСТ 16827-81 ГОСТ 16828-81 ТУ 14-4-1136-814 Полузакрытые7 |
ПТКА6,3 (25,5; ГОСТ 3077-80) ПТКА12,5 (30,5; ГОСТ 3077-80) (32,5; ГОСТ 3077-80) ПТКА20 ПТКША20 (35,0; ГОСТ 3077-80) (37,0; ГОСТ 3077-80) (36,5; ТУ 14-4-1444-87-А) (35,5; ГОСТ 7665-80) ПТКА25 ПТКША25 (40,0; ГОСТ 3077-80) (41,0; ГОСТ 3077-80) (42,0; ГОСТ 7665-80) (42,0; ТУ 14-4-1444-87-А) ПТКА30 ПТКША30 (45,0; ГОСТ 3077-80) (45,0; ГОСТ 7665-80) (46,5; ТУ 14-4-1444-87-А) (47,0; ГОСТ 3079-80) |
ПКЛА6,3 (35,0; ГОСТ 3077-80) (35,5; ГОСТ 7665-80) (37,0; ГОСТ 3077-80) (36,5; ТУ 14-4-1444-87-А) ПКЛА12,5 (40,0; ГОСТ 3077-80) (41,0; ГОСТ 3077-80) (42,0; ГОСТ 7665-80) (42,0; ТУ 14-4-1444-87-А) ПКЛА20 ПКЛША20 (50,5; ТУ 14-4-1444-87-А) (52,0; ГОСТ 3079-80) ПКЛА30 ПКЛША30 (56,0; ГОСТ 3079-80) (58,0; ГОСТ 3079-80) |
Примечание. ГОСТы и ТУ на канаты, указанные в скобках, должны применяться при невозможности использования унифицированных типоразмеров канатов.
1 Допускается применение при условии нанесения смазки перед навеской.
2 Допускается применение при условии снятия смазки перед навеской.
3 Для наклонных подъемов с углом наклона более 60°.
4 Канаты в стадии освоения заводами.
5 Амортизационные канаты парашютов и устройств от переподъема для многоканатных подъемов - 45,0 мм; ГОСТ 7665-80.
6 Тормозные канаты парашюта ПТКПА приняты как для парашюта ПТКА12,5.
7 Спиральный канат с наружным слоем из круглых и Х-образных проволок.
8 Канаты современных конструкций, показавшие высокую наработку. При применении этих канатов с коушами типа КД обязательны протяжка каната в коуше не реже одного раза в шесть месяцев и применение крестового зажима.
Рис. 1. Канаты подъемные для эксплуатационных и проходческих вертикальных стволов:
а - по ТУ 14-4-1444-87-А, ТУ 14-4-1444-87-Б, ГОСТ 7668-80; б - по ГОСТ 7669-80; в - по ГОСТ 10506-76; г - по ГОСТ 2688-80; д - по ГОСТ 16828-80; е - овальнопрядный некрутящийся
по способу свивки:
Н - нераскручивающиеся (пряди в канатах двойной свивки, наружные пряди многопрядных канатов, наружные проволоки в канатах одинарной свивки сохраняют свое положение после снятия перевязок и заварки с конца каната, при этом металлические сердечники могут изготавливаться раскручивающимися);
раскручивающиеся (пряди и проволоки не сохраняют своего положения в канате после снятия перевязок и заварки с конца каната). По ГОСТ 10505-76 и ГОСТ 18999-73 (закрытые подъемные и закрытые несущие) раскручивающиеся канаты обозначаются буквой Р;
Рис. 2. Канаты подъемные для наклонных стволов:
а - по ГОСТ 3077-80; б - по ГОСТ 7665-80; в - по ГОСТ 3079-80; г - канаты из пластически обжатых прядей ПК; д - по ТУ 14-4-1444-87-Б, ГОСТ 7668-80; е - по ГОСТ 2688-80
по степени уравновешенности:
Р - рихтованные (для канатов по ГОСТ 3241-91);
нерихтованные;
по направлению свивки каната:
правой;
Л - левой.
Направление свивки каната определяется для канатов одинарной свивки направлением свивки проволок наружного слоя, для канатов двойной свивки - направлением свивки прядей наружного слоя;
Рис. 3. Канаты уравновешивающие:
а - по ГОСТ 3088-80; б - по ГОСТ 16827-80; в - по ГОСТ 16828-80; г, д - некрутящиеся повышенной гибкости; е - плоские со шпильками производства Венгрии; ж - резинотросовые; з - по ГОСТ 3091-80; и - по ГОСТ 3092-80
по сочетанию направлений свивки каната и его элементов в канатах двойной свивки:
крестовой свивки (направление свивки каната и направление свивки прядей противоположны);
О - односторонней свивки (направление свивки прядей и направление свивки проволоки в пряди одинаковы);
по степени крутимости:
крутящиеся (с одинаковым направлением свивки проволок в канатах одинарной свивки, прядей);
МК - малокрутящиеся (многослойные многопрядные и одинарной свивки с противоположным направлением свивки элементов по слоям); канаты по ГОСТ 10505-76 изготавливаются только малокрутящимися - МК; в канатах по ГОСТ 18999-73 направление свивки проволок в двух верхних слоях должно чередоваться;
по механическим свойствам:
ВК, В - изготовленные из проволоки марки ВК или В;
I - изготовленные из проволоки марки I;
по виду покрытия поверхности проволок в канате:
из проволоки без покрытия;
ОЖ, Ж, С - из оцинкованной проволоки: в зависимости от поверхностной плотности цинка (по степени уменьшения поверхностной плотности);
П - покрытие каната или прядей искусственными материалами;
по назначению:
ГЛ - грузолюдские, служащие для подъема и транспортирования людей и грузов (марок ВК, В);
Г - грузовые, служащие для транспортирования грузов;
по точности изготовления:
нормальной;
Т - повышенной.
Основными конструктивными элементами канатов являются проволоки, пряди, сердечник.
1.2.1. Стальную канатную проволоку изготовляют из углеродистой горячекатаной проволоки (катанки) методом многократного холодного волочения с промежуточной термической и химической обработкой для получения необходимой прочности, структуры, вида и качества поверхности.
Стальная проволока круглого сечения должна соответствовать требованиям ГОСТ 7372-79.
Стальная проволока фасонного профиля должна соответствовать нормативно-технической документации.
1.2.2. Проволоки при свивке прядей и канатов должны иметь одинаковое натяжение, при этом проволоки каждого слоя (в пряди или в канате) должны плотно прилегать к проволокам нижележащего слоя.
Зетобразные проволоки в канатах закрытой конструкции должны прилегать друг к другу, образуя соединение замком. Между фасонными проволоками допускается зазор, не нарушающий замка каната.
Рис. 4. Тормозные канаты:
а - по ГОСТ 3077-80; б - по ГОСТ 3079-80; в - по ТУ 14-4-1444-87-А; г - по ГОСТ 7665-80
Рис. 5. Амортизационные канаты по ГОСТ 7665-80
Рис. 6. Канаты проводниковые эксплуатационных и проходческих подъемов:
а - по ГОСТ 3090-73; б - по ГОСТ 7675-73; в - полузакрытые; г - по ГОСТ 7669-80; д - по ГОСТ 7667-80; е - по ГОСТ 7668-80, ТУ 14-4-1444-87; ж - по ГОСТ 16827-81; з - по ГОСТ 16828-81
1.2.3. Сердечник каната служит опорой для прядей каната. Органический сердечник при этом является аккумулятором смазки для шахтных подъемных канатов двойной свивки. Он должен быть изготовлен из сизаля в соответствии с нормативно-технической документацией. Допускается использование канатов с органическим сердечником из пенькового волокна повышенного качества (длинного прядения) по ГОСТ 5269-93. Металлический сердечник (МС) должен изготовляться из проволоки по ГОСТ 7372-79.
Органический сердечник из других материалов, рекомендуемых ГОСТ 3241-91, может быть применен после проведения шахтных испытаний в установленном порядке.
1.2.3.1. В канатах диаметром более 15 мм органический сердечник должен быть трехпрядным двойной свивки. При отсутствии в стандарте на органический сердечник требуемого размера сердечника допускается добавлять к витому трехпрядному сердечнику отдельные каболки (нити пряжи) в количестве, не превышающем разности числа каболок смежных стандартных диаметров сердечника.
1.2.3.2. Сердечники из сизаля или пенькового волокна должны быть пропитаны смазкой в соответствии с нормативно-технической документацией. По требованию потребителя сердечник можно не пропитывать.
1.2.4. В зависимости от конструкций канаты могут иметь следующие обозначения:
канат одинарной свивки типа ТК конструкции 1 × 37 (1 + 6 + 12 + 18) - спиральный канат, состоящий из 37 проволок;
канат двойной свивки типа ЛК-О («Сил») конструкции 6 × 19 (1 + 9 + 9) + 1 ОС - шестипрядный канат (19 проволок в пряди) с одним органическим сердечником;
канат двойной свивки типа ЛК-Р («Варрингтон») конструкции 6 × 19 (1 + 6 + 6 / 6) + 1 ОС - шестипрядный канат (19 проволок в пряди) с одним органическим сердечником;
канат двойной свивки типа ЛК-РО («закрытый Варрингтон») конструкции 6 × 36 (1 + 7 + 7 / 7 + 14) + 1 ОС - шестипрядный канат (36 проволок в пряди) с одним органическим сердечником;
канат двойной свивки типа ЛК-РО конструкции 6 × 36 (1 + 7 + 7 / 7 + 14) + 7 × 7 (1 + 6) - шестипрядный канат с металлическим сердечником, состоящим из семи прядей по семь проволок в каждой;
канат двойной свивки типа ЛК-З («Филер») конструкции 6 × 25 (1 + 6; 6 + 12) + 1 ОС - шестипрядный канат (25 проволок в пряди) с одним органическим сердечником;
канат плоский 8 × 4 × 9 (0 + 9) + 32 ОС состоит из восьми стренг, каждая из которых содержит четыре пряди из девяти проволок, навитых вокруг органического сердечника;
канат одинарной свивки типа ТЛК конструкции Z29 + X13 / Ø13 + Ø19 + (14 + 7 / 7 + 7 + 1) - закрытый подъемный канат, состоящий из 110 проволок.
1.3.1. Шаг свивки наружного слоя проволок в прядях должен составлять не более 9 диаметров пряди - в канатах с линейным касанием проволок и 11 диаметров пряди - в канатах с точечным касанием проволок, в трехгранных прядях и однопрядных металлических сердечниках.
Шаг свивки проволок в канатах одинарной свивки, а также в канатах и прядях конструкции 1 + 6 должен быть не более 11 расчетных диаметров пряди.
Шаг свивки канатов должен составлять не более:
6,5 диаметров - в трех- и шестипрядных канатах, стренгах канатов тройной свивки и металлических сердечниках;
7 диаметров - в канатах с количеством прядей более шести, в канатах тройной свивки и в канатах точечного касания, пряди которых изготавливаются в три операции (1 + 6 + 12 + 18);
7,5 диаметров - в фасоннопрядных канатах;
16 диаметров - в стренгах и прядях плоского каната.
Длина шага свивки закрытого несущего каната не должна превышать 10-кратного диаметра каната.
Длина шага свивки сердечника точечного касания закрытого несущего каната должна быть не более 11-кратного диаметра соответствующего свиваемого слоя, длина шага свивки сердечника линейного касания - не более 9-кратного диаметра сердечника.
1.3.2. В закрытых подъемных канатах первые три слоя круглых проволок при отсчете от центральной должны свиваться по типу линейного касания, последующие - по типу точечного касания. Длина шага свивки каната и отдельно свиваемых слоев проволок не должна превышать 9-кратного диаметра соответствующего свиваемого слоя.
1.3.3. Канат должен иметь по всей длине равномерный шаг свивки элементов каната.
1.3.4. В канате не должно быть запавших, выступающих, перекрученных, заломанных, оборванных проволок, западающих прядей. Проволоки в слоях не должны иметь западаний, выпячиваний и перекрещиваний. Поверхность проволок не должна быть сплющенной или срезанной. На поверхности проволок не должно быть ржавчины, трещин, расслоений, вмятин, надрезов, превышающих размером половину предельного отклонения по диаметру или профилю проволоки.
1.3.5. Диаметры проволок в канатах должны соответствовать требованиям стандартов на сортамент.
Допускается уточнение диаметров проволок в пределах ± 0,1 мм, при этом равные диаметры проволок одного слоя изменяются на одинаковую величину.
При уточнении диаметра проволоки диаметры канатов, ширина и толщина плоского каната не должны выходить за пределы, установленные ГОСТ 3241-91, ГОСТ 18899-73, ГОСТ 10505-76.
1.3.6. В канате могут быть соединения концов проволоки, выполненные посредством стыковой контактной сварки или высокотемпературной пайки. Место соединения не должно быть хрупким и иметь приращения диаметра, выводящие диаметр проволок за предельные отклонения. На оцинкованных проволоках допускается отсутствие цинка в местах соединения.
1.3.7. В спиральных несущих и закрытых подъемных канатах расстояние между местами соединений отдельных проволок в каждом слое должно составлять не менее пяти шагов свивки каната. Количество сварок (паек) наружных проволок для канатов по ГОСТ 10505-76 должно быть не более трех на длине 500 м каната. Количество сварок (паек) наружных проволок для канатов марки В по ГОСТ 18899-73 должно быть не более двух на длине 500 м каната.
1.3.8. В канатах, изготовленных из круглой проволоки (ГОСТ 3241-91), допускается концы проволок диаметром 0,55 мм и менее заделывать посредством прошивки проволок через сечение прядей или соединять простым узлом. При этом допускается местное утолщение и нарушение свивки в месте соединения концов проволок. В канатах марки 1 на одном метре каната допускается не более двух соединений проволок в разных поперечных сечениях, в канатах марки ВК и В - не более одного соединения на 10 м.
1.3.9. Предельные отклонения диаметра круглых прядевых канатов должны соответствовать данным табл. 2. Предельные отклонения по ширине и толщине плоских канатов должны быть не более:
Значения предельных отклонений диаметров канатов
|
Предельные отклонения диаметра каната, %, не более, при точности изготовления |
||||
|
повышенной |
нормальной |
|||
|
с металлическим сердечником |
с органическим сердечником |
с металлическим сердечником |
с органическим сердечником |
|
|
Свыше 6,0 |
+5 |
+6 |
+10 |
+10 |
|
до 8,0 включительно |
-1 |
+6 |
-2 |
+10 |
|
Свыше 8,0 |
+4 |
+5 |
+6 |
+7 |
|
-1 |
+5 |
-2 |
+7 |
|
от +5 до -8 % - для повышенной точности;
± 8 % - для нормальной точности.
Предельное
отклонение по диаметру подъемного каната закрытой конструкции должно быть не
более: для канатов повышенной точности изготовления: ± 2 % - для диаметров до
38 мм, ± 0,75 мм - для диаметров свыше 38 мм; для канатов нормальной точности
изготовления:
% - для всех диаметров.
Предельное
отклонение по диаметру спирального несущего каната должно быть не более: ± 2 % - для канатов из
проволоки без покрытия;
% - для канатов из
оцинкованной проволоки.
1.3.10. Канаты с органическим сердечником должны иметь зазоры между прядями, при этом диаметр каната не должен превышать предельных отклонений, указанных в табл. 2. Допускается наличие зазора между прядями в канатах с металлическим сердечником и выступающий ворс сердечника в канатах с органическим сердечником.
1.3.11. Длину каната устанавливают в заказе. Допускаемые отклонения по длине: £ 400 м - +5 %, 0; > 400 м - +20 м, 0 - на каждые 1000 м или их части. При отсутствии указания длины канат изготовляют длиной не менее 200 м. Канаты длиной менее 200 м поставляют по согласованию с потребителем. В случае если указывается кратная и монтажная длина, а канат изготовляется общей длиной, то предприятие-изготовитель накладывает проволочные вязки на указанные длины.
Предельное отклонение по длине закрытого подъемного каната не должно превышать: +2 % - при длине каната до 500 м; +1 % - при длине каната свыше 500 м.
Предельное отклонение по длине спирального несущего каната не должно превышать: +4 % - при длине каната до 500 м; +2 % - при длине каната свыше 500 м. По требованию потребителя канат поставляют определенной длины, при этом масса каната не должна превышать 30 т.
При проектировании подъемных установок для расчета параметров канатов используются характеристики, приведенные в табл. 3.
1.4.1. Круглые канаты
1.4.1.1. Коэффициент заполнения металлом площади поперечного сечения каната
где F - суммарная площадь сечения всех проволок каната, мм2;
d - диаметр каната, мм;
π = 3,14;
- расчетный параметр.
Расчетные параметры канатов
|
|
|
ν |
|
kг |
|
γ*, кг/м3 |
|
|
0,381 |
3721 |
0,485 |
0,105 |
14,0 |
61 |
9766 |
|
|
0,369 |
3689 |
0,504 |
0,130 |
12,8 |
58 |
9997 |
|
|
0,363 |
3572 |
0,462 |
0,052 |
19,2 |
87 |
9840 |
|
|
0,502 |
4376 |
0,639 |
0,124 |
13,6 |
67 |
8717 |
|
|
0,420 |
4220 |
0,535 |
0,046 |
22,7 |
99 |
10048 |
|
|
0,310 |
3058 |
- |
0,212 |
- |
- |
9864 |
|
|
0,230 |
2418 |
- |
0,191 |
- |
- |
10513 |
|
|
0,281 |
3627 |
0,358 |
0,062 |
16,1 |
76 |
12907 |
|
|
0,389 |
3820 |
0,495 |
0,062 |
18,4 |
82 |
9820 |
|
|
0,470 |
4212 |
0,598 |
0,073 |
17,6 |
77 |
8962 |
|
|
0,650 |
5660 |
0,827 |
0,360 |
11,7 |
62 |
8708 |
|
|
ГОСТ 16827-81 |
0,450 |
4134 |
0,573 |
0,027 |
28,7 |
137 |
9187 |
|
ГОСТ 16828-81 |
0,422 |
3822 |
0,537 |
0,079 |
15,6 |
87 |
9057 |
1.4.1.2. Фиктивная (приведенная) плотность каната, кг/м3:
где q - линейная масса каната, кг/м.
Если
ввести расчетный параметр
, то
1.4.1.3. Расчетное суммарное разрывное усилие всех проволок каната, Н:
где σв - маркировочная группа прочности каната по временному сопротивлению разрыву, МПа.
1.4.1.4. Коэффициент гибкости каната
где δш - диаметр или высота фасонной проволоки наружного слоя каната, мм.
1.4.1.5. Удельный поверхностный коэффициент
где δi - диаметр i-й проволоки, мм;
S - поверхностный коэффициент, характеризующий восприимчивость каната к воздействию внешней агрессивной среды, мм-1.
1.4.1.6. Параметр, характеризующий изгибную жесткость ненатянутого каната, Н·мм2:
где Е = 2,06 · 105 МПа - модуль упругости стали;
D - коэффициент изгибной жесткости (см. табл. 3).
1.4.1.7. Продольная жесткость каната, Н:
где ē - коэффициент, учитывающий уменьшение продольной жесткости каната по сравнению со сплошным стальным стержнем, площадь которого равна суммарной площади всех проволок каната.
Для обтянутых канатов коэффициент ē равен: 0,60 - для круглопрядных канатов с органическим сердечником; 0,64 - для трехграннопрядных канатов и круглопрядных канатов с металлическим сердечником; 0,69 - для закрытых подъемных канатов.
Для необтянутых канатов значения коэффициента ē принимают на 15 % меньшими. Обтянутым канатом следует считать канат, у которого в процессе эксплуатации отсутствует остаточное упругое удлинение.
1.4.1.8. Критическую длину канатов (м), при которой он разрушается только от собственного веса, определяют по формуле
где g - ускорение свободного падения (9,81 м/с2).
1.4.1.9. Крутящий момент (Н·м), возникающий в канате под действием растягивающей нагрузки:
где k - коэффициент упругой связи между крутящим моментом и растягивающим усилием;
Р - осевое растягивающее усилие на канат, Н.
Значения k определяются конструкцией каната: для круглопрядных канатов с органическим сердечником (ГОСТ 7668-80) k = 0,092; для круглопрядных канатов с металлическим сердечником (ГОСТ 7669-80) k = 0,089; для трехграннопрядных канатов (ГОСТ 3085-80) k = 0,122; для многопрядных малокрутящихся канатов (ГОСТ 16828-81) k = 0,061; для закрытых подъемных канатов (ГОСТ 10506-76) k = 0,017.
Крутящий момент (Н·м) в отвесе каната при защемленном нижнем конце можно определить по формуле
где Qк - масса концевого груза, кг;
L - длина каната, м.
1.4.2. Плоские канаты
1.4.2.1. Суммарное разрывное усилие всех проволок каната, Н:
где b - ширина сечения каната, мм;
h - его толщина, мм.
1.4.2.2. Линейная масса каната, кг/м:
1.4.2.3. Параметр, характеризующий изгибную жесткость каната, Н·мм2:
1.4.2.4. Продольная жесткость каната, Н:
1.4.3. Особенности канатов различных конструкций
1.4.3.1. Канаты односторонней свивки по сравнению с канатами крестовой свивки менее жесткие на изгиб и имеют большую опорную поверхность, что повышает их износостойкость. Эти канаты, однако, имеют несколько увеличенную продольную жесткость и жесткость при кручении по сравнению с канатами крестовой свивки. Кроме того, они обладают повышенной крутимостью под действием растягивающей нагрузки, а также склонны к петлеобразованию.
Важным отличием этих двух разновидностей каната является то, что при раскрутке каната крестовой свивки (при действии крутящего момента в направлении, противоположном направлению свивки прядей) сами пряди закручиваются, то есть сохраняют свою структурную целостность. В аналогичных условиях нагружения пряди каната односторонней свивки раскручиваются, при этом внешние проволоки прядей могут ослабнуть настолько, что перестанут нести осевую растягивающую нагрузку. Это имеет место на подъемных установках со шкивами трения глубоких шахт, где применяются круглопрядные канаты.
1.4.3.2. Многопрядные малокрутящиеся канаты имеют не менее двух слоев прядей, навитых на органический или металлический сердечник. Для достижения уравновешивания внутренних моментов упругих сил относительно оси каната, возникающих при его растяжении, пряди наружного и внутреннего слоев свиваются в противоположных направлениях. Разновидностью этих канатов являются некрутящиеся канаты с органическим сердечником, состоящие из плоских и овальных прядей, либо из одного слоя (внутреннего) круглых прядей и навитых на него двух или трех слоев плоских прядей. Эти канаты обладают также повышенной гибкостью.
1.4.3.3. Канаты закрытой конструкции являются малокрутящимися за счет переменности направления свивки различных слоев. Такие канаты обладают повышенной износостойкостью (см. табл. 3, параметр kг). Наличие устойчивого замыкания внешних фасонных проволок препятствует проникновению пыли и влаги внутрь каната.
1.4.3.4. Плоские канаты, изготовляемые из четного числа сталепроволочных стренг, являются некрутящимися. Для предотвращения скручивания каната стренги изготовляют с чередующимися направлениями правой и левой свивки.
1.4.3.5. Канаты из пластически деформированных круглых прядей типа ПК являются канатами двойной свивки. Пряди для изготовления таких канатов получают путем волочения круглых прядей через монолитную волоку. В процессе пластического обжатия проволоки в пряди изменяют форму поперечного сечения. После пластической деформации поверхность прядей становится гладкой. Канат из таких прядей отличается повышенным сопротивлением против истирания. В канатах из пластически деформированных прядей проволоки контактируют между собой по плоскости (полосовое касание), благодаря чему улучшаются условия взаимодействия проволок друг с другом и уменьшается их взаимное истирание.
1.4.3.6. Резинотросовые канаты представляют собой ряд параллельно уложенных в одной плоскости, запрессованных в резину оцинкованных или латунированных тросов, которые с двух сторон покрыты резиновыми обкладками. Такие канаты обладают высоким пределом выносливости, относительно большой линейной массой и являются ремонтопригодными. При необходимости за счет стыковки можно заменить случайно поврежденный участок и удлинить канат в связи с переходом на нижележащий горизонт.
Выбор канатов для подъемных установок должен производиться с учетом конкретных условий их работы.
1.5.1. Головные канаты людских и грузолюдских подъемных установок должны быть грузолюдскими (ГЛ) марки ВК или В.
1.5.2. Канаты головные для перевозки груза, уравновешивающие, проводниковые, отбойные, тормозные, амортизационные, включающего устройства парашютов со шкивом трения должны быть не ниже марки В (требование вводится с 01.01.05).
1.5.3. Все канаты в шахтных стволах рекомендуется применять из оцинкованной проволоки. Группа оцинкования устанавливается по согласованию с заводами-изготовителями канатов.
В отдельных случаях допускается навеска канатов без покрытия.
1.5.4. Рекомендуется применять подъемные канаты с маркировочной группой по временному сопротивлению разрыву 1570 - 1670 - 1770 МПа; при этом не следует без необходимости использовать канаты с повышенными значениями σв.
Уравновешивающие канаты должны иметь маркировочную группу прочности 1370 - 1570 МПа.
Проводниковые и отбойные канаты закрытой и полузакрытой конструкций должны иметь маркировочную группу прочности 1080 - 1370 МПа, прядевой конструкции - 1370 - 1570 МПа.
Тормозные канаты в парашютах ПТКА, ПТКПА, ПТКША, ПКЛА и канаты включающих устройств в парашютах со шкивом трения должны иметь маркировочную группу прочности не ниже 1570 МПа.
Амортизационные канаты для парашютов и для канатно-винтовых амортизаторов устройств от переподъема должны иметь маркировочную группу прочности 1370 - 1570 МПа.
1.5.5. Рекомендуется применять канаты правой свивки, за исключением многоканатного подъема, где подъемные канаты должны быть попарно правой и левой свивок.
1.5.6. К навеске на многоканатной подъемной установке допускаются канаты одного и того же типа, диаметра и конструкции, изготовленные на одном и том же заводе, с одинаковой маркой проволок по прочности.
Разница значений разрывных усилий отдельных канатов не должна превышать 5 % по отношению к наибольшему разрывному усилию.
1.5.7. При проектировании подъемных установок
выбор канатов для конкретных условий следует производить с учетом
восприимчивости канатов к коррозионному воздействию внешней среды (см. п. 1.4.1.5).
Для вертикальных подъемных установок в качестве подъемных канатов (головных,
уравновешивающих) следует использовать канаты с поверхностным коэффициентом
2,5 мм-1
при применении светлых канатов и
3 мм-1 -
при применении оцинкованных канатов. Для наклонных подъемных установок следует
применять канаты с поверхностным коэффициентом
3 мм-1.
При этом минимально допустимые диаметры канатов для наклонных подъемных установок из условий коррозионной устойчивости (поверхностного коэффициента), мм:
ТУ 14-4-874-78.............................................................................................................. 17,5
ТУ 14-4-875-78.............................................................................................................. 20,5
ГОСТ 3077-80................................................................................................................ 20,5
ГОСТ 2688-80................................................................................................................ 21,0
ГОСТ 7665-80................................................................................................................ 22,5
ГОСТ 7668-80................................................................................................................ 29,0
ГОСТ 3079-80................................................................................................................ 29,0
1.5.8. На одноканатных подъемных установках с канатными проводниками для обоих подъемных сосудов должны навешиваться головные канаты одинакового диаметра, конструкции и направления свивки.
1.5.9. На многоканатных подъемных установках должно быть навешено не менее двух уравновешивающих канатов предпочтительно одной конструкции и одинакового типоразмера. При этом для одной установки канаты должны иметь одинаковое направление свивок.
Применение круглых однослойных канатов не допускается.
1.5.10. При использовании круглых прядевых канатов в качестве уравновешивающих их крепление к подъемным сосудам должно осуществляться с помощью вертлюжных прицепных устройств.
1.5.11. В качестве тормозных и амортизационных канатов парашютов применяют нераскручивающиеся круглопрядные канаты крестовой свивки с органическим сердечником. Диаметр наружных проволок тормозных канатов должен быть не менее 2 мм.
1.5.12. В качестве канатных проводников и отбойных канатов эксплуатационных шахт должны применяться канаты, имеющие в наружном слое проволоки фасонного профиля высотой не менее 5 мм. Допускается применение круглопрядных нераскручивающихся однослойных канатов крестовой свивки с металлическим и органическим сердечником и диаметром наружных проволок не менее 2 мм. В случае применения канатов с органическим сердечником необходимо в процессе эксплуатации следить, чтобы натяжной груз за счет вытяжки каната не опускался на почву зумпфа. В качестве канатных проводников проходческих подъемов должны применяться такие же однослойные круглопрядные канаты как с металлическим, так и с органическим сердечником, а также многопрядные канаты, имеющие наружные проволоки диаметром не менее 1,5 мм.
1.5.13. Для навески проходческого оборудования следует применять многопрядные малокрутящиеся канаты, закрытые подъемные канаты и однослойные круглопрядные канаты крестовой свивки.
Для навески спасательных лестниц и кабелей должны применяться многопрядные малокрутящиеся или закрытые подъемные канаты.
Для навески опалубки и щитов-оболочек рекомендуется применять закрытые подъемные канаты (если они не являются направляющими), а для навески насосов - многопрядные малокрутящиеся канаты.
При навеске оборудования на нескольких канатах (полки, ставы труб и др.) рекомендуется применять канаты различного направления свивки (левой и правой).
Независимо от назначения рекомендуется применять нераскручивающиеся канаты. Проверка нераскручиваемости каната должна осуществляться удалением перевязок и мест заварки. При этом в нераскручивающихся канатах пряди в канатах двойной свивки, наружные пряди в многопрядных канатах, проволоки в канатах одинарной свивки могут раскручиваться на расстоянии не более одного шага свивки от конца каната или могут раскручиваться на расстоянии не более пяти шагов свивки таким образом, чтобы их можно было легко возвратить в прежнее положение.
Закрытый подъемный и спиральный несущий канаты являются нераскручивающимися, если при освобождении конца каната от зажимов и сварки фасонные проволоки не выходят из замка. Определение нераскручиваемости указанного слоя проволок производят на расстоянии не менее половины шага свивки от места отрезки.
Для проверки степени уравновешенности канатов, изготовленных по ГОСТ 3241-91, канат длиной, равной 50 его диаметров, свободно располагают на горизонтальной поверхности и измеряют максимальное отклонение оси каната от прямой, проведенной между его концами. Отклонение должно быть не более:
10 диаметров - для канатов с органическим сердечником;
15 диаметров - для канатов с металлическим сердечником и канатов одинарной свивки.
1.6.1. В вертикальных стволах с машинами барабанного типа в качестве головных рекомендуется применять оцинкованные канаты по ТУ 14-4-1444-87-Б унифицированных типоразмеров: 25,5; 27,0; 33,0; 36,5; 42,0; 46,5; 50,5; 53,5; 58,5 мм.
На подъемах с канатными проводниками допускаются к применению малокрутящиеся канаты (ГОСТ 16828-81).
Канаты с металлическим сердечником по ГОСТ 7669-80 и закрытые подъемные по ГОСТ 10506-76 допускаются к применению при реконструкции подъемных установок и углубке стволов при недостаточной канатоемкости барабанов имеющихся подъемных машин.
1.6.2. Пример подбора головных и уравновешивающих канатов для многоканатных машин приведен в табл. 4.
1.6.3. На наклонных грузовых подъемах следует применять подъемные канаты из пластически обжатых прядей по ТУ 14-4-874-78, ТУ 14-4-875-78, а также канаты марки «Дайформ».
1.6.4. При проходке вертикальных стволов рекомендуется применять:
в качестве головных для подъемных сосудов - канаты по ГОСТ 10506-76 или малокрутящиеся по ГОСТ 16828-81;
для подвески полков - малокрутящиеся канаты по ГОСТ 16827-81 или канаты по ГОСТ 7668-80;
для подвески спасательных лестниц, кабелей, насосов, трубопроводов - канаты по ГОСТ 10506-76 или малокрутящиеся по ГОСТ 16827-81, ГОСТ 16828-81;
для подвески металлической опалубки - канаты по ГОСТ 10506-76.
1.6.5. В качестве сигнальных тросов на грузолюдских и людских подъемных установках рекомендуется применять оцинкованные или покрытые искусственными материалами канаты крестовой свивки с органическим сердечником диаметром 5 - 10 мм.
1.6.6. В качестве уравновешивающих следует применять, как правило, оцинкованные малокрутящиеся или некрутящиеся многопрядные канаты.
На подъемных установках барабанного типа и отдельных установках со шкивами трения могут применяться плоские канаты.
1.6.7. На одноканатных и многоканатных установках допускаются к применению в качестве уравновешивающих плоские резинотросовые трудновоспламеняющиеся канаты или трудногорючие, разрешенные к применению Госгортехнадзором России.
Пример подбора головных и уравновешивающих канатов, для многоканатных машин
|
Головные по ТУ 14-4-1444-87-А |
Уравновешивающие по ГОСТ 3088-80 |
Уравновешивающие плоские конструкции 8×4×12 = 384 |
|||||||
|
d, мм |
п |
q, кг/м |
d, мм |
п |
q, кг/м |
b×h, мм |
п |
q, кг/м |
|
|
1 |
2 |
3 |
4 |
5 |
6 |
7 |
8 |
9 |
10 |
|
МК (ЦШ) 2,25×4 |
27,0 |
4 |
11,20 |
36,0 |
2 |
11,10 |
106×19 |
2 |
11,40 |
|
МК (ЦШ) 3,25×4 |
27,0 |
4 |
11,20 |
36,0 |
2 |
11,10 |
106×19 |
2 |
11,40 |
|
33,0 |
4 |
16,62 |
45,5 |
2 |
17,50 |
128×22 |
2 |
16,40 |
|
|
МК (ЦШ) 4×4 |
33,0 |
4 |
16,62 |
45,5 |
2 |
17,50 |
128×22 |
2 |
16,40 |
|
42,0 |
4 |
27,00 |
45,5 |
3 |
26,25 |
164×27 |
2 |
26,80 |
|
|
|
|
|
54,5 |
2 |
25,40 |
|
|
|
|
|
МК 5×2 |
42,0 |
2 |
13,50 |
41,0 |
2 |
14,35 |
113×20 |
2 |
13,0 |
|
46,5 |
2 |
16,80 |
45,5 |
2 |
17,50 |
128×22 |
2 |
16,40 |
|
|
МК (ЦШ) 5×4 |
46,5 |
4 |
33,60 |
45,5 |
4 |
35,00 |
150×25 |
3 |
33,60 |
|
|
|
|
52,0 |
3 |
34,65 |
|
|
|
|
|
|
|
|
45,51 |
1 + 2 |
34,15 |
|
|
|
|
|
|
|
|
54,5 |
|
|
|
|
|
|
|
50,5 |
4 |
39,64 |
54,5 |
3 |
38,10 |
164×27 |
3 |
40,20 |
|
|
|
|
|
54,51 |
2 + 1 |
40,45 |
|
|
|
|
|
|
|
|
59,5 |
|
|
|
|
|
|
|
МК (ЦШ) 5×6 |
42,0 |
6 |
40,50 |
54,5 |
3 |
38,10 |
164×27 |
3 |
40,20 |
|
|
|
|
54,5 |
2 + 1 |
40,45 |
|
|
|
|
|
|
|
|
59,5 |
|
|
|
|
|
|
|
46,5 |
6 |
50,40 |
54,5 |
4 |
50,80 |
157×26 |
4 |
49,20 |
|
|
50,5 |
6 |
59,46 |
59,5 |
4 |
60,32 |
- |
- |
- |
|
|
МК (ЦШ) 5×8 |
42,0 |
8 |
54,0 |
54,5 |
4 |
50,80 |
164×27 |
4 |
53,60 |
|
|
|
54,0 |
54,51 |
2 + 2 |
53,26 |
|
|
|
|
|
|
|
|
59,5 |
|
|
|
|
|
|
|
46,5 |
8 |
67,20 |
54,5 |
5 |
63,50 |
164×27 |
5 |
67,0 |
|
|
|
|
|
54,51 |
3 + 2 |
68,26 |
|
|
|
|
|
|
|
|
59,5 |
|
|
|
|
|
|
|
|
|
|
52,01 |
|
|
|
|
|
|
|
|
|
|
54,5 |
1 + 2 + 2 |
67,11 |
|
|
|
|
|
|
|
|
59,5 |
|
|
|
|
|
|
|
50,5 |
8 |
79,28 |
59,5 |
5 |
75,40 |
- |
- |
- |
|
1 Допускаются к применению в случае невыполнения условий уравновешенности (см. 1.8.3).
Стыковка отдельных кусков должна производиться в соответствии с технической документацией по стыковке резинотросовых канатов.
1.6.8. В качестве проводниковых должны применяться канаты диаметром (соответственно спиральные канаты с одним или несколькими слоями фасонных проволок, в том числе наружным слоем, и прядевой конструкции):
не менее 32,0 мм и 34,0 мм - для стволов глубиной до 800 м;
не менее 38,0 мм и 41,0 мм - в остальных случаях.
В целях унификации канатов и прицепных устройств рекомендуется применение канатов закрытой конструкции диаметром 32,0; 38,5 и 45,0 мм и прядевых 34,0; 41,0 и 47,0 мм. Для крупных подъемных установок глубоких шахт допускается применение канатов диаметром 52,0 мм.
1.7.1. Канаты подъемных установок всех систем должны иметь при навеске запас прочности не ниже:
а) 9-кратного - для людских и аварийно-ремонтных подъемных установок, людских и грузолюдских (при расчете по людям) двухканатных подъемных установок со шкивами трения, не оборудованных парашютами;
б) 8-кратного - для подъемных установок со шкивами трения одноканатных (людских, грузолюдских и грузовых), многоканатных (людских и грузолюдских);
в) 7,5-кратного - для грузолюдских подъемных установок, для подвески механических грузчиков (грейферов) в стволе, проходческих люлек;
г) 7-кратного - для грузовых многоканатных подъемных установок;
д) 6,5-кратного - для грузовых подъемных установок с машиной барабанного типа;
е) 6-кратного - для передвижных аварийных подъемных установок, спасательных лестниц, канатов для подвески полков при проходке стволов глубиной до 600 м, насосов, труб водоотлива, проходческих агрегатов, канатных проводников эксплуатационных шахт;
ж) 5,5-кратного - для резинотросовых уравновешивающих канатов и канатов для подвески полков при проходке стволов глубиной от 600 до 1500 м;
з) 5-кратного - для отбойных канатов, канатных проводников проходческих подъемных установок, для подвески проходческого оборудования, за исключением указанного в пунктах «в» и «е», для новых подъемных канатов и стропов при разовом спуске под подъемным сосудом негабаритных грузов и при навеске (замене) подъемных сосудов на многоканатных подъемных установках, канатов подвески кабелей и остального проходческого подвесного оборудования, канатов для подвески полков при проходке стволов глубиной от 1500 до 2000 м;
и) 3-кратного от динамической нагрузки - для тормозных и амортизационных канатов парашютов;
к) 10-кратного - для стропов многократного использования при опускании негабаритных и длинномерных грузов под подъемным сосудом, для сигнальных тросов грузолюдских и людских подъемных установок.
Новым канатом следует считать подъемный канат, не имеющий обрывов проволок и имеющий потерю сечения стали проволок в пределах от 0 до 5 %.
Стыковые соединения резинотросовых уравновешивающих канатов должны иметь запасы прочности в соответствии с требованиями отраслевых Инструкций по навеске и безопасной эксплуатации резинотросовых уравновешивающих канатов (РТК) на скиповых подъемах шахт и рудников.
1.7.2. Головные канаты (за исключением канатов аварийно-ремонтных подъемов) для вертикальных стволов при максимальной длине отвеса более 600 м могут навешиваться по отношению суммарного разрывного усилия всех проволок каната к концевому грузу (без учета массы каната), которое должно быть не менее:
13-кратного - для людских барабанных подъемных установок;
10-кратного - для грузолюдских барабанных подъемных установок;
8,5-кратного - для грузовых барабанных подъемных установок;
11,5-кратного - для подъемов со шкивами трения, одноканатных (людских, грузолюдских и грузовых) и многоканатных людских и грузолюдских установок, кроме двухканатных, не оборудованных парашютами;
9,5-кратного - для многоканатных грузовых подъемных установок.
Запас прочности с учетом массы каната должен быть не ниже 4,5-кратного для грузовых подъемов и 5-кратного - для людских и грузолюдских подъемных установок.
1.7.3. Запас прочности канатов определяется как отношение суммарного разрывного усилия всех проволок каната к расчетной статической нагрузке
где Рсум - суммарное разрывное усилие всех проволок каната, Н;
Fрасч - расчетная статическая нагрузка, Н.
Суммарное разрывное усилие Рсум вычисляют как сумму фактических разрывных усилий по результатам испытаний отдельных проволок, взятых из образца каната. Для новых канатов, а также для повторно испытуемых канатов проволоки, не выдержавшие испытания на перегиб или разрыв, в расчет суммарного разрывного усилия не принимают.
При выборе канатов суммарное разрывное усилие всех проволок каната принимают по соответствующему ГОСТ.
1.7.4. Для головных канатов вертикальных стволов расчетная статическая нагрузка складывается из веса клети или скипа с прицепными, парашютными и стопорными устройствами, веса максимального груза и каната длиной от точки схода его со шкива до точки прикрепления к клети или скипу при их нахождении на приемной площадке нижнего горизонта. В установках с тяжелым нижним уравновешивающим канатом (большего линейного веса, чем подъемный) при подсчете статической нагрузки вместо веса подъемного каната должен приниматься вес нижнего уравновешивающего каната при положении сосуда на верхней приемной площадке.
1.7.5. Для головных канатов наклонных стволов расчетную статическую нагрузку Ррасч определяют в соответствии с указаниями п. 1.7.4, но с учетом максимального угла наклона выработки и сопротивления движению вагонеток и каната.
1.7.6. Для резинотросовых уравновешивающих канатов расчетной статической нагрузкой является вес длины каната от прицепного устройства скипа, находящегося в верхнем положении, до нижней точки петли отвеса. Для ближайшего к прицепному устройству стыкового соединения нагрузкой является вес участка каната от данного соединения, когда скип находится в верхнем положении, до нижней точки петли отвеса.
1.7.7. Для проводниковых и отбойных канатов расчетная статическая нагрузка складывается из веса натяжного груза, приходящегося на один канат, и собственного веса каната.
1.7.8. Для тормозных и амортизационных канатов парашютов шахтных клетей расчет запаса прочности производится относительно динамической нагрузки, определенной из условия торможения клети с максимальным грузом, при котором замедление принимается равным 6 м/с2.
При этом замедление при торможении порожних клетей не должно превышать 50 м/с2.
1.7.9. Для проходческого оборудования расчетная статическая нагрузка, приходящаяся на канат, складывается из веса подвесного оборудования с материалами и людьми на нем, подвесного устройства, крепящих хомутов, зажимов и веса каната от точки схода его с копрового шкива до проектной глубины ствола. Расчетная статическая нагрузка направляющих канатов складывается из собственного веса и усилия натяжения, создаваемого лебедкой или специальным грузом.
Нагрузку на канаты трубопроводов водоотлива необходимо рассчитывать из условия полного заполнения става водой, а на канаты бетонопроводов - из условия разовой подачи в него двух автомашин бетонной смеси.
1.7.10. Для спасательной лестницы расчетной статической нагрузкой является нагрузка от веса всех рабочих наибольшей по численности смены, сложенная с весом лестницы.
Расчет каната для конкретных условий применения состоит в определении его диаметра или линейной массы (массы 1 м каната), а затем в определении запаса прочности и проверке соответствия найденного значения запасу прочности по отраслевым ПБ.
По приведенным ниже формулам определяется либо минимальное значение диаметра (dmin), либо минимальная расчетная линейная масса (qmin). По полученному значению из ряда диаметров, взятых из рекомендованных к применению ГОСТов, подбирается ближайший больший.
В приведенных ниже расчетных формулах используются параметры табл. 3.
1.8.1. Подъемные канаты в вертикальных стволах
1.8.1.1. Минимальный диаметр (мм) или минимальную массу 1 м подъемного каната (кг) при выборе запаса прочности по постоянной шкале для установок без уравновешивающего каната определяют соответственно по формуле

или

где Qк - сумма масс порожнего сосуда (с подвесным устройством и парашютом) и максимальной массы перевозимого в сосуде груза, кг;
[т] - допустимый запас прочности;
Н - высота подъема, м;
h - расстояние от копрового шкива до сосуда, находящегося на верхней приемной площадке, м.
Пример.
Выбрать головной канат для одноканатной грузолюдской
подъемной установки с машиной барабанного типа: Qк
= 10000 кг; σв = 1670 МПа; ГОСТ
2688-80; h = 20 м; Н = 680 м;
= 0,381;
= 3721 кг/м3; [т] = 7,5; g* = 9766.
По формуле

выбираем канат диаметром 42,0 мм.
По формуле
кг/м
выбираем канат диаметром 42,0 мм.
При наличии уравновешивающих канатов, линейная масса которых равна линейной массе подъемных канатов или меньше, ее расчет dmin (мм) и qmin (кг/м) производится по формуле

или

где h - расстояние от сосуда, находящегося на нижней приемной площадке, до нижней точки петли уравновешивающего каната, м;
п - число головных канатов.
В случае применения «тяжелых» уравновешивающих канатов

где 
здесь Σqу - суммарная масса 1 м уравновешивающих канатов, кг;
Σq - суммарная масса 1 м головных канатов, кг.
1.8.1.2. Минимальный диаметр или минимальную массу 1 м подъемного каната при выборе каната по переменной шкале определяют соответственно по формуле

или
![]()
где
- допустимое
отношение суммарного разрывного усилия каната к концевому грузу.
Пример. Выбрать диаметры головных
канатов для многоканатной грузолюдской подъемной установки: Qк = 32500 кг; σв = 1570 МПа; [m0] = 11,5; ГОСТ
7668-80; п = 4;
γ* = 9820;
= 0,389.
По формуле
мм
выбираем канат диаметром 42,0 мм.
По формуле
![]()
что также приводит к необходимости выбора каната диаметром 42,0 мм, для которого q = 6,75 кг/м.
1.8.2. Минимальный диаметр (мм) или минимальную линейную массу 1 м подъемного каната в наклонном стволе (кг) определяют по формуле

или

где L, l - соответственно наклонная длина подъема и расстояние между копровым шкивом и сосудом, находящимся на верхней приемной площадке, м;
α - максимальный угол наклона выработки, град;
f1, f2 - соответственно коэффициент сопротивления движению состава, выбираемый из табл. 5, и коэффициент сопротивления движению каната при его взаимодействии с роликами и почвой, принимаемый равным 0,3.
Значения коэффициентов сопротивления движению состава вагонеток
|
Наибольшая скорость движения партии вагонеток |
||||||
|
до 3 м/с |
3 - 5 м/с |
|||||
|
Число вагонеток в партии |
||||||
|
4 - 5 |
6 - 9 |
³ 10 |
1 - 5 |
6 - 9 |
³ 10 |
|
|
Менее 1,0 |
0,026 |
0,036 |
0,040 |
0,039 |
0,054 |
0,060 |
|
1,0 - 2,0 |
0,020 |
0,028 |
0,033 |
0,030 |
0,042 |
0,050 |
|
2,0 - 3,0 |
0,016 |
0,022 |
0,027 |
0,024 |
0,033 |
0,040 |
|
Более 3,0 |
0,015 |
0,020 |
0,024 |
0,022 |
0,030 |
0,030 |
Коэффициенты сопротивления движению скипа или клети принимать как для большегрузной вагонетки.
Учитывая, что коэффициенты сопротивления f1 и f2 в реальных условиях могут оказаться меньше регламентированных, для действующих подъемных установок максимальная нагрузка на канат может быть определена наладочной организацией экспериментально.
В стволе с переменным углом наклона допускается определять диаметр или линейную массу канатов последовательно для каждого участка ствола с постоянным углом наклона (от нижнего к верхнему участку) и принимать наибольший диаметр каната.
1.8.3. Уравновешивающие канаты
Суммарная масса 1 м всех уравновешивающих канатов многоканатных подъемных установок (одного уравновешивающего каната одноканатной установки) должна удовлетворять условию:
для двухсосудных подъемных установок
![]()
и для однососудных установок с противовесом
![]()
где Qс, Qгр, Qпр - массы порожнего сосуда (с подвесными устройствами), перевозимого в сосуде груза и противовеса соответственно, кг.
Отклонения от указанного условия допускаются лишь при выполнении требований к нескольжению канатов в режимах предохранительного торможения.
1.8.4. Минимальную линейную массу проводникового и отбойного канатов определяют по формуле

где Lη - масса концевого груза (кг) при его нижнем расположении, причем функцию η определяют с помощью графика (рис. 7) в зависимости от параметра β
![]()
где L - полная длина отвеса проводникового каната, м.
Рис. 7. Зависимости для расчета канатных проводников
1.8.5. Минимальная линейная масса (кг/м) тормозного и амортизационного каната
![]()
где Fобщ = 1,4 (Qк + Qу)(j + g), Н;
здесь Qу - масса уравновешивающего каната, кг;
j = 6 м/с2 - замедление с максимальным грузом при торможении.
1.8.6. Проверочные расчеты канатов
Проверочный расчет состоит в определении фактического запаса прочности каната в его наиболее нагруженном сечении и проверке соответствия найденного значения запасу прочности по отраслевым ПБ. При этом значения линейной массы q (кг/м) и суммарного разрывного усилия всех проволок каната Рсум (Н) принимаются из ГОСТ для выбранного типоразмера каната. При наличии акта об испытаниях канатов в канатноиспытательной станции (КИС) в качестве Рсум следует принимать суммарное разрывное усилие принятых к расчету проволок. Допускается линейную массу q определять путем взвешивания мерных отрезков канатов.
Фактический запас прочности определяется следующим образом.
1.8.6.1. Для вертикальных подъемных установок при расчете запаса прочности по постоянной шкале:
при отсутствии уравновешивающего каната
![]()
при применении уравновешивающих канатов линейной массы, равной или меньшей линейной массы подъемных канатов,
![]()
при применении «тяжелых» уравновешивающих канатов
![]()
1.8.6.2. Для вертикальных подъемных установок при выборе канатов по переменной шкале запасов прочности определяем фактическое значение величины
![]()
и фактический запас прочности по соответствующей формуле п. 1.8.6.1.
1.8.6.3. Для наклонных подъемных установок
![]()
где значения f1 и f2 приведены в п. 1.8.2.
1.8.6.4. Для проводниковых и отбойных канатов
![]()
1.8.6.5. Для тормозных и амортизационных канатов

Отношение наименьшего диаметра навивки (барабана или шкива) к диаметру каната должно быть не менее:
120 - для одноканатных подъемных машин со шкивом трения;
95 - для многоканатных подъемных машин с отклоняющим и копровым шкивами;
79 - для направляющих (копровых) шкивов и барабанов одноканатных и многоканатных подъемных установок на поверхности, многоканатных подъемных машин без отклоняющего шкива, для футерованных отклоняющих шкивов многоканатного подъема при угле обхвата канатами свыше 15°; для проходческих подъемных машин при использовании канатов закрытой конструкции;
60 - для направляющих (копровых) шкивов и барабанов подземных подъемных машин и лебедок, для машин и лебедок, используемых при проходке, для подземных машин вспомогательных подъемов, для подъемных машин вентиляционных скважин, для футерованных отклоняющих шкивов многоканатного подъема при угле обхвата канатами шкива до 15°;
50 - для передвижных подъемных машин и стационарных аварийно-ремонтных подъемных установок;
45 - для вспомогательных шкивов, используемых при навеске проводниковых канатов закрытой конструкции;
30 - для вспомогательных шкивов, используемых при навеске подъемных канатов закрытой конструкции;
25 - для вспомогательных шкивов, используемых при навеске круглопрядных (с органическим и металлическим сердечником) канатов, для плоских канатов;
20 - для отклоняющих шкивов проводниковых канатов при натяжении их грузами, расположенными на копре, а также для направляющих шкивов и барабанов проходческих грузовых лебедок, предназначенных для подвески полков, подвесных насосов, трубопроводов, спасательных лестниц;
15 - для вспомогательных шкивов и барабанов, с которых канат сматывается без нагрузки (как для барабанов по ГОСТ 11127-78, предназначенных для транспортировки и хранения канатов).
Для передвижных (вспомогательных и маневровых) лебедок, а также для направляющих шкивов наклонных подъемных установок при угле обхвата шкива канатами до 15° отношение диаметров не регламентируется.
На действующих предприятиях при углубке, реконструкции подъемных установок и в других обоснованных случаях допускается уменьшение указанных соотношений для барабанов и шкивов подъемных установок не более чем на 10 %.
1.10.1. Заказы на канаты должны составляться с учетом проектных решений, опыта эксплуатации и рекомендаций настоящей Инструкции.
1.10.2. Заказ должен содержать исчерпывающие сведения о канате: место навески, ГОСТ (ТУ), диаметр, назначение (Г, ГЛ), требования к покрытию (без покрытия, оцинкованный), марка проволок (ВК, В, I), направление свивки (правой, левой), сочетание направлений свивки (крестовой, односторонней), степень крутимости (крутящийся, малокрутящийся, некрутящийся), способ свивки (раскручивающийся, нераскручивающийся), маркировочная группа (σв), тип сердечника (сизаль, полиамид, полипропилен, пенька), смазка каната (несмазанный, смазанный в соответствии с ГОСТ 3241-91), количество отрезков каната («концов») и их длина, общая масса, потребность по кварталам.
Если заказывается комплект головных канатов для многоканатной подъемной установки, то в заказе это необходимо оговорить особо.
2.1.1. Первоначальная навеска канатов (подъемных, тормозных, отбойных и проводниковых) и их последующая замена должны производиться в соответствии с проектом производства работ, выполненным для каждой подъемной установки на основании требований ПБ, ПТЭ, настоящей Инструкции, рекомендаций завода-изготовителя канатов, утвержденным главным механиком производственного объединения по добыче угля (комбината, треста).
Проекты (технологические паспорта) должны быть разработаны шахтой или проектной организацией производственного объединения и должны содержать пооперационные графики выполнения работ с указанием исполнителей и мероприятий по безопасному ведению этих работ.
2.1.2. Работы по навеске и замене канатов (подъемных, тормозных, отбойных и проводниковых) проводятся под общим руководством и в присутствии главного механика предприятия (шахтостроительного управления) или старшего механика по стационарным установкам, старшего механика по подъемам. Непосредственно руководство работами осуществляется механиком подъема. В случае его неправильных действий руководство работами должны взять на себя вышеуказанные лица.
По инициативе заказчика или изготовителя каната при навеске (в том числе в случае замены) может присутствовать представитель изготовителя.
2.1.3. В проведении работ по навеске и замене канатов должны участвовать опытные рабочие, прошедшие обучение и имеющие удостоверения по специальности (электрослесарь, стволовой, рукоятчик, машинист подъемной установки и др.).
2.1.4. Не менее чем за сутки до начала плановых работ по навеске и замене канатов должна быть проведена специальная подготовка: определен состав бригад с обязательным включением в их состав лиц, имеющих опыт работ по замене канатов, изучена технология производства работ и проведен инструктаж по безопасным методам ведения данных работ с записью в специальном журнале. В состав бригад должны входить машинисты подъемных установок и рукоятчик. Допускается не включать в состав бригад рукоятчика при условии, что подача сигналов будет производиться опытным электрослесарем.
2.1.5. Перед началом работ ответственным лицом технического надзора должна быть проверена исправность вспомогательного оборудования, используемого при замене канатов (лебедок, стропов, зажимов и т.д.), а также состояния желобов копровых шкивов, барабанов и их футеровки.
2.1.6. Перед выполнением работ должны быть тщательно осмотрены и очищены от посторонних предметов и кусков угля и породы подшкивные и приемные площадки, расстрелы, узлы крепления оборудования на копре и в стволе.
2.1.7. Во время работ по замене канатов все другие работы, не связанные с заменой, в стволе и в копре должны быть запрещены.
2.1.8. Перекрытие ствола при замене канатов обязательно согласовывается с участком вентиляции и техники безопасности (ВТБ) для предотвращения нарушения вентиляционного режима шахты.
2.1.9. Места производства работ должны быть освещены. Нормы освещенности для каждого места установки перекрытия должны соответствовать требованиям нормативных документов.
2.1.10. Рабочие площадки в копре, надшахтном здании, околоствольных выработках и на самих перекрытиях стволов должны быть ограждены от свободных проемов ствола.
Ограждение может быть решетчатым или сетчатым. Допускается применять для ограждения стальной канат с обязательной отбортовкой вверх под углом 90° от настила рабочей площадки. Высота ограждения должна составлять 1 - 1,2 м, высота отбортовки - не менее 0,15 м.
2.1.11. На период проведения работ по замене канатов со всеми рабочими местами, подъемной машиной, лебедками и другими вспомогательными механизмами должна быть надежная сигнализация и телефонная связь. Таблицы с применяемыми сигналами должны быть вывешены на видных местах на каждом посту наблюдения и у применяемых лебедок и механизмов.
При производстве работ для подачи сигналов из ствола и с приемных площадок машинисту подъема можно пользоваться как рабочей, так и ремонтной сигнализацией.
2.1.12. Рабочие, непосредственно участвующие в замене канатов, должны иметь спецодежду, каску с ремешком, светильник, предохранительный пояс.
Перед началом работ ответственное за выполнение лицо технического надзора должно проверить наличие у каждого рабочего испытанного и исправного предохранительного пояса.
2.1.13. Запрещается работать в стволе, над стволом и на расстоянии до 3 м от ствола (если он не перекрыт полностью) без закрепления работающего персонала предохранительными поясами. Работающие на перекрытиях, а также на крыше установленного на перекрытии подъемного сосуда закрепляются за элементы армировки или специально смонтированные растяжки из стальных канатов. При работе на крыше подъемного сосуда можно крепить предохранительные пояса за головной канат и элементы подвесного устройства только тогда, когда они соединены должным образом (по постоянной схеме) с подъемным сосудом.
2.1.14. Во время ведения работ при навеске каната необходимо принимать меры для предохранения его от повреждения.
Навеска каната может производиться путем сматывания его на барабан подъемной машины непосредственно с заводской катушки или со специальных лебедок (лебедок с приводом и тормозом, служащих для выполнения основных работ по навеске каната), на которые предварительно перематывают канат с заводской катушки, что дает возможность при перемотке производить промер каната и предварительно закреплять один конец в коуше, размещая его на боковой стороне барабана.
2.1.15. Нельзя допускать растягивание каната в целях его промера перед навеской по околоствольному двору с укладкой его удлиненными петлями, так как при этом нарушается свивка канатов, возможны случаи образования петель и перекрутов прядей каната, а также происходит загрязнение каната абразивными материалами.
2.1.16. При перемотке каната с барабана на барабан не допускается образование петель и заломов каната. Для этого барабаны с канатами необходимо устанавливать на специальные кронштейны (желательно с домкратными винтами), предварительно вставив в их отверстия вал. Вал барабанов, вмещающих больше пяти тонн канатов, желательно устанавливать с подшипниками качения, что значительно облегчит процесс перемотки.
Направления сматывания и наматывания каната на новый барабан должны быть в одну сторону с нижней части одного из барабанов на нижнюю часть второго. Во избежание перегиба канатов вращение барабанов в разные стороны не допускается.
Для полного исключения возможного сбрасывания витков перемотку каната следует производить под натяжением.
Размотку канатов массой свыше 5 т до 01.01.05 г. допускается вести при установке барабана плашмя на специальной поворотной платформе с контролем правильности перемотки.
Особое внимание при навеске необходимо уделять канатам односторонней свивки и трехграннопрядным, так как они больше подвержены раскручиванию.
2.1.17. При выполнении работ по снятию подъемных канатов рекомендуется старый канат навивать на моторную катушку (устройство, содержащее барабан с приводом и тормозом).
2.1.18. В случае использования канатоведущего шкива многоканатной машины как барабана, на который навивается вся длина навешиваемого каната, перед навивкой каната поверх футеровки рекомендуется уложить транспортерную ленту, армированную металлическими полосами толщиной 6 - 8 мм и шириной 100 мм с расстоянием между полосами 350 - 400 мм.
2.1.19. При перемотке каната на барабан проходческой лебедки между слоями каната должны укладываться прокладки (футеровка).
Толщина прокладок из листовой стали принимается от 1 до 3 мм в зависимости от грузоподъемности лебедки и диаметра каната. Листы прокладок должны укладываться с зазором между ними по периметру барабана до 100 мм или внахлестку. Ширина прокладок должна строго соответствовать ширине барабана лебедки.
При навивке каната на барабан лебедки необходимо обеспечивать его натяжение. Допускается использовать составные по ширине барабана прокладки с укладкой их внахлестку по оси барабана.
2.1.20. Доставку канатов к навеске на концевых откатках, а также уравновешивающих канатов в выработки околоствольного двора рекомендуется производить на специальных удлиненных барабанах, установленных на раме с ходовой частью. Размеры барабана устанавливаются в зависимости от необходимой канатоемкости и габаритов клети.
Для перемотки каната с заводской катушки барабаны следует оборудовать съемным механическим приводом.
Не допускается сматывание каната с барабана с укладкой его кольцами в вагонетки, так как при навивке возможны случаи образования «жучков», что может приводить к преждевременному образованию дефектов, недопустимых для дальнейшей эксплуатации.
2.1.21. Канаты, используемые для подъемных установок со шкивами трения (многоканатных и одноканатных) и смазанные на заводе-изготовителе антифрикционной смазкой, перед навеской должны быть полностью очищены от смазки. При появлении смазки в процессе эксплуатации она должна удаляться с помощью материалов, связывающих смазку.
Канаты, смазанные фрикционной канатной смазкой, перед навеской не очищаются.
2.1.22. При отрезании каната (излишняя длина, для испытаний в КИС, при перепанцировке и т.п.) на него с обеих сторон от места разреза должны быть наложены бандажи (перевязки) из мягкой проволоки. Количество и ширина бандажей в зависимости от диаметра каната должны соответствовать величинам, указанным в табл. 6. Расстояние между бандажами должно быть не менее шага свивки.
Параметры бандажей (перевязок)
|
Количество перевязок, не менее, для канатов |
Ширина перевязки, мм, не менее |
||
|
крестовой свивки |
односторонней свивки |
||
|
£ 14,5 |
1* |
1* |
10 |
|
15,0 - 24,5 |
3 |
3 |
25 |
|
25,0 - 30,5 |
3 |
4 |
40 |
|
31,0 - 44,5 |
3 |
4 |
50 |
|
45,0 - 50,5 |
3 |
4 |
75 |
|
51,0 |
3 |
4 |
100 |
* Или конец каната должен быть заварен.
Торцы канатов с металлическим сердечником диаметром более 57,0 мм должны быть заварены.
2.1.23. При резке спиральных несущих канатов, подъемных канатов закрытого типа, а также многослойных прядевых канатов на каждом конце каната необходимо устанавливать по два повернутых относительно друг друга на 90° четырехболтовых зажима с расстоянием между ними, равным 2 - 4 диаметрам каната.
Взамен двух четырехболтовых зажимов можно устанавливать восемь двухболтовых зажимов вплотную друг к другу при ширине каждого зажима, равной диаметру каната.
Перед снятием зажимов торцы каната следует надежно заварить с помощью электросварки.
2.1.24. При навеске необтянутых канатов упругое удлинение канатов (мм) под действием собственного веса и груза при нижнем положении сосуда и в случае присоединения каната к сосуду после предварительного опускания каната в ствол определяется соответственно по формулам:
![]()
![]()
где L - полная длина отвеса каната, м;
Мк - масса концевого груза, кг.
2.1.25. Крепление канатов
2.1.25.1. Перед навеской канатов должны быть подготовлены комплект зажимов для запанцировки каната на коуше, а также зажимы для временного крепления каната.
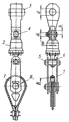
2.1.25.2. Крепление отвеса нового каната к заменяемому следует производить четырехболтовыми зажимами (рис. 8), состоящими из планок 1, болтов 2 и гаек 3.
Число четырехболтовых зажимов определяется из условия
![]()
где Q - нагрузка на зажим от веса удерживаемого каната, Н;
k = 3 - коэффициент запаса по защемляющей способности;
d и h - соответственно диаметр каната и длина зажима, мм;
[σ] - допустимые удельные давления на канат. Для канатов прядевой конструкции [σ] = 50 МПа при нерегулируемой затяжке болтов, [σ] = 75 МПа при регулируемой. Для закрытых канатов допускаемые давления соответственно равны 120 МПа и 150 МПа;
f - расчетный коэффициент сцепления каната с деталями зажима, принимаемый равным 0,15 для канатов прядевой конструкции и 0,17 для закрытых;
P = dh[σ]
Контролируемое усилие (Н) затяжки одного болта
Рб = Р / 4.
Для вспомогательных работ (например, для крепления вспомогательного каната к заменяемому при маневрах: подтягивании, сматывании и др.) возможно применение двухболтовых зажимов. При переводе конца нового каната через копровой шкив крепление нового каната к заменяемому канату диаметром d должно осуществляться с помощью U-образных зажимов (рис. 9), состоящих из планки 1, скобы 2 и гаек 3. При этом планка должна находиться со стороны нового каната. Расчет числа U-образных зажимов производится так же, как для четырехболтовых зажимов.
Нужно иметь в виду, что число зажимов должно быть не менее трех.
2.1.25.3. Для временного удержания отвеса каната в стволе следует применять многоболтовые опорные зажимы (рис. 10), состоящие из опорных колодок с ребрами жесткости 1, болтов 2 и гаек 3, устанавливаемые на опорных балках перекрытия. При этом R выбирается из соотношения R = (0,52 - 0,53)D, а С = (0,15 - 0,20)d.
Наружную поверхность каната в месте закрепления опорного зажима очищают от смазки. Выше опорного зажима устанавливают двухплашечный зажим для контроля отсутствия проскальзывания каната. Высоту опорного зажима (мм), усилие затяжки одного болта (Н) и число болтов определяют соответственно по формулам:
![]()
![]()
![]()
где σв - предел прочности материала болта, МПа;
dб - внутренний диаметр резьбы болта, мм. Для закрепления каната на шкиве трения следует использовать специальные зажимы (струбцины) с болтами, поставленными в отверстия для крепления футеровки. Число зажимов для канатов должно быть не менее двух.
Нужно иметь в виду, что канаты разных конструкций могут сильно различаться по поперечной жесткости, поэтому в случае перехода от «привычного» каната на канат другой конструкции для затяжки болтов зажима обязательно использование динамометрических ключей.
Для обеспечения надежного удержания отвеса каната необходимо производить подтяжку болтов зажима не реже чем через 30 мин.
Рис. 8. Четырехболтовой зажим для соединения канатов
Рис. 9. U-образный зажим для соединения канатов
Рис. 10. Многоболтовой зажим для крепления канатов
2.1.25.4. Для временного удержания отвеса каната диаметром d в стволе могут применяться также быстроразъемные грушевидные зажимы (рис. 11), состоящие из щек 1, 4, вкладышей 3, оси 2, болта 5 и гаек 6.
Удерживающая способность одного зажима, Н:
![]()
требуемое при этом усилие затяжки болта (Н) определяют как
![]()
где а, b, h - геометрические размеры зажима.
При работе с комплектом зажимов выше верхнего зажима устанавливают двухплашечный для контроля отсутствия проскальзывания каната.
2.1.25.5. Для крепления отвеса каната при навеске допускается применять деревянные (дубовые) зажимы во избежание деформации каната.
При размерах дубовых зажимов, приведенных на рис. 12, допускаемая удерживающая нагрузка на один зажим для круглопрядных канатов может быть принята равной 15000 Н, а для канатов закрытого типа - 10000 Н. В зависимости от ожидаемой нагрузки устанавливается необходимое количество зажимов (нагрузка пропорциональна количеству зажимов).
2.1.26. Требования к испытаниям канатов перед навеской
2.1.26.1. Все головные канаты вертикальных и наклонных шахтных подъемов (за исключением канатов на грузовых наклонных подъемах с углом наклона менее 30°), канаты для подвески полков, спасательных лестниц, проходческих люлек должны быть испытаны перед навеской на канатно-испытательных станциях в соответствии с Инструкцией по испытанию шахтных канатов.
Рис. 11. Быстроразъемный грушевидный зажим
Рис. 12. Деревянный зажим для крепления канатов
Если изготовленный канат с заводской катушки используется для нескольких подъемных канатов, навешиваемых в течение года со дня испытаний, то допускается выдача свидетельств согласно заявлению на каждый канат по результатам испытаний одного образца. В остальных случаях перед навеской каждого каната шахта должна направлять на испытание новый образец.
Образец каната, направляемый на испытание в канатно-испытательную станцию, не должен подвергаться очистке от смазки с использованием растворителей (бензина, керосина и т.д.) или путем нагрева.
Резинотросовые уравновешивающие канаты испытываются в соответствии с Инструкцией по навеске и безопасной эксплуатации огнестойких резинотросовых уравновешивающих канатов (РТК) на скиповых подъемах шахт и рудников.
Резервный испытанный канат перед навеской может вторично не испытываться, если срок его хранения не превышает 12 мес.
2.1.26.2. Канаты грузовых наклонных подъемов с углом наклона менее 30°, проводниковые, тормозные, отбойные, амортизационные, канаты для подвески насосов, пневмопогрузчиков, труб водоотлива, труб вентиляции, цементации, сжатого воздуха, кабелей и др. перед навеской не испытывают, а расчет запасов их прочности производят по данным заводского акта-сертификата.
2.1.26.3. Замена канатов любого назначения должна быть обоснована результатами испытаний, инструментальных и визуальных наблюдений, а также регламентированными ПБ сроками службы канатов.
2.1.27. Перед отрезанием каната вблизи прицепного устройства (или распанцировкой) подвесное устройство должно быть надежно закреплено растяжками (стропами) к расстрельным балкам. Растяжки снимают после запанцировки каната в коуш.
Перед распанцировкой канатов из коушей, перед демонтажем стропов временного крепления или зажимов, соединяющих канаты, производится напуск каната на узел крепления (коуш, зажим).
При отрезке напущенного каната необходимо надежно крепить его выше намеченного места разреза вспомогательным канатом. Удержание разрезанных концов каната вручную недопустимо.
2.1.28. Кратковременные маневровые операции на многоканатных подъемных установках, связанные с необходимостью перемещения подъемных сосудов на расстояние 5 - 6 м, допускается производить при отношении максимальных статических усилий ветвей канатов не более 1,9. При этом максимальная разность усилий в канатах не должна превышать паспортное значение машины более чем на 15 %.
2.1.29. При производстве работ по навивке каната запрещается стоять на барабане. Наблюдение за укладкой каната должно осуществляться со специальных съемных площадок (полков), устанавливаемых на тормозной системе подъемной машины.
2.1.30. Переставной барабан (переставная часть разрезного барабана) перед рассоединением его с коренным валом подъемной машины должен быть закреплен от проворачивания специальным стопорным устройством барабана и заторможен предохранительным тормозом.
2.1.31. При работе по креплению и навивке запаса каната на бобину нахождение людей в барабане во время вращения бобины недопустимо. Подъемная машина при этом должна быть отключена как со стороны низкого, так и со стороны высокого напряжения, а барабаны закреплены от проворачивания специальным стопорным устройством барабана.
2.1.32. В процессе навески или замены канатов на нулевой площадке обязательно постоянное присутствие рукоятчика, который подает необходимые сигналы, связанные с навеской канатов.
2.1.33. Прикрепление каната к барабану должно быть выполнено таким образом, чтобы при проходе через отверстие в цилиндре барабана он не деформировался острыми краями отверстия. Запрещается прикрепление конца каната к валу барабана. Крепление концов каната к барабану производится к специально предусмотренным на барабане устройствам, позволяющим закрепить канат не менее чем в трех точках. Для ослабления натяжения каната в месте его крепления к барабану на навивочной поверхности должно быть не менее трех витков для барабанов, футерованных деревом, пластмассой или другим материалом, согласованным с заводом-изготовителем машины, и не менее пяти витков трения для барабанов, не футерованных фрикционными материалами. Кроме витков трения должны быть запасные витки для периодических испытаний каната (т.е. запас каната должен составлять не менее 30 м).
Запасные витки могут располагаться как на поверхности барабана, так и внутри его на специальных бобинах. Бобины, предназначенные для размещения запасных витков каната, должны иметь специальные устройства, позволяющие фиксировать их относительно барабана машины.
2.1.34. В тех случаях, когда заменяемый канат отсоединяют от подъемного сосуда, находящегося на нижней приемной площадке (перекрытии), и производят его выдачу из ствола на поверхность с использованием специальной лебедки, конец старого каната необходимо закреплять в специальной направляющей рамке (рис. 13). Рамка состоит из металлоконструкции 1 с направляющими устройствами 2 и втулками 3, через которые пропускают концы канатов. Рамка свободно опирается на хомуты 4 (опорные втулки), закрепленные на концах канатов.
Направляющие устройства 2 должны обеспечить свободное (без перекосов и заклиниваний) перемещение рамки по проводникам подъемного сосуда.
В качестве проводников могут быть использованы остальные, не снятые в данный момент натянутые канаты.
Опускание в ствол новых канатов (комплекта или по одному) также должно осуществляться с помощью направляющей рамки. Нераскручивающиеся канаты крестовой свивки допускается опускать без жесткой фиксации от проворачивания нижних концов.
Рис. 13. Направляющая рамка головных канатов
2.1.35. При навеске нового каната на барабан проходческой лебедки необходимо соблюдать следующие требования:
а) не допускать его осевого раскручивания;
б) ось барабана с канатом выставлять горизонтально и параллельно оси барабана лебедки так, чтобы вертикальная плоскость, проходящая через копровой шкив, делила его пополам.
2.1.36. При смене-навеске канатов на двухбарабанных подъемных машинах, а также на машинах с разрезным барабаном перед производством работ втулки или подшипники механизма перестановки тщательно шприцуют смазкой.
2.1.37. В процессе смены-навески канатов операции освобождения того или иного раздела ствола от перекрытия предшествует подъем сосуда на 1 - 2 м над выдвижным стационарным или переносным перекрытием и на (l + 1) м над откидным перекрытием (где l - длина перекрытия, измеренная от оси шарнира до противоположной кромки). При этом сосуд может приподниматься над перекрытием с помощью подъемной машины.
2.1.38. В проекте производства работ по навеске и замене канатов должно оговариваться базисное (например, на приемных площадках) положение сосудов перед рассоединением индикатора глубины АЗК, АКХ и других управляющих и контролирующих устройств, с тем, чтобы после окончания работ соединение этих систем осуществить при том же (базисном) положении сосудов.
2.1.39. Перед навеской нового каната копровые шкивы подлежат осмотру главным механиком шахты или старшим механиком по стационарным установкам. Копровый шкив считается пригодным для эксплуатации нового каната, если он не имеет следов выработки от предыдущего каната и радиус желоба шкива больше на 5 - 7,5 % номинального радиуса навешиваемого каната в соответствии с нормами, установленными Правилами технической эксплуатации, делается вывод о возможности его использования с вновь навешиваемым канатом с записью во II разделе Книги осмотра подъемной установки.
2.1.40. В случае использования вспомогательного оборудования (мостового крана) при поднятии сосудов многоканатных подъемных установок слабина канатов должна синхронно выбираться с помощью канатоведущего шкива.
2.1.41. На многоканатных подъемных установках из-за разности статических натяжений ветвей головных канатов при распанцировке одной ветви канатов от сосуда следует предусмотреть меры, исключающие самопроизвольный уход канатов в отделение ствола.
2.1.42. После выполнения операции по закреплению каната в коуше прицепного устройства, установке и монтажу опорного зажима, соединению с помощью зажимов двух канатов, креплению подъемного каната к стационарным металлоконструкциям при помощи канатного стропа перед выполнением следующей технологической операции испытывают узел крепления канатов путем нагружения его реальной нагрузкой с выдержкой в течение 5 - 10 мин; при этом проверяют отсутствие проскальзывания каната и деформаций опорных конструкций.
Для оценки качества закрепления каната в коуше прицепного устройства подъемный сосуд или противовес должен быть поднят над перекрытием на 0,5 м.
Места расположения и конструкции опорных устройств должны определяться проектом производства работ.
2.1.43. Перед демонтажем опорных зажимов канат поднимают вместе с зажимом над перекрытием.
2.1.44. При навеске или замене канатов в вертикальном стволе его сечение в местах установки подъемных сосудов должно быть перекрыто. По конструктивному исполнению перекрытия могут быть стационарными и переносными. Для вновь проектируемых и реконструируемых шахт должны предусматриваться только стационарные перекрытия.
Проект на стационарное перекрытие и его установку на конкретном стволе разрабатывает проектная организация. Для действующих шахт проект утверждает технический директор объединения. Переносные перекрытия применяют на блочных фланговых стволах, на подъемных установках, предназначенных для перевозки людей в аварийных случаях и для осмотра ствола, а также временно на остальных действующих вертикальных подъемных установках, когда установка стационарных перекрытий сопряжена с большим объемом работ по реконструкции с длительной остановкой подъема. Проект переносного перекрытия может выполняться шахтой и утверждаться главным инженером шахты.
Параметры и конструктивные размеры перекрытий определяются расчетом, габаритами подъемных сосудов и размещением канатов и оборудования в стволе.
Расчет перекрытий и его элементов ведется на трехкратный запас прочности относительно временного сопротивления материала при наиболее неблагоприятном для данного подъема распределении нагрузок.
Расчетная нагрузка на перекрытие принимается равной сумме веса порожнего сосуда с прицепным устройством и веса уравновешивающего каната.
Расчетной нагрузкой при грузолюдском подъеме с парашютом является динамическая нагрузка, возникающая при свободном падении клети с высоты 0,75 м. Полезной нагрузкой клети является максимально допустимая масса людей в клети.
Посадочные площадки, применяемые для испытания парашютов, должны быть снабжены съемными средствами амортизации в виде уложенных на площадке деревянных брусьев, конвейерных лент, автопокрышек и др., предназначенными для смягчения удара клети в случае падения ее при испытании (предпочтительными средствами амортизации являются располагаемые под опорными элементами клетей пакеты из уложенных друг на друга автопокрышек от автомобиля ЗиЛ-130).
2.1.44.1. Стационарное перекрытие должно состоять из посадочной площадки для установки на ней подъемного сосуда, привода и пульта (поста) управления. По принципу действия посадочные площадки могут перемещаться либо в вертикальном (с поворотом вокруг горизонтальной оси), либо в горизонтальном направлении.
При работающем подъеме посадочные площадки должны быть соответственно подняты или убраны. Зазоры между убранными (поднятыми) посадочными площадками и движущимися сосудами должны соответствовать требованиям отраслевых правил безопасности. При работах по замене подъемных сосудов или канатов посадочные площадки должны опускаться в горизонтальное положение или выдвигаться и перекрывать соответствующие отделения ствола, опираясь на специально предусмотренный для этой цели расстрел или балку, которые должны быть рассчитаны на те же нагрузки, что и перекрытие. Посадочная площадка должна представлять собой цельнометаллическую рамную конструкцию. Рекомендуется изготовлять ее с покрытием из сплошного рифленого листа и щелями для пропуска каната.
Посадочные площадки с перемещением в вертикальной плоскости должны иметь угол поворота от горизонтали не менее 92°. Каждая посадочная площадка должна иметь индивидуальный привод. Управление посадочной площадкой производится с пульта (поста), расположенного непосредственно у каждой площадки. В конечных положениях отключение посадочной площадки производится концевыми выключателями, а машинисту подается сигнал о перекрытии ствола, а также при смещении посадочной площадки от фиксированного (верхнего) положения до положения, при котором зазор до подъемного сосуда менее допустимого ПБ. Опускание посадочной площадки должно осуществляться без удара. В поднятом (убранном) положении посадочные площадки должны стопориться.
Количество и место установки перекрытий определяются проектом в зависимости от типа подъемной установки и принятой технологии навески и замены канатов и сосудов.
Эксплуатация перекрытия производится в соответствии с техническим описанием и инструкцией по эксплуатации.
Ввиду того, что стационарные перекрытия работают с большими перерывами, необходимо проводить их ежемесячный профилактический осмотр, ревизию и проверку работы, что должно быть предусмотрено графиком.
2.1.44.2. Для испытания парашютов шахтных клетей может применяться гибкое перекрытие (рис. 14), устанавливаемое в устье ствола. Перекрытие состоит из трехручьевых амортизаторов 10, 16, 13, 15, установленных на опорах 6 на фундаменте 7, амортизационных канатов 4 и рамки 9. Амортизаторы 13 и 15 установлены стационарно, амортизаторы 10, 16 монтируются только на период испытаний, а между ними хранятся на площадках 12, 14.
Перед монтажом перекрытия клеть 11 поднимается выше уровня верхней приемной площадки, затем над стволом на кронштейне 5 и опоре 1 устанавливаются монорельсы 2 с ручной талью 3. С помощью тали съемные амортизаторы 10, 16 вместе с заведенными в них канатами передаются на другую сторону ствола, устанавливаются на свои опоры и после натяжения канатов настраиваются на определенное усилие протяжки.
С помощью тали на канаты помещается рамка с амортизирующими подушками 8, после чего монорельсы демонтируют.
После испытания парашюта клеть поднимается, монтируются монорельсы, убирается рамка, съемные амортизаторы переносятся на места хранения и монорельсы демонтируются.
Рис. 14. Гибкое перекрытие для испытания парашютов
2.1.44.3. Переносное перекрытие должно состоять из инвентарных металлических балок и соединительных элементов, которыми балки соединяются для получения рамной конструкции, обладающей необходимой жесткостью и устойчивостью, причем крайние балки с обеих сторон жестко фиксируются. Для переносных перекрытий рекомендуется применять стандартные двутавровые балки. Категорически запрещается применять для перекрытия стволов трубы, рельсы, деревянные брусья и т.п.
Число балок в перекрытии должно быть не менее двух. Расстояние между балками при их установке выбирают из условия наибольшей устойчивости подъемного сосуда от опрокидывания в случае установки его на нижний пояс. Размеры балок перекрытия и их количество определяют расчетом и схемой установки.
Распределение нагрузки от сосуда между балками перекрытия должно быть равномерным, а по длине каждой балки равномерно распределенным на участке соприкосновения ее с подъемным сосудом.
При наличии в стволе нескольких подъемных установок допускается иметь один комплект переносного перекрытия, но он должен быть рассчитан на максимальную нагрузку.
Балки следует укладывать над стволом таким образом, чтобы концы их не выходили в смежное отделение ствола. При этом концы балок должны опираться на коренные опорные балки.
Для ограничения перемещения балок в стволе, а также для обеспечения большей устойчивости конструкции перекрытия каждый конец балки рекомендуется заводить в фиксатор (карман). Для установки концов балок за пределами станка копра на приемных площадках нужно предусматривать специальные фундаменты, а для предотвращения продольного перемещения балок одну из сторон их стопорить.
Для установки перекрытий на приемных площадках необходимо иметь лебедки, а на балках перекрытия должны быть соответствующие приспособления для крепления каната лебедки.
Элементы передвижного перекрытия (балки, стяжки, шпильки, гайки и др.) должны храниться вблизи приемных площадок в сухом месте. Балки должны быть окрашены в красный цвет и маркированы.
2.1.45. Перекрытия в наклонных стволах предназначены для установки на них подъемных сосудов при замене сосудов и канатов, а также для проведения испытаний парашютов, клетей и пассажирских вагонеток.
Установку перекрытий необходимо предусматривать:
в устье наклонного ствола при замене подъемных сосудов (скипов, грузолюдских клетей и пассажирских вагонеток) и канатов;
в наклонном стволе или выработке при испытании парашютов клетей или пассажирских вагонеток.
По конструктивному исполнению перекрытия могут быть переносными и стационарными.
2.1.45.1. Стационарное перекрытие должно перемещаться в вертикальной плоскости (с поворотом вокруг горизонтальной оси). При работе подъема стационарное перекрытие должно быть поднято и надежно зафиксировано. Поднятие или опускание перекрытия производится с помощью лебедки, исключающей самопроизвольное вращение барабана от веса перекрытия.
Стационарное перекрытие должно представлять собой рамную конструкцию, изготовленную из двух двутавровых балок, шарнирно прикрепленную к крепи кровли выработки. В опущенном положении перекрытие должно располагаться между рельсами и упираться в почву выработки под углом 10 - 15° к нормали в сторону против возможного движения подъемного сосуда вниз.
Параметры и конструктивные размеры перекрытия, а также элементов крепления его к крепи кровли определяются расчетом и габаритами подъемного сосуда. Расчет должен производиться в соответствии с требованиями п. 2.1.44, при этом статическая нагрузка определяется с учетом угла наклона выработки.
Характеристика исполнения перекрытия должна соответствовать требованиям п. 2.1.44.1.
2.1.45.2. После установки клети или пассажирских вагонеток на перекрытие для замены канатов должны быть включены парашютные устройства.
2.1.46. В вертикальных стволах, где отраслевыми правилами безопасности предусмотрена установка металлических ляд в устье ствола, последние должны быть закрыты во время установки перекрытия.
2.1.47. При выполнении работ по перекрытию ствола подъемная машина должна быть заторможена предохранительным тормозом. Во время установки перекрытий и нахождения людей на них работа подъемных установок в стволе запрещена.
В настоящем разделе изложены способы и технологические схемы первоначальной навески и текущей замены канатов шахтных подъемных установок, рекомендуемые к использованию в зависимости от конкретных условий и наличия оборудования на шахтах.
2.2.1. Навеска и замена головных канатов на двухбарабанной машине (с разрезными барабанами).
А. Первоначальная навеска (рис. 15). Подъемные сосуды 2 и 11 устанавливаются на перекрытиях 1 в устье ствола. Вблизи копра располагаются катушки 3 и 10 с новыми канатами. Конец каната с катушки 10 канатом вспомогательной лебедки 9, пропущенным через копровой шкив 6, заводится в здание подъемной машины, закрепляется в переставном барабане 8, вспомогательный канат отсоединяется и с помощью подъемной машины новый канат необходимой длины наматывается на барабан. Свободный конец этого каната запанцировывается в коуше, присоединенном к сосуду 11, который затем приподнимается, и перекрытие под ним убирается.
Рис. 15. Схема первоначальной навески на двухбарабанной машине
Аналогичным способом новый канат с катушки 3 протягивается через копровой шкив 5, конец его заводится в заклиненный барабан 7 и там закрепляется. Подъемной машиной канат перематывается с катушки 3 на барабан 7, пока сосуд 11, опускающийся в ствол, не дойдет до нижней приемной площадки 12, где он устанавливается на посадочные брусья или кулаки. Затем переставной барабан 8 закрепляется стопорным устройством, отсоединяется от вала, и с помощью подъемной машины оставшаяся часть каната доматывается на заклиненный барабан 7. Свободный конец каната заклиненного барабана запанцировывается в коуш, который присоединяется к сосуду 2. Последний приподнимается, перекрытие под ним убирается, сосуд устанавливается выше верхней приемной площадки 4 на величину ∆1, переставной барабан соединяется с валом машины и освобождается от стопорного устройства. При необходимости производится навеска уравновешивающего каната. Далее осуществляется пробный перегон сосудов.
Б. Замена канатов (рис. 16). При замене каната заклиненного барабана 10 сосуд 3 ставится на перекрытие 6 в устье ствола (при наличии уравновешивающего каната сосуд 3 вначале приподнимается на 2,5 - 3 м над перекрытием 6, к уравновешивающему канату 2 прикрепляется строп, свободный конец которого закрепляется на балке перекрытия, затем сосуд 3 опускается до появления небольшого напуска уравновешивающего каната, последний отсоединяется от сосуда вместе с коушем, и сосуд 3 устанавливается на перекрытие 6). Вблизи копра располагается катушка 4 с новым канатом. Переставной барабан 11 закрепляется стопорным устройством и отсоединяется от вала машины. Делается небольшой напуск каната. Канат 7 вспомогательной лебедки 5 соединяется с канатом верхнего сосуда на расстоянии 2 - 2,5 м выше коуша, после чего канат сосуда распанцировывается в коуше. Старый канат вспомогательной лебедкой и подъемной машиной напускается на длину, достаточную для удобной работы на полу надшахтного здания. Затем старый канат, удерживаемый канатом вспомогательной лебедки, отрезается у коуша, к его свободному концу крепится новый канат, канат вспомогательной лебедки отсоединяется от старого, новый машиной переводится через копровой шкив 8 и подается в здание подъемной машины, крепится стропом 9, после чего отсоединяется от старого. При подаче нового каната в здание старый может наматываться на барабан вторым слоем.
После рассоединения с новым канатом старый выводится из здания (с помощью вспомогательной лебедки), сматывается с барабана и растягивается по двору либо навивается на катушку.
Конец нового каната закрепляется в заклиненном барабане, затем на барабан навивается необходимое число витков, отрезается лишняя длина (с учетом длины, требуемой для заводки в коуш) и конец каната запанцировывается в коуше сосуда 3. Сосуд 3 поднимается над перекрытием на величину ∆1, переставной барабан соединяется с валом машины и освобождается от стопорного устройства. При наличии уравновешивающего каната выполняются работы по присоединению его прицепного устройства к сосуду. После снятия перекрытия осуществляется пробный перегон сосудов.
Рис. 16. Схема замены головного каната на двухбарабанной машине
При замене каната переставного барабана 11 сосуд 1 устанавливается на перекрытии 6 (при наличии уравновешивающего каната вначале сосуд 3 опускается в зумпфовую часть ствола, там от него отсоединяется коуш с уравновешивающим канатом 2 и затем сосуд 1 устанавливается на перекрытии 6). Переставной барабан закрепляется стопорным устройством, отсоединяется от вала машины и сосуд 3 поднимается вверх на расстояние, равное по величине длине струны и отвеса каната от оси копрового шкива до нулевой отметки. Далее переставной барабан соединяется с валом машины, освобождается от стопорного устройства и машиной делается небольшой напуск каната сосуда 1. Аналогично вышеизложенному осуществляется заводка нового каната через копровой шкив в здание подъемной машины, где он временно закрепляется стропом. При этом сосуд 3 занимает исходное положение в стволе, которое может не совпадать с нижней приемной площадкой, если перекрытие, на котором установлен сосуд 1, расположено ниже верхней приемной площадки. В этом случае необходимо точно знать положение нижнего сосуда в стволе, для чего следует в точке схода каната этого сосуда с барабана поставить метку на желобе ручья. Затем новый канат отсоединяют от старого, конец последнего вспомогательной лебедкой выводят из машинного зала, подъемной машиной он сматывается с барабана и растягивается по двору либо навивается на катушку. Канат сматывается до тех пор, пока сосуд 3 не дойдет до верхней приемной площадки. Подсчитывают количество витков, оставшихся на переставном барабане, и наносят метку на его обод и колодку тормоза. Для полного снятия этих витков переставной барабан закрепляют стопорным устройством, отсоединяют от вала машины, сосуд заклиненного барабана опускают вниз до тех пор, пока число витков, смотанных с барабана, не станет больше числа витков на переставном барабане. Последний соединяют с валом машины, освобождают от стопорного устройства, оставшиеся витки каната полностью выматывают и его конец отсоединяют от барабана. Конец нового каната вводят в переставной барабан, там закрепляют и навивают до тех пор, пока не наберется ранее подсчитанное количество витков и не произойдет совпадение нанесенных меток на ободе и колодке тормоза. Далее переставной барабан закрепляют стопорным устройством, отсоединяют от вала машины и сосуд заклиненного барабана снова устанавливают на верхней приемной площадке. Переставной барабан соединяют с валом, освобождают от стопорного устройства и с помощью подъемной машины навивают всю рабочую часть нового каната до тех пор, пока точка сбегания каната с заклиненного барабана не дойдет до первоначально нанесенной метки на желобе ручья на величину ∆1. После этого отмеряют необходимую длину отвеса каната для заводки его в прицепное устройство верхнего сосуда, лишнюю часть каната отрезают, а свободный конец запанцировывают в коуш сосуда 1. Затем сосуд 1 приподнимается, перекрытие под ним убирается (при наличии уравновешивающего каната коуш последнего присоединяется к сосуду 3) и производится пробный перегон сосудов.
В. Выравнивание длин канатов производится при нижнем положении сосуда переставного барабана за счет маневрирования заклиненным барабаном после закрепления стопорным устройством и отсоединения от вала машины переставного барабана. После выравнивания длин переставной барабан соединяется с валом, освобождается от стопорного устройства и производится пробный перегон сосудов.
Г. Перепанцировка каната может производиться на нижней или верхней приемной площадке. При этом должны выполняться указания п. 2.1.27. После перепанцировки обязателен пробный перегон.
2.2.2. Навеска и замена головных канатов на машине с бицилиндроконическим разрезным барабаном.
А. Первоначальная навеска канатов (рис. 17).
Рис. 17. Схема первоначальной навески головного каната на подъемной машине с бицилиндроконическим разрезным барабаном
Сосуды 3 и 4 устанавливаются на перекрытиях 1 в устье ствола. Вблизи копра располагаются катушки 10 и 2 с новыми канатами. Конец каната с катушки 10 канатом вспомогательной лебедки 9, пропущенным через копровой шкив 6, заводится в здание подъемной машины, закрепляется на бобине переставной части барабана 8 и отсоединяется от вспомогательного каната. Затем с помощью подъемной машины канат необходимой длины перематывается с катушки на барабан. Свободный конец этого каната запанцировывается в коуше сосуда 4. Затем сосуд 4 приподнимается и под ним убирается перекрытие 1.
Аналогичным способом канат с катушки 2 протягивается через копровой шкив 5, конец его вводится в отверстие заклиненной части барабана 7 и там закрепляется. Далее с помощью подъемной машины канат с катушки 2 перематывается на барабан до тех пор, пока сосуд 4 не займет нижнее положение. Затем переставная часть барабана 7 закрепляется стопорным устройством, отсоединяется от вала машины, после чего оставшаяся часть каната наматывается с катушки 2 на заклиненный барабан 7. Свободный конец каната заклиненного барабана запанцировывается в коуш сосуда 3. Затем сосуд 3 приподнимается, перекрытие под ним убирается, и сосуд устанавливается выше верхней приемной площадки на величину ∆1. Переставная часть барабана соединяется с валом машины, освобождается от стопорного устройства и производится пробный перегон сосудов.
Б. Замена канатов (рис. 18).
При замене подъемного каната заклиненного барабана 5 сосуд 2 устанавливают на перекрытии в устье ствола. В точке схода с барабана каната сосуда 2 на желоб ручья наносят метку. Переставную часть барабана закрепляют стопорным устройством и отсоединяют от вала машины. К канату сосуда 2 на расстоянии 2 - 2,5 м выше коуша крепят канат вспомогательной лебедки, после чего канат распанцировывают в коуше. Старый канат вспомогательной лебедкой 3 и машиной напускают на длину, достаточную для удобной работы на полу надшахтного здания. Старый канат, удерживаемый канатом вспомогательной лебедки, отрезают у коуша и крепят к концу нового каната на катушке 7, после чего канат вспомогательной лебедки отсоединяют, и новый канат машиной затягивается через копровой шкив 4 в здание подъемной машины, где его струна временно закрепляется стропом. При этом старый канат может наматываться на большой барабан вторым слоем. Затем новый канат отсоединяют от старого, конец старого вспомогательной лебедкой выводят из машинного зала и подъемной машиной сматывают с барабана и растягивают по двору либо наматывают на приемную катушку.
Рис. 18. Схема замены головного каната на подъемной машине с бицилиндроконическим разрезным барабаном
Конец нового каната вводится в малый барабан, крепится зажимами к ободу бобины, включается двигатель бобины и на нее наматывается необходимый запас каната. Затем производится намотка нового каната на барабан до тех пор, пока не произойдет совпадение точки набегания каната на барабан с ранее нанесенной на желоб ручья меткой. Отмеряют необходимую длину струны каната для заводки в прицепное устройство, лишнюю часть каната отрезают и свободный конец каната запанцировывают в коуше сосуда 2. Далее этот сосуд приподнимается над перекрытием на величину ∆1. Переставная часть барабана соединяется с валом машины и освобождается от стопорного устройства. Убирается перекрытие и производится пробный перегон сосудов.
При замене каната переставной части барабана 6 сосуд 1 ставят на перекрытие в устье ствола, при этом необходимо зафиксировать положение сосуда 2 в нижней части ствола с помощью метки на желобе ручья.
Затем канат вспомогательной лебедки присоединяют к старому канату сосуда 1 (выше коуша на 2 - 2,5 м). После небольшого напуска канат сосуда 1 распанцировывают в коуше и с помощью машины и вспомогательной лебедки сматывают на длину, равную сумме длин струны и отвеса до верхнего сосуда, прикрепляют к расстрелу, а смотанную часть отрезают на расстоянии 3 - 4 м от узла крепления. Конец нового каната, расположенного на катушке у ствола, присоединяется к старому (после чего старый освобождают от крепления к расстрелу), через копровой шкив машиной затягивается в здание подъемной машины, закрепляется стропом и отсоединяется от старого. Конец старого каната вспомогательной лебедкой выводится из машинного зала, подъемной машиной сматывается с барабана и растягивается по двору (или наматывается на катушку) до тех пор, пока сосуд 2 не дойдет до верхней приемной площадки. Затем подсчитывают количество оставшихся витков каната сосуда 1 на малом барабане и наносят метку на обод барабана и колодку тормоза. Для того чтобы снять оставшуюся часть каната, переставную часть барабана закрепляют стопорным устройством, отсоединяют от коренного вала и сосуд 2 заклиненного барабана опускают вниз на длину, несколько большую длины оставшихся витков на малом барабане. Затем вновь соединяют барабаны, переставную его часть освобождают от стопорного устройства и оставшуюся часть каната сматывают.
Конец нового каната вводят в малый барабан переставной части, крепят к ободу бобины, отсоединяют от стропа. Подключается двигатель механизма бобины и на нее наматывается необходимый запас каната. Затем производится намотка ранее подсчитанного количества витков до совпадения нанесенных меток на ободе и колодке тормоза. Чтобы восстановить исходное положение сосудов, переставную часть барабана вновь закрепляют стопорным устройством и отсоединяют от коренного вала, а сосуд 2 (заклиненного барабана) поднимается на уровень верхней приемной площадки.
Далее переставную часть барабана соединяют с коренным валом, освобождают от стопорного устройства, и на барабан навивается вся длина рабочей части каната для сосуда 1 до тех пор, пока точка схода каната с заклиненного барабана не дойдет до ранее нанесенной метки на желобе ручья на величину ∆1. После этого отмеряют необходимую длину отвеса каната для заводки его в прицепное устройство сосуда 1 и лишнюю часть каната отрезают. Свободный конец каната запанцировывают в коуш сосуда 1, который поднимается, убирается перекрытие и производится пробный перегон сосудов.
В. Выравнивание длин канатов после навески. Разность длин канатов (м) сосудов 1 и 2 определяют по формуле
![]()
где dб - диаметр малого барабана, м;
n1 и n2 - число оставшихся на малых барабанах витков каната при нижнем положении сосудов соответственно 1 и 2.
На бицилиндроконических подъемных машинах выравнивание длин канатов производится путем сматывания каната с соответствующей бобины на длину, равную разности длин обоих канатов.
В случае если канат переставной части барабана длиннее каната заклиненного барабана на величину h, подъемный сосуд заклиненной части барабана устанавливается на (h + 1) м выше нижней приемной площадки.
Путем последовательных кратковременных включений двигателя бобины заклиненного барабана канат сматывается на длину h (при этом витки трения должны медленно переползать в ручьях нарезки). Затем сосуд переставного барабана перегоняется на нижнюю приемную площадку, при этом сосуд заклиненного барабана не дойдет до верхней приемной площадки. Далее переставная часть барабана закрепляется стопорным устройством, отсоединяется от вала машины и заклиненным барабаном сосуд дотягивается до верхней приемной площадки. Переставная часть барабана соединяется с валом, освобождается от стопорного устройства и производится пробный перегон сосудов.
Г. Перепанцировка канатов может производиться на верхней или нижней приемной площадке. При необходимости после перепанцировки выравниваются длины канатов.
2.2.3. Навеска и замена головных канатов на одноканатной подъемной машине со шкивом трения.
А. Первоначальная навеска головных канатов (рис. 19).
Рис. 19. Схема первоначальной навески головного каната на одноканатной подъемной машине со шкивом трения
Подъемные сосуды 10 и 9 устанавливают соответственно на перекрытиях 1 и 8, расстояние между которыми должно быть равно величине упругого удлинения каната ∆2, при этом перекрытие 1 устанавливается на уровне верхней приемной площадки. Конец нового каната с катушки 2 канатом вспомогательной лебедки 7 переводится через копровой шкив 3 и закрепляется на бобине 6 шкива трения 5. С помощью подъемной машины канат перематывается с катушки на бобину. Свободный конец каната запанцировывается в коуше сосуда 10. Последний приподнимается, перекрытие 1 под ним убирается, и сосуд опускается на перекрытие 11 на нижней приемной площадке. Затем вновь вверху устанавливается перекрытие 1. Ветвь опущенного каната закрепляется опорным зажимом 12, а в здании подъемной машины - стропом 13, после чего оставшаяся часть каната сматывается с бобины 6.
Свободный конец нового каната вспомогательным канатом переводится через шкив трения 5 и копровой шкив 4 до уровня сосуда 9. После натяжения струны каната вспомогательной лебедкой отрезается излишек каната и свободный конец его запанцировывается в коуш сосуда 9. Канат на шкиве трения 5 закрепляют зажимами 14 и с помощью машины снимают нагрузку с зажима 12 (приподнимая зажим канатом над балками перекрытия). Затем зажим 12 демонтируется, сосуд 10 снова устанавливается на перекрытие 11, снимаются зажимы 14 со шкива трения, производится навеска уравновешивающего каната, после чего перекрытия 1, 8 и 11 убираются и производится пробный перегон сосудов.
Б. Замена канатов (рис. 20).
Подъемный сосуд 1 опускается на 5 - 6 м ниже верхней приемной площадки и на ней устанавливается перекрытие 13. Сюда доставляется направляющая рамка 2, которая заводится в проводники армировки и ставится на четырехболтовой зажим, закрепленный на канате выше последнего жимка. Сосуд 1 несколько приподнимается, убирается перекрытие 13, и сосуд опускается на перекрытие нижней приемной площадки. Перекрытие 13 снова устанавливается и здесь на головной канат крепится опорный зажим 5. Затем для прижатия каната к футеровке шкива трения 9 монтируются зажимы 8. С помощью подъемной машины сосуд 11 ставится на перекрытие 12, расположенное над перекрытием 13 на расстоянии ∆2. Подвесное устройство сосуда 1, находящегося внизу, стропами крепится к расстрельным балкам, и канат отрезается (либо отпанцировывается от коуша). К канату сосуда 11, находящегося вверху, выше его прицепного устройства крепится конец каната вспомогательной лебедки 4. Стропами закрепляется подвесное устройство сосуда 11, снимаются зажимы 8 на шкиве 9, вспомогательной лебедкой создается натяжение струны головного каната и последний отрезается либо отпанцировывается от коуша. Подъемной машиной и вспомогательной лебедкой отвес и струна головного каната переводятся через шкив 7 в здание подъема, где канат вспомогательной лебедки отсоединяется от головного. Последний снимается со шкива машины, крепится к бобине 10 и производится его намотка до необходимого натяжения струны, при этом опорный зажим 5 должен несколько приподниматься над балками перекрытия 13. Затем опорный зажим 5 снимается с каната и последний наматывается на бобину до тех пор, пока направляющая рамка не дойдет до перекрытия 13, которое временно убирается, рамка приподнимается, вновь устанавливается перекрытие 13, на котором производится отсоединение каната от рамки. К концу старого каната крепится конец нового с катушки 3 и через копровой шкив 6 затягивается в здание подъема, где новый канат закрепляется стропом, отсоединяется от старого и последний сматывается с бобины (транспортным средством растягивается по двору либо наматывается на катушку). Новый канат крепится к бобине, освобождается от стропа и наматывается на бобину плотными неперепутанными рядами.
После намотки каната на бобину его свободный конец заводится в направляющую рамку 2 на перекрытии 13, затем рамка вместе с канатом приподнимается с помощью подъемной машины, перекрытие 13 убирается и новый канат опускается в ствол. Внизу конец каната запанцировывается в коуш сосуда 1 и подвесное устройство сосуда 1 освобождается от стропов. Вновь устанавливается перекрытие 13, на нем монтируется опорный зажим 5, и при обратном ходе машины ветвь каната зависает на этом зажиме. Затем с бобины сматывается оставшаяся часть нового каната, последний укладывается в желоб канатоведущего шкива, канатом вспомогательной лебедки переводится через копровой шкив 7, подтягивается к сосуду 11. Здесь отрезается излишек каната и свободный конец нового каната запанцировывается в коуш сосуда 11, затем от каната отсоединяется канат вспомогательной лебедки и освобождается от стропов подвесное устройство сосуда 11. На шкив подъемной машины устанавливаются зажимы 8, сосуд 11 приподнимается над перекрытием 12, перекрытие убирается, сосуд 11 опускается до тех пор, пока опорный зажим 5 не приподнимается над перекрытием 13. Зажим 5 демонтируется, убирается перекрытие 13, снимаются зажимы со шкива трения, и сосуд 1 поднимается вверх до тех пор, пока направляющая рамка не поднимется над уровнем перекрытия 13, которое затем устанавливается в рабочее положение для производства демонтажа направляющей рамки. Далее осуществляется пробный перегон сосудов.
Рис. 20. Схема замены головного каната на одноканатной подъемной машине со шкивом трения
В. Регулирование длины каната. Один из сосудов устанавливается на уровне нижней приемной площадки (на качающуюся площадку). Если второй сосуд не доходит до уровня верхней приемной площадки на величину h, то на эту длину необходимо укоротить канат. Для этого на шкиве трения устанавливаются зажимы, закрепляющие канат на футеровке, делается напуск каната нижнего сосуда на величину h и производится перепанцировка. После этого обратным ходом машины сосуд поднимается над перекрытием, перекрытие убирается, снимаются зажимы со шкива трения. Производится пробный перегон сосудов.
2.2.4. Навеска и замена головных канатов многоканатных подъемных установок. Основное оборудование для навески и замены канатов.
В качестве грузоподъемных средств, применяемых при замене канатов, можно использовать барабанные лебедки с многослойной навивкой канатов типа ЛПЭП-10, ЛПЭ-18/1400, ЛПЭ-25/900, ЛПЭ-45/1300А. При этом возможны следующие варианты: каждый канат наматывается поочередно на барабан лебедки и производится навеска по одному канату; каждая пара канатов наматывается поочередно на барабан лебедки, разделенный ребордой, и навеска производится по два каната; количество лебедок равно числу канатов либо числу пар канатов, и производится навеска всех канатов одновременно.
Если позволяет грузоподъемность лебедок, то одновременно с навеской канатов допускается навеска и подъемных сосудов.
А. Первоначальная навеска канатов с помощью барабанных лебедок (рис. 21).
При помощи вспомогательной лебедки 4, установленной на нулевой отметке в башенном копре 6, заводится вспомогательный канат 5 через канатоведущий шкив 7 подъемной машины к основной лебедке 11, установленной вблизи копра.
Конец одного из новых канатов 10 закрепляется к вспомогательному канату 5, вспомогательной лебедкой 4 переводится через канатоведущий шкив 7 и опускается к сосуду 2, размещенному на перекрытии 3 на верхней приемной площадке (либо к направляющей рамке, если сосуд 2 заранее опущен в ствол, например, с помощью лебедок на инвентарных канатах). Аналогичным образом заводятся концы остальных канатов, которые запанцировываются в коушах подвесных устройств сосуда 2 (либо закрепляются в направляющей рамке). С помощью лебедки 11 сосуд 2 (либо направляющая рамка) приподнимается, перекрытие 3 убирается, включается подъемная машина, канаты опускаются в ствол. Сосуд (либо направляющая рамка) внизу устанавливается на перекрытии 1 на нижней приемной площадке. В случае опускания канатов в направляющей рамке последняя демонтируется на перекрытии, установленном выше нижнего сосуда, и концы канатов припанцировываются к коушам подвесных устройств сосуда 2, затем с помощью подъемной машины и лебедок создается небольшое натяжение канатов. На перекрытии 3 канаты закрепляются опорными зажимами 13 и полностью сматываются с барабанов лебедки 11, отмеряется необходимая длина отвесов, подъемной машиной со стороны сосуда 2 создается натяжение канатов (насколько это возможно) и концы новых канатов панцируются в коушах подвесных устройств сосуда 9, установленного на перекрытии 12.
Затем производится навеска уравновешивающих канатов, после чего при помощи мостового крана 8 либо иных грузоподъемных механизмов сосуд 9 приподнимается, перекрытие 12 убирается, сосуд 9 опускается, с помощью подъемной машины натягиваются канаты со стороны нижнего сосуда, опорные зажимы 13 снимаются, приподнимается сосуд 2, перекрытия 1 и 3 убираются. Производится пробный перегон сосудов.
Б. Замена канатов с помощью барабанных лебедок (рис. 22).
Замена канатов производится, как указывалось ранее, по одному, попарно либо всех одновременно. Ниже описан вариант одновременной замены и навески двух канатов. Сосуд 14 устанавливается на перекрытии 16, а сосуд 3 с уравновешивающими канатами 1 после этого приподнимается с помощью подъемной машины (мостового крана или вспомогательной лебедки) и устанавливается на перекрытии 2 с таким расчетом, чтобы головные канаты со стороны сосуда 14 получили некоторое прослабление. Концы двух демонтируемых канатов отпанцировываются от коушей сосуда 14, и эти канаты закрепляются опорными зажимами 8 на перекрытии 12, установленном, например, на нулевой отметке. С помощью мостового крана или иных грузоподъемных средств сосуд 3 приподнимается над перекрытием 2, концы демонтируемых канатов отпанцировываются от коушей подвесных устройств, после чего сосуд 3 снова опускается на перекрытие 2. Вспомогательной лебедкой 11 протягиваются два новых каната 9 с барабана лебедки 10 через вспомогательный шкив 7 в здание копра. Концы новых канатов 9 соединяются зажимами 6 со старыми демонтируемыми канатами 13, которые затем отрезаются выше зажимов 6 и снимаются с машины. С помощью лебедки 10 старые и новые канаты приподнимаются, убираются опорные зажимы 8, и канаты опускаются в ствол. При этом старые канаты наматываются на приемную катушку 15. При подходе концов новых канатов к сосуду 14 старые канаты отсоединяются от новых, полностью наматываются на приемную катушку 15, а концы новых канатов панцируются в коушах сосуда 14. Лебедкой 10 выбирается слабина отвесов новых канатов, вновь устанавливаются опорные зажимы 8, канаты 9 полностью сматываются с барабанов лебедки 10 и канатом вспомогательной лебедки 11 переводятся через шкив 4 к сосуду 3, где панцируются в его коушах. Аналогичным способом производится замена остальных канатов. Когда все канаты заменены, с помощью мостового крана 5 (либо иных грузоподъемных механизмов) сосуд 3 приподнимается, перекрытие 2 убирается, затем сосуд 3 снова опускается и с помощью подъемной машины создается натяжение канатов со стороны нижнего сосуда, опорные зажимы снимаются, перекрытия 12 и 16 убираются. Производится пробный перегон сосудов.
Рис. 21. Схема первоначальной навески головного каната на многоканатной подъемной машине
Рис. 22. Схема замены головного каната на многоканатной подъемной машине
В тех случаях, когда приемные катушки 15 невозможно разместить в районе загрузки сосудов, после установки сосудов на соответствующих перекрытиях и закрепления канатов опорными зажимами 8 на перекрытии 12 старые канаты отпанцировываются от коушей сосуда 3, канатом вспомогательной лебедки снимаются со шкива 4, переводятся через шкив 7 и закрепляются на барабанах лебедки 10. Нижние концы канатов отпанцировываются от коушей сосуда 14, выше него на дополнительном перекрытии монтируется направляющая рамка, в которую заводятся все канаты. Демонтируются опорные зажимы 8 и лебедкой 10 канаты выдаются на поверхность до подхода рамки к перекрытию 12, где направляющая рамка демонтируется, и старые канаты полностью сматываются с барабанов лебедок 10, например, на приемные катушки. Затем новые канаты наматываются на барабаны лебедки 10, их концы переводятся через шкив 7 к направляющей рамке, находящейся на перекрытии 12, там закрепляются, перекрытие 12 убирается, и канаты опускаются с помощью лебедки 10 к сосуду 14. На перекрытии, установленном над сосудом 14, рамка демонтируется и канаты припанцировываются к сосуду 14. Лебедкой 10 создается натяжение канатов, и они на перекрытии 12 закрепляются опорными зажимами 8. Далее производится заводка концов новых канатов к сосуду 3, как это описано ранее.
В. Замена головных канатов с помощью многоканатной машины (рис. 23).
В ряде случаев при отсутствии эффективного грузоподъемного оборудования для замены канатов может оказаться целесообразным временное использование канатоведущего шкива подъемной машины в качестве бобины для намотки старых и новых канатов. Порядок работ при этом следующий (см. рис. 23).
Рис. 23. Схема замены головного каната с помощью многоканатной подъемной машины
Сосуд 1 ставится на перекрытие 10, над ним машиной создается напуск канатов, затем машиной (если выполняется условие п. 2.1.28) или краном сосуд 3 ставят на перекрытие 2. Для увеличения тяговой способности шкива канаты крепятся к нему зажимами, после чего над сосудом машиной образуют напуск. На перекрытии 5 на канаты ставятся опорные зажимы 4, отпанцировываются канаты от коушей сосуда 3, снимаются зажимы с канатов на шкиве и с помощью крана отпанцированные канаты поочередно заводятся в машинный зал, снимаются со шкива и каждый в отдельности укладывается петлями на полу. Один из блоков футеровки канатоведущего шкива снимается, конец одного из старых канатов вводится в отверстие обечайки шкива и крепится к нему зажимами. Подъемной машиной этот канат наматывается на канатоведущий шкив до тех пор, пока опорный зажим не приподнимется над балками перекрытия 5. Затем опорный зажим демонтируется, подъемной машиной создается напуск каната и он отпанцировывается от коуша сосуда 1. Над этим сосудом на перекрытии устанавливается направляющая рамка 6, в которую заводится конец отпанцированного каната. Подъемной машиной этот канат наматывается на канатоведущий шкив до подхода рамки к уровню перекрытия 8, на котором рамка 6 демонтируется. К концу старого каната присоединяется от катушки 7 конец нового и последний заводится в машинное здание, где отсоединяется от старого и временно закрепляется стропом. Далее старый канат сматывается со шкива, выводится через оконный проем во двор, где складывается в бухту либо наматывается на приемную катушку. После освобождения шкива от старого каната конец нового закрепляется внутри шкива и наматывается необходимой длины. Другой свободный конец этого каната заводится в направляющую рамку 6, находящуюся на перекрытии 8, и с помощью машины опускается к сосуду 1, пока рамка не установится на перекрытие 9. Здесь конец нового каната запанцировывается в соответствующий коуш сосуда 1, машиной производится натяжение каната и последний закрепляется опорным зажимом 4 на перекрытии 5. Затем со шкива полностью сматывается новый канат и складывается на полу машинного зала. Аналогичным образом производится замена всех остальных канатов и с канатоведущего шкива убирается сменная футеровка. После этого демонтируется направляющая рамка 6, убирается перекрытие 9. Концы новых канатов с помощью крана переводятся через канатоведущий шкив и опускаются к сосуду 3, машиной (насколько это возможно) создается натяжение канатов со стороны сосуда 7, и новые канаты запанцировываются в коушах сосуда 3. Затем сосуд 3 с помощью мостового крана либо иных грузоподъемных средств приподнимается, перекрытие 2 под ним убирается, сосуд 3 опускается до тех пор, пока опорные зажимы 4 не поднимутся над балками перекрытия 5, зажимы снимаются, перекрытие убирается, сосуд 1 приподнимается, перекрытие 10 под ним убирается и производится пробный перегон сосудов.
2.2.5. После навески нового головного каната рекомендуется произвести его обкатку. Так как в начальный период эксплуатации происходит конструктивное удлинение каната, перераспределение напряжений в канате, обкатка каната должна производиться при ограничении скорости движения и нагрузки. Это обеспечит постепенную стабилизацию внутренних напряжений в канате и позволит ему приспособиться к рабочим условиям.
Рекомендуются следующие режимы обкатки: обкатка каната при порожнем сосуде:
со скоростью движения, равной 0,3 - 0,5 м/с, производится четыре цикла (цикл включает спуск и подъем скипа с вновь навешенным канатом);
со скоростью движения, равной 1/4 от максимальной, - 4 цикла;
со скоростью движения, равной 1/2 от максимальной, - 4 цикла;
с максимальной скоростью движения - 4 цикла; при спуске незагруженного сосуда на максимальной скорости сделать две резкие остановки за 40 - 50 м до загрузочного устройства.
Обкатка каната при загрузке скипа на 1/2 часть объема:
при скорости движения, равной 1/2 от максимальной, - 4 цикла;
при максимальной скорости движения - 4 цикла.
Обкатка каната при полной загрузке скипа:
при скорости движения, равной 1/2 от максимальной, - 4 цикла;
при максимальной скорости движения - 2 цикла.
Количество циклов при всех указанных режимах - минимально.
2.2.6. Навеска и замена уравновешивающих канатов на одноканатных и многоканатных подъемных установках.
А. Первоначальная навеска уравновешивающих канатов (рис. 24). Первоначальная навеска уравновешивающих канатов производится после навески головных канатов при расстановке подъемных сосудов на перекрытиях в исходных положениях (один сосуд вверху, другой - внизу). При этом устанавливаются перекрытия 8 и 11 под каждым из сосудов для производства необходимых монтажных работ.
На многоканатных подъемных установках целесообразно производить одновременную навеску всех уравновешивающих канатов. Конец каната с барабана лебедки 4 переводится через вспомогательный шкив 5, заводится в направляющую рамку 3, движущуюся в проводниках того раздела ствола, сосуд которого находится в верхнем положении. Монтаж и заводка рамки осуществляются на перекрытии 8. Канат опускается в ствол, отсоединяется на перекрытии 1 от рамки, пропускается под брусьями, подтягивается канатом вспомогательной лебедки к сосуду 10 и панцируется в коуше его подвесного устройства. Верхняя часть нового каната крепится опорным зажимом 7 либо стропом к станку копра, конец каната отсоединяется от барабана лебедки 4 и панцируется в коуше подвесного устройства верхнего сосуда. Отвес каната освобождается от зажима 7, производится снятие сосудов с перекрытий, демонтаж перекрытий, осуществляется пробный перегон сосудов.
Б. Замена уравновешивающих канатов (см. рис. 24).
На многоканатных подъемных установках целесообразно производить одновременную замену всех уравновешивающих канатов.
Подъемные сосуды вначале ставятся на перекрытиях (один сосуд вверху, другой - внизу) и под ними устанавливаются дополнительные перекрытия 8 и 11 для производства необходимых монтажных работ. Старый уравновешивающий канат на перекрытии закрепляется опорным зажимом 7, отсоединяется от сосуда 6 и закрепляется на барабане лебедки 4. На перекрытии 1 устанавливается направляющая рамка, в которую заводится конец каната, отсоединенного от нижнего сосуда и переведенного канатом вспомогательной лебедки в смежный раздел. Снимается опорный зажим 7 и производится намотка старого каната на барабан лебедки 4 до подхода рамки к перекрытию 8, на котором рамка демонтируется.
В том случае, если в стволе на нижнем горизонте есть возможность разместить катушки с новыми канатами и пустые катушки для приема старых канатов, то замена уравновешивающих канатов производится следующим образом. Под сосудом 10 устанавливают перекрытие 11, затем ставят перекрытие 1. Пустая приемная катушка 2 размещается со стороны сосуда, поднятого в верхнее положение, катушка 9 с новым канатом размещается со стороны сосуда, опущенного в нижнее положение. Конец старого каната отпанцировывается от коуша подвесного устройства нижнего сосуда, вспомогательной лебедкой подтягивается к катушке 2 и закрепляется на ее барабане. Новый канат с катушки 9 подтягивается к нижнему сосуду и запанцировывается в коуше его подвесного устройства. С помощью машины сосуд 6 опускается в ствол, а сосуд 10 поднимается вверх, при этом на катушку 2 наматывается старый канат, а с катушки 9 разматывается новый. Когда сосуд 10 дойдет до верхнего положения, новый канат полностью сматывается с катушки 9, вспомогательной лебедкой конец его переводится в смежный раздел ствола и панцируется в коуше подвесного устройства сосуда 6. Затем производится пробный перегон сосудов.
2.2.7. Навеска и замена тормозных канатов.
А. Первоначальная навеска тормозных канатов (рис. 25).
Рис. 24. Схема первоначальной навески и замены уравновешивающего каната
Рис. 25. Схема первоначальной навески и замены тормозного каната
Два новых каната на катушках 2 и 3 опускаются на нижнюю приемную площадку и устанавливаются в выработке околоствольного двора.
Концы тормозных канатов заводятся в ловитель и направляющие муфты клети 6, расположенной на нижней приемной площадке, на канате закрепляются зажимы 4. Выше зажимов должен быть оставлен запас каната, необходимый для соединения с амортизационными канатами. Запас канатов размещается в клети и их концы закрепляются на раме клети.
Подъемной машиной клеть поднимается в крайнее верхнее положение. Концы канатов заделываются в соединительные полумуфты, поднимаются на подшкивную площадку и прикрепляются к амортизационным канатам 5. Затем клеть медленно опускают вниз, чтобы освободить от веса тормозных канатов, после чего зажимы 4 снимаются. Затем нижние концы канатов в зумпфе пропускаются через натяжное устройство и устанавливается крепление 1.
Б. Замена тормозных канатов (см. рис. 25).
Клеть 6 (при замене одного тормозного каната) устанавливается в крайнем верхнем положении. Рамка ловителя закрепляется на клети (в целях исключения случайных срабатываний ловителя), на тормозном канате устанавливаются над направляющими муфтами металлические зажимы 4, в зумпфе нижний конец тормозного каната освобождается от крепления 1 и конец его выводится на приемную площадку околоствольного двора. Клеть приподнимается, в результате чего образуется напуск над зажимом 4 тормозного каната. Тормозной канат перерезается выше зажима, и на малой скорости клеть 6 с закрепленным на ней (с помощью зажима 4) тормозным канатом опускается на нижнюю приемную площадку. При этом старый канат наматывается на катушку 2 либо растягивается по выработке. После установки клети на нижнее посадочное устройство зажим 4 снимается, канат выводится из ловителя, рамка ловителя освобождается от крепления. Навеска нового каната производится так, как описано в п. 2.2.6.А.
При наличии лебедки достаточной грузоподъемности замена старого и навеска нового тормозных канатов могут производиться одновременно.
Конец нового каната с барабана лебедки через блок опускается до уровня нулевой площадки.
Старый тормозной канат стропами крепится к клети, расположенной на верхнем перекрытии, или подвесному устройству клети, конец его в зумпфе освобождается от крепления и выводится в околоствольный двор. Клеть приподнимается, тормозной канат напускается, его верхний конец отсоединяется от амортизационного каната и выводится из ловителя и направляющих муфт. Затем на нулевой отметке ставится перекрытие для выполнения операции соединения старого и нового тормозных канатов. Перекрытие убирается, клеть опускается настолько, чтобы нагрузка от старого каната полностью воспринялась лебедкой. После этого верхний конец старого каната отрезается выше узла соединения с новым. Лебедкой осуществляется спуск нового и старого канатов в ствол, при этом старый канат внизу либо растягивается по выработке, либо наматывается на катушку.
Новый канат опускается в ствол до уровня 5 - 10 м ниже балок натяжного устройства, затем он на нулевой площадке закрепляется опорным зажимом, напускается длина каната, равная расстоянию от опорного зажима до узла соединения с амортизационным канатом, канат разрезается, конец его пропускается через ловитель и направляющие муфты, на конце монтируется соединительная полумуфта, которая затем поднимается и крепится к амортизационному канату. Тормозной канат крепится к клети или подвесному устройству стропами, приподнимается клетью для демонтажа опорного зажима. Затем производится крепление конца каната в зумпфе к натяжному устройству.
2.2.8. Замена проводниковых и отбойных канатов.
Рис. 26. Схема первоначальной навески и замены проводникового и отбойного канатов
Подъемный сосуд 10 (рис. 26) устанавливается вверху на перекрытие 9. Старый канатный проводник 3 освобождается от натяжных грузов 1 и выводится из направляющих устройств на сосуде. Конец нового проводникового каната 7, размещенного на лебедке 6, пропускается через вспомогательный шкив 5 и крепится к старому канату 3 зажимами 4. После этого лебедкой 6 создается натяжение канатов для образования напуска старого каната над зажимом 4. Старый канат отрезается выше зажима и опускается вместе с новым в ствол, при этом нижний конец старого каната выводится на горизонт и сматывается на катушку 2 либо растягивается по выработке. Новый канат опускается до крайнего нижнего положения и отсоединяется от старого; оставшаяся верхняя часть старого каната соединяется с канатом вспомогательной лебедки, освобождается от крепления на копре и с помощью вспомогательной лебедки опускается на нулевую отметку. Новый канат закрепляется на перекрытии 13 опорным зажимом 12, затем с лебедки 6 сматывается канат длиной, равной расстоянию от зажима до коуша 11, канат разрезается, конец его соединяется с канатом 8 вспомогательной лебедки, поднимается вспомогательной лебедкой на отметку его крепления на копре, где закрепляется в клиновом коуше 11. Затем снимается опорный зажим 12 с каната 7. К нижнему концу каната крепится натяжной груз 1.
Аналогичным образом производится замена отбойных канатов.
На надежность и долговечность шахтных канатов (наряду с правильным выбором конструктивных, прочностных, размерных параметров и правильной навеской) существенное влияние оказывает соблюдение необходимых требований по эксплуатации, начинающейся с момента получения канатов.
3.1.1. Канаты должны поставляться на деревянных по ГОСТ 11127-78 или металлических барабанах по нормативно-технической документации, а также на возвратных барабанах с использованием их в установленном порядке. Канаты массой до 400 кг могут поставляться в бухтах с габаритными размерами: наружный диаметр - не более 1200 мм, высота бухты - не более 800 мм, внутренний диаметр бухты должен быть не менее 15 номинальных диаметров каната.
По требованию потребителя закрытые несущие канаты, намотанные на барабан, по верхнему слою витков обертываются бумагой по ГОСТ 8828-89, которая обвязывается проволокой по ГОСТ 3282-74, или другой проволокой по нормативно-технической документации, или шпагатом по ГОСТ 17308-88, и обшиваются досками.
Для грузолюдских закрытых подъемных канатов обязательна опалубка барабанов.
Барабаны с канатами грузолюдского назначения по требованию потребителя обшивают досками, максимальный зазор между которыми должен быть не более 50 мм, или канат оборачивают полимерной пленкой по ГОСТ 10354-82 или другой нормативно-технической документации, или водонепроницаемой бумагой по ГОСТ 8828-89 или ГОСТ 515-77.
Канат, смотанный в бухту, должен быть крепко перевязан мягкой проволокой по ГОСТ 3282-74 или другой нормативно-технической документации, или прядью каната, или лентой по ГОСТ 3560-73 или другой нормативно-технической документации не менее чем в четырех местах, равномерно расположенных по окружности.
Упаковка канатов, отгружаемых в районы Крайнего Севера и труднодоступные районы, а также канатов, отправляемых морским путем, производится по ГОСТ 15846-79.
3.1.2. Для прядевых канатов диаметр шейки барабана должен быть не менее 15 номинальных диаметров каната. Борт барабана должен выступать над наружным слоем намотанного каната не менее чем на два диаметра каната при диаметре 25 мм и менее и на 50 мм при диаметре каната более 25 мм.
Для закрытого подъемного каната диаметр цилиндра барабана должен быть не менее 30-кратного диаметра каната. Борт барабана должен выступать над наружным слоем каната не менее чем на 50 мм.
Для закрытого несущего каната диаметр цилиндра барабана должен быть не менее 45-кратного диаметра каната. Борт барабана должен выступать над наружным слоем каната не менее чем на 50 мм.
Допускается наматывать на барабан несколько отрезков каната одного типоразмера. В этом случае в маркировке указывается длина каждого отрезка в метрах, считая от шейки барабана.
Концы каната должны быть прочно закреплены.
Наружный конец прядевых канатов обвязывается органическим сердечником по ГОСТ 5269-77 или другой нормативно-технической документации, или проволокой по ГОСТ 3282-74 или другой нормативно-технической документации, или прядью, или канатом, или лентой по ГОСТ 3560-73 и крепится к внутренней стороне щеки барабана.
Концы закрытых подъемного и несущего канатов должны быть прочно закреплены на внутренней щеке барабана. Конец каната обвязывается отходами канатов и крепится к щеке.
На барабане канат должен быть уложен плотными неперепутанными рядами, без защемления, чтобы обеспечивалось свободное сматывание каната с барабана.
3.1.3. Каждый канат должен быть снабжен металлическим ярлыком, на котором следует указать:
наименование или товарный знак предприятия-изготовителя;
номер каната в системе нумерации предприятия-изготовителя;
условное обозначение каната;
длину каната или каждого отрезка, считая от шейки барабана, м;
массу брутто, кг;
дату изготовления каната.
Ярлык прибивается гвоздями на видном месте щеки барабана, а к бухте крепят мягкой проволокой. При намотке каната на металлический барабан ярлык может крепиться к концу каната.
3.1.4. На каждый канат или партию, состоящую из канатов одного типоразмера в одной единице упаковки, должен быть оформлен один документ о качестве (акт-сертификат), содержащий:
товарный знак или наименование и товарный знак предприятия-изготовителя;
наименование организации, в систему которой входит предприятие-изготовитель;
номер каната в системе нумерации предприятия-изготовителя;
условное обозначение каната;
длину каната или каждого отрезка;
массу брутто каната;
результаты механических испытаний;
суммарное разрывное усилие всех проволок в канате или разрывное усилие каната в целом с указанием «номинальное» при оценке временного сопротивления разрыву оцинкованных проволок в канате по номинальному диаметру;
диаметр каната при поставке;
конструкцию сердечника;
материал органического сердечника;
диаметры проволок в случае изменения их согласно п. 2.1.6 по ГОСТ 3241-91, а также диаметры проволок и количество проволок в слое в случае изменения их согласно п. 1.19 по ГОСТ 10505-76, п. 1.21 по ГОСТ 18899-73;
дату изготовления каната;
тип смазки каната;
номер барабана;
штамп технического контроля.
Предприятием-изготовителем к сертификату прикладывается анкета о сроках службы каната в условиях эксплуатации. По окончании эксплуатации каната потребитель обязан заполнить анкету и направить ее изготовителю.
3.1.5. При приеме канатов необходимо проверить:
наличие заводского документа о качестве (акта-сертификата);
соответствие данных акта-сертификата с данными каната на ярлыке барабана;
состояние упаковки;
состояние каната (по внешнему виду).
При несоответствии каната требованиям стандарта и наряду-заказу по механическим свойствам проволок, суммарному разрывному усилию, диаметру, длине, конструкции, смазке, типу и конструкции сердечника, а также при обнаружении заводского дефекта каната во время приемки и навески и скрытого заводского дефекта при эксплуатации потребитель должен направить на завод-изготовитель рекламацию, в которой указываются:
дата получения каната;
тип (ГОСТ или ТУ);
заводской номер;
диаметр и его длина;
причина браковки (вид дефекта).
Если канат был навешен на подъемную установку, то необходимо указать дату его навески.
К заводским дефектам каната относятся: отсутствие хотя бы одной проволоки, западание, перекрещивание и обрывы проволок, западание прядей, выступающие из прядей и каната проволоки, наличие на поверхности проволок трещин, ржавчины, срезанных участков, превышающих предельное отклонение по диаметру или профилю проволоки, неправильно соединенные сваркой концы проволок (наличие утолщений, выводящих диаметр (высоту) проволок за предельные отклонения). К заводским дефектам относятся: нарушение кратности свивки по длине каната; отклонения от требований стандартов и технических условий по нераскручиваемости и уравновешенности канатов; наличие на концах многослойных и закрытых канатов при поставке смещений внутренних слоев относительно наружных. Заводским дефектом является также наличие смазки на канате, который заказывался несмазанным, или не согласованная заказчиком замена сердечника из сизаля сердечником из другого органического материала (пеньки, полипропилена и др.).
К скрытым заводским дефектам, обнаруживаемым в процессе эксплуатации, относят: местные нарушения свивки органического сердечника (неравномерность диаметра по длине каната, западание прядей).
Наличие зазора между прядями в канатах с металлическим сердечником, выступающий между прядями ворс от органического сердечника в канатах с органическим сердечником, а также наличие в канатах без покрытия одной или нескольких оцинкованных проволок не являются основанием для браковки каната.
Канаты с органическим сердечником могут иметь зазоры между прядями, при этом диаметр каната не должен превышать предельных отклонений, приведенных в табл. 2.
Бракованный канат должен сохраняться до приезда представителя завода-изготовителя и при необходимости по требованию завода должен быть возвращен заводу без дополнительных его повреждений и нарушений целостности.
При передаче каната на другое предприятие к нему обязательно прилагается заводской документ о качестве (акт-сертификат). Если при выдаче с базы канат разрезают на части, то к каждой из них прилагают копию акта-сертификата, с последней частью выдают подлинник акта-сертификата.
3.1.6. Транспортирование канатов должно соответствовать группе условий хранения Ж1 по ГОСТ 15150-69 (на открытых площадках в макроклиматических районах с умеренным и холодным климатом в условно чистой атмосфере, содержащей сернистого газа не более 0,025 мг/м3, хлоридов - менее 0,3 мг/м2·сут).
При транспортировании и выгрузке должны быть приняты меры против повреждения витков каната.
Нельзя допускать сбрасывания барабанов с канатом даже с незначительной высоты.
На месте получения канатов надо иметь необходимые грузоподъемные средства для их выгрузки. При этом подъемно-транспортные средства должны быть рассчитаны на максимальный вес получаемых канатов.
Допускается перевозка канатов массой более 5 т автотранспортом с установкой барабанов плашмя. Погрузка и разгрузка барабанов в этом случае осуществляются путем продевания петли стропа по центральному отверстию барабана с заводкой снизу трубы диаметром 6 дюймов.
3.1.7. При погрузочно-разгрузочных работах запрещается нахождение людей под поднятым барабаном и на пути его перемещения. Чалочные приспособления должны быть в исправном состоянии. При проведении погрузочно-разгрузочных работ в ночное время место работ должно быть хорошо освещено.
3.1.8. Хранение канатов должно соответствовать ГОСТ 15150-69 (под навесами или в помещениях, где колебания температуры и влажности воздуха несущественно отличаются от колебаний на открытом воздухе в макроклиматических районах с умеренным и холодным климатом в атмосфере любых типов). При этом ось барабана должна быть параллельна полу. Допускается хранение барабанов массой более 5 т плашмя с подкладыванием брусьев под диск барабана. При многоярусной укладке барабанов первый ряд прочно закрепляют с помощью клиновых брусьев.
По согласованию с канатными заводами хранение резервных канатов производится на транспортных барабанах.
Допускается перемотка канатов с транспортных барабанов на лебедку или металлический барабан (моторную катушку) при соблюдении требований п. 2.1.16 настоящей Инструкции.
Поступившие на хранение канаты подлежат немедленному осмотру и смазке оголенных при транспортировании и погрузочно-разгрузочных работах участков каната канатной смазкой.
При длительном хранении канаты необходимо периодически (не реже чем через 6 мес) осматривать по наружному слою и смазывать канатной смазкой.
3.1.9. При перемотке каната с транспортного барабана на барабан вспомогательных устройств, предназначенных для навески каната, эти барабаны должны удовлетворять тем же требованиям, что и транспортные барабаны. Для вспомогательных устройств применяются металлические барабаны.
Для эффективного использования технического ресурса канаты должны смазываться как при изготовлении, так и при эксплуатации. При изготовлении смазывают органический сердечник, все проволоки при свивке их в прядь и канат в целом. В процессе эксплуатации смазку наносят на канат в целом.
3.2.1. Все канаты в шахтных стволах, за исключением головных подъемных канатов установок с одноканатными и многоканатными шкивами трения, должны смазываться консистентными антифрикционными канатными смазками.
На проволоки стальных канатов в процессе их изготовления наносятся смазка «Торсиол-35», «Эласкон-20» и другие смазки, допущенные к применению в установленном порядке.
3.2.2. На проволоки головных канатов подъемных установок со шкивами трения в процессе свивки прядей может наноситься консистентная фрикционная канатная смазка, например Ниростен Н 113, в количестве, не превышающем 75 г на 1 м2 поверхности проволок. На канат в целом смазку не наносят. Органический сердечник указанных канатов должен изготовляться сухим (без нанесения канатной смазки и пропиточного состава, а также при ограниченном до 5 % содержании минерального масла от постоянно сухой массы сердечника).
3.2.3. Тормозные канаты парашютов шахтных клетей необходимо заказывать оцинкованными без нанесения смазки на канат в целом.
При получении с завода канатов со смазкой каната в целом перед навеской заводская смазка должна быть удалена.
3.2.4. Все канаты в шахтных стволах, за исключением тормозных, должны в процессе эксплуатации регулярно смазываться. Периодичность нанесения смазки должна выбираться из условия поддержания целостности смазочного слоя на поверхности каната, но не реже одного раза в месяц.
3.2.5. Канаты головные для барабанных машин, уравновешивающие, проводниковые и отбойные должны смазываться эксплуатационной канатной смазкой, например «Торсиол-35Э», представляющей собой дисперсный раствор канатной технологической смазки «Торсиол-35» в органическом трудногорючем растворителе (температура самовоспламенения 380 °С) типа тетрахлорэтилен, который испаряется из слоя смазки после ее нанесения на канат.
3.2.6. Для смазки работающих канатов в процессе их эксплуатации допускается также применять консистентную технологическую канатную смазку. При этом смазка должна быть перед нанесением расплавлена (разогрета до температуры, указанной в ГОСТ или ТУ на эту смазку).
3.2.7. Для каждой эксплуатационной канатной смазки должна быть инструкция по безопасному применению, и лица, занятые выполнением работ по нанесению смазки, должны быть ознакомлены с этой инструкцией.
3.2.8. При осмотрах канатов под коушем, зажимами и т.д. эти места канатов также должны смазываться.
3.2.9. Перед нанесением смазки канат должен быть очищен от старой смазки и грязи. Очистка каната производится устройством с исполнительным органом в виде вращающейся от электродвигателя 1 в опорах 3 металлической щетки 2, изготовленной из стальной канатной проволоки диаметром не более 1 мм (рис. 27). В случае когда щетка не охватывает канат 4 по всему периметру, очистка производится либо двумя устройствами одновременно, либо одним за два прохода. Скорость движения каната при очистке должна быть 0,3 м/с, а частота вращения щеток - не менее 500 об/мин. Для очистки каната могут применяться и другие устройства.
Рис. 27. Схема устройства для очистки каната
3.2.10. Нанесение смазки производится через устанавливаемую на канат разъемную воронку, которая закрывается крышкой. Нижнее отверстие воронки по периметру каната должно быть уплотнено войлоком или ветошью, исключающими проливание смазки. Смазка должна заливаться в воронку непосредственно из поставляемой тары. Нанесение смазки на канаты поверхностных подъемных установок производится со специальных площадок, установка которых не должна приводить к нарушению вентиляционного режима, а на канаты подземных установок - с верхней приемной площадки за пределами камеры. Остальные требования должны выполняться согласно инструкциям по применению конкретного вида смазки.
3.2.11. Нанесение эксплуатационной фрикционной канатной смазки должно производиться с использованием специального устройства, обеспечивающего покрытие каната равномерной тонкой пленкой и допущенного к эксплуатации в установленном порядке.
3.2.12. Расход смазки (кг) определяется по следующим формулам:
для круглопрядных канатов
![]()
для трехграннопрядных канатов
![]()
для канатов закрытой конструкции
![]()
где d и l - диаметр (мм) и длина (м) каната соответственно.
3.2.13. Скорость движения каната в стволе со свежей струей воздуха или в наклонной выработке при нанесении смазки должна быть не более 0,3 м/с.
Допускается наносить смазку при большей скорости. При этом во избежание превышения предельно допустимой концентрации (ПДК) растворителя в воздухе (10 мг/м3) скорость движения каната (м/с) должна быть не более значения, определяемого формулой
![]()
где Qв - количество воздуха, проходящего по стволу или по наклонной выработке, м3/с;
qc = 1,0 г/м3 - нормируемое из условия ПДК количество смазки на 1 м3 воздуха, проходящего по стволу или по наклонной выработке;
Q - расход смазки, кг.
В стволах с исходящей струей скорость движения каната по условию ПДК не лимитируется.
3.2.14. После нанесения смазки работу подъемной установки можно начинать спустя не менее одного часа.
3.2.15. Смазка должна храниться в герметически закрытой таре в неотапливаемом проветриваемом помещении.
3.2.16. Категорически запрещается вблизи места нанесения смазки, а также в месте ее хранения курить, пользоваться открытым огнем или иметь предметы, нагретые до температуры выше 125 °С.
3.2.17. Пустую тару из-под смазки необходимо хранить с полностью открытой крышкой не менее суток в хорошо проветриваемом месте, где нет прямых солнечных лучей, а также открытого огня и нагретых до температуры 125 °С и выше предметов. В таких же условиях не менее суток должны храниться войлочные и матерчатые уплотнения разъемной воронки, а также ветошь, которая использовалась для обтирания смазки, после чего они могут быть уложены в тару, где хранятся использованные обтирочные материалы.
3.2.18. Смазку, попавшую на зонт подъемного сосуда, можно удалять с него не ранее чем через сутки.
3.2.19. Категорически запрещается поджигать остатки смазки в таре или мыть тару щелочью или кислотой. Тара и воронка могут очищаться бензином от остатков смазки не ранее чем через сутки.
3.2.20. На выполнение работ, связанных с нанесением смазки на канат, выдается письменный наряд с указанием ответственных лиц и мер безопасности.
Подвесные устройства предназначены для присоединения шахтных сосудов и противовесов к подъемному канату.
Подвесное устройство состоит из прицепного устройства (коуша) и подвески.
Прицепное устройство (коуш) - это узел, служащий для соединения подъемного каната с подвеской (запанцировки подъемного каната).
Подвеска - это соединительное звено между прицепным устройством и подъемным сосудом или противовесом. Подвеску различают одинарную и двойную. Двойной подвеской называют подвеску, имеющую два независимых вида прикрепления прицепного устройства (коуша) к сосуду. Двойная подвеска выполняется таким образом, что нагрузка от сосуда на подъемный канат может передаваться через одну либо через обе подвески. В первом случае несущую нагрузку подвески называют рабочей, а вторую - предохранительной, во втором случае обе называют рабочими.
Подвесные устройства клетей, снабженных парашютами, включают еще и элементы парашютных устройств.
В качестве прицепных устройств применяют грушевидные (симметричные и несимметричные), клиновые, рычажно-клиновые и другие коуши, которые прошли в установленном порядке приемочные испытания в шахтных стволах.
Конструкция прицепного устройства и его параметры должны обеспечивать надежную запанцировку в нем обильно смазанных канатов.
3.3.1. При применении грушевидных коушей должны соблюдаться следующие требования:
при использовании несимметричного коуша грузовая (рабочая) ветвь каната должна огибать сторону коуша, имеющую меньший эксцентриситет;
свободная ветвь каната должна прикрепляться к рабочей не менее чем шестью (пятью) четырехболтовыми зажимами для головных (уравновешивающих) канатов, при этом дальний от коуша зажим используется как контрольный;
при креплении канатов расстояния между центрами рабочих зажимов должны быть равными 200 - 300 мм;
между контрольным и последним рабочим зажимом канат может иметь петлю, вытяжка которой в процессе эксплуатации указывает на необходимость перекрепления каната на прицепном устройстве;
в отдельных случаях, при соединении канатов с помощью зажимов на вспомогательных операциях, количество зажимов может определяться расчетом. При этом давление на канат не должно превышать 50 МПа для канатов прядевой конструкции. При строго контролируемой затяжке болтов указанные удельные давления могут быть увеличены до 40 %. Расчетный коэффициент трения о поверхность зажима должен быть 0,15 - для смазанного каната прядевой конструкции и 0,17 - для смазанного каната закрытой конструкции;
планки зажимов для крепления канатов должны иметь канавки, радиус которых должен быть на 0,7 - 1,0 мм больше половины диаметра применяемого каната. Во избежание пережимов проволок края канавки планок должны иметь закругления радиусом 0,15 диаметра каната. Глубина канавки должна обеспечивать величину зазора между планками в затянутом состоянии не менее 0,1 диаметра каната.
Количество четырехболтовых рабочих зажимов при креплении свободной ветви каната к грузовой определяется по формуле
![]()
Контролируемое усилие затяжки одного болта
![]()
Контролируемое усилие затяжки первого от коуша ряда болтов
![]()
где Q - статическая нагрузка на подвесное устройство, Н;
k - запас прочности устройства;
α - угол обхвата канатом коуша, рад;
α1 - угол геометрии клина (см. рис. 31), рад.
3.3.2. Клети для людских и грузолюдских одноканатных подъемов, головные пассажирские вагонетки для углов наклона свыше 50° и грузолюдские клети для наклонных выработок должны иметь двойную независимую подвеску (рабочую и предохранительную). Предохранительная подвеска для противовесов необязательна. Крепление рабочей и предохранительной подвесок осуществляется непосредственно к коушу.
Предохранительная подвеска может быть выполнена цепями. Конструкция цепей должна исключать возможность возникновения «жучков». Запрещается применение цепей, изготовленных посредством кузнечной сварки или ручной электросварки. При расчете предохранительной подвески необходимо считать, что вес клети и ее полная нагрузка распределяются равномерно на все части предохранительного устройства с учетом угла наклона подвесок.
Подвесное устройство жесткого типа, применяемое у клетей, снабженных парашютами, должно иметь два независимых звена подвески: основное звено - верхняя балка и основные продольные тяги; резервное звено - элементы прицепного устройства и шток парашютной пружины.
Головные вагонетки для перевозки людей по наклонным выработкам с углом наклона до 30° могут иметь одинарную цепь подвески. В качестве подвески у этих вагонеток может использоваться центровой стержень, к которому непосредственно присоединяется прицепное устройство.
3.3.3. Крепление подвесного устройства (головных и уравновешивающих канатов) к сосудам и противовесам многоканатного грузового и грузолюдского подъема должно осуществляться не менее чем в двух точках. Допускается крепление подвесного устройства в одной точке при наличии предохранительной подвески, равнопрочной рабочей. Допускается количество подвесок, равное числу подъемных головных (уравновешивающих) канатов.
Расчет подвесного устройства многоканатного подъема должен производиться исходя из условия равномерного распределения нагрузок между ветвями канатов.
На каждом многоканатном подъеме, независимо от его назначения, должно быть не менее двух уравновешивающих канатов. Круглые уравновешивающие канаты должны прикрепляться к сосудам посредством вертлюжных устройств.
3.3.4. Балки сосудов и противовесов, к которым крепятся подвесные устройства головных и уравновешивающих канатов и узлы соединения подвесных устройств с металлоконструкцией сосуда, должны быть равнопрочны подвесным устройствам.
3.3.5. Одноэтажные подвесные полки должны быть подвешены к канату не менее чем в четырех точках.
Двух- или многоэтажные полки и их крепления к головному канату должны быть выполнены так, чтобы при их подвеске без раскрепления или при перемещении по стволу не нарушалась горизонтальная устойчивость и исключалась возможность их заклинивания.
Соединение с головным канатом подвесных цепей, крюков, полков, насосов, трубопроводов, натяжных устройств и другого оборудования должно исключать возможность их самопроизвольного разъединения.
При проходке стволов в случае применения для подвесного оборудования канатов длиной более 1000 м допускается соединение их при помощи коуша-счалки, состоящей из грушевидных коушей, осей, планок, зажимов.
Для подвески кабелей в стволе должны применяться закрытые подъемные (ГОСТ 10506-76) и малокрутящиеся (ГОСТ 3088-80, ГОСТ 16827-81, ГОСТ 16828-81) канаты.
3.3.6. Запрещается внесение изменений в конструкцию подвесных устройств и элементов их крепления к подъемным сосудам и противовесам без согласования с проектной организацией и заводом-изготовителем.
3.3.7. Монтаж подвесных и прицепных устройств на шахте должен производиться в соответствии с указаниями по монтажу и обкатке руководств по эксплуатации соответствующих устройств.
3.3.8. Новые конструкции подвесных и прицепных устройств допускаются к применению в установленном порядке.
3.3.9. Все вновь создаваемые для подъемных установок вертикальных стволов подвесные устройства должны быть подвергнуты лабораторным испытаниям, включающим испытания:
устанавливающие прочность соединения каната с подвесным устройством (защемляющую способность прицепного устройства);
на усталость участка каната, закрепленного в прицепном устройстве;
подвесного устройства на прочность.
Испытаниям подвергают два образца подвесных устройств, один из них испытывается на защемляющую способность и на разрушающую нагрузку, другой - на усталость запанцированного в нем каната в условиях динамической нагрузки.
Испытания на защемляющую способность подвесного устройства грузолюдского подъема проводят либо с рабочей подвеской, либо с предохранительной (в зависимости от возможностей испытательного оборудования).
Испытаниям на прочность подвергают обе подвески подвесного устройства грузолюдского подъема (рабочую и предохранительную).
При испытании подвесного устройства подъемного сосуда многоканатной установки испытанию подвергают только одну цепь подвески из числа одинаковых составляющих устройства.
Испытаниям на прочность и защемляющую способность подвергают каждый типоразмер подвесного устройства.
Испытания запанцированного каната на усталость проводят лишь на одном типоразмере прицепного устройства, а полученные результаты распространяют на весь разработанный ряд подвесных устройств.
Испытание на защемляющую способность каждого типоразмера прицепного устройства производят с канатами меньшего и большего диаметра из числа предусмотренных для запанцировки в нем.
При этом, если в один типоразмер прицепного устройства входит несколько комплектов рабочих заклинивающих поверхностей, то испытания на защемляющую способность с каждым набором рабочих заклинивающих поверхностей производят с минимальным диаметром для каждого набора, а также с канатом наибольшего диаметра для данного типоразмера прицепного устройства.
Лабораторные испытания вновь создаваемых подвесных устройств проводятся в аккредитованных в установленном порядке организациях.
Подвесные устройства, в конструкцию которых вносятся изменения, в результате чего может уменьшиться их прочность (изменение поперечных размеров, замена металла, изменение нагрузки на детали и т.д.) либо измениться защемляющая способность (изменение рабочих размеров клина, угла его и т.д.), должны подвергаться лабораторным испытаниям.
3.3.10. При освоении каждым заводом нового типа подвесного устройства (серийного или индивидуального) изготовляется один образец от каждого типоразмера подвесного устройства и производится его испытание на прочность и защемляющую способность, независимо оттого, что данное подвесное устройство уже изготовлялось другими заводами.
Для испытания каждого типоразмера прицепного устройства на защемляющую способность берется канат наименьшего диаметра из предусмотренных для запанцировки.
Результаты испытаний оформляются актом.
Этот акт при условии положительных результатов испытаний дает право на изготовление опытной партии подвесных или прицепных устройств или серийное их изготовление.
В прицепных устройствах, содержащих грушевидные коуши, сами коуши и зажимы для соединения ветвей канатов испытаниям не подвергаются.
3.3.11. Каждое изготовленное подвесное устройство для сосудов и противовесов вертикальных стволов должно подвергаться заводским испытаниям в целях выявления отступления от чертежей при изготовлении, проверки комплектности перед отгрузкой заказчику, определения надежности работы отдельных деталей и устройства в целом.
Испытания подвесного устройства производят при трехкратной статической нагрузке по отношению к максимальной для данного типоразмера. При этом используется канат того типа и диаметра, который эксплуатируется на шахте.
В тех случаях, когда конкретный канат по прочности не позволяет достичь указанной нагрузки, испытательное усилие ограничивается разрывным усилием запанцированного в устройстве каната.
Испытания на трехкратную нагрузку могут быть заменены ультразвуковой (магнитной) дефектоскопией деталей подвесного устройства. Результаты проведенных заводских испытаний каждого подвесного устройства оформляются актом. Этот акт, подписанный начальником ОТК завода-изготовителя, высылается заказчику вместе с подвесным устройством.
На каждом подвесном устройстве четко выбивают: заводской номер, дату изготовления, максимальную нагрузку (на которую рассчитано устройство), диаметр подъемного каната, под который изготовлено это устройство.
3.3.12. При навеске запас прочности (по отношению к расчетной, статической нагрузке) должен быть не менее:
13-кратного - для подвесных и прицепных устройств людских подъемных установок, а также для прицепных устройств и дужек проходческих бадей и спасательных лестниц;
10-кратного - для подвесных и прицепных устройств сосудов вертикальных подъемов и наклонных подъемов с концевыми канатами независимо от их назначения, монорельсовых и напочвенных дорог, прицепных устройств стволового проходческого оборудования (полков, опалубок и т.д.) и уравновешивающих канатов подъемных установок. Запасы прочности прицепных устройств для уравновешивающих канатов должны определяться по отношению к их весу. Подвесные и прицепные устройства грузолюдских подъемных установок должны обеспечивать 13-кратный запас прочности по отношению к весу максимально спускаемого количества людей;
6-кратного - для прицепных устройств проводниковых и отбойных канатов, сцепных устройств вагонеток и прицепных устройств при откатке бесконечным канатом;
4-кратного по отношению к пределу текучести материала - для прицепных устройств типа «баранчик» при откатке бесконечным канатом.
Для подъемных установок при креплении подвесного устройства в нескольких точках принимается равномерное распределение расчетной нагрузки между элементами крепления.
3.3.13. Каждый тип подвесного устройства должен обеспечивать прочность закрепленного в нем каната не менее 85 % агрегатной прочности нового каната.
Дужка бадьи подлежит замене или ремонту при износе ее проушины или сменной втулки в проушине более чем на 5 % диаметра оси.
Суммарный износ проушины или сменной втулки дужки и оси соединяющей ее с бадьей, не должен превышать 10 % диаметра оси.
Прицепные устройства бадей должны иметь приспособления, надежно закрывающие зев крюка во время движения бадьи и исключающие ее самопроизвольную отцепку.
При проведении наклонных или вертикальных выработок, где производится подъем и спуск людей и грузов, подвесные устройства перед навеской должны быть испытаны на двойную концевую нагрузку; такие же испытания производятся не реже одного раза в полугодие, за исключением устройств подвесного проходческого оборудования.
Результаты испытаний должны заноситься в Книгу осмотра подъемной установки.
3.3.14. В качестве прицепных устройств сосудов и противовесов вертикальных подъемов шахт, находящихся в эксплуатации, рекомендуется применять клиновые коуши с двусторонним зажатием каната (типа КД). Могут применяться коуши с односторонним зажатием каната (типа ККБ) и рычажно-клиновые коуши (типа КРГ). Для индивидуальных сосудов допускается применять симметричные и несимметричные грушевидные коуши с плоскими четырехболтовыми стальными зажимами.
Применение зажимов из круглой стали во избежание пережима каната запрещается.
Для повышения надежности удержания каната в коушах типа ККБ и КРГ свободный конец каната дополнительно крепится крестовым зажимом.
В клиновых коушах с одно- и двусторонним зажатием каната типа КД и ККБ каждый типоразмер коуша может изготовляться заводами с несколькими типоразмерами вертикальных клиньев, каждый из которых позволяет запанцировывать ограниченный диапазон диаметров канатов.
Параметры коушей типа КД
|
Статическая нагрузка, кН |
Диаметр каната, мм |
Основные размеры, мм |
Масса, кг |
|||||||||
|
А |
Б |
В |
Г |
R |
H |
r |
b |
h |
||||
|
1 |
2 |
3 |
4 |
5 |
6 |
7 |
8 |
9 |
10 |
11 |
12 |
13 |
|
УП6,3.070 |
|
20 - 24 |
|
|
|
|
|
6 |
14 |
17 |
13 |
|
|
для скипов - 01 |
63 |
24 - 28 |
754 |
322 |
72 |
70 |
110 |
8 |
16 |
19 |
17 |
48 |
|
- 02 |
|
28 - 33 |
|
|
|
|
|
10 |
18 |
22 |
20 |
|
|
- 03 |
|
33 - 36,5 |
|
|
|
|
|
12 |
20 |
25 |
23 |
|
|
для клетей - 04 |
|
20 - 24 |
|
|
|
|
|
6 |
14 |
17 |
13 |
|
|
- 05 |
63 |
24 - 28 |
754 |
322 |
72 |
70 |
110 |
8 |
16 |
19 |
17 |
51 |
|
- 06 |
|
28 - 33 |
|
|
|
|
|
10 |
18 |
22 |
20 |
|
|
- 07 |
|
33 - 36,5 |
|
|
|
|
|
12 |
20 |
25 |
23 |
|
|
УП12,5.070 |
|
27 - 32 |
|
|
|
|
|
10 |
18 |
19 |
15 |
|
|
для скипов - 01 |
125 |
32 - 37 |
996 |
423 |
87 |
100 |
140 |
12 |
21 |
21 |
20 |
113 |
|
- 02 |
|
37 - 42 |
|
|
|
|
|
15 |
23 |
24 |
23 |
|
|
- 03 |
|
42 - 46,5 |
|
|
|
|
|
18 |
25 |
27 |
26 |
|
|
для клетей - 04 |
|
27 - 32 |
|
|
|
|
|
10 |
18 |
19 |
18 |
|
|
- 05 |
125 |
32 - 37 |
996 |
423 |
87 |
100 |
140 |
12 |
21 |
21 |
20 |
126 |
|
- 06 |
|
37 - 42 |
|
|
|
|
|
15 |
23 |
24 |
23 |
|
|
- 07 |
|
42 - 46,5 |
|
|
|
|
|
18 |
25 |
27 |
26 |
|
|
УП20.070 |
|
33 - 37 |
|
|
|
|
|
10 |
21 |
19 |
18 |
|
|
для скипов - 01 |
200 |
37 - 41 |
1306 |
534 |
110 |
125 |
180 |
12 |
23 |
21 |
20 |
218 |
|
- 02 |
|
41 - 46 |
|
|
|
|
|
15 |
25 |
23 |
22 |
|
|
- 03 |
|
46 - 52 |
|
|
|
|
|
17 |
27 |
25 |
24 |
|
|
- 04 |
|
52 - 58,5 |
|
|
|
|
|
19 |
29 |
28 |
26 |
|
|
для клетей - 05 |
200 |
33 - 37 |
|
|
|
|
|
10 |
21 |
19 |
18 |
|
|
- 06 |
|
37 - 41 |
1306 |
534 |
110 |
125 |
180 |
12 |
23 |
21 |
20 |
238 |
|
- 07 |
|
41 - 46 |
|
|
|
|
|
15 |
25 |
23 |
22 |
|
|
- 08 |
|
46 - 52 |
|
|
|
|
|
17 |
27 |
25 |
24 |
|
|
- 09 |
|
52 - 58,5 |
|
|
|
|
|
19 |
29 |
28 |
26 |
|
|
УП25.070 |
|
36,5 - 41 |
|
|
|
|
|
12 |
22 |
24 |
23 |
|
|
для скипов - 01 |
250 |
41 - 44,5 |
1340 |
550 |
125 |
135 |
180 |
14 |
24 |
26 |
25 |
260 |
|
- 02 |
|
44,5 - 48,5 |
|
|
|
|
|
16 |
26 |
28 |
27 |
|
|
- 03 |
|
48,5 - 53,5 |
|
|
|
|
|
18 |
28 |
30 |
29 |
|
|
- 04 |
|
53,5 - 58,5 |
|
|
|
|
|
20 |
30 |
32 |
31 |
|
|
для клетей - 05 |
|
36,5 - 41 |
|
|
|
|
|
12 |
22 |
24 |
23 |
|
|
- 06 |
|
41 - 44,5 |
|
|
|
|
|
14 |
24 |
26 |
25 |
|
|
- 07 |
250 |
44,5 - 48,5 |
1340 |
550 |
125 |
135 |
180 |
16 |
26 |
28 |
27 |
275 |
|
- 08 |
|
48,5 - 53,5 |
|
|
|
|
|
18 |
28 |
30 |
29 |
|
|
- 09 |
|
53,5 - 58,5 |
|
|
|
|
|
20 |
30 |
32 |
31 |
|
|
УП30.070 |
|
42 - 46 |
|
|
|
|
|
15 |
25 |
24 |
23 |
|
|
для скипов - 01 |
300 |
46 - 50 |
1426 |
600 |
125 |
150 |
200 |
17 |
27 |
26 |
25 |
338 |
|
- 02 |
|
50 - 55 |
|
|
|
|
|
19 |
30 |
29 |
28 |
|
|
- 03 |
|
55 - 60,5 |
|
|
|
|
|
21 |
32 |
32 |
31 |
|
|
- 04 |
|
60,5 - 65 |
|
|
|
|
|
23 |
34 |
35 |
34 |
|
|
для клетей - 05 |
|
42 - 46 |
|
|
|
|
|
15 |
25 |
24 |
23 |
|
|
- 06 |
300 |
46 - 50 |
1426 |
600 |
125 |
150 |
200 |
17 |
27 |
26 |
25 |
361 |
|
- 07 |
|
50 - 55 |
|
|
|
|
|
19 |
30 |
29 |
28 |
|
|
- 08 |
|
55 - 60,5 |
|
|
|
|
|
21 |
32 |
32 |
31 |
|
|
- 09 |
|
60,5 - 65 |
|
|
|
|
|
23 |
34 |
35 |
34 |
|
|
УПС46.010 |
|
44 - 50 |
1615 |
680 |
145 |
195 |
220 |
14 |
27 |
24 |
24 |
|
|
для скипов - 01 |
460 |
50 - 55 |
|
|
|
|
|
16 |
30 |
26 |
26 |
514 |
|
- 02 |
|
55 - 60 |
|
|
|
|
|
19 |
32 |
29 |
29 |
|
|
- 03 |
|
60 - 65 |
|
|
|
|
|
21 |
34 |
31 |
31 |
|
3.3.14.1. Коуш КД (рис. 28, табл. 7) состоит из листов 6, соединенных между собой вкладышами 2 и 5 с помощью болтов, клина 1, зажима 3, амортизатора 4 и горизонтального клина 7.
Удержание каната обеспечивается за счет двустороннего зажатия его между клином и вкладышами 2 и 5. Горизонтальный клин фиксирует положение клина 1 относительно корпуса и предотвращает его выпадение при напуске каната. Перед заводкой каната в коуш клин крепится планкой к корпусу (через имеющиеся отверстия в листах и клине коуша), затем конец каната заводится в коуш между вертикальным вкладышем и клином, между наклонным вкладышем и клином и крепится зажимом к наклонному вкладышу.
Зажатие каната в коуше производится путем натяжения его с помощью подъемной машины или других подъемных средств. После зажатия каната коуш закрепляется относительно корпуса горизонтальным клином.
Если горизонтальный клин забивается свободно, необходимо под него в отверстие поставить прокладки и закрепить шплинтом от горизонтального смещения, затем на корпусе коуша монтируют амортизаторы для гашения колебаний каната, а на холостой ветви каната на расстоянии 100 мм от зажима ставят метку.
Рис. 28. Устройство прицепное типа КД
В процессе работы коуша необходимо регулярно его осматривать и при необходимости с помощью горизонтального клина производить подтяжку (относительно корпуса) клина, огибаемого канатом.
3.3.14.2. Коуш типа ККБ (рис. 29, табл. 8) состоит из корпуса 5, клина 1, ограничителя (гасителя) колебаний 4, натяжного устройства 3 и крестового зажима 2. Ограничитель колебаний выполнен в виде цилиндрического стакана с набором в нем упругих резиновых втулок. Подвижный клин имеет по наклонной и круговой торцевым поверхностям канавку (ручей) под канат, а также гладкую опорную поверхность, контактирующую с вертикальным вкладышем корпуса. При заделке в коуше канат пропускается через скобу ограничителя колебаний, огибает криволинейную часть клина и проходит между наклонным вкладышем корпуса и клином. После затяжки каната в коуше подъемной машиной свободный конец каната закрепляется в форме петли с помощью крестового зажима, расположенного над корпусом на расстоянии 50 мм. Для предотвращения выпадения клина из корпуса при напуске каната необходимо затянуть гайки натяжного устройства. В процессе работы коуша необходимо регулярно его осматривать и при необходимости производить подтяжку гаек натяжного устройства.
3.3.14.3. Коуш типа КРГ (рис. 30, табл. 9) состоит из следующих элементов: вертикальных рабочих клиньев 4, обратных клиньев 3, горизонтальных клиньев 2, рычагов подвески 1, корпуса 5, упорной втулки 9, осей 6, гайки 8 и опоры 7.
Для обеспечения надежности заклинивания каждому диаметру каната должны соответствовать только строго определенные размеры вертикальных рабочих клиньев. При креплении каната в коуше канат пропускается между вертикальными клиньями, освобожденными от горизонтальных. Упорной втулкой вертикальные клинья поднимаются до соприкосновения их с канатом, после чего дальнейшее зажатие каната производится горизонтальными клиньями путем расклинивания последних между обратными и вертикальными клиньями. Затем упорная втулка доворачивается до упора в клинья и с помощью подъемного сосуда, противовеса (или другого груза) через рычаги коуша производится окончательное зажатие каната.
Свободный конец каната прикрепляется к рабочей ветви с помощью крестового зажима, при этом между торцом упорной втулки и зажимом должен быть обеспечен контролируемый (40 мм) зазор, уменьшение которого в процессе эксплуатации свидетельствует о необходимости дополнительного зажатия каната горизонтальными клиньями, после чего упорная втулка доворачивается до упора в клинья.
Рис. 29. Устройство прицепное типа ККБ
Параметры коушей типа ККБ
|
Статическая нагрузка, кН |
Диаметр каната прядевой конструкции, мм |
Основные размеры, мм |
Масса, кг |
|||||||
|
А |
Б |
В |
Г |
d |
r |
К |
||||
|
1ККБ. 000 - 02 |
65 |
19 - 23 |
837 |
313 |
80 |
38 |
50 |
11,5 |
5 |
93 |
|
- 03 |
|
22 - 26 |
|
|
|
|
|
13 |
6 |
|
|
2ККБ. 000 - 03 |
|
22 - 26 |
|
|
|
|
|
13 |
6 |
|
|
- 04 |
116 |
27 - 33 |
955 |
396 |
125 |
48 |
70 |
16,5 |
8 |
118 |
|
- 05 |
|
30 - 36 |
|
|
|
|
|
18 |
9 |
|
|
3ККБ. 000 - 03 |
|
30 - 36 |
|
|
|
|
|
18 |
9 |
|
|
- 04 |
200 |
36 - 42 |
1248 |
528 |
150 |
64 |
90 |
21 |
10 |
301 |
|
- 05 |
|
40 - 46 |
|
|
|
|
|
23 |
12 |
|
|
4ККБ. 000 - 04 |
|
36 - 42 |
|
|
|
|
|
21 |
10 |
|
|
- 05 |
305 |
40 - 46 |
1415 |
563 |
190 |
74 |
100 |
23 |
12 |
397 |
|
- 06 |
|
44 - 50 |
|
|
|
|
|
25 |
13 |
|
|
- 07 |
|
49 - 55 |
|
|
|
|
|
27,5 |
15 |
|
|
5ККБ. 000 - 04 |
|
44 - 50 |
|
|
|
|
|
25 |
13 |
|
|
- 05 |
386 |
49 - 55 |
1604 |
638 |
220 |
84 |
115 |
27,5 |
15 |
507 |
|
- 06 |
|
54 - 60 |
|
|
|
|
|
30 |
16 |
|
|
- 07 |
|
59 - 65 |
|
|
|
|
|
32,5 |
18 |
|
|
6ККБ. 000 - 03 |
|
49 - 55 |
|
|
|
|
|
27,5 |
15 |
|
|
- 04 |
460 |
54 - 60 |
1737 |
686 |
255 |
94 |
130 |
30 |
16 |
736 |
|
- 05 |
|
59 - 65 |
|
|
|
|
|
32,5 |
18 |
|
3.3.14.4. Закрепление конца подъемного каната закрытой конструкции (для скипа или клети) может производиться в несимметричном коуше 1 (рис. 31) с зажимами 2. Количество зажимов аналогично канатам прядевой конструкции: не менее пяти рабочих и один контрольный. Так как канат обладает гладкой поверхностью и большой жесткостью поперечному сжатию, рабочие зажимы приняты трехплашечными. Контрольный зажим - крестовый.
Рис. 30. Клиновые коуши типов КРГ, ККП
Параметры коушей типа КРГ
|
Статическая нагрузка, кН |
Диаметр каната прядевой конструкции, мм |
Размеры канавок под канат, мм |
Основные размеры, мм |
Масса, кг |
|||||
|
Радиус |
Глубина |
А |
Б |
В |
Г |
||||
|
1 |
2 |
3 |
4 |
5 |
6 |
7 |
8 |
9 |
10 |
|
КРГ 1А.000 |
65 |
17,0 - 18,5 |
11 |
5 |
400 |
300 |
295 |
82 |
60 |
|
|
|
19,0 - 20,5 |
11 |
6 |
|
|
|
|
|
|
|
|
21,0 - 23,0 |
13 |
7 |
|
|
|
|
|
|
|
|
23,5 - 25,0 |
14 |
8 |
|
|
|
|
|
|
|
|
25,5 - 27,0 |
15 |
9 |
|
|
|
|
|
|
|
|
27,5 - 29,0 |
16 |
10 |
|
|
|
|
|
|
|
|
29,5 - 30,5 |
17 |
11 |
|
|
|
|
|
|
КРГ 2А.000 |
90 |
23,5 - 24,5 |
14 |
7 |
440 |
340 |
325 |
98 |
80 |
|
|
|
25,0 - 26,5 |
14 |
8 |
|
|
|
|
|
|
|
|
27,0 - 29,0 |
15 |
9 |
|
|
|
|
|
|
|
|
29,5 - 31,5 |
17 |
10 |
|
|
|
|
|
|
|
|
32,0 - 34,0 |
19 |
11 |
|
|
|
|
|
|
|
|
34,5 - 36,0 |
20 |
12 |
|
|
|
|
|
|
КРГ 3А.000 |
130 |
28,0 - 30,5 |
17 |
9 |
540 |
410 |
385 |
108 |
150 |
|
|
|
31,0 - 33,0 |
18 |
10 |
|
|
|
|
|
|
|
|
33,5 - 35,5 |
19 |
11 |
|
|
|
|
|
|
|
|
36,0 - 38,0 |
21 |
12 |
|
|
|
|
|
|
|
|
38,5 - 40,5 |
22 |
13 |
|
|
|
|
|
|
|
|
41,0 - 43,0 |
23 |
14 |
|
|
|
|
|
|
|
|
43,5 - 45,0 |
24 |
15 |
|
|
|
|
|
|
КРГ 4А.000 |
190 |
32,0 - 35,0 |
19 |
10 |
615 |
470 |
440 |
130 |
210 |
|
|
|
35,5 - 38,5 |
21 |
11 |
|
|
|
|
|
|
|
|
39,0 - 41,0 |
22 |
13 |
|
|
|
|
|
|
|
|
42,0 - 44,5 |
23 |
14 |
|
|
|
|
|
|
|
|
45,0 - 47,5 |
26 |
16 |
|
|
|
|
|
|
|
|
48,5 - 52,0 |
28 |
18 |
|
|
|
|
|
|
|
|
53,0 - 56,5 |
30 |
20 |
|
|
|
|
|
|
КРГ 5А.000 |
265 |
38,5 - 40,5 |
22 |
12 |
678 |
500 |
495 |
150 |
300 |
|
|
|
41,0 - 43,0 |
23 |
13 |
|
|
|
|
|
|
|
|
43,5 - 46,0 |
24 |
14 |
|
|
|
|
|
|
|
|
46,5 - 49,0 |
26 |
16 |
|
|
|
|
|
|
|
|
50,5 - 53,0 |
28 |
18 |
|
|
|
|
|
|
|
|
54,0 - 56,5 |
30 |
20 |
|
|
|
|
|
|
|
|
57,0 - 60,0 |
32 |
22 |
|
|
|
|
|
|
|
|
60,5 - 64,0 |
34 |
24 |
|
|
|
|
|
|
КРГ 6А.000 |
390 |
42,5 - 46,0 |
25 |
13 |
783 |
600 |
585 |
190 |
570 |
|
|
|
46,5 - 50,5 |
27 |
15 |
|
|
|
|
|
|
|
|
51,0 - 55,0 |
30 |
17 |
|
|
|
|
|
|
|
|
55,5 - 59,5 |
32 |
19 |
|
|
|
|
|
|
|
|
60,0 - 64,0 |
34 |
21 |
|
|
|
|
|
Рис. 31. Грушевидный несимметричный коуш с зажимами конструкции МакНИИ
Рис. 32. Устройство прицепное типа УПП
3.3.14.5. На проходческих подъемных установках крепление проходческих бадей к подъемному канату осуществляется при помощи прицепных устройств типов УПП и УПЗ.
А. Устройство прицепное проходческое для прядевых канатов УПП (рис. 32, табл. 10) состоит из следующих элементов: крюка 1, защелки 2, траверсы 3, подшипника 4, щек 5, гайки 6, клиновой муфты 7, клина 8, контрольных зажимов 9, специального зажима 10 и шайбы амортизатора 11.
Специальный зажим с резиновым амортизатором является упором направляющей рамки. При креплении в коуше канат огибается вокруг клина и вставляется в муфту, при этом длина свободного конца каната для установки контрольных зажимов должна составлять примерно 500 мм. Затем к клиновой муфте присоединяются щеки и крюк, после чего производится обтяжка каната при нагрузке, равной грузоподъемности прицепного устройства, и устанавливаются контрольные зажимы таким образом, чтобы на свободном конце каната образовалась контрольная петля.
Таблица 10
Параметры устройств типа УПП
|
Статическая нагрузка, кН |
Диаметр каната прядевой конструкции, мм |
Основные размеры, мм |
Масса, кг |
|||
|
А |
В |
Размеры крюка в плане, мм |
||||
|
УПП-2,8 |
28 |
18 - 20 |
805 |
1335 |
280×156 |
85 |
|
- 01 |
28 |
20 - 23 |
805 |
1335 |
280×156 |
84 |
|
- 02 |
28 |
23 - 26 |
865 |
1455 |
280×156 |
92 |
|
УПП-5,0 |
50 |
20 - 23 |
975 |
1705 |
340×172 |
112 |
|
- 01 |
50 |
23 - 26 |
975 |
1705 |
340×172 |
113 |
|
- 02 |
50 |
26 - 30 |
975 |
1705 |
340×172 |
114 |
|
- 03 |
50 |
30 - 35 |
1015 |
1745 |
340×172 |
118 |
|
УПП-8,0 |
80 |
34 - 36 |
1120 |
1770 |
340×172 |
165 |
|
- 01 |
80 |
36 - 38 |
1120 |
1770 |
340×172 |
165 |
Зев крюка выполнен так, что дужка бадьи входит в него только при оттянутой до конца защелке. Защелка снабжена замком, предотвращающим ее отпирание. На тыльной стороне крюка приваривается упор, который препятствует открыванию защелки. В корпусе защелки по оси установлена обойма, внутри которой имеется пружина кручения, удерживающая обойму от проворачивания. В рабочем положении кулачок обоймы упирается в упор крюка и не дает защелке самопроизвольно открываться. Открывание защелки производится следующим образом: при опускании бадьи на забой проходчик, положив пальцы руки или ладонь на планку обоймы, поворачивает ее до тех пор, пока упор обоймы не выйдет за пределы упора, установленного на крюке (угол поворота около 60°), после чего защелка поднимается вверх. Запирание защелки производится автоматически под действием ее собственного веса. Для того чтобы навесить дужку бадьи на крюк, необходимо предварительно повернуть обойму, сняв таким образом защелку с замка, а затем произвести зацепление крюка с дужкой.
Б. Устройство прицепное проходческое для закрытых канатов УПЗ (рис. 33, табл. 11) состоит из следующих элементов: крюка 1, защелки 2, нижней 3 и верхней 9 траверс, упорного подшипника 4, щек 5, гайки 6, концевой страхующей муфты 7, втулки клиновой 8, амортизатора 10.
Рис. 33. Устройство прицепное типа УПЗ
В прицепном устройстве осуществляется двойная заделка подъемного каната - основная и страхующая, при этом каждая рассчитана на восприятие полной нагрузки на устройство. Основная заделка состоит из клиновой втулки, в которую входят три клина, ниже основной заделки расположена страхующая заделка, в которой распущенный конец каната расклинен с помощью секторных и игольчатых клиньев.
Параметры устройств типа УПЗ
|
Статическая нагрузка, кН |
Диаметр закрытого каната, мм |
А, мм |
Размеры крюка в плане, мм |
Масса, кг |
|
|
УПЗ-4-20 |
40 |
20,0 |
1065 |
172×340 |
97 |
|
УПЗ-5-22 |
50 |
22,0 |
1171 |
172×340 |
131 |
|
УПЗ-5-25 |
50 |
25,0 |
1172 |
172×340 |
133 |
|
УПЗ-8-25 |
80 |
25,0 |
1171 |
172×340 |
148 |
|
УПЗ-8-27 |
80 |
27,0 |
1172 |
172×340 |
148 |
|
УПЗ-8-30 |
80 |
30,0 |
1231 |
172×340 |
163 |
|
УПЗ-11-33 |
110 |
33,0 |
1368 |
186×380 |
185 |
|
УПЗ-11-36 |
110 |
36,0 |
1368 |
186×380 |
204 |
|
УПЗ-15-36 |
150 |
36,0 |
1490 |
186×380 |
225 |
|
УПЗ-15-38 |
150 |
38,0 |
1490 |
186×380 |
225 |
Малая величина конусности (α = 3°) отверстия во втулке и сопряженных с ней клиньев обеспечивает сохранение усилия обжатия каната после снятия внешней нагрузки за счет самоторможения клиньев во втулке. Такая двойная заделка каната полностью исключает возможность его выдергивания из прицепного устройства. Участок каната (~ 50 мм) между втулкой и муфтой является контрольным. Перед закреплением в клиновой втулке на конец каната устанавливают плотный бандаж из тонкой стальной проволоки в 30 - 36 витков. Затем поверхность каната на длине 1 м очищают от смазки, промывают бензином и протирают насухо. На канат надевают амортизатор и траверсу (верхнюю), при этом траверса выточкой должна быть обращена в сторону конца каната. Внутреннюю поверхность клиновой втулки и клинья промывают бензином. Затем на конец каната надевают клиновую втулку, оставив свободным конец каната не менее 300 мм, наружные поверхности клиньев и внутреннюю втулки смазывают тонким слоем солидола и ударами молотка производят предварительную подпрессовку клиньев (с обеспечением равномерного зазора между боковыми гранями), а затем окончательную - с помощью специального гидравлического пресса. При этом развиваемые давления в прессе должны соответствовать значениям усилий, приведенным ниже.
Система выдерживается под этим давлением не менее 5 мин.
|
20 |
22 |
25 |
27 |
30 |
33 |
36 |
38 |
|
|
Суммарное разрывное усилие проволок каната, кН, при временном сопротивлении разрыву проволок каната, МПа |
|
|
|
|
|
|
|
|
|
1370 |
369,3 |
493,4 |
574,9 |
668,1 |
801,5 |
957,0 |
1182,1 |
1319,4 |
|
1470 |
395,3 |
470,9 |
616,1 |
716,1 |
858,9 |
1025,1 |
1270,4 |
1412,6 |
|
1570 |
421,8 |
502,3 |
657,3 |
763,7 |
916,2 |
1103,6 |
1353,8 |
1510,7 |
|
Усилие запрессовки, кН, при временном сопротивлении разрыву проволок каната, МПа |
|
|
|
|
|
|
|
|
|
1370 |
950 |
1130 |
1450 |
1680 |
2050 |
2500 |
3040 |
3320 |
|
1470 |
1080 |
1220 |
1550 |
1800 |
2200 |
2670 |
3230 |
3550 |
|
1570 |
1090 |
1300 |
1650 |
1910 |
2420 |
2750 |
3460 |
3810 |
После запрессовки клиньев в месте выхода каната из втулки на его поверхности не должно быть никаких задиров и сдвигов фигурных проволок наружного слоя.
При эксплуатации допускается повторное (но не более двух раз) использование деталей основной заделки при условии, что после выпрессовки на втулке и клиньях не будет обнаружено остаточных деформаций, трещин, вмятин.
Закрепление закрытого подъемного каната в прицепном устройстве типа УПЗ исключает возможность осмотра каната в запанцировке с целью оценки его состояния. Поэтому для обеспечения безопасности при эксплуатации указанного прицепного устройства необходимо строго соблюдать требования периодичности перепанцировки прицепных устройств.
Монтаж прицепных устройств на шахте должен выполняться в соответствии с руководством по эксплуатации.
3.3.15. На наклонных подъемах с концевыми канатами в качестве прицепных устройств рекомендуется применять: для грузовых наклонных подъемов - клиновые муфты типа МП, для грузолюдских и людских - клиновые муфты типа МПЛ-1.
Допускается для грузовых подъемов применять прицепные устройства типа ПС.
3.3.15.1. Устройство прицепное типа МП (рис. 34, табл. 12) состоит из клиновой муфты 1, клиньев 2 и запорного валика 3 с блокирующим устройством, исключающим возможность саморасцепления. Клиновые муфты предназначены для крепления шестипрядных канатов диаметром от 17 до 34,5 мм.
Панцируемый конец каната на расстоянии 500 - 600 мм от края перевязывается проволокой. После этого пряди огибаются вокруг клиньев (вокруг каждого клина по три пряди), пропускаются через муфту и затягиваются с помощью натяжного устройства.
Не допускается при запанцировке затяжка клиньев внутрь муфты ударами молотка по ее торцевой части, так как при этом может быть деформирована передняя часть рабочих плоскостей муфты, что нарушит прочность запанцировки. Каждая пара клиньев может использоваться при удовлетворительном их состоянии для повторной запанцировки. При этом все поверхности клиньев должны быть зачищены, а острые ребра закруглены. Выступающие из муфты свободные концы прядей каната отрезают на длину 250 - 300 мм и проволокой или «змейками» крепят к канату.
Рис. 34. Устройство прицепное типа МП
Параметры устройств прицепных типа МП
|
Статическая нагрузка, кН |
Диаметр каната, мм |
Основные размеры, мм |
Масса, кг |
||||
|
H |
S |
d |
С |
||||
|
МП-1 |
30 |
17 - 25,0 |
270 |
156 |
40 |
145 |
67 |
|
МП-2 |
60 |
25 - 34,5 |
330 |
170 |
48 |
190 |
138 |
3.3.15.2. Устройство прицепное МПЛ-1 (рис. 35) состоит из клиновой муфты 2 с клиньями 4, запорного валика 3 с блокирующим устройством. К пассажирской вагонетке устройство присоединяется с помощью проушины 1 и переходного звена 5. Закрепление каната в клиновой муфте производится так же, как в клиновой муфте устройства МП.
Рис. 35. Устройство прицепное МПЛ-1
Рис. 36. Устройство прицепное типа ПС
Клиновые муфты устройства предназначены для крепления шестипрядных канатов двойной свивки и имеют набор сменных клиньев для канатов диаметром от 25 до 34,5 мм.
Устройство разработано на расчетную статическую нагрузку 50 кН.
3.3.15.3. Устройство прицепное типа ПС (рис. 36, табл. 13) состоит из серьги 2, вдеваемой в петлю каната, и запорного валика 1 с блокирующим устройством. Петля каната должна огибать подканатник 3, размеры которого должны соответствовать диаметру каната.
Параметры устройств типа ПС
|
Статическая нагрузка, кН |
Диаметр каната, мм |
Основные размеры, мм |
Масса, кг |
|||||
|
Н |
S |
D |
d |
d1 |
||||
|
ПС1 |
30 |
13 - 25 |
210 |
160 |
80 |
30 |
40 |
6,9 |
|
ПС2 |
60 |
25 - 34,5 |
240 |
168 |
100 |
50 |
48 |
12,6 |
Крепление свободного конца каната к рабочему осуществляется зачалкой параллельной или последовательной свивки.
В первом случае пряди свободного конца каната длиной примерно 40 диаметров каната несколько раз пропускают между прядями основной ветви каната и коротко обрубают. Во втором случае зачалка прядей каната ведется последовательно (примерно через 1,5 шага свивки каната), причем пряди конца каната предварительно несколько раз обвивают вокруг основной ветви.
Общая длина запанцированного участка каната в данном случае составляет около 100 диаметров каната. При зачалке холостой ветви каната с расплетением ее по прядям каждая прядь должна быть прошита не менее пяти раз.
Оба способа зачалки весьма трудоемки и могут быть выполнены опытным счальщиком.
Запанцировка каната путем «зачалки» может применяться при откатке грузов по горизонтальным и наклонным выработкам с углом наклона до 30°. Крепление свободной ветви каната к рабочей может осуществляться зажимами. Количество зажимов - шесть (пять рабочих и один контрольный), расстояние между ними 200 мм.
3.3.16. В качестве подвесных устройств для уравновешивающих канатов должны применяться вертлюжные устройства типа УП-М для круглых канатов или несимметричные коуши для плоских канатов.
3.3.16.1. Устройство подвесное УП-М (рис. 37, табл. 14) состоит из устройства прицепного в виде симметричного коуша 1 с зажимами, вертлюга 2, присоединительных валиков 3 и 4, траверсы 5 со стопорными элементами 6 и тяг 7.
Рис. 37. Устройство подвесное УП-М для круглых уравновешивающих канатов (с вилкой для клетей)
Большое количество исполнений обусловлено необходимостью предусмотреть все существующие конструкции привязки устройств к сосудам (серийного и индивидуального изготовления).
3.3.16.2. Для плоских уравновешивающих канатов несимметричные коуши применяют в комплекте с четырехболтовыми плоскими стальными зажимами. Отношение радиуса изгиба каната на коуше к толщине каната должно быть не менее пяти.
3.3.17. Тормозные канаты парашютов шахтных клетей соединяются с амортизационными с помощью соединительных муфт, амортизационные канаты закрепляются на копре с помощью амортизаторов (рис. 38), параметры которых приведены ниже.
Амортизатор ТА-1М.000 ТА-3М.000
Число канавок под канат 1 3
Диаметр амортизационного каната, мм 45
Максимальное усилие, кН 150 450
Габариты, мм 575×250×860 575×350×860
Масса, кг 130 170
Амортизаторы состоят из двух листов 2, сухарей 6, винтов 7, гаек 1, валков 4, шпилек 5 и кожуха 3.
Перемещением сухарей относительно валков осуществляется перегиб амортизационных канатов, что создает необходимую величину тормозного усилия.
Амортизаторы устанавливают на копре на подшкивных или специальных площадках.
В зависимости от типоразмера амортизаторов и их положения на копре применяют одноручьевые, трехручьевые и блочные муфты.
Одноручьевые муфты (рис. 39) состоят из корпуса 1, крышки 2, двух ограничительных осей 5, замкового стакана 3, трех упоров для удержания амортизационного каната в корпусе, комплекта губок 4 и 6 и двух стаканов 7, 8 для обеспечения крепления канатов в муфте. Трехручьевые муфты (рис. 40) служат для соединения тормозного каната с тремя амортизационными и состоят из корпуса 1 для крепления одного амортизационного каната и одного тормозного, траверсы 2 для крепления двух амортизационных канатов, замка муфты 3, предназначенного для удержания стаканов амортизационных канатов в гнездах полумуфты и ограничительных осей 4.
Параметры устройств подвесных типа УП-М
|
Статическая нагрузка, кН |
Диаметр каната, мм |
Основные размеры, мм |
Масса, кг |
|||||||
|
R |
R1 |
d |
d1 |
b |
h |
|||||
|
1 |
2 |
3 |
4 |
5 |
6 |
7 |
8 |
9 |
10 |
|
|
УП-2М без переходных деталей исполнения с вилкой (для клетей) исполнения с переходными тягами и серьгами (для скипов) |
|
150 |
36 - 41 |
105 |
135 |
|
80 |
60 |
110 |
275 |
|
-01 |
|
41 - 46 |
110 |
140 |
|
|
|
|
298 |
|
|
-02 |
|
46 - 51 |
125 |
160 |
|
|
|
|
311 |
|
|
-03 |
|
51 - 54,5 |
135 |
175 |
|
|
|
|
351 |
|
|
-04 |
150 |
36 - 41 |
105 |
135 |
110 |
80 |
60 |
110 |
431 |
|
|
-05 |
|
41 - 46 |
110 |
140 |
|
|
|
|
453 |
|
|
-06 |
|
46 - 51 |
125 |
160 |
|
|
|
|
467 |
|
|
-07 |
|
51 - 54,5 |
135 |
175 |
|
|
|
|
506 |
|
|
-08 |
150 |
36 - 41 |
105 |
135 |
100 |
80 |
60 |
110 |
389 |
|
|
-09 |
|
|
|
|
|
|
|
|
413 |
|
|
-10 |
|
|
|
|
|
|
|
|
391 |
|
|
-11 |
|
|
|
|
|
|
|
|
415 |
|
|
-12 |
150 |
41 - 46 |
110 |
140 |
100 |
80 |
60 |
110 |
412 |
|
|
-13 |
|
|
|
|
|
|
|
|
436 |
|
|
-14 |
|
|
|
|
|
|
|
|
414 |
|
|
-15 |
|
|
|
|
|
|
|
|
438 |
|
|
УП-2М исполнения с переходными тягами и серьгами (для скипов) |
-16 |
150 |
46 - 51 |
125 |
160 |
100 |
80 |
60 |
110 |
425 |
|
-17 |
|
|
|
|
|
|
|
|
449 |
|
|
-18 |
|
|
|
|
|
|
|
|
427 |
|
|
-19 |
|
|
|
|
|
|
|
|
451 |
|
|
-20 |
150 |
51 - 54,5 |
135 |
175 |
100 |
80 |
60 |
110 |
465 |
|
|
-21 |
|
|
|
|
|
|
|
|
489 |
|
|
-22 |
|
|
|
|
|
|
|
|
467 |
|
|
-23 |
|
|
|
|
|
|
|
|
491 |
|
|
УП-3М исполнения для клетей |
|
200 |
51 - 56 |
140 |
180 |
110 |
80 |
60 |
110 |
480 |
|
-01 |
|
56 - 61 |
165 |
205 |
|
|
|
|
496 |
|
|
-02 |
|
51 - 56 |
140 |
180 |
110 |
80 |
60 |
110 |
635 |
|
|
-03 |
|
56 - 61 |
165 |
205 |
|
|
|
|
652 |
|
|
УП-3М исполнения с переходными тягами и серьгами (для скипов) |
-04 |
200 |
51 - 56 |
140 |
180 |
100 |
80 |
60 |
110 |
591 |
|
-05 |
|
|
|
|
|
|
|
|
596 |
|
|
-06 |
|
|
|
|
|
|
|
|
620 |
|
|
-07 |
200 |
56 - 61 |
205 |
205 |
100 |
80 |
60 |
110 |
610 |
|
|
-08 |
|
|
|
|
|
|
|
|
612 |
|
|
-09 |
|
|
|
|
|
|
|
|
636 |
|
Рис. 38. Амортизатор
Рис. 39. Одноручьевая соединительная муфта
Рис. 40. Трехручьевая соединительная муфта
Рис. 41. Блочная соединительная муфта
Блочные соединительные муфты (рис. 41) применяются в тех случаях, когда амортизаторы устанавливаются на подшкивных площадках в одной плоскости со шкивами. В этом случае возникает необходимость установки на один тормозной канат двух амортизаторов для обхода нижнего шкива.
Конструкция муфты предусматривает возможность соединения одного тормозного каната с одним или тремя амортизационными канатами. Муфта состоит из колодки 1, соединенной щеками 2 со стаканом 3, в котором с помощью губок 4 удерживается тормозной канат 5. Амортизационные канаты огибают колодки, и концы их пропускаются через два амортизатора. Параметры соединительных муфт приведены ниже.
Затем на расстоянии 200 - 250 мм от конца каната из мягкой проволоки делается бандаж.
Муфта ТАСМ-1А.000 ТАСМ-3А.000 ТАСМ 1-3
Статическая нагрузка, кН,
не более 150 450 450
Диаметр каната, мм:
амортизационного 45 45 45
тормозного 25,5; 30,5 35,0; 40,0; 45,0 45,0
Габариты, мм 156×690 170×340×835 610×900
Масса без канатов, кг 45 67 90
При сборке соединительной муфты на тормозной канат надевают корпус для одноручьевой муфты (корпус и замок для трехручьевой муфты), затем надевают стакан и на канате делается бандаж из мягкой проволоки на расстоянии 200 - 250 мм от конца. Конец тормозного каната разделывается: расплетаются проволоки, удаляется органический сердечник. Проволоки каната очищаются от грязи и пыли, промываются бензином и обтираются насухо. Концы проволок длиной 20 - 30 мм необходимо загнуть и разделанный конец каната затянуть в стакан так, чтобы от его торца до загнутых проволочек было расстояние 10 - 15 мм. Для более плотного прилегания проволочек каната к стенкам стакана необходимо расклинить их отрезками проволок этого же каната, после чего стакан подогреть до температуры 200 °С и залить баббитом марки Б16 или сплавом ЦЛМ 9-1,5 по ГОСТ 21438-75. После заливки стакана баббитом на канат надеваются губки и связываются мягкой проволокой Ø 2 мм, после чего соединительную муфту необходимо собрать и торцевые места, на входе и выходе амортизационного и тормозного канатов, и обойму муфты смазать солидолом для защиты от попадания влаги. После окончания монтажа соединительные муфты должны находиться на минимальном расстоянии от амортизаторов. Конец амортизационного каната, заводимый в муфту, разделывается и устанавливается в стакан на заводе-изготовителе парашюта. Свободные концы амортизационных канатов разделываются и заливаются баббитом на шахте. Для этого на концы амортизационных канатов длиной 200 - 250 мм следует надеть металлические воронки (из кровельного железа толщиной 1 - 1,5 мм), удалив из этой части канатов органический сердечник, загнуть конец каждой проволочки длиной 30 - 50 мм, очистить их от смазки, после чего залить баббитом. При этом верхний диаметр и высоту воронки принимают равными соответственно (2 - 2,5)dk и (3,5 - 4)dk.
В зумпфе тормозные канаты крепятся к специально установленным балкам при помощи ограничителей натяжения. Ограничитель натяжения состоит из угольников, между которыми болтами зажимается канат. Угольники крепятся к балке болтами небольшого диаметра, которые должны освобождать нижний конец тормозного каната, разрываясь при нагрузке 15 кН. Такое крепление тормозных канатов, обеспечивая необходимое натяжение в процессе нормальной эксплуатации, исключает появление в них больших растягивающих усилий в момент срабатывания ловителя и подпрыгивание клети вверх. При жестком закреплении нижних концов тормозных канатов может произойти расклинивание ловителя с его последующим вторичным захватом, что недопустимо.
Натяжение тормозного каната до крепления к балке ограничителя натяжения производится специальной скобой. Угольники зажимаются болтами на канате и при навинчивании натяжных гаек на болты в пределах 180 - 200 мм производится натяжение каната. Рекомендуемое усилие натяжения - 10 кН.
Для всех диаметров тормозных канатов изготовляется один типоразмер натяжной скобы и ограничителя натяжения. Натяжную скобу после установки ограничителя натяжения снимают.
С течением времени тормозные канаты вытягиваются под действием собственного веса, поэтому необходимо их регулярно натягивать.
Ниже балки натяжного устройства оставляют запас каната в 5 - 10 м. Надо следить за тем, чтобы конец каната был ровно отрезан и оплавлен электросваркой. Это облегчает проход его в направляющих муфтах и ловителе при монтажных работах.
Срок службы амортизаторов парашютов 5 лет. Решением специальной комиссии он может быть продлен до 7 лет.
3.3.18. Крепление канатных проводников и отбойных канатов следует производить с помощью специальных прицепных устройств. Эти устройства должны обеспечивать возможность периодического поворота и продольного перемещения каната.
Допускается крепление прядевых проводниковых и отбойных канатов для временной эксплуатации на срок не более одного года путем их заделки в муфтах, конструкция которых аналогична конструкции соединительных муфт парашюта с тормозными канатами с заливкой концов канатов баббитом.
3.3.18.1. В стволах шахт, находящихся в эксплуатации, крепление прядевых проводниковых канатов двойной свивки может осуществляться с помощью коушей КРГ (см. рис. 30, табл. 9), а закрытого типа - коушей ККП (см. рис. 30, табл. 15). Конструкция коушей ККП аналогична конструкции коушей КРГ.
Срок службы прицепных устройств проводниковых и отбойных канатов допускается до 10 лет, считая со дня установки. Решением специальной комиссии после тщательного визуального осмотра срок службы может быть продлен до 15 лет.
Параметры коушей типа ККП
|
Статическая нагрузка, кН |
Канат |
Основные размеры, мм |
Масса, кг |
|||||
|
по ГОСТ |
диаметром, мм |
А |
Б |
В |
Г |
|||
|
ККП-1.000 |
210 |
3090-73 |
32,0 |
540 |
410 |
385 |
108 |
121 |
|
ККП-2.000 |
320 |
7675-73 |
38,5 - 40,5 |
615 |
470 |
435 |
130 |
211 |
|
ККП-3.000 |
430 |
7675-73 |
45,0 |
678 |
500 |
495 |
150 |
292 |
3.3.18.2. Прицепные устройства проводниковых и отбойных канатов не реже одного раза в четыре года должны подвергаться ревизии с разборкой и смазкой. Если при разборке прицепного устройства будет обнаружено, что износ каната превысил допустимые нормы, можно этот участок каната отрубить и снова закрепить в прицепном устройстве.
3.3.18.3. При расположении натяжных грузов на копре нижние концы канатных проводников и отбойных канатов крепятся жестко, а верхние, огибая отклоняющие шкивы, соединяются с натяжным грузом.
Рекомендуется оставлять свободными верхние концы проводниковых канатов длиной не менее 16 - 20 м. Наличие их позволяет продлить срок службы канатов путем перемещения наиболее изношенного участка из зоны интенсивного местного износа.
На рис. 42 приведено крепление на канате в зумпфе натяжного груза. Груз 4 подвешивается на тягах 3 к концам рычагов коуша 2, закрепленного на канате 5. Для ограничения перемещения груза служит балка 1. На рис. 43 приведено крепление каната на копре с использованием коуша 1 типа ККП, расположенного на опоре 2, которая установлена на раме 3.
3.3.18.4. На свободном конце закрытого каната должна устанавливаться клиновая конусная муфта.
Конус на закрытом канате в клиновой муфте образуется путем установки специальных клиньев. Длина конусной полости в муфте равна примерно трем диаметрам каната, угол конусности - 5 - 6°.
Меньший диаметр конусной полости имеет диаметр на 2 - 2,5 мм больше диаметра каната. Клинья устанавливаются между слоями проволок (секторные) и между отдельными проволоками в каждом слое (прямые). Секторные клинья получают путем разреза вдоль образующих соответствующих конических втулок на три части. Секторные клинья, устанавливаемые между первым и вторым слоями проволок, изготовляются путем разреза втулки на две части. На центральную проволоку устанавливается полый центральный клин длиной 70 - 80 мм (большая длина для канатов диаметром свыше 42 мм). Секторные клинья принимаются такой же длины, а прямые - на 20 мм короче. При разделке каната в клиновой муфте для сохранения его структурной целостности до окончания монтажа муфты на канате устанавливается не менее двух плоских двухболтовых зажимов.
3.3.18.5. Для повышения надежности крепления груза к проводниковому канату ниже коуша КРГ на канатах прядевой конструкции при любом расположении груза и ниже коуша ККП на канате закрытой конструкции при расположении груза на копре устанавливается контрольный крестовый зажим и образуется петля каната длиной 3 - 4 м. При расположении натяжных грузов в зумпфе ниже коуша ККП на расстоянии 100 мм на проводниковом канате закрытой конструкции устанавливается контрольный четырехболтовой зажим.
Рис. 42. Крепление грузов для натяжения проводниковых канатов в зумпфе
Рис. 43. Крепление проводникового каната на копре
3.3.18.6. Прицепные устройства отбойных канатов аналогичны прицепным устройствам проводниковых канатов.
3.3.19. Подвеска проходческого оборудования (полков, опалубок, насосов и т.д.) может осуществляться с использованием грушевидных и клиновых коушей с двусторонним зажатием каната.
3.3.20. Для подвески на канатах кабелей различного назначения в вертикальных стволах используют устройства (рис. 44), состоящие из зажимов 1, деревянных вкладышей 2 и соединительных болтов 3. Одной стороной устройство крепится к канату 4, с другой стороны между вкладышами 2 размещается кабель 5. Такая конструкция устройства позволяет осуществлять навеску нескольких кабелей на одном канате. Устройства устанавливают, как правило, на расстоянии не менее 5 м друг от друга.
3.3.21. Для подвески трубопроводов в вертикальных стволах используют устройства (рис. 45), состоящие из зажимов 1, выполненных из полосовой стали и соединенных между собой при помощи болтов 2. Размеры зажимов и их конфигурация определяются расчетом на прочность и выбираются в зависимости от диаметра каната 3 и трубопровода 4. Диаметры D, d принимаются на 2 - 3 мм больше диаметров каната и трубопровода соответственно. Размер δ между зажимами принимают от 12 до 20 мм в зависимости от диаметра каната. Как правило, на каждую трубу устанавливают не менее двух устройств.
3.3.22. После монтажа при навеске или разборке прицепного устройства для проверки запанцировки каната подъемный сосуд или противовес поднимается на высоту 0,5 м над перекрытием ствола. При этом должен быть проконтролирован зазор между корпусом устройства и контрольным зажимом или контрольной отметкой на канате.
Убедившись, что в коуше протяжки канатов не происходит, подъемный сосуд или противовес поднимают над перекрытием на 3 - 5 м, затем при опускании его резко затормаживают, после чего проверяют надежность защемления каната. Эту операцию производят 4 - 5 раз.
Еще раз убедившись, что протяжки канатов в коуше не происходит, выполняют 3 - 5 пробных подъемов порожнего сосуда. При этом каждый раз проверяется положение контрольного зажима или контрольной отметки.
При удовлетворительной работе прицепного устройства производится 10 - 15 подъемов сосуда с грузом.
Результаты испытаний должны записываться в Книгу осмотра подъемной установки.
3.3.23. Срок службы канатов амортизаторов предохранительных рамок многоканатного подъема - пять лет.
Решением специальной комиссии после тщательного визуального осмотра срок службы канатов может быть продлен по результатам осмотра через каждый год до семи лет для канатов нижних устройств и десяти лет для канатов верхних устройств. Срок эксплуатации канатов нижних устройств защиты от переподъема свыше семи лет и верхних свыше десяти лет может быть продлен на 1 - 3 года с участием представителей экспертных центров.
Рис. 44. Устройство для подвески кабеля
Рис. 45. Устройство для подвески трубопровода
3.3.24. Не допускается применять для запанцировки канатов при откатке концевыми канатами зажимы типа змейка и бандажи с заклепками. Не рекомендуется заделка конца каната в конических муфтах путем заливки легкоплавким сплавом.
3.3.25. Все работающие прицепные устройства подвергаются осмотру согласно руководству по эксплуатации соответствующего устройства.
Если при ежемесячном осмотре обнаружено плохое состояние запанцированного участка каната (появились обрывы проволок на прядях, огибающих затыльник клиньев или коуш, число обрывов проволок под жимками или на участке каната, непосредственно прилегающем к прицепному устройству, достигло более 5 % общего числа проволок в канате и др.), продолжать эксплуатацию канатов запрещается. Разрешается конец каната с оборванными проволоками отрубить и снова закрепить канат в прицепном устройстве
3.3.26. В процессе замены канатов и при откатке грузов по наклонным выработкам с углом наклона до 30° допускается применение счаленных канатов.
При проходке стволов в случае применения для подвесного оборудования канатов длиной более 1000 м допускается соединение их спаренными коушами, расположенными в одной плоскости, а также сдвоенными коушами, плоскости которых перпендикулярны друг другу, установкой на каждой ветви каната жимков, при этом места соединения канатов не должны переходить через шкивы.
Устройства для соединения канатов следует осматривать один раз в неделю. В случае применения коуш-счалок необходимо один раз в три месяца проверять надежность соединения канатов путем подтяжки гаек. При этом каждый конец каната в грушевидных коушах должен быть зажимкован не менее чем пятью рабочими и одним контрольным зажимом.
Запрещается удлинять канаты для навески спасательных лестниц, проходческих люлек и направляющие канаты.
3.3.27. Для счалки канатов при откатке грузов по наклонным выработкам с углом наклона до 30° и в процессе замены канатов применяют круглопрядные канаты крестовой свивки.
Длина счалки канатов должна быть не менее величины, приведенной ниже.
|
15 |
15 - 19 |
19 - 22 |
22 - 25 |
25 - 28 |
28 - 32 |
32 - 36 |
36 - 40 |
|
|
Длина счалки, м, не менее |
9 |
12 |
13,5 |
15 |
18 |
21 |
24 |
27 |
Число счалок по всей длине каната допускается при концевых наклонных подъемах до 30°:
для новых - одна счалка, то есть канат должен состоять не более чем из двух кусков;
для работающих - не более двух счалок, то есть канаты должны состоять не более чем из трех кусков.
Длина счаленных кусков в этом случае должна быть не менее трехкратной по отношению к длине самой счалки.
После счалки канатов не должно быть ослабленных прядей, как в самой счалке, так и в соседних участках каната.
Не допускается утолщение каната в местах стыковки прядей и их погружение внутрь каната более чем на 10 % величины нормального диаметра счаленных канатов.
Счалке подвергаются концы канатов с одинаковым числом прядей, одинаковыми диаметрами и одинаковым числом проволок. Шаг и направление свивки счаливаемых канатов, а также вид их свивки должны быть одинаковыми.
Счаливание может поручаться только лицам, которые обучены выполнению данного процесса.
Счалка должна производиться согласно схеме, изображенной на рис. 46.
Рис. 46. Схема счалки канатов:
- длина между отдельными
стыками прядей, мм;
d - диаметр каната, мм; α - угол обхвата шкива канатом;
k - коэффициент, принимаемый для поверхностных подъемов равным 80, для подземных и проходческих - 60
У предназначенного к счалке каната отмеряют концы длиной, необходимой для счалки, приведенной ниже, и перевязывают, как показано на рис. 47.
Рис. 47. Перевязка концов канатов перед счалкой
Концы канатов расплетают на отдельные пряди. Конец у каждой пряди плотно обматывают тонкой проволокой.
|
15 |
15 - 19 |
19 - 22 |
22 - 25 |
25 - 28 |
28 - 32 |
32 - 36 |
36 - 40 |
|
|
Длина разделываемого конца каната, м |
5 |
6,5 |
7,25 |
8 |
9,5 |
11 |
12,6 |
14,1 |
Расплетенные концы канатов соединяются таким образом, чтобы их пряди 1, 2, 3, 4, 5, 6 чередовались через одну с прядями а, б, в, г, д, е, как показано на рис. 48. Органические сердечники канатов выводятся в сторону. На одном из канатов делается временная обвязка на расстоянии, равном длине половины счалки. Затем снимается обвязка, сделанная ранее.
Из каната, с которого снята обвязка, выплетается прядь и на ее место вплетается прядь другого каната до места новой обвязки.
Рис. 48. Чередование прядей при счалке канатов
Через одну пару прядей счаливаемых концов каната в ту же сторону вплетается и выплетается другая пара прядей, а затем третья. Замена прядей производится на различную длину с расчетом расположения стыков прядей согласно намеченной схеме (см. рис. 46).
Три новые вплетенные пряди и три пряди основного каната закрепляются временной обвязкой. Далее снимается обвязка с другого каната и из него по очереди выплетаются пряди и вплетаются пряди первого каната.
Заправка органических сердечников производится в первоначальной стадии свивки. Это удобно сделать, когда заменены три пряди в одном канате, а в другом еще не вплетались.
При заделке сердечников внутри каната нужно их обрезать таким образом, чтобы на участке стыковки канатов не образовалось участка без сердечника.
После равномерного распределения стыков прядей по всей длине счалки производится заделка их концов внутрь каната. Длина заправляемой внутрь каната части пряди должна быть не менее полутора шагов свивки каната. Перед заправкой внутрь каната концов пряди вырезается сердечник на расстоянии, необходимом для погружения внутрь каната двух встречных концов закрепляемых прядей. Перед погружением в канат концов прядей они должны быть хорошо смазаны. Для погружения концов прядей необходимо раскрутить канат, чтобы образовалась значительная слабина между прядями. Раскручивание каната производится путем вращения его против свивки с помощью воротков.
После окончания счалки каната он растягивается, и вся счалка обивается деревянными молотками.
Качество счалки канатов, используемых при откатке, проверяется путем ее осмотра и прогона счаленного каната через ролики и шкивы.
При осмотре каната выявляется слабина вчаленных прядей путем подсовывания под пряди острого конца швайки.
Проверяется, нет ли значительного утонения в местах стыка прядей путем обмера штангенциркулем, а утолщения в местах соединения прядей не должны превышать 10 % номинального диаметра каната.
При пробном прогоне счаленного каната проверяется, как проходит счалка по роликам и шкивам, нет ли в их желобах заедания каната, не происходит ли ослабление вчаленных прядей при изгибе каната на шкивах и роликах.
3.4.1. Канаты шахтных подъемных установок подлежат осмотру лицами, специально выделенными лицами, назначенными приказом руководителя предприятия, в следующие сроки:
а) ежесуточно - подъемные канаты сосудов и противовесов вертикальных и наклонных подъемных установок, уравновешивающие канаты подъемных установок со шкивами трения, канаты для подвески механических грузчиков (грейферов) при проходке стволов.
На многоканатных подъемных установках, когда у канатов число оборванных проволок не превышает 2 % общего числа проволок каната на длине одного шага свивки, допускается, чтобы одним человеком производился одновременно осмотр не более двух головных и уравновешивающих канатов. Если на одно прицепное устройство навешено два резинотросовых уравновешивающих каната, их осмотр производит один человек;
б) еженедельно - уравновешивающие канаты подъемных установок с машинами барабанного типа, тормозные и проводниковые, канаты для подвески полков, кабелей и проходческого оборудования, а также подъемные и уравновешивающие резинотросовые канаты с участием механика подъема (старшего механика по подъемам или по стационарному оборудованию);
в) ежемесячно - подъемные и уравновешивающие канаты, амортизационные и отбойные канаты с участием главного механика шахты или старшего механика по стационарному оборудованию; канаты, постоянно находящиеся в стволах, - с участием механика проходки строящейся шахты или старшего механика по стационарному оборудованию;
г) канаты для навески проходческого оборудования и направляющие канаты должны осматривать еженедельно специально назначенные электрослесари, два раза в месяц - механик проходки и один раз в месяц - главный механик шахтопроходческого (шахтостроительного) управления. Канаты осматриваются посекторно из раздела бадьи, ближе всего примыкающего к осматриваемым канатам.
Канаты должны осматриваться по всей длине при скорости движения не более 0,3 м/с.
Поврежденные участки канатов, а также стыковые соединения резинотросовых канатов осматривают при неподвижном канате.
На подъемных установках ежесуточный осмотр канатов, у которых число оборванных проволок не превышает 2 % общего числа проволок каната на длине одного шага свивки, допускается производить при скорости движения не более 1 м/с, при этом на многоканатных подъемных установках один человек осматривает не более двух смежных канатов одновременно. Канаты при скорости более 0,3 м/с осматривают только визуально без пропускания каната через рукавицу. Еженедельно должен производиться тщательный осмотр каждого каната при скорости движения не более 0,3 м/с.
Специально выделенными для осмотра подъемных канатов лицами могут назначаться приказом по шахте опытные электрослесари, имеющие не менее чем трехлетний стаж работы по обслуживанию шахтных подъемных установок.
3.4.2. При ежесуточном осмотре подъемного каната определяют общее число оборванных проволок по всей длине каната, подсчитывают число обрывов на одном шаге свивки в наиболее побежденных местах. Участок (шаг), на котором число оборванных проволок превышает 2 % общего числа проволок каната, отмечается в Книге осмотра подъемных канатов. Торчащие концы оборванных проволок должны удаляться.
Один раз в неделю при осмотре головных канатов кроме обрывов проволок измеряют утонение канатов у прицепного устройства, а также через 10 м на участках разгона и замедления и через 100 м на остальной части каната.
Подъемный канат выходит из строя в процессе эксплуатации по причине появления отказов следующих типов: естественных постепенных износовых, мгновенных повреждений и скрытых заводских дефектов и нарушений технологии навески. Последние, как правило, проявляются постепенно, но в начальный период эксплуатации.
Подавляющая часть отказов приходится на постепенные естественные износовые отказы, которые появляются через значительный период времени после навески и выражаются в виде обрывов наружных проволок, утонения каната, большой потери сечения металла проволок от коррозии и механического износа. Безусловно, что для своевременного обнаружения всех этих износовых отказов нет необходимости проверять состояние каната ежесуточно и тем более со дня его навески.
Требование ежесуточного осмотра со дня его навески направлено на обеспечение своевременного снятия канатов из-за повреждений второго и третьего типов. Примерами мгновенных отказов являются чаще всего случаи повреждения каната падающими в ствол предметами при проведении ремонтных работ на подъеме и т.д. Скрытые заводские дефекты и дефекты, вызванные нарушениями технологии навески, проявляются в первые недели или месяцы эксплуатации, как правило, в виде нарушения конструктивной целостности каната - западания или выпучивания отдельных прядей в канатах двойной свивки и выхода зетобразных проволок подъемных закрытых канатов из замка на прямолинейном или появившемся волнообразном участке, а также в виде быстрого нарастания обрывов проволок в какой-нибудь одной пряди каната из-за неплотной свивки проволок в ней. Особенно тщательное наблюдение и подсчет обрывов проволок необходимо производить на участках канатов, на которых одновременно имеет место большая потеря площади сечения стали от коррозии или истирания наружных проволок и концентрируются обрывы проволок. Как правило, это явление имеет место у подвесного устройства и на участках разгона и замедления.
Ежесуточный осмотр подъемного каната производится в специально отведенное время, предусмотренное утвержденным графиком работы подъемной установки.
3.4.3. Ежемесячно должен производиться детальный осмотр головных канатов, при этом поверхность каната очищают от корок затвердевшей смазки и внимательно осматривают места, где наиболее вероятны повреждения (у коуша, под жимками, на стыковых соединениях и т.д.) и имеется наибольшее число оборванных проволок. Срок осмотра канатов в коушах новых конструкций устанавливается по мере накопления опыта их эксплуатации.
Указанные места должны осматриваться при неподвижном канате. Торчащие концы оборванных проволок необходимо удалить.
Ежемесячно должны подвергаться дополнительному детальному осмотру и нижние уравновешивающие канаты.
На проходческих подъемах не реже одного раза в месяц должен производиться осмотр канатов у жимков и коушей.
3.4.4. Осмотру подвергается вся рабочая длина каната. Отвес каната от подъемного сосуда до копрового шкива при верхнем его положении и струна каната осматриваются с нулевой площадки ствола. Осмотр остальной части каната производится в здании подъемной машины. Левый канат осматривается непосредственно у барабана машины, для осмотра правого каната в здании подъема должна быть сооружена специальная площадка с ограждением и лестницей с перилами.
Для осмотра нижних уравновешивающих канатов в нижней части ствола или в зумпфе должна быть сооружена также специальная площадка.
Специальные площадки для осмотра подъемных и нижних уравновешивающих канатов должны обеспечивать безопасные условия работы.
3.4.5. Результаты осмотра и контроля канатов в тот же день должны быть занесены в Книгу осмотра канатов той или иной установки. Туда же заносятся все обнаруженные повреждения канатов.
3.4.6. Запрещается навешивать канаты или продолжать работу стальными канатами с порванными, выпученными или запавшими прядями, с узлами, «жучками» и другими повреждениями, а также с утонением более 10 % номинального диаметра.
Запрещается навешивать канаты или продолжать работу резинотросовыми уравновешивающими канатами с оголенными тросами (за исключением крайних), отслоившимися обкладками и при увеличении расстояния между контрольными метками стыкового соединения, которое измеряется специальным шаблоном.
Подъемный канат с нарушенной структурой в результате выпучивания или западания прядей, образования местных деформаций в виде «жучков» и т.д. не может обеспечить безопасную эксплуатацию установки, так как перестает работать как цельный агрегат с заданным запасом прочности. Нарушение структуры каната вызывает перераспределение нагрузки между проволоками и прядями, в результате чего для части проволоки фактический запас прочности может снизиться столь значительно, что проволоки начнут разрушаться от усталости металла в течение короткого промежутка времени. Поэтому сразу после обнаружения повреждения в работающем канате необходимо остановить установку и сделать запись о характере этого повреждения, о расстоянии поврежденного участка от прицепного устройства в Книгу осмотра канатов, а также немедленно поставить об этом в известность механика подъема (участка) и главного механика шахты или старшего механика по стационарным (подъемным) установкам.
Примеры характерных дефектов канатов приведены в приложении 1.
Утонение каната представляет собой разность между его первоначальным диаметром и текущим результатом измерения диаметра. Диаметр каната должен измеряться с точностью 0,1 мм штангенциркулем (рис. 49) или при помощи стальной ленты шириной до 5 мм. Непосредственно по ленте при этом определяется длина описанной окружности. Диаметр каната находят делением найденной длины на 3,14.
Рис. 49. Схема измерения диаметра каната:
а - неправильно; б - правильно
Утонение каната в процессе его эксплуатации происходит вследствие смятия органического сердечника, пластической деформации соседних слоев проволок и прядей, а также в результате коррозии и истирания проволок.
Особенно большое значение для обеспечения безопасной эксплуатации каната имеет контроль в тех случаях, когда канаты не проверяются инструментальным методом.
3.4.7. Запрещается эксплуатация стальных прядевых канатов шахтных подъемных установок при наличии на каком-либо участке обрывов проволок, число которых на шаге свивки от общего их числа в канате достигает:
а) 5 % для подъемных канатов сосудов и противовесов, канатов для подвески полков и механических грузчиков (грейферов);
б) 10 % для канатов грузовых концевых откаток по наклонным выработкам с углом наклона до 30°, уравновешивающих, тормозных, амортизационных, проводниковых, отбойных.
Если этот участок находится в месте крепления каната к прицепному устройству, то разрешается конец каната с оборванными проволоками отрубить и снова прикрепить канат к коушу.
3.4.8. Проводниковый канат подлежит замене, если на 100 м длины каната обнаружено два обрыва наружных проволок или утонение его за время работы составило 15 % номинального диаметра, но не более половины высоты или диаметра наружных проволок. Если при обрыве наружные проволоки в спиральном канате выходят из замка, то их необходимо запаять.
Проводниковый канат прядевой конструкции подлежит замене, если износ наружных проволок достигнет половины их диаметра.
3.4.9. Запрещается эксплуатация подъемных канатов закрытой конструкции в следующих случаях:
при износе более половины высоты проволок наружного слоя;
при выходе проволоки из замка на поверхность каната, если она не поддается заделке в канат или запайке;
при нарушении замка наружных проволок, проявляющемся в том, что они разворачиваются вокруг продольной оси и поверхность каната становится шероховатой. Канат подлежит замене, если шероховатость возникла в результате разворота не менее чем половины наружных проволок;
при наличии трех оборванных проволок (включая и запаянные) фасонного профиля наружного слоя на длине участка, равной пяти шагам свивки или двенадцати на всей рабочей длине каната.
3.4.10. Нормально обрыв наружной проволоки подъемного каната закрытой конструкции не влечет за собой выхода ее из замка.
В случае выхода из замка оборвавшейся наружной проволоки необходимо после обточки и заделки концов этой проволоки в канат тщательно запаять участок между концами проволоки. Необходимо иметь в виду, что пайка производится в целях предотвращения выхода концов оборванной проволоки из замка, а не в целях обеспечения прочного соединения ее концов.
Выполнение пайки требует соблюдения большой осторожности, чтобы не повредить вблизи пайки целых проволок каната, поэтому не нужно ее применять без явной необходимости.
3.4.11. При выходе из замка на каком-либо участке подъемного каната закрытой конструкции проволоки наружного слоя без ее обрыва допускается производить вырубку вышедшего участка проволоки с запайкой ее концов или тщательной заделкой их в замок проволок наружного слоя каната.
3.4.12. В процессе эксплуатации на отдельных участках может иметь место образование волнистости подъемного каната закрытой конструкции, то есть данный участок становится волнообразным без нарушения замка наружных проволок и гладкой поверхности каната. Если этот участок не может быть отрублен, то эксплуатация каната может продолжаться до явного нарушения замка наружных проволок или выхода одной проволоки из замка на этом участке.
Допускается одну наружную (зетобразную) проволоку в случае выхода ее из замка на прямолинейном участке (как при отсутствии, так и при наличии обрывов) выплести по всей длине каната и продолжить его эксплуатацию, если появившийся зазор в слое наружных проволок не приведет к нарушению замка между ними.
3.4.13. На многоканатных подъемных установках при выходе из строя одного головного каната замене подлежат все головные канаты.
При выходе из строя одного-двух канатов в результате навески или в начальной период их работы (1 - 2 мес), то есть когда еще имеется конструктивное удлинение канатов, допускается замена только вышедших из строя канатов.
3.4.14. Предельный срок службы канатов, установленный в зависимости от их назначения, приведен в табл. 16.
Срок службы канатов может быть продлен решением специальной комиссии под руководством главного механика предприятия. Акт комиссии должен утверждаться техническим руководителем предприятия.
Предельный срок службы канатов, порядок и условия продления срока службы
|
Предельный срок службы, лет |
Порядок и условия продления срока службы |
|
|
1 |
2 |
3 |
|
Подъемные канаты установок со шкивом трения: |
|
|
|
а) шестипрядные с органическим сердечником |
2 |
По результатам осмотра и инструментального контроля потери сечения стали проволок согласно требованиям раздела «Инструментальный контроль» ПБ - до 4 лет и свыше 4 лет - при инструментальном контроле потери сечения и обрывов проволок |
|
б) шестипрядные с металлическим сердечником, многопрядные и фасоннопрядные |
2 |
По результатам осмотра и инструментального контроля потери сечения стали проволок согласно требованиям раздела «Инструментальный контроль» ПБ, а также инструментального контроля обрывов проволок - до 4 лет |
|
Подъемные канаты установок с машинами барабанного типа: |
|
|
|
а) шестипрядные с органическим сердечником |
2 |
По результатам осмотра и инструментального контроля потери сечения стали проволок согласно требованиям раздела «Инструментальный контроль» ПБ - до 3 лет на людских и грузолюдских подъемных установках, до 4 на грузовых подъемных установках и свыше соответственно 3 и 4 лет - при инструментальном контроле потери сечения и обрывов проволок |
|
б) с металлическим сердечником, многопрядные и фасоннопрядные |
2 |
По результатам осмотра и инструментального контроля потери сечения стали проволок согласно требованиям раздела «Инструментальный контроль» ПБ, а также инструментального контроля обрывов проволок - до 4 лет |
|
Уравновешивающие подъемных установок: |
|
|
|
а) шестипрядные с органическим сердечником и круглые многопрядные малокрутящиеся оцинкованные |
2 |
По результатам осмотра и инструментального контроля потери сечения стали проволок согласно требованиям раздела «Инструментальный контроль» ПБ - до 4 лет и свыше 4 лет - при инструментальном контроле обрывов |
|
б) плоские стальные: машины барабанного типа |
4 |
Не продлевается |
|
шкивы трения |
2 |
По результатам осмотра через каждые 6 мес до 4 лет |
|
в) резинотросовые от стыка до стыка (или до конца у прицепного устройства) |
5 |
В порядке, оговоренном в Инструкции по эксплуатации резинотросовых уравновешивающих канатов в шахтных стволах - до 10 лет, и при навеске с запасом прочности более 12-кратного - до 15 лет |
|
Тормозные канаты парашютов |
4 |
По результатам осмотра и инструментального контроля потери сечения стали проволок согласно требованиям раздела «Инструментальный контроль» ПБ до 7 лет |
|
Амортизационные канаты парашютов клетей |
5 |
По результатам осмотра через каждые 12 мес - до 7 лет |
|
Проводниковые и отбойные канаты шахт, находящихся в эксплуатации: |
|
|
|
а) закрытые несущие |
15 |
Не продлевается |
|
б) прядевые |
4 |
По результатам осмотра и инструментального контроля потери сечения стали проволок согласно требованиям раздела «Инструментальный контроль» ПБ - до 7 лет |
|
в) строящихся шахт |
3 |
По результатам осмотра и инструментального контроля потери сечения стали проволок согласно требованиям раздела «Инструментальный контроль» ПБ - до 5 лет |
|
Канаты для подвески полка и проходческого оборудования (труб, кабелей и др.): а) прядевые, которые можно проверить на потерю площади сечения: |
|
|
|
без покрытия диаметром до 45 мм |
3 |
По результатам осмотра и инструментального контроля потери сечения стали проволок согласно требованиям раздела «Инструментальный контроль» ПБ - до 10 лет |
|
без покрытия диаметром 45 мм и более, а также оцинкованные |
5 |
То же |
|
б) прядевые, которые нельзя проверить на потерю сечения металла (например, из-за стесненных условий) |
3 |
Не продлеваются |
|
в) закрытые подъемные канаты |
5 |
По результатам осмотра и инструментального контроля потери сечения стали проволок по всей длине, если он возможен, через каждый год - до 10 лет или по результатам испытаний отрезка каната, взятого у нижнего конца, через каждый год на канатно-испытательной станции - до 7 лет |
|
Для подвески механических грузчиков (грейферов) при проходке стволов |
2 |
Не продлевается |
Примечание. Срок службы канатов продлевается решением специальной комиссии под руководством главного механика предприятия или рудника с учетом агрессивности среды. Акт комиссии должен утверждаться техническим руководителем предприятия.
Продление срока службы канатов позволяет эффективно использовать их технический ресурс при усилении надзора за состоянием каната. Безопасность эксплуатации канатов сверх предельного срока службы обеспечивается контролем потери площади сечения стали и обрывов проволок приборами, разрешенными к применению Госгортехнадзором России.
3.4.15. Все подъемные канаты вертикальных и наклонных шахтных подъемов, за исключением канатов на грузовых наклонных подъемах с углом наклона менее 30°, канаты для подвески полков, спасательных лестниц и проходческих люлек должны быть испытаны перед навеской.
Резинотросовые уравновешивающие канаты испытываются в соответствии с Инструкцией по эксплуатации резинотросовых уравновешивающих канатов.
Канаты подъемных установок и проходческие, испытанные перед навеской, за исключением подъемных шестипрядных канатов с органическим сердечником в вертикальных стволах и на людских и грузолюдских клетевых подъемах в наклонных выработках с углом наклона более 60°, проверяемых дефектоскопом, канатов в установках с одноканатными и многоканатными шкивами трения, канатов для подвески полков, должны повторно испытываться в следующие сроки:
а) через каждые 6 мес на людских и грузолюдских подъемных установках, а также для проходческих люлек;
б) через 12 мес после навески и затем через каждые 6 мес на грузовых, аварийно-ремонтных и передвижных подъемных установках, а также для спасательных лестниц;
в) через 6 мес после навески, а затем через каждые 3 мес - подъемные многопрядные неоцинкованные малокрутящиеся канаты (грузовые и грузолюдские).
Срок повторных испытаний канатов исчисляется с момента их навески.
Канаты, используемые для подвески спасательных лестниц и проходческих люлек, могут повторно не испытываться, если они проверяются в соответствии с требованиями табл. 17.
Шестипрядные подъемные канаты барабанных людских и грузолюдских подъемных установок с жесткими посадочными устройствами, проверяемые средствами неразрушающего контроля, подлежат перепанцировке в прицепных устройствах не реже одного раза в 6 мес.
На подъемных установках со шкивами трения в процессе вытяжки канатов регулирование их длины должно осуществляться поочередной отрубкой измеренной длины на разных ветвях канатов.
3.4.16. Для испытания каната отрезается конец длиной более 1,5 м. Для повторных испытаний каната отрезается кусок такой же длины над последним жимком запанцировки или клиновым регулируемым коушем.
Отрезку образца каната для испытаний длиной 1,5 м необходимо производить ножовкой, дисковой пилой трения и др. Применение электрогазосварки не допускается.
3.4.17. Каждый образец каната, направленный на испытание, должен быть снабжен копией заводского акта-сертификата, заверенной шахтой, и деревянным или металлическим ярлыком, прикрепленным к канату проволокой.
Сроки проведения контроля канатов
|
Угол наклона выработок, град |
Период времени, мес |
||||
|
До первой проверки |
между последующими проверками при относительной потере площади сечения стали, % |
||||
|
До 12 |
До 15 |
Свыше 15 |
|||
|
1 |
2 |
3 |
4 |
5 |
6 |
|
Подъемный: |
|
|
|
|
|
|
оцинкованный |
90 |
12 |
6 |
1 |
0,5 |
|
неоцинкованный |
90 |
6 |
2 |
1 |
0,5 |
|
Подъемный |
Более 60 |
6 |
2 |
1 |
0,5 |
|
Менее 60 |
2 |
1 |
0,5 |
0,25 |
|
|
* |
|
|
|
|
|
|
Для подвески спасательных лестниц и проходческих люлек |
90 |
6 |
2 |
1 |
0,5 |
|
Для подвески стволопроходческих комбайнов с запасом прочности менее 6-кратного |
90 |
12 |
2 |
1 |
0,3 |
|
Для подвески полков при проходке стволов при навеске с запасом прочности менее 6-кратного |
90 |
12 |
2 |
2 |
- |
|
Круглые уравновешивающие стальные |
90 |
Табл. 16 |
12 |
6 |
3 |
|
Тормозные парашютов |
90 |
Табл. 16 |
3 |
- |
- |
|
Проводниковые прядевые |
90 |
Табл. 16 |
6 |
3 |
3 |
|
Для подвески проходческого оборудования |
90 |
Табл. 16 |
12 |
6 |
3 |
* В выработках с углом наклона менее 60°, где установившийся срок службы канатов более 6 мес, периодичность контроля устанавливается главным механиком предприятия.
На ярлыке должны быть ясно указаны: производственное объединение, шахта, номер и назначение подъема, канат правый или левый, заводской номер каната, диаметр каната, ГОСТ, даты навески, отрубки и отправки каната на испытание.
Оба конца каждого образца должны быть надежно обвязаны проволокой.
На канатно-испытательной станции на ярлык наносят номер свидетельства испытуемого каната.
Отрезок каната перед испытанием должен быть осмотрен, при этом данные обо всех обнаруженных дефектах (обрыве, спайке, деформировании проволоки, ржавлении и др.) заносят в свидетельство об испытании каната.
Свидетельства первичных и повторных испытаний каната сохраняются на предприятии в течение всего срока службы каната. После снятия каната все свидетельства об испытаниях с отметкой дат навески и снятия, а также причины снятия подлежат возврату на канатно-испытательные станции.
3.4.18. Канат должен быть снят и заменен другим, если при повторном испытании:
а) запас его прочности окажется ниже 7-кратного для людских и аварийно-ремонтных подъемов; 6-кратного для грузолюдских подъемов и проходческих люлек; 5-кратного для грузовых, передвижных подъемных установок и спасательных лестниц;
б) суммарная площадь проволок, не выдержавших испытания на разрыв и перегиб, достигнет 25 % общей площади поперечного сечения всех проволок каната.
На канаты с максимальной длиной отвеса более 600 м в вертикальных стволах, рассчитанных по переменному запасу прочности, распространяется только требование пункта «б».
Если в процессе эксплуатации канаты подвергались экстремальным нагрузкам, то работа данной установки должна быть немедленно прекращена для осмотра канатов. Результаты осмотра должны быть записаны в Книгу осмотра канатов. В случае несоответствия канатов требованиям, изложенным в ПБ, их заменяют.
Экстремальными нагрузками считать нагрузки, возникающие при застревании сосуда в стволе, ударном столкновении подъемного сосуда с элементами жесткой армировки или другим сосудом, срабатывание парашюта при подъеме клети на полной скорости, падение на сосуд тяжелых предметов.
Экстремальными нагрузками считать также нагрузки, приведшие к срабатыванию максимальной токовой защиты привода подъемной машины.
3.4.19. Многие канаты, снятые с вертикальных и наклонных подъемов, имеют еще достаточную прочность и могут быть повторно использованы для откатки грузов по наклонным и горизонтальным выработкам, в качестве временных канатных проводников, для отбойных канатов, на терриконах, для различного рода такелажных и монтажных работ, то есть в тех случаях, когда канаты перед навеской не испытываются. Повторно могут быть использованы канаты, у которых число обрывов проволок на шаге свивки не превышает 5 %, потеря площади сечения металла при контроле по всей длине прибором не превышает 10 %, а износ наружного слоя проволок не превышает 25 % их диаметра.
Работа и выбор повторно используемых канатов, так же как и новых, должны регламентироваться соответствующими нормативными документами для данной установки (механизма).
3.4.20. Допускается повторное использование снятых стальных канатов для навески проходческого оборудования (оборачивание концов каната) при условии дополнительных испытаний отрезка каната, взятого у его нижнего конца, на канатно-испытательных станциях и инструментального контроля потери сечения металла проволок. Обработка результатов испытаний канатов на канатно-испытательных станциях должна производиться по нормам повторных испытаний, при этом запас прочности полковых канатов должен быть таким же, как и для новых. Срок службы повторно используемых канатов определяется предельным сроком службы, установленным нормативными документами для канатов данного назначения, с вычетом времени их предыдущей эксплуатации.
3.5.1. Прочность каната в основном обусловливается площадью сечения стали в его поперечном сечении и временным сопротивлением разрыву проволок. В процессе эксплуатации площадь поперечного сечения стали проволок уменьшается вследствие механического износа и коррозии, появляются обрывы проволок. Особую опасность представляет коррозия внутренних проволок, не поддающаяся контролю внешним осмотром. Нередко коррозией поражаются соприкосновения проволок смежных прядей и места контакта проволок с сердечником. Быстрее корродируют канаты, проволоки которых не имеют защитного покрытия, при несвоевременном нанесении смазки на канаты в процессе их эксплуатации, нанесении на канаты вместо специальной канатной смазки смазок другого назначения, иногда в смеси с отработанными маслами. Проволоки оцинкованных канатов корродируют после разрушения цинкового покрытия, то есть через значительно больший срок, чем проволоки неоцинкованных канатов. При шелушении цинкового покрытия, наблюдаемого в начальный период эксплуатации в случае некачественного покрытия проволок, коррозия стали может происходить в те же сроки, что и для неоцинкованных канатов.
Опыт эксплуатации канатов, подверженных коррозии, показывает, что при удовлетворительном наружном состоянии каната (число видимых обрывов наружных проволок на длине шага свивки и утонение находятся в допустимых пределах) из-за коррозии прочность каната может уменьшиться настолько, что обрыв каната может произойти при нормальных эксплуатационных режимах.
Для обеспечения безопасности работы подъемной установки должна контролироваться с помощью специального прибора потеря площади сечения стали от коррозии и механического износа круглых подъемных канатов с органическим и металлическим сердечниками, изготовленными как из проволоки без покрытия, так и из оцинкованной проволоки.
3.5.2. Подъемные прядевые канаты, эксплуатирующиеся в вертикальных стволах и на людских и грузолюдских подъемах, в наклонных выработках, а также канаты для подвески полков при проходке стволов глубиной более 600 м и для подвески стволопроходческих комбайнов, навешиваемых с запасом прочности менее 6-кратного, должны подвергаться инструментальному контролю. При навеске канатов, которые должны подвергаться инструментальному контролю, в том числе и при продлении срока службы в порядке и по условиям, приведенным в табл. 17, от них должны отрезаться и храниться в здании подъема в течение всего срока службы контрольные отрезки.
Инструментальная проверка всех перечисленных выше канатов может начинаться ранее и производиться чаще, чем указано в табл. 17, если при визуальных осмотрах будет обнаружен ускоренный износ наружных проволок от коррозии и истирания.
Средства неразрушающего контроля шахтных канатов отечественного и иностранного производства допускаются к применению Госгортехнадзором России.
В последние годы для инструментального контроля канатов получили распространение двухфункциональные приборы (например, «Интрос»), применяющиеся для определения потери сечения и обнаружения локальных дефектов. В отличие от приборов типа ИИСК указанные приборы фиксируют результаты измерений в памяти, обеспечивая количественный и качественный анализ результатов измерений.
При использовании таких приборов следует руководствоваться соответствующими нормативными, методическими документами и инструкциями изготовителей.
Далее в настоящей Инструкции приведены методические указания по инструментальному контролю канатов приборами типа ИИСК.
3.5.3. Потерю площади сечения подъемного каната по всей длине от коррозии и механического износа допускается контролировать с помощью измерителей износа стальных канатов ИИСК-5. Контроль неоцинкованных канатов может производиться измерителем ИИСК-4.
3.5.4. Измерители ИИСК-5 и ИИСК-4 предназначены для работы в стволах, подземных выработках и околоствольных помещениях шахт и рудников, опасных по газу и пыли, при температуре от -10 до +40 °С и относительной влажности 100 %.
Приборы обеспечивают измерение относительной потери площади сечения стали в пределах от 5 до 30 % с абсолютной погрешностью не более ± 3 % канатов диаметром, мм:
от 15 до 65 - ИИСК-5;
от 18 до 65 - ИИСК-4.
В приборах реализуется способ, основанный на измерении относительного уменьшения переменного магнитного потока индуктивным измерительным преобразователем, у которого составной частью магнитопровода является отрезок контролируемого каната. При этом шкала стрелочного показывающего прибора проградуирована в процентах относительной потери площади сечения стали проволок.
Особенность контроля оцинкованных канатов состоит в том, что при зондировании их переменным магнитным полем слой цинка на проволоках создает противопоток, влияющий на показания прибора. При использовании прибора ИИСК-4 выделить связанное с этим изменение магнитного потока нельзя, в связи с чем они непригодны для контроля оцинкованных канатов.
3.5.5. Измерители износа стальных канатов ИИСК-5 и ИИСК-4 включают две составные части:
прибор измерительный типа ПРИ.3 в ИИСК-5 и ПРИ.2 в ИИСК-4;
измерительный преобразователь ИПР.2 в ИИСК-5 и ИПР.1 в ИИСК-4.
В зависимости от диаметра контролируемых канатов должны применяться типоразмеры ИИСК-5 и ИИСК-4, приведенные в табл. 18.
Диаметры канатов, мм, в зависимости от типа прибора
|
Маркировка типоразмеров измерителя |
|||||
|
А |
Б |
В |
Г |
Д |
|
|
ИИСК-5 |
15 - 25 |
25 - 42 |
42 - 65 |
- |
- |
|
ИИСК-4 |
18 - 25 |
25 - 35 |
35 - 45 |
45 - 55 |
55 - 65 |
Соответственно измерители маркируются и должны заказываться с учетом конкретного типоразмера: ИИСК-5А, ИИСК-4Г и т.д. Измерительные преобразователи маркируются аналогично (ИПР.2А, ИПР.4Г), а прибор измерительный каждой модели измерителя выпускается одной модификации для всех типоразмеров, но проходит индивидуальную заводскую настройку в составе конкретного типоразмера.
3.5.6. Принцип действия ИИСК-5 и ИИСК-4 основан на определении разности параметров преобразователя, установленного на контрольном отрезке каната и затем на контролируемом канате. Поэтому контроль канатов может производиться измерителями только при наличии контрольных отрезков подлежащих проверке канатов, которые должны использоваться для настройки измерителей перед выполнением измерений. Контрольным может считаться отрезок подлежащего проверке каната, оставленный при навеске последнего на подъемной установке и не подвергавшийся воздействию разрушающих факторов (сечение металла этого отрезка каната может быть принято за 100 %). Контрольный отрезок должен иметь длину не менее 5,5 м, концы его надежно обвязаны мягкой проволокой или зажаты жимком, а торцы заварены. Не допускается использовать в качестве контрольного отрезок каната с нарушенной структурой (при наличии «жучков», запавших или выпученных прядей, ослабленных проволок в прядях и др.).
В средней части контрольный отрезок должен иметь участок длиной (1,0 + 0,1) м, на котором путем равномерного удаления (одинакового количества) проволок наружного слоя от каждой пряди имитирована относительная потеря площади сечения стали в пределе 10 - 15 %.
Диаметры проволок каната берутся из свидетельства об испытаниях в канатно-испытательной станции или из соответствующего стандарта (если канат перед навеской не испытывается). Площадь сечения всех проволок каната берется из стандарта, но корректируется, если по результатам испытаний в канатно-испытательной станции установлено, что завод-изготовитель изменил диаметры проволок.
Например, на подъемной установке навешен канат диаметром 39,5 мм (ГОСТ 7668-80). Расчетная площадь сечения всех проволок каната согласно сортаменту - 615,25 мм2, диаметр наружных проволок - 2,2 мм. Канатно-испытательная станция установила, что канат изготовлен заводом с наружной проволокой диаметром 2,1 мм. Площадь сечения всех проволок каната с учетом указанной корректировки составляет 587,58 мм2.
Для получения участка, имитирующего потерю площади сечения металла, в каждой пряди удалено по 4 проволоки, всего в 6 прядях удалено 24 проволоки. Относительная потеря площади сечения стали (%) при этом составит
![]()
К каждому контрольному отрезку каната должна быть прикреплена бирка с указанием заводского номера, ГОСТ, диаметра и значения относительной потери площади сечения стали на участке с искусственным дефектом.
3.5.7. Контрольный отрезок должен быть натянут с тем же усилием, что и подлежащий проверке канат. Допускается использование для настройки измерителя контрольного отрезка, натянутого с меньшим усилием, но не менее 5 кН. В последнем случае в показания измерителя при его настройке каждый раз перед выполнением измерений должна вводиться поправка, обусловленная разностью натяжений проверяемого каната и его контрольного отрезка.
Если контролируется канат, у которого имеется заведомо неизношенный участок (участок подъемного каната вблизи точки схода с подъемной машины барабанного типа при положении подъемного сосуда на нижней приемной площадке, участок каната для подвески полков и проходческого оборудования вблизи точки схода с лебедки), то поправка вводится за счет настройки (регулировки баланса моста) прибора измерительного и вывода на нуль стрелки показывающего прибора, которая сместилась с нуля после перестановки измерительного преобразователя прокалиброванного прибора с контрольного отрезка на проверяемый канат. При этом принимается, что площадь сечения всех проволок на указанном выше участке каната подъемной установки с машиной барабанного типа не уменьшается за время эксплуатации каната, то есть сохраняется постоянной от измерения к измерению.
Если контролируется канат, у которого нет неизношенного участка (головные канаты подъемных установок с одноканатными и многоканатными шкивами трения, подъемные канаты установок с многослойной навивкой, где обводнению и коррозии подвергаются и витки трения, и запасные витки, расположенные на барабане за счет выноса воды канатом, расположенным в верхних слоях, и др.), то поправка должна определяться не позднее чем через месяц со дня навески каната на подъемную установку, но после окончания его конструктивной вытяжки. Поправка определяется так же, как и на подъемной установке с машиной барабанного типа по разбалансу настроенного и прокалиброванного на контрольном отрезке прибора после его перестановки на находящийся в навеске канат. Установленное для каждого каната значение поправки должно быть записано в Книгу осмотра канатов и при выполнении в дальнейшем контроля относительной потери площади сечения металла должно вводиться в прибор после его калибровки на контрольном отрезке.
3.5.8. При эксплуатации оцинкованных канатов механический износ проволок начинается с разрушения цинкового покрытия. Гальванические процессы, происходящие при контакте проволоки с шахтной водой, содержащей соли, кислоты или щелочи, также сначала разрушают более активный цинк, препятствуя разрушению стали проволок.
Уменьшение массы цинкового покрытия приводит к отклонению указателя показывающего прибора, причем это отклонение возрастает по мере износа цинка, но не свидетельствует об уменьшении площади сечения стали проволок. Поэтому эти показатели должны быть разграничены с показаниями, характеризующими потерю площади сечения стали проволок.
Внесение соответствующей поправки в показания измерителя ИИСК-5 основывается на следующем:
а) показывающий прибор ИИСК-5 имеет дополнительную нижнюю шкалу с нулем посредине, относительно которого указатель перемещается в разные стороны в зависимости от того, что служит причиной разбаланса измерительного моста: разрушение цинка или разрушение стали;
б) разрушение цинкового покрытия начинается раньше разрушения стали проволок, а после его завершения в той мере, в какой оно влияет на показание измерителя, проходит еще длительный период, соответствующий времени работы в данных условиях неоцинкованного каната до начала коррозии и механического износа стали, то есть появления потери площади сечения стали проволок, чему отвечает отклонение указателя показывающего прибора в сторону, противоположную той, куда стрелка отклоняется по мере износа цинка.
Максимальное по значению отклонение указателя показывающего прибора от нуля нижней шкалы влево является поправкой, которую нужно суммировать с показаниями прибора при отклонениях указателя от нуля вправо, вызываемых уменьшением площади сечения стали проволок и фиксируемых при выполнении текущего осмотра.
Значение поправки, как показывает накопленный опыт, колеблется в широких пределах - от 1 - 2 до 4 - 5 % и для отдельных канатов может превышать 5 % относительной потери площади сечения стали проволок, в связи с чем неправильное определение ее (при пропуске момента максимального левого отклонения указателя измерительного прибора) приведет к эксплуатации каната, имеющего опасный износ, который значительно превышает допустимый.
Во избежание этого, во-первых, следует проводить первую инструментальную проверку оцинкованных канатов раньше, чем указано в табл. 17, если при визуальном осмотре будет обнаружен заметный износ цинкового покрытия. В случае шелушения цинка в начальный период эксплуатации каната периодичность проведения его инструментального контроля должна быть такой, как для неоцинкованных канатов.
Во-вторых, инструментальный контроль оцинкованных подъемных канатов следует проводить, как правило, с подключением самопишущего прибора, если это не противоречит условиям безопасного применения измерителя в опасных по газу и пыли выработках шахт, так как уровень его взрывозащиты РП с искробезопасными электрическими цепями, а самописец общепромышленного исполнения. В качестве самописца можно использовать любой самопишущий миллиамперметр с током полного отклонения 5 мА и выходным сопротивлением от 300 до 1200 Ом. Накопление канатограмм позволяет при их сопоставлении зафиксировать момент окончания разрушения цинкового покрытия и значение поправки, которая должна в последующем учитываться при измерениях относительной потери площади сечения стали проволок. Кроме того, наличие канатограмм позволяет наглядно видеть распределение потери площади сечения по длине каната, а также ее изменение во времени. Канатограмма является документом о состоянии каната на день проверки.
3.5.9. Перед проверкой каната прибором типа ИИСК рекомендуется удалить все выступающие концы оборванных проволок, очистить поверхность каната от местных скоплений затвердевшей смазки, грязи, льда и других инородных покрытий.
При резких возрастаниях значений измеряемой величины на коротких по длине участках каната следует убедиться в правильности выполнения контроля в соответствии с требованиями Руководства по эксплуатации измерителя износа стальных канатов, а в месте наибольших показаний измерение должно быть проведено при неподвижном состоянии преобразователя и каната.
Следует иметь в виду, что находящиеся на расстоянии менее 0,5 м от каната большие ферромагнитные массы, как, например, металлические балки, влияют на показания прибора. Если невозможно удалить их от каната (например, близко к расстрелам располагаются обычно тормозные канаты парашютов клетей, близко друг к другу располагаются головные канаты многоканатных подъемных установок), то соответствующую погрешность измерений следует исключить за счет соответствующей установки контрольных образцов канатов при настройке и калибровке измерителя.
3.5.10. При контроле потери площади сечения стали запрещается результаты измерений на одном участке каната экстраполировать на другие участки. Каждый канат должен проверяться по всей длине. Как правило, это не удается сделать с одной установки измерительного преобразователя. Поэтому на канате перед перестановкой преобразователя должна ставиться метка, необходимая для исключения возможности пропуска участка каната.
3.5.11. Канаты должны быть сняты и заменены новыми при относительной потере площади сечения стали, достигающей:
а) 10 % для головных канатов в вертикальных стволах с длиной отвеса более 900 м, навешиваемых по переменной шкале запасов прочности (по отношению суммарного разрывного усилия всех проволок к концевому грузу), для головных канатов людских и грузолюдских двухканатных установок, не оборудованных парашютами, для полковых канатов, навешиваемых с запасом прочности менее 6-кратного при полиспастной схеме подвески полков, а также для тормозных канатов;
б) 15 % для головных канатов с металлическим сердечником, трехграннопрядных, с круглыми пластически обжатыми прядями, навешиваемых по постоянной шкале запасов прочности (по отношению суммарного разрывного усилия к расчетной статической нагрузке), а также для канатов всех конструкций в вертикальных стволах с длиной отвеса до 900 м, навешиваемых по переменной шкале запасов прочности, а также канатов для подвески стволопроходческих комбайнов, навешиваемых с запасом прочности менее 6-кратного;
в) 18 % для круглопрядных канатов с органическим сердечником на вертикальных и наклонных людских и грузолюдских подъемах, а также диаметром 45 мм и менее на грузовых подъемах, навешиваемых по постоянной шкале запасов прочности, и для проводниковых канатов при строительстве и эксплуатации стволов и канатов для подвески проходческого оборудования (которые могут быть проверены на потерю сечения металла по всей длине);
г) 20 % для круглопрядных канатов диаметром более 45 мм с органическим сердечником на вертикальных грузовых подъемах, навешиваемых с запасом прочности не менее 6,5-кратного, для отбойных канатов, канатов для подвески полков (кроме указанных в п. «а»);
д) 24 % для уравновешивающих канатов.
3.5.12. Контроль потери площади сечения стали подъемных канатов осуществляется протяжкой каната через измерительный преобразователь.
Контроль неподвижных канатов (проводниковых, полковых, тормозных и др.) выполняется перемещением измерительного преобразователя по контролируемому канату. Для этого преобразователь крепится вспомогательным тросиком к подъемному сосуду, который во время проверки должен двигаться вверх по стволу.
Во избежание появления дополнительной погрешности в процессе измерений ось тросика (стропа), которым крепится измерительный преобразователь, не должна отклоняться от оси проверяемого каната более чем на 15°, так как в противном случае может произойти расстыковка половин преобразователя и появится дополнительный магнитный зазор, искажающий результаты измерений.
Проверка отвеса подъемного каната и его струны производится на нулевой отметке ствола. Ствол должен иметь прочное перекрытие. В процессе проверки указанных участков подъемный сосуд должен двигаться вниз. Оператор (наладчик) с измерительным прибором, производящий проверку, должен при этом находиться вне перекрытия. Аналогично при установке измерительного преобразователя на уравновешивающий канат на отметке руддвора оператор с измерительным прибором должен находиться вне сечения ствола.
Скорость относительного движения контролируемого каната и измерительного преобразователя должна быть не более 0,5 м/с.
3.5.13. Систематические проверки шахтных канатов приборами рекомендуется производить специальными бригадами операторов (наладчиков) в количестве 2 - 3 чел.
В распоряжении таких групп должен быть набор комплектов измерителей для всех диаметров прядевых канатов, использующихся на подъемах предприятия и подлежащих контролю указанными приборами.
Проверка канатов должна производиться согласно графику.
3.5.14. Уравновешивающие резинотросовые канаты в течение шести лет со дня навески при 7-кратном запасе прочности и трех лет при 5,5-кратном запасе прочности должны не реже одного раза в год проверяться по всей длине дефектоскопом с участием главного механика шахты (рудника) или его заместителя.
В течение последующего периода эксплуатации контроль канатов дефектоскопом должен производиться не реже одного раза в полгода.
При обнаружении обрыва троса методом замера входного сопротивления для установления места обрыва канат должен быть проверен дефектоскопом в течение двух недель и далее проверяться ежеквартально.
После обнаружения первого обрыва троса при навеске с 5,5-кратным запасом прочности и второго обрыва при навеске с 7-кратным запасом, не связанных с механическим повреждением каната или коррозией крайних тросов, контроль каната дефектоскопом должен проводиться не реже одного раза в месяц.
Отрезок резинотросового каната от прицепного устройства до ближнего к прицепному устройству стыка или от стыка до стыка должен быть заменен новым, если на его участке длиной, не превышающей в 15 раз ширину, число оборванных тросов при навеске с 5,5-кратным запасом прочности превышает 2, а при навеске с 7-кратным запасом прочности превышает n/3 - 1, где п - число армирующих тросов в канате, за исключением случая, когда оборваны соседние тросы вблизи друг от друга (в пределах длины, равной ширине каната), причем хотя бы один из обрывов не связан с механическим повреждением или коррозией тросов. В этом случае отрезок каната между стыками должен быть заменен новым, когда число оборванных тросов превышает три для всех типоразмеров канатов.
Для всех типоразмеров канатов при навеске с 5,5-кратным запасом прочности допускается эксплуатация до появления трех обрывов тросов на длине, не превышающей в 15 раз ширину каната, если два из обрывов произошли на крайних тросах и вызваны их коррозией или механическими повреждениями.
Канаты, имеющие менее 12 тросов, должны быть сняты при первом же обрыве усталостного характера или двух обрывах, происшедших по другим причинам (исключая коррозию крайних тросов) на длине, не превышающей в 15 раз ширину каната.
3.5.15. На многоканатных подъемных установках должен еженедельно осуществляться контроль распределения нагрузки между головными канатами при нижнем положении подъемного сосуда. Контроль распределения нагрузки при верхнем положении подъемного сосуда должен осуществляться при каждом измерении потери сечения каната, а также в тех случаях, когда возникнет сомнение в равномерности натяжения всех канатов.
Необходимость такого контроля вызвана тем, что на многоканатных подъемных установках может иметь место значительная неравномерность распределения нагрузки между канатами, при которой перегрузки канатов в 1,5 раза превышают номинальные. Неравномерность распределения нагрузки между канатами приводит к ускоренному износу футеровки и к ускоренному разрушению перегруженного каната. Когда степень износа подъемных канатов приближается к предельно допустимой, перегрузки отдельных канатов могут привести к их обрыву.
При нижнем положении подъемного сосуда распределение нагрузки между канатами с достаточной точностью может быть определено волновым методом.
Сущность волнового метода состоит в том, что время распространения упругой поперечной волны по канату зависит от величины концевой нагрузки, приложенной к нему. Время прохождения волны до сосуда и обратно следует измерять специальными устройствами «Унисон», «Волна» или секундомерами типа С-1, С-2, СИ-60 с ценой деления 0,1 или 0,2 с при глубине ствола, превышающей 500 м.
Возбуждение поперечной волны производится вручную. Момент возвращения волны после отражения ее в точке закрепления каната к сосуду фиксируется по внезапному толчку руки, держащей канат.
Абсолютную величину концевой нагрузки, приложенной к каждому канату (Н), определяют по формуле

где L - длина каната от оси канатоведущего шкива до прицепного устройства на сосуде, м;
βi
- коэффициент, определяемый по формуле ![]()
ti - время прохождения сигнала по канату туда и обратно, с.
Среднюю статическую нагрузку на канат определяют по формуле
![]()
Относительную перегрузку каждого каната определяют по формуле

Если перегрузка канатов вызвана разностью их длин, то в этом случае выравнивание усилий в канатах может быть осуществлено укорочением тех канатов, в которых зарегистрировано наименьшее усилие. По результатам измерения усилий Рi находят Рmax, и длина этого каната остается неизменной, остальные канаты укорачиваются на величину, м:
![]()
3.5.16. При верхнем положении подъемного сосуда равномерность натяжения канатов обеспечивается выполнением рекомендаций п. 3.5.19.
3.5.17. Если относительная перегрузка одного из канатов в нижнем положении подъемных сосудов превышает 15 %, то подъемная машина должна быть остановлена для регулировки распределения нагрузки на канаты.
Отклонение нагрузки определяется по отношению к средней расчетной нагрузке на канаты. При обеспечении допустимой неравномерности распределения нагрузок в канатах при нижнем положении сосуда (регулировкой длин канатов) допустимая неравномерность при верхнем положении обеспечивается контролем и регулировкой радиусов навивки канатов.
3.5.18. Проверка радиусов навивки канатов производится в такой последовательности:
подъемные сосуды устанавливают в середине ствола;
на канатах ранее опускавшейся ветви в зоне нулевой площадки на одном горизонтальном уровне укрепляют метки. В качестве меток рекомендуется использовать цветную изоляционную ленту, причем нижняя кромка ленты на каждом канате должна располагаться в плоскости, перпендикулярной к оси каната. На одном из канатов выше метки необходимо прикрепить сигнальный флажок из ткани яркого цвета;
вращением приводного шкива на малой скорости (до 1 м/с) участок канатов с метками перемещается через шкив на противоположную ветвь. По достижении указанным участком канатов зоны нулевой площадки машина плавно останавливается, причем команда на остановку машины подается с нулевой отметки оператором, наблюдающим за приближением сигнального флажка; реверс машины для возврата меток не допускается;
линейкой измеряют расстояния по вертикали между верхней и остальными метками ∆L1, ∆L2, ..., ∆Ln (измерения производят между верхними кромками меток с точностью ± 1 мм);
устанавливают наибольшее из значений ∆L (расстояние между верхней и нижней метками), обозначив его ∆Lmах (верхняя метка находится на канате с наименьшим радиусом навивки, а нижняя метка - на канате с наибольшим радиусом навивки);
величина ∆Lmах сравнивается со значением допустимого рассогласования меток ∆Lдоп, определяемым (один раз для данного подъема) по формуле

где β' - коэффициент, равный 0,897·10-6 для канатов по ГОСТ 7668-80; 0,829·10-6 для канатов по ГОСТ 7669-80 и ГОСТ 3085-80;
L - путь, проходимый метками при их перемещении из начального положения в конечное, м;
Н0 - длина ветви головных канатов при нижнем положении подъемного сосуда от оси канатоведущего шкива до сосуда, м;
h0 - длина ветви головных канатов при верхнем положении подъемного сосуда (в разгрузке), м;
-
коэффициент, определяемый по графику (рис. 50);
-
средняя нагрузка на канат при нижнем положении сосуда, Н;
Рис.
50. График
значений коэффициента 
здесь Qм - масса порожнего сосуда с подвесными и прицепными устройствами при двухконцевом подъеме или масса противовеса при одноконцевом подъеме с противовесом, кг;
hу - длина петли каната при нижнем расположении сосуда, м.
3.5.19. Если ∆Lmах меньше ∆Lдоп, то распределение нагрузки при верхнем положении сосуда находится в норме, если ∆Lmах больше ∆Lдоп, то необходима проточка ручьев футеровки.
Глубина необходимой проточки ручья δR футеровки определяется по формуле
δR = kф∆L,
где kф = D / 2L - постоянный для данной подъемной установки коэффициент; (здесь D - номинальный диаметр приводного шкива, м);
L - путь, проходимый метками при проверке радиусов навивки канатов, измеренный рулеткой с точностью до 1 м.
Тщательное выполнение требований, указанных в настоящей Инструкции, обеспечит высокую работоспособность и безопасность эксплуатации шахтных канатов.
3.6.1. При эксплуатации канатов на наклонных выработках во избежание волочения каната по почве или шпалам рельсового пути необходима установка поддерживающих роликов по всей длине выработок.
3.6.2. При выборе роликов необходимо руководствоваться следующими основными положениями:
конструкция роликов и опор должна быть простой и удобной;
смазка в опорах роликов должна хорошо удерживаться;
материал обода ролика должен быть упругим, чтобы уменьшить давление на канат, и стойким против изнашивания.
В качестве футеровки может быть использована конвейерная лента.
Некоторые типы роликов, рекомендуемые к применению на шахтах, приведены на рис. 51.
3.6.3. Не следует применять в качестве подканатных роликов сваренные между собой вагонеточные колеса, так как такие устройства сокращают срок службы канатов.
3.6.4. При установке путевых роликов должно соблюдаться принятое проектом расстояние между их осями.
Максимально допустимое расстояние между осями роликов определяется отсутствием трения каната о шпалы и минимально допустимым радиусом кривизны кривой изгиба каната над роликом.
Наибольший провес каната получается в том пролете между роликами, в котором натяжение каната минимально (Smin). Исходя из этих условий, максимальное расстояние между роликами, м, определяется уравнением

где h - расстояние от каната, лежащего на ролике, до шпалы, мм;
l = 25 - 40 - допустимое расстояние между провисшей частью каната и шпалами или почвой, мм;
Р - масса одного метра каната, кг;
α - угол наклона пути.
Наименьшее натяжение каната будет вблизи спускающегося с некоторым ускорением j порожнего подъемного сосуда:
![]()
где Qп - концевая нагрузка на порожней ветви каната, Н;
f1 = 0,06 - общий коэффициент сопротивления движению подъемного сосуда по горизонтальному пути.
3.6.5. На перегибах пути, где установка шкивов большого диаметра затруднительна, следует устанавливать ряд шкивов небольшого диаметра или батарею роликов.
3.6.6. В тех случаях, когда подъем оборудуется концевым канатом с заездами, в местах сопряжения штреков с наклонным стволом устанавливают отклоняющие ролики и шкивы.
Рис. 51. Путевые ролики:
а - наборный деревянный; б - трубчатый; в - разъемный с деревянной футеровкой; г - разъемный с резиновой футеровкой; д - трубчатый с резиновой футеровкой
Отклонение каната производится системой цилиндрических (иногда конических) роликов и шкивов (рис. 52), устанавливаемых по очереди на вертикальных и горизонтальных осях, или цилиндрическими роликами на наклонных осях (рис. 53).
Рис. 52. Ролики для закруглений с вертикальной 1 и горизонтальной 2 осями
Рис. 53. Отклоняющий цилиндрический ролик 1 с креплением 2
Такие ролики размещаются на разминовках, которые устанавливаются в стволах с однолинейным рельсовым путем, оборудованных двухконцевым подъемом.
3.6.7. Ролики с осями и подшипниками устанавливаются на шпалах или между шпалами на деревянных или металлических балочках, уложенных на двух соседних шпалах. Последнему способу закрепления роликов следует отдать предпочтение, так как при этом диаметр роликов может быть увеличен.
При креплении подшипников осей роликов надо следить, чтобы не было их зажатия, ролики должны легко вращаться от руки.
3.6.8. При ежесуточном осмотре путей и канатов осмотру должны подвергаться и путевые ролики, причем легкость хода их проверяется вращением вручную. Если ролик не вращается или вращается тяжело, следует выявить причину и немедленно устранить ее. Если устранить повреждение ролика немедленно невозможно, следует убрать его, так как невращающийся ролик способствует износу каната.
Подшипники роликов должны регулярно смазываться. Необходимо следить за своевременной добавкой и заменой смазки. В подшипниках с кольцевой смазкой масло должно добавляться по мере надобности, а заменяться не реже одного раза в три месяца. При применении колпачковых масленок не реже одного раза в сутки крышки их должны подкручиваться на два-три оборота.
Зарядку подшипников смазочными материалами следует производить раз в три-четыре месяца.
ПРИМЕРЫ ХАРАКТЕРНЫХ ДЕФЕКТОВ КАНАТОВ
Рис. 1. Типы изломов проволоки:
а - излом, вызванный сильным абразивным изнашиванием; б - излом при изгибе; в - излом при растяжении; г - излом, вызванный коррозией при растяжении; д - усталостный излом; е - неоднородный усталостный излом; ж - излом, вызванный коррозионной усталостью; з - вязкий излом при абразивном изнашивании; и - мартенситный излом; к - сдвиговый излом
Рис. 2. Типичные примеры износа проволочных канатов:
а - механическое повреждение в результате движения каната по острым выступающим краям под нагрузкой; б - местное абразивное изнашивание в результате трения об опорные конструкции. Вибрация каната на участке между барабаном и головным шкивом стрелы; в - узкая полоса абразивного изнашивания, приводящая к усталостному разрушению, вызванная движением каната в желобе с чрезмерно широким профилем или в маленьких блоках; г - две параллельные линии оборванных проволок, указывающие на изгиб в результате движения по желобу с узким профилем; д - сильное абразивное изнашивание, вызванное высоким давлением на контактной поверхности. Выпучивание главного волокнистого сердечника; е - сильное абразивное изнашивание каната параллельной свивки, вызванное абразивным трением по выступающим точкам при многослойной навивке на барабан; ж - сильная коррозия в результате погружения каната в воду с химическими добавками; з - внутренняя коррозия, очевидная, хотя на внешней поверхности каната мало что указывает на наличие износа. Полное отсутствие зазора между прядями является признаком внутреннего разрушения;
Рис. 2. Окончание
и - типичные обрывы проволок в результате усталости при изгибе; к - обрывы проволок на поверхностях раздела между прядями или между прядями и сердечником, как свидетельствует появление «бугров», вызваны разрушением опорного сердечника; л - разрыв независимого проволочного канатного сердечника вызван высокими прикладываемыми напряжениями. Обратите внимание на образование просветов между прядями верхнего слоя; м - выпучивание сердечников прядей в результате неустойчивости против кручения при ударных нагрузках; н - типичный пример местного абразивного износа и деформации в результате того, что данный участок каната был заломлен при размотке; о - образование «птичьей клетки» на поверхности многопрядного каната в результате неустойчивости против кручения. Образования такого типа типичны для участков, прилегающих к концевым креплениям крановых подъемных канатов; п - выпучивание независимого проволочного канатного сердечника в результате приложения ударных нагрузок; р - значительное абразивное изнашивание и сильная внутренняя коррозия. В этом случае причинами износа являются высокое натяжение, абразивное трение и коррозионно-активная окружающая среда
1. Временное типовое положение по безопасным методам ведения работ при перекрытии стволов во время замены подъемных канатов и сосудов. Макеевка - Донбасс: МакНИИ, 1978.
2. Инструкция по испытанию шахтных канатов. Макеевка - Донбасс: МакНИИ, 1983.
3. Инструкция по навеске и безопасной эксплуатации огнестойких резинотросовых уравновешивающих канатов (РТК) на скиповых подъемах шахт и рудников. Харьков: ВНИИОМШС, 1981.
4. Нормы безопасности на проектирование и эксплуатацию канатных проводников подъемных установок. Макеевка - Донбасс: МакНИИ, 1982.
5. Общесоюзные нормы технологического проектирования подземного транспорта горнодобывающих предприятий (ОНТП1-79). М.: Центрогипрошахт, 1980.
6. Основные положения по проектированию подземного транспорта новых и действующих угольных шахт. М.: ИГД им. А.А. Скочинского, 1977.
7. Правила безопасности в угольных шахтах (РД 05-94-95).
8. Правила технической эксплуатации проходческих лебедок и подвесного оборудования. Харьков: ВНИИОМШС, 1984.
9. Правила технической эксплуатации угольных и сланцевых шахт. М.: Недра, 1976.
10. Руководство по замене головных и уравновешивающих канатов на многоканатных подъемных установках РТМ 07.01.016.83. Донецк: ВНИИГМ им. М.М. Федорова, 1983.
11. Руководство по контролю и регулировке распределения нагрузки между головными канатами многоканатных подъемных установок. РТМ 07.01.015-82. Донецк: ВНИИГМ им. М.М. Федорова, 1983.
12. Руководство по техническому обслуживанию и ремонту шахтных подъемных установок. М.: Недра, 1983.
|
_________________________________________________________ |