ГОССТРОЙ УССР
РАЗРАБОТАНЫ
ТРЕСТОМ ОРГДОРСТРОЙ
МИНДОРСТРОЯ УССР
РЕКОМЕНДОВАНЫ
НИИСП ГОССТРОЯ УССР
К ВНЕДРЕНИЮ
В СТРОИТЕЛЬНОЕ ПРОИЗВОДСТВО
Карты
трудовых процессов
строительного производства
УСТРОЙСТВО ЗЕМЛЯНОГО ПОЛОТНА
ДОРОЖНО-СТРОИТЕЛЬНЫМИ МАШИНАМИ

КИЕВ «БУДIBЕЛЬНИК» 1981
Карты трудовых процессов предназначены для организации труда рабочих, занятых на устройстве земляного полотна автомобильных дорог. Карты определяют рациональный состав исполнителей, потребность в механизмах и технологическую последовательность выполнения работ.
Карты могут быть использованы при разработке проектно-технологической документации, а также для обучения рабочих прогрессивной технологии производства работ.
Карты разработаны в соответствии с Положением по разработке и внедрению карт трудовых процессов в строительное производство НИИСП Госстроя УССР.
Нормативные материалы приведены по состоянию на 01.03.81.
Авторы: И.М. Кравченко, И.Б. Керч, Н.А. Любченко.
Редакция литературы по сельскому строительству и озеленению.
Заведующая редакцией Н.С. Колесник.
ВХОДИТ В КОМПЛЕКТ КТП-2.1-4. ВЗАМЕН КТ-0.0
I. НАЗНАЧЕНИЕ И ЭФФЕКТИВНОСТЬ ПРИМЕНЕНИЯ КАРТЫ
1.1 Карта предназначена для организации труда рабочих при устройстве земляного полотна в насыпи самоходными скреперами ДЗ-11 (Д-357М) с ковшом вместимостью 9 м3 и перемещении грунта на расстояние до 1,0 км.
1.2. Показатели производительности труда
|
№ п/п |
Наименование показателей |
Величина показателя |
|
|
по карте |
по ЕНиР |
||
|
1 |
Выработка на 1 чел.-день, м3 |
136 |
106,8 |
|
2 |
Затраты труда на устройство 100 м3 земляного полотна, чел.-ч |
5,86 |
7,498 |
Снижение затрат труда и повышение выработки достигается в результате рационально выбранной схемы движения скрепера, применения трактора-толкача, выполнения работы по грубой планировке земляного полотна и частичного уплотнения тела насыпи скреперами.
II. ПОДГОТОВКА ПРОЦЕССА И УСЛОВИЯ ЕГО ВЫПОЛНЕНИЯ
2.1. Устройство земляного полотна следует производить при наличии актов на скрытые работы.
2.2. До начала работ необходимо произвести плановую и высотную разбивку земляного полотна; подготовить землевозные пути; снять растительный слой в местах разработки грунта; обеспечить водоотвод.
2.3. Насыпь следует возводить из однородного грунта горизонтальными слоями на всю ее ширину. Толщина слоя (0,15 - 0,25 м) зависит от способов уплотнения.
2.4. При устройстве насыпей из неоднородных грунтов должны быть соблюдены условия: менее дренирующие грунты следует располагать в нижних слоях насыпи, а более дренирующие - в верхних слоях.
2.5. Запрещается беспорядочная отсыпка различных по своим свойствам грунтов в насыпь, так как при этом возможно образование внутри насыпи водяных мешков и плоскостей скольжения вышележащих грунтов по наклонным поверхностям глинистых грунтов.
2.6. Влажность глинистых грунтов при возведении насыпей не должна составлять более 1,1 оптимальной влажности при стандартном уплотнении.
2.7. Применение легких пылеватых суглинков и тяжелых пылеватых супесей в сырых и мокрых местах на дорогах с усовершенствованными капитальными покрытиями во II и III климатических зонах допускается для отсыпки лишь нижней части насыпи. Верхняя часть насыпей считая от поверхности покрытия на высоту 1,2 м (при цементобетонных) и 1,0 м (при асфальтобетонных покрытиях) во II зоне и на высоту 1,0 и 0,8 м соответственно в III зоне должна быть отсыпана из непылеватых, преимущественно песчаных и легких супесчаных грунтов.
2.8. Насыпи в местах примыкания к устоям и консолям мостов, конусы мостов и путепроводов необходимо возводить из дренирующих грунтов.
2.9. Скреперы рекомендуется применять для разработки грунтов I и II групп. Плотные слежавшиеся грунты III и IV групп требуют предварительного рыхления.
2.10. Скреперы не следует применять на участках с выходом грунтовых вод на поверхность; для разработки сыпучих песков и грунтов, содержащих валуны, размер которых составляет 2/3 наибольшей глубины зарезания данного скрепера.
2.11. В сухую погоду пылеватые грунты необходимо увлажнять водой 2 - 3 раза в сутки.
2.12. Для увеличения толщины стружки, сокращения времени набора грунта, а также для уменьшения пути набора и лучшего наполнения ковша рекомендуется применять тракторы-толкачи, оборудованные толкающими плитами с амортизаторами.
Максимальная толщина стружки грунта, срезаемой скреперами: для песка - 30, супеси - 20, суглинка - 18 см без толкача и 25 см с толкачом; для глины - 14 см без толкача и 18 см с толкачом.
2.13. Мощность тракторов-толкачей должна быть в 1,5 - 2 раза больше мощности основного тягача или равна ей. Скорость движения толкача и тягача должна быть одинаковой.
2.14. Цикл набора грунта включает время резания и наполнения ковша. Коэффициент наполнения принимается 1 - 1,2. Режется грунт обычным, гребенчатым и ребристо-шахматным способами.
2.15. Землевозные пути для движения скреперов следует устраивать по схемам, принятым в ППР с односторонним движением и радиусами поворотов не менее 50 м.
Рекомендуются следующие рациональные схемы движения скреперов.
Эллиптическая схема наиболее проста и применима во всех случаях возведения насыпей из односторонних или двухсторонних резервов. Особенно целесообразна при возведении насыпей высотой не более 2 м, когда не требуется устройство въездов или съездов.

1 - набор грунта; 2 - разгрузка грунта
Спиральная схема - разновидность эллиптической - применима при возведении широких насыпей из двухсторонних резервов. При движении по этой схеме в сравнении с эллиптической схемой увеличивается производительность скрепера, так как при отсыпке грунта перпендикулярно к оси возводимого сооружения сокращается дальность его транспортировки.

1 - набор грунта; 2 - разгрузка грунта
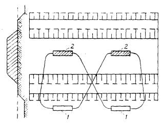
Схема движения по «восьмерке» применима при тех же условиях, что и эллиптическая. При движении по этой схеме левые и правые повороты чередуются, что вдвое сокращает время на повороты. Производительность скрепера увеличивается на 3 - 5 % по сравнению с движением по эллиптической схеме.
1 - набор грунта; 2 - разгрузка грунта

1 - набор грунта; 2 - разгрузка грунта
Схема движения по зигзагу применяется при возведении насыпей высотой до 6 м из резервов при длине захватки 200 м и более. При работе скрепера по этой схеме уменьшается число поворотов и дальность транспортировки грунта, вследствие чего производительность скрепера увеличивается на 15 % по сравнению с эллиптической схемой.
Челночно-поперечная схема применяется при возведении насыпей высотой менее 1,5 м из двухсторонних резервов. По сравнению с эллиптической схемой движения производительность скрепера выше на 20 - 25 %.
1 - набор грунта; 2 - разгрузка грунта

1 - набор грунта; 2 - разгрузка грунта
Челночно продольная схема применяется при возведении насыпей высотой до 6 м с заложением откосов не круче 1:2 с транспортировкой грунта из двухсторонних резервов. При работе по этой схеме холостой пробег скрепера сокращается до минимума.
2.16. Для более рационального использования тракторов-толкачей рекомендуется, чтобы каждый скрепер начинал набирать грунт там, где закончил разгрузку предыдущий, а трактор-толкач перемещался назад на такое расстояние, чтобы не препятствовать подходу следующего скрепера.
2.17. Участки насыпи земляного полотна, отсыпаемые скреперами, необходимо разбивать на три - четыре части, на каждой из которых последовательно производить укладку и уплотнение грунта, а при необходимости - разравнивание.
2.18. Грунт необходимо отсыпать по всей площади насыпи земляного полотна ровным слоем, соответственно регулируя проход скреперов по насыпи.
2.19. Разгрузку ковша скрепера следует производить при движении скрепера по прямой.
При разгрузке грунта кромка ножа скрепера должна устанавливаться на уровне, обеспечивающем требуемую толщину укладываемого слоя (0,15 - 0,25 м).
2.20. При правильной организации труда по отсыпке грунта в насыпь дополнительного разравнивания его не требуется.
2.21. Каждый слой грунта, отсыпаемый в насыпь, должен быть уплотнен до заданной проектом плотности при оптимальной влажности.
2.22. Толщина слоя уплотняемого грунта при уплотнении его полуприцепными пневмоколесными катками массой 25 - 30 т колеблется в пределах 0,2 - 0,4 м в зависимости от вида грунта.
2.23. Работы следует выполнять в соответствии с требованиями СНиП III-40-78, инструкции по сооружению земляного полотна автомобильных дорог, СНиП III-8-76, «Руководства по производству земляных работ скреперами» (М.: Стройиздат, 1976).
2.24. Необходимо полностью соблюдать «Правила техники безопасности при строительстве, ремонте и содержании автомобильных дорог» (М.: Транспорт, 1969).
III. ИСПОЛНИТЕЛИ И ОРУДИЯ ТРУДА
3.1. Состав исполнителей:
|
Машинист скрепера ДЗ-11 (Д-357М) |
VI разр. |
(М-1, М-2, М-3, М-4, М-5, М-6) |
- 6 |
|
Машинист трактора-толкача Т-100 |
VI » |
(М-7) |
- 1 |
|
Машинист бульдозера ДЗ-8 (Д-271) |
V » |
(М-8) |
- 1 |
|
Машинист пневмоколесного катка ДУ-16В (Д-551В) |
V » |
(М-9) |
- 1 |
|
Водитель поливомоечной машины ПМ-130 |
IV » |
(М-10) |
- 1 |
3.2. Машины, инструменты, приспособления, инвентарь
|
№ п/п |
Наименование |
ГОСТ |
Количество, шт. |
|
1 |
Скрепер самоходный ДЗ-11 (Д-357М) |
10055-75 |
6 |
|
2 |
Бульдозер гусеничный ДЗ-8 (Д-271) |
7410-79 Е |
1 |
|
3 |
Трактор-толкач Т-100 |
- |
1 |
|
4 |
Каток пневмоколесный ДУ-16В (Д-551В) |
16481-70* |
1 |
|
5 |
Поливомоечная машина ПМ-130 |
17312-71 |
1 |
|
6 |
Рейка металлическая |
- |
1 |
|
7 |
Шаблон с уровнем |
- |
1 |
3.3. Потребность в основных эксплуатационных материалах на 1 ч работы, кг
|
Горюче-смазочные материалы |
% от дизельного топлива |
Марка машины |
Всего |
|||
|
ДЗ-11 (Д-357М) |
Т-100 |
ДУ-16В (Д-551В) |
ДЗ-8 (Д-271) |
|||
|
Топливо дизельное |
- |
143,40 |
8,00 |
11,90 |
8,00 |
171,30 |
|
Масло для двигателя |
5,0 |
7,17 |
0,40 |
0,60 |
0,40 |
8,57 |
|
Масло трансмиссионное |
1,5 |
2,15 |
0,12 |
0,17 |
0,12 |
2,57 |
|
Смазка консистентная |
1,0 |
14,30 |
0,08 |
0,12 |
0,08 |
14,58 |
IV. ТЕХНОЛОГИЯ И ОРГАНИЗАЦИЯ ПРОЦЕССА
4.1. При устройстве земляного полотна в насыпи скреперами выполняются следующие операции: отсыпка грунта насыпи (зарезание грунта и наполнение ковша, транспортировка грунта к месту укладки, выгрузка грунта с послойной укладкой его в насыпь, холостой ход), разравнивание грунта бульдозером, уплотнение земляного полотна.
4.2. Работы рекомендуется выполнять механизированным отрядом, в составе которого: шесть скреперов ДЗ-11 (Д-357М), бульдозер ДЗ-8 (Д-271), трактор-толкач Т-100, пневмоколесный каток ДУ-16В (Д-551В), поливомоечная машина ПМ-130.
4.3. Схема организации рабочего места

I - зарезание грунта и наполнение ковша; II - разравнивание и уплотнение земляного полотна; III - разгрузка грунта с послойной укладкой его в насыпь; 1 - скреперы; 2 - трактор-толкач; 3 - бульдозер; 4 - поливомоечная машина; 5 - пневмоколесный каток
4.4 График трудового процесса

4.5. График рабочего цикла одного скрепера

V. ПРИЕМЫ ТРУДА
5.1. Разработка и перемещение грунта. Выполняют М-1, М-2, М-3, М-4, М-5, М-6 и М-7 в течение 62 мин. Машины: скреперы, трактор-толкач.
Каждый из машинистов скрепера устанавливает его в месте разработки грунта, заглубляет ковш и ведет машину в забое по прямой линии. М-7 подводит трактор-толкач на первой передаче и малых оборотах двигателя. Установив его позади скрепера строго по центру, увеличивает подачу топлива, чтобы двигатель работал на полную мощность.
Зарезание грунта осуществляется гребенчатым способом.
Транспортировку грунта машинисты скреперов ведут со скоростью 30 - 35 км/ч при поднятом ковше по схеме, предусмотренной ППР.
Для частичного уплотнения насыпи по всей его ширине движение скреперов регулируется. Машинисты отсыпают грунт, опустив ковш скрепера так, чтобы ножи находились на высоте отсыпаемого слоя грунта.

а - разработка и перемещение грунта; б - поперечное сечение насыпи; I - холостой ход трактора-толкача; II - порожний ход скрепера; III - путь груженого скрепера; 1 - 20 - последовательность отсыпки грунта в тело насыпи
После отсыпки грунта машинисты ведут скрепер к месту загрузки со скоростью 35 - 40 км/ч.
5.2. Разравнивание грунта земляного полотна бульдозером. Выполняет М-8 в течение 37 мин.
М-8 следит за ходом отсыпки грунта земляного полотна, срезает бугры, досыпает в ямы срезанный грунт. Проходы бульдозера должны перекрывать друг друга в среднем на 0,5 м.

1 - 7 - проходы бульдозера
5.3. Уплотнение земляного полотна пневмоколесным катком. Выполняет М-9 в течение 22 мин.
М-9 доуплотняет земляное полотно по кольцевой схеме движения за 4 прохода по одному следу с перекрытием следа на 0,3 - 0,5 м.
Уплотнение земляного полотна производится послойно при толщине уплотняемого слоя до 0,4 м.
Сухие грунты перед уплотнением необходимо поливать до оптимальной влажности при помощи поливомоечной машины.

1 - 10 - проходы пневмоколесного катка
ВХОДИТ В КОМПЛЕКТ КТП-2.1-4. ВЗАМЕН КТ-0.0
I. НАЗНАЧЕНИЕ И ЭФФЕКТИВНОСТЬ ПРИМЕНЕНИЯ КАРТЫ
1.1 Карта предназначена для организации труда рабочих при устройстве земляного полотна в выемке самоходными скреперами ДЗ-11 (Д-357М) с ковшом вместимостью 9 м3 и перемещении грунта на расстояние до 800 м.
1.2 Показатели производительности труда
|
№ п/п |
Наименование показателей |
Величина показателя |
|
|
по карте |
по ЕНиР |
||
|
1 |
Выработка на 1 чел. - день, м3 |
160 |
121 |
|
2 |
Затраты труда на устройство 100 м3 земляного полотна, чел.-ч |
5,01 |
6,62 |
Снижение затрат труда и повышение выработки достигается за счет рационально выбранной схемы движения скрепера, применения трактора-толкача, выполнения работ по грубой планировке земляного полотна.
II. ПОДГОТОВКА ПРОЦЕССА И УСЛОВИЯ ЕГО ВЫПОЛНЕНИЯ
2.1. Устройство земляного полотна следует производить при наличии актов на скрытые работы.
2.2. До начала работ необходимо расчистить дорожную полосу от леса, кустарника, пней, крупных камней; учесть при необходимости имеющиеся подземные сооружения; перенести столбы линии связи высокого напряжения, а также находящиеся на дорожной полосе различные строения.
2.3. Разбивку следует выполнять на основании имеющихся проектных материалов (продольный профиль, поперечные профили выемок, а также план дороги), уточненных в процессе восстановления трассы по рабочим чертежам.
2.4. Во время производства работ должны быть приняты меры к сохранению всех точек разбивки и реперов. Поврежденные в процессе работ точки необходимо восстанавливать силами строительной организации.
2.5. Землевозные пути с односторонним движением скреперов и радиусами поворотов не менее 50 м следует устраивать по рациональным схемам, принятым в ППР.
Рекомендуются следующие рациональные схемы движения скреперов.
Эллиптическая схема наиболее проста и применима во всех случаях устройства выемок с укладкой грунта в насыпи или кавальеры и при планировочных работах. Фронт работ составляет не более 50 м (см. рис. на с. 5).
Спиральная схема - разновидность эллиптической - применима при устройстве широких выемок глубиной до 2,5 м, так как выполняется без устройства съездов и въездов. При движении по такой схеме в сравнении с эллиптической схемой увеличивается производительность скрепера, так как сокращается дальность транспортировки грунта (см. рис. на с. 5).
Схема движения по «восьмерке» применима при тех же условиях, что и эллиптическая. Разработка грунта в выемках по этой схеме позволяет вдвое сократить время на повороты, увеличить производительность скрепера на 3 - 5 % по сравнению с движением по эллиптической схеме (см. рис. на с. 6).
Челночно поперечная схема применяется при устройстве выемок глубиной до 1,5 м с укладкой грунта в дамбы или кавальеры (см. рис. на с. 7).
Продольную разработку выемок большой глубины можно производить ярусами, применяя в каждом ярусе различные схемы работ.
2.6. Скреперы рекомендуется применять для разработки грунтов I и II групп. Плотные слежавшиеся грунты III и IV групп требуют предварительного рыхления.
2.7. Скреперы не следует применять на участках выхода грунтовых вод на поверхность; для разработки грунтов, содержащих валуны, размер которых равен 2/3 наибольшей глубины зарезания скрепера.
2.8. Для увеличения толщины стружки, сокращения времени набора грунта, а также для уменьшения пути набора и лучшего наполнения ковша рекомендуется применять тракторы-толкачи, оборудованные толкающими плитами с амортизаторами.
Максимальная толщина стружки грунта, срезаемой скреперами: для песка - 30, супеси - 20, суглинка - 18 см без толкача и 25 см с толкачом; для глины - 14 см без толкача и 18 см с толкачом.
2.9. Мощность тракторов-толкачей должна быть в 1,5 - 2 раза больше мощности основного тягача или равна ей. Скорость движения толкача и тягача должна быть одинаковой.
2.10. Цикл набора грунта включает время резания и наполнения ковша. Коэффициент наполнения ковша скрепера принимается 1 - 1,2. Резание грунта осуществляется тремя способами: обычным, гребенчатым и ребристо-шахматным.
2.11. Для более рационального использования тракторов-толкачей рекомендуется, чтобы каждый скрепер начинал набирать грунт там, где закончил разгрузку предыдущий, а трактор-толкач перемещался назад на такое расстояние, чтобы не препятствовать подходу следующего скрепера.

а - обычный; б - гребенчатый; в - ребристо-шахматный; L - длина пути набора; l1 - путь резания; l2 - путь выглубления; hт - глубина резания; L1, L2, L3 - длина пути набора при первом, втором и третьем зарезании грунта; b, с, d - первый, второй, третий ряды проходок; 1 - 12 - проходка скрепера. Стрелкой показано направление движения скреперов
2.12. Разгрузку ковша скрепера следует производить при движении скрепера по прямой.
При разгрузке грунта кромка ножа скрепера должна устанавливаться на уровне, обеспечивающем требуемую толщину укладываемого слоя.
2.13. При разработке выемок скрепером в процессе работы происходит грубая планировка и первичное уплотнение земляного полотна.
При устройстве выемок плотность грунта в слое от дна корыта до глубины 0,3 м должна удовлетворять требованиям проектного коэффициента уплотнения (0,9 - 1,0). Если плотность грунта в условиях естественного залегания не соответствует этим требованиям, его необходимо разрыхлить на глубину 0,3 м и уплотнить до требуемой плотности.
2.14. Окончательное уплотнение земляного полотна производится пневмоколесными катками ДУ-16В (Д-551В) за 4 прохода по одному следу по кольцевой схеме после полной разработки выемки да проектных отметок.
2.15. Работы следует выполнять в соответствии с требованиями СНиП III-40-78, инструкции по сооружению земляного полотна автомобильных дорог и «Руководства по производству земляных работ скреперами» (М.: Стройиздат, 1976).
2.16. Необходимо полностью соблюдать «Правила техники безопасности при строительстве, ремонте и содержании автомобильных дорог» (М.: Транспорт, 1969).
III. ИСПОЛНИТЕЛИ И ОРУДИЯ ТРУДА
3.1. Состав исполнителей:
|
Машинист скрепера ДЗ-11 (Д-357М) |
VI разр. |
(М-1, М-2, М-3, М-4) |
- 4 |
|
Машинист трактора-толкачаТ-100 |
VI » |
(М-5) |
- 1 |
|
Машинист бульдозера ДЗ-8 (Д-271) |
V » |
(М-6) |
- 1 |
Водители поливомоечных машин работают по отдельному наряду (путевому листу). Уплотнение земляного полотна пневмоколесными катками в состав работ звена не входит.
3.2. Машины, инструменты, приспособления, инвентарь
|
№ п/п |
Наименование |
ГОСТ |
Количество, шт. |
|
1 |
Скрепер самоходный ДЗ-11 (Д-357М) |
10055-75 |
4 |
|
2 |
Бульдозер гусеничный ДЗ-8 (Д-271) |
7410-79Е |
1 |
|
3 |
Трактор-толкач Т-100 |
- |
1 |
|
4 |
Поливомоечная машина ПМ-130 |
17312-71 |
1 |
|
5 |
Каток пневмоколесный ДУ-16В (Д-551В) |
16481-70* |
1 |
|
6 |
Рейка металлическая |
- |
1 |
|
7 |
Шаблон с уровнем |
- |
1 |
3.3. Потребность в основных эксплуатационных материалах на 1 ч работы, кг.
|
Горюче-смазочные материалы |
% от дизельного топлива |
Марка машины |
Всего |
|||
|
ДЗ-11 (Д-357М) |
ДЗ-8 (Д-271) |
ДУ-16В (Д-551В) |
Т-1000 |
|||
|
Топливо дизельное |
- |
95,60 |
8,00 |
11,90 |
8,00 |
123,50 |
|
Масло для двигателя |
5,0 |
4,78 |
0,40 |
0,60 |
0,40 |
6,18 |
|
Масло трансмиссионное |
1,5 |
1,44 |
0,12 |
0,17 |
0,12 |
1,86 |
|
Смазка консистентная |
1,0 |
0,96 |
0,08 |
0,12 |
0,08 |
1,24 |
IV. ТЕХНОЛОГИЯ И ОРГАНИЗАЦИЯ ПРОЦЕССА
4.1. При устройстве земляного полотна в выемке выполняются следующие операции: разработка выемки скрепером (зарезание грунта и наполнение ковша, транспортировка грунта на место выгрузки с частичным его уплотнением, разгрузка ковша с послойной укладкой грунта в места отсыпки, холостой ход), профилирование земляного полотна бульдозером, укатка земляного полотна.
4.2. Работы рекомендуется выполнять механизированным отрядом, в составе которого: четыре скрепера ДЗ-11 (Д-357М), бульдозер ДЗ-8 (Д-271), пневмоколесный каток ДУ-16В, (Д-551В), поливомоечная машина ПМ-130, трактор-толкач Т-100.
4.3. Схема организации рабочего места.

I - зарезание грунта и наполнение ковша; II - разравнивание и уплотнение земляного полотна; III - разгрузка грунта с послойной укладкой его в насыпь; 1 - скрепер; 2 - трактор-толкач; 3 - бульдозер; 4 - поливомоечная машина; 5 - пневмоколесный каток
4.4. График трудового процесса

4.5. График рабочего цикла одного скрепера

V. ПРИЕМЫ ТРУДА
5.1. Разработка и перемещение грунта. Выполняют М-1, М-2, М-3 и М-4 в течение 62 мин. Машины: скреперы, трактор-толкач.
Каждый из машинистов скрепера устанавливает его в месте разработки грунта, заглубляет ковш и ведет машину в забое по прямой линии. Загрузку ковша грунтом производят при помощи трактора-толкача. При полной загрузке ковша (наличие шапки грунта над ковшом) машинисты поднимают ковш в тракторное положение и транспортируют грунт к месту укладки со скоростью 30 - 35 км/ч.
Зарезание грунта ведут гребенчатым способом. При достижении скрепером места укладки грунта машинисты отсыпают грунт параллельными полосами при движении скрепера вдоль насыпи, начиная от бровки к середине.
Толщина отсыпаемого слоя не должна превышать 0,4 м, а скорость движения скрепера во время отсыпки грунта - 8,0 км/ч. Скорость движения скрепера к месту загрузки 30 - 40 км/ч. Движение скреперов производится по схеме, предусмотренной ППР.
5.2. Работа трактора-толкача в течение 47 мин.
М-5 следит за работой скреперов и при установке их в месте загрузки устанавливает трактор-толкач строго по центру скрепера. На первой передаче подводят толкач к скреперу до соприкосновения с его буферным устройством, и при их совместном движении ковш наполняется грунтом. После этого М-5 отводит трактор-толкач к месту начала загрузки следующего скрепера.
5.3. Разравнивание грунта бульдозером и содержание подъездных путей. Выполняет М-6 в течение 32 мин.
М-6 следит за разработкой и транспортировкой грунта, поддерживает места загрузки в рабочем состоянии, а также следит за состоянием подъездных путей и производит их планировку.
ВХОДИТ В КОМПЛЕКТ КТП-2.1-4. ВЗАМЕН КТ-0.0
I. НАЗНАЧЕНИЕ И ЭФФЕКТИВНОСТЬ ПРИМЕНЕНИЯ КАРТЫ
1.1. Карта предназначена для организации труда рабочих при устройстве земляного полотна в насыпи. Возведение земляного полотна предусматривается из боковых резервов бульдозерами ДЗ-8 (Д-271) при перемещении грунта на расстояние до 50 м.
1.2. Показатели производительности труда
|
№ п/п |
Наименование показателей |
Величина показателя |
|
|
по карте |
по ЕНиР |
||
|
1 |
Выработка на 1 чел. - день, м3 |
235 |
186 |
|
2 |
Затраты труда на устройство 100 м3 земляного полотна, чел.-ч |
3,41 |
4,312 |
Снижение затрат труда и повышение выработки достигается за счет применения рациональной схемы транспортировки грунта.
II. ПОДГОТОВКА ПРОЦЕССА И УСЛОВИЯ ЕГО ВЫПОЛНЕНИЯ
2.1. Устройство земляного полотна следует производить при наличии актов на скрытые работы.
2.2. До начала работ необходимо произвести плановую и высотную разбивку земляного полотна; снять растительный слой в местах разработки грунта; обеспечить временный и постоянный водоотводы.
2.3. При возведении земляного полотна бульдозеры применяются для:
срезки растительного слоя в основании земляных сооружений и перемещения за пределы резервов;
возведения насыпей из односторонних и двухсторонних резервов;
нарезки уступов в основании насыпи на косогорах;
разработки и перемещения грунта при устройстве полунасыпей-полувыемок;
нарезки кюветов, водоотводных канав при оборудовании бульдозеров дополнительными приспособлениями;
устройства временных въездов и съездов при возведении земляного полотна;
разравнивания грунта и грубой планировки верха земляного полотна и поверхности резервов;
планировки откосов насыпей и выемок (с дополнительным рабочим оборудованием).
Для увеличения объема грунта, доставляемого к месту укладки за каждый рабочий цикл бульдозера, и для сокращения потерь грунта при перемещении рекомендуется применять дополнительные боковые открылки и козырьки к отвалу.
При разработке плотных грунтов для сокращения затрат времени на заполнение отвала целесообразно предварительно разрыхлить грунт рыхлителями или зубьями, монтируемыми на отвале бульдозера.
2.4. Зарезание грунтов производится по ленточной, клиновидной и гребенчатой схемам. Выбор схемы зависит от состояния грунта. Клиновидная схема применяется для грунтов с малым сопротивлением резанию, гребенчатая - для грунтов со средним значением сопротивления резанию (твердые и пересохшие грунты). При работе бульдозера под уклон применяется ленточная схема зарезания.
2.5. Для увеличения производительности бульдозера грунты необходимо разрабатывать под уклон.
Производительность бульдозера при работе на участках с уклоном по сравнению с производительностью при работе на горизонтальных участках составляет, %:
На участках с уклоном 10 %.............................................. 150 - 200
На участках с подъемом 10 %........................................... 60 - 70
2.6. Перемещение грунта должно начинаться сразу же по окончании набора его перед отвалом и выполняться на второй и третьей передачах.
2.7. Для повышения производительности бульдозера грунт следует перемещать двумя способами - по траншее в грунте или по траншее, образованной из валов грунта.
2.8. Производительность бульдозера можно повысить на 15 - 20 %, применяя два спаренных бульдозера, а также на 5 - 10 %, применяя поэтапный способ перемещения грунта.
2.9. Укладку перемещенного грунта необходимо выполнять по всей площади насыпи, размещая его послойно или накапливая отдельными кучами с последующей планировкой.
2.10. Основными схемами разработки грунта являются: прямая, боковая и ступенчатая. При возведении насыпи из бокового резерва применяется ступенчатая схема перемещения грунта.
2.11. Насыпь отсыпается слоями, толщина которых зависит от типа уплотняющих средств.
2.12. Если насыпь возводится в несколько слоев, то последовательность операций по отсыпке второго и следующих за ним слоев остается одинаковой.
2.13. Грунт из оставшихся между траншеями стенок используется для присыпки обочин или перемещается в насыпь для отсыпки верхнего слоя.
2.14. При укладке грунта происходит частичное уплотнение тела насыпи гусеницами трактора. Окончательное уплотнение земляного полотна производится пневмоколесными катками ДУ-16В (Д-551В) за 4 - 6 проходов по одному следу.
2.15. В жаркую погоду в районах с засушливым климатом необходимо возможно быстрее уплотнять отсыпаемый в насыпь грунт с сохранением его естественной влажности. Для этого целесообразно сокращать длину захватки и увеличивать толщину отсыпаемого слоя.
2.16. Работы следует выполнять в соответствии с требованиями СНиП III-40-78, инструкции по сооружению земляного полотна автомобильных дорог, СНиП III-8-76.
2.17. Необходимо полностью соблюдать «Правила техники безопасности при строительстве, ремонте и содержании автомобильных дорог», (М.: Транспорт, 1969).
III. ИСПОЛНИТЕЛИ И ОРУДИЯ ТРУДА
3.1. Состав исполнителей:
|
Машинист бульдозера ДЗ-8 (Д-271) |
V разр. |
(М-1, М-2, М-3) |
- 3 |
|
Машинист пневмоколесного катка ДУ-16В (Д-551В) |
V » |
(М-4) |
- 1 |
Водитель поливомоечной машины работает по отдельному наряду (путевому листу) и в состав звена не входит.
3.2. Машины, инструменты, приспособления, инвентарь
|
№ п/п |
Наименование |
ГОСТ |
Количество, шт. |
|
1 |
Бульдозер гусеничный ДЗ-8 (Д-271) |
7410-79 Е |
3 |
|
2 |
Каток пневмоколесный ДУ-16В (Д-551В) |
16481-70* |
1 |
|
3 |
Поливомоечная машина ПМ-130 |
17312-71 |
1 |
|
4 |
Рейка металлическая |
- |
1 |
|
5 |
Шаблон с уровнем |
- |
1 |
3.3. Потребность в основных эксплуатационных материалах на 1 ч работы, кг
|
Горюче-смазочные материалы |
% от дизельного топлива |
Марка машины |
Всего |
|
|
ДЗ-8 (Д-271) |
ДУ-16В (Д-551В) |
|||
|
Топливо дизельное |
- |
24,00 |
11,90 |
35,90 |
|
Масло для двигателя |
5,0 |
1,20 |
0,60 |
1,80 |
|
Масло трансмиссионное |
1,5 |
0,36 |
0,18 |
0,54 |
|
Смазка консистентная |
1,0 |
0,24 |
0,11 |
0,35 |
IV. ТЕХНОЛОГИЯ И ОРГАНИЗАЦИЯ ПРОЦЕССА
4.1. При устройстве земляного полотна в насыпи бульдозерами выполняются следующие операции: зарезание и набор грунта, перемещение грунта, укладка перемещенного грунта, возвращение к месту зарезания, профилирование земляного полотна, уплотнение земляного полотна.
4.2. Работы рекомендуется выполнять механизированным отрядом, в составе которого: три бульдозера ДЗ-8 (Д-271), пневмоколесный каток ДУ-16В (Д-551В), поливомоечная машина ПМ-130.
4.3. Схема организации рабочего места

1 - бульдозер; 2 - пневмоколесный каток; 3 - поливомоечная машина
4.4. График трудового процесса

4.5. График рабочего цикла одного бульдозера

V. ПРИЕМЫ ТРУДА
5.1. Разработка и перемещение грунта бульдозером. Выполняют М-1, М-2 и М-3 в течение 54 мин.
М-1, М-2 и М-3 заглубляют отвал на максимальную глубину и уменьшают это заглубление по мере образования перед отвалом необходимого количества грунта. Перемещают разработанный грунт на второй и третьей передаче трактора по ступенчатой схеме. Двигаясь по прямой вперед, срезают и перемещают грунт в насыпь. После окончания операции М-1, М-2 и М-3 возвращаются для следующего набора грунта.
Для набора следующей партии грунта бульдозер возвращается задним ходом. На месте укладки М-1, М-2 и М-3 поднимают отвал на высоту 0,15 - 0,2 м и укладывают грунт ровным слоем. При этом уложенный грунт предварительно уплотняется гусеницами.

1 - 12 - послойная отсыпка грунта в насыпь
5.2. Разравнивание грунта земляного полотна бульдозером. Выполняет М-3 в течение 15 мин.
М-3 выполняет работы по планировке земляного полотна, срезает бугры, досыпает в ямы срезанный грунт. При планировочных работах необходимо производить перекрытие следа на 0,5 м.
5.3. Уплотнение земляного полотна пневмоколесным катком. Выполняет М-4 в течение 21 мин.
М-4 уплотняет каждый слой уложенного грунта по кольцевой схеме движения за 6 проходов по одному следу с перекрытием следа на 0,3 - 0,5 м.
Сухие грунты перед уплотнением необходимо поливать до оптимальной влажности при помощи поливомоечной машины.
ВХОДИТ В КОМПЛЕКТ КТП-2.1-4. ВЗАМЕН КТ-0.0
I. НАЗНАЧЕНИЕ И ЭФФЕКТИВНОСТЬ ПРИМЕНЕНИЯ КАРТЫ
1.1. Карта предназначена для организации труда рабочих при разработке выемок земляного полотна бульдозерами ДЗ-8 (Д-271) и перемещении его в насыпь на расстояние до 50 м.
1.2. Показатели производительности труда
|
№ пп |
Наименование показателей |
Величина показателя |
|
|
по карте |
по ЕНиР |
||
|
1 |
Выработка на 1 чел.-день, м3 |
25,8 |
205 |
|
2 |
Затраты труда на устройство 100 м3 земляного полотна, чел.-ч |
3,09 |
3,91 |
Снижение затрат труда и повышение выработки достигается за счет применения рациональной схемы транспортировки грунта.
II. ПОДГОТОВКА ПРОЦЕССА И УСЛОВИЯ ЕГО ВЫПОЛНЕНИЯ
2.1. Устройство земляного полотна следует производить при наличии актов на скрытые работы.
2.2. До начала работ необходимо произвести плановую и высотную разбивку земляного полотна; снять растительный слой в местах разработки грунта; обеспечить временный и постоянный водоотводы.
2.3. Зарезание грунтов производится по ленточной, клиновидной и гребенчатой схемам. Выбор схемы зависит от состояния грунта. Клиновидная схема применяется для грунтов с малым сопротивлением резанию, гребенчатая - для грунтов со средним значением сопротивления резанию (твердые и пересохшие грунты). При работе бульдозера под уклон следует применять ленточную схему.
2.4. Для увеличения производительности бульдозера грунты необходимо разрабатывать под уклон.
Производительность бульдозера при работе на участках с уклоном по сравнению с производительностью при работе на горизонтальных участках составляет, %:
На участках с уклоном 10 %......................................................... 150 - 200
То же, 20 %....................................................................................... До 250
На участках с подъемом 10 %...................................................... 60 - 70
2.5. Грунты III и IV групп перед разработкой должны быть разрыхлены.
2.6. Объем разрыхленного грунта не должен превышать сменной производительности звена бульдозеров на данной захватке во избежание пересыхания грунта в сухую погоду и переувлажнения в дождливую.
2.7. Для повышения производительности бульдозеров грунт следует перемещать двумя способами - по траншее в грунте или по траншее, образованной из валов грунта.
2.8. Производительность бульдозера можно повысить на 15 - 20 %, применяя два спаренных бульдозера, а также на 5 - 10 %, применяя поэтапный способ перемещения грунта.
2.9. Разработка выемки ведется:
по ярусно-траншейной схеме разработки грунта без промежуточного вала в тех случаях, когда дальность перемещения не более 25 м. В этом случае грунт перемещают за один прием к месту укладки;
по ярусно-траншейной схеме разработки грунта с промежуточным валом в тех случаях, когда дальность перемещения более 25 м. В этом случае срезанный грунт вначале перемещают до тех пор, пока нет значительных потерь его в пути и разгружают в промежуточный вал с последующим перемещением его до места укладки.
Грунт, уложенный в насыпь, разравнивают проходами бульдозера по круговой схеме при длине участка более 50 м; участки насыпи длиной менее 50 м разравнивают проходами бульдозера по челночной схеме.
Во избежание смещения земляного полотна с проектной оси необходимо обращать особое внимание на точность отсыпки первого слоя насыпи относительно оси дороги и разбивки насыпи по ее подошве.
2.10. Для предотвращения переувлажнения грунта выемки в дождливый период года ее необходимо разрабатывать с сохранением продольного уклона: По окончании разработки выемки необходимо сразу же приступить к нарезке кюветов.
2.11. При разработке выемок бульдозером уплотнение земляного полотна производится пневмоколесными катками ДУ-16В (Д-551В) за 4 прохода по одному следу по кольцевой схеме после полной разработки выемки до проектных отметок.
2.12. Работы следует выполнять в соответствии с требованиями СНиП III-40-78, инструкции по сооружению земляного полотна автомобильных дорог, СНиП III-8-76.
2.13. Необходимо полностью соблюдать «Правила техники безопасности при строительстве, ремонте и содержании автомобильных дорог» (М.: Транспорт, 1969).
III. ИСПОЛНИТЕЛИ И ОРУДИЯ ТРУДА
3.1. Состав исполнителей:
Машинист бульдозера ДЗ-8 (Д-271) V разр. (М-1, М-2, М-3 и М-4) - 4.
Водитель поливомоечной машины работает по отдельному наряду (путевому листу). Уплотнение земляного полотна пневмоколесными катками в состав работ звена не входит.
3.2. Машины, инструменты, приспособления, инвентарь
|
№ п/п |
Наименование |
ГОСТ |
Количество, шт. |
|
1 |
Бульдозер гусеничный ДЗ-8 (Д-271) |
7410-76 Е |
4 |
|
2 |
Каток пневмоколесный ДУ-16В (Д-551В) |
16481-70* |
1 |
|
3 |
Поливомоечная машина ПМ-130 |
17312-71 |
1 |
|
4 |
Рейка металлическая |
- |
1 |
|
5 |
Шаблон с уровнем |
- |
1 |
3.3. Потребность в основных эксплуатационных материалах на 1 ч работы, кг
|
Горюче-смазочные материалы |
% от дизельного топлива |
Марка машины |
Всего |
|
|
ДЗ-8 (Д-271) |
ДУ-16В (Д-551В) |
|||
|
Топливо дизельное |
- |
32,00 |
11,90 |
43,90 |
|
Масло для двигателя |
5,0 |
1,20 |
0,60 |
1,80 |
|
Масло трансмиссионное |
1,5 |
0,48 |
0,18 |
0,66 |
|
Смазка консистентная |
1,0 |
0,32 |
0,11 |
0,43 |
IV. ТЕХНОЛОГИЯ И ОРГАНИЗАЦИЯ ПРОЦЕССА
4.1. При устройстве выемки земляного полотна выполняются следующие операции: зарезание и набор грунта, перемещение грунта в насыпь, возвращение к месту зарезания, профилирование и уплотнение земляного полотна.
4.2. Работы рекомендуется выполнять механизированным отрядом, в составе которого: четыре бульдозера ДЗ-8 (Д-271), пневмоколесный каток ДУ-16В (Д-551В), поливомоечная машина ПМ-130.
4.3. Схема организации рабочего места

1 - бульдозер; 2 - поливомоечная машина; 3 - пневмоколесный каток
4.4. График трудового процесса

V. ПРИЕМЫ ТРУДА
5.1. Разработка и перемещение грунта бульдозером. Выполняют М-1, М-2, М-3 и М-4 в течение 44 мин.
М-1, М-2, М-3 и М-4 начинают по ярусно-траншейной схеме разрабатывать грунт с полос, прилегающих к бровкам выемки. Грунт из выемки в насыпь перемещают по уклону, укладывают послойно.
4.5. График рабочего цикла одного бульдозера.

Толщина слоя должна быть не более 0,4 м. Ярусы разрабатывают по всей ширине выемки высотой до 1,0 м. Ширина каждой полосы в ярусе равна длине отвала бульдозера. Между выработками оставляют полосы-стенки шириной 0,8 м. Грунт перемещают по траншеям. При достижении глубины яруса 0,8 м машинисты, поворачивая бульдозер под углом 35 - 40° к оси дороги, срезают полосы-стенки. После разработки первой стенки на всем ее протяжении приступают к срезке и перемещению грунта второй стенки и т.д., пока не будут срезаны все стенки.
Следующие ярусы, кроме нижнего, разрабатываются в той же последовательности.
При разработке нижнего яруса две стенки, расположенные ближе к подошве выемки, разрабатывают лишь после срезки и перемещения вниз грунта уступов. Потом срезанный грунт перемещают в насыпь с последующей срезкой оставшихся крайних стенок.
5.2. Планировка грунта земляного полотна бульдозером. Выполняют М-2 и М-4 в течение 8 мин.

1 - 7 - проходы бульдозера; а - ширина прохода
М-2 и М-4 после окончания разработки каждого слоя грунта производят планировку грунта с соблюдением проектных уклонов, обеспечивающих сток воды с поверхности земляного полотна.
ВХОДИТ В КОМПЛЕКТ КТП-2.1-4. ВЗАМЕН КТ-0.0
I. НАЗНАЧЕНИЕ И ЭФФЕКТИВНОСТЬ ПРИМЕНЕНИЯ КАРТЫ
1.1. Карта предназначена для организации труда рабочих при возведении насыпи высотой до 0,75 м из боковых одно- и двухсторонних резервов автогрейдерами ДЗ-31-1 (Д-557-1) и перемещении грунта на расстояние до 20 м.
1.2. Показатели производительности труда.
|
№ п/п |
Наименование показателей |
Величина показателя |
|
|
по карте |
по ЕНиР |
||
|
1 |
Выработка на 1 чел.-день, м3 |
189 |
146 |
|
2 |
Затраты труда на устройство 100 м3 земляного полотна, чел.-ч |
4,25 |
5,502 |
Снижение затрат труда и повышение выработки достигается за счет ведения работ по резанию, перемещению и укладке грунта в насыпь на одной захватке, на соседней - по разравниванию и уплотнению грунта, а также благодаря созданию надлежащих условий труда, правильно выбранной длине захватки (400 - 500 м).
II. ПОДГОТОВКА ПРОЦЕССА И УСЛОВИЯ ЕГО ВЫПОЛНЕНИЯ
2.1. До начала работ представители строительной организации и заказчика должны совместно освидетельствовать трассу и установить соответствие проектных данных местным условиям.
2.2. До начала сооружения земляного полотна выполняются следующие работы по восстановлению трассы:
все углы поворота и пикеты выносятся на границу полосы отвода;
вершины углов поворотов и створы точек закрепляются на длинных прямых;
разбиваются круговые и переходные кривые, начало, конец и промежуточные точки закрепляются;
разбиваются и закрепляются оси искусственных сооружений;
закрепляются пикеты и плюсовые точки;
проверяются отметки существующих реперов, а также устанавливаются дополнительные реперы, необходимые для выполнения строительных работ (расстояние между реперами должно быть не более 1 км);
проверяется продольное нивелирование всех точек.
2.3. Пикеты выносятся под прямым углом к оси трассы и оформляются столбами или свайками, между которыми перпендикулярно к трассе выставляются промежуточные выносные колья. На прямых участках трассы выносные знаки располагают в зависимости от рельефа местности через каждые 200 - 400 м, на криволинейных участках - через каждые 100 м.
2.4. Размеры резервов зависят от потребности в грунте для отсыпки насыпи.
2.5. Глубина боковых резервов, как правило, не должна превышать 1,5 м. При закладке боковых резервов необходимо обеспечить водоотвод из них к водопропускным сооружениям или в сторону от дороги.
2.6. При возведении земляного полотна из боковых резервов переломы продольного профиля местности должны быть предварительно сглажены скрепером или бульдозером.
2.7. Автогрейдеры не следует применять на участках выхода грунтовых вод на поверхность.
2.8. Для правильного использования автогрейдеров на земляных работах необходимо устанавливать нож под соответствующими углами.

1 - отвал; 2 - призма волочения
|
Операция |
Угол, град |
||
|
захвата a |
резания b |
наклона g |
|
|
Зарезание (первые проходы по каждому слою резерва): |
|
|
|
|
неразрыхленных легких грунтов I группы |
40 - 45 |
До 40 |
До 13 |
|
разрыхленных грунтов II и III групп (рыхление кирковщиком) |
35 - 40 |
До 45 |
До 13 |
|
Последующие зарезания (после пробивочных проходов) |
35 - 45 |
До 45 |
3 - 5 |
|
Перемещение грунтов: |
|
|
|
|
тяжелых |
40 - 50 |
До 40 |
3 - 5 |
|
легких |
35 - 45 |
До 45 |
4 - 6 |
|
Разравнивание грунтов |
55 - 60 |
45 - 60 |
До 1,5 |
2.9. При возведении насыпей (первый проход автогрейдера) пробивка производится по отметкам, установленным при разбивке дороги, в последующем (после специальной разбивки) - по колышкам или по движущейся вешке.
2.10. В зависимости от высоты сооружаемых насыпей рекомендуется два способа перемещения и укладки грунта: вполуприжим, или вразбежку, и вприжим.

а - вполуприжим; б - вприжим; в - последовательность перемещения вала грунта к месту укладки; I - резерв; II - грунт насыпи; 1 - 4 - последовательность зарезания и укладки грунта
2.11. Перемещение грунта из боковых резервов следует начинать от внутренней бровки.
2.12. Рекомендуемая длина захватки автогрейдера 0,4 - 0,5 км.
Каждый слой грунта, отсыпаемый в насыпь, должен быть уплотнен до заданной проектом плотности при оптимальной влажности.
2.13. Работы следует выполнять в соответствии с требованиями СНиП III-40-80, инструкции по сооружению земляного полотна автомобильных дорог, СНиП III-8-76.
2.14. Необходимо полностью соблюдать «Правила техники безопасности при строительстве, ремонте и содержании автомобильных дорог» (М.: Транспорт, 1969).
III. ИСПОЛНИТЕЛИ И ОРУДИЯ ТРУДА
3.1. Состав исполнителей:
|
Машинист автогрейдера ДЗ-31-1 (Д-557-1) |
IV разр. |
(М-1) |
- 1 |
|
Машинист пневмоколесного катка ДУ-16В (Д-551В) |
V » |
(М-2) |
- 1 |
Водитель поливомоечной машины работает по отдельному наряду (путевому листу) и в состав звена не входит.
3.2. Машины, инструменты, приспособления, инвентарь
|
№ п/п |
Наименование |
ГОСТ |
Количество, шт. |
|
1 |
Автогрейдер ДЗ-31-1 (Д-557-1) |
9420-79 |
1 |
|
2 |
Каток пневмоколесный ДУ-16В (Д-551В) |
16481-70* |
1 |
|
3 |
Поливомоечная машина ПМ-130 |
17312-71 |
1 |
|
4 |
Рейка металлическая |
- |
1 |
|
5 |
Шаблон с уровнем |
- |
1 |
3.3. Потребность в основных эксплуатационных материалах на 1 ч работы, кг
|
Горюче-смазочные материалы |
% от дизельного топлива |
ДЗ-81-1 (Д-557-1) |
ДУ-16В (Д-551В) |
Всего |
|
Дизельное топливо |
- |
8,50 |
11,90 |
20,40 |
|
Масло для двигателя |
5,0 |
0,43 |
0,60 |
1,03 |
|
Масло трансмиссионное |
1,5 |
0,13 |
0,18 |
0,31 |
|
Смазка консистентная |
1,0 |
0,09 |
0,12 |
0,21 |
IV. ТЕХНОЛОГИЯ И ОРГАНИЗАЦИЯ ПРОЦЕССА
4.1. При устройстве насыпи земляного полотна автогрейдером выполняются следующие операции: зарезание, перемещение, разравнивание и уплотнение грунта.
4.2. Работы рекомендуется выполнять механизированным отрядом, в составе которого: автогрейдер ДЗ-31-1 (Д-557-1), пневмоколесный каток ДУ-16В (Д-551В), поливомоечная машина ПМ-130.
4.3. Схема организации рабочего места

1 - автогрейдер; 2 - поливомоечная машина; 3 - пневмоколесный каток
4.4. График трудового процесса.

V. ПРИЕМЫ ТРУДА
5.1. Разработка и перемещение грунта автогрейдером. Выполняет М-1 в течение 191 мин.
Разработку резерва М-1 начинает от внутренней бровки и выполняет в последовательности, указанной на рисунке.

Вырезанный валик грунта последовательными продольными проходами автогрейдера М-1 перемещает в насыпь, укладывая грунт вприжим.
5.2. Разравнивание грунта земляного полотна автогрейдером. Выполняет М-1 в течение 9 мин.
М-1 устанавливает отвал автогрейдера под требуемыми углами резания, захвата и наклона соответственно проектному уклону земляного полотна и выполняет операции за 3 - 4 прохода по одному следу по кольцевой схеме с перекрытием следа на 0,4 м.
5.3. Уплотнение грунта земляного полотна пневмоколесным катком. Выполняет М-2 в течение 28 мин.
М-2 уплотняет земляное полотно по кольцевой схеме за 8 проходов по одному следу с перекрытием следа на 0,2 - 0,3 м.
Сухие грунты перед уплотнением необходимо поливать до оптимальной влажности при помощи поливомоечной машины.
ВХОДИТ В КОМПЛЕКТ КТП-2.1-4. ВЗАМЕН КТ-0.0
I. НАЗНАЧЕНИЕ И ЭФФЕКТИВНОСТЬ ПРИМЕНЕНИЯ КАРТЫ
1.1. Карта предназначена для организации труда рабочих при устройстве земляного полотна в насыпи экскаваторами ЭО-4111Б (Э-652Б) с погрузкой грунта выемки в транспортные средства.
1.2. Показатели производительности труда
|
№ п/п |
Наименование показателей |
Величина показателя |
|
|
по карте |
по ЕНиР |
||
|
1 |
Выработка на 1 чел.-день, м3 |
219 |
160 |
|
2 |
Затраты труда на устройство 100 м3 земляного полотна, чел.-ч |
3,66 |
5,012 |
Снижение затрат труда и повышение выработки рабочих достигается за счет рационально выбранной схемы перемещения экскаватора, применения на ковше экскаватора полукруглой режущей кромки.
II. ПОДГОТОВКА ПРОЦЕССА И УСЛОВИЯ ЕГО ВЫПОЛНЕНИЯ
2.1. До начала работ необходимо произвести разбивку земляного полотна, резервов, грунтовых карьеров; устроить временные землевозные дороги; устроить съезды в забой и выезды из него; обеспечить отвод поверхностных вод от забоя, водопонижение или водоотвод при наличии грунтовых вод;
устроить освещение забоев и мест отвала при работе в ночное время.
2.2. Разработку грунта в выемке следует производить после подготовительных работ и при наличии актов на скрытые работы.
2.3. Экскаваторы применяются для:
разработки грунта в выемках и погрузки в транспортные средства;
разработки грунта в выемках и отсыпки в отвал (в исключительных случаях);
разработки грунта в одно- и двухсторонних резервах и отсыпки в насыпь;
разработки грунта в полувыемке на косогоре и отсыпки в полунасыпь.
2.4. В зависимости от категории грунта, условии разработки и перемещения грунта экскаваторы оборудуют:
прямой лопатой - при разработке выемок и грунтовых карьеров с погрузкой грунта в транспортные средства, а также при устройстве земляного полотна в полувыемке - полунасыпи на косогорах, особенно в тяжелых и скальных грунтах;
драглайном - при разработке выемок в отвал, возведении земляного полотна из боковых резервов.
2.5. При разработке грунта в выемке работы выполняются по способу уширенного забоя. Если это невозможно, следует применять способ пионерной траншеи.
2.6. В зависимости от глубины и ширины выемки разработка грунта производится за один или несколько проходов экскаватора.
2.7. Для обеспечения водоотвода разработку выемки следует начинать с низовой стороны.
2.8. Выемку необходимо разрабатывать с недобором, не достигая проектных отметок на 0,2 м с тем, чтобы не было нарушено сложение грунта откосов и естественного основания будущей дорожной одежды.
2.9. Повышение производительности экскаватора обеспечивается:
применением на экскаваторах, оборудованных как прямой лопатой, так и драглайном, ковша с полукруглой сплошной режущей кромкой для работы в грунтах I - IV групп (при этом рекомендуется вести работу на средних вылетах рукояти);
применением ковшей увеличенной вместимости при работе экскаватора в легких грунтах. Вместимость стандартных ковшей может быть увеличена до объемов, указанных в таблице.
|
Длина стрелы, м |
Вместимость стандартных ковшей, м3 |
Вместимость ковшей с полукруглой режущей кромкой, м3, для грунта групп |
|
|
I и II |
III и IV |
||
|
10 |
0,5 - 0,65 |
1,0 |
0,8 |
|
11 |
0,80 - 0,85 |
1,25 |
1,0 |
|
13 |
1,0 |
1,75 |
1,5 |
|
15 |
2,0 |
3,25 |
3,0 |
Примечание. Если на строительном объекте нет стандартных ковшей увеличенной вместимости, целесообразно приварить стальные полосы к стенкам ковша, увеличив таким способом его вместимость на 25 %.
2.10. При погрузке грунта автомобиль-самосвал устанавливается на место загрузки под углом 15 - 25° к оси прохода экскаватора, высота загрузки грунта над бортами - не более 0,5 м.
2.11. Разработку забоя следует начинать с наиболее близкой к автомобилю-самосвалу точки, а разгрузку ковша - с наиболее отдаленной точки кузова автомобиля-самосвала.
2.12. Подъездные пути с выемки в насыпь необходимо поддерживать в рабочем состоянии. Для этого их постоянно планируют бульдозером или автогрейдером.
2.13. Необходимое количество автомобилей-самосвалов для обслуживания одного экскаватора приведено в таблице.
|
Расстояние перевозки, км |
Грузоподъемность автомобиля-самосвала, т |
||||||||||||
|
3 - 4,5 |
4,5 - 7 |
8 - 10 |
10 - 12 |
||||||||||
|
Группа грунтов |
|||||||||||||
|
I |
II |
III |
I |
II |
III |
I |
II |
III |
I |
II |
III |
||
|
1 |
9 |
8 |
7 |
7 |
7 |
6 |
6 |
5 |
4 |
5 |
5 |
4 |
|
|
2 |
12 |
10 |
9 |
10 |
10 |
8 |
7 |
7 |
6 |
7 |
6 |
5 |
|
|
3 |
14 |
12 |
11 |
12 |
11 |
9 |
9 |
8 |
7 |
8 |
7 |
6 |
|
|
4 |
17 |
15 |
13 |
14 |
13 |
11 |
11 |
10 |
8 |
10 |
9 |
7 |
|
|
5 |
19 |
17 |
14 |
15 |
15 |
12 |
13 |
12 |
10 |
11 |
11 |
8 |
|
2.14. Загрузка автомобиля-самосвала грунтом производится по оси кузова.

2.15. Перед разработкой выемки должны быть обследованы условия залегания и состав грунтов. При неоднородных грунтах необходимо разработать детальные схемы последовательности устройства выемки и возведения отдельных слоев насыпи, обеспечивающих устойчивость и равномерную несущую способность насыпи.
2.16. Укладка грунта в насыпь производится по периметру насыпи с постепенным заполнением всей площади ее подошвы.
2.17. Грунт насыпи укладывается послойно и планируется бульдозером.
2.18. Каждый слой грунта необходимо послойно уплотнять пневмоколесным катком за 8 - 10 проходов по следу.
2.19. Во время интенсивных дождей отсыпку и уплотнение связных грунтов следует прекратить.
2.20. Перед длительным перерывом работ поверхность незаконченной насыпи должна быть тщательно уплотнена, спланирована с уклоном, обеспечивающим беспрепятственный сток поверхностных вод. Водоотводные устройства и резервы не должны иметь участков, где бы собиралась вода.
2.21. Работы следует выполнять в соответствии с требованиями СНиП III-40-78, инструкции по сооружению земляного полотна автомобильных дорог, СНиП III-8-76.
2.22. Необходимо полностью соблюдать «Правила техники безопасности при строительстве, ремонте и содержании автомобильных дорог» (М.: Транспорт, 1969).
III. ИСПОЛНИТЕЛИ И ОРУДИЯ ТРУДА
3.1. Состав исполнителей:
|
Машинист экскаватора ЭО-4111Б (Э-652Б) |
VI разр. |
(M-1) |
- 1 |
|
Помощник машиниста экскаватора ЭО-4111Б (Э-652Б) |
IV » |
(М-2) |
- 1 |
|
Машинист бульдозера ДЗ-8 (Д-271) |
V » |
(М-3) |
- 1 |
|
Машинист пневмоколесного катка ДУ-16В (Д-551В) |
V » |
(М-4) |
- 1 |
Водители автомобилей-самосвалов и поливомоечной машины работают по отдельному наряду (путевому листу) и в состав звена не входят.
3.2. Машины, инструменты, приспособления, инвентарь
|
№ п/п |
Наименование |
ГОСТ |
Количество, шт. |
|
1 |
Экскаватор одноковшовый ЭО-4111Б (Э-652Б) |
17257-71 |
1 |
|
2 |
Бульдозер гусеничный ДЗ-8 (Д-271) |
7410-79 Е |
1 |
|
3 |
Каток пневмоколесный ДУ-16В (Д-551В) |
16481-70* |
1 |
|
4 |
Поливомоечная машина ПМ-130 |
17312-71 |
1 |
|
5 |
Автомобиль-самосвал |
- |
По расчету |
|
6 |
Шаблон с уровнем |
- |
1 |
3.3. Потребность в основных эксплуатационных материалах на 1 ч работы, кг.
|
Горюче-смазочные материалы |
% от дизельного топлива |
Марка машины |
Всего |
||
|
ЭО-4111Б (Э-652Б) |
ДЗ-8 (Д-271) |
ДУ-16В (Д-551В) |
|||
|
Топливо дизельное |
- |
8,10 |
8,00 |
11,90 |
28,00 |
|
Масло для двигателя |
5,0 |
0,40 |
0,40 |
0,60 |
1,40 |
|
Масло трансмиссионное |
1,5 |
0,12 |
0,12 |
0,18 |
0,42 |
|
Смазка консистентная |
1,0 |
0,08 |
0,08 |
0,12 |
0,28 |
IV. ТЕХНОЛОГИЯ И ОРГАНИЗАЦИЯ ПРОЦЕССА
4.1. При устройстве выемки земляного полотна экскаватором с погрузкой грунта в транспортные средства и укладкой его в насыпь выполняются следующие операции: разработка грунта экскаватором с погрузкой его в транспортные средства, транспортировка грунта к месту укладки, укладка грунта, планировка грунта бульдозером, уплотнение грунта земляного полотна катком на пневмоходу и поливкой его водой при необходимости.
4.2. Работы рекомендуется выполнять механизированным отрядом, в составе которого: экскаватор ЭО-4111Б (Э-652Б), бульдозер ДЗ-8 (Д-271), пневмоколесный каток ДУ-16В (Д-551В), автомобили-самосвалы КрАЗ-256, поливомоечная машина ПМ-130.
4.3. Схема организации рабочего места

1 - экскаватор; 2 - автомобили-самосвалы; 3 - бульдозер; 4 - поливомоечные машины; 5 - пневмоколесный каток
4.4. График трудового процесса

4.5. График рабочего цикла одного экскаватора

* 1 - работа экскаватора без совмещения операций; 2 - то же, при совмещении операций.
V. ПРИЕМЫ ТРУДА
5.1. Разработка и погрузка грунта экскаватором. Выполняют М-1 и М-2 в течение 69 мин.
Водитель размещает автомобиль-самосвал вдоль одного из откосов выемки. М-1 набирает в ковш грунт и, поворачивая стрелу под углом до 90°, производит разгрузку ковша. Набор грунта в ковш М-1 начинает с наиболее близкой к самосвалу точки, а разгрузку - с наиболее отдаленной точки кузова.
М-2 следит за техническим состоянием экскаватора, состоянием забоя и во время технологических перерывов устраняет мелкие неисправности экскаватора и очищает ковш от налипшего грунта.

1 - экскаватор; 2 - автомобиль-самосвал
5.2. Разравнивание грунта бульдозером. Выполняет М-3 в течение 36 мин.
Грунт укладывают в насыпь по периметру, постепенно заполняя всю площадь подошвы. М-3 следит за укладкой грунта в тело насыпи, разравнивает его и, приподнимая отвал на 0,3 - 0,35 м, укладывает грунт в насыпь ровным слоем при обратном ходе бульдозера. Затем опускает отвал на отсыпанный слой грунта, срезает неровности, заполняет впадины грунтом и возвращается к началу участка.
Во время работы бульдозера происходит частичное уплотнение насыпи гусеницами бульдозера.
М-3 ведет работы с перекрытием следа на 0,3 - 0,5 м.
5.3. Уплотнение земляного полотна пневмоколесным катком. Выполняет М-4 в течение 22 мин.
М-4 уплотняет земляное полотно по кольцевой схеме за 8 проходов по одному следу с перекрытием следа на 0,3 - 0,5 м.
Уплотнение земляного полотна производится послойно при толщине уплотняемого слоя 0,2 - 0,35 м.
Сухие грунты перед уплотнением необходимо поливать до оптимальной влажности при помощи поливомоечной машины.
ВХОДИТ В КОМПЛЕКТ КТП-2.1-4. ВЗАМЕН КТ-0.0
I. НАЗНАЧЕНИЕ И ЭФФЕКТИВНОСТЬ ПРИМЕНЕНИЯ КАРТЫ
1.1. Карта предназначена для организации труда рабочих при устройстве насыпи земляного полотна грейдером-элеватором ДЗ-501 (Д-437А) при длине захватки до 900 м.
1.2. Показатели производительности труда.
|
№ п/п |
Наименование показателей |
Величина показателя по карте по ЕНиР |
|
|
1 |
Выработка на 1 чел.-день, м3 |
506 |
402 |
|
2 |
Затраты труда на устройство 100 м3 земляного полотна, чел.-ч |
1,58 |
1,972 |
Снижение затрат труда и повышение выработки достигается за счет перенесения пульта управления грейдера-элеватора в кабину трактора К-700, рациональной установки режущих органов применительно к виду разрабатываемого грунта.
II. ПОДГОТОВКА ПРОЦЕССА И УСЛОВИЯ ЕГО ВЫПОЛНЕНИЯ
2.1. Устройство земляного полотна следует производить при наличии актов на скрытые работы.
2.2. Грейдер-элеватор целесообразно применять при возведении насыпи высотой до 2,25 м и длине захватки 400 - 1000 м.
2.3. Грейдер-элеватор применяется для разработки грунтов I - III групп. В сухих сыпучих песках, переувлажненных глинистых грунтах, а также в грунтах, содержащих корни деревьев и валуны, грейдер-элеватор не применяется.
2.4. При отсыпке грунта в насыпь грейдером-элеватором его целесообразно применять на участках, в пределах которых разность рабочих отметок земляного полотна не превышает 0,2 м.
2.5. Грунт в резервах разрабатывается послойно на всю ширину резерва.
Пробивка первой борозды ведется по колышкам. Предварительно зарезание лучше осуществлять автогрейдером.
2.6. Рекомендуемая глубина резания (0,35 - 0,40 м) устанавливается за несколько проходов.
В начале каждого рабочего прохода дисковый нож заглубляется постепенно с тем, чтобы избежать передачи на нож резко возрастающих нагрузок, вызывающих поломки.
2.7. После пробивки первой борозды и приведения грейдера-элеватора в рабочее состояние в начале его движения желательно заглублять дисковый нож до 0,25 м.
При последующих 2 - 3 проходах нож заглубляют на 0,35 - 0,40 м. Такое заглубление ножа сохраняют до окончания разработки первого слоя по всей ширине резерва.
2.8. Наиболее рациональная схема работы грейдера-элеватора - кольцевая.
2.9. При сооружении насыпи земляного полотна грейдером-элеватором целесообразно выполнять работы на двух захватках. После отсыпки грунта на первой захватке грейдер-элеватор переходит на вторую, а на первой выполняются работы по планировке и укатке земляного полотна.
2.10. Рекомендуемые углы установки дискового плуга грейдера-элеватора:
|
Грунт |
Углы установки дискового плуга, град |
||
|
резания |
захвата |
заточки режущей кромки |
|
|
Супесь |
45 |
35 |
- |
|
Суглинок |
30 |
45 |
- |
|
Глина |
20 |
50 |
10 - 15 |
|
Разрыхленный грунт |
35 |
55 |
- |
2.11. После разработки грейдером-элеватором первого слоя грунта на всю ширину резерва разрабатывают грунт второго слоя в той же последовательности.
2.12. При двухсторонних резервах разработку их ведут одновременно по круговой схеме проходов.
Для прохода грейдера-элеватора из одного резерва в другой в земляном полотне необходимо оставлять разрывы шириной по основанию 10 - 20 м. В этих местах насыпь рекомендуется возводить звеном бульдозеров или скреперов.
2.13. После укладки грунта в насыпь грейдером-элеватором производится разравнивание грунта бульдозером ДЗ-8 (Д-271) и уплотнение пневмоколесным катком ДУ-16В (Д-551В).
При необходимости грунт увлажняют при помощи поливомоечной машины ПМ-130.
2.14. Работы следует выполнять в соответствии с требованиями СНиП III-40-80, инструкции о сооружению земляного полотна автомобильных дорог и СНиП III-8-76.
2.15. Необходимо полностью соблюдать «Правила техники безопасности при строительстве, ремонте и содержании автомобильных дорог» (М.: Транспорт, 1969).
III. ИСПОЛНИТЕЛИ И ОРУДИЯ ТРУДА
3.1. Состав исполнителей:
|
Машинист грейдера-элеватора ДЗ-501 (Д-437А) |
VI разр. |
(М-1) |
- 1 |
|
Машинист бульдозера ДЗ-8 (Д-271) |
V » |
(М-2) |
- 1 |
|
Машинист пневмоколесного катка ДУ-16В (Д-551В) |
V » |
(М-3) |
- 1 |
Водитель поливомоечной машины работает по отдельному наряду (путевому листу) и в состав звена не входит.
3.2. Машины, инструменты, приспособления, инвентарь.
|
№ п/п |
Наименование |
ГОСТ |
Количество, шт. |
|
1 |
Грейдер-элеватор ДЗ-501 (Д-437А) |
7125-76 |
1 |
|
2 |
Бульдозер гусеничный ДЗ-8 (Д-271) |
7410-79 Е |
1 |
|
3 |
Каток пневмоколесный ДУ-16В (Д-551В) |
16481-70* |
1 |
|
4 |
Поливомоечная машина ПМ-130 |
17312-71 |
1 |
|
5 |
Рейка металлическая |
- |
1 |
|
6 |
Шаблон с уровнем |
- |
1 |
3.3. Потребность в основных эксплуатационных материалах на 1 ч работы, кг
|
Горюче-смазочные материалы |
% от дизельного топлива |
Марка машины |
Всего |
||
|
ДЗ-501 (Д-437А) |
ДЗ-8 (Д-271) |
ДУ-16В (Д-551В) |
|||
|
Топливо дизельное |
- |
12,50 |
8,00 |
11,90 |
32,40 |
|
Масло для двигателя |
5,0 |
0,63 |
0,40 |
0,60 |
1,63 |
|
Масло трансмиссионное |
1,5 |
0,19 |
0,12 |
0,18 |
0,49 |
|
Смазка консистентная |
1,0 |
0,13 |
0,08 |
0,12 |
0,33 |
IV. ТЕХНОЛОГИЯ И ОРГАНИЗАЦИЯ ПРОЦЕССА
4.1. При устройстве насыпи земляного полотна грейдером-элеватором выполняются следующие операции: разработка грунта в резерве и отсыпка его в насыпь (рабочий проход в одном направлении, разворот в конце захватки, рабочий проход в обратном направлении, разворот в начале захватки), разравнивание грунта бульдозером, уплотнение грунта пневмоколесным катком.
4.2. Работы рекомендуется выполнять механизированным отрядом, в составе которого: грейдер-элеватор ДЗ-501 (Д-437А), бульдозер гусеничный ДЗ-8 (Д-271), пневмоколесный каток ДУ-16В (Д-551В), поливомоечная машина ПМ-130.
4.3. Схема организации рабочего места.

I - разработка и перемещение грунта в насыпь; II - разравнивание и уплотнение грунта; 1 - грейдер-элеватор; 2 - поливомоечная машина; 3 - пневмоколесный каток; 4 - бульдозер
4.4. График трудового процесса.

V. ПРИЕМЫ ТРУДА
5.1. Разработка грунта и укладка его в насыпь грейдером-элеватором. Выполняет М-1 в течение 27,4 мин.
М-1 ведет трактор по разбивочным кольям или по разбивочной борозде, зарезая грунт ножом. Грунт по транспортеру перемещается в насыпь. Нож должен быть установлен в соответствии с рекомендациями п. 2.10. Транспортер устанавливается под углом 22° к горизонту. М-1 заглубляет нож на 0,35 - 0,4 м и ведет разработку грунта. Не доходя 3 - 4 м до конца захватки, М-1 поднимает режущий диск и сбрасывает остатки грунта с ленты транспортера. Дойдя до конца захватки, М-1 останавливает транспортер и начинает разворот.

I - трактор; II - грейдер-элеватор; 1 - 5 - последовательность отсыпки грунта
5.2. Разравнивание грунта земляного полотна бульдозером. Выполняет М-2 в течение 29 мин.
После окончания отсыпки грунта на первой захватке М-2 планирует грунт за 2 - 3 прохода по одному следу с перекрытием следа на 0,5 м.

5.3. Уплотнение земляного полотна пневмоколесным катком. Выполняет М-3 в течение 28,2 мин.
М-3 уплотняет земляное полотно по кольцевой схеме за 8 проходов по одному следу с перекрытием следа на 0,3 - 0,5 м. Уплотнение полотна производится послойно при толщине слоя 0,20 - 0,35 м.
Сухие грунты перед уплотнением необходимо поливать до оптимальной влажности при помощи поливомоечной машины.
ВХОДИТ В КОМПЛЕКТ КТП-2.1-5. ВЗАМЕН КТ-0.0
I. НАЗНАЧЕНИЕ И ЭФФЕКТИВНОСТЬ ПРИМЕНЕНИЯ КАРТЫ
1.1. Карта предназначена для организации труда рабочих при возведении земляного полотна на болотах I типа глубиной до 2 м с полным выторфовыванием.
1.2. Карта предусматривает выторфовывание болота поперечными траншеями с «головы насыпи» экскаватором-драглайном (ковш вместимостью 0,8 м3 со сплошной режущей кромкой).
1.3. В карте предусмотрено возведение земляного полотна после выторфовывания на высоту 0,5 м над уровнем болота. Последующая отсыпка земляного полотна до проектных отметок производится согласно ППР и типовым технологическим картам.
1.4. Показатели производительности труда
|
№ п/п |
Наименование показателей |
Величина показателя |
|
|
по карте |
по ЕНиР |
||
|
1 |
Выработка на 1 чел.-день, м3 |
163,30 |
116,30 |
|
2 |
Затраты труда на устройство 100 м3 земляного полотна, чел.-ч |
4,90 |
6,88 |
Снижение затрат труда и повышение выработки достигается в результате совмещения машинистами экскаваторов рабочих операций, рационального распределения механизмов и исполнителей на участке работ, бесперебойного обеспечения отряда автотранспортом.
II. ПОДГОТОВКА ПРОЦЕССА И УСЛОВИЯ ЕГО ВЫПОЛНЕНИЯ
2.1. Полное выторфовывание на болотах I типа глубиной до 4 м выполняется при возведении насыпей земляного полотна для автомобильных дорог с усовершенствованными капитальными типами покрытий и на болотах глубиной до 2 м для дорог с усовершенствованными облегченными типами покрытий при высоте насыпей до 3 м.
2.2. До начала работ по полному выторфовыванию необходимо:
очистить дорожную полосу от леса, пней и др.
произвести разбивку земляного полотна;
подготовить землевозные пути;
определить места складирования торфа;
определить пригодность грунта в отведенных карьерах для устройства земляного полотна после выторфовывания (грунт должен обладать дренирующими свойствами);
снять растительный слой грунта на подходах к болоту;
укомплектовать механизированный отряд необходимым количеством автотранспорта исходя из объема и дальности перевозки торфа и завоза грунта;
нарастить щитами кузова автомобилей-самосвалов, используемых для перевозки торфа;
обеспечить своевременную заправку механизмов горюче-смазочными материалами.
2.3. При необходимости устройства поверхностного водоотвода и понижения уровня грунтовых вод в состав механизированного отряда дополнительно включается экскаватор с грейферным оборудованием.
2.4. Работы следует выполнять в соответствии с требованиями СНиП III-40-78, СНиП III-8-76, а также «Правил техники безопасности при строительстве, ремонте и содержании автомобильных дорог» (М.: Транспорт, 1969).
III. ИСПОЛНИТЕЛИ И ОРУДИЯ ТРУДА
3.1. Состав исполнителей:
|
Машинист экскаватора-драглайна ЭО-4111Б (Э-652Б) |
VI разр. |
(М-1) |
- 1 |
|
Помощник машиниста экскаватора-драглайна ЭО-4111Б (Э-652Б) |
V » |
(М-2) |
- 1 |
|
Машинист бульдозера ДЗ-8 (Д-271) |
VI » |
(М-3) |
- 1 |
|
Машинист экскаватора ЭО-4111Б (Э-652Б) с трамбующей плитой |
VI » |
(М-4) |
- 1 |
|
Помощник машиниста экскаватора ЭО-4111Б (Э-652Б) с трамбующей плитой |
VI » |
(М-5) |
- 1 |
Водители автомобилей-самосвалов работают по отдельному наряду (путевому листу) и в состав звена не входят.
3.2. Машины, инструменты, приспособления, инвентарь
|
№ п/п |
Наименование |
ГОСТ |
Количество, шт. |
|
1 |
Экскаватор одноковшовый ЭО-4111Б (Э-652Б) |
17257-71 |
2 |
|
2 |
Бульдозер гусеничный ДЗ-8 (Д-271) |
7410-79 Е |
1 |
|
3 |
Сменное оборудование к экскаватору: |
|
|
|
|
ковш драглайна со сплошной режущей кромкой |
- |
1 |
|
|
трамбующая плита массой 2 т |
- |
1 |
|
4 |
Лопата стальная строительная штыковая |
3620-76 |
1 |
|
5 |
Флажок сигнальный |
Изготовляется в мастерской |
2 |
|
6 |
Вешка измерительная |
То же |
1 |
Примечание. Количество автомобилей-самосвалов для перевозки грунта и торфа определяется расчетом.
3.3. Потребность в основных эксплуатационных материалах на 1 ч работы, кг.
|
Горюче-смазочные материалы |
% от дизельного топлива |
Марка машины |
Всего |
|
|
ЭО-4111Б (Э-652Б) |
ДЗ-8 (Д-271) |
|||
|
Топливо дизельное |
|
16,20 |
8,00 |
24,20 |
|
Масло для двигателя |
5,0 |
0,81 |
0,40 |
1,21 |
|
Масло трансмиссионное |
1,5 |
0,24 |
0,12 |
0,36 |
|
Консистентная смазка |
1,0 |
0,16 |
0,08 |
0,24 |
IV. ТЕХНОЛОГИЯ И ОРГАНИЗАЦИЯ ПРОЦЕССА
4.1. При производстве работ по полному выторфовыванию методом поперечных траншей с «головы насыпи» выполняются следующие операции:
разработка торфа экскаватором-драглайном на всю толщину залежи и погрузка в транспортные средства;
засыпка котлована грунтом, завезенным автосамосвалами, и разравнивание бульдозером грунта насыпи;
уплотнение грунта насыпи экскаватором с трамбующей плитой.
4.2. Для обеспечения устойчивости насыпи экскаватор разрабатывает котлован с заглублением в минеральное дно на 0,2 м.
При поперечном уклоне дна болота более 1:10 следует выравнивать дно, устраивая с низовой стороны земляного полотна уступы или заглубив подстилающий пласт с низовой стороны.

4.3. При наличии карьера с грунтом, применяемым для отсыпки земляного полотна, в непосредственной близости от места складирования торфа применяется круговая схема работы автотранспорта. После выгрузки грунта автосамосвалы устанавливаются на место погрузки торфа под углом 15 - 25° к оси прохода экскаватора. Загрузка грунтом производится по схемам, позволяющим наиболее рационально использовать объем кузова автомобиля-самосвала, оборудованного нарощенными бортами для перевозки торфа: ЗИЛ-ММЗ-555 и МАЗ-503Б на 30 см, КрАЗ-256 - на 10 см.
4.4. Схема загрузки автомобилей-самосвалов

1 - 11 - последовательность загрузки автомобилей-самосвалов
4.5. Уплотнение грунта земляного полотна трамбующей плитой выполняется после разравнивания грунта бульдозером на расстояние, обеспечивающее безопасную работу автотранспорта, бульдозера и экскаватора.
4.6. Схема организации рабочего места.

I - экскаватор-драглайн, оборудованный ковшом со сплошной режущей кромкой; 1 - бульдозер; 3 - автомобили-самосвалы; 4 - экскаватор, оборудованный трамбующей плитой
4.7. График трудового процесса.



V. ПРИЕМЫ ТРУДА
А. Разработка торфа и погрузка его в транспортные средства.
1. Набор торфа. Выполняют М-1 и М-2 в течение 9 сек.
До начала работ М-1 устанавливает экскаватор на рабочее место (не ближе 0,5 м от края разрабатываемого котлована). М-1 заглубляет в грунт ковш со сплошной режущей кромкой до полного его заполнения. М-2 следит за исправной работой экскаватора и во время технологических перерывов замеряет глубину котлована.
2. Подъем ковша и поворот платформы к месту разгрузки. Выполняют М-1 и М-2 в течение 11 сек.
М-1 поднимает ковш с торфом и одновременно поворачивает платформу экскаватора к месту разгрузки ковша. М-2 указывает водителям автомобилей-самосвалов место установки автомобилей и следит за соблюдением правил техники безопасности.
3. Разгрузка ковша. Выполняют М-1 и М-2 в течение 4 сек.
М-1 выгружает торф из ковша экскаватора в кузов автомобиля-самосвала согласно схеме загрузки. М-2 обеспечивает установку автомобиля у экскаватора на расстоянии, исключающем необходимость тратить время на «прицеливание» и возможность задеть ковшом кабину автомобиля.
4. Поворот платформы и опускание ковша в забой. Выполняют М-1 и М-2 в течение 7 сек.
М-1 поворачивает платформу экскаватора и опускает ковш в забой с таким расчетом, чтобы по окончании поворота платформы ковш опустился на грунт. М-2 руководит установкой автомобилей-самосвалов под погрузку, во время технологических перерывов очищает ковш от налипшего торфа.

Б. Засыпка котлована грунтом и разравнивание грунта насыпи бульдозером
1. Набор грунта. Выполняет М-3 в течение 8 сек. М-3 заглубляет отвал бульдозера в грунт, высыпанный из кузова автомобиля-самосвала.
2. Перемещение грунта к котловану. Выполняет М-3 в течение 30 сек.
М-3 перемещает грунт на второй передаче бульдозера к кромке котлована.
3. Отсыпка грунта в котловане. Выполняет М-3 в течение 9 сек.
М-3, постепенно поднимая отвал бульдозера, сталкивает грунт в котлован.
4. Разравнивание грунта насыпи. Выполняет М-3 в течение 18 сек.
М-3, возвращаясь к месту набора грунта задним ходом, отвалом бульдозера разравнивает грунт насыпи.

В. Уплотнение грунта насыпи экскаватором с трамбующей плитой
1. Подъем плиты и поворот платформы. Выполняет М-4 и М-5 в течение 7 сек.
М-4 поднимает трамбующую плиту на высоту 2 м и одновременно поворачивает платформу так, чтобы каждый последующий удар перекрывал предыдущий на 0,2 - 0,3 м, и за 2 - 3 удара уплотняет грунт. М-5 руководит разгрузкой автомобилей-самосвалов и следит за соблюдением правил техники безопасности.
2. Опускание трамбующей плиты. Выполняют М-4 и М-5 в течение 2 сек.
М-4 резко опускает трамбующую плиту на грунт. Трамбование грунта М-4 выполняет постепенно поворачивая платформу от края насыпи к ее середине. М-5 наблюдает за работой экскаватора и выполняет указания М-4.
ВХОДИТ В КОМПЛЕКТ КТП-2.1-5. ВЗАМЕН КТ-0.0
I. НАЗНАЧЕНИЕ И ЭФФЕКТИВНОСТЬ ПРИМЕНЕНИЯ КАРТЫ
1.1. Карта предназначена для организации труда рабочих при возведении земляного полотна на болотах I и II типов глубиной до 4 м с частичным выторфовыванием.
1.2. Карта предусматривает выторфовывание болота поперечными траншеями с «головы насыпи» экскаватором-драглайном ЭО-4111Б (Э-652Б) (ковш вместимостью 0,8 м3 со сплошной режущей кромкой).
1.3. Карта предусматривает возведение земляного полотна после частичного выторфовывания на высоту 0,5 м над уровнем болота. Последующая отсыпка земляного полотна до проектных отметок производится согласно ППР и типовым технологическим картам.
1.4. Показатели производительности труда
|
№ п/п |
Наименование показателей |
Величина показателя |
|
|
по карте |
по ЕНиР |
||
|
1 |
Выработка на 1 чел.-день, м3 |
109,4 |
81,8 |
|
2 |
Затраты труда на устройство 100 м3 земляного полотна, чел.-ч |
7,3 |
9,8 |
Снижение затрат труда и повышение выработки достигается в результате совмещения операций машинистами экскаватора-драглайна, рационального распределения механизмов и исполнителей на участке работ, бесперебойного обеспечения отряда автотранспортом.
II. ПОДГОТОВКА ПРОЦЕССА И УСЛОВИЯ ЕГО ВЫПОЛНЕНИЯ
2.1. Частичное выторфовывание на болотах I и II типов выполняется при возведении насыпей земляного полотна для автомобильных дорог с переходными и низшими типами покрытий.
2.2. До начала работ по частичному выторфовыванию необходимо:
произвести разбивку земляного полотна;
очистить дорожную полосу от леса, пней, кустарника;
определить толщину дополнительного слоя насыпи в случаях устройства временной пригрузки;
подготовить землевозные пути;
определить места складирования разработанного торфа;
определить пригодность грунта в отведенных карьерах для устройства земляного полотна после выторфовывания (грунт должен обладать дренирующими свойствами);
снять растительный слой грунта на подходах к болоту;
укомплектовать механизированный отряд необходимым количеством автотранспорта исходя из объема и дальности перевозки торфа и завоза грунта;
нарастить щитами кузова автомобилей-самосвалов, используемых для перевозки торфа;
обеспечить своевременную заправку механизмов горюче-смазочными материалами.
2.3. После частичного выторфовывания толщина остающегося слоя торфа под насыпью с учетом его уплотнения должна составлять при переходных типах дорожных покрытий не более 1/3, а при низших - не более 1/2 толщины минеральной части насыпи.
2.4. Работы следует выполнять в соответствии с требованиями СНиП III-40-78, СНиП III-8-76, а также «Правил техники безопасности при строительстве, ремонте и содержании автомобильных дорог» (М.: Транспорт, 1969).
III. ИСПОЛНИТЕЛИ И ОРУДИЯ ТРУДА
3.1. Состав исполнителей:
|
Машинист экскаватора-драглайна ЭО-4111Б (Э-652Б) |
VI разр. |
(М-1) |
- 1 |
|
Помощник машиниста экскаватора-драглайна ЭО-4111Б (Э-652Б) |
V » |
(М-2) |
- 1 |
|
Машинист бульдозера ДЗ-8 (Д-271) |
VI » |
(М-3) |
- 1 |
|
Машинист экскаватора-грейфера ЭО-4111Б (Э-652Б) |
VI » |
(М-4) |
- 1 |
|
Помощник машиниста экскаватора-грейфера ЭО-4111Б (Э-652Б) |
VI » |
(М-5) |
- 1 |
|
Машинист грунтоуплотняющей машины ДУ-12Б (Д-471Б) |
VI » |
(М-6) |
- 1 |
Водители автомобилей-самосвалов работают по отдельному наряду (путевому листу) и в состав звена не входят.
Работы по доуплотнению земляного полотна картой не предусматриваются.
3.2. Машины, инструменты, приспособления, инвентарь
|
№ п/п |
Наименование |
ГОСТ |
Количество, шт. |
|
1 |
Экскаватор одноковшовый ЭО-4111Б (Э-652Б) |
17257-71 |
2 |
|
2 |
Бульдозер гусеничный ДЗ-8 (Д-271) |
7410-79 Е |
1 |
|
3 |
Грунтоуплотняющая машина ДУ-12Б (Д-471Б) |
- |
1 |
|
4 |
Сменное оборудование к экскаватору: |
|
|
|
|
ковш драглайна со сплошной режущей кромкой |
- |
1 |
|
|
ковш грейфера |
- |
1 |
|
5 |
Флажок сигнальный |
Изготовляется в мастерской |
2 |
|
6 |
Вешка измерительная |
То же |
2 |
|
7 |
Лопата стальная строительная штыковая |
3620-76 |
2 |
Примечание. Количество автомобилей-самосвалов определяется расчетом.
3.3. Потребность в основных эксплуатационных материалах на 1 ч работы, кг
|
Горюче-смазочные материалы |
% от дизельного топлива |
Марка машины |
Всего |
||
|
ЭО-4111Б (Э-652Б) |
Д3-8 (Д-271) |
ДУ-12Б (Д-471Б) |
|||
|
Топливо дизельное |
- |
16,20 |
8,00 |
8,00 |
32,20 |
|
Масло для двигателя |
5,0 |
0,81 |
0,4 |
0,4 |
1,61 |
|
Масло трансмиссионное |
1,5 |
0,24 |
0,12 |
0,12 |
0,48 |
|
Смазка консистентная |
1,0 |
0,16 |
0,08 |
0,08 |
0,36 |
IV. ТЕХНОЛОГИЯ И ОРГАНИЗАЦИЯ ПРОЦЕССА
4.1. При производстве работ по частичному выторфовыванию на болотах I и II типов методом поперечных траншей «с головы насыпи» выполняются следующие операции:
разработка торфа экскаватором-драглайном на проектную глубину и погрузка его в транспортные средства;
засыпка котлована грунтом, завезенным автомобилями-самосвалами, и разравнивание бульдозером грунта насыпи;
устройство водопонижающих траншей экскаватором-грейфером с отсыпкой торфа в боковые продольные отвалы;
уплотнение грунта насыпи грунтоуплотняющей машиной.
4.2. При наличии карьера с грунтом, применяемым для отсыпки земляного полотна, в непосредственной близости от места складирования торфа применяется круговая схема работы автотранспорта. После выгрузки грунта автомобили-самосвалы устанавливаются на место погрузки торфа под углом 15 - 25° к оси прохода экскаватора. Загрузка грунтом производится экскаватором по схемам, позволяющим наиболее рационально использовать объем кузова автомобиля-самосвала, оборудованного нарощенными бортами для перевозки торфа: ЗИЛ-ММЗ-555 и МАЗ-503Б на 30 см, КрАЗ-256 - на 10 см.
4.3. Уплотнение грунта земляного полотна грунтоуплотняющей машиной производится после разравнивания грунта бульдозером на расстояние, обеспечивающее безопасную работу автотранспорта, бульдозера и экскаватора.
4.4. Водопонижающие канавы разрабатываются параллельно оси дороги на расстояние, обеспечивающее дальнейшее возведение насыпи, и служат для отвода поверхностных вод и понижения уровня грунтовых вод во время эксплуатации дороги.
Торф из водопонижающих траншей складируется в боковые продольные валики, расположенные на расстоянии максимального радиуса вылета стрелы экскаватора. Расстояние от края траншеи до кавальера не должно быть меньшим глубины болота. Глубина канавы составляет от 1 до 2,5 м.
4.5. Схема организации рабочего места.

1 - экскаватор-драглайн, оборудованный ковшом со сплошной режущей кромкой; 2 - бульдозер; 3 - автомобили-самосвалы; 4 - экскаватор-грейфер; 5 - грунтоуплотняющая машина; 6 - отвал торфа. Стрелкой показано направление движения механизмов
4.6. График трудового процесса.




Примечание. Перемещение экскаваторов на следующее рабочее место, перемещение бульдозера с одной захватки на другую, а также проверка соответствия фактической глубины разработки торфа в котловане и траншее проектной выполняются во время технологических перерывов.
А. Разработка торфа экскаватором-драглайном и погрузка его в транспортные средства
1. Набор торфа. Выполняют М-1 и М-2 в течение 9 сек.
До начала выполнения работ М-1 устанавливает экскаватор на рабочее место (не ближе 0,5 м от края разрабатываемого котлована). М-1 заглубляет ковш в грунт до полного его заполнения. М-2 следит за исправной работой экскаватора и во время технологических перерывов замеряет глубину котлована.
2. Подъем ковша и поворот платформы к месту разгрузки. Выполняют М-1 и М-2 в течение 11 сек.
М-1 поднимает ковш с торфом и одновременно поворачивает платформу экскаватора к месту разгрузки ковша. М-2 указывает водителям автомобилей-самосвалов место установки автомобилей и следит за соблюдением правил техники безопасности.
3. Загрузка ковша. Выполняют М-1 и М-2 в течение 4 сек.
М-1 выгружает торф из ковша экскаватора в кузов автомобиля-самосвала согласно схеме загрузки. М-2 обеспечивает установку автомобиля у экскаватора на расстоянии, исключающем необходимость тратить время на «прицеливание» и возможность задеть ковшом кабину автомобиля.
4. Поворот платформы и опускание ковша в забой. Выполняют М-1 и М-2 в течение 7 сек.
М-1 поворачивает платформу экскаватора и опускает ковш в забой с таким расчетом, чтобы по окончании поворота платформы ковш опускался на грунт. М-2 руководит установкой автомобилей-самосвалов под погрузку, во время технологических перерывов очищает ковш от налипшего торфа.
Б. Засыпка котлована грунтом и разравнивание грунта насыпа бульдозером
1. Набор грунта. Выполняет М-3 в течение 8 сек.
М-3 заглубляет отвал бульдозера в грунт, высыпанный из кузова автомобиля-самосвала.
2. Перемещение грунта к котловану. Выполняет М-3 в течение 30 сек.
М-3 перемещает грунт на второй передаче бульдозера к кромке котлована.
3. Отсыпка грунта в котловане. Выполняет М-3 в течение 9 сек.
М-3, постепенно поднимая отвал бульдозера, сталкивает грунт в котлован.
4. Разравнивание грунта насыпи. Выполняет М-3 в течение 18 сек.
М-3, возвращаясь к месту набора грунта задним ходом, отвалом бульдозера разравнивает грунт насыпи.

В. Устройство водопонижающих траншей экскаватором-грейфером и отсыпка торфа в боковые продольные отвалы
1. Разработка траншеи. Выполняют М-4 и М-5 в течение 11 сек.
До начала работ М-4 устанавливает экскаватор на рабочее место (не ближе 0,5 м от края насыпи). М-4 набирает ковшом грунт в траншее до полного его заполнения. М-5 следит за исправной работой экскаватора, во время технологических перерывов замеряет глубину траншеи.
2. Подъем ковша и поворот платформы к месту разгрузки. Выполняют М-4 и М-5 в течение 9 сек.
М-4 поднимает ковш с торфом и одновременно поворачивает платформу экскаватора к месту разгрузки ковша. М-5 руководит работой автомобилей-самосвалов по завозу грунта и следит за соблюдением правил техники безопасности.
3. Разгрузка ковша. Выполняют М-4 и М-5 в течение 3 сек.
М-4 выгружает торф из ковша экскаватора в боковой продольный отвал на расстоянии максимального радиуса вылета стрелы экскаватора. М-5 руководит работой автомобилей-самосвалов по завозу грунта и следит за соблюдением правил техники безопасности.
4. Поворот платформы и опускание ковша в траншею. Выполняют М-4 и М-5 в течение 6 сек.
М-4 поворачивает платформу экскаватора и опускает ковш в траншею с таким расчетом, чтобы по окончании поворота платформы ковш опустился на грунт. М-5 выполняет работы в соответствии с указаниями М-4, во время технологических перерывов очищает ковш от налипшего торфа.

Г. Послойное уплотнение земляного полотна грунтоуплотняющей машиной
1. Уплотнение грунта. Выполняет М-6 в течение 1470 сек.
М-6 уплотняет грунт по кольцевой схеме с перекрытием следа на 0,2 - 0,3 м.
2. Разворот в конце захватки. Выполняет М-6 в течение 60 сек.
Уплотнив грунт по длине захватки, М-6 останавливает движение трамбующих плит и разворачивает грунтоуплотняющую машину в обратном направлении.
ВХОДИТ В КОМПЛЕКТ КТП-2.1-5. ВЗАМЕН КТ-0.0
I. НАЗНАЧЕНИЕ И ЭФФЕКТИВНОСТЬ ПРИМЕНЕНИЯ КАРТЫ
1.1. Карта предназначена для организации труда рабочих при возведении земляного полотна бульдозерами ДЗ-18 (Д-493А) и ДЗ-8 (Д-271) на косогорах крутизной до 30° в грунтах II группы.
1.2. Устройство водоотводных канав, планировка и отделка откосов выполняются в соответствии с ППР и в состав работ, предусмотренных картой, не входят.
1.3. Показатели производительности труда
|
№ п/п |
Наименование показателей |
Величина показателя |
|
|
по карте |
по ЕНиР |
||
|
1 |
Выработка на 1 чел.-день, м3 |
251 |
199 |
|
2 |
Затраты труда на устройство 100 м3 земляного полотна, чел.-ч |
3,19 |
4,02 |
Снижение затрат труда и повышение выработки достигается в результате совмещения машинистами бульдозеров рабочих операций и применения рациональной технологии производства работ.
II. ПОДГОТОВКА ПРОЦЕССА И УСЛОВИЯ ЕГО ВЫПОЛНЕНИЯ
2.1. До начала работ по устройству земляного полотна типа полунасыпь - полувыемка на косогорах необходимо:
произвести инструментальную геодезическую разбивку земляного полотна:
снять растительный слой грунта в зоне производства работ;
выполнить подготовительные работы и мероприятия по обеспечению водоотвода в соответствии с требованиями ППР;
обеспечить сохранность всех разбивочных знаков, а при повреждении - их восстановление;
определить места въезда бульдозеров на полку, устраиваемую на косогоре;
обеспечить своевременную заправку механизмов горюче-смазочными материалами.
2.2. Работы следует выполнять в соответствии с требованиями СНиП III-40-78, СНиП III-8-76, а также «Правил техники безопасности при строительстве, ремонте и содержании автомобильных дорог» (М.: Транспорт, 1969).
III. ИСПОЛНИТЕЛИ И ОРУДИЯ ТРУДА
3.1. Состав исполнителей:
|
Машинист бульдозера ДЗ-18 (Д-493А) |
VI разр. |
(М-1, М-2) |
- 2 |
|
Машинист бульдозера ДЗ-8 (Д-271) |
V » |
(М-3) |
- 1 |
|
Машинист автогрейдера ДЗ-31-1 (Д-557-1) |
VI » |
(М-4) |
- 1 |
|
Машинист грунтоуплотняющей машины ДУ-12Б (Д-471) |
V » |
(М-5) |
- 1 |
Водитель поливомоечной машины работает по отдельному наряду и в состав звена не входит.
3.2. Машины, инструменты, приспособления, инвентарь
|
№ п/п |
Наименование |
ГОСТ |
Количество, шт. |
|
1 |
Бульдозер ДЗ-18 (Д-493А) |
- |
2 |
|
2 |
Бульдозер гусеничный ДЗ-8 (Д-271) |
7410-79 Е |
1 |
|
3 |
Автогрейдер ДЗ-31-1 (Д-557-1) |
9420-79 |
1 |
|
4 |
Грунтоуплотняющая машина ДУ-12Б (Д-471Б) |
- |
1 |
|
5 |
Откосник |
Изготовляется в мастерской |
4 |
|
6 |
Шаблон с уровнем |
То же |
1 |
3.3. Потребность в основных эксплуатационных материалах на 1 ч работы, кг
|
Горюче-смазочные материалы |
% от дизельного топлива |
Марка машины |
Всего |
|||
|
ДЗ-18 (Д-493А) |
ДЗ-8 (Д-271) |
ДЗ-31-1 (Д-557-1) |
ДУ-12Б (Д-471Б) |
|||
|
Топливо дизельное |
|
16 |
8 |
8,5 |
8 |
40,5 |
|
Масло для двигателя |
5,0 |
0,8 |
0,4 |
0,43 |
0,4 |
2,03 |
|
Масло трансмиссионное |
1,5 |
0,24 |
0,12 |
0,13 |
0,12 |
0,61 |
|
Смазка консистентная |
1,0 |
0,16 |
0,08 |
0,09 |
0,08 |
0,41 |
IV. ТЕХНОЛОГИЯ И ОРГАНИЗАЦИЯ ПРОЦЕССА
4.1. При производстве работ по устройству земляного полотна типа полунасыпь - полувыемка на косогоре крутизной до 30° бульдозерами выполняются следующие операции: нарезка уступов и отсыпка насыпи; разработка и перемещение грунта выемки; послойная планировка насыпи автогрейдером; послойное уплотнение насыпи грунтоуплотняющей машиной.
4.2. Разработка косогора универсальным бульдозером (с поворотным отвалом) ведется продольно-диагональными проходами вдоль косогора с ранее устроенного уступа. Работа ведется только частью отвала, обращенного к косогору. Угол резания устанавливается для рыхлых грунтов - 55 - 60, для более плотных - 45 - 50°.
4.3. Для обеспечения устойчивости земляного полотна с низовой стороны насыпи продольными проходами бульдозера нарезают уступы высотой до 2 м. Поперечные уклоны уступов, направленные в низовую сторону, равны 0,01 - 0,02. Стенки уступов высотою до 1 м выполняются вертикальными, а большей высоты-с откосами крутизной 1:0,5. Ширина полки принимается от 1 до 4 м. Грунт с каждого последующего уступа используется для возведения тела насыпи, опирающейся на предыдущий уступ.
4.4. Отсыпка последующих слоев насыпи производится после разравнивания и уплотнения нижележащих слоев.
4.5. Расход воды составляет 10 % половины объема поливаемого грунта.
4.6. Схема организации рабочего места.

1 - бульдозер; 2 - автогрейдер; 3 - поливомоечная машина
4.7. График трудового процесса.

5.1. Нарезка уступов и отсыпка насыпи бульдозером. Выполняет М-1 в течение 39 мин.
М-1 начинает нарезку уступов с нижнего уступа. Грунт нижнего уступа перемещает к подошве насыпи для создания упорной призмы. Одновременно с нарезкой уступа М-1 продольными проходами бульдозера перемещает грунт в расположенную на нижележащих уступах насыпь. Каждый последующий уступ нарезается после уплотнения нижележащего слоя.
5.2. Разработка и перемещение грунта выемки бульдозерами. Выполняют М-2 и М-3 в течение 42 мин.
М-2 начинает разработку выемки с устройства пионерного уступа в верхней части насыпи диагонально-поперечным проходом. Затем М-2 и М-3 разрабатывают выемку в верхней части, перемещая грунт к разрабатываемому уступу. Обратно бульдозеры возвращаются задним ходом для следующего забора грунта.
5.3. Послойная планировка насыпи автогрейдером. Выполняет М-4 в течение 25 мин.
М-4 устанавливает углы резания, захвата и наклона отвала автогрейдера соответственно требуемому уклону земляного полотна. Работы М-4 выполняет по кольцевой схеме движения за 3 прохода по одному следу с перекрытием предыдущего следа на 0,4 м. Спланировав грунт по длине захватки, М-4 поднимает отвал и разворачивает автогрейдер для движения в обратном направлении.
5.4. Послойное уплотнение насыпи грунтоуплотняющей машиной. Выполняет М-5 в течение 35 мин.
М-5 уплотняет грунт по кольцевой схеме за 1 - 2 прохода по одному следу с перекрытием следа на 0,2 - 0,3 м.
СОДЕРЖАНИЕ
|
_________________________________________________________ |