ОТРАСЛЕВОЙ СТАНДАРТ
|
ТРОЙНИКИ ШТАМПОВАННЫЕ |
ОСТ 108.104.15-82 Введен впервые |
Указанием Министерства энергетического машиностроения от 04.06.82 № ВВ-002/4628 срок действия с 01.01.85 до 01.01.96
Проверен в 1983 г.
(Измененная редакция, Изм. № 1, Изм. № 3, Изм. № 4).
1. Настоящий стандарт распространяется на тройники равнопроходные штампованные с вытянутой горловиной и обжатыми концами для паропроводов тепловых электростанций с номинальным давлением и температурой пара :
Р = 13,73 МПа (140 кгс/см2), t = 560°C;
Р = 13,73 МПа (140 кгс/см2), t = 545°С;
Р = 13,73 МПа (140 кгс/см2), t = 515°C;
Р = 4,02 МПа ( 41 кгс/см2), t = 545°С.
(Измененная редакция, Изм. № 3)
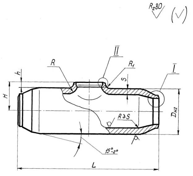
2. Конструкция, размеры и материал тройников должны соответствовать указанным на черт.1¸3 и в таблице.
3. Размеры прямых участков - рекомендуемые и уточняются технологическим процессом изготовителя. Допускается изготовление подкатанной части без прямых участков.
4. Размеры высот Н и h, радиусов R и R1 и толщины стенки Sk1 - могут быть изменены при соблюдении условий прочности по усмотрению изготовителя.
5. Предельные отклонения по наружному диаметру Dн2 не должны превышать плюс 1,25% и минус 2%.
6. Остальные технические требования по ОСТ 24.125.60-89.
(Измененная редакция, Изм. № 3, Изм. № 4)
7. Исполнение, указанное в скобках, применять по согласованию с предприятием-изготовителем
(Измененная редакция, Изм. № 2)
7. Размер S1 обеспечивается технологией изготовления.
(Измененная редакция, Изм. № 4)

Черт.1

Черт. 2
(Измененная редакция, Изм. № 2)

Черт. 3
(Измененная редакция, Изм. № 2)
|
Исполнение |
Черт. |
Условный проход Dу |
Присоединяемые трубы |
Dн |
Dн1 |
Dн2 |
dр |
L |
Н* |
h, пред. откл. +5 |
S не менее |
S1 не менее |
Sk |
Sk1 |
R |
R1 |
Материал (марка, ТУ) |
Масса, кг |
||||
|
Наружный диаметр и толщина стенки |
Номин. |
Пред. откл. |
Номин. |
Пред. откл. |
Номин. |
Пред. откл. |
Пред. откл. ±5 |
не менее |
не более |
Пред. откл. ±5 |
||||||||||||
|
Р = 13,73 МПа (140 кгс/см2), t = 560°C |
||||||||||||||||||||||
|
01 |
3 |
150 |
219 |
32 |
219 |
+3 -1 |
219 |
+ 3 |
320 |
156 |
+0,63 |
1000 |
205 |
45 |
70 |
42 |
28,0 |
28,5 |
120 |
45 |
Сталь 15Х1М1Ф ТУ 14-3-420-75 |
447,0 |
|
Р = 13,73 МПа (140 кгс/см2), t = 545°С |
||||||||||||||||||||||
|
02** |
3 |
175 |
219 |
28 |
219 |
+3 -1 |
219 |
+ 3 |
340 |
164 |
+0,63 |
1000 |
220 |
50 |
70 |
42 |
24,0 |
24,5 |
120 |
45 |
Сталь 15Х1М1Ф ТУ 14-3-420-75 |
447,0 |
|
Р = 13,73 МПа (140 кгс/см2), t = 515°C |
||||||||||||||||||||||
|
(03) |
3 |
100 |
133 |
14 |
133 |
+3 -1 |
136 |
+ 2 |
205 |
106 |
+0,54 |
550 |
142 |
40 |
30 |
17 |
11,5 |
12,0 |
60 |
25 |
Сталь 12Х1МФ ТУ 14-3-460-75 |
87,5 |
|
Р = 4,02 МПа ( 41 кгс/см2), t = 545°С |
||||||||||||||||||||||
|
04 |
2 |
100 |
108 |
6 |
108 |
+2 -1 |
112 |
+ 2 |
150 |
97 |
+0,54 |
550 |
95 |
20 |
20 |
12 |
4,6 |
5,0 |
50 |
25 |
Сталь 12Х1МФ ТУ 14-3-460-75 |
40,6 |
* Размеры для справок
** для исполнения 02 пред. откл. на размер "h" ± 5.
(Измененная редакция, Изм. № 2, Изм. № 3, Изм. № 4).
Пример условного обозначения тройника равнопроходного с условным проходом Dу 175 мм исполнения 02:
ТРОЙНИК РАВНОПРОХОДНЫЙ 175 02 ОСТ 108.104.15-82
Пример маркировки : 02 ОСТ 108.104.15-82 Марка завода
|
Изм. |
Номера листов (страниц) |
Номер документа |
Подпись |
Дата |
Срок введения изменения |
|||
|
измененных |
замененных |
новых |
аннулированных |
|||||
|
|
|
|
|
|
|
|
|
|
|
_________________________________________________________ |