|
Зам. Генерального директора |
С.М. Гликин |
|
Зав. сектором полов |
А.П. Чекулаев |

ВВЕДЕНИЕРАЗДЕЛ I ТЕХНИЧЕСКИЕ ТРЕБОВАНИЯ, ПРЕДЪЯВЛЯЕМЫЕ К ПОЛАМ6. ТЕПЛО-ЗВУКОИЗОЛЯЦИОННЫЙ СЛОЙ РАЗДЕЛ II ПРОЕКТИРОВАНИЕ И УСТРОЙСТВО ПОЛОВ6. ТЕПЛО- И ЗВУКОИЗОЛЯЦИОННЫЙ СЛОЙ
|
В работе представлены материалы для проектирования и устройства полов жилых, общественных, производственных и спортивных зданий с применением клеевых композиций и саморазравнивающихся составов фирмы «UZIN», выполненные на основе анализа опыта применения их в практике строительства, а также экспериментальной проверки физико-технических показателей материалов.
Работа включает:
РАЗДЕЛ I - Технические требования, предъявляемые к полам РАЗДЕЛ II - Проектирование и устройство полов Конструктивные решения полов Основные узлы Приложения
Работа выполнена сектором полов ОАО ЦНИИПРОМЗДАНИЙ по договору М 28.16/03 с ООО «СМП».
1.1. Настоящие технические требования распространяются на правила проектирования и устройства полов производственных, жилых, общественных, спортивных, административных и бытовых зданий.
1.2. Соблюдение изложенных ниже технических требований обеспечивает эксплуатационную надёжность и долговечность конструкций полов.
1.3. При проектировании полов, кроме настоящих технических требований, обязательных к применению, необходимо соблюдать дополнительные требования, установленные нормами проектирования конкретных зданий и сооружений, противопожарными и санитарными нормами, а также нормами технологического проектирования.
1.4. Данные технические требования не распространяются на правила проектирования съёмных полов (фальшполов) и полов, расположенных на вечномерзлых грунтах.
2.1. Проектирование полов должно осуществляться с учётом эксплуатационных воздействий на них, специальных требований (безыскровость, антистатичность, беспыльность, теплоусвоение, звукоизолирующая способность) и климатических условий места строительства.
2.2. Полы, выполняемые по перекрытиям, при предъявлении к последним требований по защите от шума должны обеспечивать нормативные параметры звукоизоляции перекрытий в соответствии с указаниями СНиП 23-03-2003.
2.3. Полы производственных, жилых, общественных, административных и бытовых зданий с нормируемым показателем теплоусвоения поверхности пола должны проектироваться с учётом требований СНиП 23-02-2003.
2.4. Полы в помещениях, где возможно образование взрывоопасных смесей газов, пыли, жидкостей и других веществ в концентрациях, при которых искры, образующиеся при ударе предметов о пол или разрядах статического электричества, могут вызвать взрыв или возгорание, а также при наличии в помещениях электронного оборудования, для которого искры могут создать помехи нормальной работе (предприятия с электронной гигиеной), должны выполняться из антистатических или структурно не электризуемых материалов, не образующих искр при ударах.
2.5. В помещениях с нормируемым содержанием мелкодисперсных аэрозолей в воздухе «чистые» и «особо чистые» помещения) должны применяться «беспыльные» покрытия полов.
2.6. Требования по беспыльности, антистатичности и (или) безыскровости устанавливаются Заказчиком на стадии Технического Задания на проектирование с учётом технологического процесса и требований отраслевых стандартов.
2.7. В помещениях, где полы подвержены воздействиям кислот, щелочей, масел и других агрессивных жидкостей, они должны быть химически стойкими и выполняться из материалов, отвечающих требованиям, предъявляемым СНиП 2.03.11-85.
2.8. В помещениях со средней и большой интенсивностью воздействия жидкостей в покрытии пола должны быть предусмотрены уклоны, равные:
0,5 - 1 % - при бесшовных покрытиях и покрытиях из плит (кроме бетонных покрытий всех видов);
1 - 2 % - при покрытиях из кирпича и бетонов всех видов.
Уклоны лотков и каналов в зависимости от применяемых материалов должны приниматься соответственно не менее указанных.
Направление уклонов должно обеспечивать отвод сточных вод в лотки, каналы и трапы, без пересечения проездов и проходов.
2.9. Во избежание образования трещин в бетонном подстилающем в слое в полах на грунте их уклон должен создаваться путём соответствующей планировки грунтового основания.
2.10. Уровень пола в туалетных и ванных комнатах должен быть на 15-20 мм ниже уровня пола в смежных помещениях либо помещения должны быть разделены порогом.
2.11. В соответствии со СНиП 21-01-97* в помещениях класса функциональной пожарной опасности Ф5 категорий помещений и зданий по взрыво-пожарной и пожарной безопасности А, Б и В1, где производятся, применяются или хранятся легковоспламеняющиеся жидкости, полы должны проектироваться из материалов группы горючести НГ или Г1.
2.12. Не допускается применение ковровых покрытий из материалов по воспламеняемости групп В2, В3 и по дымообразующей способности групп Д2, Д3 в полах зданий классов функциональной пожарной опасности Ф2, Ф3 и Ф4 по СНиП 21-01-97*.
2.13. В соответствии со СНиП 21-01-97* в зданиях всех степеней огнестойкости и классов конструктивной пожарной опасности, кроме зданий V степени огнестойкости и зданий класса конструктивной пожарной опасности здания С3, на путях эвакуации не допускается применять материалы с более высокой пожарной опасностью, чем:
Г2, РП2, Д2, Т2 - в вестибюлях, лестничных клетках и лифтовых холлах;
Г3, РП2, Д3, Т2 - общих коридорах, холлах, фойе.
2.14. Обогреваемые полы следует предусматривать на первом этаже в групповых помещениях всех типов детских дошкольных учреждений, а также в спальных и раздевальных в учреждениях для детей с нарушением опорно-двигательного аппарата. Средняя температура на поверхности пола должна поддерживаться в пределах +23°С.
2.15. Обогреваемые полы являются дополнением к основному отоплению и служат для создания комфорта.
3.1. Грунт основания под полы должен исключать возможность деформации конструкции пола вследствие просадки или пучения.
3.2. Не допускается применять в качестве основания под полы торф, чернозём и другие растительные грунты, а также насыпные и естественные грунты без предварительного их уплотнения при несоответствии степени уплотнения требованиям СНиП 3.02.01-87.
3.3. Нескальное грунтовое основание под бетонный подстилающий слой должно быть предварительно укреплено щебнем или гравием, утопленным на глубину не менее 40 мм.
4.1. Жесткий подстилающий слой должен выполняться из бетона класса не ниже В 22,5.
Если по расчёту напряжение растяжения в подстилающем слое из бетона класса В 22,5 получается ниже расчётного, допускается применять бетон более низкого класса, но не ниже В 7,5.
4.2. Толщина подстилающего слоя устанавливается расчётом на прочность от действующих нагрузок и должна быть не менее 80 мм в жилых и общественных зданиях и не менее 100 мм в производственных помещениях.
4.3. При использовании бетонного подстилающего слоя в качестве покрытия или основания под покрытие без выравнивающей стяжки его толщина по сравнению с расчётной должна быть увеличена на 20-30 мм.
4.4. Отклонение поверхности подстилающего слоя от горизонтальной плоскости на длине 2 м не должно превышать для:
бетонных под бетонные покрытия, покрытия по прослойке из цементно-песчаного раствора и под выравнивающие стяжки - 10 мм
бетонных под покрытия на прослойке из горячей битумной мастики и при укладке оклеечной гидроизоляции - 5 мм
бетонных под покрытия из плитки на прослойке на основе синтетических смол и из клеевой композиции на основе цемента, под покрытия из линолеума, паркета, ламината, рулонных материалов на основе синтетических волокон - 2 мм
4.5. В бетонных подстилающих слоях должны быть предусмотрены деформационные швы, располагаемые во взаимно перпендикулярных направлениях с шагом 6-12 м. Глубина деформационного шва должна быть не менее 40 мм и не менее 1/3 толщины подстилающего слоя. После завершения процесса усадки деформационные швы должны быть заделаны цементно-песчаным раствором.
В помещениях, при эксплуатации которых возможны резкие перепады температур (положительная и отрицательная температуры воздуха) деформационные швы должны быть расшиты полимерной эластичной композицией.
4.6. Деформационные швы в полах, совпадающие с деформационными швами здания, должны выполняться на всю толщину бетонного подстилающего слоя.
5.1. Гидроизоляция от проникновения сточных вод и других жидкостей должна предусматриваться при средней и большой интенсивности воздействия:
воды и нейтральных растворов - в полах на перекрытии, на просадочных и набухающих грунтах, а также в полах на пучинистых грунтах основания в не отапливаемых помещениях;
органических растворителей, минеральных масел и эмульсий из них - в полах на перекрытии;
кислот, щелочей и их растворов, а также веществ животного происхождения - в полах на грунте и на перекрытии.
5.2. Гидроизоляция от проникания сточных вод и других жидкостей должна быть непрерывной в конструкции пола, стенках и днищах лотков и каналов, над фундаментами под оборудование, а также в местах перехода пола к этим конструкциям. В местах примыкания пола к стенам, фундаментам под оборудование, трубопроводам и другим конструкциям, выступающим над полом, гидроизоляция должна предусматриваться непрерывной на высоту не менее 300 мм от уровня покрытия пола, а при попадании струи воды на стены - на всю высоту замачивания.
5.3. При средней и большой интенсивности воздействия жидкостей на пол, а также под сточными лотками, каналами и трапами должна применяться оклеенная гидроизоляция.
При средней и большой интенсивности воздействия на пол минеральных масел, эмульсий из них или органических растворителей, применение оклеенной гидроизоляции из материалов на основе битума не допускается.
5.4. Гидроизоляция под бетонным подстилающим слоем должна быть предусмотрена:
при расположении в зоне опасного капиллярного поднятия грунтовых вод низа подстилающего слоя в помещениях, где отсутствует воздействие на пол сточных вод средней и большой интенсивности. В этом случае при проектировании гидроизоляции высота (м) опасного поднятия грунтовых вод от их горизонта должна приниматься равной для основания из песка крупного - 0,3; песка средней крупности и мелкого - 0,5; песка пылеватого - 1,5; суглинка, пылеватых суглинка и супеси, глины - 2,0;
при расположении подстилающего слоя ниже уровня отмостки здания в помещениях, где отсутствует воздействие на пол сточных вод средней и большой интенсивности;
при средней и большой интенсивности воздействия на пол растворов серной, соляной, азотной, уксусной, фосфорной, хлорноватистой и хромовой кислот.
6.1. Теплоизоляционный слой должен предусматриваться в полах с нормируемым теплоусвоением, а также в полах на перекрытиях, расположенных над арками или не отапливаемыми помещениями.
6.2. Полы на грунте в помещениях с нормируемой температурой внутреннего воздуха, расположенные выше отмостки здания или ниже её не более чем на 0,5 м, должны быть утеплены в зоне примыкания пола к наружным стенам или стенам, отделяющим отапливаемые помещения от не отапливаемых, путём укладки по грунту слоя неорганического влагостойкого утеплителя шириной 0,8 м и толщиной, определяемой из условия обеспечения термического сопротивления этого слоя утеплителя не менее термического сопротивления наружной стены.
6.3. Требуемая толщина теплоизоляционного слоя должна устанавливаться расчётом в соответствии с указаниями СНиП 23-02-2003.
6.4. Требуемая толщина звукоизоляционного слоя и прокладок должна устанавливаться расчётом в соответствии с указаниями СНиП 23-03-2003.
7.1. Прочность на сжатие материала прослойки в МПа (кгс/см) в зависимости от интенсивности механических воздействий (табл.1) должна быть не менее для прослойки из:
- цементно-песчаного раствора - 15 (150) - при слабой интенсивности и 30 (300) - при умеренной, значительной и весьма значительной интенсивности;
- из раствора на жидком стекле - 20 (200);
- из мелкозернистого бетона класса - не ниже В 30.
7.2. Толщина прослойки должна быть, мм:
- из цементно-песчаного раствора и раствора на жидком стекле с уплотняющей добавкой - 10-15
- из полимерзамазок для покрытий из штучных материалов - 3 - 4
- из горячей битумной мастики -2 - 3
- из клеевой композиции для приклеивания паркета - не более 1,0
- из клеевой композиции для приклеивания рулонных материалов - не более 0,8.
8.1. Стяжка должна предусматриваться, когда необходимо:
- выравнивание поверхности нижележащего слоя;
- укрытие трубопровода;
- распределение нагрузок по тепло-звукоизоляционным слоям;
- обеспечение нормируемого теплоусвоения полов;
- создание уклонов на полах по перекрытиям.
8.2. Для выравнивания поверхности нижележащего слоя и укрытия трубопроводов, а также для создания уклона на перекрытии монолитные стяжки должны предусматриваться из бетона класса не ниже В 12,5 или из цементно-песчаного раствора с прочностью на сжатие не ниже 15 МПа (150 кгс/см2).
8.3. Под наливные полимерные покрытия монолитные стяжки должны предусматриваться из бетона класса не ниже В15 или из цементно-песчаного раствора с прочностью на сжатие не ниже 20 МПа (200 кгс/см2).
8.4. Наименьшая толщина стяжки (мм) для создания уклона в местах примыкания к сточным лоткам, каналам и трапам, должна быть: при укладке её по плитам перекрытия - 20, по тепло - и звукоизолирующему слою - 40. Толщина стяжки для укрытия трубопроводов должна быть на 15-20 мм больше диаметра трубопроводов.
8.5. Монолитные стяжки из саморазравнивающихся составов на основе гипсовых вяжущих, используемые под наливные полимерные покрытия, должны иметь прочность на сжатие не менее 20 МПа, под остальные - 10 МПа.
8.6. Толщина монолитных стяжек из саморазравнивающихся составов, применяемых для выравнивания поверхности нижележащего слоя, должна быть не менее 2 мм.
8.7. Легкий бетон стяжек, выполняемых для обеспечения нормируемого теплоусвоения пола, должен быть класса не ниже В5, а поризованный цементно-песчаный раствор прочностью на сжатие не менее 5 МПа (50 кгс/см2).
8.8. Прочность на изгиб стяжек, укладываемых по слою из сжимаемых тепло- или звукоизоляционных материалов, должна быть не менее 2,5 МПа (25 кгс/см2).
8.9. При сосредоточенных нагрузках на пол более 20 кН (200 кгс) толщина стяжки по тепло- или звукоизоляционному слою должна устанавливаться расчётом из условия исключения деформации тепло-звукоизоляционного слоя.
8.10. В местах сопряжения стяжек, выполненных по звукоизоляционным прокладкам или засыпкам, с другими конструкциями (стенами, перегородками, трубопроводами, проходящими через перекрытия, и т.п.) должны быть предусмотрены зазоры шириной 25-30 мм на всю толщину стяжки, заполняемые звукоизоляционным материалом.
8.11. Сборные стяжки из гипсоволокнистых, древесностружечных листов и фанеры должны применяться при умеренной и слабой интенсивности механических воздействий. Не допускается применение данных стяжек в зданиях с мокрым режимом.
8.12. Отклонение поверхности стяжки от горизонтальной плоскости на длине 2 м не должно превышать при покрытиях:
- из штучных материалов по прослойке из цементно-песчаного раствора, а также для укладки оклеечной гидроизоляции - 4 мм
- из штучных материалов по прослойке на основе синтетических смол и из клеевых композиций на основе цемента, а также из линолеума, паркета, ламината, рулонных материалов на основе синтетических волокон - 2 мм
8.13. В помещениях, при эксплуатации которых возможны резкие перепады температур (положительная и отрицательная температуры воздуха) в стяжке должны быть предусмотрены деформационные швы, которые должны совпадать с осями колонн, со швами плит перекрытий, деформационными швами в подстилающем слое. Деформационные швы должны быть расшиты полимерной эластичной композицией.
9.1. Материалы для покрытий полов должны иметь санитарно-эпидемиологическое заключение, а линолеумы и полимерные покрытия полов, кроме того, согласно приказу № 320 МЧС РФ от 8 июля 2002 г. «Об утверждении перечня продукции, подлежащей обязательной сертификации в области пожарной безопасности» - сертификат пожарной безопасности.
9.2. Нормативный коэффициент теплоусвоения покрытий полов не должен превышать:
- в жилых зданиях, больничных учреждениях, диспансерах, амбулаториях, поликлиниках, родильных домах, домах ребёнка, домах-интернатах для престарелых и инвалидов, общеобразовательных и детских школах, детских садах, яслях, детских домах и детских приёмниках-распределителях - 12 Вт/(м2·°С);
- в общественных зданиях, кроме вышеуказанных, вспомогательных зданиях и помещениях промышленных предприятий, а также на участках с постоянными рабочими местами в отапливаемых производственных зданиях, где выполняются легкие физические работы (категория I) - 14 Вт/(м2·°С);
- в отапливаемых помещениях производственных зданий, где выполняются физические работы средней тяжести (категория II) - 17 Вт/(м2·°С).
9.3. Показатель теплоусвоения покрытия пола не нормируется в производственных помещениях с температурой поверхности пола выше 23°С, в отапливаемых производственных помещениях, где выполняются тяжелые физические работы (категория III), в производственных зданиях, где на участках пола постоянных рабочих мест размещены деревянные щиты или теплоизолирующие коврики, в общественных зданиях, эксплуатация которых не связана с постоянным пребыванием людей (залы музеев и выставок, фойе театров и кинотеатров и т.п.).
9.4. Толщина керамических кислотоупорных плит должна составлять: 15 - 20 мм при слабой интенсивности, 30 - 35 мм при умеренной интенсивности и 50 мм при значительных механических нагрузках.
9.5. Поверхность покрытия пола должна быть ровной. Отклонение поверхности покрытия пола от горизонтальной плоскости на длине 2 м не должна превышать для покрытий:
паркетных, из линолеума, рулонных на основе синтетических волокон - 2 мм;
из плит керамических и каменных - 4 мм.
9.6. Отклонение от заданного уклона покрытий - 0,2% соответствующего размера помещений, но не более 50 мм.
9.7. Высота уступа между смежными изделиями покрытий из керамических и каменных плит не должна превышать 1 мм.
9.8. В полах паркетных и из линолеума уступы между смежными изделиями не допускаются.
9.9. Отклонение швов в покрытиях пола между рядами штучных материалов от прямой линии не должно превышать 10 мм на длине ряда в 10 м. Ширина швов между плитками не должна превышать 6 мм при втапливании плиток и блоков в прослойку вручную и 3 мм при вибровтапливании.
9.10. Зазоры между досками дощатого покрытия не должны превышать 1 мм, между паркетными досками - 0,5 мм и между смежными планками штучного паркета - 0,3 мм.
9.11. Зазоры между смежными кромками полотнищ линолеума и ковров не допускаются.
9.12. При проверке сцепления монолитных мастичных покрытий и покрытий из керамических и каменных плит с нижележащими элементами пола простукиванием не должно быть изменения характера звучания.
9.13. Площадь приклейки паркетной планки должна составлять не менее 80%.
9.14. Поверхность покрытия не должна иметь выбоин, трещин, волн, вздутий, приподнятых кромок. Цвет покрытия должен соответствовать проектному.
9.18. В помещениях, при эксплуатации которых возможны резкие перепады температур в покрытиях полов должны быть предусмотрены деформационные швы, которые должны совпадать с деформационными швами в стяжке и в подстилающем слое. Швы должны быть расшиты полимерной эластичной композицией.
Выбор типа пола следует осуществлять с учётом видов и интенсивности эксплуатационных воздействий, а также из технико-экономической целесообразности принятого решения в конкретных условиях строительства, при котором обеспечиваться:
- эксплуатационная надёжность и долговечность пола;
- экономия строительных материалов;
- наиболее полное использование физико-механических свойств применённых материалов;
- минимум трудозатрат на устройство и эксплуатацию;
- максимальная механизация процессов устройства;
- экологическая безопасность;
- оптимальные гигиенические условия для людей;
- пожаробезопасность.
При проектировании и устройстве полов кроме указаний настоящего Альбома должны выполняться требования действующих норм проектирования, правил техники безопасности, по охране труда и противопожарной безопасности.
2.1 При проектировании и устройстве грунтовых оснований должны соблюдаться технические требования, изложенные в Разделе I.
2.2 При пучинистых грунтах, к которым согласно СНиП 2.02.01-83* относятся пылевато-глинистые грунты, пески пылеватые и мелкие, а также крупнообломочные грунты с пылевато-глинистым заполнителем, подверженные в процессе эксплуатации пола замораживанию, рекомендуется предусматривать одну из следующих мер:
- устройство по основанию после снятия растительного грунта слоя теплоизоляции из плитного экструзионного пенополистирола;
- замену пучинистого грунта на не пучинистый.
2.3 Макропористые грунты следует закреплять или заменять на грунт с малой осадкой.
2.4 Грунты насыпные или с нарушенной структурой рекомендуется очистить от примесей древесностроительного мусора и уплотнить.
2.5 При применении для устройства оснований гравийно-песчаных смесей их рекомендуется укладывать по выровненной поверхности слоями толщиной 100 - 120 мм с последующим уплотнением каждого слоя.
2.6 Уплотнение грунта рекомендуется осуществлять механизированным способом в соответствии с требованиями СНиП 3.02.01-87. Ручное трамбование грунта допускается только в местах, недоступных для используемых механизмов, и там, где их применение может вызывать повреждение примыкающих к зоне уплотнения конструкций (фундаментов, стен подвалов и др.).
2.7 Грунт основания при уплотнении и планировке должен быть талым. Уплотнение и планировка талого грунта с примесью мерзлого, а также со снегом и льдом не допускается.
2.8 При производстве работ согласно СНиП 3.02.01-87 необходимо обеспечивать требуемую степень уплотнения грунта (таблица 2.1).
|
Тип Грунта |
Контрольные значения коэффициента уплотнения kcom при нагрузке на поверхности уплотнённого грунта МПа (кг/см2) при |
|||||||||||
|
0 |
0,05-0,2 (0,5-2) |
Свыше 0,2 (2) |
||||||||||
|
общая толщина отсыпки, м |
||||||||||||
|
До 2 |
2.01-4 |
4,01-6 |
Св.6 |
До 2 |
2,01-4 |
4,01-6 |
Св. 6 |
До 2 |
2,01-4 |
4,01-6 |
Св.6 |
|
|
Глинистые Песчаные |
0,92 0,91 |
0,93 0,92 |
0,94 0,93 |
0,95 0,94 |
0,94 0,93 |
0,95 0,94 |
0,96 0,95 |
0,97 0,96 |
0,95 0,94 |
0,96 0,95 |
0,97 0,96 |
0,98 0,97 |
Примечание: Коэффициентом уплотнения называется отношение достигнутой плотности сухого грунта к максимальной плотности сухого грунта, полученной в приборе стандартного уплотнения по ГОСТ 22733-77
2.9 Уклоны полов, устраиваемых на грунте, рекомендуется создавать соответствующей планировкой основания. Выполнение уклонов полов на грунте за счёт утолщения подстилающего слоя допускается только в небольших помещениях, где это утолщение не превышает 40 мм.
3.1 При проектировании и устройстве подстилающего слоя должны соблюдаться технические требования, изложенные в Разделе I.
3.2 Подстилающие слои должны выполняться по предварительно выровненному основанию.
3.3 При нескальных грунтах основания рекомендуется перед укладкой бетона подстилающего слоя втопить в грунт на глубину 40 мм гравий или щебень крупностью 40 - 60 мм с прочностью на сжатие не менее 20 МПа. При необходимости грунт основания предварительно следует увлажнить до 10 - 20%.
3.4 Бетонные основания толщиной до 120 мм рекомендуется армировать одним слоем металлической сетки из проволоки диаметром 5 мм с ячейками 100×100 или 150×150 мм, толщиной 120 - 180 мм - двумя слоями металлической сетки, а при толщине более 180 мм каркас определяется расчётом. Нижний слой металлической сетки укладывается на прокладки толщиной не менее 20 мм, верхний - картами 6x6 м, а в особых случаях 3×3 м на опоры, приваренные к нижнему слою сетки.
3.5 Для армирования бетонных оснований может также использоваться стальная фибра длиной 50 - 80 мм и диаметром 0,3 - 1 мм.
3.6 В бетонных основаниях рекомендуется предусматривать деформационные швы в продольном и поперечном направлении с шагом от 3 до 6 м. Швы должны совпадать с осями колонн, деформационными швами здания, а при двухслойном армировании сетками с границами верхнего слоя арматуры. Глубина деформационного шва должна быть не менее 40 мм и не менее 1/3 толщины бетонного основания, ширина - 3 - 5 мм.
3.7 Для предотвращения деформации пола при возможности осадки здания следует предусмотреть отсечку бетонного основания от колонн и стен через прокладки из рулонных гидроизоляционных материалов.
3.8 Для бетонных подстилающих слоев рекомендуется использовать составы бетонных смесей, приведённые в таблице 3.1.
|
Класс бетона |
Составляющие, мас.ч. |
Характеристики щебня |
||||
|
Вода |
Портландцемент или глинозёмистый цемент марки 400 |
Крупно или среднезернистый песок |
Щебень или гравий крупностью до 15 мм |
% износа |
Предел прочности при сжатии, МПа |
|
|
В 22,5 |
0,5 |
1 |
1,4 |
2,4 |
40 |
80 |
|
В 30 |
0,4 |
1 |
1 |
1,7 |
45 |
100 |
3.9 В качестве матричного состава для сталефибробетона рекомендуется использовать мелкозернистый бетон класса В25 и В35 с максимальным размером крупного заполнителя 20 мм (табл. 3.2).
|
Класс бетона |
Вода |
Цемент |
Песок |
Щебень |
Фибра |
Пластификатор |
|
В25 В35 |
0,40 0,46 |
1 1 |
3,5 1,7 |
2,5 2,8 |
0,10 0,16 |
0,08 0,05 |
3.10 Для приготовления бетона следует использовать портландцемент (ГОСТ 10178-85) марки не ниже 400.
3.11 Щебень из природного камня (ГОСТ 8267-82), гравий (ГОСТ 8268-82) и щебень из гравия (ГОСТ 10260-82) для классов бетона ВЗО, В22,5 и В15 должны иметь соответственно прочность 100, 80 и 60 МПа.
3.12 Песок кварцевый или дробленный (ГОСТ 8736-85) из природного камня кристаллических пород (гранита, сиенита, базальта и им подобных) крупно - или среднезернистый, используемый для бетонных покрытий, должен быть с содержанием глинистых или илистых частиц не более 3%.
3.13 Бетонные основания полов рекомендуется изготавливать методом виброобработки и методом вакуумирования.
3.14 Бетонные смеси, в состав которых не введены пластификаторы, для бетонных оснований, изготавливаемых методом виброобработки, должны иметь осадкой конуса 2 - 4 см. Подвижность смесей следует увеличивать только введением пластификаторов марок С-3, СНВ и др. в количестве до 0,8 % от массы цемента.
3.15 Работы по укладке бетонных и сталефибробетонных смесей следует выполнять при температуре воздуха на уровне пола не ниже +5°С. Эта температура должна поддерживаться до приобретения бетоном 50%-ной проектной прочности. При укладке бетона в зимних условиях при отрицательных температурах в бетонную смесь следует вводить добавку нитрата натрия, поташа и т.п.
3.16 Бетонную смесь следует укладывать на основание полосами, ограниченными маячными рейками (металлопрокат, неизвлекаемые алюминиевые или бетонные рельс-формы) высотой, соответствующей толщине бетонного основания. При этом ширина полос выбирается с учётом технических характеристик применяемого оборудования, расстояния между колоннами в здании, а также планируемым расположением деформационных швов. Монтажные швы должны совпадать с деформационными швами.
3.17 Маячные рейки рекомендуется устанавливать параллельно длинной стороне стены на марки из цементно-песчаного раствора с ориентацией на метку, вынесенную на стену. При этом первый ряд реек следует размещать на расстоянии 0,5-0,6 м от стены, противоположной входу в помещение, а следующие ряды - параллельно первому.
3.18 В местах, где пол должен иметь уклон в сторону трапов или каналов, маячные рейки следует устанавливать с таким расчётом, чтобы верх рейки имел заданный уклон.
3.19 Непосредственно перед укладкой бетонной смеси нижележащий слой следует обильно смочить водой, чтобы к моменту укладки он был влажным, но на нём не было скопления воды.
3.20 Бетонную смесь следует укладывать между маячными рейками полосами через одну. При этом толщина выровненного бетонного слоя с учётом последующей его осадки в процессе виброобработки должна приниматься на 3-5 мм выше маячных реек.
3.21 При толщине бетонного покрытия пола до 100 мм уплотнение бетонной смеси рекомендуется выполнять виброрейкой, а при толщине свыше 100 мм рекомендуется до уплотнения виброрейкой предварительно обработать уложенную бетонную смесь глубинным вибратором. Скорость передвижения виброрейки 0,5 - 1 м/мин, количество проходов 1-2. При применении виброрейки нижней кромки её балок должен образовываться валик (призма волочения) высотой 2 - 5 см.
3.22 Бетонирование рекомендуется проводить без технологических перерывов. В противном случае перед возобновлением бетонирования затвердевшая вертикальная кромка уложенного ранее бетона должна быть очищена от грязи и пыли и промыта водой. В местах рабочих швов уплотнение и заглаживание бетона следует производить до тех пор, пока шов не станет незаметным.
3.23 Пропущенные полосы бетонируют после снятия маячных реек, используя забетонированные полосы в качестве опалубки и направляющих.
3.24 Вакуумирование бетона производится с помощью комплекта оборудования, в который входят: вакуум-агрегат, отсасывающие маты, виброрейка, заглаживающие машины, направляющие для виброреек, шланги и соединительные устройства, ёмкости для промывки отсасывающих матов.
3.25 При применении метода вакуумирования рекомендуемые бетонные смеси должны иметь повышенное на 150 - 200 кг на 1 м3 бетонной смеси содержание песка по сравнению с составами по таблице 3.1.
3.26 Бетонные смеси, применяемые при использовании метода вакуумирования, должны характеризоваться осадкой конуса 8 - 12 см. Повышенное водоцементное отношение облегчает укладку и уплотнение и позволяет получить более ровную поверхность бетонного основания.
3.27 Технологический регламент изготовления покрытий полов методом вакуумирования предусматривает укладку на виброуплотнённую поверхность покрытия пола матов с вакуум-полостями, присоединение их шлангами к вакуум-насосу и отсос избыточной воды, за счёт чего достигается повышение прочности и однородности бетона.
3.28 При раскладке отсасывающих матов на свежеуложенную бетонную смесь необходимо обеспечить перекрывание верхним полотнищем нижнего на 10 - 15 см с каждой стороны, при укладке на затвердевший бетон - не менее чем на 20 см.
Раскладывают отсасывающий мат следующим образом: нижнее фильтровальное полотнище укладывают непосредственно на бетон (если ведут работы одновременно с двумя и более нижними полотнищами, то они должны лежать внахлёст не менее чем на 3 см), а верхнее раскатывают, начиная от середины. Такой порядок раскатки улучшает герметизацию и, следовательно, повышает качество работы.
Полотнища нужно укладывать ровно, без морщин и складок. Верхнее полотнище, кроме того, после укладки рекомендуется прогладить валиком, щёткой и т.п.
3.29 Вакуумный агрегат на холостом ходу должен создавать разряжение порядка 0,09-0,095 МПа. Нормальным рабочим разряжением вакуум-насоса считается 0,07-0,08 МПа.
Продолжительность вакуумирования увеличивается обратно пропорционально падению разрежения. При разрежении менее 0,06 МПа вакуумирование производить не следует. Время вакуумирования рассчитывают исходя из 1 - 1,5 мин на 1 см толщины бетонного основания. Об окончании процесса можно судить по прекращению поступления водовоздушной смеси в трубопровод.
3.30 После окончания процесса вакуумирования необходимо закатать верхнее полотнище таким образом, чтобы фильтровальное полотнище было открыто на 1 - 2 см с двух сторон при включенном вакуум-насосе 10 - 15 с. Затем верхнее полотнище полностью сворачивают.
3.31 С целью повышения ровности и гладкости поверхности бетонных оснований после уплотнения бетонной смеси и схватывания её до состояния, когда на поверхности при хождении остаются лёгкие следы, следует произвести первичную обработку покрытия - затирку бетоноотделочными машинами с разравнивающими дисками. Участки, не поддающиеся заглаживанию машиной, должны быть заглажены вручную. Вторичную обработку - заглаживание бетоноотделочными машинами с заглаживающими лопастями производят не позднее, чем через 6 часов.
3.32 При использовании метода вакуумирования первичное заглаживание бетонной поверхности производят непосредственно после окончания вакуумирования, а вторичную обработку - через 3 - 5 часов.
3.33 Бетонные подстилающие слои в течение 7-10 дней после укладки должны находиться под слоем постоянно влажного водоудерживающего материала, затем осуществляется естественная сушка.
3.34 При необходимости в последующем выполнения по бетонному подстилающему слою оклеечной гидроизоляции, приклеиваемых битумными составами, выровненную поверхность бетона сразу после укладки бетонной смеси следует прогрунтовать раствором битума в летучем растворителе (бензине) при соотношении по массе 1:(2 - 3). Грунтовку наносят краскопультом после устройства подстилающего слоя, но не ранее чем через 30 минут, а кистями - через 1 - 2 суток после укладки бетона. В результате грунтования на поверхности образуется плёнка, предохраняющая бетонный подстилающий слой от быстрого высыхания, что исключает необходимость укрывать её и поливать водой.
3.35 Устройство деформационных швов рекомендуется выполнять при помощи нарезчиков швов с алмазным диском на глубину не менее 1/3 толщины бетона не позднее, чем через 2 суток твердения. При применении неизвлекаемых рельс-форм имеющиеся в верхней части рельс-форм пазы используются в качестве деформационных швов и нарезку швов осуществляют только в поперечном направлении.
Допускается при устройстве деформационных швов в бетонном подстилающем слое в местах расположения разрывов перед укладкой бетона разместить рейки, обмазанные антиадгезионным составом или обёрнутые рулонным кровельным материалом, которые удаляют после затвердевания бетонной смеси.
3.36 После достижения бетоном воздушно-сухого состояния (влажность не выше 5%) следует осуществить заделку деформационных швов. В помещениях с нормальным режимом эксплуатации швы рекомендуется заделывать полимерцементными шпаклёвками марки UZIN NC-180 или UZIN NC-182, а в помещениях, при эксплуатации которых возможны резкие перепады температуры, в образованный паз укладывается эластичный полиуретановый шнур и осуществляют его заливку заподлицо отверждаемой эластичной уретановой композицией, в качестве которой рекомендуется герметик «Гертекс» (ТУ 5770-006-04002274-00). При выполнении деформационых швов около колонн и вдоль стен следует удалить прокладки из пенополиэтилена и заполнить образующийся паз полиуретановой композицией.
3.37 Эксплуатация полов допускается после приобретения бетоном проектной прочности на сжатие, пешеходное движение по этим полам может быть допущено при прочности бетона на сжатие не менее 5 МПа.
4.1 При проектировании и устройстве прослойки должны соблюдаться технические требования, изложенные в Разделе I.
4.2 Клеевые прослойки должны обеспечивать надёжное сцепление вышележащих слоев с нижележащими. Адгезия покрытий на отрыв при их укладке по бетонным, цементно-песчаным или гипсовым основаниям должна составлять, не менее:
- паркетные покрытия - 0,3 МПа;
- линолеум - 0,15 МПа;
- керамическая плитка, керамогранит, плиты природного камня, укладываемые на цементных клеях - 0,1 МПа
- керамическая плитка, керамогранит, плиты природного камня, укладываемые на полимерных клеях - превышать предел прочности основания при растяжении (отрыв когезионный, по основанию)
4.3 Упругие прослойки снижают напряженное состояние в конструкции пола, в том числе компенсируют напряжения, возникающие в полах с деревянными элементами при изменении температурно-влажностного режима, и повышают стойкость полов к ударным воздействиям. Кроме того, упругие прослойки предотвращают скрип покрытий полов, уложенных по «плавающей» технологии, при хождении людей.
4.4 В качестве упругой прослойки рекомендуется применять рулонный материал марки UZIN Multimoll Vlies толщиной 1 мм из полимерного волокна, связанного полимерной смолой. Допускается применение также пенополиэтиленовых и пенополипропиленовых листов, листового поролона, гофрированного картона и других материалов.
5.1 При проектировании и устройстве стяжек должны соблюдаться технические требования, изложенные в Разделе I.
5.2 Бетонные и цементно-песчаные выравнивающие стяжки, устраиваемые по бетонному основанию под паркетные покрытия, рекомендуется выполнять из бетона класса В15 (марка раствора М200) - при применении паркетных планок из обычных сортов дерева и из бетона класса В22,5 (марка раствора М300) - при наклейке планок из экзотических пород.
5.3 Толщина стяжки в обогреваемых полах должна быть на 45 мм больше диаметров нагревательных элементов - электрокабелей и водонагревательных трубопроводов. Стяжку рекомендуется армировать кладочной сеткой из проволоки диаметром 2 мм с размером ячейка 50×50 мм, располагая её под обогревающими элементами. В стяжках с электрообогревающими элементами армирующая сетка должна быть присоединена к системе электрозаземления здания.
5.4 В местах сопряжения стяжек с электро- и водонагревательными элементами и стяжек, укладываемых по тепло-звукоизолирующему слою, с другими конструкциями (стенами, перегородками, трубопроводами, проходящими через перекрытия, и т.п.) должны быть предусмотрены зазоры шириной 25 - 30 мм на всю толщину стяжки, заполняемые эластичными прокладками.
5.5 В стяжках с электро- и водонагревательными элементами должны быть предусмотрены деформационные швы в продольном и поперечном направлении с шагом от 3 до 6 м. Швы должны совпадать с осями колонн, со швами плит перекрытий, деформационными швами подстилающего слоя. Глубина деформационного шва должна быть не менее 2/3 толщины стяжки.
5.6 Электро- и водонагревательные элементы в стяжках обогреваемых полов укладываются, как правило, с шагом 150 мм. Шаг следует уточнять при теплотехнических расчётах.
5.7 Стяжки могут быть предусмотрены в монолитном и сборном вариантах.
5.8 Для устройства монолитных стяжек рекомендуется применять бетонные и растворные смеси на основе портландцемента с осадкой конуса 2 - 4 см, а также смеси на основе гипса.
5.9 Для устройства монолитных стяжек рекомендуется применять цементно-песчаные растворы (таблица 5.1), бетоны (таблица 5.2) и поризованные цементно-песчаные растворы (таблица 5.3).
|
Марка раствора |
Вода |
Цемент марки 400 |
Песок |
|
М150 М200 М300 |
0,55 0,48 0,40 |
1 1 1 |
3,0 2,8 2,4 |
|
Класс бетона |
Состав по массе при марке цемента не ниже 400 |
|||
|
Вода |
Цемент |
Песок |
Щебень или гравий |
|
|
В12,5 В15 В22.5 |
0,8 0.65 0,5 |
1 1 1 |
2,8 2,0 1,4 |
4,4 3,4 2,4 |
|
Составляющие |
Прочность, МПА |
||
|
5,0 |
7,5 |
10,0 |
|
|
Портландцемент М500 Песок Вода Алюминиевая пудра ПАП-1 Натрий сернокислый |
420 735 330-350 0,4 4 |
450 900 350-380 0,35 3,5 |
480 960 375-400 0,3 3 |
5.10 Для приготовления бетона и цементно-песчаного раствора следует использовать портландцемент (ГОСТ 10178-85) марки не ниже 400.
5.11 При необходимости сокращения срока производства работ для приготовления бетона и цементно-песчаного раствора следует использовать быстросхватывающийся цемент, в качестве которого может быть рекомендован цемент марки UZIN-NC 190 со сроком схватывания не более 24 часов.
5.12 Для бетонных стяжек следует применять в качестве крупного заполнителя щебень или гравий фракций 5 - 15 мм с прочностью на сжатие не менее 20 МПа.
5.13 Песок кварцевый или дробленный (ГОСТ 8736-85) из природного камня кристаллических пород (гранита, сиенита, базальта и им подобных) крупно- или среднезернистый, используемый для бетонных и цементно-песчаных стяжек, должен быть с содержанием глинистых или илистых частиц не более 3%.
5.14 Технология изготовления сплошных стяжек из бетона и цементно-песчаного раствора аналогична применяемой при изготовлении бетонного основания.
5.15 Стяжки из поризованных цементно-песчаных растворов с прочностью на сжатие 5,0, 7,5 и 10,0 МПа и из легкого бетона, в том числе пенобетона (ГОСТ 25485-89) класса В10 плотностью 1100 - 1200 кг/м3, рекомендуется применять преимущественно под покрытия из рулонных материалов, штучный паркет и плитку. При этом толщину стяжек следует принимать равной 30 - 50 мм.
5.16 При устройстве стяжек смесь поризованного раствора следует укладывать по ровному основанию, в котором просветы при проверке двухметровой рейкой не должны превышать 5 мм. В противном случае поверхность основания следует выровнить цементно-песчаным раствором марки не ниже 100.
5.17 Смеси из поризованного раствора и бетона следует укладывать равномерным слоем толщиной менее проектной на величину вспучивания, которую определяют опытным путём. При этом контроль толщины рекомендуется при больших площадях пола осуществлять по предварительно выставленным маякам из раствора марки 100, а в небольших помещениях - по рискам, нанесённым на стены.
5.18 Перерывы при устройстве стяжек из поризованного раствора и пенобетона в пределах одного помещения не допускаются. После укладки смеси поверхность стяжки следует тщательно выровнять до её интенсивного вспучивания.
5.19 Движение людей по стяжке допускается после достижения прочности не менее 0,2 МПа.
5.20 В стяжке из поризованного раствора не должно быть усадочных трещин шириной раскрытия более 0,3 мм. В противном случае их следует расшить и зашпаклевать цементно-песчаным раствором на поливинилацетатной дисперсии при соотношении ПВА : вода = 1:4.
5.21 Стяжки из пенобетона для получения мелкодисперсной замкнутой пористости материала рекомендуется выполнять по турбулентно-кавитационной технологии с использованием специального смесителя, снабженного лопастями минимального аэродинамического сопротивления.
5.22 Технология изготовления сплошных стяжек из пенобетона аналогична применяемой при изготовлении бетонного основания.
5.23 Стяжки из саморазравнивающихся гипсовых, цементных и полимерных композиций реко-мендуетсялрименять при повышенных требованиях по ровности или при ограничении по толщине или массе выравнивающего слоя. Толщина саморазравнивающихся стяжек определяется неровностью нижележащего элемента, но не может быть менее 2 мм.
5.24 Для саморазравнивающихся гипсовых и цементных стяжек рекомендуется применять сухие смеси заводского изготовления. Текучесть саморазравнивающихся композиций после затворения водой должна соответствовать 240 - 270 мм по вискозиметру Суттарда.
5.25 Выбор саморазравнивающейся композиции необходимо осуществлять с учётом типа подстилающего слоя, необходимой толщины стяжки и её прочностных характеристик, условий эксплуатации полов, а также рекомендаций, приведённых в таблице 5.4.
5.26 Устройство саморазравнивающихся стяжек следует выполнять при температуре воздуха в помещении 15 - 30 °С.
5.27 Перед нанесением саморазравнивающихся стяжек поверхность бетонных оснований и плит перекрытий следует очистить от цементного молока, обеспылить, затирку удалить. Стальные основания очистить от ржавчины и окалины пескоструйной или дробеструйной обработкой и обезжирить.
5.28 В целях предотвращения интенсивного отсоса воды из составов нижерасположенным слоем и обеспечения требуемой адгезии с ним поверхность этого слоя рекомендуется загрунтовать грунтовками, соответствующими по химической природе саморазравнивающимся композициям. При выборе грунтовок следует руководствоваться рекомендациями, приведёнными в таблице 5.4.
5.29 Изготовление гипсовых саморазравнивающихся стяжек осуществляется, как правило, в один слой. Для ускорения растекаемости рекомендуется использовать зубчатый шпатель.
5.30 Во избежание увлажнения и растрескивания стяжек из поризованного цементно-песчаного раствора, пенобетона и гипсовых составов места примыкания их к стенам и перегородкам следует изолировать рулонными гидроизоляционными материалами либо уложить по периметру помещения вдоль стен пенополиуретановый шнур.
|
Марка самовыравни- |
Тип вяжущего |
Предел прочности при сжатии после 28 суток воздушной выдержки, МПа |
Рекомен -дуемая толщи- на слоя, мм |
Тип подстилающего слоя |
||||
|
Бетонный |
Стальной |
Тепло- |
||||||
|
Условия эксплуатации помещения |
||||||||
|
Отапливаемое |
He отапливаемое |
Отапливаемое |
He отапливаемое |
Отапливаемое |
||||
|
UZIN NC-145 |
минеральное |
20 |
1-5 |
+ |
|
|
|
|
|
UZIN PE-360 |
||||||||
|
UZIN NC-1501 |
минеральное |
27 |
до 10 |
+ |
|
|
|
|
|
|
|
|
UZIN PE-360 |
|
|
|
|
|
|
UZIN NC-1601 |
минеральное |
35 |
до 10 |
+ |
|
|
|
|
|
|
|
|
UZINPE-360 |
|
|
|
|
|
|
UZIN NC-1701 |
минеральное |
40 |
До 104 |
+ |
|
+5 |
|
+ |
|
|
|
|
UZIN PE-360 |
|
эпок. грунтовка UZIN PE-440 |
|
UZIN Flisengrund |
|
|
UZIN NC-1721,2 |
минеральное |
45 |
До 104 |
+ |
|
+5 |
|
+ |
|
|
|
|
UZIN PE-360 |
|
эпок. грунтовка UZIN PE-440 |
|
UZIN Flisengrund |
|
|
UZIN NC-174 |
минеральное |
35 |
3-20 |
+ |
|
|
|
|
|
|
|
|
UZIN PE-360 |
|
|
|
|
|
|
UZINNC-1753 |
минеральное |
35 |
3-20 |
|
|
|
|
+ |
|
|
|
|
|
|
|
|
UZIN Flisengrund |
|
|
UZINNC-1951 |
минеральное |
35 |
3-40 |
+ |
|
|
|
|
|
|
|
|
UZIN PE-360 |
|
|
|
|
|
|
UZIN NC-395 |
минеральное |
35 |
3-40 |
|
+ |
|
|
|
|
|
|
|
|
UZIN PE-360 |
|
|
|
|
|
UZINKR-410 |
полимерное 2-х компонентное |
60 |
любая |
|
|
|
+ |
|
|
|
|
|
|
|
|
UZIN Systemharz + SpezialfdllerES |
|
|
числитель -
самовыравнивающееся композиция применяется, знаменатель – рекомендуемая
грунтовка
1 - самовыравнивающиеся композиции, характеризующиеся пониженным выделением токсичных веществ в процессе производства работ по изготовлению стяжки и рекомендуемые к применению в эксплуатаруемых зданиях. В качестве грунтовки следует применять UZIN РЕ-260.
2 - быстросхватывающаяся композиция - выполнение покрытия возможно через 4 часа после изготовления стяжки
3 - композиция армирована фиброволокном , характеризуется повышенным пределом прочности при изгибе и рекомендуется к нанесению на подстилающие слои с пониженной упругостью
4 - при дополнительном введении в композицию 30% песка толщина слоя не ограничена
5 - при добавлении в самовыравнивающиеся композиции жидкой пластифицирующей добавки UZIN PE-520 в количестве 1,5 кг на 25 кг сухой смеси
5.31 Сборные стяжки, применяемые при необходимости сократить сроки строительно-монтажных работ или желательности отказа от выполнения «мокрых» процессов, рекомендуется выполнять из гипсоволокнистых листов влагостойких марки ГВЛВ (ГОСТ Р 51829-2001) или из готовых элементов, выполненных из двух гипсоволокнистых листов размером 1500×1500×10 мм, склеенных между собой в заводских условиях со смещением относительно друг друга на 50 мм (ТУ 5742-007-03515377-97). Возможно также изготовление сборных стяжек из листов водостойкой фанеры и древесноволокнистых плит.
5.32 При отсутствии требований к полам по показателям тепло- и звукоизоляции сборные стяжки могут укладываться непосредственно по подстилающему слою или плите перекрытия. При необходимости выравнивания поверхности подстилающего слоя или перекрытия по ним следует предусматривать прослойку толщиной 15 - 20 мм из средне - или крупнозернистого песка в воздушно-сухом состоянии.
5.33 Для устройства слоя тепло - и звукоизоляции под сборные стяжки рекомендуется применять пенополистирольные плиты плотностью 17 кг/м3 (ГОСТ 15588-86) или керамзитовый песок (ГОСТ 9757-90). Необходимая толщина слоя тепло-звукоизоляции устанавливается для каждого конкретного случая расчётом по СНиП 23-03-2003.
5.34 В случаях возможного увлажнения покрытий снизу следует под тепло - и звукоизоляционным слоем на выравнивающую стяжку или плиту перекрытия в качестве пароизоляции уложить полиэтиленовую плёнку или выполнить лакокрасочный слой эпоксидным компаундом марки UZIN-РЕ 460.
5.35 Керамзитовый песок рассыпают слоями с разравниванием рейкой по выставленным с помощью уровня профилям, начиная от стены, противоположной входу, и последующим уплотнением, а пенополистирольные плиты устанавливают насухо с обеспечением надёжного примыкания к основанию и плотности стыков между плитами.
5.36 Рекомендуемые схемы раскладки готовых элементов сборной стяжки в зависимости от материала теплозвукоизоляционного слоя приведены на рис. 1.
5.37 При устройстве сборных стяжек непосредственно по железобетонным перекрытиям до начала производства работ монтажные отверстия в перекрытиях, зазоры между плитами, места примыканий перекрытий к стенам, перегородкам, трубам должны быть тщательно заделаны цементно-песчаным раствором марки не ниже M100.
5.38 При наличии под сборной стяжкой труб и использовании для изготовления тепло- и звукоизоляционного слоя пенополистирольных плит трубы следует обернуть минераловатными матами.
5.39 При укладке готовых элементов сборной стяжки из гипсоволокнистых листов места сопряжения со стеной фальц крайнего элемента стяжки обрезают. Для обеспечения смещения торцевых стыков между элементами сборной стяжки в смежных рядах и исключения отходов каждый новый ряд начинают с укладки отрезанной по месту части последнего элемента предыдущего ряда. При укладке элементов сборной стяжки по полистирольным плитам не допускается совпадение стыков её элементов со стыками пенополистирольных плит. Между сборной стяжкой и стенами следует предусматривать зазор, равный 10 - 20 мм, заполняемый звукоизоляционной прокладкой из мягкой древесноволокнистой плиты либо кромочной лентой.
5.40 На фальцы уложенных элементов сборной стяжки из гипсоволокнистых листов сплошным слоем наносят дисперсию ПВА (ТУ 2241-027-00203521-96) или клеющую мастику и накрывают последующим элементом. В процессе монтажа скрепление фальцев производят шурупами длиной не менее 19 мм, располагаемыми с шагом не более 300 мм. Выступающий из стыков клей удаляют шпателем.
5.41 При толщине засыпного теплозвукоизоляционного слоя более 100 мм под стяжку из готовых элементов подкладывают дополнительный слой крупноформатных гипсоволокнистых листов.
5.42 В смежных помещениях рекомендуется сквозная укладка элементов сборной стяжки. В противном случае при образовании прямого стыка с обрезанными фальцами (например, в дверном проёме) под стык подкладывают опору из доски или ДСП шириной не менее 100 мм. Края элементов стяжки закрепляют на такой подложке шурупами.

Рис. 1 Схема раскладки сборной стяжки из ГВЛВ на слой теплозвукоизоляции из керамзитового песка (а) или пенополистирола (б)
5.43 При устройстве на объекте сборной стяжки из отдельных гипсоволокнистых листов выполняют:
раскрой и заготовку листов по размерам помещений;
укладку первого слоя листов с зазором в стыках не более 1 мм; нанесение клея сплошным слоем производят последовательно под каждый лист второго слоя;
укладку листов второго слоя с минимальным зазором и перекрытием стыков нижнего слоя не менее, чем на 250 мм; крепление каждого листа второго слоя 20-ю шурупами.
5.44 Стыки элементов сборной стяжки и места установки шурупов при нанесении по ней покрытий из линолеума, поливинилхлоридных плиток и текстильных ковров должны быть заделаны шпаклёвкой «Фугенфюллер ГВ» или «Унифлот», поставляемых предприятиями группы «КНАУФ», или шпаклёвки марки UZIN NC-180 или UZIN NC-182.
5.45 Работы по устройству сборных стяжек следует выполнять при температуре воздуха на уровне пола не ниже +10°С и относительной влажности воздуха не более 60 %.
5.46 Для крепления древесноволокнистых плит и фанеры рекомендуется применять клеи для паркета марок UZIN-MK 73 и UZIN-MK 80. Листы фанеры, кроме того, должны быть закреплены к основанию при помощи дюбелей.
5.47 Весовая влажность бетона междуэтажных перекрытий перед приклейкой древесноволокнистых плит и фанеры не должна превышать 4%, стяжек на основе цементного, полимерцементного и гипсового вяжущего - не более 5%.
5.48 При значительных неровностях подстилающего слоя возможно выполнение сборной стяжки из фанеры по регулируемым лагам со сквозными резьбовыми отверстиями (рис. 2).
5.49 Деревянные регулируемые лаги (ТУ 5361-001-42950773-99) имеют размеры 45×45×2000. 45×70×2000 и 45×120×2000 мм и поставляются в комплекте с дюбелями-стойками для регулирования уровня подъема лаг и дюбелями-гвоздями для крепления болтов-стоек к перекрытию.
5.50 Перед установкой в отверстия лаг ввинчиваются пластиковые болт-стойки, на которые опираются лаги (рис. 2а).
5.51 Лаги устанавливаются на перекрытии с шагом 375 мм, после чего через болты-стойки в перекрытии насверливаются отверстия (рис. 26, в).
5.52 В болт-стойку помещают дюбель-гвоздь, который на неполную глубину забивают с помощью дробника в отверстие, выполненное в перекрытии (рис. 2г, д).
5.53 С помощью завинчивающего инструмента регулируют необходимое положение лаг по уровню (рис. 2е) и окончательно закрепляют лаги к перекрытию с помощью дюбель-гвоздя, после чего выступающие части болтов-стоек срезают с помощью стамески (рис. 2ж).
5.54 На установленные таким образом лаги укладывают сборную стяжку из двух слоев фанеры толщиной по 10 мм, закрепляя их с шагом 150 мм саморезами. При этом второй лист фанеры должен перекрывать стыки нижнего слоя (рис. 2з).
5.55 Устройство покрытий по сборным стяжкам возможно через сутки после их изготовления. Монолитные стяжки на основе гидратирующихся вяжущих (гипсовые, цементно-песчаные и цементно-бетонные) требуют выдержки до достижения нормативной влажности (чаще всего воздушно сухого состояния). Срок выдержки у стяжек на основе гипса, как правило, составляет 3-5 суток, у цементно-песчаных и цементно-бетонных стяжек с учётом необходимости их увлажнения в первые 7-10 суток после изготовления с целью предотвращения растрескивания стяжек - 3-4 недели. На стяжки из цементно-песчаных растворов и бетонов на основе быстросхватывающегося цемента, не требующих выдержки во влажных условиях, покрытия, как правило, могут наноситься через 7 суток после изготовления стяжек.
6.1 При проектировании и устройстве теплозвукоизоляционного слоя должны соблюдаться технические требования, изложенные в Разделе I.
6.2 Тепло- и звукоизоляционный слой следует располагать:

Рис. 2 Последовательность операций при установке регулируемых лаг и закрепления к ним сборной стяжки
а), для снижения показателя теплоусвоения пола и (или) повышения звукоизолирующих характеристик - непосредственно под покрытием пола, применяя для изготовления листы водостойкой фанеры, древесноволокнистые плиты плотностью до 250 кг/м3 или рулонный материал из пробко-резинового гранулята марки UZIN RR-188 или UZIN RR-189 Plus, снижающий индекс приведённого уровня ударного шума при толщине h= 3 мм, h=4 мм и h=6 мм соответственно на 10 Дб, 15 Дб и 20 Дб;
б), для теплоизоляции полов на перекрытиях, расположенных над арками, не отапливаемыми помещениями или подвалами и (или) повышения звукоизолирующих характеристик - под стяжкой, применяя минераловатные плиты и стекловолокнистые плиты на синтетической связке плотностью до 150 кг/м3, минераловатные маты плотностью до 150 кг/м3, пенополистирольные плиты плотностью 25-50 кг/м3, керамзитовый и кварцевый песок, древесноволокнистые плиты плотностью до 250 кг/м3, а также прессованные плиты на основе синтетических волокон, связанных полимерной смолой, марок UZIN Multimoll Top4, UZIN Multimoll Top9, UZIN Multimoll Top15 и UZIN Multimoll Protect;
в), для снижения потерь тепла при обогреве нижележащего помещения в обогреваемых полах - непосредственно под стяжкой с водо- и электронагревающими элементами, применяя прессованные плиты марок UZIN Multimoll Top4, UZIN Multimoll Top9, UZIN Multimoll Top15.
6.3 Тепло - и звукоизоляционные слои следует выполнять по выровненному основанию. При этом высушенный кварцевый и керамзитовый песок рассыпают слоями с последующим разравниванием по рейкам и уплотнением. Плиты и маты укладывают насухо с обеспечением плотности стыков между плитами и перекрытием их смежными матами.
6.4 При укладке плит в несколько слоев не допускается совпадение стыков плит в соседних рядах.
6.5 Для крепления рулонного материала на основе пробко-резинового гранулята марок UZIN-RR 188 или UZIN-RR 189 к основанию следует применять полимерный клей марки UZIN KE- 2000S.
7.1 При проектировании и устройстве гидроизоляции должны соблюдаться технические требования, изложенные в Разделе I.
7.2 Гидроизоляцию от сточных вод и других жидкостей следует предусматривать по подстилающему слою, перекрытию или стяжке, выполненной по перекрытию или подстилающему слою. Гидроизоляцию от капиллярного поднятия грунтовых вод следует выполнять по уплотнённому грунту или монолитной стяжке (табл.7.1).
7.3 Для защиты от проникания сточных вод и нейтральных жидкостей рекомендуется применять оклеенную гидроизоляцию из битумных или битумно-полимерных материалов, наклеиваемых на цементно-песчаную стяжку или бетонный подстилающий слой методом подплавления (для наплавляемых рулонных материалов) или наклейкой на битумно-полимерных мастиках, а также эластомерные плёнки, наклеиваемые на полимерных мастиках.
7.4 Для защиты от воздействия химически агрессивных жидкостей оклеенная гидроизоляция должна выполняться из рулонных материалов и клеевых мастик, обладающих химической стойкостью к конкретной агрессивной среде. В качестве таких материалов рекомендуется применять пластины полиизобутиленовые марки ПСГ (ТУ 38-105203-87), наклеиваемые на клее 88-НП (ТУ 38-105540-85) и лакокрасочные покрытия на основе эпоксидной шпаклёвки ЭП-0010 (ГОСТ 28379-89) или эпоксидного и полиуретанового состава марок UZIN-Epoxidicht и UZIN-Epoxiflex Plus, армированные стеклотканью.
7.5 При средней интенсивности воздействия жидкости на пол оклеечную гидроизоляцию из битумных и битумно-полимерных материалов следует выполнять в 2 слоя, а из эластомерных плёнок - в 1 слой.
7.6 При большой интенсивности воздействия жидкости на пол, а также под сточными лотками, каналами, трапами и в радиусе 1 м от них число слоев гидроизоляции следует увеличить вдвое.
7.7 При воздействии на пол веществ животного происхождения и других биологически активных средств оклеечную гидроизоляцию следует выполнять из рулонных битумных и битумно-полимерных материалов с не гниющей основой (стеклянной, полимерной) или из эластомерных плёнок.
|
Тип гидроизоляции |
Количество слоев |
Схема |
Слои пола |
|
Гидроизоляция от сточных вод и других жидкостей Оклеечная из битумных или битумно-полимерных материалов |
|
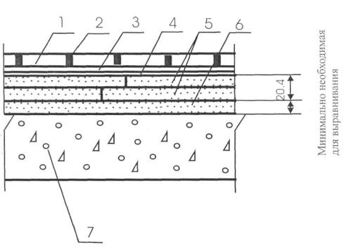
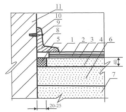
|
1-покрытие; 2-прослойка; 3-гидроизоляция; 4-стяжка; 6-подстилающий слой; 8-грунтовое основание (уплотнённое) |
|
Оклеечная из эластомерных плёнок |
|
|
|
|
Гидроизоляция от капиллярного поднятия грунтовых вод Наливная из щебня или гравия, пролитых битумом |
|
|
|
|
Асфальтовая из асфальтобетона |
|
|
|
|
Оклеечная из битумных или битумно-по-лимерных материалов |
|
|
7.8 При средней и большой интенсивности воздействия на пол минеральных масел, эмульсий из них, органических растворителей следует применять гидроизоляцию из эластомерных плёнок.
7.9 При средней и большой интенсивности воздействия на пол растворов серной, соляной, азотной, уксусной, фосфорной, хлорноватистой и хромовой кислот кроме гидроизоляции под покрытием пола следует предусматривать наливную или асфальтовую гидроизоляцию под подстилающим слоем.
7.10 При расположении бетонного подстилающего слоя ниже уровня отмостки здания в помещениях, где отсутствуют какие-либо воздействия на пол сточных жидкостей и нет вероятности опасного капиллярного поднятия грунтовых вод оклеенную гидроизоляцию рекомендуется применять в случаях:
устройства заглублённых стен подвальных помещений, в которых располагается подсобное оборудование (насосы для подкачки воды, компрессорные и холодильные установки, системы кондиционирования воздуха и пр.);
вероятного во время эксплуатации здания постепенного поднятия общего уровня грунтовых вод на застраиваемой территории, при заключении в трубы протекающих по данной территории малых рек и т.п.
7.11 Перед выполнением работ по устройству оклеенной гидроизоляции раскатанные полотнища рулонных материалов следует выдержать в течение 24 часов при температуре не ниже +15°С с целью ликвидации волн и прочих неровностей.
7.12 При устройстве оклеенной гидроизоляции следует обеспечить продольную и поперечную нахлестку полотнищ не менее 85 мм.
7.13 Поверхность битуминозной гидроизоляции перед устройством по ней покрытий, прослоек или стяжек, в состав которых входят цемент или жидкое стекло, следует предварительно покрыть горячей битумной мастикой с втапливанием в неё сухого крупнозернистого песка.
7.14 Мастику следует наносить слоем толщиной 1 - 1,5 мм на чистую и сухую поверхность гидроизоляции. Песок необходимо рассыпать по горячей мастике равномерным слоем без пропусков и скоплений и прокатать ручным катком. Излишки песка после остывания мастики следует удалить.
7.15 При устройстве химически стойких непроницаемых гидроизоляционных слоев из полиизо-бутиленовых пластин марки ПСГ и лакокрасочных слоев из шпаклёвки ЭП-0010 или эпоксидного и полиуретанового состава марок UZIN-Epoxidicht и UZIN-Epoxiflex Plus, армированных стеклотканью, следует руководствоваться рекомендациями ВСН 214-89 «Сборник инструкций по защите от коррозии».
7.16 При выполнении наливной битумной гидроизоляции от капиллярного поднятия грунтовых вод слой щебня рекомендуется пропитывать горячим битумом, наносимым при помощи автогудронатора слоем толщиной до 6 мм. При необходимости пропитки в несколько слоев по слою битума следует рассыпать каменную мелочь с последующим уплотнением её катком, барабан которого смачивают растворителем, а затем наносят следующий слой горячего битума, по которому рассыпают каменную мелочь или песок фракции до 5 мм.
7.17 Асфальтовую гидроизоляцию следует выполнять из горячих мастик и литых асфальтовых смесей по подготовленному основанию ярусами толщиной 15 - 25 мм, нанося смесь равномерным сплошным слоем.
7.18 При выполнении работ по устройству асфальтовой гидроизоляции необходимо каждый слой разравнивать и уплотнять обогреваемыми катками или гладилками после остывания предыдущего.
7.19 Для обеспечения требуемого качества гидроизоляции из литого асфальтобетона сопряжение ярусов и захваток следует выполнять внахлестку шириной не менее 20 см, а стыки верхних слоев располагать вразбежку со стыками нижних слоев.
7.20 Асфальтовую гидроизоляцию из холодных мастик следует выполнять но подготовленному огрунтованному основанию, начиная от стен или перегородок, полосами в 1 - 2 слоя толщиной 3 - 5 мм. При этом каждый последующий слой наносят после отвердения предыдущего, а сопряжение ярусов и захваток в каждом слое выполняют внахлестку шириной не менее 200 мм.
8.1.1 При проектировании и устройстве покрытий полов должны соблюдаться технические требования, изложенные в Разделе I.
8.1.2 Тип покрытия пола следует принимать в зависимости от функционального назначения помещения с учётом вида и интенсивности механических, жидкостных и тепловых воздействий, а также специальных требований.
8.1.3 В помещениях, классифицируемых по классам чистоты, полы должны быть беспыльными, отвечающими требованиям, предъявляемым классами беспыльности помещений. Истираемость покрытия пола не должна превышать для монолитных покрытий полов в помещениях класса беспыльности 100 - 0,06 гр/см2, класса 1000 - 0,09 гр/см2 и класса 10000 - 0,12 гр/см2, а для покрытий полов из линолеума- 50 мкм, 90 мкм и 100 мкм соответственно.
В помещениях класса беспыльности 100 покрытия полов должны быть антистатическими, удельное электрическое сопротивление которых должно быть в пределах 1·106 - 1·109 Ом. Кромки стыкуемых полотнищ линолеума в помещениях классов 100 и 1000 должны быть сварены.
8.1.4 Полы должны характеризоваться устойчивостью к деформациям под действием сосредоточенных и распределённых нагрузок - не обладать «зыбкостью», в том числе и при движении людей.
8.1.5 При стыковке разнородных покрытий рекомендуется установка медных, алюминиевых или стальных защитных элементов, защищающих края этих покрытий от механических повреждений, от попадания воды в шов и отклеивания. Для паркетных и плиточных покрытий полов защитные элементы, кроме того, позволяют компенсировать линейные деформации этих покрытий при изменении температуры и влажности.
8.2.1 Покрытия полов из паркета рекомендуется применять в жилых домах, в общественных, спортивных и административных зданиях, а также в ряде специальных помещений общественных зданий, больниц и поликлиник с учётом допустимых эксплуатационных воздействий, приведённых в табл. 1, 2, 3 Приложения 1.
8.2.2 Покрытия, выполненные из паркета, являются «тёплыми» и характеризуются показателем усвоения при укладке на плотный бетон, равным 12 Вт/(м2·К).
8.2.3 Для покрытий из паркета применяются штучный, наборный и готовый паркет, а также паркетная и массивная доска.
8.2.4 Штучный и наборный паркет, применяемый в жилых домах и в общественных и административных зданиях, должен удовлетворять требованиям ГОСТ 862.1-85. Паркет из сосны и лиственницы допускается только в помещениях, в которых полы не подвержены интенсивному износу. Покрытия полов должны выполняться только из одной породы древесины и одного рисунка; применение паркета различного цвета и размера допускается только для создания специального рисунка.
8.2.5 Для штучного паркета в обогреваемых полах рекомендуется выбирать такие породы дерева, как дуб, тик, мербау, не рекомендуется бук, черная вишня, канадский клен. Ширина планок должна быть не более 70 мм.
8.2.6 Рекомендуется применять паркетные планки толщиной не менее 10 мм, при этом их ширина во избежание возможного поперечного коробления не должна превышать пяти толщин. Влажность паркета при укладке не должна превышать 10%.
8.2.7 Для полов в спортивных залах для бадминтона, баскетбола, гандбола и футбола применяется специальный штучный паркет (Tarket Helze/Erable), выпускаемый по технической документации заводов-изготовителей и характеризующийся повышенной длиной и наличием пазов и гребней как на боковых, так и торцевых кромках.
8.2.8 Готовый паркет - штучный паркет с многослойными (2-3-х слойными) планками и отшлифованной и покрытой лаком в заводских условиях лицевой поверхностью. Выпускается по технической документации заводов-изготовителей и характеризуется пониженным расходом древесины уникальных пород (нижележащие слои изготавливаются из менее ценных пород) и пониженной склонностью к короблению при изменении влажности.
8.2.9 Паркетные доски (ГОСТ 862.3-86) представляют собой клееные реечные изделия с пазами и гребнями на боковых и торцевых кромках, выполненные из древесины хвойных пород, берёзы или осины с наклеенными на них планками покрытия квадратной или прямоугольной формы (из тех же пород древесины, что и штучный паркет) толщиной не менее 4 мм. В основании досок по всей длине предусмотрены компенсационные продольные пропилы, препятствующие их короблению при периодических изменениях влажности. Доски подразделяются на два типа: П1 - укладываемые по лагам (толщина 25 мм) и П2- укладываемое на сплошное основание (толщина 18 мм).
8.2.10 Массивная доска - крупноформатная доска (длина от 600 до 1800 мм, ширина от 85 до 180 мм, толщина 20 мм) с пазами и гребнями на боковых и торцевых кромках из цельной не клеенной древесины ценных пород. Выпускается по технической документации заводов-изготовителей и применяется в помещениях с повышенными требованиями по эстетике.
8.2.11 Покрытия из паркета могут быть выполнены непосредственно по бетонному основанию или железобетонному перекрытию (при ровной поверхности), по выравнивающей цементно-песчаной, гипсовой или лёгкобетоной стяжке, сплошному деревянному основанию или по сборной стяжке из спаренных гипсоволокнистых листов, укладываемым по лагам или выравнивающему слою из крупно- или среднезернистого прокаленного кварцевого песка (см. Тип. 1 - Тип. 27).
8.2.12 Покрытия из готового паркета и из паркетной доски, предъявляющие повышенные требования к ровности подстилающих слоев, следует выполнять по стяжкам из полимерцементных саморазравнивающихся композиций - нивелирмасс марок Uzin NC-145, Uzin NC-150 или Uzin NC-160.
8.2.13 Весовая влажность бетона междуэтажных перекрытий перед укладкой паркета не должна превышать 4%, стяжек на основе цементного, полимерцементного и гипсового вяжущего - не более 5%, стяжек из древесноволокнистых плит - 12%.
применение под монолитными или сборными стяжками тепло- и звукоизоляционного слоя из минераловатных плит или стекловолокнистых плит на синтетической связке плотностью до 150 кг/м3, минераловатных матов плотностью до 150 кг/м3, пенополистирольных плит плотностью 25-50 кг/м3, керамзитового или кварцевого песка, а также прессованных плит на основе синтетических волокон, связанных полимерной смолой, марок UZIN Multimoll Top4, UZIN Multimoll Top9, UZIN Multimoll Top 15.
использование между монолитными или сборными стяжками и паркетным покрытием промежуточного слоя из плит пробко-резинового гранулята марок UZIN-RR 188 или UZIN-RR 189 или из древесноволокнистых плит плотностью 800 - 850 кг/м3 и листов водостойкой фанеры размером 750×750 мм толщиной 10 - 18 мм, укладываемых в разбежку с зазором 3 - 5 мм.
8.2.15 При укладке паркета на сборные стяжки из плит ГВЛВ фирмы "Кнауф" для снижения напряжений между паркетом и основанием и исключения возможности коробления паркета при изменении влажности воздуха между паркетом и основанием рекомендуется расположить разделительный слой толщиной 1 мм из рулонного материала на основе полиэстерного волокна марки UZIN Multimoll Vlies.
8.2.16 При устройстве покрытия пола из паркетной доски плавающим способом с целью предотвращения скрипа при ходьбе её укладывают на амортизирующую подложку, в качестве которой рекомендуется использовать гофрированный картон или вспененный полиэтилен, а также пенопласт толщиной 2 - 3 мм. Для полов с повышенными требованиями к звукоизоляции в качестве амортизирующей подложки рекомендуется применять пробко-резиновый рулонный материал марки UZIN-RR 188 или UZIN-RR 189 Plus.
8.2.17 Наборный паркет с паркетными планками из древесины различных пород (паркетный ковёр) и массивные доски укладываются, как правило, по прослойке из фанеры, поскольку технология изготовления данных покрытий предусматривает крепление планок и досок не только клеями, но и гвоздиками (паркетный ковёр) или саморезами (массивные доски). Гвозди следует забивать в пласт плашек наклонно с втапливанием шляпок. Саморезы устанавливаются также наклонно в основание гребней досок.
8.2.18 Паркетные планки и доски следует приклеивать к основаниям быстротвердеющими мастиками на водостойких вяжущих, применяемых в холодном состоянии. В качестве их рекомендуются водо-дисперсионные клеи марок UZIN МК-80 и UZIN MK-80S, полимерные клеи с органическими растворителями марок UZIN МК-73 и UZIN MK-77, однокомпонентный полиуретановый клей марки UZIN МК-97 и двухкомпонентный полиуретановый клей марки UZIN MK-92S. На водо-дисперсионные клеи рекомендуется укладывать штучный паркет из обычных пород дерева, на клеях на органических растворителях - паркет из сильно впитывающих пород дерева (бук), а на 2-х компонентных клеях - паркет из экзотических пород дерева. При выборе клея следует руководствоваться рекомендациями табл. 8.2.1.
|
Порода дерева |
клей UZIN |
Укладка штучного паркета |
|||||
|
Вид паркета |
На стяжку |
На фанеру |
|||||
|
Штучный |
готовый |
паркетная доска |
массивная доска |
грунтовка |
клей |
||
|
Бук |
МК-73 |
МК-73 |
МК-73 |
MK-92S |
РЕ-317 |
МК-73 |
МК-73 |
|
Вишня |
МК-73 |
МК-73 |
МК-73 |
MK-92S |
РЕ-317 |
МК-73 |
МК-73 |
|
Граб |
МК-73 |
МК-73 |
МК-73 |
MK-92S |
РЕ-317 |
МК-73 |
МК-73 |
|
Груша |
МК-73 |
МК-73 |
МК-73 |
MK-92S |
РЕ-317 |
МК-73 |
МК-73 |
|
Дуб |
МК-73 |
МК-73 |
МК-73 |
MK-92S |
РЕ-317 |
МК-73 |
MK-80S МК-80 |
|
Каштан (благородный) |
МК-73 |
МК-73 |
МК-73 |
MK-92S |
РЕ-317 |
МК-73 |
MK-80S МК-80 |
|
Клён |
МК-73 |
МК-73 |
МК-73 |
МК-92 S |
РЕ-317 |
МК-73 |
MK-80S МК-80 |
|
Мербау |
МК-73 |
МК-73 |
МК-73 |
MK-92S |
РЕ-317 |
МК-73 |
МК-73 |
|
Ольха |
МК-73 |
МК-73 |
МК-73 |
MK-92S |
РЕ-317 |
МК-73 |
MK-80S МК-80 |
|
Орех |
МК-73 |
МК-73 |
МК-73 |
MK-92S |
РЕ-317 |
МК-73 |
MK-80S МК-80 |
|
Тик |
МК-73 |
МК-73 |
МК-73 |
MK-92S |
РЕ-317 |
МК-73 |
МК-73 |
|
Ясень |
МК-73 |
МК-73 |
МК-73 |
MK-92S |
РЕ-317 |
МК-73 |
MK-80S |
|
|
MK-92S МК-97 |
МК-73 |
МК-73 |
MK-92S |
РЕ-420 |
MK-92S МК-97 |
MK-92S МК-97 |
|
|
MK-92S МК-97 |
МК-73 |
МК-73 |
MK-92S |
РЕ-420 |
MK-92S МК-97 |
MK-92S МК-97 |
|
Оливковое дерево |
MK-92S |
МК-73 |
MK-92S |
MK-92S |
РЕ-460 |
MK-92S |
MK-92S |
|
Афроморзия |
MK-92S МК-97 |
МК-73 |
МК-73 |
MK-92S |
РЕ-420 |
MK-92S МК-97 |
MK-92S МК-97 |
8.2.19 Не рекомендуется применение клея UZIN-MK 73 для укладки экзотических пород дерева фруктовые породы дерева рассматриваются как экзотические) и для пород, свойства которых не известны, а также для планок толщиной меньше 10 мм.
8.2.20 При устройстве наборного паркета с паркетными планками из древесины различных пород (паркетных ковров) тип клея выбирается по самой «капризной» породе дерева, независимо от % этой породы в площади узора.
8.2.21 При укладке паркетных досок плавающим способом склеиваются только их стыки водо-дисперсионным прозрачным клеем UZIN MK-33, образующим при высыхании не видимый шов.
8.2.22 Для крепления древесноволокнистых плит, фанеры и рулонного материала на основе полиэстерного волокна марки UZIN Multimoll Vlies к основанию следует применять клеи для паркета - клеи марок UZIN МК-73 и UZIN МК-80. Листы фанеры, кроме того, должны быть закреплены при помощи дюбелей (крепление к цементно-песчаной стяжке) или саморезами (крепление к деревянным черным полам).
8.2.23 Работы по наклейке паркета следует выполнять при температуре воздуха в помещении не ниже 10°С и его влажности до 60%. Данный температурно-влажностный режим следует поддерживать и при эксплуатации покрытий.
8.2.24 Штучный и готовый паркет следует укладывать в соответствии с принятым рисунком: «в ёлку» с фризами по периметру помещения и без них; «квадратом» - прямым и развёрнутым диагонально; «прямой» - с расположением планок в одном направлении и стыковкой торцами и кромками. При этом следует иметь ввиду, что при рисунке «прямой» напряжения, возникающие в древесине планок при влагосменах, распространяются в одном направлении - поперёк планок, что может снизить эксплуатационную надёжность пола.
8.2.25 Паркет для покрытий полов в спортивных помещениях, а также паркетные и массивные доски укладываются по схеме «прямой» - с расположением планок в одном направлении и стыковкой торцами и кромками.
8.2.26 Перед укладкой паркета по цементно-песчаной стяжке или фанере их необходимо грунтовать под клей Uzin MK-73 грунтовкой Uzin PE-360, под клей Uzin MK-92 S грунтовкой Uzin PE-420 (2-х компонентной, эпоксидной). При укладке паркета на саморазравнивающиеся стяжки "UZIN" и на клея "UZIN" грунтовка не требуется, если поверхность не загрязнена и прошло не более 3-х недель со дня их укладки.
8.2.27 Работы по изготовлению покрытий полов из штучного и готового паркета рекомендуется начинать с укладки маячных рядов. В помещениях малого размера маячный ряд следует укладывать у стены, наиболее удалённой от входной двери. В больших помещениях два стыкуемых маячных ряда следует укладывать в середине и работы вести в двух направлениях.
8.2.28 Укладку паркетных и массивных досок следует начинать в направлении слева направо пазовой стороной к стене на расстоянии 8-10 мм от стены, наиболее удалённой от входа. При ширине помещения более 6 м в направлении ширины доски, зазор между стеной и доской следует увеличить на 1,5 мм на каждый дополнительный метр.
8.2.29 Последующие ряды следует укладывать таким образом, чтобы шаг стыков между торцами досок смежных рядов был не менее 30 см.
8.2.30 Паркетные планки укладывают вплотную к ранее уложенным, втапливают в клей и плотно соединяют в шпунт с помощью паркетного молотка. Толщина слоя мастики под паркетом должна быть не более 1 мм, зазоры между смежными планками - 0,3 мм; компенсационные швы между покрытием, и стенами, перекрываемые плинтусами, должны быть 10 - 15 мм.
8.2.31 Выступающие кромки паркета следует отциклевать вровень со смежными, а затем покрытие отшлифовать. Эти работы следует выполнять при наклейке паркета на водно-дисперсионных клеях – через 2 недели, на клеях с органическими растворителями - через 1 неделю, а на 2-х компонентных полимерных клеях - через 1-2 суток.
8.2.32 Зазоры между паркетным покрытием и стенами (перегородками) должны перекрываться после циклевки паркета плинтусами или галтелями, которые крепят гвоздями длиной 30-40 мм, диаметром 2,5 мм или шурупами длиной 25 мм, диаметром 3 мм либо только к стене (перегородке), либо только к полу. Поливинилхлоридные плинтусы приклеивают к стенам и перегородкам полимерными контактным (UZIN GN-276) или термоконтактным UZIN DK-290 Thermocoll) клеями.
8.2.33 Под плинтусы рекомендуется устанавливать упругие прокладки из полос линолеума на теплоизолирующей подоснове, которые следует укладывать между плинтусом и стеной, если плинтус крепится к полу, или между плинтусом и полом, если плинтус крепится к стене.
8.2.34 До начала работы по покрытию паркета лаком должна быть закончена отделка стен, потолка, и установлено навесное оборудование. При нанесении лаков не допускается больших количеств пыли, сквозняков, прямого попадания солнечных лучей на пол.
8.2.35 Лаковые системы покрытия паркета предполагают использование 4-х этапов работ: шпаклевка швов, нанесение грунтовки и не менее 2-х слоев лака в жилых помещениях или 3-х слоев в общественных и промышленных зданиях и покрытие лака защитным средством.
8.2.36 В зависимости от видов эксплуатационного воздействия, оптических свойств покрытия и пород древесины могут рекомендованы производимые немецкой фирмой UZIN лаковые отделочные системы: экологически чистые с высоким показателем на истирание, минимальным изменением цвета дерева при высокой эластичности и устойчивости к ультрафиолету, а также к воде (при применении средств по уходу) водные лаки UZIN MF-94 и UZIN MF-95 (для жилых зон), UZIN MF-96 и UZIN MF-97 (при высоких нагрузках), UZIN MF-98 и UZIN MF-99 (при очень высоких нагрузках); с высокой водо-химстойкостью, быстрым набором окончательной прочности, высокой поверхностной прочностью, возможностью работы в условиях высокой влажности воздуха полиуретановые лаки: UZIN MF-88 DD (при нормальных нагрузках), UZIN MF-86 DD (при интенсивных нагрузках); характеризующиеся высокой эластичностью, низкой истираемостью, возможностью создания поверхностей с коэффициентом трения 0,5 - 0,7 уретан-алкидные лаки: UZINMF-76 (при нормальных нагрузках), UZIN MF-77 Sport (для полов в спортзалах), UZIN MF-78 (при интенсивных нагрузках); отличающиеся быстрым высыханием (при температуре применения от +5 до +30 С) и простотой применения лаки на кислотных отвердителях: UZIN MF-68, а также экологически чистые масляно-восковые системы: UZIN MH-84 (искусственное масло) и UZIN MH-86 (натуральное масло), которые применимы при больших интенсивных нагрузках и всех видах паркета. При выборе лаковой системы следует руководствоваться рекомендациями табл. 8.2.2.
|
Свойства лаков |
Водные лаки |
DD-Полиуретановые лаки |
Уретан-алкидные лаки |
Лаки на кислотных отвердителях |
Масляно-восковые пропитки |
|
Истираемость |
5 |
4-5 |
2-3 |
4 |
Параметр не определяется |
|
Поверхностная твердость |
4 |
5 |
2 |
4-5 |
Параметр не определяется |
|
Экология |
5 |
4 |
3-4 |
2 |
5 |
|
Эластичность |
4-5 |
3-4 |
4-5 |
3-4 |
Параметр не определяется |
|
Устойчивость к ультрафиолету |
4-5 |
4-5 |
3-4 |
3 |
4-5 |
|
Устойчивость к воде |
3 |
4-5 |
3-4 |
4-5 |
3-4 |
|
Изменение цвета дерева (минимальное - 5) |
5 |
4-5 |
3-4 |
3-4 |
3 |
|
Требования к влажности воздуха |
3 |
4-5 |
4 |
5 |
4 |
|
Лёгкость нанесения |
3 |
3-4 |
4 |
5 |
4 |
|
Время высыхания после нанесения |
3-4 |
5 |
2 |
4-5 |
3-4 |
|
Набор прочности после нанесения |
4 |
5 |
2 |
4-5 |
3-4 |
|
Поднятие ворса дерева |
Есть |
Нет |
Нет |
Нет |
Нет |
|
Лёгкость при шлифовке |
2 |
3 |
4 |
3 |
Параметр не определяется |
|
Доступность по цене |
2 |
3 |
4 |
5 |
3-5 |
|
Устойчивость к химикалиям |
4 |
5 |
3 |
5 |
4 |
8.2.37 Шпаклёвки и грунтовки должны соответствовать по химической природе лаковым системам. При выборе шпаклёвок и грунтовок следует руководствоваться рекомендациями табл. 8.2.3.
8.2.38 Шпаклёвка швов осуществляется плоскими шпателями. Для придания шпаклёвочным композициям необходимой вязкости и тиксотропных свойств в них в качестве наполнителя вводится древесная мука, образующаяся при шлифовки паркета.
8.2.39 Перед нанесением грунтовок и лаковых композиций покрытие пола должно быть обеспылено
|
Породы дерева |
Лаковые системы |
||||
|
Водные лаки |
DD полиуретановые лаки |
Уретан-алкидные лаки |
Лаки на кислотной основе |
Масляно-восковые |
|
|
Шпаклёвки |
|||||
|
Все виды пород |
UZIN MG-3021 |
UZIN MG-305 |
UZIN MG-305 |
UZIN MG-305 |
UZIN MG-302 |
|
UZIN MG-3052 |
|
|
|
UZIN MG-305 |
|
|
Грунтовки |
|||||
|
Обычные породы дерева (дуб, ясень, орех и т.д.) |
UZINMG-3152 |
UZIN MG-337 DD2,3 |
UZIN MG- |
UZINMG-315 |
|
|
UZIN MG-3201 |
UZIN MG-315 |
337DD2,4 |
UZIN MG-365 |
|
|
|
|
|
UZINMG-315 |
UZIN MG-375 |
|
|
|
|
|
|
|
|
|
|
|
|
|
|
|
|
|
Сильно впитывающие породы дерева (бук, канадский клён, чёрная вишня и т.д.) |
UZINMG-315 UZINMG-3251 |
UZINMG-315 |
UZINMG-315 UZIN MG-3752,5 |
UZINMG-315 UZIN MG-365 UZIN MG-375 |
|
|
Экзотические породы дерева |
UZINMG-3211 UZIN MG-3 15 |
|
UZINMG-315 |
UZINMG-315 |
|
1 - водо-дисперсионная композиция
2 - полимерная композиция на органическом растворителе
3 - для светлых пород дерева
4 - в системах с лаком UZIN MF-78
5 - в системах с лаком UZIN MF-76 позволяет в 2 раза сократить время нанесения уретан-алкидных лаков
8.2.40 Грунтовки и лаковые композиции наносятся при помощи шпателя, валика или распылителя. Каждый последующий слой наносится после отверждения предыдущего.
8.2.41 Перед нанесением последнего слоя лака покрытие следует прошлифовать мелкозернистой наждачной шкуркой.
8.2.42 Средства по уходу за паркетом, наносимые как сразу же после нанесения лака, так и при регулярном уходе, создают защитную плёнку на поверхности лака, защищают от царапанья, воздействия воды, химикатов, грязи и придают поверхности пола антискользящие свойства.
8.2.43 Нанесение защитного средства на лаковое покрытие следует выполнять не ранее, чем через 24 часа после нанесения последнего слоя лака.
8.2.44 Средства по уходу за паркетом, пропитанным масляно-восковыми пропитками, улучшают внешний вид покрытия (создают блеск), придают поверхности грязеотталкивающие свойства, повышают стойкость к воздействию воды и химикатов.
8.2.45 Средства по уходу за готовым паркетом (покрытым лаком при изготовлении) защищают швы между плашками, в последующем применяют более «мягкие» средства для первичного и регулярного ухода, а также для чистки.
8.2.46 Сильные загрязнения, возникшие при эксплуатации паркета: следы от обуви, резины, продуктов и т.д., следует удалять с паркета, покрытого лаком или маслом, при помощи специальных средств для очистки от сильных загрязнений - UZIN MR-230, UZIN MR-250 или UZIN MR-270.
8.2.47 При выборе средств по уходу за паркетом и очистителей от сильных загрязнений, их расходов и периодичности обработки следует руководствоваться рекомендациями табл. 8.2.4.
|
Технологический приём |
Средства по уходу и очистке |
Умеренно нагружаемые полы: жилые помещения, спальни, офисы |
Средне нагружаемые полы: коридоры, офисы с постоянным движением людей |
Особо сильно нагружаемые полы: склады, магазины, казармы |
|||
|
Срок |
Расход |
Срок |
Расход |
Срок |
Расход |
||
|
Штучный паркет, покрытый лаком |
|||||||
|
Первичный уход |
UZIN MR-100 |
после нанесения лака |
100-250 мл/10л1 |
после нанесения лака |
100-250 мл/10л |
после нанесения лака |
100-250мл/10л |
|
UZIN MR-170 |
-«- |
20-50мл/м2 |
-«- |
20-50мл/м2 |
-«- |
20-50мл/м2 |
|
|
UZIN MR-1712 |
-«- |
20-50мл/м2 |
-«- |
20-50мл/м2 |
-«- |
20-50мл/м2 |
|
|
Регулярный уход |
UZIN MR-100 |
1 р/ месяц |
100-250 мл/10л |
1-2р/неделя |
100-250 мл/10л |
2-3р/неделя |
100-250 мл/10л |
|
UZIN MR-170 |
1 р/месяц |
200-500 мл/10л |
1-2р/неделя |
200-500 мл/10л |
2-3р/неделя |
200-500 мл/10л |
|
|
UZIN MR-171 |
1р/месяц |
200-500 мл/10л |
1-2р/неделя |
200-500 мл/10л |
2-3р/неделя |
200-500 мл/10л |
|
|
UZIN MR-380 |
1р/месяц |
20-35 мл/м2 |
2-4/месяц |
20-35 мл/м2 |
2р/неделя |
20-35 мл/м2 |
|
|
Очистка от загрязнений |
UZIN MR-270 |
1 р/2 года |
100-120 мл/м2 |
1 р/ год |
100-120 мл/м2 |
2р/ год |
100-120мл/м2 |
|
Штучный паркет, пропитанный маслом |
|||||||
|
Регулярный уход |
UZIN MR-150 |
1 р/месяц |
250мл/10л |
1р/неделя |
250мл/10л |
3-4р/неделя |
250мл/10л |
|
UZIN MR-380 |
1 р/месяц |
20-35 мл/м2 |
2-4р/месяц |
20-35 мл/м2 |
2р/неделя |
20-35 мл/м2 |
|
|
Очистка от загрязнений |
UZIN MR-250 |
1 р/год |
1л/10л |
1 р/год |
1л/10л |
1 р/год |
1л/10л |
|
Уход после Очистки |
UZIN MR-250 |
1 р/год |
5-10 мл/м2 |
1 р/год |
5-10 мл/м2 |
2-4р/год |
5-10 мл/м |
|
Готовый паркет |
|||||||
|
Защита швов |
UZIN MR-530 |
После укладки |
20-35 мл/м2 |
после укладки |
20-35 мл/ м2 |
После укладки |
20-35 мл/ м2 |
|
Регулярный уход |
UZIN MR-100 |
1 р/месяц |
100-250 мл/10л |
1-2р/неделя |
100-250 мл/10л |
2-3р/неделя |
100-250 мл/10л |
|
UZIN MR-130 |
1 р/месяц |
200-500 мл/10л |
1-2р/неделя |
200-500 мл/10л |
2-3р/неделя |
200-500 мл/10л |
|
|
UZIN MR-380 |
1 р/месяц |
20-35 мл/м2 |
2-4 р/месяц |
20-35 мл/м2 |
2р/неделя |
20-35 мл/м2 |
|
|
Очистка от загрязнений |
UZIN MR-230 |
1 р/2 года |
100-120 мл/м2 |
Iр/год |
100-120 мл/м2 |
2р/ год |
100-120 мл/м2 |
1 - 100-250 мл средства для ухода добавить в 10 л воды
2 - повышение коэффициента трения при использовании средства по уходу не менее чем на 0,2
8.2.48 Паркет, покрытый лаком, можно начинать эксплуатировать (раскладывать ковры, расставлять мебель) не ранее, чем через 7 суток.
8.3.1 Покрытия полов из линолеума рекомендуется применять в жилых, общественных, спортивных и промышленных зданиях с учётом допустимых эксплуатационных воздействий, приведённых в табл. 1, 2, 3 Приложения 1. Антистатические покрытия полов из линолеума рекомендуется применять в помещениях, где не допускается скопления электростатических зарядов на полу - хирургические, операционные, специальные лаборатории, машинные залы с электронным оборудованием и в «чистых» и «особо чистых» помещениях, так как покрытия полов не должны удерживать частички пыли на поверхности за счёт сил электростатики, а также в помещениях с «электронной гигиеной», в которых располагается электронное оборудование, для которого искры могут создать помехи нормальной работе.
8.3.2 В жилых зданиях полы рекомендуется выполнять преимущественно из поливинилхлоридного линолеума на теплоизолирующей подоснове, сваренного в стационарных условиях в ковры размером на комнату (ГОСТ 27023-86), а также поливинилхлоридного линолеума на тепло-звукоизолирующей подоснове (ГОСТ 18108-80) и на тканной подоснове (ГОСТ 7251-77). Возможно также применение резинового линолеума (релина) (ГОСТ 16914-71), линолеума поливинилхлоридного многослойного и однослойного без подосновы и алкидного (натурального), выпускаемых по технической документации заводов-изготовителей.
8.3.3 Для антистатических покрытий рекомендуется применять антистатический поливинилхлоридный однослойный линолеум без подосновы, характеризующийся удельным поверхностным электросопротивлением не выше 109 Ом. Возможно также применение резинового линолеума (релина), выполненного в антистатическом варианте - тип «В» и алкидного (натурального) антистатического линолеума.
8.3.4 Алкидный линолеум, характеризующийся природными антисептическими свойствами, рекомендуется применять прежде всего в помещениях дошкольных и школьных учреждений, в больницах, поликлиниках, а также в жилых зданиях.
8.3.5 Покрытия из синтетических плиток являются разновидностью покрытий полов из линолеума с аналогичной областью применения. Данный вид покрытий характеризуется как рядом преимуществ по сравнению с покрытием из линолеума - не требуется выдержка материалов перед укладкой в течение 2 суток и прирезка стыков полотнищ, возможно устраивать покрытия с неограниченным количеством вариантов по цвету и рисунку, так и недостатков - большим количеством швов, что приводит к пониженной водостойкости покрытий и повышенному пылеотделению из швов.
8.3.6 Для покрытий полов применяются поливинилхлоридные плитки по ГОСТ 16475-81, получаемые вырубкой из листов безосновного линолеума, изготовленного каландровым или вальцовым способом, и плитки марки «Превинил» по ТУ 400-1/411-68-77, получаемые методом прессования из смеси, содержащей поливинилхлоридную смолу, наполнители, пигменты, пластификаторы и добавки из измельчённых отходов поливинилхлоридных материалов. Возможно также применение поливинилхлоридных и резиновых плит, выпускаемых по технической документации заводов-изготовителей, утверждённой в установленном порядке.
8.3.7 Покрытия полов из ковров на синтетической основе рекомендуется применять в общественных зданиях (гостиницы, торговые залы ресторанов, зрительные залы зрелищных зданий, библиотеки, административные помещения и т.п.) и в жилых помещениях с учётом допустимых эксплуатационных воздействий, приведённых в табл. 1, 2, 3 Приложения 1.
8.3.8 К покрытиям полов на основе химических волокон относятся покрытие для полов рулонное на основе химических волокон (ГОСТ 26149-84). Возможно также применение синтетических ковровых материалов на вспененной латексной, поливинилхлоридной или резиновой подоснове, иглопробивных на тканевой или войлочной подоснове, ворсово-прошивных (тафтинговых) и др., выпускаемых по технической документации заводов-изготовителей.
8.3.9 В спортивных залах следует применять линолеум и ковровые покрытия, характеризующиеся повышенными стойкостью к истиранию, упругостью, прочностью закрепления ворсовых пучков (петель).
8.3.10 Для покрытий пола в вестибюлях, лестничных клетках, лифтовых холлах, а также ступеней лестниц следует применять ковровые покрытия или поливинилхлоридный линолеум (для облицовки ступеней и готовые поливинилхлоридные элементы), характеризующиеся группой горючести не выше Г1 (слабогорючие), группой горючести по распространению пламени по поверхности не выше РП1 (нераспространяющие), группой горючести по дымообразующей способности не выше Д1 (с малой дымообразующей способностью) и группой по токсичности продуктов горения не выше Т1 (малоопасные).
8.3.11 Для покрытий пола в общих коридорах, холлах и фойе следует применять ковровые покрытия или поливинилхлоридный линолеум, характеризующиеся группой горючести не выше Г2 (умереногорючие), группой горючести по распространению пламени по поверхности не выше РП1 (нераспространяющие), группой горючести по дымообразующей способности не выше Д2 (с умеренной дымообразующей способностью) и группой по токсичности продуктов горения не выше Т1 (малоопасные).
8.3.12 Покрытия, выполненные из поливинилхлоридного линолеума на тепло-звукоизолирующей подоснове (ГОСТ 18108-80) и ковров на основе химических волокон являются «тёплыми» и характеризуются показателем теплоусвоения у покрытий из линолеума не более 12 Вт/(м·К), а у ковровых покрытий - не более 11,6 Вт/(м2·К). Индекс снижения ударного шума не менее 18 дБ.
8.3.13 Применение линолеума поливинилхлоридного многослойного и однослойного без подосновы в помещениях с нормируемыми показателями теплоусвоения возможно только при укладке их по теплоизолирующей прослойке - листам фанеры, плитам пробко-резинового гранулята марок UZIN-RR 188 или UZTN-RR 189, рулонному материалу на основе полиэстерного волокна марки UZIN Multimoll Vlies, по стяжкам из легкого бетона или поризованного цементно-песчаного раствора или сборным стяжкам из гипсоволокнистых листов.
8.3.14 Основанием под полы из линолеума и синтетических ковров может быть бетонный подстилающий слой и железобетонное или стальное перекрытие, выравнивающая цементно-песчаная, полимерцементная или лёгкобетонная стяжка, а также сборная стяжка из спаренных гипсоволокнистых листов (см. Тип 28 - Тип 57).
8.3.15 Для улучшения звукоизоляции от ударного и воздушного шума полов, выполненных по перекрытиям, следует руководствоваться указаниями п. 8.2.14.
8.3.16 В помещениях, где устраиваются полы из линолеума, синтетических плиток или ковровых покрытий, температура воздуха на уровне пола должна быть не ниже 15°С, влажность воздуха - не более 60 %. Влажность по массе для бетона панелей междуэтажных перекрытий должна быть не более 4 %, для стяжек на основе цементного, полимерцементного и гипсового вяжущего - не более 5 %, для стяжек из древесноволокнистых плит - не более-12 %.
8.3.17 Линолеум в виде сварных ковров (размером на комнату) и синтетические ковровые материалы должны поставляться в рулонах, намотанных на сердечники диаметром 100-150 мм. При этом каждый рулон синтетического коврового материала должен быть упакован в обёрточную бумагу, поливинилхлоридную или полиэтиленовую плёнку. Так как алкидный (натуральный) линолеум до укладки не стабилен (течёт), его рулоны хранят только в вертикальном положении.
8.3.18 Перед укладкой покрытия бетонное основание следует выровнять, бугорки на поверхности бетона сошлифовать, западающие неровности, трещины и выбоины зашпаклевать в отапливаемых помещениях полимерцементными шпаклёвками марок UZIN NC-180 (толщина слоя от 1 мм) или UZIN NC-182 (толщина слоя от 0 мм - способна «сводиться на нет»), в не отапливаемых помещениях - UZIN NC-182 (толщина слоя от 3 до 20 мм). Трещины в нижележащем слое необходимо расшить, поверхность в трещинах и в выбоинах очистить и обеспылить, а перед нанесением шпаклёвок прогрунтовать грунтовкой марки UZIN PE-360. Шпаклёвку в местах заделки следует просушить, а поверхность нижележащего слоя перед укладкой покрытий обеспылить без увлажнения водой.
8.3.19 При наклейке линолеума непосредственно на стальное межэтажное перекрытие его поверхность следует очистить от ржавчины и окалины пескоструйной или дробеструйной обработкой и обезжирить.
8.3.20 Рулоны линолеума и синтетических ворсовых ковров следует раскатать для устранения волнистости не позднее, чем за двое суток до их укладки, выдержать при температуре воздуха не ниже 15°С. Деформированные места листов, не прилегающие к основанию, следует пригрузить.
8.3.21 Перед наклейкой алкидного (натурального) линолеума необходимо произвести обрезку рулона с 2-х сторон по 2 см, так как края рулона могут «заплыть» и отличаться по толщине.
8.3.22 Для приклейки линолеумных полотнищ, синтетических плит и ковров на основе синтетических волокон рекомендуется применять водостойкие клеи и мастики, обеспечивающие прочность сцепления на отрыв не менее 0,15 МПа Выбор клея осуществляется в зависимости от типа линолеума (табл. 8.3.1).
|
Покрытие пола |
Основание под покрытие |
||
|
Минеральное |
Стальное |
Тепло- и звукоизолирующее пробко-резиновое |
|
|
Поливинилхлоридный линолеум на тепло-звукоизолирующей подоснове |
|
|
|
|
а) войлочная подоснова |
Водо-дисперсионный UZIN UZ-90 Водо-дисперсионный UZIN UZ-523 |
|
Водо-дисперсионный UZIN UZ-753 |
|
б) вспененная подоснова |
Полимерный с органическим растворителем UZIN KE-2000S4 Водо-дисперсионный UZIN UZ-753 |
|
Водо-дисперсионный UZIN UZ-753 |
|
Поливинилхлоридный линолеум на тканной подоснове |
Водо-дисперсионный UZIN UZ-90 Водо-дисперсионный UZIN UZ-523 |
|
|
|
Поливинилхлоридный одно- и многослойный без подосновы |
|
|
|
|
|
|
|
|
|
а), диэлектрический |
Водо-дисперсионны й UZINKE-4181 |
|
Водо-дисперсионный UZIN КЕ-2008 |
|
Водо-дисперсионный UZIN КЕ-2008 Полимерный с органическим растворителем UZIN KE-2000S4 Водо-дисперсионный UZIN КЕ-2008 Arctik2 |
|
|
|
|
б), антистатический |
Водо-дисперсионный с электропроводящими волокнами UZIN KE-2000SL |
|
|
|
Резиновый линолеум (релин) а), диэлектрический |
Водо-дисперсионный (армированный) UZIN KE-663 Полиуретановый UZIN KR-4302
|
|
|
|
б), антистатический |
Эпоксидный UZINKR-421L Полиуретановый UZIN KR-430L |
||
|
Алкидный (натуральный) линолеум а), диэлектрический |
Водо-дисперсионный UZIN LE -443 Водо-дисперсионный UZINLE-24014
|
Полимерцементный 2-х компонентный UZIN KE-603 |
|
|
б), антистатический |
Водо-дисперсионный электропроводящий UZIN UZ-75L3 |
|
|
|
Спортивные линолеумные покрытия и покрытия из синтетических плит |
|
|
|
|
а) поливинилхлоридные |
Полимерный с органическим растворителем UZIN KE-2000S |
||
|
б), резиновые |
Полиуретановый UZIN KR-430 Полимерный с органическим растворителем UZIN KE-2000S5 |
||
|
Ковровые покрытия а), тканная или войлочная подоснова |
Водо-дисперсионный UZIN UZ-90 Водо-дисперсионный UZIN UZ-523 |
|
Водо-дисперсионный UZIN UZ-753 |
|
б), вспененная подоснова |
Полимерный с органическим растворителем UZIN KE-2000S4 Водо-дисперсионный UZIN UZ-753 |
|
Водо-дисперсионный UZIN UZ-753 |
|
в), поливинилхлоридная подоснова |
Водо-дисперсионный UZINKE-4181 Водо-дисперсионный UZIN KE-2008 Полимерный с органическим растворителем UZIN KE-2000S4 Водо-дисперсионный UZIN KE-2008 Arctik2 |
|
|
|
г), резиновая подоснова |
Водо-дисперсионный UZIN KE-2020 Водо-дисперсионный (армированный) UZIN KE-663 |
|
|
|
Спортивные ковровые покрытия |
Эпоксидный UZ1NKR-421 Полиуретановый UZIN KR-430 |
|
|
1 - плошадь покрытия пола не более 30м
2 - не обогреваемые помещения с минимальной температурой-25°С
3 - клеи, характеризующиеся пониженным выделением токсичных веществ при производстве работ
4 - повышенное время работоспособности
5 - для резиновых спортивных покрытий толщиной менее 3 мм в небольших залах
8.3.23 Перед устройством покрытия из синтетических плиток следует произвести разбивку осей. При этом если помещения соединены между собой, разбивочные оси рекомендуется прокладывать во всех помещениях через середины проёмов смежных помещений. В других помещениях разбивочные оси прокладывают через их центр.
8.3.24 Перед наклейкой плиток следует выполнить пробную раскладку плиток насухо. Если целое число плиток не укладывается точно по длине и ширине помещения, разбивочные оси смещаются таким образом, чтобы плитки можно было бы подрезать только у одной или двух взаимно-перпендикулярных стен.
8.3.25 Линолеум, синтетические плитки и синтетические ворсовые ковры должны быть приклеены к нижележащему слою по всей площади. Толщина слоя клеевой прослойки должна быть не более 0,8 мм.
8.3.26 Нанесение клея зубчатым шпателем осуществляется, как правило, непосредственно на очищенное и обеспыленное основание. При применении 2-х компонентных полимерных клеёв марок UZIN KR-421 и UZIN KR-430 и полимерцементного 2-х компонентный клея марки UZIN KE-603 поверхность основания следует огрунтовать эпоксидными грунтовками марок UZIN PE-440 (не впитывающие металлические основания) или UZIN PE-460 (минеральные основания). Грунтовка наносится валиком в один или два слоя (при повышенной пористости минерального основания). Нанесение второго слоя осуществляется после отверждения предыдущего слоя.
8.3.27 На дисперсионные клеи и мастики линолеум, синтетические плитки и ковровые покрытия следует укладывать сразу после их нанесения на основание. Клеи и мастики на основе синтетических смол и каучуков следует наносить на основание и на тыльную сторону покрытия (кроме синтетических ковров) толщиной 0,2-0,3 мм и выдерживать до отлипа для улетучивания избытка растворителя.
8.3.28 При приклейке рулона линолеума с рисунком на лицевой стороне нельзя смещать его относительно смежного. Если ворс синтетических ковров наклонён под углом к подоснове, то угол наклона ворса всех полотнищ должен быть в одном направлении. Рекомендуется покрытия укладывать так, чтобы наклон ворса был от окна в сторону двери, что облегчает уборку помещения.
8.3.29 Зазоры между смежными кромками листов линолеума и синтетических ворсовых ковров в покрытии не допускаются. Эти листы следует укладывать с напуском 10 мм на ранее уложенные, приклеивая по всей площади, за исключением краёв шириной около 100 мм. В местах напуска оба листа одновременно разрезают по линейке. Отрезанные полоски удаляют и края листов приклеивают к нижележащему слою. Кромки полотнищ следует приклеивать к основанию тем же клеем, что и сами полотнища. Во время приклейки листы следует плотно прижимать к нижележащему слою. Зазор между кромкой ковра из линолеума или синтетического ковра со стеной должен составлять 4 - 5 мм и перекрываться плинтусом.
8.3.30 Стыки приклеенных смежных полотнищ и ковров прирезают после высыхания клеевой прослойки, но не ранее чем через 3-е суток после приклейки, что необходимо для стабилизации первоначальной усадки линолеума.
8.3.31 При устройстве покрытий из линолеума, сваренного в ковры, и из синтетических ковров их предварительно отгибают на половину длины и на освободившуюся площадь основания наносят клей, после чего раскатывают ковёр по клеевому слою, прижимая его к основанию с помощью катка или гладилки с целью удаления воздуха. При использовании клея на полимерной основе клеевой слой предварительно выдерживают в течение 20 минут, а затем раскатывают ковер по основанию. Аналогичную операцию проводят со второй половиной ковра.
8.3.32 Технология изготовления антистатических покрытий из антистатического поливинилхлоридного однослойного линолеума без подосновы включает создание электропроводного слоя путём нанесение валиком на всю поверхность основания пола электропроводной грунтовки марки UZIN-РЕ 260 L , укладку самоклеющейся медной ленты марки UZIN-Kupferleitband длиной не менее 1 м на каждые 30 м2 площади помещения, подключаемой к системе заземления здания, и приклейку антистатического линолеума на электропроводном клее.
8.3.33 Антистатические покрытия полов из антистатического резинового и алкидного (натурального) линолеумов выполняются без создания электропроводного слоя. Перед укладкой под каждый кусок покрытия приклеивается медная лента вдоль рулона, посередине. Затем по обоим краям комнаты поперёк этим лентам приклеиваются две медные ленты, замыкающие всё в единую сетку, которая присоединяется к системе заземления здания. После этого на сетку из лент аккуратно наносят электропроводный клей и укладывают покрытие.
8.3.34 В помещениях с влажными условиями эксплуатации для предотвращения проникания влаги в подоснову линолеума и основание через швы стыкуемых полотнищ, а также в «чистых» и «особо чистых» помещениях для предотвращения выделения частиц пыли из швов последние рекомендуется сваривать.
8.3.35 Линолеумы, имеющие в своём составе термопластическую поливинилхлоридную смолу, сваривают горячим воздухом. Для этого рекомендуется применять сварочный фен марки «Триак РID».
8.3.36 Полотнища поливинилхлоридного линолеума со вспененной подосновой и печатным рисунком, алкидного (природного) или резинового линолеума, которые не свариваются, стыкуют методом «холодной сварки» с помощью клеёв UZIN-GN 276 или UZIN-GN 276L (антистатические покрытия).
8.3.37 После приклейки стыков линолеума устанавливают плинтусы. Деревянные плинтусы (ГОСТ 8242-75) прибивают к предварительно установленным в стенах пробкам гвоздями длиной 30-40 мм или крепят шурупами длиной 25 мм. Плинтусы устанавливают так, чтобы они только касались покрытия пола и не были к нему прижаты. Поливинилхлоридные плинтусы приклеивают к стенам и перегородкам полимерными клеями, в качестве которых рекомендуется применять контактный клей марки UZIN-GN 276.
8.3.38 В «чистых» и «особо чистых» помещениях с целью снижения количества зон скопления пыли рекомендует выполнять плинтусы из линолеума. Технологическая схема изготовления плинтуса предусматривает приклейку линолеума к основанию пола с нахлёстом полотнищ на стены на высоту 200 мм (зону сгиба на 90° следует нагреть феном), выдержку в течение 48 часов для подсыхания клея, нанесение на стены термоконтактного клея UZIN-GN 290 Thermocoll (в подогретом состоянии). Затем клей и линолеум нагреваются, рулонный материал прижимается к стене и притирается молотком. При необходимости корректировки сначала нагревается место корректировки феном, отделяется линолеум от стены и осуществляется корректировка. Данную операцию можно проводить многократно.
8.3.39 При изготовлении плинтуса из алкидного (натурального) линолеума, учитывая повышенную хрупкость материала, радиус его перегиба должен быть не менее 50 мм; в угол под линолеум необходимо укладывать вкладыш соответствующего профиля.
8.3.40 Покрытия полов из линолеума, синтетических плиток и синтетических ковров принимают в эксплуатацию не ранее, чем через трое суток после наклейки.
8.3.41 После наклейки алкидный (натуральный) линолеум не нагружают в течение 7 недель для стабилизации материала. После этого необходима натирка алкидного линолеума специальными составами, указанными производителем материала, на пример средствами фирмы «Dr. Schutz». Алкидный линолеум требует также ухода специальным составом не реже 1-го раза в месяц.
8.4.1 Полы из керамических плиток рекомендуется применять в помещениях с систематическим или периодическим увлажнением пола с учётом допустимых эксплуатационных воздействий, приведённых в табл. 1, 2, 3 Приложения 1.
8.4.2 Покрытия полов из плит природного камня (гранита, лабрадорита, мрамора и др.) и керамогранита рекомендуется применять для устройства полов в общественных, в том числе уникальных зданиях, где к ним предъявляются повышенные требования по эстетике, гигиене и истираемости, с учётом допустимых эксплуатационных воздействий, приведённых в табл. 1, 2, 3 Приложения 1.
8.4.3 Для изготовления покрытий полов рекомендуется применять керамические плитки, соответствующие требованиям ГОСТ 6787-80*. Допускается применять также плитки, не соответствующие требованиям ГОСТ 6787-80* (в частности, толщина менее 11 мм), но выпускаемые по техническим условиям заводов-изготовителей, согласованным с организациями, входящими в число ведущих Госстроя РФ, или имеющие сертификат соответствия.
8.4.4 Плиты из природного камня и керамогранита должны соответствовать требованиям ГОСТ 9480-77, кроме того плиты из керамогранита должны соответствовать требованиям технической документации заводов-изготовителей, утверждённой в установленном порядке или подтверждающей применение их в строительстве - сертификат соответствия.
8.4.5 Покрытия из керамических плиток, плит природного камня и керамогранита могут быть выполнены по бетонному подстилающему слою, железобетонным или металлическим перекрытиям или цементно-песчаным или саморазравнивающимся полимерцементным стяжкам с пределом прочности на сжатие последних не менее 15 МПа. Покрытия из керамических плиток, кроме того, могут быть выполнены по сборным стяжкам из спаренных гипсоволокнистых листов (см. Тип 58 - Тип 83).
8.4.6 При средней и большой интенсивности воздействия жидкости на пол конструктивная схема пола должна предусматривать наличие слоя гидроизоляции. Гидроизоляционный слой может располагаться как под выравнивающей стяжкой, так и непосредственно под покрытием. Типы подслоя и рекомендации по их нанесению приведены в главе 7.
8.4.7 Покрытия из керамических плиток, плит природного камня и керамогранита относятся к «холодному» типу полов. В помещениях с нормируемыми показателями теплоусвоения покрытие полов рекомендуется выполнять по электро - или водонагреваемым стяжкам.
8.4.8 В покрытиях из керамических плиток, плит природного камня и керамогранита, выполняемых по электро- или водонагреваемым стяжкам, должны быть предусмотрены деформационные швы. Швы устраиваются в продольном и поперечном направлении с шагом не более 6 м и должны совпадать с деформационными швами в обогреваемой стяжке.
8.4.9 Керамические плитки, плиты природного камня и керамогранита следует укладывать по прослойке из плиточных клеёв на основе полимерцементных или полимерных вяжущих. Выбор клеевой композиции следует осуществлять в соответствии рекомендациями табл. 8.4.1 с учётом линейных размеров и толщины плиток, пористости, характеризуемой водопоглощением - не впитывающие при коэффициенте водопоглощения менее 0,5 %, средне впитывающие при коэффициенте водопоглощения от 0,5 до 3 % и впитывающие при коэффициенте водопоглощения более 3 %, типа помещения - обогреваемое или не обогреваемое, а также типа подстилающего слоя - впитывающее минеральное или не впитывающее стальное основание.
|
Тип материала |
Толщина плитки |
В отапливаемых помещениях |
В не отапливаемых помещениях |
Затирка |
|||
|
до 5 мм |
5-10 мм |
10-20 мм |
30-40 мм |
||||
|
I. Керамическая плитка |
|||||||
|
Впитывающая |
Power Plus |
Power Plus |
Power Flex |
Power Base |
Power Plus |
Power Flex |
Fugen Weiss |
|
Средне Впитывающая |
Power Plus |
Power Plus |
Power Flex |
Power Extraflex |
Power Plus |
Power Flex |
Fugen Breit |
|
Не впитывающая |
Power Flex |
Power Flex |
Power Flex |
Power Extraflex |
Power Flex |
Power Extraflex |
Flex Fuge |
|
II. Искусственная плитка |
|||||||
|
Средне впитывающая |
Power Flex |
Power Flex Turbo |
Power Extraflex |
Power Extraflex |
Power Flex |
Power Extraflex |
Fugen Breit |
|
Не впитывающая |
Power Flex |
Fliesbett Mortel Schell |
Power Extraflex |
Power Extraflex |
Power Extraflex |
Power Extraflex |
Flex Fuge |
|
III. Природный камень |
|||||||
|
Мрамор |
Stone Plus |
Stone Flex |
Stone Mittelbett |
Stone Mittelbett |
Stone Plus |
Stone Flex |
Stone Fuge |
|
Гранит |
Stone Plus |
Stone Flex |
Stone Mittelbett |
Stone Mittelbett |
Stone Plus |
Stone Flex |
Stone Fuge |
|
Лабрадорит |
Stone Plus |
Stone Flex |
Stone Mittelbett |
Stone Mittelbett |
Stone Plus |
Stone Flex |
Stone Fuge |
|
Оникс |
Stone Plus |
Stone Flex |
Stone Mittelbett |
Stone Mittelbett |
Stone Plus |
Stone Flex |
Stone Fuge |
|
Туф |
Stone Plus |
Stone Flex |
Stone Mittelbett |
Stone Mittelbett |
Stone Plus |
Stone Flex |
Stone Fuge |
|
Базальт |
Stone Plus |
Stone Flex |
Stone Mittelbett |
Stone Mittelbett |
Stone Plus |
Stone Flex |
Stone Fuge |
|
Песчаник |
Stone Plus |
Stone Flex |
Stone Mittelbett |
Stone Mittelbett |
Stone Plus |
Stone Flex |
Stone Fuge |
8.4.10 При укладке впитывающих керамических плиток, а также толстослойных плит природного камня (толщина более 20 мм) допускается применение цементно-песчаного раствора (табл. 8.4.2), содержащего в качестве модифицирующей добавки пластифицированную поливинилацетатную дисперсию (ГОСТ 18992-80*) или латекс СКС-65ГП марки «Б» (ТУ 38-103111-80) в количестве 10-15 % от массы цемента в пересчёте на сухое вещество полимера.
|
Марка раствора |
Вода |
Цемент марки 400 |
Песок |
|
М150 М200 М300 |
0,55 0,48 0,40 |
1 1 1 |
3,0 2,8 2,4 |
8.4.11 В целях снижения усадочных деформаций для прослойки рекомендуется применять жесткие цементно-песчаные смеси с осадкой конуса 2-3 см. При этом керамические плитки следует втапливать в раствор прослойки с помощью вибрации. В противном случае следует использовать раствор с осадкой конуса 5-6 см.
8.4.12 При применении плит из керамогранита для антикоррозионных облицовочных покрытий (в частности, покрытий полов на пивзаводах), наклейку необходимо выполнять полимерными мастиками (как правило, на основе полиуретановых или эпоксидных смол), химически стойкими к воздействующим средам, в частности могут быть рекомендованы UZIN Fliesopur и UZIN Epoxiflex Plus. Данные клеи могут быть также применены для крепления керамических плиток, плит природного камня и керамогранита на не впитывающих основаниях - металлических межэтажных перекрытиях или на полимерных стяжках.
8.4.13 Для крепления мрамора светлых оттенков и светлых или полупрозрачных керамогранитных плит рекомендуется применять клей белого цвета марки UZIN Stone Flex.
8.4.14 При укладке покрытий из штучных материалов на обогреваемые стяжки в полимерцементные клеи следует вводить пластифицирующую добавку марки UZIN Power Mix.
8.4.15 Толщина полимерцементных прослоек устанавливается исходя из линейных размеров плиток и плит и ровности подстилающего слоя. При укладке крупноразмерных плит (длина и ширина более 300 мм) или при укладке керамических плиток по неровному основанию следует применять толстослойные клеи (в частности, клей марки UZIN Stone Mittelbett). При укладке мелко- или среднеразмерных плиток (длина и ширина менее 300 мм) по основанию с повышенной ровностью (стяжки из саморазравнивающихся композиций) возможно применение тонкослойных клеёв (в частности, клей марки UZIN Stone Plus) толщиной 4-5 мм.
8.4.16 Толщина прослоек из цементно-песчаного раствора должна составлять 10 - мм.
8.4.17 Толщина полимерных прослоек должна составлять 2 - 3 мм.
8.4.18 Толщина шва должна быть не более 6 мм. При укладке покрытия из керамических плиток, плит природного камня и керамогранита по обогреваемым стяжкам толщина шва должна быть не менее 3 мм для мелко- и среднеразмерных штучных материалов, и не менее 5 мм для крупноразмерных.
8.4.19 Покрытия из керамических плиток рекомендуется выполнять при использовании полимерцементных клеёв и цементно-песчаного раствора при температуре воздуха не ниже +10°С, при использовании полимерных клеёв - не ниже +15°С.
8.4.20 Перед устройством покрытий плиты следует предварительно разложить насухо для подбора. Цвет и рисунок покрытия пола устанавливается проектом.
8.4.21 Плиты следует укладывать по маякам, размещаемым через 2 м.
8.4.22 До устройства прослойки из цементно-песчаного раствора или полимерцементных толстослойных клеев устанавливают и закрепляют первый ряд маячных реек из деревянных брусков или металлических прокатных изделий высотой, соответствующей требуемой толщине прослойки (10 - 15 мм).
8.4.23 Первый ряд маячных реек следует размещать у стены, противоположной входу в помещение, или в центре помещения с таким расчётом, чтобы после укладки всех плиток и удаления маячной рейки в образовавшийся промежуток укладывалось целое число плиток. Последующие ряды маячных реек устанавливают параллельно первому на расстоянии, равном ширине укладываемого ряда плиток.
8.4.24 Толщина прослойки из полимерцементных тонкослойных клеев или полимерных клеёв регулируется размером зубцов шпателя, применяемого при нанесении данной композиции.
8.4.25 Для повышения начальной прочности сцепления цементно-песчаного раствора прослойки с плиткой её перед укладкой следует замачивать в воде. При этом плитки, укладываемые на жесткий цементно-песчаный раствор, рекомендуется замачивать путём полного погружения в воду или водный раствор поверхностно-активных веществ (ПАВ) на 15 - 20 минут. В качестве водных растворов ПАВ применяют 1%-ный раствор хлористого кальция или 0,5%-ный раствор хлористого алюминия.
8.4.26 При укладке плиток на раствор с осадкой конуса 5-6 см их достаточно перед укладкой окунуть в воду или водный раствор ПАВ.
8.4.27 При укладке керамических плиток на полимерцементных или полимерных клеях предварительное увлажнение плиток не требуется.
8.4.28 В целях повышения сцепления клея с нижележащими слоями, а также предотвращения интенсивного преждевременного отсоса воды из полимерцементных составов пористыми основаниями - бетоном или цементно-песчаной стяжкой поверхность этих слоев рекомендуется загрунтовать грунтовками, соответствующими по химической природе клеевым композициям: под полимерцементные клеи - грунтовка марки UZIN Fliestngrund, под полимерные клеи - эпоксидная грунтовка марки UZIN PE-440. При укладке штучных материалов на цементно-песчаном растворе возможно применение для грунтовки пластифицированной поливинилацетатной дисперсии, разбавленной водой в соотношении 1:2 - 3.
8.4.29 При нанесении клея марки «UZIN» на стяжки из саморазравнивающихся композиций марки «UZIN» применение грунтовочных композиций не требуется.
8.4.30 В больших помещениях плиты рекомендуется укладывать от центра помещения в четырёх или двух направлениях от разбивочных осей по маячным шнурам, проходящим через центральные оси помещения. В остальных случаях укладку плит следует выполнять от стены, противоположной входным дверям, а маячный шнур натягивать вдоль стены.
8.4.31 Плиты укладываются сразу после разравнивания раствора или клея по шнуру в направлении «на себя» с образованием швов, которые затем заполняют окрашенными полимерцементными или полимерными затирочными композициями (табл. 8.4.1) или цементно-песчаным раствором состава 1:1.6 проектное положение плиты устанавливают, осаживая их трамбовкой или молотком через деревянную прокладку, которая должна захватывать не менее 2 плит.
8.4.32 Расшивку швов следует выполнять через сутки после укладки керамических плиток или плит из природного камня или керамогранита.
8.4.33 При укладке штучных материалов на полимерных клеях для расшивки швов следует применять полимерные химически стойкие составы марки UZIN Fliesepox Fuge или UZIN Objektfuge Boden.
8.4.34 При большой интенсивности воздействия жидкости на пол, а также при расшивке швов в покрытиях полов на обогревающих стяжках в полимерцементные составы следует вводить гидро-фобизирующую и пластифицирующую добавку марки UZIN PE-540.
8.4.36 Цементно-песчаный раствор прослойки должен твердеть во влажных условиях, для чего покрытие пола следует засыпать слоем мокрых опилок или накрыть полиэтиленовой плёнкой на 7 - 10 суток. Поливать покрытия без укрытия его опилками, матами или мешковиной не допускается, так как вода стекает и скапливается в пониженных местах, что в дальнейшем приводит к отслоению покрытия от прослойки.
8.4.37 Смачивание покрытий полов при укладке керамических плиток, плит из природного камня и керамогранита на полимерцементных или полимерных клеевых композициях не требуется.
8.4.38 Эксплуатация покрытий полов из керамических плиток, плит из природного камня и керамогранита, уложенных на цементно-песчаном растворе, следует осуществлять после набора материалом прослойки марочной прочности и достижения воздушно-сухого состояния - как правило, после выдержки в течение 3 - 4 недель. При укладке штучных материалов на полимерцементных плиточных клеях выдержка до эксплуатации должна составлять 3 - 5 суток, а при применении полимерных клеёв - не менее 7 суток.
8.4.39 Включение подогрева в обогреваемых полах следует производить не ранее, чем через 7 суток, и осуществлять поэтапно.
8.5.1 Покрытия из плит каменного литья, кислотоупорных плиток и кирпича рекомендуется применять в производственных помещениях или отдельных их зонах при воздействии на полы воды, кислот, щелочей и их растворов с учётом эксплуатационных воздействий, приведённых в табл. 1, 2, 3 Приложения 1. При этом покрытие из кислотоупорного кирпича, уложенного на ребро, рекомендуется использовать только в зонах интенсивного движения автомобилей и автокар.
8.5.2 Покрытия из плит каменного литья, кислотоупорных плиток и кирпича могут быть выполнены по бетонному подстилающему слою, железобетонным или стальному перекрытиям или цементно-песчаным стяжкам с пределом прочности на сжатие последних не менее 15 МПа. (см. Тип 84-Тип 95).
8.5.3 Плиты из каменного литья должны соответствовать требованиям ТУ 21-РСФСР-682-76, керамические кислотоупорные и термокислотоупорные плитки - ГОСТ 961-79, кислотоупорный кирпич - ГОСТ 474-67.
8.5.4 Плитки и кирпич следует укладывать по прослойке из химически стойких мастик, в качестве которых рекомендуется применять полиуретановые и эпоксидные высокоэластичные клеи для кислотоупорной плитки: UZIN Fliesopur и UZIN Epoxiflex Plus, химическая стойкость которых представлена в табл. 8.5.1.
|
Название |
Стойкость к химикатам |
|
Ацетон |
- |
|
Универсальный очиститель |
++ |
|
Старые краски |
++ |
|
Старое масло |
++ |
|
Гидроксид алюминия (Аl (ОН)3) |
++ |
|
Муравьиная кислота 1% |
+ |
|
Муравьиная кислота 5% |
- |
|
Муравьиная кислота 10% |
- |
|
Аммиак 25% |
+ |
|
|
|
|
Кислота из аккумулятора |
+ |
|
Бензин 60/95 |
++ |
|
Бензин 100/140 |
++ |
|
Бензин неэтилированный |
+ |
|
Бензол |
- |
|
Вода |
+ |
|
Пиво |
++ |
|
Борная кислота |
+ |
|
н-Бутилацетат |
- |
|
|
|
|
Гидроксид кальция |
++ |
|
Хлорный отбеливающий щелок 5% |
+ |
|
Хлороформ |
- |
|
Хромная кислота 10% |
+ |
|
Кола |
+ |
|
|
|
|
Дистиллированная вода |
++ |
|
Дибутилфталат |
++ |
|
Дизтопливо |
++ |
|
Диоктилфталат |
++ |
|
Типографская краска |
+ |
|
Уксусная кислота 5% |
+ |
|
Уксусная кислота 10% |
- |
|
Уксусная кислота 30% |
- |
|
Этанол |
+ |
|
Этилацетат |
- |
|
Формальдегид 35% (формалин) |
- |
|
|
|
|
Хлорированная вода |
+ |
|
Антифриз (содержащий гликоль) |
+ |
|
Овощной сок/фруктовый сок |
+ |
|
Трансмиссионное масло |
+ |
|
Маринад (пряности) |
++ |
|
Глицерин |
++ |
|
Гликоль |
+ |
|
|
|
|
Бытовые очистители |
+ |
|
Жидкое топливо/мазут |
+ |
|
|
|
|
Изопропанол |
- |
|
Калиевая щелочь, конц. |
++ |
|
Раствор карбоната калия 20% |
+ |
|
Перманганат калия 5% |
+ |
|
Известковая смесь |
++ |
|
Керосин (Kerosin) |
+ |
|
Раствор поваренной соли 20% |
++ |
|
Газированная вода |
++ |
|
Лаковый бензин |
++ |
|
Рыбий жир |
++ |
|
Льняное масло |
++ |
|
Лимонад |
+ |
|
|
|
|
Хлорид магнезии 35% |
++ |
|
Морская вода |
++ |
|
Метанол |
- |
|
Метйленхлорид |
- |
|
Молоко |
+ |
|
Молокопродукты |
+ |
|
Молочная кислота 1% |
- |
|
Молочная кислота 10% |
- |
|
|
|
|
Гидроксид натрия 5% |
++ |
|
Гидроксид натрия 20% |
++ |
|
Гидроксид натрия 50% |
++ |
|
|
|
|
Керосин (Petroleum) |
++ |
|
Растительное масло (общее) |
++ |
|
Фосфорная кислота 10% |
- |
|
Фосфорная кислота 30% |
- |
|
|
|
|
Оливковое масло |
++ |
|
Апельсиновый сок |
- |
|
Оксалатовая кислота 10% |
+ |
|
|
|
|
Касторовое масло |
++ |
|
Сырая нефть |
++ |
|
|
|
|
Азотная кислота 5% |
+ |
|
Азотная кислота 30% |
- |
|
Конц. Раствор соли |
++ |
|
Соляная кислота 5% |
+ |
|
Соляная кислота 20% |
+ |
|
Соляная кислота 30% |
- |
|
Соляная кислота 37% |
|
|
Санитарный очиститель (содержащий фосфорную кислоту) |
|
|
Топленый жир |
++ |
|
Смазочное средство |
++ |
|
Жидкое мыло |
++ |
|
Шоколад |
++ |
|
Шампунь |
++ |
|
Снег |
++ |
|
Серная кислота 5% |
+ |
|
Серная кислота 20% |
+ |
|
Серная кислота 40% |
+ |
|
Мыло (мыльный раствор 5%) |
++ |
|
Силиконовое масло |
++ |
|
Рассол |
++ |
|
|
|
|
Скипидарное масло |
+ |
|
Тест-бензин |
++ |
|
Тетрахлоруглерод |
- |
|
Термическая вода |
++ |
|
Толуол |
- |
|
Виноградный сок |
+ |
|
Трихлорэтилен |
- |
|
|
|
|
Моющие средства и средства для полоскания |
+ |
|
Дистиллированная вода |
++ |
|
Перекись водорода 5% |
++ |
|
Вино |
+ |
|
Винная кислота |
+ |
|
Виски |
+ |
|
|
|
|
Ксилол (диметилбензол) |
- |
|
|
|
|
Лимонная кислота 30% |
+ |
|
Раствор сахара 15% |
++ |
++ - устойчив - при длительном воздействии нет размягчения или разрушения материала
+ - условно устойчив - при временном воздействии - в т.ч. повторном – устойчив
- - не устойчив - развитие повреждений материала в течение 24-72 часов
8.5.5 При устройстве покрытий полов на объектах пищевой промышленности для наклейки плиток следует применять полимерзамазки, на которые имеются санитарно-эпидемиологические заключения на допустимость контакта их с пищевыми продуктами. Как правило, для этой цели используют эпоксидные полимерзамазки.
8.5.6 При укладке кислотостойкой плитки на эпоксидных и полиуретановых клеях рекомендуется применять эпоксидные затирочные композиции для заделки швов - UZIN Fliesepox Fuge и UZIN Objektfuge Boden.
8.5.7 Устройство покрытия пола рекомендуется выполнять по непроницаемому подслою, который одновременно служит и гидроизоляцией. Типы подслоя и рекомендации по нанесению приведены в главе 7.
8.5.8 При «малой» интенсивности воздействия жидкостных воздействий возможна укладка плиток и кирпича (облицовки) по прослойке из цементно-песчаного раствора или полимерцементных клеёв, приведённых в главе 8.4, с расшивкой швов химически стойкими полимерзамазками. Облицовка может осуществляться непосредственно по подстилающему слою (без непроницаемого подслоя).
8.5.9 Устройство покрытий пола рекомендуется выполнять при температуре воздуха не ниже + 15°С.
8.5.10 Каналы, лотки и приямки, предназначенные для сбора и канализации агрессивных жидкостей, облицовываются до нанесения покрытия пола. Облицовку этих конструкций следует начинать с днища с последующим устройством по ней покрытия пола.
8.5.11 Устройство покрытия пола следует начинать от стен к проездам и дверям. Укладку плит и кирпича производят рядами, параллельными стенам. В больших помещениях плиты и кирпич укладываются полосами (участками) шириной не более 10 м. Кирпич укладывают по шнуру с соблюдением перевязки швов на 1/3-1/2 кирпича. В проездах его укладывают в «ёлку». При наличии большого числа фундаментов под оборудование, которые параллельны между собой, но не параллельны стенам - рядами, параллельными этим фундаментам.
8.5.12 При укладке плит и кирпича полосу разравниваемой полимерзамазки следует иметь длиной не менее 1 м и шире укладываемого ряда плиток или кирпича на 40-50 мм. Швы между плитками и кирпичами заполняют выдавливанием материала прослойки при их укладке. Ширина швов не должна превышать при кирпиче 5 мм, а при плитках - 3 мм.
8.5.13 Укладка плиток и кирпича по прослойке из цементно-песчаного раствора или полимерцементного клея с расшивкой швов химически стойкими полимерзамазками может осуществляться методом укладки штучных материалов на прослойку «в пустошовку» с последующим заполнением этих швов (расшивкой) химически стойкими растворами или полимерзамазками или комбинированным способом при одновременной укладке и заполнении швов.
8.5.14 При укладке плит или кирпича в пустошовку швы должны иметь ширину 6-8 мм. Швы заполняют мастиками, наносимыми при помощи шприцов или вручную выдавливанием из полиэтиленовых мешков со срезанным углом. Глубина заполнения швов при их разделке должна быть не менее: 20 мм - для кирпича и плитки толщиной более 50 мм, 15 мм для плитки толщиной 20-30мм. Укладка в пустошовку плиток толщиной менее 20 мм не допускается.
8.5.15 При комбинированном способе на две боковые грани штучного материала наносится химически стойкий раствор или полимерзамазка и осуществляется укладка плитки или кирпича на прослойку из цементно-песчаного раствора с прижиманием их к ранее установленным штучным материалам.
8.5.16 В местах примыкания пола к стенам и колоннам устраивают плинтус, высота которого должна быть не менее 200 мм, для чего используют штучные изделия (плитку или кирпич) и химически стойкие замазки или растворы, применяемые для покрытия пола.
8.5.17 До начала эксплуатации покрытия из плит каменного литья, кислотоупорных плиток и кирпича должны быть выдержаны в течение 20 суток в сухих условиях при температуре воздуха не ниже+15°С.

|
Поз |
Наименование |
Расход |
Примечание |
|
1 |
Лаковое покрытие |
|
Конструкции лаковых покрытий и расход материалов приведены в разделе «Основные узлы» |
|
2 |
Паркет штучный |
1,02 м2/м2 |
|
|
3 |
Полимерный однокомпонентный клей Uzin MK-73 |
800-1200 гр/м2 |
Применяется для всех пород дерева, кроме экзотических. Наносится зубчатым шпателем толщиной не более 1 мм |
|
Полимерный двухкомпонентный клей Uzin MK-92S |
800-1200 гр/м2 |
Применяется для всех пород дерева, в том числе экзотических. Наносится зубчатым шпателем толщиной не более 1 мм |
|
|
4 |
Грунтовка Uzin PE-317 |
100-200 гр/м2 |
Наносится валиком на очищенную поверхность цементно-песчаной или бетонной стяжки под клей Uzin MK-73 |
|
Грунтовка Uzin PE-420 |
100-200 гр/м2 |
Наносится валиком на очищенную поверхность цементно-песчаной или бетонной стяжки под клей Uzin MK-92S |
|
|
5 |
Бетонное основание из бетона класса В22,5 |
0,10 м3/м2 |
|
|
6 |
Грунт основания |
|
|

|
Поз |
Наименование |
Расход |
Примечание |
|
1 |
Лаковое покрытие |
|
Конструкции лаковых покрытий и расход материалов приведены в разделе «Основные узлы» |
|
2 |
Паркет штучный |
1,02 м2/м2 |
|
|
3 |
Полимерный однокомпонентный клей Uzin MK-73 |
800-1200 гр/м2 |
Применяется для всех пород дерева, кроме экзотических. Наносится зубчатым шпателем толщиной не более 1 мм |
|
Полимерный двухкомпонентный клей Uzin MK-92S |
800-1200 гр/м2 |
Применяется для всех пород дерева, в том числе экзотических. Наносится зубчатым шпателем толщиной не более 1 мм |
|
|
4 |
Грунтовка Uzin PE-317 |
100-200 гр/м2 |
Наносится валиком на очищенную поверхность цементно-песчаной или бетонной стяжки под клей Uzin MK-73 |
|
Грунтовка Uzin PE-420 |
100-200 гр/м2 |
Наносится валиком на очищенную поверхность цементно-песчаной или бетонной стяжки под клей Uzin MK-92S |
|
|
5 |
Бетонное основание из бетона класса В22,5 |
0,10 м3/м2 |
|
|
6 |
Рулонная гидроизоляция |
1,02 м2/м2 |
|
|
7 |
Стяжка из цементно-песча-ного раствора марки Ml50 |
0,05 м3/м2 |
|
|
8 |
Грунт основания |
|
|

|
Поз |
Наименование |
Расход |
Примечание |
|
1 |
Лаковое покрытие |
|
Конструкции лаковых покрытий и расход материалов приведены в разделе «Основные узлы» |
|
2 |
Паркет штучный |
1,02 м2/м2 |
|
|
3 |
Полимерный однокомпонентный клей Uzin MK-73 |
800-1200 гр/м2 |
Применяется для всех пород дерева, кроме экзотических. Наносится зубчатым шпателем толщиной не более 1 мм |
|
Полимерный двухкомпонентный клей Uzin MK-92S |
800-1200 гр/м2 |
Применяется для всех пород дерева, в том числе экзотических. Наносится зубчатым шпателем толщиной не более 1 мм |
|
|
4 |
Грунтовка Uzin PE-317 |
100-200 гр/м2 |
Наносится валиком на очищенную поверхность цементно-песчаной или бетонной стяжки под клей Uzin MK-73 |
|
Грунтовка Uzin PE-420 |
100-200 гр/м2 |
Наносится валиком на очищенную поверхность цементно-песчаной или бетонной стяжки под клей Uzin MK-92S |
|
|
5 |
Бетонное основание из бетона класса В22,5 |
0,10 м3/м2 |
|
|
6 |
Рулонная гидроизоляция |
1,02 м2/м2 |
|
|
7 |
Стяжка из цементно-песча-ного раствора марки M150 |
0,05 м3/м2 |
|
|
8 |
Грунт основания |
|
|

|
Поз |
Наименование |
Расход |
Примечание |
|
1 |
Лаковое покрытие |
|
Конструкции лаковых покрытий и расход материалов приведены в разделе «Основные узлы» |
|
2 |
Паркет штучный, готовый и паркетные доски |
1,02 м2/м2 |
|
|
3 |
Полимерный однокомпонентный клей Uzin MK-73 |
800-1200 гр/м2 |
Применяется для всех пород дерева, кроме экзотических. Наносится зубчатым шпателем толщиной не более 1 мм |
|
|
Полимерный однокомпонентный клей Uzin MK-77 |
800-1200 гр/м2 |
Применяется для готового паркета. Наносится зубчатым шпателем толщиной не более 1 мм |
|
Полимерный двухкомпонентный клей Uzin MK-92S |
800-1200 гр/м2 |
Применяется для всех пород дерева, в том числе экзотических. Наносится зубчатым шпателем толщиной не более 1 мм |
|
|
4 |
Грунтовка Uzin PE-317 |
100-200 гр/м2 |
Наносится валиком на очищенную поверхность цементно-песчаной или бетонной стяжки под клей Uzin MK-73 и Uzin MK-77 |
|
Грунтовка Uzin PE-420 |
100-200 гр/м2 |
Наносится валиком на очищенную поверхность цементно-песчаной или бетонной стяжки под клей Uzin MK-92S |
|
|
5 |
Полимерцементная саморазравнивающаяся стяжка марки Uzin NC-160 |
1,4 кг/м2 |
Наносится шпателем слоем толщиной до 10 мм. Расход - на 1 мм слоя Предел прочности при сжатии после 28 суток выдержки - не менее 35 МПа |
|
Полимерцементная саморазравнивающаяся стяжка марки Uzin NC-170 |
1,4 кг/м2 |
Наносится шпателем слоем толщиной до 10 мм. Расход - на 1 мм слоя Предел прочности при сжатии после 28 суток выдержки - не менее 40 МПа |
|
|
Полимерцементная саморазравнивающаяся стяжка марки Uzin NC-172 |
1,3 кг/м2 |
Наносится шпателем слоем толщиной до 10 мм. Расход - на 1 мм слоя Предел прочности при сжатии после 28 суток выдержки - не менее 45 МПа |
|
|
Полимерцементная саморазравнивающаяся стяжка марки Uzin NC-174 |
1,6 кг/м2 |
Наносится шпателем слоем толщиной до 20 мм. Расход - на 1 мм слоя Предел прочности при сжатии после 28 суток выдержки - не менее 35 МПа |
|
|
Полимерцементная саморазравнивающаяся стяжка марки Uzin NC-195 |
1,6 кг/м2 |
Наносится шпателем слоем толщиной до 40 мм. Расход - на 1 мм слоя Предел прочности при сжатии после 28 суток выдержки - не менее 35 МПа |
|
|
Полимерцементная саморазравнивающаяся стяжка марки Uzin NC-395 |
1,8 кг/м2 |
Наносится шпателем слоем толщиной до 40 мм. Расход - на 1 мм слоя Предел прочности при сжатии после 28 суток выдержки - не менее 35 МПа Стяжка рекомендуется в полах не отапливаемых помещений |
|
|
Стяжка из цементно-песча-ного раствора марки M150 |
0,02 м3/м2 |
|
|
|
Стяжка из бетона В 12,5 |
0,02 м3/м2 |
|
|
|
6 |
Грунтовка Uzin PE-360 |
100-150 гр/м2 |
Наносится валиком на очищенную поверхность бетонного основания под саморазравнивающиеся стяжки |
|
7 |
Бетонное основание из бетона класса В22,5 |
0,08 м3/м2 |
|
|
8 |
Грунт основания |
|
|

|
Поз |
Наименование |
Расход |
Примечание |
|
1 |
Лаковое покрытие |
|
Конструкции лаковых покрытий и расход материалов приведены в разделе «Основные узлы» |
|
2 |
Паркет штучный, готовый и паркетные доски |
1,02 м2/м2 |
|
|
3 |
Полимерный однокомпонентный клей Uzin MK-73 |
800-1200 гр/м2 |
Применяется для всех пород дерева, кроме экзотических. Наносится зубчатым шпателем толщиной не более 1 мм |
|
Полимерный двухкомпонентный клей Uzin MK-92S |
800-1200 гр/м2 |
Применяется для всех пород дерева, в том числе экзотических. Наносится зубчатым шпателем толщиной не более 1 мм |
|
|
Полимерный однокомпонентный клей Uzin MK-77 |
800-1200 гр/м2 |
Применяется для готового паркета. Наносится зубчатым шпателем толщиной не более 1 мм |
|
|
4 |
Грунтовка Uzin PE-317 |
100-200 гр/м2 |
Наносится валиком на очищенную поверхность цементно-песчаной или бетонной стяжки под клей Uzin MK-73 и Uzin MK-77 |
|
Грунтовка Uzin PE-420 |
100-200 гр/м2 |
Наносится валиком на очищенную поверхность цементно-песчаной или бетонной стяжки под клей Uzin MK-92S |
|
|
5 |
Стяжка из цементно-песчаного раствора марки Ml 50 |
|
Расход материала определяется толщиной стяжки, которая должна превышать на 15-20 мм диаметр трубы |
|
Стяжка из бетона В12,5 |
|
Расход материала определяется толщиной стяжки, которая должна превышать на 15-20 мм диаметр трубы |
|
|
Стяжка из цементно-песчаного раствора на основе полимерцемента марки Uzin NC-190 и сухого кварцевого песка фракции 0,2-6,3 мм в соотношении от 1: 4 до 1: 6 |
|
Повышенная скорость набора прочности и пониженное время сушки - не более 24 часов на 1 см толщины стяжки. Предел прочности на сжатие после 28 суток воздушной выдержки в зависимости от соотношения цемент: песок от 40 до 20 МПа. Расход материала определяется толщиной стяжки, которая должна превышать на 15-20 мм диаметр трубы |
|
|
6 |
Трубы |
|
|
|
7 |
Бетонное основание из бетона класса В22,5 |
0,08 м3/м2 |
|
|
8 |
Грунт основания |
|
|

|
Поз |
Наименование |
Расход |
Примечание |
|
1 |
Лаковое покрытие |
|
Конструкции лаковых покрытий и расход материалов приведены в разделе «Основные узлы» |
|
2 |
Паркет штучный, готовый и паркетные доски |
1,02 м2/м2 |
|
|
3 |
Полимерный однокомпонентный клей Uzin MK-73 |
800-1200 гр/м2 |
Применяется для всех пород дерева, кроме экзотических. Наносится зубчатым шпателем толщиной не более 1 мм |
|
|
Полимерный однокомпонентный клей Uzin MK-77 |
800-1200 гр/м2 |
Применяется для готового паркета. Наносится зубчатым шпателем толщиной не более 1 мм |
|
|
Полимерный двухкомпонентный клей Uzin MK-92S |
800-1200 гр/м2 |
Применяется для всех пород дерева, в том числе экзотических. Наносится зубчатым шпателем толщиной не более 1 мм |
|
4 |
Упругая прослойка марки Uzin Multimoll Vlies |
1 м2/ м2 |
|
|
5 |
Грунтовка Uzin PE-317 |
100-200 гр/м2 |
Наносится валиком на очищенную поверхность сборной стяжки под клей Uzin MK-73 и Uzin MK-77 |
|
|
Грунтовка Uzin PE-420 |
100-200 гр/м2 |
Наносится валиком на очищенную поверхность сборной стяжки под клей Uzin MK-92S |
|
6 |
Крупноразмерный лист ГВЛВ КНАУФ |
1,02 м2/м2 |
|
|
7 |
Полимерный двухкомпонентный клей Uzin MK-92S |
800-1200 гр/м2 |
Наносится зубчатым шпателем толщиной не более 1 мм |
|
8 |
Грунтовка Uzin PE-414 |
100-200 гр/м2 |
|
|
9 |
Сборная стяжка из готовых элементов ГВЛВ КНАУФ |
1,02 м2/м2 |
|
|
10 |
Засыпка из кварцевого песка |
По факту |
|
|
11 |
Бетонное основание из бетона класса В22,5 |
0,08 м3/м2 |
|
|
12 |
Грунт основания |
|
|

|
Поз |
Наименование |
Расход |
Примечание |
|
1 |
Лаковое покрытие |
|
Конструкции лаковых покрытий и расход материалов приведены в разделе «Основные узлы» |
|
2 |
Массивная доска |
1,02 м2/м2 |
|
|
3 |
Саморез |
|
|
|
4 |
Полимерный однокомпонентный клей Uzin MK-73 |
600-1000 гр/м2 |
Применяется для всех пород дерева, кроме экзотических. Наносится зубчатым шпателем толщиной не более 1 мм |
|
Полимерный двухкомпонентный клей Uzin MK-92S |
600-1000 гр/м2 |
Применяется для всех пород дерева, в том числе экзотических. Наносится зубчатым шпателем толщиной не более 1 мм |
|
|
Водо-дисперсионный клей Uzin MK-80S |
500-600 гр/м2 |
Применяется для пород дерева, не боящихся воды (дуб и др.), при наклейке массивной доски на шлифованную фанеру. Наносится зубчатым шпателем толщиной не более 1 мм |
|
|
5 |
Сборная стяжка из фанеры |
2,04 м2/м2 |
|
|
6 |
Закрепление шурупами или дюбелями |
|
Шаг между шурупами 300 мм, по кромке листов фанеры - 150 мм |
|
7 |
Грунтовка Uzin PE-317 |
100-200 гр/м2 |
Наносится валиком на очищенную поверхность стяжки под клей Uzin MK-73 |
|
|
Грунтовка Uzin PE-420 |
100-150 гр/м2 |
Наносится валиком на очищенную поверхность стяжки под клей Uzin MK-92S |
|
|
Грунтовка Uzin MK-80S (клей Uzin MK-80S с водой в соотношении 1:1) |
150-200 гр/м2 |
Наносится валиком на очищенную поверхность стяжки под клей Uzin MK-80S |
|
8 |
Полимерцементная саморазравнивающаяся стяжка марки Uzin NC-145 |
1,5 кг/м2 |
Наносится шпателем слоем толщиной до 5 мм. Расход - на 1 мм слоя Предел прочности при сжатии после 28 суток выдержки - не менее 20 МПа |
|
Полимерцементная саморазравнивающаяся стяжка марки Uzin NC-150 |
1,5 кг/м2 |
Наносится шпателем слоем толщиной до 10 мм. Расход - на 1 мм слоя Предел прочности при сжатии после 28 суток выдержки - не менее 27 МПа |
|
|
Полимерцементная саморазравнивающаяся стяжка марки Uzin NC-195 |
1,6 кг/м2 |
Наносится шпателем слоем толщиной до 40 мм. Расход - на 1 мм слоя Предел прочности при сжатии после 28 суток выдержки - не менее 35 МПа |
|
|
Стяжка из цементно-песча-ного раствора марки Ml 50 |
0,02 м3/м2 |
|
|
|
Стяжка из бетона В12,5 |
0,02 м'/м2 |
|
|
|
9 |
Грунтовка Uzin PE-360 |
100-150 гр/м2 |
Наносится валиком на очищенную поверхность бетонного основания под саморазравнивающиеся стяжки |
|
10 |
Бетонное основание из бетона класса В22,5 |
0,08 М3/м2 |
|
|
11 |
Грунт основания |
|
|
|
|
|||

|
Поз |
Наименование |
Расход |
Примечание |
|
1 |
Лаковое покрытие |
|
Конструкции лаковых покрытий и расход материалов приведены в разделе «Основные узлы» |
|
2 |
Наборный паркет из различных пород дерева (паркетный ковёр) |
1,02 м2/м2 |
|
|
3 |
Мелкий гвоздь |
|
|
|
4 |
Полимерный однокомпонентный клей Uzin MK-73 |
600-1000 гр/м2 |
Применяется для всех пород дерева, кроме экзотических. Наносится зубчатым шпателем толщиной не более 1 мм |
|
Полимерный двухкомпонентный клей Uzin MK-92S |
600-1000 гр/м2 |
Применяется для всех пород дерева, в том числе экзотических. Наносится зубчатым шпателем толщиной не более 1 мм |
|
|
Водо-дисперсионный клей Uzin MK-80S |
500-600 гр/м2 |
Применяется для пород дерева, не боящихся воды (дуб и др.), при наклейке массивной доски на шлифованную фанеру. Наносится зубчатым шпателем толщиной не более 1 мм |
|
|
5 |
Сборная стяжка из фанеры |
2,04 м2/м2 |
|
|
6 |
Закрепление шурупами или дюбелями |
|
Шаг между шурупами 300 мм, по кромке листов фанеры - 150 мм |
|
7 |
Грунтовка Uzin PE-317 |
100-200 гр/м2 |
Наносится валиком на очищенную поверхность стяжки под клей Uzin MK-73 |
|
Грунтовка Uzin PE-420 |
100-150 гр/м2 |
Наносится валиком на очищенную поверхность стяжки под клей Uzin MK-92S |
|
|
Грунтовка Uzin MK-80S (клей Uzm MK-80S с водой в соотношении 1:1) |
150-200 гр/м2 |
Наносится валиком на очищенную поверхность стяжки под клей Uzin MK-80S |
|
|
8 |
Полимерцементная саморазравнивающаяся стяжка марки Uzin NC-145 |
1,5 кг/м2 |
Наносится шпателем слоем толщиной до 5 мм. Расход - на 1 мм слоя Предел прочности при сжатии после 28 суток выдержки - не менее 20 МПа |
|
Полимерцементная саморазравнивающаяся стяжка марки Uzin NC-150 |
1,5 кг/м2 |
Наносится шпателем слоем толщиной до 10 мм. Расход - на 1 мм слоя Предел прочности при сжатии после 28 суток выдержки - не менее 27 МПа |
|
|
Полимерцементная саморазравнивающаяся стяжка марки UzinNC-195 |
1,6 кг/м2 |
Наносится шпателем слоем толщиной до 40 мм. Расход - на 1 мм слоя Предел прочности при сжатии после 28 суток выдержки - не менее 35 МПа |
|
|
Стяжка из цементно-песча-ного раствора марки M150 |
0,02 м3/м2 |
|
|
|
Стяжка из бетона В 12,5 |
0,02 м3/м2 |
|
|
|
9 |
Грунтовка Uzm PE-360 |
100-150 гр/м2 |
Наносится валиком на очищенную поверхность бетонного основания под саморазравнивающиеся стяжки |
|
10 |
Бетонное основание из бетона класса В22.5 |
0,08 м3/м2 |
|
|
11 |
Грунт основания |
|
|

|
Поз |
Наименование |
Расход |
Примечание |
|
1 |
Лаковое покрытие |
|
Конструкции лаковых покрытий и расход материалов приведены в разделе «Основные узлы» |
|
2 |
Паркетные доски |
1,02 м2/м2 |
|
|
3 |
Водо-дисперсионный клей Uzin MK-33 |
5-30гр/п.м. |
Применяется для склеивания стыков |
|
4 |
Упругая подложка из плит пробко-резинового гранул-лята марки Uzin RR-188 |
1 м2/м2 |
Выбор типа упругой прослойки и её толщины осуществляется с учётом тепло-физических расчётов по параметру теплоусвоения полов |
|
Упругая подложка из плит пробко-резинового гранул-лята марки Uzin RR-189 Plus. |
1 м2/м2 |
|
|
|
Стандартная пенополи-пропиленовая подложка |
1 м2/м2 |
|
|
|
5 |
Полимерцементная саморазравнивающаяся стяжка марки Uzin NC-145 |
1,5 кг/м2 |
Наносится шпателем слоем толщиной до 5 мм. Расход - на 1 мм слоя Предел прочности при сжатии после 28 суток выдержки - не менее 20 МПа |
|
Полимерцементная саморазравнивающаяся стяжка марки Uzin NC-150 |
1,5 кг/м2 |
Наносится шпателем слоем толщиной до 10 мм. Расход - на 1 мм слоя Предел прочности при сжатии после 28 суток выдержки - не менее 27 МПа |
|
|
Полимерцементная саморазравнивающаяся стяжка марки Uzin NC-195 |
1,6 кг/м2 |
Наносится шпателем слоем толщиной до 40 мм. Расход - на 1 мм слоя Предел прочности при сжатии после 28 суток выдержки - не менее 35 МПа |
|
|
6 |
Грунтовка Uzin PE-360 |
100-150 гр/м2 |
Наносится валиком на очищенную поверхность бетонного основания под саморазравнивающиеся стяжки |
|
7 |
Бетонное основание из бетона класса В22,5 |
0,08 м3/м2 |
|
|
8 |
Грунт основания |
|
|

|
Поз |
Наименование |
Расход |
Примечание |
|
1 |
Лаковое покрытие |
|
Конструкции лаковых покрытий и расход материалов приведены в разделе «Основные узлы» |
|
2 |
Паркет штучный, готовый и паркетные доски |
1,02 м2/м2 |
|
|
3 |
Полимерный однокомпонентный клей Uzin MK-73 |
600-1000 гр/м2 |
Применяется для всех пород дерева, кроме экзотических. Наносится зубчатым шпателем толщиной не более 1 мм |
|
Полимерный двухкомпонентный клей Uzin MK-92S |
600-1000 гр/м2 |
Применяется для всех пород дерева, в том числе экзотических. Наносится зубчатым шпателем толщиной не более 1 мм |
|
|
Водо-дисперсионный клей Uzin MK-80S |
500-600 гр/м2 |
Применяется для пород дерева, не боящихся воды (дуб и др.), при наклейке массивной доски на шлифованную фанеру. Наносится зубчатым шпателем толщиной не более 1мм |
|
|
Полимерный однокомпо-нентный клей Uzin MK-77 |
800-1200 гр/м2 |
Применяется для готового паркета. Наносится зубчатым шпателем толщиной не более 1 мм |
|
|
4 |
Сборная стяжка из фанеры |
2,04 м2/м2 |
Первый слой фанеры крепится к каждой лаге шурупами или саморезами с шагом 1 50 мм. Второй слой фанеры крепится к первому слою также шурупами или саморезами. Шаг между шурупами 300 мм, по кромке листов фанеры - 150 мм |
|
5 |
Лага регулируемая |
|
|
|
6 |
Болт-стойка |
|
|
|
7 |
Пароизоляция - полиэтиленовая плёнка |
1,15 м2/м2 |
|
|
8 |
Бетонное основание из бетона класса В22.5 |
0,08 м3/м2 |
|
|
9 |
Грунт основания |
|
|

|
Поз |
Наименование |
Расход |
Примечание |
|
1 |
Лаковое покрытие |
|
Конструкции лаковых покрытий и расход материалов приведены в разделе «Основные узлы» |
|
2 |
Паркет штучный, готовый и паркетные доски |
1,02 м2/м2 |
|
|
3 |
Полимерный однокомпонентный клей Uzin MK-73 |
600-1000 гр/м2 |
Применяется для всех пород дерева, кроме экзотических. Наносится зубчатым шпателем толщиной не более 1 мм |
|
Полимерный двухкомпонентный клей Uzin MK-92S |
600-1000 гр/м2 |
Применяется для всех пород дерева, в том числе экзотических. Наносится зубчатым шпателем толщиной не более 1 мм |
|
|
Полимерный однокомпонентный клей Uzin MK-77 |
800-1200 гр/м2 |
Применяется для готового паркета. Наносится зубчатым шпателем толщиной не более 1 мм |
|
|
Водо-дисперсионный клей Uzin MK-80S |
500-600 гр/м2 |
Применяется для пород дерева, не боящихся воды (дуб и др.), при наклейке массивной доски на шлифованную фанеру. Наносится зубчатым шпателем толщиной не более 1 мм |
|
|
4 |
Сборная стяжка из фанеры |
1,02 м2/м2 |
|
|
5 |
Закрепление шурупами или саморезами |
|
Шурупы или саморезы располагаются по периметру листа фанеры с шагом не более 150 мм |
|
6 |
Черновой деревянный пол |
0,037 М3/м2 |
|
|
7 |
Гвоздь К4×100 |
|
Прибить каждую доску чернового пола к каждой лаге |
|
8 |
Лага |
0,005 м3/м2 |
|
|
9 |
Деревянная прокладка |
0,0006 м3/столбик |
|
|
10 |
Рулонная гидроизоляция |
0,05 м3/столбик |
|
|
11 |
Кирпичный или бетонный столбик |
0,0017 м3/столбик |
|
|
12 |
Бетонное основание из бетона класса В22,5 |
0,08 м3/м2 |
|
|
13 |
Грунт основания |
|
|

|
Поз |
Наименование |
Расход |
Примечание |
|
1 |
Лаковое покрытие |
|
Конструкции лаковых покрытий и расход материалов приведены в разделе «Основные узлы» |
|
2 |
Паркет штучный, готовый и паркетные доски |
1,02 м2/м2 |
|
|
3 |
Полимерный однокомпонентный клей Uzin MK-73 |
600-1000 гр/м2 |
Применяется для всех пород дерева, кроме экзотических. Наносится зубчатым шпателем толщиной не более 1 мм |
|
Полимерный двухкомпонентный клей Uzin MK-92S |
600-1000 гр/м2 |
Применяется для всех пород дерева, в том числе экзотических. Наносится зубчатым шпателем толщиной не более 1 мм |
|
|
Водо-дисперсионный клей Uzin MK-80S |
500-600 гр/м2 |
Применяется для пород дерева, не боящихся воды (дуб и др.), при наклейке массивной доски на шлифованную фанеру. Наносится зубчатым шпателем толщиной не более 1 мм |
|
|
Полимерный однокомпонентный клей Uzin MK-77 |
800-1200 гр/м2 |
Применяется для готового паркета. Наносится зубчатым шпателем толщиной не более 1 мм |
|
|
4 |
Сборная стяжка из фанеры |
1,02 м2/м2 |
|
|
5 |
Закрепление шурупами или саморезами |
|
Шурупы или саморезы располагаются по периметру листа фанеры с шагом не более 150 мм |
|
6 |
Черновой деревянный пол |
0,037 м3/м2 |
|
|
7 |
Гвоздь К4×100 |
|
Прибить каждую доску чернового пола к каждой лаге |
|
8 |
Лага |
0,005 м3/м2 |
|
|
9 |
Деревянная прокладка |
0,0006 м3/столбик |
|
|
10 |
Рулонная гидроизоляция |
0,05 м2/столбик |
|
|
11 |
Кирпичный или бетонный столбик |
0,0035 м3/столбик |
|
|
12 |
Грунт основания |
|
|

|
Поз |
Наименование |
Расход |
Примечание |
|
1 |
Лаковое покрытие |
|
Конструкции лаковых покрытий и расход материалов приведены в разделе «Основные узлы» |
|
2 |
Паркет штучный |
1,02 м2/м2 |
|
|
3 |
Полимерный однокомпонентный клей Uzin MK-73 |
800-1200 гр/м2 |
Применяется для всех пород дерева, кроме экзотических. Наносится зубчатым шпателем толщиной не более 1 мм |
|
Полимерный двухкомпонентный клей Uzin MK-92S |
800-1200 гр/м2 |
Применяется для всех пород дерева, в том числе экзотических. Наносится зубчатым шпателем толщиной не более 1 мм |
|
|
4 |
Грунтовка Uzin РЕ-317 |
100-200 гр/м2 |
Наносится валиком на очищенную поверхность цементно-песчаной или бетонной стяжки под клей Uzin MK-73 |
|
Грунтовка Uzin РЕ-420 |
100-200 гр/м2 |
Наносится валиком на очищенную поверхность цементно-песчаной или бетонной стяжки под клей Uzin MK-92S |
|
|
5 |
Сплошное железобетонное междуэтажное перекрытие с ровной поверхностью |
|
|

|
Поз |
Наименование |
Расход |
Примечание |
|
1 |
Лаковое покрытие |
|
Конструкции лаковых покрытий и расход материалов приведены в разделе «Основные узлы» |
|
2 |
Паркет штучный, готовый и паркетные доски |
1,02 м2/м2 |
|
|
3 |
Полимерный однокомпонентный клей Uzin MK-73 |
800-1200 гр/м2 |
Применяется для всех пород дерева, кроме экзотических. Наносится зубчатым шпателем толщиной не более 1 мм |
|
|
Полимерный двухкомпонентный клей Uzin MK-92S |
800-1200 гр/м2 |
Применяется для всех пород дерева, в том числе экзотических. Наносится зубчатым шпателем толщиной не более 1 мм |
|
Полимерный однокомпо-нентный клей Uzin MK-77 |
800-1200 гр/м2 |
Применяется для готового паркета. Наносится зубчатым шпателем толщиной не более 1 мм |
|
|
4 |
Грунтовка Uzin PE-317 |
100-200 гр/м2 |
Наносится валиком на очищенную поверхность цементно-песчаной или бетонной стяжки под клей Uzin MK-73 и Uzin MK-77 |
|
Грунтовка Uzin PE-420 |
100-200 гр/м2 |
Наносится валиком на очищенную поверхность цементно-песчаной или бетонной стяжки под клей Uzin MK-92S |
|
|
Полимерцементная само-разравнивающаяся стяжка марки Uzin NC-160 |
1,4 кг/м2 |
Наносится шпателем слоем толщиной до 10 мм. Расход - на 1 мм слоя Предел прочности при сжатии после 28 суток выдержки - не менее 35 МПа |
|
|
Полимерцементная саморазравнивающаяся стяжка марки Uzin NC-170 |
1,4 кг/м2 |
Наносится шпателем слоем толщиной до 10 мм. Расход - на 1 мм слоя Предел прочности при сжатии после 28 суток выдержки - не менее 40 МПа |
|
|
Полимерцементная саморазравнивающаяся стяжка марки UzinNC-172 |
1,3 кг/м2 |
Наносится шпателем слоем толщиной до 10 мм. Расход - на 1 мм слоя Предел прочности при сжатии после 28 суток выдержки - не менее 45 МПа |
|
|
Полимерцементная саморазравнивающаяся стяжка марки Uzin NC-174 |
1,6 кг/м2 |
Наносится шпателем слоем толщиной до 20 мм. Расход - на 1 мм слоя Предел прочности при сжатии после 28 суток выдержки - не менее 35 МПа |
|
|
Полимерцементная саморазравнивающаяся стяжка марки Uzin NC-195 |
1,6 кг/м2 |
Наносится шпателем слоем толщиной до 40 мм. Расход - на 1 мм слоя Предел прочности при сжатии после 28 суток выдержки - не менее 35 МПа |
|
|
Полимерцементная саморазравнивающаяся стяжка марки Uzin NC-395 |
1,8 кг/м2 |
Наносится шпателем слоем толщиной до 40 мм. Расход - на 1 мм слоя Предел прочности при сжатии после 28 суток выдержки - не менее 35 МПа Стяжка рекомендуется в полах не отапливаемых помещений |
|
|
Стяжка из цементно-песча-ного раствора марки Ml 50 |
0,02 м3/м2 |
|
|
|
Стяжка из бетона В 12,5 |
0,02 м3/м2 |
|
|
|
6 |
Грунтовка Uzin PE-360 |
100-150 гр/м2 |
Наносится валиком на очищенную поверхность бетонного основания под саморазравнивающиеся стяжки |
|
7 |
Сплошное железобетонное междуэтажное перекрытие с неровной поверхностью |
|
|

|
Поз |
Наименование |
Расход |
Примечание |
|
1 |
Лаковое покрытие |
|
Конструкции лаковых покрытий и расход материалов приведены в разделе «Основные узлы» |
|
2 |
Паркет штучный, готовый и паркетные доски |
1,02 м2/м2 |
|
|
3 |
Полимерный однокомпонентный клей Uzin MK-73 Полимерный двухкомпонентный клей Uzin MK-92S Полимерный однокомпонентный клей Uzin MK-77 |
800-1200 гр/м2
|
Применяется для всех пород дерева, кроме экзотических. Наносится зубчатым шпателем толщиной не более 1 мм. Применяется для всех пород дерева, в том числе экзотических. Наносится зубчатым шпателем толщиной не более 1 мм. Применяется для готового паркета. Наносится зубчатым шпателем толщиной не более 1 мм |
|
4 |
Грунтовка Uzin PE-317 |
100-200 гр/м2 |
Наносится валиком на очищенную поверхность цементно-песчаной или бетонной стяжки под клей Uzin MK-73 и Uzin MK-77 |
|
|
Грунтовка Uzin PE-420 |
100-200 гр/м2 |
Наносится валиком на очищенную поверхность цементно-песчаной или бетонной стяжки под клей Uzin MK-92S |
|
5 |
Стяжка из цементно-песча-ного раствора марки Ml50 |
0,04 м3/м2 |
|
|
|
Стяжка из бетона В 12,5 |
0,04 м3/м2 |
|
|
|
Стяжка из цементно-песча-ного раствора на основе по-лимерцемента марки Uzin NC-190 и сухого кварцевого песка фракции 0,2-6,3 мм в соотношении от 1: 4 до 1: 6 |
0,04 м3/м2 |
Повышенная скорость набора прочности и пониженное время сушки - не более 24 часов на 1 см толщины стяжки Предел прочности при сжатии после 28 суток выдержки в зависимости от соотношения от 40 до 20 МПа. |
|
|
Полимерцементная саморазравнивающаяся стяжка марки Uzin NC-195 |
1,6 кг/м2 |
Наносится шпателем слоем толщиной до 40 мм. Расход - на 1 мм слоя Предел прочности при сжатии после 28 суток выдержки - не менее 35 МПа |
|
|
Полимерцементная саморазравнивающаяся стяжка марки Uzin NC-395 |
1,8 кг/м2 |
Наносится шпателем слоем толщиной до 40 мм. Расход - на 1 мм слоя Предел прочности при сжатии после 28 суток выдержки - не менее 35 МПа Стяжка рекомендуется в полах не отапливаемых помещениях |
|
6 |
Тепло-звукоизоляция из кварцевого или керамзитового песка |
|
Толщина слоя и расход материалов назначаются в соответствии с расчетами по параметрам тепло- и звукоизоляции |
|
7 |
Многопустотное железобетонное междуэтажное перекрытие с неровной поверхностью |
|
|

|
Поз |
Наименование |
Расход |
Примечание |
|
1 |
Лаковое покрытие |
|
Конструкции лаковых покрытий и расход материалов приведены в разделе «Основные узлы» |
|
2 |
Паркет штучный, готовый и паркетные доски |
1,02 м2/м2 |
|
|
3 |
Полимерный однокомпонентный клей Uzin MK-73 Полимерный
двухкомпонентный клей Uzin MK-92S |
800-1200 гр/м2
800-1200 гр/м2
800-1200 гр/м2 |
Применяется для всех пород дерева, кроме экзотических. Наносится зубчатым шпателем толщиной не более 1 мм Применяется для всех пород дерева, в том числе экзотических. Наносится зубчатым шпателем толщиной не более 1 мм Применяется для готового паркета. Наносится зубчатым шпателем толщиной не более 1 мм |
|
4 |
Грунтовка Uzin PE-317 |
100-200 гр/м2 |
Наносится валиком на очищенную поверхность цементно-песчаной или бетонной стяжки под клей Uzin MK-73 и Uzin MK-77 |
|
|
Грунтовка Uzin PE-420 |
100-200 гр/м2 |
Наносится валиком на очищенную поверхность цементно-песчаной или бетонной стяжки под клей Uzin MK-92S |
|
5 |
Стяжка из
цементно-песча-ного раствора марки M150 |
0,04 м3/м2
0,04 м3/м2 |
|
|
|
Стяжка из цементно-песча-ного раствора на основе по-лимерцемента марки Uzin NC-190 и сухого кварцевого песка фракции 0,2-6,3 мм в соотношении от 1: 4 до 1: 6 |
0,04 м3/м2 |
Повышенная скорость набора прочности и пониженное время сушки - не более 24 часов на 1 см толщины стяжки Предел прочности при сжатии после 28 суток выдержки в зависимости от соотношения от 40 до 20 МПа. |
|
|
Полимерцементная саморазравнивающаяся стяжка марки Uzin NC-195 |
1,6кг/м2 |
Наносится шпателем слоем толщиной до 40 мм. Расход - на 1 мм слоя Предел прочности при сжатии после 28 суток выдержки - не менее 35 МПа |
|
|
Полимерцементная саморазравнивающаяся стяжка марки Uzin NC-395 |
1,8 кг/м2 |
Наносится шпателем слоем толщиной до 40 мм. Расход - на 1 мм слоя Предел прочности при сжатии после 28 суток выдержки - не менее 35 МПа Стяжка рекомендуется в полах не отапливаемых помещений |
|
6 |
Тепло-звукоизоляция из плит или матов |
|
Толщина слоя и расход материалов назначаются в соответствии с расчётами по параметрам тепло- и звукоизоляции |
|
7 |
Сплошное железобетонное междуэтажное перекрытие с неровной поверхностью |
|
|

|
Поз |
Наименование |
Расход |
Примечание |
|
1 |
Лаковое покрытие |
|
Конструкции лаковых покрытий и расход материалов приведены в разделе «Основные узлы» |
|
2 |
Паркет штучный, готовый и паркетные доски |
1,02 м2/м2 |
|
|
3 |
Полимерный однокомпонентный клей Uzin MK-73 |
800-1200 гр/м2 |
Применяется для всех пород дерева, кроме экзотических. Наносится зубчатым шпателем толщиной не более 1 мм |
|
Полимерный однокомпонентный клей Uzin MK-77 |
800-1200 гр/м2 |
Применяется для готового паркета. Наносится зубчатым шпателем толщиной не более 1 мм |
|
|
Полимерный двухкомпонентный клей Uzin MK-92S |
800-1200 гр/м2 |
Применяется для всех пород дерева, в том числе экзотических. Наносится зубчатым шпателем толщиной не более 1 мм |
|
|
4 |
Упругая прослойка марки Uzin Multimoll Vlies |
1 м2/м2 |
|
|
5 |
Грунтовка Uzin PE-317 |
100-200 гр/м2 |
Наносится валиком на очищенную поверхность сборной стяжки под клей Uzin MK-73 и Uzin MK-77 |
|
Грунтовка Uzin PE-420 |
100-200 гр/м2 |
Наносится валиком на очищенную поверхность сборной стяжки под клей Uzin МК-92S |
|
|
6 |
Крупноразмерный лист ГВЛВ КНАУФ |
1,02 м2/м2 |
|
|
7 |
Полимерный двухкомпонентный клей Uzin MK-92S |
800-1200 гр/м2 |
Наносится зубчатым шпателем толщиной не более 1 мм |
|
8 |
Грунтовка Uzin PE-414 |
100-200 гр/м2 |
|
|
9 |
Сборная стяжка из готовых элементов ГВЛВ КНАУФ |
1,02 м2/м2 |
|
|
10 |
Засыпка из кварцевого песка |
По факту |
|
|
11 |
Сплошное железобетонное междуэтажное перекрытие с неровной поверхностью |
|
|

|
Поз |
Наименование |
Расход |
Примечание |
|
1 |
Лаковое покрытие |
|
Конструкции лаковых покрытий и расход материалов приведены в разделе «Основные узлы» |
|
2 |
Паркет штучный, готовый и паркетные доски |
1,02 м2/м2 |
|
|
3 |
Полимерный однокомпонентный клей Uzin MK-73 |
800-1200 гр/м2 |
Применяется для всех пород дерева, кроме экзотических. Наносится зубчатым шпателем толщиной не более 1 мм |
|
|
Полимерный однокомпонентный клей Uzin MK-77 |
800-1200 гр/м2 |
Применяется для готового паркета. Наносится зубчатым шпателем толщиной не более 1 мм |
|
|
Полимерный двухкомпонентный клей Uzin MK-92S |
800-1200 гр/м2 |
Применяется для всех пород дерева, в том числе экзотических. Наносится зубчатым шпателем толщиной не более 1 мм |
|
4 |
Упругая прослойка марки Uzin Multimoll Vlies |
1 м2/м2 |
|
|
5 |
Грунтовка Uzin PE-317 |
100-200 гр/м2 |
Наносится валиком на очищенную поверхность сборной стяжки под клей Uzin MK-73 и Uzin MK-77 |
|
|
Грунтовка Uzin PE-420 |
100-200 гр/м2 |
Наносится валиком на очищенную поверхность сборной стяжки под клей Uzin МК-92S |
|
6 |
Крупноразмерный лист ГВЛВ КНАУФ |
1,02 м2/м2 |
|
|
7 |
Полимерный двухкомпонентный клей Uzin MK-92S |
800-1200 гр/м2 |
Наносится зубчатым шпателем толщиной не более 1 мм |
|
8 |
Грунтовка Uzin PE-414 |
100-200 гр/м2 |
|
|
9 |
Сборная стяжка из готовых элементов ГВЛВ КНАУФ |
1,02 м2/м2 |
|
|
10 |
Тепло-звукоизоляция из кварцевого или керамзитового песка |
|
Толщина слоя и расход материалов назначаются в соответствии с расчетами по параметрам тепло- и звукоизоляции |
|
11 |
Сплошное железобетонное междуэтажное перекрытие с неровной поверхностью |
|
|

|
Поз |
Наименование |
Расход |
Примечание |
|
1 |
Лаковое покрытие |
|
Конструкции лаковых покрытий и расход материалов приведены в разделе «Основные узлы» |
|
2 |
Паркет штучный, готовый и паркетные доски |
1,02 м2/м2 |
|
|
3 |
Полимерный однокомпонентный клей Uzin MK-73 |
800-1200 гр/м2 |
Применяется для всех пород дерева, кроме экзотических. Наносится зубчатым шпателем толщиной не более 1 мм |
|
Полимерный однокомпонентный клей Uzin MK-77 |
800-1200 гр/м2 |
Применяется для готового паркета. Наносится зубчатым шпателем толщиной не более 1 мм |
|
|
Полимерный двухкомпонентный клей Uzin MK-92S |
800-1200 гр/м2 |
Применяется для всех пород дерева, в том числе экзотических. Наносится зубчатым шпателем толщиной не более 1 мм |
|
|
4 |
Упругая прослойка марки Uzin Multimoll Vlies |
1 м2/м2 |
|
|
5 |
Грунтовка Uzin PE-317 |
100-200 гр/м2 |
Наносится валиком на очищенную поверхность сборной стяжки под клей Uzin MK-73 и Uzin MK-77 |
|
Грунтовка Uzin PE-420 |
100-200 гр/м2 |
Наносится валиком на очищенную поверхность сборной стяжки под клей Uzin МК-92S |
|
|
6 |
Крупноразмерный лист ГВЛВ КНАУФ |
1,02 м2/м2 |
|
|
7 |
Полимерный двухкомпонентный клей Uzin MK-92S |
800-1200 гр/м2 |
Наносится зубчатым шпателем толщиной не более 1 мм |
|
8 |
Грунтовка Uzin PE-414 |
100-200 гр/м2 |
|
|
9 |
Сборная стяжка из готовых элементов ГВЛВ КНАУФ |
1,02 м2/м2 |
|
|
10 |
Тепло-звукоизоляция из плит или матов |
|
Толщина слоя и расход материалов назначаются в соответствии с расчётами по параметрам тепло- и звукоизоляции |
|
11 |
Сплошное железобетонное междуэтажное перекрытие с неровной поверхностью |
|
|

|
Поз |
Наименование |
Расход |
Примечание |
|
1 |
Лаковое покрытие |
|
Конструкции лаковых покрытий и расход материалов приведены в разделе «Основные узлы» |
|
2 |
Паркет штучный, готовый и паркетные доски |
1,02 м2/м2 |
|
|
3 |
Полимерный однокомпонентный клей Uzin MK-73 |
800-1200 гр/м2 |
Применяется для всех пород дерева, кроме экзотических. Наносится зубчатым шпателем толщиной не более 1 мм |
|
Полимерный двухкомпонентный клей Uzin MK-92S |
800-1200 гр/м2 |
Применяется для всех пород дерева, в том числе экзотических. Наносится зубчатым шпателем толщиной не более 1 мм |
|
|
Полимерный однокомпонентный клей Uzin MK-77 |
800-1200 гр/м2 |
Применяется для готового паркета. Наносится зубчатым шпателем толщиной не более 1 мм |
|
|
4 |
Грунтовка Uzin PE-317 |
100-200 гр/м2 |
Наносится валиком на очищенную поверхность цементно-песчаной или бетонной стяжки под клей Uzin MK-73 и Uzin MK-77 |
|
Грунтовка Uzin РЕ-420 |
100-200 гр/м2 |
Наносится валиком на очищенную поверхность цементно-песчаной или бетонной стяжки под клей Uzin MK-92S |
|
|
5 |
Сборная стяжка из древесноволокнистых плит |
|
Толщина слоя и расход материалов назначаются в соответствии с расчетами по параметрам тепло- и звукоизоляции |
|
|
Полимерцементная саморазравнивающаяся стяжка марки Uzin NC-145 |
1,5 кг/м2 |
Наносится шпателем слоем толщиной до 5 мм. Расход - на 1 мм слоя Предел прочности при сжатии после 28 суток выдержки - не менее 20 МПа |
|
Полимерцементная саморазравнивающаяся стяжка марки UzinNC-150 |
1,5 кг/м2 |
Наносится шпателем слоем толщиной до 10 мм. Расход - на 1 мм слоя Предел прочности при сжатии после 28 суток выдержки - не менее 27 МПа |
|
|
Полимерцементная саморазравнивающаяся стяжка марки Uzin NC-395 |
1,8 кг/м2 |
Наносится шпателем слоем толщиной до 40 мм. Расход - на 1 мм слоя Предел прочности при сжатии после 28 суток выдержки - не менее 35 МПа Стяжка рекомендуется в полах не отапливаемых помещений |
|
|
Стяжка из цементно-песчаного раствора марки Ml50 |
0,02 м3/м2 |
|
|
|
Стяжка из бетона В 12,5 |
0,02 м3/м2 |
|
|
|
7 |
Грунтовка Uzin PE-360 |
100-150 гр/м2 |
Наносится валиком на очищенную поверхность бетонного основания под саморазравнивающиеся стяжки |
|
8 |
Сплошное железобетонное междуэтажное перекрытие с неровной поверхностью |
|
|

|
Поз |
Наименование |
Расход |
Примечание |
|
1 |
Лаковое покрытие |
|
Конструкции лаковых покрытий и расход материалов приведены в разделе «Основные узлы» |
|
2 |
Паркет штучный, готовый и паркетные доски |
1,02 м2/м2 |
|
|
3 |
Полимерный однокомпонентный клей Uzin MK-73 |
600-1000 гр/м2 |
Применяется для всех пород дерева, кроме экзотических. Наносится зубчатым шпателем толщиной не более 1 мм |
|
|
Полимерный двухкомпонентный клей Uzin MK-92S |
600-1000 гр/м2 |
Применяется для всех пород дерева, в том числе экзотических. Наносится зубчатым шпателем толщиной не более 1 мм |
|
|
Водо-дисперсионный клей Uzin MK-80S |
500-600 гр/м2 |
Применяется для пород дерева, не боящихся воды (дуб и др.). при наклейке массивной доски на шлифованную фанеру. Наносится зубчатым шпателем толщиной не более 1 мм |
|
4 |
Сборная стяжка из фанеры |
2,04 м2/м2 |
Толщина слоя и расход материалов назначаются в соответствии с расчётами по параметрам тепло- и звукоизоляции |
|
5 |
Закрепление шурупами или дюбелями |
|
Шаг между шурупами 300 мм, по кромке листов фанеры - 150 мм |
|
6 |
Грунтовка Uzin PE-317 |
100-200 гр/м2 |
Наносится валиком на очищенную поверхность стяжки под клей Uzin MK-73 |
|
|
Грунтовка Uzin PE-420 |
100-150 гр/м2 |
Наносится валиком на очищенную поверхность стяжки под клей Uzin MK-92S |
|
|
Грунтовка Uzin MK-80S (клей Uzin MK-80S с водой в соотношении 1:1) |
150-200 гр/м2 |
Наносится валиком на очищенную поверхность стяжки под клей Uzin MK-80S |
|
7 |
Полимерцементная саморазравнивающаяся стяжка марки Uzin NC-145 |
1,5 кг/м2 |
Наносится шпателем слоем толщиной до 5 мм. Расход - на 1 мм слоя Предел прочности при сжатии после 28 суток выдержки - не менее 20 Мпа |
|
Полимерцементная саморазравнивающаяся стяжка марки Uzin NC-150 |
1,5 кг/м2 |
Наносится шпателем слоем толщиной до 10 мм. Расход - на 1 мм слоя Предел прочности при сжатии после 28 суток выдержки - не менее 27 Мпа |
|
|
Полимерцементная саморазравнивающаяся стяжка марки Uzin NC-195 |
1,6 кг/м2 |
Наносится зубчатым шпателем слоем толщиной до 40 мм. Расход - на 1 мм слоя Предел прочности при сжатии после 28 суток выдержки - не менее 35 МПа |
|
|
Стяжка из цементно-песча-ного раствора марки М150 |
0,02 м3/м2 |
|
|
|
Стяжка из бетона В12,5 |
0,02 м3/м2 |
|
|
|
8 |
Грунтовка Uzin PE-36O |
100-150 гр/м2 |
Наносится валиком на очищенную поверхность бетонного основания под саморазравнивающиеся стяжки |
|
9 |
Сплошное железобетонное междуэтажное перекрытие с неровной поверхностью |
|
|

|
Поз |
Наименование |
Расход |
Примечание |
|
1 |
Лаковое покрытие |
|
Конструкции лаковых покрытий и расход материалов приведены в разделе «Основные узлы» |
|
2 |
Массивная доска |
1,02 м2/м2 |
|
|
3 |
Саморез |
|
|
|
4 |
Полимерный однокомпонентный клей Uzin MK-73 |
600-1000 гр/м2 |
Применяется для всех пород дерева, кроме экзотических. Наносится зубчатым шпателем толщиной не более 1 мм |
|
Полимерный двухкомпонентный клей Uzin MK-92S |
600-1000 гр/м2 |
Применяется для всех пород дерева, в том числе экзотических. Наносится зубчатым шпателем толщиной не более 1 мм |
|
|
Водо-дисперсионный клей Uzin MK-80S |
500-600 гр/м2 |
Применяется для пород дерева, не боящихся воды (дуб и др.), при наклейке массивной доски на шлифованную фанеру. Наносится зубчатым шпателем толщиной не более 1 мм |
|
|
5 |
Сборная стяжка из фанеры |
2,04 м2/м2 |
|
|
6 |
Закрепление шурупами или дюбелями |
|
Шурупы или саморезы располагаются по периметру листа фанеры с шагом не более 150 мм |
|
7 |
Грунтовка Uzin PE-317 |
100-200 гр/м2 |
Наносится валиком на очищенную поверхность стяжки под клей Uzin MK-73 |
|
Грунтовка Uzin PE-420 |
100-150 гр/м2 |
Наносится валиком на очищенную поверхность стяжки под клей Uzin MK-92S |
|
|
Грунтовка Uzin MK-80S (клей Uzin MK-80S с водой в соотношении 1:1) |
150-200 гр/м2 |
Наносится валиком на очищенную поверхность стяжки под клей Uzin MK-80S |
|
|
8 |
Стяжка из цементно-песчаного раствора марки M150 |
0,04 м3/м2 |
|
|
Стяжка из бетона В 12,5 |
0,04 м3/м2 |
|
|
|
Стяжка из цементно-песчаного раствора на основе полимерцемента марки Uzin NC-190 и сухого кварцевого песка фракции 0,2-6,3 мм в соотношении от 1:4 до 1:6 |
0,04 м3/м2 |
Повышенная скорость набора прочности и пониженное время сушки - не более 24 часов на 1 см толщины стяжки Предел прочности при сжатии после 28 суток выдержки в зависимости от соотношения от 40 до 20 МПа. |
|
|
Полимерцементная саморазравнивающаяся стяжка марки Uzin NC-I95 |
1,6кг/м2 |
Наносится зубчатым шпателем слоем толщиной до 40 мм. Расход - на 1 мм слоя Предел прочности при сжатии после 28 суток выдержки - не менее 35 МПа |
|
|
9 |
Тепло-звукоизоляция из плит или матов |
|
Толщина слоя и расход материалов назначаются в соответствии с расчетами по параметрам тепло- и звукоизоляции |
|
10 |
Сплошное железобетонное междуэтажное перекрытие с неровной поверхностью |
|
|

|
Поз |
Наименование |
Расход |
Примечание |
|
1 |
Лаковое покрытие |
|
Конструкции лаковых покрытий и расход материалов приведены в разделе «Основные узлы» |
|
2 |
Наборный паркет из различных пород дерева (паркетный ковёр) |
1,02 м2/м2 |
|
|
3 |
Мелкий гвоздь |
|
|
|
4 |
Полимерный однокомпонентный клей Uzin MK-73 |
600-1000 гр/м2 |
Применяется для всех пород дерева, кроме экзотических. Наносится зубчатым шпателем толщиной не более 1 мм |
|
Полимерный двухкомпонентный клей Uzin MK-92S |
600-1000 гр/м2 |
Применяется для всех пород дерева, в том числе экзотических. Наносится зубчатым шпателем толщиной не более 1 мм |
|
|
Водо-дисперсионный клей Uzin MK-80S |
500-600 гр/м2 |
Применяется для пород дерева, не боящихся воды (дуб и др.), при наклейке массивной доски на шлифованную фанеру. Наносится зубчатым шпателем толщиной не более 1 мм |
|
|
5 |
Сборная стяжка из фанеры |
2,04 м2/м2 |
|
|
6 |
Закрепление шурупами или дюбелями |
|
Шаг между шурупами 300 мм, по кромке листов фанеры - 150 мм |
|
7 |
Грунтовка Uzin PE-317 |
100-200 гр/м2 |
Наносится валиком на очищенную поверхность стяжки под клей Uzm MK-73 |
|
|
Грунтовка Uzin PE-420 |
100-150 гр/м2 |
Наносится валиком на очищенную поверхность стяжки под клей Uzin MK-92S |
|
|
Грунтовка Uzin MK-80S (клей Uzin MK-80S с водой в соотношении 1:1) |
150-200 гр/м2 |
Наносится валиком на очищенную поверхность стяжки под клей Uzin MK-80S |
|
8 |
Стяжка из цементно-песча-ного раствора марки М150 |
0,04 м3/м2 |
|
|
Стяжка из бетона В12,5 |
0,04 м3/м2 |
|
|
|
Стяжка из цементно-песчаного раствора на основе полимерцемента марки Uzin NC-190 и сухого кварцевого песка фракции 0,2-6,3 мм в соотношении от 1: 4 до 1: 6 |
0,04 м3/м2 |
Повышенная скорость набора прочности и пониженное время сушки - не более 24 часов на 1 см толщины стяжки Предел прочности при сжатии после 28 суток выдержки в зависимости от соотношения от 40 до 20 МПа. |
|
|
Полимерцементная саморазравнивающаяся стяжка марки Uzin NC-195 |
1,6 кг/м2 |
Наносится зубчатым шпателем слоем толщиной до 40 мм. Расход - на 1 мм слоя Предел прочности при сжатии после 28 суток выдержки - не менее 35 МПа |
|
|
9 |
Тепло-звукоизоляция из плит или матов |
|
Толщина слоя и расход материалов назначаются в соответствии с расчётами по параметрам тепло- и звукоизоляции |
|
10 |
Сплошное железобетонное междуэтажное перекрытие с неровной поверхностью |
|
|

|
Поз |
Наименование |
Расход |
Примечание |
|
1 |
Лаковое покрытие |
|
Конструкции лаковых покрытий и расход материалов приведены в разделе «Основные узлы» |
|
2 |
Паркетные доски |
1,02 м2/м2 |
|
|
3 |
Водо-дисперсионный клей Uzin MK-33 |
5-30 гр/п.м. |
Применяется для склеивания стыков |
|
4 |
Упругая подложка из плит пробкорезинового гранул-лята марки Uzin RR-188 |
1 м /м |
Выбор типа упругой прослойки и ее толщины осуществляется с учётом теплофизических расчётов по параметрам теплоусвоения и звукоизоляции полов |
|
Упругая подложка из плит пробкорезинового гранул-лята марки Uzin RR-1 89 Plus |
1 м2/м2 |
||
|
Стандартная пенополипропиленовая подложка |
1 м2/м2 |
||
|
5 |
Полимерцементная саморазравнивающаяся стяжка марки Uzin NC-145 |
1,5 кг/м2 |
Наносится шпателем слоем толщиной до 5 мм. Расход - на 1 мм слоя Предел прочности при сжатии после 28 суток выдержки - не менее 20 МПа |
|
Полимерцементная саморазравнивающаяся стяжка марки Uzin NC-150 |
1,5 кг/м2 |
Наносится шпателем слоем толщиной до 10 мм. Расход - на 1 мм слоя Предел прочности при сжатии после 28 суток выдержки - не менее 27 МПа |
|
|
Полимерцементная саморазравнивающаяся стяжка марки Uzin NC-195 |
1,6 кг/м2 |
Наносится шпателем слоем толщиной до 40 мм. Расход - на 1 мм слоя Предел прочности при сжатии после 28 суток выдержки - не менее 35 МПа |
|
|
6 |
Грунтовка Uzm PE-360 |
100-150 гр/м2 |
Наносится валиком на очищенную поверхность бетонного основания под саморазравнивающиеся стяжки |
|
7 |
Сплошное железобетонное междуэтажное перекрытие с неровной поверхностью |
0,08 м3/м2 |
|

|
Поз |
Наименование |
Расход |
Примечание |
|
1 |
Лаковое покрытие |
|
Конструкции лаковых покрытий и расход материалов приведены в разделе «Основные узлы» |
|
2 |
Паркет штучный, готовый и паркетные доски |
1,02 м2/м2 |
|
|
3 |
Полимерный однокомпонентный клей Uzin MK-73 |
600-1000 гр/м2 |
Применяется для всех пород дерева, кроме экзотических. Наносится зубчатым шпателем толщиной не более 1 мм |
|
Полимерный двухкомпонентный клей Uzin MK-92S |
600-1000 гр/м2 |
Применяется для всех пород дерева, в том числе экзотических. Наносится зубчатым шпателем толщиной не более 1 мм |
|
|
Водо-дисперсионный клей Uzin MK-80S |
500-600 гр/м2 |
Применяется для пород дерева, не боящихся воды (дуб и др.), при наклейке массивной доски на шлифованную фанеру. Наносится зубчатым шпателем толщиной не более 1 мм |
|
|
Полимерный однокомпонентный клей Uzin MK-77 |
800-1200 гр/м2 |
Применяется для готового паркета. Наносится зубчатым шпателем толщиной не более 1 мм |
|
|
4 |
Сборная стяжка из фанеры |
2,04 м2/м2 |
Первый слой фанеры крепится к каждой лаге шурупами или саморезами с шагом 1 50 мм. Второй слой фанеры крепится к первому слою также шурупами или саморезами. Шаг между шурупами 300 мм, по кромке листов фанеры - 1 50 мм |
|
5 |
Лага регулируемая |
|
|
|
6 |
Болт-стойка |
|
|
|
7 |
Пароизоляция - полиэтиленовая пленка |
1,15 м2/м2 |
|
|
8 |
Сплошное железобетонное междуэтажное перекрытие с неровной поверхностью |
|
|

|
Поз |
Наименование |
Расход |
Примечание |
|
1 |
Лаковое покрытие |
|
Конструкции лаковых покрытий и расход материалов приведены в разделе «Основные узлы» |
|
2 |
Паркет штучный, готовый и паркетные доски |
1,02 м2/м2 |
|
|
3 |
Полимерный однокомпонентный клей Uzin MK-73 |
600-1000 гр/м2 |
Применяется для всех пород дерева, кроме экзотических. Наносится зубчатым шпателем толщиной не более 1 мм |
|
Полимерный двухкомпонентный клей Uzin MK-92S |
600-1000 гр/м2 |
Применяется для всех пород дерева, в том числе экзотических. Наносится зубчатым шпателем толщиной не более 1 мм |
|
|
Водо-дисперсионный клей Uzin MK-80S |
500-600 гр/м2 |
Применяется для пород дерева, не боящихся воды (дуб и др.), при наклейке массивной доски на шлифованную фанеру. Наносится зубчатым шпателем толщиной не более 1 мм |
|
|
Полимерный однокомпонентный клей Uzin MK-77 |
800-1200 гр/м2 |
Применяется для готового паркета. Наносится зубчатым шпателем толщиной не более 1 мм |
|
|
4 |
Сборная стяжка из фанеры |
2,04 м2/м2 |
Первый слой фанеры крепится к каждой лаге шурупами или саморезами с шагом 1 50 мм. Второй слой фанеры крепится к первому слою также шурупами или саморезами. Шаг между шурупами 300 мм, по кромке листов фанеры - 150 мм |
|
5 |
Лага регулируемая |
|
|
|
6 |
Болт-стойка |
|
|
|
7 |
Тепло-звукоизоляция из кварцевого или керамзитового песка |
|
Толщина слоя и расход материалов назначаются в соответствии с расчетами по параметрам тепло- и звукоизоляции |
|
8 |
Пароизоляция - полиэтиленовая плёнка |
1,15 м2/м2 |
|
|
9 |
Многопустотное железобетонное междуэтажное перекрытие с неровной поверхностью |
|
|

|
Поз |
Наименование |
Расход |
Примечание |
|
1 |
Лаковое покрытие |
|
Конструкции лаковых покрытий и расход материалов приведены в разделе «Основные узлы» |
|
2 |
Паркет штучный, готовый и паркетные доски |
1,02 м2/м2 |
|
|
3 |
Полимерный однокомпонентный клей Uzin MK-73 |
600-1000 гр/м2 |
Применяется для всех пород дерева, кроме экзотических. Наносится зубчатым шпателем толщиной не более 1 мм |
|
|
Полимерный двухкомпонентный клей Uzin MK-92S |
600-1000 гр/м2 |
Применяется для всех пород дерева, в том числе экзотических. Наносится зубчатым шпателем толщиной не более 1 мм |
|
|
Водо-дисперсионный клей Uzin MK-80S |
500-600 гр/м2 |
Применяется для пород дерева, не боящихся воды (дуб и др.), при наклейке массивной доски на шлифованную фанеру. Наносится зубчатым шпателем толщиной не более I мм |
|
|
Полимерный однокомпонентный клей Uzin MK-77 |
800-1200 гр/м2 |
Применяется для готового паркета. Наносится зубчатым шпателем толщиной не более 1 мм |
|
4 |
Сборная стяжка из фанеры |
2,04 м2/м2 |
Первый слой фанеры крепится к каждой лаге шурупами или саморезами с шагом 150 мм. Второй слой фанеры крепится к первому слою также шурупами или саморезами. Шаг между шурупами 300 мм, по кромке листов фанеры - 150 мм |
|
5 |
Лага регулируемая |
|
|
|
6 |
Болт-стойка |
|
|
|
7 |
Теплозвукоизоляция из плит или матов |
|
Толщина слоя и расход материалов назначаются в соответствии с расчетами по параметрам тепло- и звукоизоляции |
|
8 |
Пароизоляция - полиэтиленовая плёнка |
1,15 м2/м2 |
|
|
9 |
Сплошное железобетонное междуэтажное перекрытие с неровной поверхностью |
|
|

|
Поз |
Наименование |
Расход |
Примечание |
|
1 |
Линолеум, синтетические плитки или ковры из синтетических волокон и резины |
1,02 м2/м2 |
С целью стабилизации алкидного (натурального) линолеума и защиты от воздействия воды на его поверхность валиком наносится защитный слой марки «Secura» |
|
2 |
Водо-дисперсионный клей Uzin KE-2008 |
300-500 гр/м2 |
Применяется для поливинилхлоридного одно- и многослойного линолеума без подосновы и ковровых покрытий с поливинилхлоридной подосновой. Наносится зубчатым шпателем слоем толщиной не более 0,8 мм |
|
|
Полимерный клей Uzin КЕ-2000S |
300-500 гр/м2 |
Применяется для поливинилхлоридного одно- и многослойного линолеума без подосновы или вспененной подосновой, ковровых покрытий с поливинилхлоридной или вспененной подосновой, а также поливинилхлоридных и резиновых плит для спортивных покрытий (тренажерные залы). Клей характеризуется повышенным временем работоспособности. Наносится зубчатым шпателем слоем толщиной не более 0,8 мм |
|
|
Водо-дисперсионный клей Uzin KE-2008 Artie |
300-500 гр/м2 |
Применяется для поливинилхлоридного одно- и многослойного линолеума без подосновы и ковровых покрытий с поливинилхлоридной подосновой в не обогреваемых помещениях с минимальной температурой-25°С. Наносится зубчатым шпателем слоем толщиной не более 0,8 мм. |
|
|
Водо-дисперсионный клей UzinKE-418 |
250-280 гр/м2 |
Применяется для поливинилхлоридного одно- и многослойного линолеума без подосновы и ковровых покрытий с поливинилхлоридной подосновой, в помещениях площадью до 30 м2. Наносится зубчатым шпателем слоем толщиной не более 0,8 мм |
|
|
Водо-дисперсионный клей Uzin UZ-90 |
150-400 гр/м2 |
Применяется для ковровых покрытий с тканной или войлочной подосновой. Наносится зубчатым шпателем слоем толщиной не более 0,8 мм |
|
|
Водо-дисперсионный клей Uzin UZ-52 |
250-500 гр/м2 |
Применяется для ковровых покрытий с тканной или войлочной подосновой. Клей характеризуется пониженным выделением токсичных веществ при производстве работ. Наносится зубчатым шпателем слоем толщиной не более 0,8 мм |
|
|
Водо-дисперсионный клей Uzin UZ-75 |
150-400 гр/м2 |
Применяется для ковровых покрытий с тканной, вспененной или войлочной подосновой в зонах с повышенными нагрузками. Наносится зубчатым шпателем слоем толщиной не более 0,8 мм |
|
|
Полиуретановый 2-х компонентный клей Uzin KR-430 |
300-1300 гр/м2 |
Применяется для резинового линолеума, резиновых плит и ковровых покрытий с резиновой подосновой в отапливаемых и не отапливаемых помещениях, а также спортивных ковровых покрытий (наружные и внутренние беговые дорожки, покрытия для теннисных кортов). Наносится зубчатым шпателем слоем толщиной не более 0,8 мм |
|
|
Водо-дисперсионный клей Uzin UZ LE-2401 |
400-500 гр/м2 |
Применяется для алкидного (натурального) линолеума. Наносится зубчатым шпателем слоем толщиной не более 0,8 мм |
|
|
Водо-дисперсионный клей Uzin UZ LE-44 |
400-500 гр/м2 |
Применяется для алкидного (натурального) линолеума. Клей характеризуется пониженным выделением токсичных веществ при производстве работ. Наносится зубчатым шпателем слоем толщиной не более 0,8 мм |
|
3 |
Грунтовка Uzin PE-460 |
100-200 гр/м2 |
Наносится валиком на очищенную поверхность бетонного основания под двухкомпонентные клеевые композиции |
|
|
Грунтовка Uzin PE-360 |
100-200 гр/м2 |
Наносится валиком на очищенную поверхность бетонного основания под клеевые композиции |
|
4 |
Бетонное основание из бетона класса В22.5 |
0,10 м3/м2 |
|
|
5 |
Грунт основания |
|
|

|
Поз |
Наименование |
Расход |
Примечание |
|
1 |
Линолеум, синтетические плитки или ковры из синтетических волокон и резины |
1,02 м2/м2 |
С целью стабилизации алкидного (натурального) линолеума и защиты от воздействия воды на его поверхность валиком наносится защитный слой марки «Secura» |
|
2 |
Водо-дисперсионный клей Uzin KE-2008 |
300-500 гр/м2 |
Применяется для поливинилхлоридного одно- и многослойного линолеума без подосновы и ковровых покрытий с поливинилхлоридной подосновой. Наносится зубчатым шпателем слоем толщиной не более 0,8 мм |
|
|
Полимерный клей Uzin КЕ-2000S |
300-500 гр/м2 |
Применяется для поливинилхлоридного одно- и многослойного линолеума без подосновы или вспененной подосновой, ковровых покрытий с поливинилхлоридной или вспененной подосновой, а также поливинилхлоридных и резиновых плит для спортивных покрытий (тренажерные залы). Клей характеризуется повышенным временем работоспособности. Наносится зубчатым шпателем слоем толщиной не более 0,8 мм |
|
|
Водо-дисперсионный клей Uzin KE-2008 Artie |
300-500 гр/м2 |
Применяется для поливинилхлоридного одно- и многослойного линолеума без подосновы и ковровых покрытий с поливинилхлоридной подосновой в не обогреваемых помещениях с минимальной температурой -25°С. Наносится зубчатым шпателем слоем толщиной не более 0,8 мм. |
|
|
Водо-дисперсионный клей Uzin КЕ-418 |
250-280 гр/м2 |
Применяется для поливинилхлоридного одно- и многослойного линолеума без подосновы и ковровых покрытий с поливинилхлоридной подосновой, в помещениях площадью до 30 м2. Наносится зубчатым шпателем слоем толщиной не более 0,8 мм |
|
|
Водо-дисперсионный клей Uzin UZ-90 |
150-400 гр/м2 |
Применяется для ковровых покрытий с тканной или войлочной подосновой. Наносится зубчатым шпателем слоем толщиной не более 0,8 мм |
|
|
Водо-дисперсионный клей Uzin UZ-52 |
250-500 гр/м2 |
Применяется для ковровых покрытий с тканной или войлочной подосновой. Клей характеризуется пониженным выделением токсичных веществ при производстве работ. Наносится зубчатым шпателем слоем толщиной не более 0,8 мм |
|
|
Водо-дисперсионный клей Uzin UZ-75 |
150-400 гр/м2 |
Применяется для ковровых покрытий с тканной, вспененной или войлочной подосновой в зонах с повышенными нагрузками. Наносится зубчатым шпателем слоем толщиной не более 0,8 мм |
|
|
Полиуретановый 2-х компонентный клей Uzin KR-430 |
300-1300 гр/м2 |
Применяется для резинового линолеума, резиновых плит и ковровых покрытий с резиновой подосновой в отапливаемых и не отапливаемых помещениях, а также спортивных ковровых покрытий (наружные и внутренние беговые дорожки, покрытия для теннисных кортов). Наносится зубчатым шпателем слоем толщиной не более 0,8 мм |
|
|
Водо-дисперсионный клей Uzin UZ LE-2401 |
400-500 гр/м2 |
Применяется для алкидного (натурального) линолеума. Наносится зубчатым шпателем слоем толщиной не более 0,8 мм |
|
|
Водо-дисперсионный клей Uzin UZ LE-44 |
400-500 гр/м2 |
Применяется для алкидного (натурального) линолеума. Клей характеризуется пониженным выделением токсичных веществ при производстве работ. Наносится зубчатым шпателем слоем толщиной не более 0,8 мм |
|
3 |
Грунтовка Uzin PE-460 |
100-200 гр/м2 |
Наносится валиком на очищенную поверхность бетонного основания под двухкомпонентные клеевые композиции |
|
|
Грунтовка Uzin PE-360 |
100-200 гр/м2 |
Наносится валиком на очищенную поверхность бетонного основания под клеевые композиции |
|
4 |
Бетонное основание из бетона класса В22,5 |
0,10 м3/м2 |
|
|
5 |
Наливная гидроизоляция -щебень или гравий, пропитанные битумом
|
Щебень или гравий - 0,04-0,05 м2/м2, битум - по факту |
|
|
6 |
Грунт основания |
|
|

|
Поз |
Наименование |
Расход |
Примечание |
|
1 |
Линолеум, синтетические плитки или ковры из синтетических волокон и резины |
1,02 м2/м2 |
С целью стабилизации алкидного (натурального) линолеума и зашиты от воздействия воды на его поверхность валиком наносится защитный слой марки «Secura» |
|
2 |
Водо-дисперсионный клей Uzin KE-2OO8 |
300-500 гр/м2 |
Применяется для поливинилхлоридного одно- и многослойного линолеума без подосновы и ковровых покрытий с поливинилхлоридной подосновой. Наносится зубчатым шпателем слоем толщиной не более 0,8 мм |
|
|
Полимерный клей Uzin KE-2000S |
300-500 гр/м2 |
Применяется для поливинилхлоридного одно- и многослойного линолеума без подосновы или вспененной подосновой, ковровых покрытий с поливинилхлоридной или вспененной подосновой, а также поливинилхлоридных и резиновых плит для спортивных покрытий (тренажерные залы). Клей характеризуется повышенным временем работоспособности. Наносится зубчатым шпателем слоем толщиной не более 0,8 мм |
|
|
Водо-дисперсионный клей Uzin KE-2008 Artie |
300-500 гр/м2 |
Применяется для поливинилхлоридного одно- и многослойного линолеума без подосновы и ковровых покрытий с поливинилхлоридной подосновой в не обогреваемых помещениях с минимальной температурой -25°С. Наносится зубчатым шпателем слоем толщиной не более 0,8 мм. |
|
|
Водо-дисперсионный клей UzinKE-418 |
250-280 гр/м2 |
Применяется для поливинилхлоридного одно- и многослойного линолеума без подосновы и ковровых покрытий с поливинилхлоридной подосновой, в помещениях площадью до 30 м2. Наносится зубчатым шпателем слоем толщиной не более 0,8 мм |
|
|
Водо-дисперсионный клей Uzin UZ-90 |
150-400 гр/м2 |
Применяется для ковровых покрытий с тканной или войлочной подосновой. Наносится зубчатым шпателем слоем толщиной не более 0,8 мм |
|
|
Водо-дисперсионный клей Uzin UZ-52 |
250-500 гр/м2 |
Применяется для ковровых покрытий с тканной или войлочной подосновой. Клей характеризуется пониженным выделением токсичных веществ при производстве работ. Наносится зубчатым шпателем слоем толщиной не более 0,8 мм |
|
|
Водо-дисперсионный клей Uzin UZ-75 |
150-400 гр/м2 |
Применяется для ковровых покрытий с тканной, вспененной или войлочной подосновой в зонах с повышенными нагрузками. Наносится зубчатым шпателем слоем толщиной не более 0,8 мм |
|
|
Полиуретановый 2-х компонентный клей Uzin KR-430 |
300-1300 гр/м2 |
Применяется для резинового линолеума, резиновых плит и ковровых покрытий с резиновой подосновой в отапливаемых и не отапливаемых помещениях, а также спортивных ковровых покрытий (наружные и внутренние беговые дорожки, покрытия для теннисных кортов). Наносится зубчатым шпателем слоем толщиной не более 0,8 мм |
|
|
Водо-дисперсионный клей Uzin UZ LE-2401 |
400-500 гр/м2 |
Применяется для алкидного (натурального) линолеума. Наносится зубчатым шпателем слоем толщиной не более 0,8 мм |
|
|
Водо-дисперсионный клей Uzin UZ LE-44 |
400-500 гр/м2 |
Применяется для алкидного (натурального) линолеума. Клей характеризуется пониженным выделением токсичных веществ при производстве работ. Наносится зубчатым шпателем слоем толщиной не более 0,8 мм |
|
3 |
Грунтовка Uzin PE-460 |
100-200 гр/м2 |
Наносится валиком на очищенную поверхность бетонного основания под двухкомпонентные клеевые композиции |
|
|
Грунтовка Uzin PE-360 |
100-200 гр/м2 |
Наносится валиком на очищенную поверхность бетонного основания под клеевые композиции |
|
4 |
Бетонное основание из бетона класса В22.5 |
0,10 м3/м2 |
|
|
5 |
Рулонная гидроизоляция |
1,02 м2/м2 |
|
|
6 |
Стяжка из цементно-песчаного раствора марки M150 |
0,05 м3/м2 |
|
|
7 |
Грунт основания |
|
|

|
Поз |
Наименование |
Расход |
Примечание |
|
1 |
Линолеум или синтетические плитки |
1,02 м2/м2 |
|
|
2 |
Водо-дисперсионный клей Uzin KE-2008 |
300-500 гр/м2 |
Применяется для поливинилхлоридного одно- и многослойного линолеума без подосновы. Наносится зубчатым шпателем слоем толщиной не более 0,8 мм |
|
|
Полимерный клей Uzin КЕ-2000S |
300-500 гр/м2 |
Применяется для поливинилхлоридного одно- и многослойного линолеума без подосновы или вспененной подосновой. Клей характеризуется повышенным временем работоспособности. Наносится зубчатым шпателем слоем толщиной не более 0,8 мм |
|
|
Водо-дисперсионный клей Uzin KE-2008 Artie |
300-500 гр/м2 |
Применяется для поливинилхлоридного одно- и многослойного линолеума без подосновы в не обогреваемых помещениях с минимальной температурой -25°С. Наносится зубчатым шпателем слоем толщиной не более 0,8 мм. |
|
|
Водо-дисперсионный клей Uzin KE-418 |
250-280 гр/м2 |
Применяется для поливинилхлоридного одно- и многослойного линолеума без подосновы в помещениях площадью до 30 м2. Наносится зубчатым шпателем слоем толщиной не более 0,8 мм |
|
Полиуретановый 2-х компонентный клей Uzin KR-430 |
300-1300 гр/м2 |
Применяется для резинового линолеума, резиновых плит в отапливаемых и не отапливаемых помещениях. Наносится зубчатым шпателем слоем толщиной не более 0,8 мм |
|
|
3 |
Грунтовка Uzin PE-460 |
100-200 гр/м2 |
Наносится валиком на очищенную поверхность цементно-песчаной или бетонной стяжки под двухкомпонентные клеевые композиции |
|
Грунтовка Uzin PE-360 |
100-200 гр/м2 |
Наносится валиком на очищенную поверхность цементно-песчаной или бетонной стяжки под клеевые композиции |
|
|
4 |
Полимерцементная саморазравнивающаяся стяжка марки UzinNC-145 |
1,5 кг/м2 |
Наносится шпателем слоем толщиной до 5 мм. Расход- на 1 мм слоя Предел прочности при сжатии после 28 суток выдержки - не менее 20 Мпа |
|
Полимерцементная саморазравнивающаяся стяжка марки UzinNC-150 |
1,5 кг/м2 |
Наносится шпателем слоем толщиной до 10 мм. Расход - на 1 мм слоя Предел прочности при сжатии после 28 суток выдержки - не менее 27 Мпа |
|
|
Полимерцементная саморазравнивающаяся стяжка марки Uzin NC-160 |
1,4 кг/м2 |
Наносится шпателем слоем толщиной до 10 мм. Расход - на 1 мм слоя Предел прочности при сжатии после 28 суток выдержки - не менее 35 Мпа |
|
|
Полимерцементная саморазравнивающаяся стяжка марки Uzin NC-170 |
1,4 кг/м2 |
Наносится шпателем слоем толщиной до 10 мм. Расход - на 1 мм слоя Предел прочности при сжатии после 28 суток выдержки - не менее 40 Мпа |
|
|
Полимерцементная саморазравнивающаяся стяжка марки Uzin NC-172 |
1,3 кг/м2 |
Наносится шпателем слоем толщиной до 10 мм. Расход - на 1 мм слоя Предел прочности при сжатии после 28 суток выдержки - не менее 45 Мпа |
|
|
Полимерцементная саморазравнивающаяся стяжка марки Uzin NC-174 |
1,6 кг/м2 |
Наносится шпателем слоем толщиной до 20 мм. Расход - на 1 мм слоя Предел прочности при сжатии после 28 суток выдержки - не менее 35 Мпа |
|
|
Полимерцементная саморазравнивающаяся стяжка марки Uzin NC-195 |
1,6 кг/м2 |
Наносится шпателем слоем толщиной до 40 мм. Расход - на 1 мм слоя Предел прочности при сжатии после 28 суток выдержки - не менее 35 МПа |
|
|
Полимерцементная саморазравнивающаяся стяжка марки Uzin NC-395 |
1,8 кг/м2 |
Наносится шпателем слоем толщиной до 40 мм. Расход - на 1 мм слоя Предел прочности при сжатии после 28 суток выдержки - не менее 35 МПа Стяжка рекомендуется в полах не отапливаемых помещениях |
|
|
Стяжка из цементно-песчаного раствора марки Ml50 |
0,02 м3/м2 |
|
|
|
Стяжка из бетона В12,5 |
0,02 м3/м2 |
|
|
|
5 |
Грунтовка Uzin PE-360 |
100-150 гр/м2 |
Наносится валиком на очищенную поверхность бетонного основания под саморазравнивающиеся стяжки |
|
6 |
Бетонное основание из бетона класса В22.5 |
0,08 м3/м2 |
|
|
7 |
Грунт основания |
|
|

|
Поз |
Наименование |
Расход |
Примечание |
|
1 |
Ковры из синтетических волокон |
1,02 м2/м2 |
|
|
2 |
Водо-дисперсионный клей Uzin KE-2008 |
300-500 гр/м2 |
Применяется для ковровых покрытий с поливинилхлоридной подосновой. Наносится зубчатым шпателем слоем толщиной не более 0,8 мм |
|
|
Полимерный клей Uzin КЕ-2000S |
300-500 гр/м2 |
Применяется для ковровых покрытий с поливинилхлоридной или вспененной подосновой. Клей характеризуется повышенным временем работоспособности. Наносится зубчатым шпателем слоем толщиной не более 0,8 мм |
|
|
Водо-дисперсионный клей Uzin KE-2008 Artie |
300-500 гр/м2 |
Применяется для ковровых покрытий с поливинилхлоридной подосновой в необогреваемых помещениях с минимальной температурой -25°С. Наносится зубчатым шпателем слоем толщиной не более 0,8 мм. |
|
Водо-дисперсионный клей Uzin UZ-90 |
150-400 гр/м2 |
Применяется для ковровых покрытий с тканной или войлочной подосновой. Наносится зубчатым шпателем слоем толщиной не более 0,8 мм |
|
|
Водо-дисперсионный клей Uzin UZ-52 |
250-500 гр/м2 |
Применяется для ковровых покрытий с тканной или войлочной подосновой. Клей характеризуется пониженным выделением токсичных веществ при производстве работ. Наносится зубчатым шпателем слоем толщиной не более 0,8 мм |
|
|
Водо-дисперсионный клей Uzin UZ-75 |
150-400 гр/м2 |
Применяется для ковровых покрытий с тканной, вспененной или войлочной подосновой в зонах с повышенными нагрузками. Наносится зубчатым шпателем слоем толщиной не более 0,8 мм |
|
|
Полиуретановый 2-х компонентный клей Uzin KR-430 |
300-1300 гр/м2 |
Применяется для ковровых покрытий с резиновой подосновой в отапливаемых и не отапливаемых помещениях. Наносится зубчатым шпателем слоем толщиной не более 0,8 мм |
|
|
3 |
Грунтовка Uzin PE-460 |
100-200 гр/м2 |
Наносится валиком на очищенную поверхность цементно-песчаной или бетонной стяжки под двухкомпонентные клеевые композиции |
|
Грунтовка Uzin PE-36O |
100-200 гр/м2 |
Наносится валиком на очищенную поверхность цементно-песчаной или бетонной стяжки под клеевые композиции |
|
|
4 |
Полимерцементная саморазравнивающаяся стяжка марки Uzin NC-145 |
1,5 кг/м2 |
Наносится шпателем слоем толщиной до 5 мм. Расход - на 1 мм слоя Предел прочности при сжатии после 28 суток выдержки - не менее 20 МПа |
|
Полимерцементная саморазравнивающаяся-стяжка марки UzinNC-150 |
1,5 кг/м2 |
Наносится шпателем слоем толщиной до 10 мм. Расход - на 1 мм слоя Предел прочности при сжатии после 28 суток выдержки - не менее 27 МПа |
|
|
Полимерцементная саморазравнивающаяся стяжка марки Uzin NC-160 |
1,4 кг/м2 |
Наносится шпателем слоем толщиной до 10 мм. Расход - на 1 мм слоя Предел прочности при сжатии после 28 суток выдержки - не менее 35 МПа |
|
|
Полимерцементная саморазравнивающаяся стяжка марки Uzin NC-170 |
1,4 кг/м2 |
Наносится шпателем слоем толщиной до 10 мм. Расход - на 1 мм слоя Предел прочности при сжатии после 28 суток выдержки - не менее 40 МПа |
|
|
Полимерцементная саморазравнивающаяся стяжка марки Uzin NC-172 |
1,3 кг/м2 |
Наносится шпателем слоем толщиной до 10 мм. Расход - на 1 мм слоя Предел прочности при сжатии после 28 суток выдержки - не менее 45 МПа |
|
|
Полимерцементная саморазравнивающаяся стяжка марки Uzin NC-174 |
1,6 кг/м2 |
Наносится шпателем слоем толщиной до 20 мм. Расход - на 1 мм слоя Предел прочности при сжатии после 28 суток выдержки - не менее 35 МПа |
|
|
Полимерцементная саморазравнивающаяся стяжка марки Uzin NC-195 |
1,6 кг/м2 |
Наносится шпателем слоем толщиной до 40 мм Расход - на 1 мм слоя Предел прочности при сжатии после 28 суток выдержки - не менее 35 МПа |
|
|
Полимерцементная саморазравнивающаяся стяжка марки Uzin NC-395 |
1,8 кг/м2 |
Наносится шпателем слоем толщиной до 40 мм. Расход-на 1 мм слоя Предел прочности при сжатии после 28 суток выдержки - не менее 35 МПа Стяжка рекомендуется в полах не отапливаемых помещениях |
|
|
Стяжка из цементно-песчаного раствора марки Ml 50 |
0,02 м3/м2 |
|
|
|
Стяжка из бетона В12,5 |
0,02 м3/м2 |
|
|
|
5 |
Грунтовка Uzin PE-360 |
100-150 гр/м2 |
Наносится валиком на очищенную поверхность бетонного основания под саморазравниваюшиеся стяжки |
|
6 |
Бетонное основание из бетона класса В22,5 |
0,08 м3/м2 |
|
|
7 |
Грунт основания |
|
|

|
Поз |
Наименование |
Расход |
Примечание |
|
1 |
Линолеум алкидный (натуральный) |
1,02 м2/м2 |
С целью стабилизации алкидного (натурального) линолеума и защиты от воздействия воды на его поверхность валиком наносится защитный слой марки «Secura» |
|
2 |
Водо-дисперсионный клей Uzin UZ LE-2401 |
400-500 гр/м2 |
Применяется для алкидного (натурального) линолеума. Наносится зубчатым шпателем слоем толщиной не более 0,8 мм |
|
Водо-дисперсионный клей Uzin UZ LE-44 |
400-500 гр/м2 |
Применяется для алкидного (натурального) линолеума. Клей характеризуется пониженным выделением токсичных веществ при производстве работ. Наносится зубчатым шпателем слоем толщиной не более 0,8 мм |
|
|
3 |
Полимерцементная саморазравнивающаяся стяжка марки Uzin NC-150 |
1,5 кг/м2 |
Наносится шпателем слоем толщиной до 10 мм. Расход-на 1 мм слоя Предел прочности при сжатии после 28 суток выдержки - не менее 27 МПа |
|
|
Полимерцементная саморазравнивающаяся стяжка марки Uzin NC-160 |
1,4 кг/м2 |
Наносится шпателем слоем толщиной до 10 мм. Расход - на 1 мм слоя Предел прочности при сжатии после 28 суток выдержки - не менее 35 МПа |
|
|
Полимерцементная саморазравнивающаяся стяжка марки UzinNC-170 |
1,4 кг/м2 |
Наносится шпателем слоем толщиной до 10 мм. Расход – на 1 мм слоя Предел прочности при сжатии после 28 суток выдержки - не менее 40 МПа |
|
|
Полимерцементная саморазравнивающаяся стяжка марки Uzin NC-172 |
1,3 кг/м2 |
Наносится шпателем слоем толщиной до 10 мм. Расход - на 1 мм слоя Предел прочности при сжатии после 28 суток выдержки - не менее 45 МПа |
|
|
Полимерцементная саморазравнивающаяся стяжка марки Uzin NC-1 74 |
1,6 кг/м2 |
Наносится шпателем слоем толщиной до 20 мм. Расход - на 1 мм слоя Предел прочности при сжатии после 28 суток выдержки - не менее 35 МПа |
|
|
Полимерцементная саморазравнивающаяся стяжка марки Uzin NC-195 |
1,6 кг/м2 |
Наносится шпателем слоем толщиной до 40 мм. Расход - на 1 мм слоя Предел прочности при сжатии после 28 суток выдержки - не менее 35 МПа |
|
|
Полимерцементная саморазравнивающаяся стяжка марки Uzin NC-395 |
1,8 кг/м2 |
Наносится шпателем слоем толщиной до 40 мм. Расход - на 1 мм слоя Предел прочности при сжатии после 28 суток выдержки - не менее 35 МПа Стяжка рекомендуется в полах не отапливаемых помещениях |
|
|
Стяжка из цементно-песчаного раствора марки M150 |
0,02 м3/м2 |
|
|
|
Стяжка из бетона В 12,5 |
0,02 м3/м2 |
|
|
4 |
Грунтовка Uzin PE-360 |
100-150 гр/м2 |
Наносится валиком на очищенную поверхность бетонного основания под саморазравнивающиеся стяжки |
|
5 |
Бетонное основание из бетона класса В22.5 |
0,08 м3/м2 |
|
|
6 |
Грунт основания |
|
|

|
Поз |
Наименование |
Расход |
Примечание |
|
1 |
Поливинилхлоридные и резиновые плитки и ковровые покрытия для спортивных залов |
1,02 м2/м2 |
|
|
2 |
Полимерный клей Uzin КЕ-2000S |
300-500 гр/м2 |
Применяется для поливинилхлоридных и резиновых плит для спортивных покрытий (тренажерные залы) - Клей характеризуется повышенным временем работоспособности. Наносится зубчатым шпателем слоем толщиной не более 0,8 мм |
|
Полиуретановый 2-х компонентный клей Uzin KR-430 |
300-1300 гр/м2 |
Применяется для спортивных ковровых покрытий (наружные и внутренние беговые дорожки, покрытия для теннисных кортов). Наносится зубчатым шпателем слоем толщиной не более 0,8 мм |
|
|
3 |
Грунтовка Uzin PE-460 |
100-200 гр/м2 |
Наносится валиком на очищенную поверхность цементно-песчаной или бетонной стяжки при наклейке покрытий на клее марки Uzin КR-430 |
|
Грунтовка Uzin PE-360 |
100-200 гр/м2 |
Наносится валиком на очищенную поверхность цементно-песчаной или бетонной стяжки при наклейке покрытий на клее марки Uzin KE-2000S |
|
|
4 |
Полимерцементная саморазравнивающаяся стяжка марки Uzin NC-170 |
1,4 кг/м2 |
Наносится шпателем слоем толщиной до 10 мм. Расход - на 1 мм слоя Предел прочности при сжатии после 28 суток выдержки - не менее 40 МПа |
|
Полимерцементная само-разравнивающаяся стяжка марки UzinNC-172 |
1,3 кг/мг |
Наносится шпателем слоем толщиной до 10 мм. Расход - на 1 мм слоя Предел прочности при сжатии после 28 суток выдержки - не менее 45 МПа |
|
|
Полимериементная саморазравнивающаяся стяжка марки Uzin NC-174 |
1,6 кг/м2 |
Наносится шпателем слоем толщиной до 20 мм. Расход - на 1 мм слоя Предел прочности при сжатии после 28 суток выдержки - не менее 35 МПа |
|
|
Полимериементная саморазравнивающаяся стяжка марки Uzin NC-195 |
1,6 кг/м2 |
Наносится шпателем слоем толщиной до 40 мм. Расход - на 1 мм слоя Предел прочности при сжатии после 28 суток выдержки - не менее 35 МПа |
|
|
Полимерцементная саморазравнивающаяся стяжка марки Uzin NC-395 |
1,8 кг/м2 |
Наносится шпателем слоем толщиной до 40 мм. Расход - на 1 мм слоя Предел прочности при сжатии после 28 суток выдержки - не менее 35 Мпа. Стяжка рекомендуется в полах не отапливаемых помещениях |
|
|
Стяжка из цементно-песчаного раствора марки M150 |
0,02 м3/м2 |
|
|
|
Стяжка из бетона В12,5 |
0,02 м3/м2 |
|
|
|
5 |
Грунтовка Uzin PE-360 |
100-150 гр/м2 |
Наносится валиком на очищенную поверхность бетонного основания под саморазравнивающиеся стяжки |
|
6 |
Бетонное основание из бетона класса В22,5 |
0,08 м3/м2: |
|
|
7 |
Грунт основания |
|
|

|
Поз |
Наименование |
Расход |
Примечание |
|
1 |
Линолеум, синтетические плитки или ковры из синтетических волокон |
1,02 м2/м2 |
С целью стабилизации алкидного (натурального) линолеума и защиты от воздействия воды на его поверхность валиком наносится защитный слой марки «Secura» |
|
2 |
Водо-дисперсионный клей Uzin KE-2008 |
300-500 гр/м2 |
Применяется для поливинилхлоридного одно- и многослойного линолеума без подосновы и ковровых покрытий с поливинилхлоридной подосновой. Наносится зубчатым шпателем слоем толщиной не более 0,8 мм |
|
|
Полимерный клей Uzin КЕ-2000S |
300-500 гр/м2 |
Применяется для поливинилхлоридного одно- и многослойного линолеума без подосновы или вспененной подосновой, ковровых покрытий с поливинилхлоридной или вспененной подосновой, а также поливинилхлоридных и резиновых плит для спортивных покрытий (тренажерные залы). Клей характеризуется повышенным временем работоспособности. Наносится зубчатым шпателем слоем толщиной не более 0,8 мм |
|
|
Водо-дисперсионный клей Uzin KE-2008 Artie |
300-500 гр/м2 |
Применяется для поливинилхлоридного одно- и многослойного линолеума без подосновы и ковровых покрытий с поливинилхлоридной подосновой в не обогреваемых помещениях с минимальной температурой -25°С. Наносится зубчатым шпателем слоем толщиной не более 0,8 мм. |
|
|
Водо-дисперсионный клей Uzin KE-418 |
250-280 гр/м2 |
Применяется для поливинилхлоридного одно- и многослойного линолеума без подосновы и ковровых покрытий с поливинилхлоридной подосновой, в помещениях площадью до 30 м2. Наносится зубчатым шпателем слоем толщиной не более 0,8 мм |
|
|
Водо-дисперсионный клей Uzin UZ-90 |
150-400 гр/м2 |
Применяется для ковровых покрытий с тканной или войлочной подосновой. Наносится зубчатым шпателем слоем толщиной не более 0,8 мм |
|
|
Водо-дисперсионный клей Uzin UZ-52 |
250-500 гр/м2 |
Применяется для ковровых покрытий с тканной или войлочной подосновой. Клей характеризуется пониженным выделением токсичных веществ при производстве работ. Наносится зубчатым шпателем слоем толщиной не более 0,8 мм |
|
|
Водо-дисперсионный клей Uzin UZ-75 |
150-400 гр/м2 |
Применяется для ковровых покрытий с тканной, вспененной или войлочной подосновой в зонах с повышенными нагрузками. Наносится зубчатым шпателем слоем толщиной не более 0,8 мм |
|
|
Полйуретановый 2-х компонентный клей Uzin KR-430 |
300-1300 гр/м2 |
Применяется для резинового линолеума, резиновых плит и ковровых покрытий с резиновой подосновой в отапливаемых и не отапливаемых помещениях, а также спортивных ковровых покрытий (наружные и внутренние беговые дорожки, покрытия для теннисных кортов) Наносится зубчатым шпателем слоем толщиной не более 0,8 мм |
|
|
Водо-дисперсионный клей Uzin UZ LE-2401 |
400-500 гр/м2 |
Применяется для алкидного (натурального) линолеума. Наносится зубчатым шпателем слоем толщиной не более 0,8 мм |
|
|
Водо-дисперсионный клей Uzin UZ LE-44 |
400-500 гр/м2 |
Применяется для алкидного (натурального) линолеума. Клей характеризуется пониженным выделением токсичных веществ при производстве работ. Наносится зубчатым шпателем слоем толщиной не более 0,8 мм |
|
3 |
Грунтовка Uzin PE-460 |
100-200 гр/м2 |
Наносится валиком на очищенную поверхность бетонного основания под двухкомпонентные клеевые композиции |
|
|
Грунтовка Uzin PE-36O |
100-200 гр/м2 |
Наносится валиком на очищенную поверхность бетонного основания под клеевые композиции |
|
4 |
Стяжка из цементно-песчаного раствора марки М150 |
|
Расход материала определяется толщиной стяжки, которая должна превышать на 15-20 мм диаметр трубы |
|
|
Стяжка из бетона В 2,5 |
|
Расход материала определяется толщиной стяжки, которая должна превышать на 15-20 мм диаметр трубы |
|
|
Стяжка из цементно-песчаного раствора на основе полимерцемента марки Uzin NC-190 и сухого кварцевого песка фракции 0,2-6,3 мм в соотношении от 1:4 до 1:6 |
|
Повышенная скорость набора прочности и пониженное время сушки - не более 24 часов на 1 см толщины стяжки. Предел прочности на сжатие после 28 суток воздушной выдержки в зависимости от соотношения цемент: песок от 40 до 20 МПа. Расход материала определяется толщиной стяжки, которая должна превышать на 1 5-20 мм диаметр трубы |
|
5 |
Труба |
|
|
|
6 |
Бетонное основание из бетона класса В22,5 |
0,08 м3/м2 |
|
|
7 |
Грунт основания |
|
|

|
Поз |
Наименование |
Расход |
Примечание |
|
1 |
Линолеум, синтетические плитки или ковры из синтетических волокон |
1,02 м2/м2 |
С целью стабилизации алкидного (натурального) линолеума и защиты от воздействия воды на его поверхность валиком наносится защитный слой марки «Secura» |
|
2 |
Водо-дисперсионный клей Uzin KE-2008 |
300-500 гр/м2 |
Применяется для поливинилхлоридного одно- и многослойного линолеума без подосновы и ковровых покрытий с поливинилхлоридной подосновой. Наносится зубчатым шпателем слоем толщиной не более 0,8 мм |
|
Полимерный клей Uzin КЕ-2000S |
300-500 гр/м2 |
Применяется для поливинилхлоридного одно- и многослойного линолеума без подосновы или вспененной подосновой и ковровых покрытий с поливинилхлоридной или вспененной подосновой. Клей характеризуется повышенным временем работоспособности. Наносится зубчатым шпателем слоем толщиной не более 0,8 мм |
|
|
Водо-дисперсионный клей Uzin KE-2008 Artie |
300-500 гр/м2 |
Применяется для поливинилхлоридного одно- и многослойного линолеума без подосновы и ковровых покрытий с поливинилхлоридной подосновой в не обогреваемых помещениях с минимальной температурой -25°С. Наносится зубчатым шпателем слоем толщиной не более 0,8 мм. |
|
|
Водо-дисперсионный клей Uzin KE-4I8 |
250-280 гр/м2 |
Применяется для поливинилхлоридного одно- и многослойного линолеума без подосновы и ковровых покрытий с поливинилхлоридной подосновой, в помещениях площадью до 30 м2. Наносится зубчатым шпателем слоем толщиной не более 0,8 мм |
|
|
Водо-дисперсионный клей Uzin UZ-90 |
150-400 гр/м2 |
Применяется для ковровых покрытий с тканной или войлочной подосновой. Наносится зубчатым шпателем слоем толщиной не более 0,8 мм |
|
|
Водо-дисперсионный клей Uzin UZ-52 |
250-500 гр/м2 |
Применяется для ковровых покрытий с тканной или войлочной подосновой. Клей характеризуется пониженным выделением токсичных веществ при производстве работ. Наносится зубчатым шпателем слоем толщиной не более 0,8 мм |
|
|
Водо-дисперсионный клей Uzin UZ-75 |
150-400 гр/м2 |
Применяется для ковровых покрытий с тканной, вспененной или войлочной подосновой в зонах с повышенными нагрузками. Наносится зубчатым шпателем слоем толщиной не более 0,8 мм |
|
|
Полиуретановый 2-х компонентный клей Uzin KR-430 |
300-1300 гр/м2 |
Применяется для резинового линолеума, резиновых плит и ковровых покрытий с резиновой подосновой в отапливаемых и не отапливаемых помещениях. Наносится зубчатым шпателем слоем толщиной не более 0,8 мм |
|
|
Водо-дисперсионный клей UzinUZLE-2401 |
400-500 гр/м2 |
Применяется для алкидного (натурального) линолеума. Наносится зубчатым шпателем слоем толщиной не более 0,8 мм |
|
|
Водо-дисперсионный клей Uzin UZ LE-44 |
400-500 гр/м2 |
Применяется для алкидного (натурального) линолеума. Клей характеризуется пониженным выделением токсичных веществ при производстве работ. Наносится зубчатым шпателем слоем толщиной не более 0,8 мм |
|
|
3 |
Грунтовка Uzin PE-460 |
100-200 гр/м2 |
Наносится валиком на очищенную поверхность сборной стяжки под двухкомпонентные клеевые композиции |
|
Грунтовка Uzin PE-360 |
100-200 гр/м2 |
Наносится валиком на очищенную поверхность сборной стяжки под клеевые композиции |
|
|
4 |
Сборная стяжка из готовых элементов ГВЛВ КНАУФ |
1,02 м2/м2 |
|
|
5 |
Засыпка из кварцевого песка |
По факту |
|
|
6 |
Бетонное основание из бетона класса В22,5 |
0,08 м3/м2 |
|
|
7 |
Грунт основания |
|
|

|
Поз |
Наименование |
Расход |
Примечание |
|
1 |
Линолеум, синтетические плитки или ковры из синтетических волокон |
1,02 м2/м2 |
|
|
2 |
Водо-дисперсионный клей Uzin KE-2008 |
300-500 гр/м2 |
Применяется для поливинилхлоридного одно- и многослойного линолеума без подосновы и ковровых покрытий с поливинилхлоридной подосновой. Наносится зубчатым шпателем слоем толщиной не более 0,8 мм |
|
Полимерный клей Uzin КЕ-2000S |
300-500 гр/м2 |
Применяется для поливинилхлоридного одно- и многослойного линолеума без подосновы или вспененной подосновой и ковровых покрытий с поливинилхлоридной или вспененной подосновой. Клей характеризуется повышенным временем работоспособности. Наносится зубчатым шпателем слоем толщиной не более 0,8 мм |
|
|
Водо-дисперсионный клей Uzin UZ-75 |
150-400 гр/м2 |
Применяется для ковровых покрытий с тканной, вспененной или войлочной подосновой в зонах с повышенными нагрузками. Наносится зубчатым шпателем слоем толщиной не более 0,8 мм |
|
|
3 |
Упругая подложка из плит пробкорезинового грануллята марки Uzin RR-188 |
1 м2/м2 |
Выбор типа упругой прослойки и её толщины осуществляется с учётом теплофизических расчетов по параметру теплоусвоения полов |
|
Упругая подложка из плит пробкорезинового грануллята-марки Uzin RR-189 Plus |
1 м2/м2
|
||
|
4 |
Полимерный клей Uzin КЕ-2000S |
300-500 гр/м2 |
|
|
5 |
Полимерцементная саморазравнивающаяся стяжка марки Uzin NC-145 |
1,5 кг/м2 |
Наносится шпателем слоем толщиной до 5 мм. Расход - на 1 мм слоя Предел прочности при сжатии после 28 суток выдержки - не менее 20 МПа |
|
Полймерцементная саморазравнивающаяся стяжка марки Uzin NC-150 |
1,5 кг/м2 |
Наносится шпателем слоем толщиной до 10 мм. Расход - на 1 мм слоя Предел прочности при сжатии после 28 суток выдержки - не менее 27 МПа |
|
|
Полиыерцементная саморазравнивающаяся стяжка марки Uzin NC-160 |
1,4 кг/м2 |
Наносится шпателем слоем толщиной до 10 мм. Расход - на 1 мм слоя Предел прочности при сжатии после 28 суток выдержки - не менее 35 МПа |
|
|
Полймерцементная саморазравнивающаяся стяжка марки UzinNC-170 |
1,4 кг/м2 |
Наносится шпателем слоем толщиной до 10 мм. Расход - на 1 мм слоя Предел прочности при сжатии после 28 суток выдержки - не менее 40 МПа |
|
|
Полймерцементная саморазравнивающаяся стяжка марки Uzin NC-172 |
1,3 кг/м2 |
Наносится шпателем слоем толщиной до 10 мм. Расход - на 1 мм слоя Предел прочности при сжатии после 28 суток выдержки - не менее 45 МПа |
|
|
Полймерцементная саморазравнивающаяся стяжка марки Uzin NC-174 |
1,6 кг/м2 |
Наносится шпателем слоем толщиной до 20 мм. Расход - на 1 мм слоя Предел прочности при сжатии после 28 суток выдержки - не менее 35 МПа |
|
|
Полймерцементная саморазравнивающаяся стяжка марки Uzin NC-195 |
1,6 кг/м2 |
Наносится шпателем слоем толщиной до 40 мм. Расход - на 1 мм слоя Предел прочности при сжатии после 28 суток выдержки - не менее 35 МПа |
|
|
Полймерцементная саморазравнивающаяся стяжка марки Uzin NC-395 |
1,8 кг/м2 |
Наносится шпателем слоем толщиной до 40 мм. Расход - на 1 мм слоя Предел прочности при сжатии после 28 суток выдержки - не менее 35 Мпа. Стяжка рекомендуется в полах не отапливаемых помещений |
|
|
Стяжка из цементно-песчаного раствора марки М 150 |
0,02 м3/м2 |
|
|
|
Стяжка из бетона В12,5 |
0,02 м3/м2 |
|
|
|
6 |
Грунтовка Uzin РЕ-360 |
100-150 гр/м2 |
Наносится валиком на очищенную поверхность бетонного основания под саморазравнивающиеся стяжки |
|
7 |
Бетонное основание из бетона класса В22,5 |
0,08 м3/м2 |
|
|
8 |
Грунт основания |
|
|

|
Поз |
Наименование |
Расход |
Примечание |
|
1 |
Антистатические алкидный (натуральный) линолеум, резиновый линолеум и резиновые плиты |
1,02 м2/м2 |
С целью стабилизации алкидного (натурального) линолеума и защиты от воздействия воды на его поверхность валиком наносится защитный слой марки «Secura» |
|
2 |
Водо-дисперсионный электропроводящий клей Uzin UZ-75 L |
500-600 гр/м2 |
Применяется для антистатического алкидного (натурального) линолеума. Наносится зубчатым шпателем слоем толщиной не более 0,8 мм |
|
Полиуретановый 2-х компонентный электропроводящий клей Uzin KR-430 L |
250-1200 гр/м2 |
Применяется для антистатического резинового линолеума и антистатических резиновых плит. Наносится зубчатым шпателем слоем толщиной не более 0,8 мм |
|
|
Эпоксидный 2-х компонентный электропроводящий клей Uzin KR-421 L |
250-550 гр/м2 |
Применяется для антистатического резинового линолеума и антистатических резиновых плит. Наносится зубчатым шпателем слоем толщиной не более 0,8 мм |
|
|
3 |
Самоклеящаяся медная лента UZIN-Kupferleitband |
По факту |
Создаётся электроотводящий контур, наклеивая ленту по периметру помещения, а также вдоль и поперёк помещения с шагом не более 3 м. Электроотводящий контур должен быть присоединен к системе заземления здания |
|
4 |
Полимерцементная саморазравнивающаяся стяжка марки Uzin NC-150 |
1,5 кг/м2 |
Наносится шпателем слоем толщиной до 10 мм. Расход - на 1 мм слоя Предел прочности при сжатии после 28 суток выдержки - не менее 27 МПа |
|
Полимерцементная саморазравнивающаяся стяжка марки Uzin NC-160 |
1,4 кг/м2 |
Наносится шпателем слоем толщиной до 10 мм. Расход - на1 мм слоя Предел прочности при сжатии после 28 суток выдержки - не менее 35 МПа |
|
|
Полимерцементная саморазравнивающаяся стяжка марки Uzin NO-170 |
1,4 кг/м2 |
Наносится шпателем слоем толщиной до 10 мм. Расход - на 1 мм слоя Предел прочности при сжатии после 28 суток выдержки - не менее 40 МПа |
|
|
Полимерпементная саморазравнивающаяся стяжка марки Uzin NC-172 |
1,3 кг/м2 |
Наносится шпателем слоем толщиной до 10 мм. Расход - на 1 мм слоя Предел прочности при сжатии после 28 суток выдержки - не менее 45 МПа |
|
|
Полимерцементная саморазравнивающаяся стяжка марки Uzin NC-174 |
1,6 кг/м2 |
Наносится шпателем слоем толщиной до 20 мм. Расход - на 1 мм слоя Предел прочности при сжатии после 28 суток выдержки - не менее 35 МПа |
|
|
Полимериементная само-разравнивающаяся стяжка марки Uzin NC-195 |
1,6 кг/м2 |
Наносится шпателем слоем толщиной до 40 мм. Расход - на 1 мм слоя Предел прочности при сжатии после 28 суток выдержки - не менее 35 МПа |
|
|
Стяжка из цементно-песчаного раствора марки M150 |
0,02 м3/м2 |
|
|
|
Стяжка из бетона В12,5 |
100-150 гр/м3 |
|
|
|
5 |
Грунтовка Uzin PE-36O |
100-150 гр/м2 |
Наносится валиком на очищенную поверхность бетонного основания под саморазравнивающиеся стяжки |
|
6 |
Бетонное основание из бетона класса В22.5 |
0,08 м3/м2 |
|
|
7 |
Грунт основания |
|
|

|
Поз |
Наименование |
Расход |
Примечание |
|
1 |
Антистатический поливинил-хлоридный линолеум |
1,02 м2/м2 |
|
|
2 |
Эпоксидный 2-х компонентный электропроводящий клей Uzin UZ-2000 SL |
300-400 гр/м2 |
Наносится зубчатым шпателем слоем толщиной не более 0,8 мм |
|
3 |
Самоклеящаяся медная лента UZIN-Kupferleitband |
1м/30м2 |
Самоклеящаяся медная лента должна быть присоединена к системе заземления здания. |
|
4 |
Электропроводящая грунтовка Uzin PE-260 L |
100-150 гр/м2 |
Наносится валиком на очищенную поверхность цементно-песчаной, полимерцементной саморазравнивающейся или бетонной стяжки |
|
5 |
Полимерцементная саморазравнивающаяся стяжка марки Uzin NC-150 |
1,5 кг/м2 |
Наносится шпателем слоем толщиной до 10 мм. Расход - на 1 мм слоя Предел прочности при сжатии после 28 суток выдержки - не менее 27 МПа |
|
Полимерцементная саморазравнивающаяся стяжка марки Uzin NC-160 |
1,4 кг/м2 |
Наносится шпателем слоем толщиной до 10 мм. Расход - на 1 мм слоя Предел прочности при сжатии после 28 суток выдержки - не менее 35 МПа |
|
|
Полимерцементная саморазравнивающаяся стяжка марки Uzin NC-170 |
1,4 кг/м2 |
Наносится шпателем слоем толщиной до 10 мм. Расход - на 1 мм слоя Предел прочности при сжатии после 28 суток выдержки - не менее 40 МПа |
|
|
Полимерцементная саморазравнивающаяся стяжка марки Uzin NC-172 |
1,3 кг/м2 |
Наносится шпателем слоем толщиной до 10 мм. Расход - на 1 мм слоя Предел прочности при сжатии после 28 суток выдержки - не менее 45 МПа |
|
|
Полимерцементная саморазравнивающаяся стяжка марки Uzin NC-174 |
1,6 кг/м2 |
Наносится шпателем слоем толщиной до 20 мм. Расход - на 1 мм слоя Предел прочности при сжатии после 28 суток выдержки - не менее 35 МПа |
|
|
Полимерцементная саморазравнивающаяся стяжка марки Uzin NC-195 |
1,6 кг/м2 |
Наносится шпателем слоем толщиной до 40 мм. Расход - на 1 мм слоя Предел прочности при сжатии после 28 суток выдержки - не менее 35 МПа |
|
|
Стяжка из цементно-песчаного раствора марки М150 |
0,02 м3/м2 |
|
|
|
Стяжка из бетона В 12,5 |
100-150 гр/м2 |
|
|
|
6 |
Грунтовка Uzin PE-360 |
100-150 гр/м2 |
Наносится валиком на очищенную поверхность бетонного основания под саморазравнивающиеся стяжки |
|
7 |
Бетонное основание из бетона класса В22,5 |
0,08 м3/м2 |
|
|
8 |
Грунт основания |
|
|

|
Поз |
Наименование |
Расход |
Примечание |
|
1 |
Линолеум, синтетические плитки или ковры из синтетических волокон |
1,02 м2/м2 |
|
|
2 |
Водо-дисперсионный клей Uzin KE-2008 |
300-500 гр/м2 |
Применяется для поливинилхлоридного одно- и многослойного линолеума без подосновы и ковровых покрытий с поливинилхлоридной подосновой. Наносится зубчатым шпателем слоем толщиной не более 0,8 мм |
|
|
Полимерный клей Uzin KE-2000S |
300-500 гр/м2 |
Применяется для поливинилхлоридного одно- и многослойного линолеума без подосновы или вспененной подосновой и ковровых покрытий с поливинилхлоридной или вспененной подосновой. Клей характеризуется повышенным временем работоспособности. Наносится зубчатым шпателем слоем толщиной не более 0,8 мм |
|
|
Водо-дисперсионный клей Uzin KE-2008 Artie |
300-500 гр/м2 |
Применяется для поливинилхлоридного одно- и многослойного линолеума без подосновы и ковровых покрытий с поливинилхлоридной подосновой в необогреваемых помещениях с минимальной температурой-25°С. Наносится зубчатым шпателем слоем толщиной не более 0,8 мм. |
|
Водо-дисперсионный клей Uzin KE-418 |
250-280 гр/м3 |
Применяется для поливинилхлоридного одно- и многослойного линолеума без подосновы и ковровых покрытий с поливинилхлоридной подосновой, в помещениях площадью до 30 м2. Наносится зубчатым шпателем слоем толщиной не более 0,8 мм |
|
|
Водо-дисперсионный клей Uzin UZ-90 |
150-400 гр/м2 |
Применяется для ковровых покрытий с тканной или войлочной подосновой. Наносится зубчатым шпателем слоем толщиной не более 0,8 мм |
|
|
Водо-дисперсионный клей Uzin UZ-52 |
250-500 гр/м2 |
Применяется для ковровых покрытий с тканной или войлочной подосновой. Клей характеризуется пониженным выделением токсичных веществ при производстве работ. Наносится зубчатым шпателем слоем толщиной не более 0,8 мм |
|
|
Водо-дисперснонный клей Uzin UZ-75 |
150-400 гр/м2 |
Применяется для ковровых покрытий с тканной, вспененной или войлочной подосновой в зонах с повышенными нагрузками. Наносится зубчатым шпателем слоем толщиной не более 0,8 мм |
|
|
Полиуретановый 2-х компонентный клей Uzin K.R-430 |
300-1300 гр/м2 |
Применяется для резинового линолеума, резиновых плит и ковровых покрытий с резиновой подосновой в отапливаемых и не отапливаемых помещениях. Наносится зубчатым шпателем слоем толщиной не более 0,8 мм |
|
|
3 |
Грунтовка Uzin PE-36O |
100-200 гр/м2 |
Наносится валиком на очищенную поверхность сборной стяжки при наклейке покрытий |
|
4 |
Сборная стяжка из готовых элементов ГВЛВ КНАУФ |
1,02 м2/м2 |
|
|
5 |
Теплозвукоизоляция из плит |
По расчёту |
Толщина слоя и расход материалов назначаются в соответствии с расчётами по параметру теплоизоляции |
|
6 |
Пароизоляция - полиэтиленовая пленка |
1,15 м2/м2 |
|
|
7 |
Черновой деревянный пол |
0,037 м3/м2 |
|
|
8 |
Гвоздь К4×100 |
|
Прибить каждую доску чернового пола к каждой лаге |
|
9 |
Лага |
0,005 м3/м2 |
|
|
10 |
Деревянная прокладка |
0,0006 м3/столбик |
|
|
11 |
Рулонная гидроизоляция |
0,05 м2/столбик |
|
|
12 |
Кирпичный или бетонный столбик |
0,0017 м3/столбик |
|
|
13 |
Бетонное основание из бетона класса В22,5 |
0,08 м3/м2 |
|
|
14 |
Грунт основания |
|
|

|
Поз |
Наименование |
Расход |
Примечание |
|
1 |
Линолеум, синтетические плитки или ковры из синтетических волокон |
1,02 м2/м2 |
|
|
2 |
Водо-дисперсионный клей Uzin KE-2008 |
300-500 гр/м2 |
Применяется для поливинилхлоридного одно- и многослойного линолеума без подосновы и ковровых покрытий с поливинилхлоридной подосновой. Наносится зубчатым шпателем слоем толщиной не более 0,8 мм |
|
Полимерный клей Uzin КЕ-2000S |
300-500 гр/м2 |
Применяется для поливинилхлоридного одно- и многослойного линолеума без подосновы или вспененной подосновой и ковровых покрытий с поливинилхлоридной или вспененной подосновой. Клей характеризуется повышенным временем работоспособности. Наносится зубчатым шпателем слоем толщиной не более 0,8 мм |
|
|
Водо-дисперсионный клей Uzin KE-2008 Artie |
300-500 гр/м2 |
Применяется для поливинилхлоридного одно- и многослойного линолеума без подосновы и ковровых покрытий с поливинилхлоридной подосновой в не обогреваемых помещениях с минимальной температурой -25°С. Наносится зубчатым шпателем слоем толщиной не более 0,8 мм. |
|
|
Водо-дисперсионный клей Uzin KE-418 |
250-280 гр/м2 |
Применяется для поливинилхлоридного одно- и многослойного линолеума без подосновы и ковровых покрытий с поливинилхлоридной подосновой, в помещениях площадью до 30 м2. Наносится зубчатым шпателем слоем толщиной не более 0,8 мм |
|
|
Водо-дисперсионный клей Uzm-UZ-90 |
150-400 гр/м2 |
Применяется для ковровых покрытий с тканной или войлочной подосновой. Наносится зубчатым шпателем слоем толщиной не более 0,8 мм |
|
|
Водо-дисперсионный клей UziSlJZ-52 |
250-500 гр/м2 |
Применяется для ковровых покрытий с тканной или войлочной подосновой. Клей характеризуется пониженным выделением токсичных веществ при производстве работ. Наносится зубчатым шпателем слоем толщиной не более 0,8 мм |
|
|
Водо-дисперсионный клей Uziif!UZ-75 |
150-400 гр/м2 |
Применяется для ковровых покрытий с тканной, вспененной или войлочной подосновой в зонах с повышенными нагрузками. Наносится зубчатым шпателем слоем толщиной не более 0,8 мм |
|
|
3 |
Грунтовка Uzin PE-360 |
100-200 гр/м2 |
Наносится валиком на очищенную поверхность сборной стяжки при наклейке покрытий |
|
4 |
Сборная стяжка из готовых элементов ГВЛВ КНАУФ |
1,02 м2/м2 |
|
|
5 |
Теплозвукоизоляция из керамзитового или кварцевого песка |
По расчету |
Толщина слоя и расход материалов назначаются в соответствии с расчётами по параметру теплоизоляции |
|
6 |
Пароизоляция - полиэтиленовая пленка |
1,15 м2/м2 |
|
|
7 |
Черновой деревянный пол |
0,037 м2/м2 |
|
|
8 |
Гвоздь К4×100 |
|
Прибить каждую доску чернового пола к каждой лаге |
|
9 |
Лага |
0,005 м3/м2 |
|
|
10 |
Деревянная прокладка |
0,0006 м3/столбик |
|
|
11 |
Рулонная гидроизоляция |
0,05 м2/столбик |
|
|
12 |
Кирпичный или бетонный столбик |
0,0017 м3/столбик |
|
|
13 |
Грунт основания |
|
|

|
Поз |
Наименование |
Расход |
Примечание |
|
1 |
Линолеум, синтетические плитки или ковры из синтетических волокон и резины |
1,02 м2/м2 |
С целью стабилизации алкидного (натурального) линолеума и защиты от воздействия воды на его поверхность валиком наносится защитный слой марки «Secura» |
|
2 |
Водо-дисперсионный клей Uzin KE-2008 |
300-500 гр/м2 |
Применяется для поливинилхлоридного одно- и многослойного линолеума без подосновы и ковровых покрытий с поливинилхлоридной подосновой. Наносится зубчатым шпателем слоем толщиной не более 0,8 мм |
|
|
Полимерный клей Uzin KE-2000S |
300-500 гр/м2 |
Применяется для поливинилхлоридного одно- и многослойного линолеума без подосновы или вспененной подосновой, ковровых покрытий с поливинилхлоридной или вспененной подосновой, а также поливинилхлоридных и резиновых плит для спортивных покрытий (тренажерные залы). Клей характеризуется повышенным временем работоспособности. Наносится зубчатым шпателем слоем толщиной не более 0,8 мм |
|
|
Водо-дисперсионный клей Uzin KE-2008 Artie |
300-500 гр/м2 |
Применяется для поливинилхлоридного одно- и многослойного линолеума без подосновы и ковровых покрытий с поливинилхлоридной подосновой в не обогреваемых помещениях с минимальной температурой -25°С. Наносится зубчатым шпателем слоем толщиной не более 0,8 мм. |
|
|
Водо-дисперсионный клей Uzin KE-418 |
250-280 гр/м2 |
Применяется для поливинилхлоридного одно- и многослойного линолеума без подосновы и ковровых покрытий с поливинилхлоридной подосновой, в помещениях площадью до 30 м2. Наносится зубчатым шпателем слоем толщиной не более 0,8 мм |
|
Водо-дисперсионный клей Uzin UZ-90 |
150-400 гр/м2 |
Применяется для ковровых покрытий с тканной или войлочной подосновой. Наносится зубчатым шпателем слоем толщиной не более 0,8 мм |
|
|
|
Водо-дисперсионный клей Uzin UZ-52 |
250-500 гр/м2 |
Применяется для ковровых покрытий с тканной или войлочной подосновой. Клей характеризуется пониженным выделением токсичных веществ при производстве работ. Наносится зубчатым шпателем слоем толщиной не более 0,8 мм |
|
|
Водо-дисперсионный клей Uzin UZ-75 |
150-400 гр/м2 |
Применяется для ковровых покрытий с тканной, вспененной или войлочной подосновой в зонах с повышенными нагрузками. Наносится зубчатым шпателем слоем толщиной не более 0,8 мм |
|
|
Полиуретановый 2-х компонентный клей Uzin KR-430 |
300-1300 гр/м2 |
Применяется для резинового линолеума, резиновых плит и ковровых покрытий с резиновой подосновой в отапливаемых и не отапливаемых помещениях, а также спортивных ковровых покрытий (наружные и внутренние беговые дорожки, покрытия для теннисных кортов). Наносится зубчатым шпателем слоем толщиной не более 0,8 мм |
|
|
Водо-дисперсионный клей UzinUZLE-2401 |
400-500 гр/м2
|
Применяется для алкидного (натурального) линолеума. Наносится зубчатым шпателем слоем толщиной не более 0,8 мм |
|
|
Водо-дисперсионный клей Uzin UZ LE-44 |
400-500 гр/м2 |
Применяется для алкидного (натурального) линолеума. Клей характеризуется пониженным выделением токсичных веществ при производстве работ. Наносится зубчатым шпателем слоем толщиной не более 0,8 мм |
|
3 |
Грунтовка Uzin PE-460 |
100-200 гр/м2 |
Наносится валиком на очищенную поверхность бетонного основания под двухкомпонентные клеевые композиции |
|
|
Грунтовка Uzin PE-360 |
100-200 гр/м2 |
Наносится валиком на очищенную поверхность бетонного основания под клеевые композиции |
|
4 |
Сплошное железобетонное междуэтажное перекрытие с ровной поверхностью |
|
|

|
Поз |
Наименование |
Расход |
Примечание |
|
1 |
Линолеум или синтетические плитки |
1,02 м2/м2 |
|
|
2 |
Водо-дисперсионный клей Uzin KE-2008 |
300-500 гр/м2 |
Применяется для поливинилхлоридного одно- и многослойного линолеума без подосновы. Наносится зубчатым шпателем слоем толщиной не более 0,8 мм |
|
|
Полимерный клей Uzin КЕ-2000S |
300-500 гр/м2 |
Применяется для поливинилхлоридного одно- и многослойного линолеума без подосновы или вспененной подосновой. Клей характеризуется повышенным временем работоспособности. Наносится зубчатым шпателем слоем толщиной не более 0,8 мм |
|
|
Водо-дисперсионный клей Uzin KE-418 |
250-280 гр/м2 |
Применяется для поливинилхлоридного одно- и многослойного линолеума без подосновы в помещениях площадью до 30 м2. Наносится зубчатым шпателем слоем толщиной не более 0,8 мм |
|
|
Полиуретановый 2-х компонентный клей Uzin K.R-430 |
300-1300 гр/м2 |
Применяется для резинового линолеума, резиновых плит в отапливаемых и не отапливаемых помещениях. Наносится зубчатым шпателем слоем толщиной не более 0,8 мм |
|
3 |
Грунтовка Uzin PE-460 |
100-200 гр/м2 |
Наносится валиком на очищенную поверхность бетонного основания под двухкомпонентные клеевые композиции |
|
Грунтовка Uzin PE-360 |
100-200 гр/м2 |
Наносится валиком на очищенную поверхность бетонного основания под клеевые композиции |
|
|
4 |
Полимерцементная саморазравнивающаяся стяжка марки Uzin NC-145 |
1,5 кг/м2 |
Наносится шпателем слоем толщиной до 5 мм. Расход-на 1 мм слоя Предел прочности при сжатии после 28 суток выдержки - не менее 20 Мпа |
|
Полимерцементная саморазравнивающаяся стяжка марки Uzin NC-150 |
1,5 кг/м! |
Наносится шпателем слоем толщиной до 10 мм. Расход - на 1 мм слоя Предел прочности при сжатии после 28 суток выдержки - не менее 27 Мпа |
|
|
Полимерцементная саморазравнивающаяся стяжка марки Uzin NC-160 |
1,4 кг/м2 |
Наносится шпателем слоем толщиной до 10 мм. Расход - на 1 мм слоя Предел прочности при сжатии после 28 суток выдержки - не менее 35 Мпа |
|
|
Полимерцементная саморазравнивающаяся стяжка марки Uzin NC-170 |
1,4 кг/м2 |
Наносится шпателем слоем толщиной до 10 мм. Расход - на 1 мм слоя Предел прочности при сжатии после 28 суток выдержки - не менее 40 Мпа |
|
|
Полимерцементная саморазравнивающаяся стяжка марки Uzin NC-172 |
1,3 кг/м2 |
Наносится шпателем слоем толщиной до 10 мм. Расход - на 1 мм слоя Предел прочности при сжатии после 28 суток выдержки - не менее 45 Мпа |
|
|
Полимерцементная саморазравнивающаяся стяжка марки Uzin NC-174 |
1,6 кг/м2 |
Наносится шпателем слоем толщиной до 20 мм. Расход - на 1 мм слоя Предел прочности при сжатии после 28 суток выдержки - не менее 35 Мпа |
|
|
Полимерцементная саморазравнивающаяся стяжка марки Uzin NC-195 |
1,6 кг/м2 |
Наносится шпателем слоем толщиной до 40 мм. Расход - на 1 мм слоя Предел прочности при сжатии после 28 суток выдержки - не менее 35 МПа |
|
|
Полимерцементная саморазравнивающаяся стяжка марки Uzin NC-395 |
1,8 кг/м2 |
Наносится шпателем слоем толщиной до 40 мм. Расход - на 1 мм слоя Предел прочности при сжатии после 28 суток выдержки - не менее 35 МПа Стяжка рекомендуется в полах не отапливаемых помещениях |
|
|
Стяжка из цементно-песча-ного раствора марки М150 |
0,02 м3/м2 |
|
|
|
Стяжка из бетона В 12,5 |
0,02 м3/м2 |
|
|
|
5 |
Грунтовка Uzin PE-360 |
100-150 гр/м2 |
Наносится валиком на очищенную поверхность бетонного основания под саморазравнивающиеся стяжки |
|
6 |
Сплошное железобетонное междуэтажное перекрытие с неровной поверхностью |
|
|
Полы с ковровым покрытием по железобетонной плите перекрытия Тип 44

|
Поз |
Наименование |
Расход |
Примечание |
|
1 |
Ковры из синтетических волокон |
1,02 м2/м2 |
|
|
2 |
Водо-дисперсионный клей Uzin KE-2008 |
300-500 гр/м2 |
Применяется для ковровых покрытий с поливинилхлоридной подосновой. Наносится зубчатым шпателем слоем толщиной не более 0,8 мм |
|
|
Полимерный клей Uzin КЕ-2000S |
300-500 гр/м2 |
Применяется для ковровых покрытий с поливинилхлоридной или вспененной подосновой. Клей характеризуется повышенным временем работоспособности. Наносится зубчатым шпателем слоем толщиной не более 0,8 мм |
|
|
Водо-дисперсионный клей Uzin KE-2008 Artie |
300-500 гр/м2 |
Применяется для ковровых покрытий с поливинилхлоридной подосновой в не обогреваемых помещениях с минимальной температурой -25°С. Наносится зубчатым шпателем слоем толщиной не более 0,8 мм. |
|
|
Водо-дисперсионный клей UzinKE-418 |
250-280 гр/м2 |
Применяется для ковровых покрытий с поливинилхлоридной подосновой в помещениях площадью до 30 м2. Наносится зубчатым шпателем слоем толщиной не более 0,8 мм |
|
|
Водо-дисперсионный клей Uzin UZ-90 |
150-400 гр/м2 |
Применяется для ковровых покрытий с тканной или войлочной подосновой. Наносится зубчатым шпателем слоем толщиной не более 0,8 мм |
|
Водо-дисперсионный клей Uzin UZ-52 |
250-500 гр/м2 |
Применяется для ковровых покрытий с тканной или войлочной подосновой. Клей характеризуется пониженным выделением токсичных веществ при производстве работ. Наносится зубчатым шпателем слоем толщиной не более 0,8 мм |
|
|
Водо-дисперсионный клей Uzin UZ-75 |
150-400 гр/м2 |
Применяется для ковровых покрытий с тканной, вспененной или войлочной подосновой в зонах с повышенными нагрузками. Наносится зубчатым шпателем слоем толщиной не более 0,8 мм |
|
|
Полиуретановый 2-х компонентный клей Uzin KR-430 |
300-1300 гр/м2 |
Применяется для ковровых покрытий с резиновой подосновой в отапливаемых и не отапливаемых помещениях. Наносится зубчатым шпателем слоем толщиной не более 0,8 мм |
|
|
3 |
Грунтовка Uzin PE-460 |
100-200 гр/м2 |
Наносится валиком на очищенную поверхность бетонного основания под двухкомпонентные клеевые композиции |
|
Грунтовка Uzin PE-360 |
100-200 гр/м2 |
Наносится валиком на очищенную поверхность бетонного основания под клеевые композиции |
|
|
4 |
Полимерцементная саморазравнивающаяся стяжка марки Uzin NC-145 |
1,5 кг/м2 |
Наносится шпателем слоем толщиной до 5 мм. Расход - на 1 мм слоя Предел прочности при сжатии после 28 суток выдержки - не менее 20 МПа |
|
11олимерцементная саморазравнивающаяся стяжка марки Uzin NC-150 |
1,5 кг/м2 |
Наносится шпателем слоем толщиной до 10 мм. Расход - на 1 мм слоя Предел прочности при сжатии после 28 суток выдержки - не менее 27 МПа |
|
|
Полимерцементная саморазравнивающаяся стяжка марки Uzin NC-160 |
1,4 кг/м2 |
Наносится шпателем слоем толщиной до 10 мм. Расход - на 1 мм слоя Предел прочности при сжатии после 28 суток выдержки - не менее 35 МПа |
|
|
Полимерцементная саморазравнивающаяся стяжка марки Uzin NC-170 |
1,4 кг/м2 |
Наносится шпателем слоем толщиной до 10 мм. Расход - на 1 мм слоя Предел прочности при сжатии после 28 суток выдержки - не менее 40 МПа |
|
|
Полимерцементная саморазравнивающаяся стяжка марки Uzin NC-172 |
1,3 кг/м2 |
Наносится шпателем слоем толщиной до 10 мм. Расход - на 1 мм слоя Предел прочности при сжатии после 28 суток выдержки - не менее 45 МПа |
|
|
Полимерцементная саморазравнивающаяся стяжка марки Uzin NC-174 |
1,6 кг/м2 |
Наносится шпателем слоем толщиной до 20 мм. Расход - на 1 мм слоя Предел прочности при сжатии после 28 суток выдержки - не менее 35 МПа |
|
|
Полимерцементная саморазравнивающаяся стяжка марки Uzin NC-195 |
1,6 кг/м2 |
Наносится шпателем слоем толщиной до 40 мм. Расход - на 1 мм слоя Предел прочности при сжатии после 28 суток выдержки - не менее 35 МПа |
|
|
Полимерцементная саморазравнивающаяся стяжка марки Uzin NC-395 |
1,8 кг/м2 |
Наносится шпателем слоем толщиной до 40 мм. Расход - на 1 мм слоя Предел прочности при сжатии после 28 суток выдержки - не менее 35 МПа Стяжка рекомендуется в полах не отапливаемых помещений |
|
|
Стяжка из цементно-песчаного раствора марки M150 |
0,02 м3/м2 |
|
|
|
Стяжка из бетона В12,5 |
0,02 м3/м2 |
|
|
|
5 |
Грунтовка Uzin PE-360 |
100-150 гр/м2 |
Наносится валиком на очищенную поверхность бетонного основания под саморазравнивающиеся стяжки |
|
6 |
Сплошное железобетонное междуэтажное перекрытие с неровной повеохностью |
|
|

|
Поз |
Наименование |
Расход |
Примечание |
|
1 |
Линолеум алкидный (натуральный) |
1,02 м2/м2 |
С целью стабилизации алкидного (натурального) линолеума и защиты от воздействия воды на его поверхность валиком наносится защитный слой марки «Secura» |
|
2 |
Водо-дисперсионный клей Uzin UZ LE-2401 |
400-500 гр/м2 |
Применяется для алкидного (натурального) линолеума. Наносится зубчатым шпателем слоем толщиной не более 0,8 мм |
|
Водо-дисперсионный клей Uzin UZ LE-44 |
400-500 гр/м2 |
Применяется для алкидного (натурального) линолеума. Клей характеризуется пониженным выделением токсичных веществ при производстве работ. Наносится зубчатым шпателем слоем толщиной не более 0,8 мм |
|
|
3 |
Полимерцементная саморазравнивающаяся стяжка марки Uzin NC-150 |
1,5 кг/м2 |
Наносится шпателем слоем толщиной до 10 мм. Расход - на1 мм слоя Предел прочности при сжатии после 28 суток выдержки - не менее 27 МПа |
|
|
Полимерцементная саморазравнивающаяся стяжка марки Uzin NC-160 |
1,4 кг/м2 |
Наносится шпателем слоем толщиной до 10 мм. Расход - на 1 мм слоя Предел прочности при сжатии после 28 суток выдержки – не менее 35 МПа |
|
|
Полимерцементная саморазравнивающаяся стяжка марки Uzin NC-170 |
1,4 кг/м2 |
Наносится шпателем слоем толщиной до 10 мм. Расход - на 1 мм слоя Предел прочности при сжатии после 28 суток выдержки - не менее 40 МПа |
|
|
Полимерцементная саморазравнивающаяся стяжка марки Uzin NC-172 |
1,3 кг/м2 |
Наносится шпателем слоем толщиной до 10 мм. Расход - на 1 мм слоя Предел прочности при сжатии после 28 суток выдержки - не менее 45 МПа |
|
|
Полимерцементная саморазравнивающаяся стяжка марки Uzin NC-174 |
1,6 кг/м2 |
Наносится шпателем слоем толщиной до 20 мм. Расход - на 1 мм слоя Предел прочности при сжатии после 28 суток выдержки - не менее 35 МПа |
|
|
Полимерцементная саморазравнивающаяся стяжка марки Uzin NC-195 |
1,6 кг/м2 |
Наносится шпателем слоем толщиной до 40 мм. Расход - на 1 мм слоя Предел прочности при сжатии после 28 суток выдержки - не менее 35 МПа |
|
|
Полимерцементная саморазравнивающаяся стяжка марки Uzin NC-395 |
1,8 кг/м2 |
Наносится шпателем слоем толщиной до 40 мм. Расход - на 1 мм слоя Предел прочности при сжатии после 28 суток выдержки - не менее 35 МПа Стяжка рекомендуется в полах не отапливаемых помещений |
|
|
Стяжка из цементно-песчаного раствора марки M150 |
0,02 м3/м2 |
|
|
|
Стяжка из бетона В12,5 |
0,02 м3/м2 |
|
|
4 |
Грунтовка Uzin PE-360 |
100-150 гр/м2 |
Наносится валиком на очищенную поверхность бетонного основания под саморазравнивающиеся стяжки |
|
5 |
Сплошное железобетонное междуэтажное перекрытие с неровной поверхностью |
|
|

|
Поз |
Наименование |
Расход |
Примечание |
|
1 |
Поливинилхлоридные и резиновые плитки и ковровые покрытия для спортивных залов |
1,02 м2/м2 |
|
|
2 |
Полимерный клей Uzin КЕ-2000S |
300-500 гр/м2 |
Применяется для поливинилхлоридных и резиновых плит для спортивных покрытий (тренажерные залы). Клей характеризуется повышенным временем работоспособности. Наносится зубчатым шпателем слоем толщиной не более 0,8 мм |
|
Полиуретановый 2-х компонентный клей Uzin KR-430 |
300-1300 гр/м |
Применяется для резинового линолеума, резиновых плит и ковровых покрытий с резиновой подосновой в отапливаемых и не отапливаемых помещениях, а также спортивных ковровых покрытий (наружные и внутренние беговые дорожки, покрытия для теннисных кортов). Наносится зубчатым шпателем слоем толщиной не более 0,8 мм |
|
|
3 |
Грунтовка Uzin PE-460 |
100-200 гр/м2 |
Наносится валиком на очищенную поверхность цементно-песчаной или бетонной стяжки при наклейке покрытий на клее марки Uzin KR-430 |
|
Грунтовка Uzin РЕ-360 |
100-200 гр/м2 |
Наносится валиком на очищенную поверхность цементно-песчаной или бетонной стяжки при наклейке покрытий на клее марки Uzin KE-2000S |
|
|
4 |
Полимерцементная саморазравнивающаяся стяжка марки Uzin NC-150 |
1,5 кг/м2 |
Наносится шпателем слоем толщиной до 10 мм. Расход - на 1 мм слоя Предел прочности при сжатии после 28 суток выдержки - не менее 27 МПа |
|
Полимерцементная саморазравнивающаяся стяжка марки Uzin NC-160 |
1,4 кг/м2 |
Наносится шпателем слоем толщиной до 10 мм. Расход - на 1 мм слоя Предел прочности при сжатии после 28 суток выдержки - не менее 35 МПа |
|
|
Полимерцементная саморазравнивающаяся стяжка марки Uzin NC-I70 |
1,4 кг/м' |
Наносится шпателем слоем толщиной до 10 мм. Расход - на 1 мм слоя Предел прочности при сжатии после 28 суток выдержки - не менее 40 МПа |
|
|
Полимерцементная саморазравнивающаяся стяжка марки Uzin NC-172 |
1,3 кг/м2 |
Наносится шпателем слоем толщиной до 10 мм. Расход - на 1 мм слоя Предел прочности при сжатии после 28 суток выдержки - не менее 45 МПа |
|
|
Полимерцементная саморазравнивающаяся стяжка марки Uzin NC-1 74 |
1,6 кг/м2 |
Наносится шпателем слоем толщиной до 20 мм. Расход - на 1 мм слоя Предел прочности при сжатии после 28 суток выдержки - не менее 35 МПа |
|
|
Полимерцементная саморазравнивающаяся стяжка марки Uzin NC-195 |
1 ,6 кг/м2 |
Наносится шпателем слоем толщиной до 40 мм. Расход - на 1 мм слоя Предел прочности при сжатии после 28 суток выдержки - не менее 35 МПа |
|
|
Полимерцементная саморазравнивающаяся стяжка марки Uzin NC-395 |
1,8 кг/м2 |
Наносится шпателем слоем толщиной до 40 мм. Расход - на 1 мм слоя Предел прочности при сжатии после 28 суток выдержки - не менее 35 МПа Стяжка рекомендуется в полах не отапливаемых помещений |
|
|
Стяжка из цементно-песчаного раствора марки Ml50 |
0,02 м3/м2 |
|
|
|
Стяжка из бетона В12,5 |
0,02 м3/м2 |
|
|
|
5 |
Грунтовка Uzin РЕ-360 |
100-150 гр/м2 |
Наносится валиком на очищенную поверхность бетонного основания под саморазравнивающиеся стяжки |
|
6 |
Сплошное железобетонное междуэтажное перекрытие с неровной поверхностью |
|
|

|
Поз |
Наименование |
Расход |
Примечание |
|
1 |
Линолеум, синтетические плитки или ковры из синтетических волокон |
1,02 м2/м2 |
С целью стабилизации алкидного (натурального) линолеума и защиты от воздействия воды на его поверхность валиком наносится защитный слой марки «Secura» |
|
2 |
Водо-дисперсионный клей Uzin KE-2008 |
300-500 гр/м2 |
Применяется для поливинилхлоридного одно- и многослойного линолеума без подосновы и ковровых покрытий с поливинилхлоридной подосновой. Наносится зубчатым шпателем слоем толщиной не более 0,8 мм |
|
|
Полимерный клей Uzin КЕ-2000S |
300-500 гр/м2 |
Применяется для поливинилхлоридного одно- и многослойного линолеума без подосновы или вспененной подосновой, ковровых покрытий с поливинилхлоридной или вспененной подосновой, а также поливинилхлоридных и резиновых плит для спортивных покрытий (тренажерные залы). Клей характеризуется повышенным временем работоспособности. Наносится зубчатым шпателем слоем толщиной не более 0,8 мм |
|
|
Водо-дисперсионный клей Uzin KE-2008 Artie |
300-500 гр/м2 |
Применяется для поливинилхлоридного одно- и многослойного линолеума без подосновы и ковровых покрытий с поливинилхлоридной подосновой в не обогреваемых помещениях с минимальной температурой-25°С. Наносится зубчатым шпателем слоем толщиной не более 0,8 мм. |
|
|
Водо-дисперсионный клей Uzin KE-418 |
250-280 гр/м2 |
Применяется для поливинилхлоридного одно- и многослойного линолеума без подосновы и ковровых покрытий с поливинилхлоридной подосновой, в помещениях площадью до 30 м2. Наносится зубчатым шпателем слоем толщиной не более 0,8 мм |
|
|
Водо-дисперсионный клей Uzin UZ-90 |
150-400 гр/м2 |
Применяется для ковровых покрытий с тканной или войлочной подосновой. Наносится зубчатым шпателем слоем толщиной не более 0,8 мм |
|
|
Водо-дисперсионный клей Uzin UZ-52 |
250-500 гр/м2 |
Применяется для ковровых покрытий с тканной или войлочной подосновой. Клей характеризуется пониженным выделением токсичных веществ при производстве работ. Наносится зубчатым шпателем слоем толщиной не более 0,8 мм |
|
|
Водо-дисперсионный клей Uzin UZ-75 |
150-400 гр/м2 |
Применяется для ковровых покрытий с тканной, вспененной или войлочной подосновой в зонах с повышенными нагрузками. Наносится зубчатым шпателем слоем толщиной не более 0,8 мм |
|
|
Полиуретановый 2-х компонентный клей Uzin KR-430 |
300-1300 гр/м2 |
Применяется для резинового линолеума, резиновых плит и ковровых покрытий с резиновой подосновой в отапливаемых и не отапливаемых помещениях, а также спортивных ковровых покрытий (наружные и внутренние беговые дорожки, покрытия для теннисных кортов). Наносится зубчатым шпателем слоем толщиной не более 0,8 мм |
|
|
Водо-дисперсионный клей Uzin UZ LE-2401 |
400-500 гр/м2 |
Применяется для алкидного (натурального) линолеума. Наносится зубчатым шпателем слоем толщиной не более 0,8 мм |
|
|
Водо-дисперсионный клей Uzin UZ LE-44 |
400-500 гр/м2 |
Применяется для алкидного (натурального) линолеума. Клей характеризуется пониженным выделением токсичных веществ при производстве работ. Наносится зубчатым шпателем слоем толщиной не более 0,8 мм |
|
3 |
Грунтовка Uzin PE-460 |
100-200 гр/м2 |
Наносится валиком на очищенную поверхность стяжки под двухкомпонентные клеевые композиции |
|
|
Грунтовка Uzin PE-360 |
100-200 гр/м2 |
Наносится валиком на очищенную поверхность стяжки под клеевые композиции |
|
4 |
Стяжка из цементно-песча-ного раствора марки М150 |
|
Расход материала определяется толщиной стяжки, которая должна превышать на 15-20 мм диаметр трубы |
|
|
Стяжка из бетона В 12,5 |
|
Расход материала определяется толщиной стяжки, которая должна превышать на 15-20 мм диаметр трубы |
|
|
Стяжка из цементно-песча-ного раствора на основе по-лимерцемента марки Uzin NC-I 90 и сухого кварцевого песка фракции 0,2-6,3 мм в соотношении от 1: 4 до 1: 6 |
|
Повышенная скорость набора прочности и пониженное время сушки - не более 24 часов на 1 см толщины стяжки. Предел прочности на сжатие после 28 суток воздушной выдержки в зависимости от соотношения цемент: песок от 40 до 20 МПа. Расход материала определяется толщиной стяжки, которая должна превышать на 1 5-20 мм диаметр трубы |
|
5 |
Труба |
|
|
|
6 |
Сплошное железобетонное междуэтажное перекрытие с неровной поверхностью |
|
|

|
Поз |
Наименование |
Расход |
Примечание |
|
1 |
Линолеум, синтетические плитки или ковры из синтетических волокон |
1,02 м2/м2 |
С целью стабилизации алкидного (натурального) линолеума и защиты от воздействия воды на его поверхность валиком наносится защитный слой марки «Secura» |
|
2 |
Водо-дисперсионный клей Uzin KE-2008 |
300-500 гр/м2 |
Применяется для поливинилхлоридного одно- и многослойного линолеума без подосновы и ковровых покрытий с поливинилхлоридной подосновой. Наносится зубчатым шпателем слоем толщиной не более 0,8 мм |
|
|
Полимерный клей Uzin КЕ-2000S |
300-500 гр/м2 |
Применяется для поливинилхлоридного одно- и многослойного линолеума без подосновы или вспененной подосновой, ковровых покрытий с поливинилхлоридной или вспененной подосновой, а также поливинилхлоридных и резиновых плит для спортивных покрытий (тренажерные залы). Клей характеризуется повышенным временем работоспособности. Наносится зубчатым шпателем слоем толщиной не более 0,8 мм |
|
|
Водо-дисперсионный клей Uzin KE-2008 Artie |
300-500 гр/м2 |
Применяется для поливинилхлоридного одно- и многослойного линолеума без подосновы и ковровых покрытий с поливинилхлоридной подосновой в не обогреваемых помещениях с минимальной температурой -25°С. Наносится зубчатым шпателем слоем толщиной не более 0,8 мм. |
|
|
Водо-дисперсионный клей UzinKE-418 |
250-280 гр/м2 |
Применяется для поливинилхлоридного одно- и многослойного линолеума без подосновы и ковровых покрытий с поливинилхлоридной подосновой, в помещениях площадью до 30 м2. Наносится зубчатым шпателем слоем толщиной не более 0,8 мм |
|
Водо-дисперсионный клей Uzin UZ-90 |
150-400 гр/м2 |
Применяется для ковровых покрытий с тканной или войлочной подосновой. Наносится зубчатым шпателем слоем толщиной не более 0,8 мм |
|
|
Водо-дисперсионный клей Uzin UZ-52 |
250-500 гр/м2 |
Применяется для ковровых покрытий с тканной или войлочной подосновой. Клей характеризуется пониженным выделением токсичных веществ при производстве работ. Наносится зубчатым шпателем слоем толщиной не более 0,8 мм |
|
|
Водо-дисперсионный клей Uzin UZ-75 |
150-400 гр/м2 |
Применяется для ковровых покрытий с тканной, вспененной или войлочной подосновой в зонах с повышенными нагрузками. Наносится зубчатым шпателем слоем толщиной не более 0,8 мм |
|
|
Полиуретановый 2-х компонентный клей Uzin KR-430 |
300-1300 гр/м2 |
Применяется для резинового линолеума, резиновых плит и ковровых покрытий с резиновой подосновой в отапливаемых и не отапливаемых помещениях, а также спортивных ковровых покрытий (наружные и внутренние беговые дорожки, покрытия для теннисных кортов). Наносится зубчатым шпателем слоем толщиной не более 0,8 мм |
|
|
Водо-дисперсионный клей Uzin UZ LE-2401 |
400-500 гр/м2 |
Применяется для алкидного (натурального) линолеума. Наносится зубчатым шпателем слоем толщиной не более 0,8 мм |
|
|
Водо-дисперсионный клей Uzin UZ LE-44 |
400-500 гр/м2 |
Применяется для алкидного (натурального) линолеума. Клей характеризуется пониженным выделением токсичных веществ при производстве работ. Наносится зубчатым шпателем слоем толщиной не более 0,8 мм |
|
|
3 |
Грунтовка Uzin PE-460 |
100-200 гр/м2 |
Наносится валиком на очищенную поверхность стяжки под двухкомпонентные клеевые композиции |
|
Грунтовка Uzin PE-360 |
100-200 гр/м2 |
Наносится валиком на очищенную поверхность стяжки под клеевые композиции |
|
|
4 |
Стяжка из цементно-песчаного раствора марки Ml50 |
0,04 м3/м2 |
|
|
Стяжка из бетона В12,5 |
0,04 м3/м2 |
|
|
|
Стяжка из цементно-песчаного раствора на основе полимерцемента марки Uzin NC-190 и сухого кварцевого песка фракции 0,2-6,3 мм в соотношении от 1: 4 до 1: 6 |
0,04 м3/м2 |
Повышенная скорость набора прочности и пониженное время сушки - не более 24 часов на 1 см толщины стяжки. Предел прочности на сжатие после 28 суток воздушной выдержки в зависимости от соотношения цемент: песок от 40 до 20 МПа. |
|
|
5 |
Теплозвукоизоляция из керамзитового или кварцевого песка |
По расчету |
Толщина слоя и расход материалов назначаются в соответствии с расчётами по параметрам тепло- и звукоизоляции |
|
6 |
Сплошное железобетонное междуэтажное перекрытие с неровной поверхностью |
|
|

|
Поз |
Наименование |
Расход |
Примечание |
|
1 |
Линолеум, синтетические плитки или ковры из синтетических волокон |
1,02 м2/м2 |
С целью стабилизации алкидного (натурального) линолеума и защиты от воздействия воды на его поверхность валиком наносится защитный слой марки «Secura» |
|
2 |
Водо-дисперсионный клей Uzin KE-2008 |
300-500 гр/м2 |
Применяется для поливинилхлоридного одно- и многослойного линолеума без подосновы и ковровых покрытий с поливинилхлоридной подосновой. Наносится зубчатым шпателем слоем толщиной не более 0,8 мм |
|
|
Полимерный клей Uzin КЕ-2000S |
300-500 гр/м2 |
Применяется для поливинилхлоридного одно- и многослойного линолеума без подосновы или вспененной подосновой, ковровых покрытий с поливинилхлоридной или вспененной подосновой, а также поливинилхлоридных и резиновых плит для спортивных покрытий (тренажерные залы). Клей характеризуется повышенным временем работоспособности. Наносится зубчатым шпателем слоем толщиной не более 0,8 мм |
|
|
Водо-дисперсионный клей Uzin KE-2008 Artie |
300-500 гр/м2 |
Применяется для поливинилхлоридного одно- и многослойного линолеума без подосновы и ковровых покрытий с поливинилхлоридной подосновой в не обогреваемых помещениях с минимальной температурой-25°С. Наносится зубчатым шпателем слоем толщиной не более 0,8 мм. |
|
|
Водо-дисперсионный клей UzmKE-418 |
250-280 гр/м2 |
Применяется для поливинилхлоридного одно- и многослойного линолеума без подосновы и ковровых покрытий с поливинилхлоридной подосновой, в помещениях площадью до 30 м2. Наносится зубчатым шпателем слоем толщиной не более 0,8 мм |
|
|
Водо-дисперсионный клей Uzin UZ-90 |
150-400 гр/м2 |
Применяется для ковровых покрытий с тканной или войлочной подосновой. Наносится зубчатым шпателем слоем толщиной не более 0,8 мм |
|
|
Водо-дисперсионный клей Uzin UZ-52 |
250-500 гр/м2 |
Применяется для ковровых покрытий с тканной или войлочной подосновой. Клей характеризуется пониженным выделением токсичных веществ при производстве работ. Наносится зубчатым шпателем слоем толщиной не более 0,8 мм |
|
|
Водо-дисперсионный клей UzinUZ-75 |
150-400 гр/м2 |
Применяется для ковровых покрытий с тканной, вспененной или войлочной подосновой в зонах с повышенными нагрузками. Наносится зубчатым шпателем слоем толщиной не более 0,8 мм |
|
|
Полиуретановый2-х компонентный клей Uzin KR-430 |
300-1300 гр/м2 |
Применяется для резинового линолеума, резиновых плит и ковровых покрытий с резиновой подосновой в отапливаемых и не отапливаемых помещениях, а также спортивных ковровых покрытий (наружные и внутренние беговые дорожки, покрытия для теннисных кортов). Наносится зубчатым шпателем слоем толщиной не более 0,8 мм |
|
|
Водо-дисперсионный клей Uzin UZLE-2401 |
400-500 гр/м2 |
Применяется для алкидного (натурального) линолеума. Наносится зубчатым шпателем слоем толщиной не более 0,8 мм |
|
|
Водо-дисперсионный клей Uzin UZ LE-44 |
400-500 гр/м2 |
Применяется для алкидного (натурального) линолеума. Клей характеризуется пониженным выделением токсичных веществ при производстве работ. Наносится зубчатым шпателем слоем толщиной не более 0,8 мм |
|
3 |
Грунтовка Uzin PE-460 |
100-200 гр/м2 |
Наносится валиком на очищенную поверхность стяжки под двухкомпонентные клеевые композиции |
|
4 |
Грунтовка Uzin PE-360 |
100-200 гр/м2
|
Наносится валиком на очищенную поверхность стяжки под клеевые композиции |
|
|
Стяжка из цементно-песча ного раствора марки М150 |
0,04 м3/м2 |
|
|
|
Стяжка из бетона BI 2,5 |
0,04 м3/м2 |
|
|
|
Стяжка из цементно-песча-ного раствора на основе по-лимерцемента марки Uzin NC-190 и сухого кварцевого песка фракции 0,2-6,3 мм в соотношении от 1: 4 до 1: 6 |
0,04 м3/м2 |
Повышенная скорость набора прочности и пониженное время сушки - не более 24 часов на 1 см толщины стяжки. Предел прочности на сжатие после 28 суток воздушной выдержки в зависимости от соотношения цемент: песок от 40 до 20 МПа. |
|
5 |
Теплозвукоизоляция из плит |
По расчёту |
Толщина слоя и расход материалов назначаются в соответствии с расчетами по параметрам тепло- и звукоизоляции |
|
6 |
Сплошное железобетонное междуэтажное перекрытие с неровной поверхностью |
|
|

|
Поз |
Наименование |
Расход |
Примечание |
|
1 |
Линолеум, синтетические плитки или ковры из синтетических волокон |
1,02 м2/м2 |
С целью стабилизации алкидного (натурального) линолеума и защиты от воздействия воды на его поверхность валиком наносится защитный слой марки «Secura» |
|
2 |
Водо-дисперсионный клей Uzin KE-2008 |
300-500 гр/м! |
Применяется для поливинилхлоридного одно- и многослойного линолеума без подосновы и ковровых покрытий с поливинилхлоридной подосновой. Наносится зубчатым шпателем слоем толщиной не более 0,8 мм |
|
Полимерный клей Uzin КЕ-2000S |
300-500 гр/м2 |
Применяется для поливинилхлоридного одно- и многослойного линолеума без подосновы или вспененной подосновой и ковровых покрытий с поливинилхлоридной или вспененной подосновой. Клей характеризуется повышенным временем работоспособности. Наносится зубчатым шпателем слоем толщиной не более 0,8 мм |
|
|
Водо-дисперсионный клей Uzin KE-2008 Artiс |
300-500 гр/м2 |
Применяется для поливинилхлоридного одно- и многослойного линолеума без подосновы и ковровых покрытий с поливинилхлоридной подосновой в не обогреваемых помещениях с минимальной температурой -25°С. Наносится зубчатым шпателем слоем толщиной не более 0,8 мм. |
|
|
Водо-дисперсионный клей Uzin KE-418 |
250-280 гр/м2 |
Применяется для поливинилхлоридного одно- и многослойного линолеума без подосновы и ковровых покрытий с поливинилхлоридной подосновой, в помещениях площадью до 30 м2. Наносится зубчатым шпателем слоем толщиной не более 0,8 мм |
|
|
Водо-дисперсионный клей Uzin UZ-90 |
150-400 гр/м2 |
Применяется для ковровых покрытий с тканной или войлочной подосновой. Наносится зубчатым шпателем слоем толщиной не более 0,8 мм |
|
|
Водо-дисперсионный клей Uzin UZ-52 |
250-500 гр/м2 |
Применяется для ковровых покрытий с тканной или войлочной подосновой. Клей характеризуется пониженным выделением токсичных веществ при производстве работ. Наносится зубчатым шпателем слоем толщиной не более 0,8 мм |
|
|
Водо-дисперсионный клей Uzin UZ-75 |
150-400 гр/м2 |
Применяется для ковровых покрытий с тканной, вспененной или войлочной подосновой в зонах с повышенными нагрузками. Наносится зубчатым шпателем слоем толщиной не более 0,8 мм |
|
|
Полиуретановый 2-х компонентный клей Uzin KR-430 |
300-1300 гр/м2 |
Применяется для резинового линолеума, резиновых плит и ковровых покрытий с резиновой подосновой в отапливаемых и не отапливаемых помещениях. Наносится зубчатым шпателем слоем толщиной не более 0,8 мм |
|
|
Водо-дисперсионный клей Uzin UZLE-2401 |
400-500 гр/м2 |
Применяется для алкидного (натурального) линолеума. Наносится зубчатым шпателем слоем толщиной не более 0,8 мм |
|
|
Водо-дисперсионный клей Uzin UZ LE-44 |
400-500 гр/м2 |
Применяется для алкидного (натурального) линолеума. Клей характеризуется пониженным выделением токсичных веществ при производстве работ. Наносится зубчатым шпателем слоем толщиной не более 0,8 мм |
|
|
|
Грунтовка Uzin PE-460 |
100-200 гр/м2 |
Наносится валиком на очищенную поверхность сборной стяжки под двухкомпонентные клеевые композиции |
|
Грунтовка Uzin PE-360 |
100-200 гр/м2 |
Наносится валиком на очищенную поверхность сборной стяжки под клеевые композиции |
|
|
4 |
Сборная стяжка из готовых элементов ГВЛВ КНАУФ |
1,02 м2/м2 |
|
|
5 |
Засыпка из кварцевого песка |
По факту |
|
|
6 |
Сплошное железобетонное междуэтажное перекрытие с неровной поверхностью |
|
|

|
Поз |
Наименование |
Расход |
Примечание |
|
1 |
Линолеум,синтетические плитки или ковры из синтетических волокон |
1,02 м2/м2 |
С целью стабилизации алкидного (натурального) линолеума и защиты от воздействия воды на его поверхность валиком наносится защитный слой марки «Secura» |
|
2 |
Водо-дисперсионный клей Uzin KE-2008 |
300-500 гр/м2 |
Применяется для поливинилхлоридного одно- и многослойного линолеума без подосновы и ковровых покрытий с поливинилхлоридной подосновой. Наносится зубчатым шпателем слоем толщиной не более 0,8 мм |
|
Полимерный клей Uzin КЕ-2000S |
300-500 гр/м2 |
Применяется для поливинилхлоридного одно- и многослойного линолеума без подосновы или вспененной подосновой и ковровых покрытий с поливинилхлоридной или вспененной подосновой. Клей характеризуется повышенным временем работоспособности. Наносится зубчатым шпателем слоем толщиной не более 0,8 мм |
|
|
Водо-дисперсионный клей Uzin KE-2008 Artie |
300-500 гр/м2 |
Применяется для поливинилхлоридного одно-и многослойного линолеума без подосновы и ковровых покрытий с поливинилхлоридной подосновой в не обогреваемых помещениях с минимальной температурой -25°С. Наносится зубчатым шпателем слоем толщиной не более 0,8 мм. |
|
|
Водо-дисперсионный клей UzifiKE-418 |
250-280 гр/м2 |
Применяется для поливинилхлоридного одно-и многослойного линолеума без подосновы и ковровых покрытий с поливинилхлоридной подосновой, в помещениях площадью до 30 м2. Наносится зубчатым шпателем слоем толщиной не более 0,8 мм |
|
|
Водо-дисперсионный клей Uzin UZ-90 |
150-400 гр/м2 |
Применяется для ковровых покрытий с тканной или войлочной подосновой. Наносится зубчатым шпателем слоем толщиной не более 0,8 мм |
|
|
Водо-дисперсионный клей Uzin UZ-52 |
250-500 гр/м2 |
Применяется для ковровых покрытий с тканной или войлочной подосновой. Клей характеризуется пониженным выделением токсичных веществ при производстве работ. Наносится зубчатым шпателем слоем толщиной не более 0,8 мм |
|
|
Водо-дисперсионный клей Uzin UZ-75 |
150-400 гр/м2 |
Применяется для ковровых покрытий с тканной, вспененной или войлочной подосновой в зонах с повышенными нагрузками. Наносится зубчатым шпателем слоем толщиной не более 0,8 мм |
|
|
Полиуретановый 2-х компонентный клей Uzin KR-430 |
300-1300 гр/м2 |
Применяется для резинового линолеума, резиновых плит и ковровых покрытий с резиновой подосновой в отапливаемых и не отапливаемых помещениях. Наносится зубчатым шпателем слоем толщиной не более 0,8 мм |
|
|
Водо-дисперсионный клей Uzin UZ LE-2401 |
400-500 гр/м2 |
Применяется для алкидного (натурального) линолеума. Наносится зубчатым шпателем слоем толщиной не более 0,8 мм |
|
|
Водо-дисперсионный клей Uzin UZ LE-44 |
400-500 гр/м2 |
Применяется для алкидного (натурального) линолеума. Клей характеризуется пониженным выделением токсичных веществ при производстве работ. Наносится зубчатым шпателем слоем толщиной не более 0,8 мм |
|
|
3 |
Грунтовка Uzin PE-460 |
100-200 гр/м2 |
Наносится валиком на очищенную поверхность сборной стяжки под двухкомпонентные клеевые композиции |
|
Грунтовка Uzin PE-360 |
100-200 гр/м2 |
Наносится валиком на очищенную поверхность сборной стяжки под клеевые композиции |
|
|
4 |
Сборная стяжка из готовых элементов ГВЛВ КНАУФ |
1,02 м2/м2 |
|
|
5 |
Тепло-звукоизоляция из керамзитового или кварцевого песка |
По расчету |
Толщина слоя и расход материалов назначаются в соответствии с расчетами по параметрам тепло- и звукоизоляции |
|
6 |
Сплошное железобетонное междуэтажное перекрытие с неровной поверхностью |
|
|

|
Поз |
Наименование |
Расход |
Примечание |
|
1 |
Линолеум, синтетические плитки или ковры из синтетических волокон |
1,02 м2/м2 |
С целью стабилизации алкидного (натурального) линолеума и защиты от воздействия воды на его поверхность валиком наносится защитный слой марки «Secura» |
|
2 |
Водо-дисперсионный клей Uzin KE-2008 |
300-500 гр/м2 |
Применяется для поливинилхлоридного одно- и многослойного линолеума без подосновы и ковровых покрытий с поливинилхлоридной подосновой. Наносится зубчатым шпателем слоем толщиной не более 0,8 мм |
|
|
Полимерный клей Uzin КЕ-2000S |
300-500 гр/м2 |
Применяется для поливинилхлоридного одно- и многослойного линолеума без подосновы или вспененной подосновой и ковровых покрытий с поливинилхлоридной или вспененной подосновой. Клей характеризуется повышенным временем работоспособности. Наносится зубчатым шпателем слоем толщиной не более 0,8 мм |
|
Водо-дисперсионный клей Uzin KE-2008 Artie |
300-500 гр/м2 |
Применяется для поливинилхлоридного одно- и многослойного линолеума без подосновы и ковровых покрытий с поливинилхлоридной подосновой в не обогреваемых помещениях с минимальной температурой -25°С. Наносится зубчатым шпателем слоем толщиной не более 0,8 мм. |
|
|
Водо-дисперсионный клей Uzin KE-4I8 |
250-280 гр/м2 |
Применяется для поливинилхлоридного одно- и многослойного линолеума без подосновы и ковровых покрытий с поливинилхлоридной подосновой, в помещениях площадью до 30 м2. Наносится зубчатым шпателем слоем толщиной не более 0,8 мм |
|
|
Водо-дисперсионный клей Uzin UZ-90 |
150-400 гр/м2 |
Применяется для ковровых покрытий с тканной или войлочной подосновой. Наносится зубчатым шпателем слоем толщиной не более 0,8 мм |
|
|
Водо-дисперсионный клей Uzin UZ-52 |
250-500 гр/м2 |
Применяется для ковровых покрытий с тканной или войлочной подосновой. Клей характеризуется пониженным выделением токсичных веществ при производстве работ. Наносится зубчатым шпателем слоем толщиной не более 0,8 мм |
|
|
Водо-дисперсионный клей Uzin UZ-75 |
150-400 гр/м2 |
Применяется для ковровых покрытий с тканной, вспененной или войлочной подосновой в зонах с повышенными нагрузками. Наносится зубчатым шпателем слоем толщиной не более 0,8 мм |
|
|
Полиуретановый 2-х компонентный клей Uzin K.R-430 |
300-1300 гр/м2 |
Применяется для резинового линолеума, резиновых плит и ковровых покрытий с резиновой подосновой в отапливаемых и не отапливаемых помещениях. Наносится зубчатым шпателем слоем толщиной не более 0,8 мм |
|
|
Водо-дисперсионный клей Uzin UZ LE-2401 |
400-500 гр/м2 |
Применяется для алкидного (натурального) линолеума. Наносится зубчатым шпателем слоем толщиной не более 0,8 мм |
|
|
Водо-дисперсионный клей Uzin UZ LE-44 |
400-500 гр/м2 |
Применяется для алкидного (натурального) линолеума. Клей характеризуется пониженным выделением токсичных веществ при производстве работ. Наносится зубчатым шпателем слоем толщиной не более 0,8 мм |
|
|
3 |
Грунтовка Uzin PE-460 |
100-200 гр/м2 |
Наносится валиком на очищенную поверхность сборной стяжки под двухкомпонентные клеевые композиции |
|
Грунтовка Uzin PE-360 |
100-200 гр/м2 |
Наносится валиком на очищенную поверхность сборной стяжки под клеевые композиции |
|
|
4 |
Сборная стяжка из готовых элементов ГВЛВ КНАУФ |
1,02 м2/м2 |
|
|
5 |
Тепло-звукоизоляция из плит |
По расчёту |
Толщина слоя и расход материалов назначаются в соответствии с расчётами по параметрам тепло-и звукоизоляции |
|
6 |
Сплошное железобетонное междуэтажное перекрытие с неровной поверхностью |
|
|

|
Поз |
Наименование |
Расход |
Примечание |
|
1 |
Линолеум, синтетические плитки или ковры из синтетических волокон |
1,02 м2/м2 |
|
|
2 |
Водо-дисперсионный клей Uzin КЕ-2008 |
300-500 гр/м2 |
Применяется для поливинилхлоридного одно- и многослойного линолеума без подосновы и ковровых покрытий с поливинилхлоридной подосновой. Наносится зубчатым шпателем слоем толщиной не более 0,8 мм |
|
|
Полимерный клей Uzin КЕ-2000S |
300-500 гр/м2 |
Применяется для поливинилхлоридного одно- и многослойного линолеума без подосновы или вспененной подосновой и ковровых покрытий с поливинилхлоридной или вспененной подосновой. Клей характеризуется повышенным временем работоспособности. Наносится зубчатым шпателем слоем толщиной не более 0,8 мм |
|
Водо-дисперсионный клей Uzin UZ-75 |
150-400 гр/м2 |
Применяется для ковровых покрытий с тканной, вспененной или войлочной подосновой в зонах с повышенными нагрузками. Наносится зубчатым шпателем слоем толщиной не более 0,8 мм |
|
|
3 |
Упругая подложка из плит пробко-резинового гранул-лята марки Uzin RR-188 |
1 м2/м2 |
Выбор типа упругой прослойки и ее толщины осуществляется с учётом теплофизических расчетов по параметру теплоусвоения полов |
|
Упругая подложка из плит пробко-резинового гранул-лята марки Uzin RR-189 Plus |
1 м2/м2
|
||
|
4 |
Полимерный клей Uzin KE-2000S |
300-500 гр/м2 |
|
|
5 |
Полймерцементная саморазравнивающаяся стяжка марки Uzin NC-145 |
1,5 кг/м2 |
Наносится шпателем слоем толщиной до 5 мм. Расход - на 1 мм слоя Предел прочности при сжатии после 28 суток выдержки - не менее 20 МПа |
|
Полймерцементная саморазравнивающаяся стяжка марки UzinNC-150 |
1,5 кг/м2 |
Наносится шпателем слоем толщиной до 10 мм. Расход - на 1 мм слоя Предел прочности при сжатии после 28 суток выдержки - не менее 27 МПа |
|
|
Полймерцементная саморазравнивающаяся стяжка марки Uzin NC-160 |
1,4 кг/м2 |
Наносится шпателем слоем толщиной до 10 мм. Расход - на 1 мм слоя Предел прочности при сжатии после 28 суток выдержки - не менее 35 МПа |
|
|
Полймерцементная саморазравнивающаяся стяжка марки Uzin NC-170 |
1,4 кг/м2 |
Наносится шпателем слоем толщиной до 10 мм. Расход - на 1 мм слоя Предел прочности при сжатии после 28 суток выдержки - не менее 40 МПа |
|
|
Полймерцементная саморазравнивающаяся стяжка марки Uzin NC-172 |
1,3 кг/м2 |
Наносится шпателем слоем толщиной до 10 мм. Расход - на 1 мм слоя Предел прочности при сжатии после 28 суток выдержки - не менее 45 МПа |
|
|
Полймерцементная саморазравнивающаяся стяжка марки Uzin NC-174 |
1,6 кг/м2 |
Наносится шпателем слоем толщиной до 20 мм. Расход - на 1 мм слоя Предел прочности при сжатии после 28 суток выдержки - не менее 35 МПа |
|
|
Полймерцементная саморазравнивающаяся стяжка марки Uzin NC-195 |
1,6 кг/м2 |
Наносится шпателем слоем толщиной до 40 мм. Расход - на 1 мм слоя Предел прочности при сжатии после 28 суток выдержки - не менее 35 МПа |
|
|
Полймерцементная саморазравнивающаяся стяжка марки Uzin NC-395 |
1,8 кг/м2 |
Наносится шпателем слоем толщиной до 40 мм. Расход - на 1 мм слоя Предел прочности при сжатии после 28 суток выдержки - не менее 35 МПа Стяжка рекомендуется в полах не отапливаемых помещениях |
|
|
Стяжка из цементно-песчаного раствора марки М150 |
0,02 м3/м2 |
|
|
|
Стяжка из бетона В 12,5 |
0,02 м3/м2 |
|
|
|
6 |
Грунтовка Uzin PE-360 |
100-150 гр/м" |
Наносится валиком на очищенную поверхность бетонного основания под саморазравнивающиеся стяжки |
|
7 |
Сплошное железобетонное междуэтажное перекрытие с пеоовной повепхностыо |
|
|

|
Поз |
Наименование |
Расход |
Примечание |
|
1 |
Антистатический алкидный (натуральный) линолеум, резиновый линолеум и резиновые плиты |
1,02 м2/м2 |
С целью стабилизации алкидного (натурального) линолеума и защиты от воздействия воды на его поверхность валиком наносится защитный слой марки «Secura» |
|
2 |
Водо-дисперсионный электропроводящий клей Uzin UZ-75 L |
500-600 гр/м2 |
Применяется для антистатического алкидного (натурального) линолеума. Наносится зубчатым шпателем слоем толщиной не более 0,8 мм |
|
Полиуретановый 2-х компонентный электропроводящий клей Uzin KR-430 L |
250-1200 гр/м2 |
Применяется для антистатического резинового линолеума и антистатических резиновых плит. Наносится зубчатым шпателем слоем толщиной не более 0,8 мм |
|
|
Эпоксидный 2-х компонентный электропроводящий клей Uzin KR-421 L |
250-550 гр/м2 |
Применяется для антистатического резинового линолеума и антистатических резиновых плит. Наносится зубчатым шпателем слоем толщиной не более 0,8 мм |
|
|
3 |
Самоклеящаяся медная лента UZIN-Kupferleitband |
По факту |
Создаётся электроотводящий контур, наклеивая ленту по периметру помещения, а также вдоль и поперек помещения с шагом не более 3 м. Электроотводящий контур должен быть присоединён к системе заземления здания |
|
4 |
Полимерцементная саморазравнивающаяся стяжка марки UzinNC-150 |
1,5 кг/м2 |
Наносится шпателем слоем толщиной до 10 мм. Расход - на 1 мм слоя Предел прочности при сжатии после 28 суток выдержки - не менее 27 МПа |
|
Полимерцементная саморазравнивающаяся стяжка марки Uzin NC-160 |
1,4 кг/м2 |
Наносится шпателем слоем толщиной до 10 мм. Расход-на 1 мм слоя Предел прочности при сжатии после 28 суток выдержки - не менее 35 МПа |
|
|
Полимерцементная саморазравнивающаяся стяжка марки Uzin NC-170 |
1,4 кг/м2 |
Наносится шпателем слоем толщиной до 10 мм. Расход - на 1 мм слоя Предел прочности при сжатии после 28 суток выдержки - не менее 40 МПа |
|
|
Полимерцементная саморазравнивающаяся стяжка марки Uzin NC-172 |
1,3 кг/м2 |
Наносится шпателем слоем толщиной до 10 мм. Расход- на 1 мм слоя Предел прочности при сжатии после 28 суток выдержки - не менее 45 МПа |
|
|
Полимерцементная саморазравнивающаяся стяжка марки Uzin NC-174 |
1,6 кг/м2 |
Наносится шпателем слоем толщиной до 20 мм. Расход - на 1 мм слоя Предел прочности при сжатии после 28 суток выдержки - не менее 35 МПа |
|
|
Полимерцементная саморазравннвающаяся стяжка марки Uzin NC-195 |
1,6 кг/м2 |
Наносится шпателем слоем толщиной до 40 мм. Расход - на 1 мм слоя Предел прочности при сжатии после 28 суток выдержки - не менее 35 МПа |
|
|
Стяжка из цементнопесчаного раствора марки Ml50 |
0,02 м'/м2 |
|
|
|
Стяжка из бетона В 12,5 |
100-150 гр/м2 |
|
|
|
5 |
Грунтовка Uzin РЕ-360 |
100-150 гр/м2 |
Наносится валиком на очищенную поверхность бетонного основания под саморазравнивающиеся стяжки |
|
6 |
Сплошное железобетонное междуэтажное перекрытие с неровной поверхностью |
|
|

|
Поз |
Наименование |
Расход |
Примечание |
|
1 |
Антистатический поливинилхлоридный линолеум |
1,02 м2/м2 |
|
|
2 |
Эпоксидный 2-х компонентный электропроводящий клей Uzin UZ-2000 SL |
300-400 гр/м2 |
Наносится зубчатым шпателем слоем толщиной не более 0,8 мм |
|
3 |
Самоклеящаяся медная лента UZIN-K.upferleitband |
1м/30м2 |
Самоклеящаяся медная лента должна быть присоединена к системе заземления здания. |
|
4 |
Электропроводящая грунтовка Uzin PE-260 L |
100-150 гр/м2 |
Наносится валиком на очищенную поверхность цементно-песчаной, полимерцементной саморазравнивающейся или бетонной стяжки |
|
5 |
Полимерцементная саморазравнивающаяся стяжка марки Uzin NC-150 |
1,5 кг/м2 |
Наносится шпателем слоем толщиной до 10 мм. Расход - на 1 мм слоя Предел прочности при сжатии после 28 суток выдержки - не менее 27 МПа |
|
Полимерцементная саморазравнивающаяся стяжка марки Uzin NC-160 |
1,4 кг/м2 |
Наносится шпателем слоем толщиной до 10 мм. Расход - на 1 мм слоя Предел прочности при сжатии после 28 суток выдержки - не менее 35 МПа |
|
|
Полимерцементная саморазравнивающаяся стяжка марки Uzin NC-170 |
1,4 кг/м2 |
Наносится шпателем слоем толщиной до 10 мм. Расход - на 1 мм слоя Предел прочности при сжатии после 28 суток выдержки - не менее 40 МПа |
|
|
Полимерцементная саморазравнивающаяся стяжка марки Uzin NC-172 |
1,3 кг/м2 |
Наносится шпателем слоем толщиной до 10 мм. Расход - на 1 мм слоя Предел прочности при сжатии после 28 суток выдержки - не менее 45 МПа |
|
|
Полимерцементная саморазравнивающаяся стяжка марки Uzin NC-174 |
1,6 кг/м2 |
Наносится шпателем слоем толщиной до 20 мм. Расход - на 1 мм слоя Предел прочности при сжатии после 28 суток выдержки - не менее 35 МПа |
|
|
Полимерцементная саморазравнивающаяся стяжка марки Uzin NC-195 |
1,6 кг/м2 |
Наносится шпателем слоем толщиной до 40 мм. Расход- на 1 мм слоя Предел прочности при сжатии после 28 суток выдержки - не менее 35 МПа |
|
|
Стяжка из цементнопесчаного раствора марки Ml 50 |
0,02 м3/м2 |
|
|
|
Стяжка из бетона В 12,5 |
100-150 гр/м2 |
|
|
|
6 |
Грунтовка Uzin PE-360 |
100-150 гр/м2 |
Наносится валиком на очищенную поверхность бетонного основания под саморазравнивающиеся стяжки |
|
7 |
Сплошное железобетонное междуэтажное перекрытие с неровной поверхностью |
|
|

|
Поз |
Наименование |
Расход |
Примечание |
|
1 |
Линолеум, синтетические плитки или ковры из синтетических волокон |
1,02 м2/м2 |
С целью стабилизации алкидного (натурального) линолеума и защиты от воздействия воды на его поверхность валиком наносится защитный слой марки «Secura» |
|
2 |
Водо-дисперсионный клей Uzin KE-2008 |
300-500 гр/м2 |
Применяется для поливинилхлоридного одно- и многослойного линолеума без подосновы и ковровых покрытий с поливинилхлоридной подосновой. Наносится зубчатым шпателем слоем толщиной не более 0,8 мм |
|
Полимерный клей Uzin KE-2000S |
300-500 гр/м2 |
Применяется для поливинилхлоридного одно- и многослойного линолеума без подосновы или вспененной подосновой, ковровых покрытий с поливинилхлоридной или вспененной подосновой, а также поливинилхлоридных и резиновых плит для спортивных покрытий (тренажерные залы). Клей характеризуется повышенным временем работоспособности. Наносится зубчатым шпателем слоем толщиной не более 0,8 мм |
|
|
Водо-дисперсионный клей Uzin KE-418 |
250-280 гр/м2 |
Применяется для поливинилхлоридного одно- и многослойного линолеума без подосновы и ковровых покрытий с поливинилхлоридной подосновой, в помещениях площадью до 30 м2. Наносится зубчатым шпателем слоем толщиной не более 0,8 мм |
|
|
Водо-дисперсионный клей Uzin UZ-90 |
150-400 гр/м2 |
Применяется для ковровых покрытий с тканной или войлочной подосновой. Наносится зубчатым шпателем слоем толщиной не более 0,8 мм |
|
|
Водо-дисперсионный клей Uzin UZ-52 |
250-500 гр/м2 |
Применяется для ковровых покрытий с тканной или войлочной подосновой. Клей характеризуется пониженным выделением токсичных веществ при производстве работ. Наносится зубчатым шпателем слоем толщиной не более 0,8 мм |
|
|
Водо-дисперсионный клей Uzin UZ-75 |
1 50-400 гр/м2 |
Применяется для ковровых покрытий с тканной, вспененной или войлочной подосновой в зонах с повышенными нагрузками. Наносится зубчатым шпателем слоем толщиной не более 0,8 мм |
|
|
Полиуретановый 2-х компонентный клей Uzin KR-430 |
300-1300 гр/м2 |
Применяется для резинового линолеума, резиновых плит и ковровых покрытий с резиновой подосновой, а также спортивных ковровых покрытий. Наносится зубчатым шпателем слоем толщиной не более 0,8 мм |
|
|
Полимерцементный 2-х компонентный клей Uzin UZ КЕ-603 |
300-500 гр/м2 |
Применяется для алкидного (натурального) линолеума. Наносится зубчатым шпателем слоем толщиной не более 0,8 мм |
|
|
3 |
Эпоксидная грунтовка Uzin РЕ-440 |
100-200 гр/м2 |
Наносится валиком на очищенную поверхность стяжки при наклейке резиновых покрытий |
|
4 |
Полимерцементная саморазравнивающаяся стяжка марки Uzin NC-170 + пластифицирующая добавка Uzin PE-520 |
1,4 + 0,08 кг/м2 |
Наносится зубчатым шпателем слоем толщиной до 10 мм. Расход - на 1 мм слоя Предел прочности при сжатии после 28 суток выдержки - не менее 40 МПа |
|
Полимерцементная саморазравнивающаяся стяжка марки Uzin NC-172+ пластифицирующая добавка Uzin PE-520 |
1,3 + 0,08 кг/м2 |
Наносится зубчатым шпателем слоем толщиной до 10 мм. Расход - на 1 мм слоя Предел прочности при сжатии после 28 суток выдержки - не менее 45 МПа |
|
|
5 |
Эпоксидная грунтовка Uzin РЕ-440 |
100-200 гр/м2 |
Наносится валиком на отпескоструенную и обезжиренную поверхность металлического межэтажного перекрытия |
|
6 |
Металлическое межэтажное перекрытие |
|
|

|
Поз |
Наименование |
Расход |
Примечание |
|
1 |
Линолеум, синтетические плитки или ковры из синтетических волокон |
1,02 м2/м2 |
С целью стабилизации алкидного (натурального) линолеума и защиты от воздействия воды на его поверхность валиком наносится защитный слой марки «Secura» |
|
2 |
Эпоксидный 2-х компонентный клей Uzin KR-421 Полиуретановый 2-х компонентный клей Uzin KR-430; Полимерцементный 2-х компонентный клей Uzin UZ-KE-603 |
300-500 гр/м2 300-1300 гр/м2 300-500 гр/м2 |
Применяется для поливинилхлоридного одно- и многослойного линолеума без подосновы и ковровых покрытий с поливинилхлоридной подосновой в не обогреваемых помещениях с минимальной температурой -25°С. Наносится зубчатым шпателем слоем толщиной не более 0,8 мм. Применяется для резинового линолеума, резиновых плит и ковровых покрытий с резиновой подосновой, а также спортивных ковровых покрытий. Наносится зубчатым шпателем слоем толщиной не более 0,8 мм Применяется для алкидного (натурального) линолеума. Наносится зубчатым шпателем слоем толщиной не более 0,8 мм |
|
3 |
Полиуретановая саморазравнивающаяся 2-х компонентная стяжка марки Uzin KR-410 |
1,6 кг/м2 |
Наносится зубчатым шпателем без ограничения толщины слоя. Расход- на 1 мм слоя Предел прочности при сжатии после 28 суток выдержки - не менее 60 МПа |
|
4 |
Эпоксидная грунтовка Uzin Systemharz+Spezialfuller ES |
100-200 гр/м2 |
Наносится валиком на отпескоструенную и обезжиренную поверхность металлического межэтажного перекрытия |
|
5 |
Металлическое межэтажное перекрытие |
|
|

|
Поз |
Наименование |
Расход |
Примечание |
|
1 |
Керамические плитки, керамогранитные плиты и плиты из природного камня |
|
|
|
2 |
Затирка Uzin Fugenweiss |
По факту |
Применяется для затирки швов в покрытиях из керамической плитки и керамогранитных плит. Цвет затирки - белый. |
|
|
Затирка Uzin Fugenbunt |
По факту |
Применяется для затирки швов в покрытиях из керамической плитки и керамогранитных плит. Цвет затирки - бежевый. |
|
Затирка Uzin Fugengrau |
По факту |
Применяется для затирки швов в покрытиях из керамической плитки и керамогранит-ных плит. Цвет затирки - серый. |
|
|
Затирка Uzin Stone Fuge |
По факту |
Применяется для затирки швов в покрытиях из и плит из природного камня |
|
|
3 |
Клей Uzin Power Base |
1,7-3,3 кг/м2 |
Применяется при изготовлении покрытий полов из керамических плиток в отапливаемых помещениях. Толщина клеевой прослойки - до 5 мм |
|
Клей Uzin Power Plus |
1,7-3,3 кг/м2 |
Применяется при изготовлении покрытий полов из тонкослойных (толщиной менее 10 мм) керамических плиток в отапливаемых помещениях. Толщина клеевой прослойки - до 5 мм |
|
|
Клей Uzin Power Flex |
1,8-4,5 кг/м2 |
Применяется при изготовлении покрытий полов из керамогранитных плит в отапливаемых и не отапливаемых помещениях. Толщина клеевой прослойки - до 5 мм |
|
|
Клей Uzin Power Flex Turbo |
1,7-4,4 кг/м2 |
Применяется при изготовлении покрытий полов из керамогранитных крупноразмерных (длина и ширина более 300 мм) плит в отапливаемых и не отапливаемых помещениях. Толщина клеевой прослойки - до 10 мм |
|
|
Клей Uzin Stone Plus |
1,8-2,7 кг/мг |
Применяется при изготовлении покрытий полов из плит из природного камня (толщина плит до 5 мм) в отапливаемых помещениях. Толщина клеевой прослойки - до 5 мм |
|
|
Клей Uzin Stone Flex |
1,8-3,6 кг/м2 |
Применяется при изготовлении покрытий полов из плит из природного камня (толщина плит от 5 до 10 мм) в отапливаемых и не отапливаемых помещениях. Толщина клеевой прослойки - до 10 мм |
|
|
Клей Uzin Stone Mittelbett |
4,3-6,2 кг/м2 |
Применяется при изготовлении покрытий полов из плит из природного камня (толщина плит от более 10 мм) в отапливаемых и не отапливаемых помещениях Толщина клеевой прослойки - до 20 мм |
|
|
4 |
Грунтовка Uzin Fliesengrund |
100-150 гр/м3 |
Наносится валиком на очищенную поверхность бетонного основания |
|
5 |
Бетонное основание из бетона класса В22,5 |
0,10 м3/м2 или 0,12 м3/м2 |
|
|
6 |
Грунт основания |
|
|

|
Поз |
Наименование |
Расход |
Примечание |
|
1 |
Керамические плитки, кера-могранитные плиты и плиты из природного камня |
|
|
|
2 |
Затирка Uzin Fugenweiss |
По факту |
Применяется для затирки швов в покрытиях из керамической плитки и керамогранитных плит. Цвет затирки - белый. |
|
Затирка Uzin Fugenbunt |
По факту |
Применяется для затирки швов в покрытиях из керамической плитки и керамогранитных плит. Цвет затирки - бежевый. |
|
|
Затирка Uzin Fugengrau |
По факту |
Применяется для затирки швов в покрытиях из керамической плитки и керамогранитных плит. Цвет затирки - серый. |
|
|
Затирка Uzm Stone Fuge |
По факту |
Применяется для затирки швов в покрытиях из и плит из природного камня |
|
|
3 |
Клей Uzin Power Base |
1,7-3,3 кг/м2 |
Применяется при изготовлении покрытий полов из керамических плиток в отапливаемых помещениях. Толщина клеевой прослойки - до 5 мм |
|
Клей Uzin Power Plus |
1,7-3,3 кг/м2 |
Применяется при изготовлении покрытий полов из тонкослойных (толщиной менее 10 мм) керамических плиток в отапливаемых помещениях. Толщина клеевой прослойки - до 5 мм |
|
|
Клей Uzin Power Flex |
1,8-4,5 кг/м2 |
Применяется при изготовлении покрытий полов из керамогранитных плит в отапливаемых и не отапливаемых помещениях. Толщина клеевой прослойки - до 5 мм |
|
|
Клей Uzin Power Flex Turbo |
1,7-4,4 кг/м2 |
Применяется при изготовлении покрытий полов из керамогранитных крупноразмерных (длина и ширина более 300 мм) плит в отапливаемых и не отапливаемых помещениях. Толщина клеевой прослойки - до 1 0 мм |
|
|
Клей Uzin Stone Plus |
1,8-2,7 кг/м2 |
Применяется при изготовлении покрытий полов из плит из природного камня (толщина плит до 5 мм) в отапливаемых помещениях. Толщина клеевой прослойки - до 5 мм |
|
|
Клей Uzin Stone Flex |
1,8-3,6 кг/м2 |
Применяется при изготовлении покрытий полов из плит из природного камня (толщина плит от5 до 10 мм) в отапливаемых и не отапливаемых помещениях. Толщина клеевой прослойки - до 10 мм |
|
|
Клей Uzin Stone Mittelbett |
4,3-6,2 кг/м2 |
Применяется при изготовлении покрытий полов из плит из природного камня (толщина плит от более 10 мм) в отапливаемых и не отапливаемых помещениях. Толщина клеевой прослойки - до 20 мм |
|
|
4 |
Грунтовка Uzin Fliesengrund |
100-150 гр/м2 |
Наносится валиком на очищенную поверхность бетонного основания |
|
5 |
Бетонное основание из бетона класса В22,5 |
0,10 м3/м2или 0,12 м3/м2 |
|
|
6 |
Наливная гидроизоляция – щебень или гравий, пропитанные битумом |
Щебень или гравий - 0,04-0,05 м2/м2, битум - по факту |
|
|
7 |
Грунт основания |
0,05 м3/м2 |
|

|
Поз |
Наименование |
Расход |
Примечание |
|
1 |
Керамические плитки, керамогранитные плиты и плиты из природного камня |
|
|
|
2 |
Затирка Uzin Fugenweiss |
По факту |
Применяется для затирки швов в покрытиях из керамической плитки и керамогранитных плит. Цвет затирки - белый. |
|
Затирка Uzin Fugenbunt |
По факту |
Применяется для затирки швов в покрытиях из керамической плитки и керамогранитных плит. Цвет затирки - бежевый. |
|
|
Затирка Uzin Fugengrau |
По факту |
Применяется для затирки швов в покрытиях из керамической плитки и керамогранитных плит. Цвет затирки - серый. |
|
|
Затирка Uzin Stone Fuge |
По факту |
Применяется для затирки швов в покрытиях из и плит из природного камня |
|
|
3 |
Клей Uzin Power Base |
1,7-3,3 кг/м2 |
Применяется при изготовлении покрытий полов из керамических плиток в отапливаемых помещениях. Толщина клеевой прослойки - до 5 мм |
|
Клей Uzin Power Plus |
1,7-3,3 кг/м2 |
Применяется при изготовлении покрытий полов из тонкослойных (толщиной менее 10 мм) керамических плиток в отапливаемых помещениях. Толщина клеевой прослойки - до 5 мм |
|
|
Клей Uzin Power Flex |
1,8-4,5 кг/м2 |
Применяется при изготовлении покрытий полов из керамогранитных плит в отапливаемых и не отапливаемых помещениях. Толщина клеевой прослойки - до 5 мм |
|
|
Клей Uzin Power Flex Turbo |
1,7-4,4 кг/м2 |
Применяется при изготовлении покрытий полов из керамогранитных крупноразмерных (длина и ширина более 300 мм) плит в отапливаемых и не отапливаемых помещениях. Толщина клеевой прослойки - до 10 мм |
|
|
Клей Uzin Stone Plus |
1,8-2,7 кг/м2 |
Применяется при изготовлении покрытий полов из плит из природного камня (толщина плит до 5 мм) в отапливаемых помещениях. Толщина клеевой прослойки - до 5 мм |
|
|
Клей Uzin Stone Flex |
1,8-3,6 кг/м2 |
Применяется при изготовлении покрытий полов из плит из природного камня (толщина плит от 5 до 10 мм) в отапливаемых и не отапливаемых помещения помещениях. Толщина клеевой прослойки - до 10 мм |
|
|
Клей Uzin Stone Mittelbett |
4,3-6,2 кг/м2 |
Применяется при изготовлении покрытий полов из плит из природного камня (толщина плит от более 10 мм) в отапливаемых и не отапливаемых помещениях. Толщина клеевой прослойки - до 20 мм |
|
|
4 |
Грунтовка Uzin Fliesengrund |
100-150 гр/м2 |
Наносится валиком на очищенную поверхность бетонного основания |
|
5 |
Бетонное основание из бетона класса В22,5 |
0,10 м3/м2 или 0,12 м3/м2 |
|
|
6 |
Рулонная гидроизоляция |
1,02 м2/м2 |
|
|
7 |
Стяжка из цементно-песчаного раствора марки М150 |
0,05 м3/м2 |
|
|
8 |
Грунт основания |
|
|

|
Поз |
Наименование |
Расход |
Примечание |
|
1 |
Керамические плитки и керамогранитные плиты |
|
|
|
2 |
Затирка Uzin Fugenweiss |
По факту |
Применяется для затирки швов в покрытиях из керамической плитки и керамогранитных плит. Цвет затирки - белый. |
|
Затирка Uzin Fugenbunt |
По факту |
Применяется для затирки швов в покрытиях из керамической плитки и керамогранитных плит. Цвет затирки - бежевый. |
|
|
Затирка Uzin Fugengrau |
По факту |
Применяется для затирки швов в покрытиях из керамической плитки и керамогранитных плит. Цвет затирки - серый. |
|
|
3 |
Клей Uzin Power Base |
1,7-3,3 кг/м2 |
Применяется при изготовлении покрытий полов из керамических плиток в отапливаемых помещениях. Толщина клеевой прослойки - до 5 мм |
|
Клей Uzin Power Plus |
1,7-3,3 кг/м2 |
Применяется при изготовлении покрытий полов из тонкослойных (толщиной менее 10 мм) керамических плиток в отапливаемых помещениях. Толщина клеевой прослойки - до 5 мм |
|
|
Клей Uzin Power Flex |
1,8-4,5 кг/м2 |
Применяется при изготовлении покрытий полов из керамогранитных плит в отапливаемых и не отапливаемых помещениях. Толщина клеевой прослойки - до 5 мм |
|
|
Клей Uzin Power Flex Turbo |
1,7-4,4 кг/м2 |
Применяется при изготовлении покрытий полов из керамогранитных крупноразмерных (длина и ширина более 300 мм) плит в отапливаемых и не отапливаемых помещениях. Толщина клеевой прослойки - до 10 мм |
|
|
4 |
Грунтовка Uzin Fliesengrund |
100-150 гр/м2 |
Наносится валиком на очищенную поверхность цементно-песчаной или бетонной стяжки |
|
5 |
Полимерцементная саморазравнивающаяся стяжка марки Uzin NC-145 |
1,5 кг/м2 |
Наносится шпателем слоем толщиной до 5 мм. Расход - на 1 мм слоя Предел прочности при сжатии после 28 суток выдержки - не менее 20 МПа |
|
Полимерцементная саморазравнивающаяся стяжка марки Uzin NC-150 |
1,5 кг/м2 |
Наносится шпателем слоем толщиной до 10 мм. Расход - на 1 мм слоя Предел прочности при сжатии после 28 суток выдержки - не менее 27 МПа |
|
|
Полимерцементная саморазравнивающаяся стяжка марки Uzin NC-160 |
1,4 кг/м2 |
Наносится шпателем слоем толщиной до 10 мм. Расход - на 1 мм слоя Предел прочности при сжатии после 28 суток выдержки - не менее 35 МПа |
|
|
Полимерцементная саморазравнивающаяся стяжка марки UzinNC-195 |
1,6 кг/м2 |
Наносится шпателем слоем толщиной до 40 мм. Расход - на 1 мм слоя Предел прочности при сжатии после 28 суток выдержки - не менее 35 МПа |
|
|
Полимерцементная саморазравнивающаяся стяжка марки Uzin NC-395 |
1,8 кг/м2 |
Наносится шпателем слоем толщиной до 40 мм. Расход - на 1 мм слоя Предел прочности при сжатии после 28 суток выдержки - не менее 35 МПа Стяжка рекомендуется в полах не отапливаемых помещениях |
|
|
Стяжка из цементно-песча-ного раствора марки M150 |
0,02 м3/м2 |
|
|
|
Стяжка из бетона В 12,5 |
0,02 м3/м2 |
|
|
|
6 |
Грунтовка Uzin PE-360 |
100-150 гр/м2 |
Наносится валиком на очищенную поверхность бетонного основания под саморазравнивающиеся стяжки |
|
7 |
Бетонное основание из бетона класса В22.5 |
0,08 м3/м2 или 0,10 м3/м2 |
|
|
8 |
Грунт основания |
|
|

|
Поз |
Наименование |
Расход |
Примечание |
|
1 |
Плиты из природного камня |
|
|
|
2 |
Затирка Uzin Stone Fuge |
По факту |
Применяется для затирки швов в покрытиях из и плит из природного камня |
|
3 |
Клей Uzin Stone Plus |
1,8-2,7 кг/м2 |
Применяется при изготовлении покрытий полов из плит из природного камня (толщина плит до 5 мм) в отапливаемых помещениях. Толщина клеевой прослойки - до 5 мм |
|
Клей Uzin Stone Flex |
1,8-3,6 кг/м2 |
Применяется при изготовлении покрытий полов из плит из природного камня (толщина плит от 5 до 10 мм) в отапливаемых и не отапливаемых помещениях. Толщина клеевой прослойки - до 10 мм |
|
|
Клей Uzin Stone Mittelbett |
4,3-6,2 кг/м2 |
Применяется при изготовлении покрытий полов из плит из природного камня (толщина плит от более 10 мм) в отапливаемых и не отапливаемых помещения помещениях. Толщина клеевой прослойки - до 20 мм |
|
|
4 |
Грунтовка Uzin Fliesengrund |
100-150 гр/м2 |
Наносится валиком на очищенную поверхность цементно-песчаной или бетонной стяжки |
|
5 |
Полимерцементная саморазравнивающаяся стяжка марки Uzin NC-145 |
1,5 кг/м2 |
Наносится шпателем слоем толщиной до 5 мм. Расход - на 1 мм слоя Предел прочности при сжатии после 28 суток выдержки - не менее 20 МПа |
|
Полимерцементная саморазравнивающаяся стяжка марки UzinNC-150 |
1,5 кг/м2 |
Наносится шпателем слоем толщиной до 10 мм. Расход - на 1 мм слоя Предел прочности при сжатии после 28 суток выдержки - не менее 27 МПа |
|
|
Полимерцементная саморазравнивающаяся стяжка марки Uzin NC-160 |
1,4 кг/м2 |
Наносится шпателем слоем толщиной до 10 мм. Расход - на 1 мм слоя Предел прочности при сжатии после 28 суток выдержки - не менее 35 МПа |
|
|
Полимерцементная саморазравнивающаяся стяжка марки Uzin NC-195 |
1,6 кг/м2 |
Наносится шпателем слоем толщиной до 40 мм. Расход - на 1 мм слоя Предел прочности при сжатии после 28 суток выдержки не менее 35 МПа |
|
|
Полимерцементная саморазравнивающаяся стяжка марки Uzin NC-395 |
1,8 кг/м2 |
Наносится шпателем слоем толщиной до 40 мм. Расход - на 1 мм слоя Предел прочности при сжатии после 28 суток выдержки - не менее 35 МПа Стяжка рекомендуется в полах не отапливаемых помещений |
|
|
Стяжка из цементно-песчаного раствора марки Ml50 |
0,02 м3/м2 |
|
|
|
Стяжка из бетона В12,5 |
0,02 м3/м2 |
|
|
|
6 |
Грунтовка Uzm PE-360 |
100-150 гр/м2 |
Наносится валиком на очищенную поверхность бетонного основания под саморазравнивающиеся стяжки |
|
7 |
Бетонное основание из бетона класса В22.5 |
0,08 м3/м2 или 0,10 м3/м2 |
|
|
8 |
Грунт основания |
|
|

|
Поз |
Наименование |
Расход |
Примечание |
|
1 |
Керамические плитки, керамогранитные плиты и плиты из природного камня |
|
|
|
2 |
Затирка Uzin Fugenweiss |
По факту |
Применяется для затирки швов в покрытиях из керамической плитки и керамогранитных плит. Цвет затирки - белый. |
|
Затирка Uzin Fugenbunt |
По факту |
Применяется для затирки швов в покрытиях из керамической плитки и керамогранитных плит. Цвет затирки - бежевый. |
|
|
Затирка Uzin Fugengrau |
По факту |
Применяется для затирки швов в покрытиях из керамической плитки и керамогранитных плит. Цвет затирки - серый. |
|
|
Затирка Uzin Stone Fuge |
По факту |
Применяется для затирки швов в покрытиях из и плит из природного камня |
|
|
3 |
Клей Uzin Power Base |
1,7-3,3 кг/м2 |
Применяется при изготовлении покрытий полов из керамических плиток в отапливаемых помещениях. Толщина клеевой прослойки - до 5 мм |
|
Клей Uzin Power Plus |
1,7-3,3 кг/м2 |
Применяется при изготовлении покрытий полов из тонкослойных (толщиной менее 10 мм) керамических плиток в отапливаемых помещениях. Толщина клеевой прослойки - до 5 мм |
|
|
Клей Uzin Power Flex |
1,8-4,5 кг/м2 |
Применяется при изготовлении покрытий полов из керамогранитных плит в отапливаемых и не отапливаемых помещениях. Толщина клеевой прослойки - до 5 мм |
|
|
Клей Uzin Power Flex Turbo |
1,7-4,4 кг/м2 |
Применяется при изготовлении покрытий полов из керамогранитных крупноразмерных (длина и ширина более 300 мм) плит в отапливаемых и не отапливаемых помещениях. Толщина клеевой прослойки - до 10 мм |
|
|
Клей Uzin Stone Plus |
1,8-2,7 кг/м2 |
Применяется при изготовлении покрытий полов из плит из природного камня (толщина плит до 5 мм) в отапливаемых помещениях. Толщина клеевой прослойки - до 5 мм |
|
|
Клей Uzin Stone Flex |
1,8-3,6 кг/м2 |
Применяется при изготовлении покрытий полов из плит из природного камня (толщина плит от 5 до 10 мм) в отапливаемых и не отапливаемых помещения помещениях. Толщина клеевой прослойки - до 10 мм |
|
|
Клей Uzin Stone Mittelbett |
4,3-6,2 кг/м2 |
Применяется при изготовлении покрытий полов из плит из природного камня (толщина плит от более 10 мм) в отапливаемых и не отапливаемых помещения помещениях. Толщина клеевой прослойки - до 20 мм |
|
|
4 |
Грунтовка Uzin Fliesengrund |
100-150 гр/м2 |
Наносится валиком на очищенную поверхность цементно-песчаной или бетонной стяжки |
|
5 |
Стяжка из цементно-песчаного раствора марки Ml50 |
|
Расход материала определяется толщиной стяжки, которая должна превышать на 15-20 мм диаметр трубы |
|
Стяжка из бетона В 12,5 |
|
Расход материала определяется толщиной стяжки, которая должна превышать на 15-20 мм диаметр трубы |
|
|
Стяжка из цементно-песчаного раствора на основе полимерцемента марки Uzin NC-190 и сухого кварцевого песка фракции 0,2-6,3 мм в соотношении от 1: 4 до 1: 6 |
|
Повышенная скорость набора прочности и пониженное время сушки - не более 24 часов на 1 см толщины стяжки. Предел прочности на сжатие после 28 суток воздушной выдержки в зависимости от соотношения цемент: песок от 40 до 20 МПа. Расход материала определяется толщиной стяжки, которая должна превышать на 15-20 мм диаметр трубы |
|
|
6 |
Трубы |
|
|
|
7 |
Бетонное основание из бетона класса В22,5 |
0,08 м3/м2 или 0,10 м3/м2 |
|
|
8 |
Грунт основания |
|
|

|
Поз |
Наименование |
Расход |
Примечание |
|
1 |
Керамические плитки, керамогранитные плиты и плиты из природного камня |
|
|
|
2 |
Затирка Uzin Fugenweiss |
По факту |
Применяется для затирки швов в покрытиях из керамической плитки и керамогранитных плит. Цвет затирки - белый. |
|
|
Затирка Uzin Fugenbunt |
По факту |
Применяется для затирки швов в покрытиях из керамической плитки и керамогранитных плит. Цвет затирки - бежевый. |
|
|
Затирка Uzin Fugengrau |
По факту |
Применяется для затирки швов в покрытиях из керамической плитки и керамогранитных плит. Цвет затирки - серый. |
|
Затирка Uzin Stone Fuge |
По факту |
Применяется для затирки швов в покрытиях из и плит из природного камня |
|
|
3 |
Клей Uzin Power Base |
1,7-3,3 кг/м2 |
Применяется при изготовлении покрытий полов из керамических плиток в отапливаемых помещениях. Толщина клеевой прослойки - до 5 мм |
|
Клей Uzin Power Plus |
1,7-3,3 кг/м2 |
Применяется при изготовлении покрытий полов из тонкослойных (толщиной менее 10 мм) керамических плиток в отапливаемых помещениях. Толщина клеевой прослойки - до 5 мм |
|
|
Клей Uzin Power Flex |
1,8-4,5 кг/м2 |
Применяется при изготовлении покрытий полов из керамогранитных плит в отапливаемых и не отапливаемых помещениях. Толщина клеевой прослойки - до 5 мм |
|
|
Клей Uzin Power Flex Turbo |
1,7-4,4 кг/м2 |
Применяется при изготовлении покрытий полов из керамогранитных крупноразмерных (длина и ширина более 300 мм) плит в отапливаемых и не отапливаемых помещениях. Толщина клеевой прослойки - до 10 мм |
|
|
Клей Uzin Stone Plus |
1,8-2,7 кг/м2 |
Применяется при изготовлении покрытий полов из плит из природного камня (толщина плит до 5 мм) в отапливаемых помещениях. Толщина клеевой прослойки - до 5 мм |
|
|
Клей Uzin Stone Flex |
1,8-3,6 кг/м2 |
Применяется при изготовлении покрытий полов из плит из природного камня (толщина плит от 5 до 10 мм) в отапливаемых и не отапливаемых помещения помещениях. Толщина клеевой прослойки-до 10 мм |
|
|
Клей Uzin Stone Mittelbett |
4,3-6,2 кг/м2 |
Применяется при изготовлении покрытий полов из плит из природного камня (толщина плит от более 10 мм) в отапливаемых и не отапливаемых помещениях. Толщина клеевой прослойки - до 20 мм |
|
|
4 |
Грунтовка Uzin Fliesengrund |
100-150 гр/м2 |
Наносится валиком на очищенную поверхность бетонного основания |
|
5 |
Стяжка из цементно-песчаного раствора марки М150 |
0,02 м3/м2 |
|
|
Стяжка из бетона В12,5 |
0,02 м3/м2 |
|
|
|
Стяжка из цементно-песчаного раствора на основе полимерцемента марки Uzin NC-190 и сухого кварцевого песка фракции 0,2-6,3 мм в соотношении от 1: 4 до 1:6 |
|
Повышенная скорость набора прочности и пониженное время сушки - не более 24 часов на 1 см толщины стяжки. Предел прочности на сжатие после 28 суток воздушной выдержки в зависимости от соотношения цемент: песок от 40 до 20 МПа. |
|
|
6 |
Рулонная гидроизоляция |
2,04 м2/м2 |
|
|
7 |
Бетонное основание из бетона класса В22,5 |
0,08 м3/м2 или 0,10 м3/м2 |
|
|
8 |
Грунт основания |
|
|

|
Поз |
Наименование |
Расход |
Примечание |
|
1 |
Керамические плитки, кера-могранитные плиты и плиты из природного камня |
|
|
|
2 |
Затирка Uzin Fugenweiss |
По факту |
Применяется для затирки швов в покрытиях из керамической плитки и керамогранитных плит. Цвет затирки - белый. |
|
|
Затирка Uzin Fugenbimt |
По факту |
Применяется для затирки швов в покрытиях из керамической плитки и керамогранитных плит. Цвет затирки - бежевый. |
|
|
Затирка Uzin Fugengrau |
По факту |
Применяется для затирки швов в покрытиях из керамической плитки и керамогранитных плит. Цвет затирки - серый. |
|
Затирка Uzin Stone Fuge |
По факту |
Применяется для затирки швов в покрытиях из и плит из природного камня |
|
|
3 |
Клей Uzin Power Base |
1,7-3,3 кг/м2 |
Применяется при изготовлении покрытий полов из керамических плиток в отапливаемых помещениях. Толщина клеевой прослойки - до 5 мм |
|
Клей Uzin Power Plus |
1,7-3,3 кг/м2 |
Применяется при изготовлении покрытий полов из тонкослойных (толщиной менее 10 мм) керамических плиток в отапливаемых помещениях. Толщина клеевой прослойки - до 5 мм |
|
|
Клей Uzin Power Flex |
1,8-4,5 кг/м2 |
Применяется при изготовлении покрытий полов из керамогранитных плит в отапливаемых и не отапливаемых помещениях. Толщина клеевой прослойки - до 5 мм |
|
|
Клей Uzin Power Flex Turbo |
1,7-4,4 кг/м2 |
Применяется при изготовлении покрытий полов из керамогранитных крупноразмерных (длина и ширина более 300 мм) плит в отапливаемых и не отапливаемых помещениях. Толщина клеевой прослойки - до 10 мм |
|
|
Клей Uzin Stone Plus |
1,8-2,7 кг/м3 |
Применяется при изготовлении покрытий полов из плит из природного камня (толщина плит до 5 мм) в отапливаемых помещениях. Толщина клеевой прослойки - до 5 мм |
|
|
Клей Uzin Stone Flex |
1,8-3,6 кг/м2 |
Применяется при изготовлении покрытий полов из плит из природного камня (толщина плит от 5 до 10 мм) в отапливаемых и не отапливаемых помещениях. Толщина клеевой прослойки - до 10 мм |
|
|
Клей Uzin Stone Mittelbett |
4,3-6,2 кг/м2 |
Применяется при изготовлении покрытий полов из плит из природного камня (толщина плит от более 10 мм) в отапливаемых и не отапливаемых помещениях. Толщина клеевой прослойки - до 20 мм |
|
|
4 |
Рулонная гидроизоляция |
2,04 м2/м2 |
|
|
5 |
Стяжка из цементно-песчаного раствора марки М150 |
0,02 м3/м2 |
|
|
Стяжка из бетона В 12,5 |
0,02 м3/м2 |
|
|
|
Стяжка из цементно-песчаного раствора на основе полимерцемента марки Uzin NC-190 и сухого кварцевого песка фракции 0,2-6,3 мм в соотношении от 1: 4 до 1: 6 |
|
Повышенная скорость набора прочности и пониженное время сушки - не более 24 часов на 1 см толщины стяжки. Предел прочности на сжатие после 28 суток воздушной выдержки в зависимости от соотношения цемент: песок от 40 до 20 МПа. |
|
|
6 |
Бетонное основание из бетона класса В22,5 |
0,08 м3/м2 или 0,10 м3/м2 |
|
|
7 |
Грунт основания |
|
|

|
Поз |
Наименование |
Расход |
Примечание |
|
1 |
Керамические плитки |
|
|
|
2 |
Затирка Uzin Fugenweiss |
По факту |
Цвет затирки - белый. |
|
Затирка Uzin Fugenbunt |
По факту |
Цвет затирки - бежевый. |
|
|
Затирка Uzin Fugengrau |
По факту |
Цвет затирки - серый. |
|
|
3 |
Клей Uzin Power Base |
1,7-3,3 кг/м2 |
Толщина клеевой прослойки - до 5 мм |
|
Клей Uzin Power Plus |
1,7-3,3 кг/м2 |
Применяется при изготовлении покрытий полов из тонкослойных (толщиной менее 10 мм) керамических плиток. Толщина клеевой прослойки - до 5 мм |
|
|
4 |
Грунтовка Uzin Fliesengrund |
100-150 rp/ м2 |
Наносится валиком на очищенную поверхность сборной стяжки |
|
5 |
Сборная стяжка из готовых элементов ГВЛВ КНАУФ |
1,02 м2/м2 |
|
|
6 |
Засыпка из кварцевого песка |
По факту |
|
|
7 |
Бетонное основание из бетона класса В22.5 |
0,08 м3/м2 |
|
|
8 |
Грунт основания |
|
|

|
Поз |
Наименование |
Расход |
Примечание |
|
1 |
Керамические плитки |
|
|
|
2 |
Затирка Uzin Fugenweiss |
По факту |
Цвет затирки - белый. |
|
3 |
Клей Uzin Power Flex |
1,8-4,5 кг/м2 |
Толщина клеевой прослойки - до 5 мм |
|
4 |
Грунтовка Uzin Fliesengrund |
100-150 гр/м2 |
Наносится валиком на очищенную поверхность стяжки |
|
5 |
Деформационный шов, расшитый полиуретановым герметиком |
По факту |
Швы нарезаются в продольном и поперечном направлении с шагом не более 6 м. Глубина деформационного шва - не менее 2/3 толщины стяжки Расшивка швов полиуретановым герметиком осуществляется после достижения стяжкой воздушно-сухого состояния |
|
6 |
Стяжка из цементно-песчаного раствора на основе полимерцемента марки Uzin NC-190 и сухого кварцевого песка фракции 0,2-6,3 мм в соотношении от 1: 4 до 1: 6, армированная металлической сеткой с ячейками 50x50x2 |
2,2- 3 кг/м2 |
Расход- на 1 мм слоя При использовании для обогрева электронагревательных элементов армирующая сетка должна быть присоединена к системе заземления здания |
|
7 |
Электрокабель или трубы |
|
Шаг между нагревательными элементами устанавливается при теплотехническом расчете, исходя из достижения на поверхности покрытия температуры +23º |
|
8 |
Теплоизоляция из плит марки Uzin Multimoll Top 4 Теплоизоляция из плит марки Uzin Multimoll Top 9 Теплоизоляция из плит мар- |
1 м/м2 |
Выбор марки теплоизоляционной плиты и толщины теплоизоляционного слоя осуществляется при проведении теплотехнического расчёта |
|
9 |
Рулонная гидроизоляция |
2,04 м2/м2 |
|
|
10 |
Бетонное основание из бетона класса В22.5 |
0,08 м3/м2 |
|
|
11 |
Грунт основания |
|
|

|
Поз |
Наименование |
Расход |
Примечание |
|
1 |
Керамические плитки |
|
|
|
2 |
Затирка Uzin Fugenweiss |
По факту |
Цвет затирки - белый. |
|
|
Затирка Uzin Fugenbunt |
По факту |
Цвет затирки - бежевый. |
|
Затирка Uzin Fugengrau |
По факту |
Цвет затирки - серый. |
|
|
3 |
Клей Uzin Power Base |
1,7-3,3 кг/м2 |
Толщина клеевой прослойки - до 5 мм |
|
Клей Uzin Power Plus |
1,7-3,3 кг/м3 |
Применяется при изготовлении покрытий полов из тонкослойных (толщиной менее 10 мм) керамических плиток. Толщина клеевой прослойки – до 5 мм |
|
|
4 |
Грунтовка Uzin Fliesengrund |
100-150 гр/м2 |
Наносится валиком на очищенную поверхность сборной стяжки |
|
5 |
Сборная стяжка из готовых элементов ГВЛВ КНАУФ |
1,02 м2/м2 |
|
|
6 |
Теплоизоляция из плит |
По расчёту |
|
|
7 |
Пароизоляция - полиэтиленовая плёнка |
1,15 м2/м2 |
|
|
8 |
Черновой деревянный пол |
0,037 м3/м2 |
|
|
9 |
Гвоздь К4×100 |
|
Прибить каждую доску чернового пола к каждой лаге |
|
10 |
Лага |
0,005 м3/м2 |
|
|
11 |
Деревянная прокладка |
0,0006 м3/столбик |
|
|
12 |
Рулонная гидроизоляция |
0,05 м2/столбик |
|
|
13 |
Кирпичный или бетонный столбик |
0,0017 м3/столбик |
|
|
14 |
Бетонное основание из бетона класса В22.5 |
0,08 м3/м2 |
|
|
15 |
Грунт основания |
|
|

|
Поз |
Наименование |
Расход |
Примечание |
|
1 |
Керамические плитки |
|
|
|
2 |
Затирка Uzin Fugenweiss |
По факту |
Цвет затирки - белый. |
|
Затирка Uzin Fugenbunt |
По факту |
Цвет затирки - бежевый. |
|
|
Затирка Uzin Fugengrau |
По факту |
Цвет затирки - серый. |
|
|
3 |
Клей Uzin Power Base |
1,7-3,3 кг/м2 |
Толщина клеевой прослойки - до 5 мм |
|
|
Клей Uzin Power Plus |
1,7-3,3 кг/м2 |
Применяется при изготовлении покрытий полов из тонкослойных (толщиной менее 10 мм) керамических плиток. Толщина клеевой прослойки - до 5 мм |
|
4 |
Грунтовка Uzin Fliesengrund |
100-150 гр/м2 |
Наносится валиком на очищенную поверхность сборной стяжки |
|
5 |
Сборная стяжка из готовых элементов ГВЛВ КНАУФ |
1,02 м2/м2 |
|
|
6 |
Теплоизоляция из керамзитового или кварцевого песка |
По расчёту |
|
|
7 |
Пароизоляция - полиэтиленовая плёнка |
1,15 м2/м2 |
|
|
8 |
Черновой деревянный пол |
0,037 м3/м2 |
|
|
9 |
Гвоздь К4×100 |
|
Прибить каждую доску чернового пола к каждой лаге |
|
10 |
Лага |
0,005 м3/м2 |
|
|
11 |
Деревянная прокладка |
0,0006 м2/столбик |
|
|
12 |
Рулонная гидроизоляция |
0,05 м2/столбик |
|
|
13 |
Кирпичный или бетонный столбик |
0,0035 м3/столбик |
|
|
14 |
Грунт основания |
|
|

|
Поз |
Наименование |
Расход |
Примечание |
|
1 |
Керамические плитки |
|
|
|
2 |
Затирка Uzin Fugenweiss |
По факту |
Цвет затирки - белый. |
|
3 |
Клей Uzin Power Flex |
1,8-4,5 кг/м2 |
Толщина клеевой прослойки - до 5 мм |
|
4 |
Деформационный шов, расшитый полиуретановым герметиком |
По факту |
Швы нарезаются в продольном и поперечном направлении с шагом не более 6 м. Глубина деформационного шва - не менее 2/3 толщины стяжки Расшивка швов полиуретановым герметиком осуществляется после достижения стяжкой воздушносухого состояния |
|
5 |
Стяжка из цементно-песчаного раствора на основе полимерцемента марки Uzin NC-190 и сухого кварцевого песка фракции 0,2-0,3 мм в соотношении от i: 4 до 1:6, армированная металлической сеткой с ячейками 50x50x2 |
2,2-3 кг/м2 |
Расход- на 1 мм слоя При использовании для обогрева электронагревательных элементов армирующая сетка должна быть присоединена к системе заземления здания |
|
6 |
Электрокабель или трубы |
|
Шаг между нагревательными элементами устанавливается при теплотехническом расчете, исходя из достижения на поверхности покрытия температуры +23 °С. |
|
7 |
Грунтовка Uzin PE-260 |
100-150 гр/м2 |
Наносится валиком на очищенную поверхность сборной стяжки |
|
8 |
Сборная стяжка из фанеры |
2,04 м2/м2 |
|
|
9 |
Крепление шурупами или саморезами |
|
Шаг между шурупами 300 мм, по кромке листов фанеры - 150 мм |
|
10 |
Черновой деревянный пол |
0,037 м3/м2 |
|
|
11 |
Гвоздь К4х 100 |
|
Прибить каждую доску чернового пола к каждой лаге |
|
12 |
Лага |
0,005 м3/м2 |
|
|
13 |
Деревянная прокладка |
0,0006 м3/столбик |
|
|
14 |
Рулонная гидроизоляция |
0,05 м2/столбик |
|
|
15 |
Кирпичный или бетонный столбик |
0,0035 м2/столбик |
|
|
16 |
Грунт основания |
|
|

|
Поз |
Наименование |
Расход |
Примечание |
|
1 |
Керамические плитки, керамогранитные плиты и плиты из природного камня |
|
|
|
2 |
Затирка Uzin Fugenweiss |
По факту |
Применяется для затирки швов в покрытиях из керамической плитки и керамогранитных плит. Цвет затирки - белый. |
|
Затирка Uzin Fugenbunt |
По факту |
Применяется для затирки швов в покрытиях из керамической плитки и керамогранитных плит. Цвет затирки - бежевый. |
|
|
Затирка Uzin Fugengrau |
По факту |
Применяется для затирки швов в покрытиях из керамической плитки и керамогранитных плит. Цвет затирки - серый. |
|
|
Затирка Uzin Stone Fuge |
По факту |
Применяется для затирки швов в покрытиях из и плит из природного камня |
|
|
3 |
Клей Uzin Power Base |
1,7-3,3 кг/м2 |
Применяется при изготовлении покрытий полов из керамических плиток в отапливаемых помещениях. Толщина клеевой прослойки - до 5 мм |
|
|
Клей Uzin Power Plus |
1,7-3,3 кг/м2 |
Применяется при изготовлении покрытий полов из тонкослойных (толщиной менее 10 мм) керамических плиток в отапливаемых помещениях Толщина клеевой прослойки - до 5 мм |
|
|
Клей Uzin Power Flex |
1,8-4,5 кг/м2 |
Применяется при изготовлении покрытий полов из керамогранитных плит в отапливаемых и не отапливаемых помещениях. Толщина клеевой прослойки - до 5 мм |
|
|
Клей Uzin Power Flex Turbo |
1,7-4,4 кг/м2 |
Применяется при изготовлении покрытий полов из керамогранитных крупноразмерных (длина и ширина более 300 мм) плит в отапливаемых и не отапливаемых помещениях. Толщина клеевой прослойки - до 10 мм |
|
|
Клей Uzin Stone Plus |
1,8-2,7 кг/м2 |
Применяется при изготовлении покрытий полов из плит из природного камня (толщина плит до 5 мм) в отапливаемых помещениях. Толщина клеевой прослойки - до 5 мм |
|
|
Клей Uzin Stone Flex |
1,8-3,6 кг/м2 |
Применяется при изготовлении покрытий полов из плит из природного камня (толщина плит от 5 до 10 мм) в отапливаемых и не отапливаемых помещения помещениях. Толщина клеевой прослойки - до 10 мм |
|
|
Клей Uzin Stone Mittelbett |
4,3-6,2 кг/м2 |
Применяется при изготовлении покрытий полов из плит из природного камня (толщина плит от более 10 мм) в отапливаемых и не отапливаемых помещения помещениях. Толщина клеевой прослойки - до 20 мм |
|
4 |
Грунтовка Uzin Fliesengrund |
100-150 гр/м2 |
Наносится валиком на очищенную поверхность бетонного основания |
|
5 |
Сплошное железобетонное междуэтажное перекрытие с ровной поверхностью |
|
|

|
Поз |
Наименование |
Расход |
Примечание |
|
1 |
Керамические плитки и керамогранитные плиты |
|
|
|
2 |
Затирка Uzin Fugenweiss |
По факту |
Применяется для затирки швов в покрытиях из керамической плитки и керамогранитных плит. Цвет затирки - белый. |
|
Затирка Uzin Fugenbunt |
По факту |
Применяется для затирки швов в покрытиях из керамической плитки и керамогранитных плит. Цвет затирки - бежевый. |
|
|
Затирка Uzin Fugengrau |
По факту |
Применяется для затирки швов в покрытиях из керамической плитки и керамогранитных плит. Цвет затирки - серый. |
|
|
3 |
Клей Uzin Power Base |
1,7-3,3 кг/м2 |
Применяется при изготовлении покрытий полов из керамических плиток в отапливаемых помещениях. Толщина клеевой прослойки - до 5 мм |
|
Клей Uzin Power Plus |
1,7-3,3 кг/м2 |
Применяется при изготовлении покрытий полов из тонкослойных (толщиной менее 10 мм) керамических плиток в отапливаемых помещениях. Толщина клеевой прослойки - до 5 мм |
|
|
Клей Uzin Power Flex |
1,8-4,5 кг/м2 |
Применяется при изготовлении покрытий полов из керамогранитных плит в отапливаемых и не отапливаемых помещениях. Толщина клеевой прослойки - до 5 мм |
|
|
Клей Uzin Power Flex Turbo |
1,7-4,4 кг/м2 |
Применяется при изготовлении покрытий полов из керамогранитных крупноразмерных (длина и ширина более 300 мм) плит в отапливаемых и не отапливаемых помещениях. Толщина клеевой прослойки - до 10 мм |
|
|
4 |
Грунтовка Uzin Fliesengrund |
100-150 гр/м2 |
Наносится валиком на очищенную поверхность цементно-песчаной или бетонной стяжки |
|
5 |
Полимерцементная саморазравнивающаяся стяжка марки Uzin NC-145 |
1,5 кг/м2 |
Наносится шпателем слоем толщиной до 5 мм. Расход - на 1 мм слоя Предел прочности при сжатии после 28 суток выдержки - не менее 20 МПа |
|
Полимерцементная саморазравнивающаяся стяжка марки Uzin NC-150 |
1,5 кг/м2 |
Наносится шпателем слоем толщиной до 10 мм. Расход - на 1 мм слоя Предел прочности при сжатии после 28 суток выдержки - не менее 27 МПа |
|
|
Полимерцементная саморазравнивающаяся стяжка марки Uzin NC-160 |
1,4 кг/м2 |
Наносится шпателем слоем толщиной до 10 мм. Расход - на 1 мм слоя Предел прочности при сжатии после 28 суток выдержки - не менее 35 МПа |
|
|
Полимерцементная саморазравнивающаяся стяжка марки Uzin NC-195 |
1,6 кг/м2 |
Наносится шпателем слоем толщиной до 40 мм. Расход - на 1 мм слоя Предел прочности при сжатии после 28 суток выдержки - не менее 35 МПа |
|
|
Полимерцементная саморазравнивающаяся стяжка марки Uzin NC-395 |
1,8 кг/м2 |
Наносится шпателем слоем толщиной до 40 мм. Расход - на 1 мм слоя Предел прочности при сжатии после 28 суток выдержки - не менее 35 МПа Стяжка рекомендуется в полах не отапливаемых помещениях |
|
|
Стяжка из цементно-песчаного раствора марки Ml50 |
0,02 м3/м2 |
|
|
|
Стяжка из бетона В12,5 |
0,02 м3/м2 |
|
|
|
6 |
Грунтовка Uzin PE-360 |
100-150 гр/м2 |
Наносится валиком на очищенную поверхность бетонного основания под саморазравнивающиеся стяжки |
|
7 |
Сплошное железобетонное междуэтажное перекрытие с неровной поверхностью |
|
|

|
Поз |
Наименование |
Расход |
Примечание |
|
1 |
Плиты из природного камня |
|
|
|
2 |
Затирка Uzin Stone Fuge |
По факту |
Применяется для затирки швов в покрытиях из и плит из природного камня |
|
3 |
Клей Uzin Stone Plus |
1,8-2,7 кг/м2 |
Применяется при изготовлении покрытий полов из плит из природного камня (толщина плит до 5 мм) в отапливаемых помещениях. Толщина клеевой прослойки - до 5 мм |
|
Клей Uzin Stone Flex |
1,8-3,6 кг/м2 |
Применяется при изготовлении покрытий полов из плит из природного камня (толщина плит от 5 до 10 мм) в отапливаемых и не отапливаемых помещения помещениях. Толщина клеевой прослойки - до 10 мм |
|
|
Клей Uzin Stone Mittelbett |
4,3-6,2 кг/м2 |
Применяется при изготовлении покрытий полов из плит из природного камня (толщина плит от более 10 мм) в отапливаемых и не отапливаемых помещения помещениях. Толщина клеевой прослойки - до 20 мм |
|
|
4 |
Грунтовка Uzin Fliesengrund |
100-150 гр/м2 |
Наносится валиком на очищенную поверхность цементно-песчаной или бетонной стяжки |
|
5 |
Полимерцементная саморазравнивающаяся стяжка марки Uzin NC-145 |
1,5 кг/м2 |
Наносится шпателем слоем толщиной до 5 мм. Расход - на 1 мм слоя Предел прочности при сжатии после 28 суток выдержки - не менее 20 МПа |
|
Полимерцементная саморазравнивающаяся стяжка марки Uzin NC-150 |
1,5 кг/м2 |
Наносится шпателем слоем толщиной до 10 мм. Расход - на 1 мм слоя Предел прочности при сжатии после 28 суток выдержки - не менее 27 МПа |
|
|
Полимерцементная саморазравнивающаяся стяжка марки Uzin NC-160 |
1,4 кг/м2 |
Наносится шпателем слоем толщиной до 10 мм. Расход - на 1 мм слоя Предел прочности при сжатии после 28 суток выдержки - не менее 35 МПа |
|
|
Полимерцементная саморазравнивающаяся стяжка марки Uzin NC-195 |
1,6 кг/м2 |
Наносится шпателем слоем толщиной до 40 мм. Расход - на 1 мм слоя Предел прочности при сжатии после 28 суток выдержки - не менее 35 МПа |
|
|
Полимерцементная саморазравнивающаяся стяжка марки Uzin NC-395 |
1,8 кг/м2 |
Наносится шпателем слоем толщиной до 40 мм. Расход - на 1 мм слоя Предел прочности при сжатии после 28 суток выдержки - не менее 35 МПа Стяжка рекомендуется в полах в не отапливаемых помещениях |
|
|
Стяжка из цементно-песчаного раствора марки М150 |
0,02 м3/м2 |
|
|
|
Стяжка из бетона В12,5 |
0,02 м3/м2 |
|
|
|
6 |
Грунтовка Uzin PE-360 |
100-150 гр/м2 |
Наносится валиком на очищенную поверхность бетонного основания под саморазравнивающиеся стяжки |
|
7 |
Сплошное железобетонное междуэтажное перекрытие с неровной поверхностью |
|
|

|
Поз |
Наименование |
Расход |
Примечание |
|
1 |
Керамические плитки, керамогранитные плиты и плиты из природного камня |
|
|
|
2 |
Затирка Uzin Fugenweiss |
По факту |
Применяется для затирки швов в покрытиях из керамической плитки и керамогранитных плит. Цвет затирки - белый. |
|
|
Затирка Uzin Fugenbunt |
По факту |
Применяется для затирки швов в покрытиях из керамической плитки и керамогранитных плит. Цвет затирки - бежевый. |
|
|
Затирка Uzin Fugengrau |
По факту |
Применяется для затирки швов в покрытиях из керамической плитки и керамогранитных плит. Цвет затирки - серый. |
|
Затирка Uzin Stone Fuge |
По факту |
Применяется для затирки швов в покрытиях из и плит из природного камня |
|
|
3 |
Клей Uzin Power Base |
1,7-3,3 кг/м2 |
Применяется при изготовлении покрытий полов из керамических плиток в отапливаемых помещениях. Толщина клеевой прослойки - до 5 мм |
|
Клей Uzin Power Plus |
1,7-3,3 кг/м2 |
Применяется при изготовлении покрытий полов из тонкослойных (толщиной менее 10 мм) керамических плиток в отапливаемых помещениях. Толщина клеевой прослойки - до 5 мм |
|
|
Клей Uzin Power Flex |
1,8-4,5 кг/м2 |
Применяется при изготовлении покрытий полов из керамогранитных плит в отапливаемых и не отапливаемых помещениях. Толщина клеевой прослойки - до 5 мм |
|
|
Клей Uzin Power Flex Turbo |
1,7-4,4 кг/м2 |
Применяется при изготовлении покрытий полов из керамогранитных крупноразмерных (длина и ширина более 300 мм) плит в отапливаемых и не отапливаемых помещениях. Толщина клеевой прослойки - до 10 мм |
|
|
Клей Uzin Stone Plus |
1,8-2,7 кг/м2 |
Применяется при изготовлении покрытий полов из плит из природного камня (толщина плит до 5 мм) в отапливаемых помещениях. Толщина клеевой прослойки - до 5 мм |
|
|
Клей Uzin Stone Flex |
1,8-3,6 кг/м2 |
Применяется при изготовлении покрытий полов из плит из природного камня (толщина плит от 5 до 10 мм) в отапливаемых и не отапливаемых помещениях. Толщина клеевой прослойки - до 10 мм |
|
|
Клей Uzm Stone Mittelbett |
4,3-6,2 кг/м2 |
Применяется при изготовлении покрытий полов из плит из природного камня (толщина плит от более 10 мм) в отапливаемых и не отапливаемых помещениях. Толщина клеевой прослойки - до 20 мм |
|
|
4 |
Грунтовка Uzin Fliesengrund |
100-150 гр/м2 |
Наносится валиком на очищенную поверхность цементно-песчаной или бетонной стяжки |
|
5 |
Стяжка из цементно-песчаного раствора марки M150 |
0,04 м3/м2 |
|
|
Стяжка из бетона В 12,5 |
0,04 м3/м2 |
|
|
|
Стяжка из цементно-песчаного раствора на основе полимерцемента марки Uzin NC-190 и сухого кварцевого песка фракции 0,2-6,3 мм в соотношении от 1: 4 до 1: 6 |
0,04 м3/м2 |
Повышенная скорость набора прочности и пониженное время сушки - не более 24 часов на 1 см толщины стяжки. Предел прочности на сжатие после 28 суток воздушной выдержки в зависимости от соотношения цемент: песок от 40 до 20 MПa. |
|
|
6 |
Теплозвукоизоляция из керамзитового или кварцевого песка |
По расчету |
Толщина слоя и расход материалов назначаются в соответствии с расчетами по параметрам тепло- и звукоизоляции |
|
7 |
Сплошное железобетонное междуэтажное перекрытие |
|
|

|
Поз |
Наименование |
Расход |
Примечание |
|
1 |
Керамические плитки, керамогранитные плиты и плиты из природного камня |
|
|
|
2 |
Затирка Uzin Fugenweiss |
По факту |
Применяется для затирки швов в покрытиях из керамической плитки и керамогранитных плит. Цвет затирки - белый. |
|
|
Затирка Uzin Fugenbunt |
По факту |
Применяется для затирки швов в покрытиях из керамической плитки и керамогранитных плит. Цвет затирки - бежевый. |
|
Затирка Uzin Fugengrau |
По факту |
Применяется для затирки швов в покрытиях из керамической плитки и керамогранитных плит. Цвет затирки - серый. |
|
|
Затирка Uzin Stone Fuge |
По факту |
Применяется для затирки швов в покрытиях из и плит из природного камня |
|
|
3 |
Клей Uzin Power Base |
1,7-3,3 кг/м2 |
Применяется при изготовлении покрытий полов из керамических плиток в отапливаемых помещениях. Толщина клеевой прослойки - до 5 мм |
|
Клей Uzin Power Plus |
1,7-3,3 кг/м2 |
Применяется при изготовлении покрытий полов из тонкослойных (толщиной менее 10 мм) керамических плиток в отапливаемых помещениях. Толщина клеевой прослойки – до 5 мм |
|
|
Клей Uzin Power Flex |
1,8-4,5 кг/м2 |
Применяется при изготовлении покрытий полов из керамогранитных плит в отапливаемых и не отапливаемых помещениях. Толщина клеевой прослойки - до 5 мм |
|
|
Клей Uzin Power Flex Turbo |
1,7-4,4 кг/м2 |
Применяется при изготовлении покрытий полов из керамогранитных крупноразмерных (длина и ширина более 300 мм) плит в отапливаемых и не отапливаемых помещениях. Толщина клеевой прослойки - до 10 мм |
|
|
Клей Uzin Stone Plus |
1,8-2,7 кг/м2 |
Применяется при изготовлении покрытий полов из плит из природного камня (толщина плит до 5 мм) в отапливаемых помещениях. Толщина клеевой прослойки - до 5 мм |
|
|
Клей Uzin Stone Flex |
1,8-3,6 кг/м2 |
Применяется при изготовлении покрытий полов из плит из природного камня (толщина плитот5 до 10 мм) в отапливаемых и не отапливаемых помещения помещениях. Толщина клеевой прослойки - до 10 мм |
|
|
Клей Uzin Stone Mittelbett |
4,3-6,2 кг/м2 |
Применяется при изготовлении покрытий полов из плит из природного камня (толщина плит от более 10 мм) в отапливаемых и не отапливаемых помещения помещениях. Толщина клеевой прослойки - до 20 мм |
|
|
4 |
Грунтовка Uzin Fliesengrund |
100-150 гр/м2 |
Наносится валиком на очищенную поверхность цементно-песчаной или бетонной стяжки |
|
5 |
Стяжка из цементно-песчаного раствора марки Ml50 |
0,04 м3/м2 |
|
|
Стяжка из бетона В12,5 |
0,04 м3/м2 |
|
|
|
Стяжка из цементно-песчаного раствора на основе полимерцемента марки Uzin NC-I90 и сухого кварцевого песка фракции 0,2-6,3 мм в соотношении от 1: 4 до 1: 6 |
0,04 м'/м2 |
Повышенная скорость набора прочности и пониженное время сушки- не более 24 часов на 1 см толщины стяжки. Предел прочности на сжатие после 28 суток воздушной выдержки в зависимости от соотношения цемент: песок от 40 до 20 МПа. |
|
|
6 |
Тепло-звукоизоляция из плит |
По расчёту |
Толщина слоя и расход материалов назначаются в соответствии с расчётами по параметрам тепло-и звукоизоляции |
|
7 |
Сплошное железобетонное междуэтажное перекрытие с неровной поверхностью |
|
|

|
Поз |
Наименование |
Расход |
Примечание |
|
1 |
Керамические плитки, керамогранитные плиты и плиты из природного камня |
|
|
|
2 |
Затирка Uzin Fugenweiss |
По факту |
Применяется для затирки швов в покрытиях из керамической плитки и керамогранитных плит. Цвет затирки - белый. |
|
Затирка Uzin Fugenbunt |
По факту |
Применяется для затирки швов в покрытиях из керамической плитки и керамогранитных плит. Цвет затирки - бежевый. |
|
|
Затирка Uzin Fugengrau |
По факту |
Применяется для затирки швов в покрытиях из керамической плитки и керамогранитных плит. Цвет затирки - серый. |
|
|
Затирка Uzin Stone Fuge |
По факту |
Применяется для затирки швов в покрытиях из и плит из природного камня |
|
|
3 |
Клей Uzin Power Base |
1,7-3,3 кг/м2 |
Применяется при изготовлении покрытий полов из керамических плиток в отапливаемых помещениях. Толщина клеевой прослойки - до 5 мм |
|
Клей Uzin Power Plus |
1,7-3,3 кг/м2 |
Применяется при изготовлении покрытий полов из тонкослойных (толщиной менее 10 мм) керамических плиток в отапливаемых помещениях. Толщина клеевой прослойки – до 5 мм |
|
|
Клей Uzin Power Flex |
1,8-4,5 кг/м2 |
Применяется при изготовлении покрытий полов из керамогранитных плит в отапливаемых и не отапливаемых помещениях. Толщина клеевой прослойки - до 5 мм |
|
|
Клей Uzin Power Flex Turbo |
1,7-4,4 кг/м2 |
Применяется при изготовлении покрытий полов из керамогранитных крупноразмерных (длина и ширина более 300 мм) плит в отапливаемых и не отапливаемых помещениях. Толщина клеевой прослойки - до 10 мм |
|
|
Клей Uzin Stone Plus |
1,8-2,7 кг/м2 |
Применяется при изготовлении покрытий полов из плит из природного камня (толщина плит до 5 мм) в отапливаемых помещениях. Толщина клеевой прослойки - до 5 мм |
|
|
Клей Uzin Stone Flex |
1,8-3,6 кг/м2 |
Применяется при изготовлении покрытий полов из плит из природного камня (толщина плит от 5 до 10 мм) в отапливаемых и не отапливаемых помещениях. Толщина клеевой прослойки - до 10 мм |
|
|
Клей Uzin Stone Mittelbett |
4,3-6,2 кг/м2 |
Применяется при изготовлении покрытий полов из плит из природного камня (толщина плит от более 10 мм) в отапливаемых и не отапливаемых помещениях. Толщина клеевой прослойки - до 20 мм |
|
|
4 |
Грунтовка Uzin Fliesengrund |
100-150 гр/м2 |
Наносится валиком на очищенную поверхность цементно-песчаной или бетонной стяжки |
|
5 |
Стяжка из цементно-песчаного раствора марки M150 |
0,02 м3/м2 |
|
|
Стяжка из бетона В12.5 |
0,02 м3/м2 |
|
|
|
Стяжка из цементно-песчаного раствора на основе полимерцемента марки Uzin NC-1 90 и сухого кварцевого песка фракции 0,2-6,3 мм в соотношении от 1: 4 до 1: 6 |
0,02 м3/м2 |
Повышенная скорость набора прочности и пониженное время сушки - не более 24 часов на 1 см толщины стяжки. Предел прочности на сжатие после 28 суток воздушной выдержки в зависимости от соотношения цемент: песок от 40 до 20 МПа. |
|
|
6 |
Рулонная гидроизоляция |
2,04 м2/м2 |
|
|
7 |
Сплошное железобетонное междуэтажное перекрытие с неровной поверхностью |
|
|

|
Поз |
Наименование |
Расход |
Примечание |
|
1 |
Керамические плитки, керамогранитные плиты и плиты из природного камня |
|
|
|
2 |
Затирка Uzin Fugenweiss |
По факту |
Применяется для затирки швов в покрытиях из керамической плитки и керамогранитных плит. Цвет затирки - белый. |
|
Затирка Uzin Fugenbunt |
По факту |
Применяется для затирки швов в покрытиях из керамической плитки и керамогранитных плит. Цвет затирки - бежевый. |
|
|
Затирка Uzin Fugengrau |
По факту |
Применяется для затирки швов в покрытиях из керамической плитки и керамогранитных плит. Цвет затирки - серый. |
|
|
Затирка Uzin Stone Fuge |
По факту |
Применяется для затирки швов в покрытиях из и плит из природного камня |
|
|
3 |
Клей Uzin Power Base |
1,7-3,3 кг/м2 |
Применяется при изготовлении покрытий полов из керамических плиток в отапливаемых помещениях. Толщина клеевой прослойки - до 5 мм |
|
Клей Uzin Power Plus |
1,7-3,3 кг/м2 |
Применяется при изготовлении покрытий полов из тонкослойных (толщиной менее 10 мм) керамических плиток в отапливаемых помещениях. Толщина клеевой прослойки -до 5 мм |
|
|
Клей Uzin Power Flex |
1,8-4,5 кг/м2 |
Применяется при изготовлении покрытий полов из керамогранитных плит в отапливаемых и не отапливаемых помещениях. Толщина клеевой прослойки - до 5 мм |
|
|
Клей Uzin Power Flex Turbo |
1,7-4,4 кг/м2 |
Применяется при изготовлении покрытий полов из керамогранитных крупноразмерных (длина и ширина более 300 мм) плит в отапливаемых и не отапливаемых помещениях. Толщина клеевой прослойки - до 10 мм |
|
|
Клей Uzin Stone Plus |
1,8-2,7 кг/м2 |
Применяется при изготовлении покрытий полов из плит из природного камня (толщина плит до 5 мм) в отапливаемых помещениях. Толщина клеевой прослойки - до 5 мм |
|
|
Клей Uzin Stone Flex |
1,8-3,6 кг/м2 |
Применяется при изготовлении покрытий полов из плит из природного камня (толщина плит от 5 до 10 мм) в отапливаемых и не отапливаемых помещениях. Толщина клеевой прослойки - до 10 мм |
|
|
Клей Uzin Stone Mittelbett |
4,3-6,2 кг/м2 |
Применяется при изготовлении покрытий полов из плит из природного камня (толщина плит от более 10 мм) в отапливаемых и не отапливаемых помещениях. Толщина клеевой прослойки - до 20 мм |
|
|
4 |
Рулонная гидроизоляция |
2,04 м2/м2 |
|
|
5 |
Стяжка из цементно-песчаного раствора марки Ml 50 |
0,02 м3/м2 |
|
|
Стяжка из бетона В1 2,5 |
0,02 м3/м2 |
|
|
|
Стяжка из цементно-песчаного раствора на основе полимерцемента марки Uzin NC-190 и сухого кварцевого песка фракции 0,2-6,3 мм в соотношении от 1: 4 до 1: 6 |
0,02 м3/м2 |
Повышенная скорость набора прочности и пониженное время сушки - не более 24 часов на 1 см толщины стяжки. Предел прочности на сжатие после 28 суток воздушной выдержки в зависимости от соотношения цемент: песок от 40 до 20 МПа. |
|
|
6 |
Сплошное железобетонное междуэтажное перекрытие с неровной поверхностью |
|
|

|
Поз |
Наименование |
Расход |
Примечание |
|
1 |
Керамические плитки |
|
|
|
2 |
Затирка Uzin Fugenweiss |
По факту |
Цвет затирки - белый. |
|
Затирка Uzin Fugenbunt |
По факту |
Цвет затирки - бежевый. |
|
|
Затирка Uzin Fugengrau |
По факту |
Цвет затирки - серый. |
|
|
3 |
Клей Uzin Power Base |
1,7-3,3 кг/м2 |
Толщина клеевой прослойки - до 5 мм |
|
Клей Uzin Power Plus |
1,7-3,3 кг/м2 |
Применяется при изготовлении покрытий полов из тонкослойных (толщиной менее 10 мм) керамических плиток. Толщина клеевой прослойки - до 5 мм |
|
|
4 |
Грунтовка Uzin Fliesengrund |
100-150 гр/м2 |
Наносится валиком на очищенную поверхность сборной стяжки |
|
5 |
Сборная стяжка из готовых элементов ГВЛВ КНАУФ |
1,02 м2/м2 |
|
|
6 |
Засыпка из кварцевого песка |
По факту |
|
|
7 |
Сплошное железобетонное междуэтажное перекрытие с неровной поверхностью |
|
|

|
Поз |
Наименование |
Расход |
Примечание |
|
1 |
Керамические плитки |
|
|
|
2 |
Затирка Uzin Fugenweiss |
По факту |
Цвет затирки - белый. |
|
Затирка Uzin Fugenbunt |
По факту |
Цвет затирки - бежевый. |
|
|
Затирка Uzin Fugengrau |
По факту |
Цвет затирки - серый. |
|
|
3 |
Клей Uzin Power Base |
1,7-3,3 кг/м2 |
Толщина клеевой прослойки - до 5 мм |
|
Клей Uzin Power Plus |
1,7-3,3 кг/м2 |
Применяется при изготовлении покрытий полов из тонкослойных (толщиной менее 10 мм) керамических плиток. Толщина клеевой прослойки - до 5 мм |
|
|
4 |
Рулонная гидроизоляция |
2,04 м2/м2 |
|
|
5 |
Сборная стяжка из готовых элементов ГВЛВ КНАУФ |
1,02 м2/м2 |
|
|
6 |
Тепло-звукоизоляция из керамзитового или кварцевого песка |
По расчёту |
Толщина слоя и расход материалов назначаются в соответствии с расчётами по параметрам тепло- и звукоизоляции |
|
7 |
Пароизоляция - полиэтиленовая плёнка |
1,15 м2/м2 |
|
|
8 |
Многопустотное железобетонное междуэтажное перекрытие с неровной поверхностью |
|
|

|
Поз |
Наименование |
Расход |
Примечание |
|
1 |
Керамические плитки |
|
|
|
2 |
Затирка Uzin Fugenweiss |
По факту |
Цвет затирки - белый. |
|
Затирка Uzin Fugenbunt |
По факту |
Цвет затирки - бежевый. |
|
|
Затирка Uzin Fugengrau |
По факту |
Цвет затирки - серый. |
|
|
3 |
Клей Uzin Power Base |
1,7-3,3 кг/м2 |
Толщина клеевой прослойки - до 5 мм |
|
Клей Uzin Power Plus |
1,7-3,3 кг/м2 |
Применяется при изготовлении покрытий полов из тонкослойных (толщиной менее 10 мм) керамических плиток. Толщина клеевой прослойки - до 5 мм |
|
|
4 |
Грунтовка Uzin Fliesenerund |
100-150 гр/м2 |
Наносится валиком на очищенную поверхность сборной стяжки |
|
5 |
Сборная стяжка из готовых элементов ГВЛВ КНАУФ |
1,02 м2/м2 |
|
|
6 |
Тепло-звукоизоляция из плит |
По расчёту |
Толщина слоя и расход материалов назначаются в соответствии с расчётами по параметрам тепло- и звукоизоляции |
|
7 |
Пароизоляция - полиэтиленовая плёнка |
1,15 м2/м2 |
|
|
8 |
Многопустотное железобетонное междуэтажное перекрытие с неровной поверхностью |
|
|

|
Поз |
Наименование |
Расход |
Примечание |
|
1 |
Керамические плитки |
|
|
|
2 |
Затирка Uzin Fugenweiss |
По факту |
Цвет затирки - белый. |
|
3 |
Клей Uzin Power Flex |
1,8-4,5 кг/м2 |
Толщина клеевой прослойки - до 5 мм |
|
4 |
Грунтовка Uzin Fliesengrund |
100-150 гр/м2 |
Наносится валиком на очищенную поверхность цементно-песчаной стяжки |
|
5 |
Деформационный шов, расшитый полиуретановым герметикой |
По факту |
Швы нарезаются в продольном и поперечном направлении с шагом не более 6 м. Глубина деформационного шва - не менее 2/3 толщины стяжки Расшивка швов полиуретановым герметиком осуществляется после достижения стяжкой воздушно-сухого состояния |
|
6 |
Стяжка из цементно-песчаного раствора на основе полимерцемента марки Uzin NC-190 и сухого кварцевого песка фракции 0,2-6,3 мм в соотношении от 1: 4 до 1: 6, армированная металлической сеткой с ячейками 50x50x2 |
2,2-3 кг/м2 |
Расход - на 1 мм слоя. При использовании для обогрева электронагревательных элементов армирующая сетка должна быть присоединена к системе заземления здания |
|
7 |
Электрокабель или трубы |
|
Шаг между нагревательными элементами устанавливается при теплотехническом расчёте исходя из достижения на поверхности покрытия температуры +23 °С |
|
8 |
Теплоизоляция из плит марки Uzin Multimoll Top 4 Теплоизоляция из плит марки Uzin Multimoll Top 9 Теплоизоляция из плит марки Uzin Multimoll Top 15 |
1 м /м2 |
Выбор марки теплоизоляционной плиты и толщины теплоизоляционного слоя осуществляется при проведении теплотехнического расчёта |
|
9 |
Рулонная гидроизоляция |
2,04 м2/м2 |
|
|
10 |
Сплошное железобетонное междуэтажное перекрытие с неровной поверхностью |
|
|

|
Поз |
Наименование |
Расход |
Примечание |
|
1 |
Керамические плитки |
|
|
|
2 |
Затирка Uzin Fugenweiss |
По факту |
Цвет затирки - белый. |
|
|
Затирка Uzin Fugenbunt |
По факту |
Цвет затирки - бежевый. |
|
|
Затирка Uzin Fugengrau |
По факту |
Цвет затирки - серый. |
|
3 |
Клей Uzin Power Base |
1,7-3,3 кг/м2 |
Применяется при изготовлении покрытий полов из керамических плиток в отапливаемых помещениях. Толщина клеевой прослойки - до 5 мм |
|
Клей Uzin Power Plus |
1,7-3,3 кг/м2 |
Применяется при изготовлении покрытий полов из тонкослойных (толщиной менее 10 мм) керамических плиток в отапливаемых помещениях. Толщина клеевой прослойки - до 5 мм |
|
|
Клей Uzin Power Flex |
1,8-4,5 кг/м2 |
Применяется при изготовлении покрытий полов из керамических плиток и керамогранитных плит в отапливаемых и не отапливаемых помещениях. Толщина клеевой прослойки - до 5 мм |
|
|
Клей Uzin Power Flex Turbo |
1,7-4,4 кг/м2 |
Применяется при изготовлении покрытий полов из керамогранитных крупноразмерных (длина и ширина более 300 мм) плит в отапливаемых и не отапливаемых помещениях. Толщина клеевой прослойки - до 10 мм |
|
|
4 |
Полимерцементная саморазравнивающаяся стяжка марки Uzin NC-170 + пластифицирующая добавка Uzin РК-520 |
1,4 + 0,08 кг/м2 |
Применяется для выравнивания поверхности металлического межэтажного перекрытия в отапливаемых помещениях площадью до 30 м2. Наносится зубчатым шпателем слоем толщиной до 10 мм. Расход- на 1 мм слоя Предел прочности при сжатии после 28 суток выдержки - не менее 40 МПа |
|
Полимерцементная саморазравнивающаяся стяжка марки Uzin NC-172+ пластифицирующая добавка Uzin PE-52O |
1,3 + 0,08 кг/м2 |
Применяется для выравнивания поверхности металлического межэтажного перекрытия в отапливаемых помещениях площадью до 30 м2. Наносится зубчатым шпателем слоем толщиной до 10 мм. Расход - на 1 мм слоя Предел прочности при сжатии после 28 суток выдержки - не менее 45 МПа |
|
|
Полиуретановая саморазравнивающаяся 2-х компонентная стяжка марки Uzin KR-4I0 |
1,6 кг/м2 |
Применяется для выравнивания поверхности металлического межэтажного перекрытия в не отапливаемых помещениях. Наносится зубчатым шпателем без ограничения толщины слоя. Расход - на 1 мм слоя Предел прочности при сжатии после 28 суток выдержки - не менее 60 MПa |
|
|
5 |
Эпоксидная грунтовка Uzin РЕ-440 |
100-200 гр/м2 |
Наносится валиком на отпескоструенную и обезжиренную поверхность металлического межэтажного перекрытия под полимер цементные стяжки |
|
Эпоксидная грунтовка Uzin РЕ-460 |
100-200 гр/м2 |
Наносится валиком на отпескоструенную и обезжиренную поверхность металлического межэтажного перекрытия под полнуретановую саморазравнивающуюся 2-х компонентную стяжку марки Uzin ICR-410 |
|
|
6 |
Металлическое межэтажное перекрытие с неровной поверхностью |
|
|

|
Поз |
Наименование |
Расход |
Примечание |
|
1 |
Керамические плитки |
|
|
|
2 |
Затирка Uzin Fugenweiss |
По факту |
Цвет затирки - белый. |
|
Затирка Uzin Fugenbunt |
По факту |
Цвет затирки - бежевый. |
|
|
Затирка Uzin Fugengrau |
По факту |
Цвет затирки - серый. |
|
|
3 |
Эпоксидный 2-х компонентный клей Uzin Epoxi-flex Plus |
2,0-3,5 кг/м2 |
Толщина клеевой прослойки - до 5 мм |
|
4 |
Эпоксидная грунтовка Uzin PE-4&0 |
100-200 гр/ м2 |
Наносится валиком на отпескоструенную и обезжиренную поверхность металлического межэтажного перекрытия |
|
5 |
Металлическое межэтажное перекрытие с ровной поверхностью |
|
|

|
Поз |
Наименование |
Расход |
Примечание |
|
1 |
Керамические кислотоупорные плитки |
|
|
|
2 |
Затирка Uzin Objektfuge Bo-den |
По факту |
|
|
3 |
Эпоксидный 2-х компонентный клей Uzin Epoxi-Lflex Plus |
2,0-3,5 кг/м2 |
Толщина клеевой прослойки - до 5 мм |
|
4 |
Грунтовка Uzin PE-460 |
100-1 50 гр/м2 |
Наносится валиком на очищенную поверхность бетонного основания |
|
5 |
Бетонное основание из бетона класса В22.5 |
0,12 м3/м2 |
|
|
6 |
Грунт основания |
|
|

|
Поз |
Наименование |
Расход |
Примечание |
|
1 |
Керамические кислотоупорные плитки |
|
|
|
2 |
Затирка Uzin Objektfuge Bo-den |
По факту |
|
|
3 |
Эпоксидный 2-х компонентный клей Uzin Epoxi-flex Plus |
2,0-3,5 кг/м2 |
Толщина клеевой прослойки - до 5 мм |
|
4 |
Грунтовка Uzin PE-460 |
100-150 гр/м2 |
Наносится валиком на очищенную поверхность бетонного основания |
|
5 |
Бетонное основание из бетона класса В22.5 |
0,12 м3/м2 |
|
|
6 |
Наливная гидроизоляция -щебень или гравий, пропитанные битумом |
Щебень или гравий - 0,04-0,05 м2/м2, битум - по факту |
|
|
7 |
Грунт основания |
|
|

|
Поз |
Наименование |
Расход |
Примечание |
|
1 |
Керамические кислотоупорные плитки |
|
|
|
2 |
Затирка Uzin Objektfuge Bo-den |
По факту |
|
|
3 |
Эпоксидный 2-х компонентный клей Uzin Epoxi-flex Plus |
2,0-3,5 кг/м2 |
Толщина клеевой прослойки - до 5 мм |
|
4 |
Грунтовка Uzin PE-460 |
100-150 гр/м2 |
Наносится валиком на очищенную поверхность бетонного основания |
|
5 |
Бетонное основание из бетона класса В22.5 |
0,12 м3/м2 |
|
|
6 |
Рулонная гидроизоляция |
1,02 м2/м2 |
|
|
7 |
Стяжка из цементно-песчаного раствора марки M150 |
0,05 м3/м2 |
|
|
8 |
Грунт основания |
|
|

|
Поз |
Наименование |
Расход |
Примечание |
|
1 |
Керамические кислотоупорные плитки |
|
|
|
2 |
Затирка Uzin Objektfuge Bo-den |
По факту |
|
|
3 |
Эпоксидный 2-х компонентный клей Uzin Epoxi-flex Plus |
2,0-3,5 кг/м2 |
Толщина клеевой прослойки - до 5 мм |
|
4 |
Грунтовка Uzin PE-460 |
100-150 гр/м2 |
Наносится валиком на очищенную поверхность стяжки |
|
5 |
Стяжка из цементно-песчаного раствора марки Ml 50 |
0,02 м3/м2 |
|
|
Стяжка из бетона В 12,5 |
0,02 м3/м2 |
|
|
|
Стяжка из цементно-песчаного раствора на основе полимерцемента марки Uzin NC-190 и сухого кварцевого песка фракции 0,2-6,3 мм в соотношении от 1: 4 до 1: 6 |
0,02 м3/м2 |
Повышенная скорость набора прочности и пониженное время сушки - не более 24 часов на 1 см толщины стяжки. Предел прочности на сжатие после 28 суток воздушной выдержки в зависимости от соотношения цемент: песок от 40 до 20 МПа. |
|
|
6 |
Бетонное основание из бетона класса В22.5 |
0,10 м3/м2 |
|
|
7 |
Грунт основания |
|
|

|
Поз |
Наименование |
Расход |
Примечание |
|
1 |
Керамические кислотоупорные плитки |
|
|
|
2 |
Затирка Uzin Objektfuge Boden |
По факту |
|
|
3 |
Эпоксидный 2-х компонентный клей Uzin Epoxi-flex Plus |
2,0-3,5 кг/м2 |
Толщина клеевой прослойки - до 5 мм |
|
4 |
Грунтовка Uzin PE-460 |
100-150 гр/м2 |
Наносится валиком на очищенную поверхность стяжки |
|
5 |
Стяжка из цементно-песчаного раствора марки Ml50 |
|
Расход материала определяется толщиной стяжки, которая должна превышать на 15-20 мм диаметр трубы |
|
Стяжка из бетона В12,5 |
|
Расход материала определяется толщиной стяжки, которая должна превышать на 15-20 мм диаметр трубы |
|
|
Стяжка из цементно-песчаного раствора на основе полимерцемента марки Uzin NC-190 и сухого кварцевого песка фракции 0,2-6,3 мм в соотношении от 1: 4 до 1: 6 |
|
Повышенная скорость набора прочности и пониженное время сушки – не более 24 часов на 1 см толщины стяжки. Предел прочности на сжатие после 28 суток воздушной выдержки в зависимости от соотношения цемент: песок от 40 до 20 МПа. Расход материала определяется толщиной стяжки, которая должна превышать на 15-20 мм диаметр трубы |
|
|
6 |
Труба |
|
|
|
7 |
Бетонное основание из бетона класса В22,5 |
0,10 м3/м2 |
|
|
8 |
Грунт основания |
|
|

|
Поз |
Наименование |
Расход |
Примечание |
|
1 |
Керамические кислотоупор- |
|
|
|
2 |
Затирка Uzin Objektfuge Bo-den |
По факту |
|
|
3 |
Эпоксидный 2-х компонентный клей Uzin Epoxi-flex Plus |
2,0-3,5 кг/м2 |
Толщина клеевой прослойки - до 5 мм |
|
4 |
Лакокрасочная гидроизоляция марки Uzin Epoxidicht, армированная стеклотканью |
|
|
|
5 |
Стяжка из цементно-песча-ного раствора марки M150 |
0,02 м3/м2 |
|
|
|
Стяжка из бетона В12,5 |
0,02 м3/м2 |
|
|
|
Стяжка из цементно-песчаного раствора на основе полимерцемента марки Uzin NC-190 и сухого кварцевого песка фракции 0,2-6,3 мм в соотношении от 1: 4 до 1: 6 |
0,02 м3/м2 |
Повышенная скорость набора прочности и пониженное время сушки - не более 24 часов на 1 см толщины стяжки. Предел прочности на сжатие после 28 суток воздушной выдержки в зависимости от соотношения цемент: песок от 40 до 20 МПа. |
|
6 |
Бетонное основание из бетона класса В22.5 |
0,10 м3/м2 |
|
|
7 |
Наливная гидроизоляция - щебень или гравий, пропитанные битумом |
Щебень или гравий - 0,04-0,05 м2/м2, битум - по факту |
|
|
8 |
Грунт основания |
|
|

|
Поз |
Наименование |
Расход |
Примечание |
|
1 |
Керамические кислотоупорные плитки |
|
|
|
2 |
Затирка Uzin Objektfuge Bo-den |
По факту |
|
|
3 |
Эпоксидный 2-х компонентный клей Uzin Epoxi-flex Plus |
2,0-3,5 кг/м2 |
Толщина клеевой прослойки - до 5 мм |
|
4 |
Грунтовка Uzin PE-460 |
100-150 гр/м2 |
Наносится валиком на очищенную поверхность бетонного основания |
|
5 |
Сплошное железобетонное междуэтажное перекрытие с ровной поверхностью |
|
|

|
Поз |
Наименование |
Расход |
Примечание |
|
1 |
Керамические кислотоупорные плитки |
|
|
|
2 |
Затирка Uzin Objektfuge Bo-den |
По факту |
|
|
3 |
Эпоксидный 2-х компонентный клей Uzin Epoxi-flex Plus |
2,0-3,5 кг/м2 |
Толщина клеевой прослойки - до 5 мм |
|
4 |
Грунтовка Uzin PE-460 |
100-150 гр/м2 |
Наносится валиком на очищенную поверхность стяжки |
|
5 |
Стяжка из цементно-песчаного раствора марки M150 |
0,02 м3/м2 |
|
|
|
Стяжка из бетона В12,5 |
0,02 м3/м2 |
|
|
|
Стяжка из цементно-песчаного раствора на основе полимерцемента марки Uzin NC-1 90 и сухого кварцевого песка фракции 0,2-6,3 мм в соотношении от 1: 4 до 1: 6 |
0,02 м3/м2 |
Повышенная скорость набора прочности и пониженное время сушки - не более 24 часов на 1 см толщины стяжки. Предел прочности на сжатие после 28 суток воздушной выдержки в зависимости от соотношения цемент: песок от 40 до 20 МПа. |
|
6 |
Сплошное железобетонное междуэтажное перекрытие с неровной поверхностью |
|
|

|
Поз |
Наименование |
Расход |
Примечание |
|
1 |
Керамические кислотоупорные плитки |
|
|
|
2 |
Затирка Uzm Objektfuge Bo-den |
По факту |
|
|
3 |
Эпоксидный 2-х компонентный клей Uzin Epoxi-flex Plus |
2,0-3,5 кг/м2 |
Толщина клеевой прослойки - до 5 мм |
|
4 |
Грунтовка Uzin PE-460 |
100-150 гр/м2 |
Наносится валиком на очищенную поверхность стяжки |
|
5 |
Стяжка из цементно-песчаного раствора марки Ml 50 |
0,04 м3/м2 |
|
|
Стяжка из бетона В 12,5 |
0,04 м3/м2 |
|
|
|
Стяжка из цементно-песчаного раствора на основе полимерцемента марки Uzin NC-190 и сухого кварцевого песка фракции 0,2-6,3 мм в соотношении от 1: 4 до 1: 6 |
0,04 м3/м2 |
Повышенная скорость набора прочности и пониженное время сушки - не более 24 часов на 1 см толщины стяжки. Предел прочности на сжатие после 28 суток воздушной выдержки в зависимости от соотношения цемент: песок от 40 до 20 МПа. |
|
|
6 |
Теплоизоляция из керамзитового или кварцевого песка |
По расчёту |
|
|
7 |
Сплошное железобетонное междуэтажное перекрытие с неровной поверхностью |
|
|

|
Поз |
Наименование |
Расход |
Примечание |
|
1 |
Керамические кислотоупорные плитки |
|
|
|
|
Затирка Uzin Objektfuge Boden |
По факту |
|
|
3 |
Эпоксидный 2-х компонентный клей Uzin Epoxi-flex Plus |
2,0-3,5 кг/м2 |
Толщина клеевой прослойки - до 5 мм |
|
4 |
Грунтовка Uzin PE-460 |
100-150 гр/м2 |
Наносится валиком на очищенную поверхность стяжки |
|
5 |
Стяжка из цементно-песчаного раствора марки M150 |
0,04 м3/м2 |
|
|
|
Стяжка из бетона В12,5 |
0,04 м3/м2 |
|
|
|
Стяжка из цементно-песчаного раствора на основе полимерцемента марки Uzin NC-1 90 и сухого кварцевого песка фракции 0,2-6,3 мм в соотношении от 1: 4 до 1: 6 |
0,04 м3/м2 |
Повышенная скорость набора прочности и пониженное время сушки - не более 24 часов на 1 см толщины стяжки. Предел прочности на сжатие после 28 суток воздушной выдержки в зависимости от соотношения цемент: песок от 40 до 20 МПа. |
|
6 |
Теплоизоляция из плит |
По расчёту |
|
|
|
Сплошное железобетонное междуэтажное перекрытие с неровной поверхностью |
|
|

|
Поз |
Наименование |
Расход |
Примечание |
|
1 |
Керамические кислотоупорные плитки |
|
|
|
2 |
Затирка Uzin Objektfuge Bo-den |
По факту |
|
|
3 |
Эпоксидный 2-х компонентный клей Uzin Epoxi-flex Plus |
2,0-3,5 кг/м2 |
Толщина клеевой прослойки - до 5 мм |
|
4 |
Лакокрасочная гидроизоляция марки Uzin Epoxidicht, армированная стеклотканью |
|
|
|
5 |
Стяжка из цементно-песчаного раствора марки Ml50 |
0,02 м3/м2 |
|
|
Стяжка из бетона В12,5 |
0,02 м3/м2 |
|
|
|
Стяжка из цементно-песчаного раствора на основе полимерцемента марки Uzin NC-1 90 и сухого кварцевого песка фракции 0,2-6,3 мм в соотношении от 1: 4 до 1: 6 |
0,02 м3/м2 |
Повышенная скорость набора прочности и пониженное время сушки - не более 24 часов на 1 см толщины стяжки. Предел прочности на сжатие после 28 суток воздушной выдержки в зависимости от соотношения цемент: песок от 40 до 20 МПа. |
|
|
6 |
Сплошное железобетонное междуэтажное перекрытие с неровной поверхностью |
|
|

|
Поз |
Наименование |
Расход |
Примечание |
|
1 |
Керамические кислотоупорные плитки |
|
|
|
2 |
Затирка Uzin Objektfuge Bo-den |
По факту |
|
|
3 |
Эпоксидный 2-х компонентный клей Uzin Epoxi-flex Plus |
2,0-3,5 кг/м2 |
Толщина клеевой прослойки - до 5 мм |
|
4 |
Эпоксидная грунтовка Uzin РЕ-440 |
100-200 гр/м2 |
Наносится валиком на отпескоструенную и обезжиренную поверхность металлического межэтажного перекрытия |
|
5 |
Металлическое межэтажное перекрытие с ровной поверхностью |
|
|

|
Поз |
Наименование |
Расход |
Примечание |
|
1 |
Восковая натирка Uzin MR-380 |
Согласно инструкции |
Наносится губкой через 8-14 дня после нанесения лака. |
|
|
Эмульсия на водной основе Uzin MR-100 |
Согласно инструкции |
Наносится губкой через 8-14 дня после нанесения лака. |
|
|
Эмульсия на основе органического растворителя Uzin MR-170 |
Согласно инструкции |
Наносится губкой через 8-14 дня после нанесения лака. |
|
2 |
Однокомпонентный водный лак Uzin MF-94 |
50-130 мл/м2 |
Применяется в помещениях с малой нагрузкой (жилые комнаты). Наносится валиком или шпателем не менее 3-х слоев. |
|
Однокомпонентный водный лак Uzin MF-95 |
50-130 мл/м2 |
Применяется в помещениях с малой нагрузкой (жилые комнаты). Наносится валиком или шпателем не менее 2-х слоев. |
|
|
Однокомпонентный водный лак Uzin MF-96 |
90-120 мл/м2 |
Применяется в жилых и общественных зданиях с высокими механическими нагрузками. Наносится валиком или шпателем не менее 2-х слоев в жилых помещениях и не менее 3-х слоев в общественных зонах. |
|
|
Однокомпонентный водный лак Uzin MF-97 |
50-120 мл/м2 |
Применяется в жилых и общественных зданиях с высокими механическими нагрузками. Наносится валиком или шпателем не менее 2-х слоев в жилых помещениях и не менее 3-х слоев в общественных зонах. |
|
|
Двухкомпонентный водный лак Uzin MF-98 |
110-130 мл/м2 |
Применяется в жилых и общественных зданиях с очень высокими механическими нагрузками - коридоры школ, в казармах, в музеях. Наносится валиком или шпателем не менее 2-х слоев в жилых помещениях и не менее 3-х слоев в общественных зонах. |
|
|
Однокомпонентный водный лак Uzin MF-99 |
110-130 мл/м2 |
Применяется в жилых и общественных зданиях с очень высокими механическими нагрузками - коридоры школ, в казармах, в музеях. Пригоден для массивной доски. Наносится валиком или шпателем не менее 2-х слоев в жилых помещениях и не менее 3-х слоев в общественных зонах. |
|
|
3 |
Водный гель Uzin MG-345 Gel |
20-50 мл/м2 |
Применяется для сглаживания наплывов лака и удаления мелкой пыли. Наносится шпателем перед последним слоем лака, после шлифовки. |
|
4 |
Грунтовка на основе органического растворителя Uzin MG-315 |
80-100 мл/м2 |
Применяется для всех пород древесины, в том числе экзотических. Наносится валиком на очищенную и обеспыленную поверхность. |
|
Грунтовка на водной основе Uzin MG-320 |
110 мл/м2 |
Применяется для стандартных пород древесины (не применять на впитывающих пород типа бука и экзотических). Наносится валиком на очищенную и обеспыленную поверхность. |
|
|
Грунтовка на водной основе Uzin MG-321 |
85-100 мл/м2 |
Применяется для экзотических пород древесины. Наносится валиком на очищенную и обеспыленную поверхность. |
|
|
Грунтовка на водной основе Uzin MG-325 |
50-110 мл/м2 |
Применяется для стандартных и сильно впитывающих пород древесины. Наносится валиком или шпателем на очищенную и обеспыленную поверхность. |
|
|
5 |
Шпаклёвка на водной основе Uzin MG-3O2 + древесная мука от шлифовки К-100 |
50-100 мл/м2 |
Применяется для шпаклёвки паркетных швов. Наносится шпателем. |
|
Шпаклевка на основе органического растворителя Uzin MG-305 + древесная мука от шлифовки К-100 |
120-140 мл/м2 |
Применяется для шпаклёвки паркетных швов. Наносится шпателем. |
|
|
6 |
Штучный паркет |
|
|
|
7 |
Клей Uzin |
|
|

|
Поз |
Наименование |
Расход |
Примечание |
|
1 |
Восковая натирка Uzin MR-380 |
Согласно инструкции |
Наносится губкой не раньше, чем через 4 дня после нанесения лака. |
|
Эмульсия на водной основе Uzin MR-100 |
Согласно инструкции |
Наносится губкой не раньше, чем через 4 дня после нанесения лака. |
|
|
Эмульсия на основе органического растворителя Uzin MR-170 |
Согласно инструкции |
Наносится губкой не раньше, чем через 4 дня после нанесения лака. |
|
|
2 |
Однокомпонентный полиуретановый лак Uzin MF-86 DD |
110-130 мл/м2 |
Применяется в помещениях с нормальной нагрузкой. .Наносится валиком в жилых помещениях не менее 2-х слоев, в общественных и промышленных зонах - не менее 3-х слоев. Перед нанесением последнего слоя лака прошлифовать наждачной сеткой. |
|
Двухкомпонентный полиуретановый лак Uzin MF-88 DD |
1 10-130 мл/м2 |
Применяется в помещениях с интенсивной нагрузкой. Наносится валиком в жилых помещениях не менее 2-х слоев, в общественных и промышленных зонах - не менее 3-х слоев. Перед нанесением последнего слоя лака прошлифовать наждачной сеткой. |
|
|
3 |
Грунтовка на основе органического растворителя Uzin MG-315 |
80-100 мл/м2 |
Применяется для всех пород древесины, в том числе экзотических. Наносится валиком. |
|
Грунтовка на основе органического растворителя Uzin MG-337 DD |
50-60 мл/м2 |
Применяется для светлых пород древесины. Наносится валиком на очищенную и обеспыленную поверхность. |
|
|
4 |
Шпаклёвка на основе органического растворителя Uzin MG-305 + древесная мука от шлифовки К-100 |
120-140 мл/м2 |
Применяется для шпаклёвки паркетных швов. Наносится шпателем на очищенную и обеспыленную поверхность. |
|
5 |
Штучный паркет |
|
|
|
6 |
Клей Uzin |
|
|

|
Поз |
Наименование |
Расход |
Примечание |
|
1 |
Восковая натирка Uzin MR-380 |
Согласно инструкции |
Наносится губкой через 12-21 день после нанесения лака. |
|
Эмульсия на водной основе Uzin MR-100 |
Согласно инструкции |
Наносится губкой через 12-21 день после нанесения лака. |
|
|
Эмульсия на основе органического растворителя Uzin MR-170 |
Согласно инструкции |
Наносится губкой через 12-21 день после нанесения лака. |
|
|
2 |
Однокомпонентный лак Uzin MF-76 |
110-130 мл/м2 |
Применяется в помещениях с нормальной нагрузкой. Наносится валиком в жилых помещениях не менее 2-х слоев, в общественных и промышленных зонах - не менее 3-х слоев. Перед нанесением последнего слоя лака прошлифовать наждачной сеткой. |
|
Однокомпонентный лак Uzin MF-77 Sport |
110-130 мл/м2 |
Применяется в спортивных помещениях. Наносится валиком в жилых помещениях не менее 2-х слоев, в общественных и промышленных зонах - не менее 3-х слове. Перед нанесением последнего слоя лака прошлифовать наждачной сеткой. |
|
|
Двухкомпонентный лак Uzin MF-78 |
110-130 мл/м2 |
Применяется в помещениях с интенсивной нагрузкой. Наносится валиком в жилых помещениях не менее 2-х слоев, в общественных и промышленных зонах - не менее 3-х слоев. Перед нанесением последнего слоя лака прошлифовать наждачной сеткой. |
|
|
3 |
Гель на основе органического растворителя Uzin MG-350 Gel |
50-60 мл/м2 |
Применяется для сглаживания наплывов лака и удаления мелкой пыли. Наносится шпателем перед последним слоем лака, после шлифовки. |
|
4 |
Грунтовка на основе органического растворителя Uzin MG-315 |
80-100 мл/м2 |
Применяется для всех пород древесины, в том числе экзотических. Наносится валиком на очищенную и обеспыленную поверхность. |
|
Грунтовка на основе органического растворителя Uzin MG-337 DD |
50-60 мл/м2 |
Применяется для стандартных и сильно впитывающих пород древесины под лак Uzin MF-78. Наносится шпателем на очищенную и обеспыленную поверхность. |
|
|
Грунтовка на основе органического растворителя Uzin MG-375 |
50-60 мл/м2 |
Применяется для стандартных пород древесины ( не применять для сильно впитывающих и экзотических пород) под лак Uzin MF-76. Наносится шпателем. |
|
|
5 |
Шпаклевка на основе органического растворителя Uzin MG-305 + древесная мука от шлифовки К-100 |
120-140 мл/м2 |
Применяется для шпаклевки паркетных швов. Наносится шпателем. |
|
6 |
Штучный паркет |
|
|
|
7 |
Клей Uzin |
|
|

|
Поз |
Наименование |
Расход |
Примечание |
|
1 |
Восковая натирка Uzin MR-380 |
Согласно инструкции |
Наносится губкой через 5-6 дней после нанесения лака. |
|
Эмульсия на водной основе Uzin MR-100 |
Согласно инструкции |
Наносится губкой через 5-6 дней после нанесения лака. |
|
|
Эмульсия на основе органического растворителя Uzin MR-170 |
Согласно инструкции |
Наносится губкой через 5-6 дней после нанесения лака. |
|
|
2 |
Двухкомпонентный лак с кислотным отвердителем Uzin MF-68 |
110-130 мл/м2 |
Применяется в помещениях с интенсивной нагрузкой. Наносится валиком в жилых помещениях не менее 2-х слоев, в общественных и промышленных зонах - не менее 3-х слоев. Перед нанесением последнего слоя лака прошлифовать наждачной сеткой. |
|
4 |
Грунтовка на основе органического растворителя Uzin MG-315 |
80-100 мл/м2 |
Применяется для всех пород древесины, в том числе экзотических. Наносится валиком на очищенную и обеспыленную поверхность. |
|
Грунтовка на основе органического растворителя Uzin MG-365 |
50-1 10 мл/м2 |
Применяется для всех пород древесины, в том числе экзотических. Наносится валиком или шпателем на очищенную и обеспыленную поверхность. |
|
|
5 |
Шпаклевка на основе органического растворителя Uzin MG-305 + древесная мука от шлифовки К-100 |
120-140 мл/м2 |
Применяется для шпаклёвки паркетных швов. Наносится шпателем. |
|
6 |
Штучный паркет |
|
|
|
7 |
Клей Uzin |
|
|

|
Поз |
Наименование |
Расход |
Примечание |
|
1 |
Восковая натирка Uzin MR-380 |
Согласно инструкции |
Наносится губкой не раньше, чем через 24 часа после нанесения лака. |
|
Эмульсия на водной основе UzinMR-150 |
Согласно инструкции |
Наносится губкой не раньше, чем через 24 часа после нанесения лака. |
|
|
Эмульсия на водной основе Uzin MR-350 |
Согласно инструкции |
Наносится губкой не раньше, чем через 24 часа после нанесения лака. |
|
|
2 |
Масляно-восковая система на основе искусственного масла Uzin MH-84 |
30-80 мл/м2 |
Наносится валиком или шпателем на очищенную и обеспыленную поверхность 2 слоя, при сильной впитываемости - 3 слоя. Перед нанесением последнего слоя лака прошлифовать наждачной сеткой. |
|
Масляно-восковая система на основе натурального масла Uzin MH-86 |
25-80 мл/м2 |
Наносится валиком или шпателем на очищенную и обеспыленную поверхность 2 слоя, при сильной впитываемости - 3 слоя. Перед нанесением последнего слоя лака прошлифовать наждачной сеткой. |
|
|
3 |
Шпаклевка на водной основе Uzin MG-302 + древесная мука от шлифовки К-100 |
50-100 мл/м2 |
Применяется для шпаклёвки паркетных швов. Наносится шпателем. |
|
4 |
Штучный паркет |
|
|
|
5 |
Клей Uzin |
|
|

|
Поз |
Наименование |
Расход |
Примечание |
|
1 |
Антискользящая эмульсия на водной основе Uzin MR-171 Sport |
Согласно инструкции |
|
|
2 |
Глянцевый уретан-алкидный лак Uzin MF-77 Sport |
110-130 мл/м2 |
Наносится валиком не менее 3-х слоев. Перед нанесением последнего слоя лака прошлифовать наждачной сеткой. |
|
Полуматовый однокомпо-нентный водный лак Uzin MF-96 Sport |
90-120 мл/м2 |
Наносится валиком не менее 3-х слоев. Перед нанесением последнего слоя лака прошлифовать наждачной сеткой. |
|
|
3 |
Грунтовка на основе органического растворителя Uzin MG-315 |
70-110 мл/м2 |
Наносится валиком на очищенную и обеспыленную поверхность. |
|
4 |
Шпаклёвка на основе органического растворителя Uzin MG-305 + древесная мука от шлифовки К-100 |
50-70 мл/м2 |
Применяется для шпаклёвки паркетных швов. Наносится шпателем. |
|
5 |
Штучный паркет |
|
|
|
6 |
Клей Uzin |
|
|

|
Поз |
Наименование |
Расход |
Примечание |
|
1 |
Паркет штучный, готовый и паркетные доски |
1,02 м2/м2 |
|
|
2 |
Клей для паркета штучного, готового и паркетной доски |
|
Выбор клеев следует осуществлять с учетом рекомендаций, изложенных в разделе «Конструктивные схемы» |
|
3 |
Грунтовка под клей для паркета штучного, готового и паркетной доски |
|
Выбор грунтовок следует осуществлять с учётом рекомендаций, изложенных в разделе «Конструктивные схемы» |
|
4 |
Стяжка из цементно-песчаного раствора марки Ml50, из бетона В 12,5 или полимерцементная саморазравнивающаяся стяжка |
0,02 м3/м2 |
Выбор полимерцементных саморазравнивающихся стяжек следует осуществлять с учетом рекомендаций, изложенных в разделе «Конструктивные схемы» |
|
5 |
Грунтовка Uzin PE-360 |
100-150 гр/м2 |
Наносится валиком на очищенную поверхность бетонного основания под саморазравнивающиеся стяжки |
|
6 |
Бетонное основание из бетона класса В22,5 |
0,08 м3/м2 |
|
|
7 |
Рулонная гидроизоляция |
1,02 м2/м2 |
|
|
8 |
Деревянный плинтус |
|
|
|
9 |
Гвоздь |
|
|
|
10 |
Пробка |
|
|
|
11 |
Стена |
|
|

|
Поз |
Наименование |
Расход |
Примечание |
|
1 |
Линолеум, синтетические плитки или ковры из синтетических волокон |
1,02 м2/м2 |
С целью стабилизации алкидного (натурального) линолеума и защиты от воздействия воды на его поверхность валиком наносится защитный слой марки «Secura» |
|
2 |
Клей для линолеума, синтетических плиток или ковров из синтетических волокон |
|
Выбор клеёв следует осуществлять с учетом рекомендаций, изложенных в разделе «Конструктивные схемы» |
|
3 |
Грунтовка под клей линолеума, синтетических плиток или ковров из синтетических волокон |
|
Выбор грунтовок следует осуществлять с учётом рекомендаций, изложенных в разделе «Конструктивные схемы» |
|
4 |
Стяжка из цементно-песчаного раствора марки Ml 50, из бетона В1 2,5 или полимериементная саморазравнивающаяся стяжка |
0,04 м3/м2 |
Выбор полимерцементных саморазравнивающихся стяжек следует осуществлять с учётом рекомендаций, изложенных в разделе «Конструктивные схемы» |
|
5 |
Звукоизоляционная прокладка |
|
|
|
6 |
Тепло-звукоизоляция из керамзитового или кварцевого песка |
По расчету |
Толщина слоя и расход материалов назначаются в соответствии с расчетами по параметрам тепло- и звукоизоляции |
|
7 |
Сплошное железобетонное |
|
|
|
8 |
Деревянный плинтус |
|
|
|
9 |
Гвоздь |
|
|
|
10 |
Пробка |
|
|
|
11 |
Стена |
|
|

|
Поз |
Наименование |
Расход |
Примечание |
|
1 |
Линолеум, синтетические плитки или ковры из синтетических волокон |
1,02 м2/м2 |
С целью стабилизации алкидного (натурального) линолеума и защиты от воздействия воды на его поверхность валиком наносится защитный слой марки «Secura» |
|
2 |
Клей для линолеума, синтетических плиток или ковров из синтетических волокон |
|
Выбор клеёв следует осуществлять с учётом рекомендаций, изложенных в разделе «Конструктивные схемы» |
|
3 |
Грунтовка под клей для линолеума, синтетических плиток или ковров из синтетических волокон |
|
Выбор грунтовок следует осуществлять с учётом рекомендаций, изложенных в разделе «Конструктивные схемы» |
|
4 |
Сборная стяжка из готовых элементов ГВЛ КНАУФ |
1,02 м2/м2 |
|
|
5 |
Кромочная лента |
|
|
|
6 |
Тепло-звукоизоляция из плит |
По расчёту |
Толщина слоя и расход материалов назначаются в соответствии с расчетами по параметрам тепло- и звукоизоляции |
|
7 |
Сплошное железобетонное междуэтажное перекрытие |
|
|
|
8 |
Деревянный плинтус |
|
|
|
9 |
Саморез или шуруп |
|
|
|
10 |
Звукоизоляционная прослойка |
|
|
|
11 |
Стена |
|
|

|
Поз |
Наименование |
Расход |
Примечание |
|
1 |
Линолеум поливинилхлоридный |
1,02 м2/м2 |
|
|
2 |
Клей для линолеума поливинилхлоридного |
|
Выбор клеёв следует осуществлять с учётом рекомендаций, изложенных в разделе «Конструктивные схемы» |
|
3 |
Грунтовка под клей для линолеума поливинилхлоридного |
|
Выбор грунтовок следует осуществлять с учётом рекомендаций, изложенных в разделе «Конструктивные схемы» |
|
4 |
Контактный клей Uzin GN-276 |
200-400 гр/м2 |
|
|
Термоконтактный клей Uzin DK-290 Thermocoll |
200-250 гр/м2 |
|
|
|
5 |
Стяжка из цементно-песчаного раствора марки М150, из бетона В 12,5 или полимерцементная саморазравнивающаяся стяжка |
0,04 м3/м2 |
Выбор полимерцементных саморазравнивающихся стяжек следует осуществлять с учётом рекомендаций, изложенных в разделе «Конструктивные схемы» |
|
6 |
Звукоизоляционная прокладка |
|
|
|
7 |
Тепло-звукоизоляция из плит |
По расчету |
Толщина слоя и расход материалов назначаются в соответствии с расчётами по параметрам тепло- и звукоизоляции |
|
8 |
Сплошное железобетонное междуэтажное перекрытие |
|
|
|
9 |
Стена |
|
|

|
Поз |
Наименование |
Расход |
Примечание |
|
1 |
Линолеум алкидный (натуральный) |
1,02 м2/м2 |
С целью стабилизации алкидного (натурального) линолеума и защиты от воздействия воды на его поверхность валиком наносится защитный слой марки «Secura» |
|
2 |
Водо-дисперсионный клей Uzin UZLE-2401 |
400-500 гр/м2 |
Применяется для алкидного (натурального) линолеума. Наносится зубчатым шпателем слоем толщиной не более 0,8 мм |
|
|
Водо-дисперсионный клей Uzin UZ LE-44 |
400-500 гр/м2 |
Применяется для алкидного (натурального) линолеума. Клей характеризуется пониженным выделением токсичных веществ при производстве работ. Наносится зубчатым шпателем слоем толщиной не более 0,8 мм |
|
3 |
Контактный клей Uzin GN-276 |
200-400 гр/м2 |
|
|
4 |
Вкладыш кривизны |
|
|
|
5 |
Стяжка из цементно-песчаного раствора марки M150, из бетона В 12,5 или полимерцементная саморазравнивающаяся стяжка |
0,02 м3/м2 |
Выбор полимерцементных саморазравнивающихся стяжек следует осуществлять с учетом рекомендаций, изложенных в разделе «Конструктивные схемы» |
|
6 |
Бетонное основание из бетона класса В22,5 |
0,08 м3/м2 |
|
|
7 |
Рулонная гидроизоляция |
1,02 м2/м2 |
|
|
8 |
Стена |
|
|

|
Поз |
Наименование |
Расход |
Примечание |
|
1 |
Ковролин |
1,02 м2/м2 |
|
|
2 |
Водо-дисперсионный клей Uzin UZ-52 |
250-500 гр/м2 |
Применяется для ковровых покрытий с тканной или войлочной подосновой. Клей характеризуется пониженным выделением токсичных веществ при производстве работ. Наносится зубчатым шпателем слоем толщиной не более 0,8 мм |
|
Водо-дисперсионный клей Uzin UZ-75 |
150-400 гр/м2 |
Применяется для ковровых покрытий с тканной, вспененной или войлочной подосновой в зонах с повышенными нагрузками. Наносится зубчатым шпателем слоем толщиной не более 0,8 мм |
|
|
3 |
Полоска ковролина |
|
|
|
4 |
Пластиковый плинтус |
|
|
|
5 |
Контактный клей Uzin GN-276 |
200-400 гр/м2 |
|
|
6 |
Стяжка из цементно-песчаного раствора марки Ml50, из бетона В 12,5 или полимерцементная саморазравнивающаяся стяжка |
0,02 м3/м2 |
Выбор полимерцементных саморазравнивающихся стяжек следует осуществлять с учётом рекомендаций, изложенных в разделе «Конструктивные схемы» |
|
7 |
Бетонное основание из бетона класса В22,5 |
0,08 м3/м2 |
|
|
8 |
Рулонная гидроизоляция |
1,02 м2/м2 |
|
|
9 |
Стена |
|
|

|
Поз |
Наименование |
Расход |
Примечание |
|
1 |
Керамическая плитка, кислотоупорная плитка, плиты из природного камня и керамогранита |
1,02 м2/м2 |
|
|
2 |
Затирка для керамической плитки, кислотоупорной плитки, плит из природного камня и керамогранита |
|
Выбор затирок следует осуществлять с учётом рекомендаций, изложенных в разделе «Конструктивные схемы» |
|
3 |
Клей для керамической плитки, кислотоупорной плитки, плит из природного камня и керамогранита |
|
Выбор клеев следует осуществлять с учётом рекомендаций, изложенных в разделе «Конструктивные схемы» |
|
4 |
Непроницаемый подслой |
|
Материал непроницаемого подслоя и количество слоев выбираются исходя из степени агрессивности и интенсивности воздействия агрессивных сред
|
|
5 |
Стяжка из цементно-песчаного раствора марки M150, из бетона В 12,5 или полимерцементная саморазравнивающаяся стяжка |
0,04 м3/м2 |
Выбор полимерцементных саморазравнивающихся стяжек следует осуществлять с учётом рекомендаций, изложенных в разделе «Конструктивные схемы» |
|
6 |
Бетонное основание из бетона класса В22,5 |
0,08 м3/м2 |
|
|
7 |
Рулонная гидроизоляция |
1,02 м2/м2 |
|
|
8 |
Разделка затирочной композицией |
|
|
|
9 |
Стена |
|
|

|
Поз |
Наименование |
Расход |
Примечание |
|
1 |
Линолеум поливинилхлоридный |
1,02 м2/м2 |
Группа горючести линолеума НГ или Г1 |
|
2 |
Водо-дисперсионный клей Uzin KE-2008 |
300-500 гр/м2 |
Применяется для поливинилхлоридного одно- и многослойного линолеума без подосновы. Наносится зубчатым шпателем слоем толщиной не более 0,8 мм |
|
Полимерный клей Uzin КЕ-2000S |
200-350 гр/м2 |
Применяется для поливинилхлоридного одно- и многослойного линолеума без подосновы или вспененной подосновой. Клей характеризуется повышенным временем работоспособности. Наносится зубчатым шпателем слоем толщиной не более 0,8 мм |
|
|
3 |
Резиновый профиль |
|
Группа горючести резинового профиля НГ или Г1 |
|
4 |
Контактный клей Uzin GN-276 |
200-400 гр/м2 |
|
|
5 |
Лестничный марш |
|
|

|
Поз |
Наименование |
Расход |
Примечание |
|
1 |
Готовый поливинилхлоридный элемент лестничного покрытия |
1,02 м2/м2 |
Группа горючести линолеума НГ или Г1 |
|
2 |
Водо-дисперсионный клей Uzin KE-2008 |
300-500 гр/м2 |
Применяется для поливинилхлоридного одно- и многослойного линолеума без подосновы. Наносится зубчатым шпателем слоем толщиной не более 0,8 мм |
|
Полимерный клей Uzin KE-2000S |
200-350 гр/м2 |
Применяется для поливинилхлоридного одно- и многослойного линолеума без подосновы или вспененной подосновой. Клей характеризуется повышенным временем работоспособности. Наносится зубчатым шпателем слоем толщиной не более 0,8 мм |
|
|
3 |
Контактный клей Uzin GN-276 |
200-400 гр/м2 |
|
|
4 |
Лестничный марш |
|
|




|
№№ п/п |
Покрытие |
Предельные значения интенсивности воздействия на пол |
|||||||||||||||
|
Интенсивность движения, ед./сутки, на 1 полосу движения |
Волочение твёрдых предметов с острыми углами и рёбрами, работа на полу с лопатами, ломами и т.п. острым инструментом |
Массы предметов, кг, падающих с высоты 1 м |
Удельного давления от сосредоточенных нагрузок, Н/см2 (кгс/см2) |
Нагревания пола до температуры °С |
|||||||||||||
|
Пешеходов и тележек на резиновых шинах |
Тележек на металлических шинах и перекатывания круглых металлических предметов (бочек и т.п.) |
Транспортных средств на резиновом ходу |
Транспортных средств на гусеничном ходу |
||||||||||||||
|
Более 500 |
Менее 500 |
Коэф «С1 » |
Более 50 |
30-50 |
Менее 30 |
Более 200 |
100- 200 |
Менее 100 |
Более 10 |
Менее 10 |
|
|
|
|
|||
|
1. |
Плиты природного камня изверженных пород (гранита и т.д.) толщиной более 20 мм по прослойке из цементно-песчаного раствора |
Допускается |
60 |
Не допускается |
Допускается |
Допускается |
Не допускается |
Допускается |
10 |
500(50) |
100 |
||||||
|
2. |
Плиты из керамогранита |
|
|
|
|
|
|
|
|
|
|
||||||
|
а), толщиной до 9 мм |
Не допускается |
Допускается |
- |
Не допускается |
Не допускается |
Не допускается |
Не допускается |
|
500(50) |
100 |
|||||||
|
б), толщиной более 9 мм |
Допускается |
- |
Не допускается |
Не допускается |
Не допускается |
Не допускается |
2 |
500(50) |
100 |
||||||||
|
3. |
Керамические плитки толщиной 10-13 мм |
Допускается |
|
Не допускается |
Не допускается |
Не допускается |
Не допускается |
2 |
200(20) |
100 |
|||||||
|
4. |
Керамические кислотоупорные плитки толщиной |
|
|
|
|
|
|
|
|
|
|||||||
|
а). 15-20 мм |
Допускается |
- |
Не допускается |
Не допускается |
Не допускается |
Не допускается |
3 |
200 (20) |
100 |
||||||||
|
б). 30-35 мм |
Допускается |
60 |
Не допускается |
Допускается |
Не допускается |
Допускается |
Не допускается |
Не допускается |
5 |
200 (20) |
100 |
||||||
|
в). 50 мм |
Допускается |
60 |
Не допускается |
Допускается |
Не допускается |
Допускается |
Не допускается |
Допус кается |
Допускается |
7 |
300 (30) |
100 |
|||||
|
5. |
Кислотоупорный кирпич плашмя |
Допускается |
60 |
Не допускается |
Допускается |
Допускается |
Не допускается |
Допус кается |
Допускается |
7 |
300 (30) |
100 |
|||||
|
6. |
Кислотоупорный кирпич на ребро |
Допускается |
60 |
Не допускается |
Допускается |
Допускается |
Не допускается |
Допус кается |
Допускается |
10 |
300 (30) |
100 |
|||||
|
7. |
Штучный и наборный паркет |
Допускается |
- |
Не допускается |
Не допускается |
Не допускается |
Не допускается |
Не допускается |
200 кг в точку |
50 |
|||||||
|
8. |
Паркетные доски |
Допускается |
- |
Не допускается |
Не допускается |
Не допускается |
Не допускается |
Не допускается |
200 кг в точку |
50 |
|||||||
|
9. |
Линолеум (в том числе антистатический) |
Не допускается |
Допускается |
|
Не допускается |
Не допускается |
Не допускается |
Не допускается |
Не допускается |
500 (50) |
50 |
||||||
|
10. |
Плитки поливинил- |
Не допускается |
Допускается |
|
Не допускается |
Не допускается |
Не допускается |
Не допускается |
Не допускается |
500 (50) |
50 |
||||||
|
11. |
Плитки резиновые |
|
|
|
|
|
|
|
|
|
|
||||||
|
а), толщиной до 4мм |
Не допускается |
Допускается |
- |
Не допускается |
Не допускается |
Не допускается |
Не допускается |
5 |
500 (50) |
50 |
|||||||
|
б), толщиной от 4 до 10 мм |
Допускается |
60 |
Не допускается |
Допускается |
Не допускается |
Допускается |
Не допускается |
Не допускается |
7 |
500(50) |
50 |
||||||
|
в), толщиной свыше 10 мм |
Допускается |
60 |
Не допускается |
Допускается |
Не допускается |
Допускается |
Не допускается |
Не допускается |
10 |
500(50) |
50 |
||||||
|
12. |
Рулонное на основе синтетических волокон |
Не допускается |
Допускается |
- |
Не допускается |
Не допускается |
Не допускается |
Не допускается |
Не допускается |
100(10) |
50 |
||||||
|
13. |
Ламинат |
Не допускается |
Допускается |
- |
Не допускается |
Не допускается |
Не допускается |
Не допускается |
Не допускается |
100(10) |
50 |
||||||
1). Коэффициент С
давления на пол металлических шин и круглых предметов определяют по формуле:
, где
Р - наибольшее давление колеса или обода на пол в кг; D -диаметр колеса или обода в м; b - ширина шины колеса или обода в см.
|
№ |
Покрытие |
Предельные значения интенсивности воздействия на пол |
|||||||||||||||
|
Воды и растворов нейтральной реакции |
Минеральных масел и эмульсий из них |
Органических растворителей |
Веществ животного происхождения |
Растворов кислот |
Растворов щелочей |
||||||||||||
|
Сырой нефти и нефтепродуктов (мазут, дизтоп- |
На аромати- |
Кето- |
Фтористо- |
Окисляющих (азотная, хлорноватистая, хромовая и др) |
Неокисляющих неорганических (серная, соляная и др.) |
Органических |
Кон-цент-раци, % |
Интен- |
|||||||||
|
Концент- % |
Ин- |
Концент- |
Ин- |
Концент- |
Ин- |
Концент- % |
Ин- |
||||||||||
|
1. |
Плиты природного камня изверженных пород (гранита и т.д.) по прослойке из цементно-песчаного раствора |
большая |
большая |
средняя |
большая |
средняя |
большая |
не допускается |
8 |
средняя |
|||||||
|
2. |
Плиты из керамогранита |
В зависимости от типа прослойки и материала расшивки швов |
|||||||||||||||
|
3. |
Керамические плитки |
||||||||||||||||
|
4. |
Керамические кислотоупорные плитки |
||||||||||||||||
|
5. |
Кислотоупорный кирпич плашмя |
||||||||||||||||
|
6. |
То же на ребро |
||||||||||||||||
|
7. |
Штучный и наборный паркет |
Не допускается
|
|||||||||||||||
|
8. |
Паркетные доски |
||||||||||||||||
|
9. |
Линолеум (в том числе антистатический) |
||||||||||||||||
|
10 |
Плитки поливинилхлоридные |
||||||||||||||||
|
11 |
Плиты резиновые |
большая |
малая |
малая |
средняя |
средняя |
большая |
не допускается |
20 |
Сред- няя |
8 |
Сред- няя |
|||||
|
12 |
Рулонное на основе химических волокон |
Не допускается |
|||||||||||||||
|
13 |
Ламинат |
|
|||||||||||||||
|
№ |
Покрытие |
Характеристика покрытия пола по специальным требованиями |
||||||||||
|
Беспыльность (пылеотделение) |
электропроводность в сухом состоянии4) |
способности накапливать на поверхности заряды статического электричества в сухом состоянии |
Безыскровость при ударных воздействиях |
Лёгкости очистки от производственных загрязнений |
||||||||
|
соответствие количественным показателям по классам беспыльности помещений в соответствии с ОСТ 11 14.3308-87 и стандартом СЭВ 3783-82 |
по визуальной оценке |
пылевидных |
жидкостных |
|||||||||
|
Кл. 1000 |
Кл. 10000 |
Кл.100000 |
||||||||||
|
1. |
Плиты природного камня изверженных пород (гранита и т.д.) по прослойке из цементно-песчаного раствора |
не соответствует |
малое |
электропроводное |
не накапливает |
искрящее |
легкоочищаемое |
среднеочищаемое |
||||
|
2. |
Плиты из керамогранита |
не соответствует |
беспыльное |
условно электропроводное1) |
не накапливает |
искрящее |
легкоочищаемое |
легкоочищаемое |
||||
|
3. |
Керамические плитки |
Не соответствует |
малое |
условно электропроводное 1) |
не накапливает |
искрящее |
легкоочищаемое |
среднеочищаемое |
||||
|
4 |
Керамические кислотоупорные плитки |
Не соответствует |
малое |
условно электропроводное |
не накапливает |
искрящее |
легкоочищаемое |
среднеочищаемое |
||||
|
5 |
Кислотоупорный кирпич плашмя |
Не соответствует |
малое |
условно электропроводное1) |
не накапливает |
искрящее |
легкоочищаемое |
среднеочищаемое |
||||
|
6 |
Кислотоупорный кирпич на ребро |
Не соответствует |
малое |
условно электропроводное 1) |
не накапливает |
искрящее |
легкоочищаемое |
среднеочищаемое |
||||
|
7 |
Штучный и наборный паркет |
Не соответствует |
малое |
Не электропроводное |
не накапливает |
безыскровое |
легкоочищаемое |
среднеочищаемое |
||||
|
8 |
Паркетные доски |
Не соответствует |
малое |
Не электропроводное |
не накапливает |
безыскровое |
легкоочищаемое |
среднеочищаемое |
||||
|
9 |
а). Линолеум
б). Линолеум антистатический |
Не соответствует |
Беспыльное |
Не электропроводное |
Не электропроводное |
накапливает |
безыскровое |
легкоочищаемое |
легкоочищаемое |
|||
|
Не соответствует |
беспыльное |
Не электропроводное (антистатическое) |
не накапливает |
безыскровое |
легкоочищаемое |
легкоочищаемое |
||||||
|
10 |
Плитки поливинилхлоридные |
Не соответствует |
беспыльное |
Не электропроводное |
Не электропроводное |
накапливает |
безыскровое |
легкоочищаемое |
легкоочищаемое |
|||
|
11. |
Плиты резиновые |
Не соответствует |
малое |
не электропроводное 2) (антистатическое) |
не накапливает5) |
безыскровое |
среднеочищаемое |
среднеочищаемое |
||||
|
12. |
Рулонное на основе химических волокон |
Не соответствует |
среднее |
не электропроводное |
накапливает |
безыскровое |
среднеочищаемое |
трудноочищаемое |
||||
|
13. |
Ламинат |
Не соответствует |
соответствует |
беспыльное |
не электропроводное |
накапливает |
безыскровое |
легкоочищаемое |
трудноочищаемое |
|||
1). Приобретает способность проводить электрический ток при увлажнении
2). Электропроводное - удельное поверхностное электросопротивление менее 104 Ом,
3) условно электропроводное - 106- 104 Ом,
4) антистатическое- 106 - 109 Ом
5) неэлектропроводное - более 109 Ом
В настоящем Альбоме использованы ссылки на следующие документы:
СНиП 2.03.13-88 «Полы».
СНиП 3.04.01-87 «Изоляционные и отделочные покрытия».
СНиП 23-02-2003 «Тепловая защита зданий».
СНиП 21-01-97* «Пожарная безопасность зданий и сооружений».
СНиП 23-03-2003 «Защита от шума. Нормы проектирования».
СНиП 2.03.11-85 «Защита от коррозии. Нормы проектирования».
СНиП 3.02.01-87 «Земляные сооружения, основания и фундаменты».
СНиП 31-05-2003 «Общественные здания административного назначения».
СНиП 2.01.07-85* «Нагрузки и воздействия» с изм. № 2
НПБ 105-95 «Определение категорий помещений и зданий по взрыво-пожарнои и пожарной безопасности».
Приказ № 320 МЧС РФ от 8 июля 2002 г. «Об утверждении перечня продукции, подлежащей обязательной сертификации в области пожарной безопасности»
Покрытие - верхний слой пола, непосредственно подвергающийся эксплуатационным воздействиям. Прослойка - промежуточный слой пола, связывающий покрытие с нижележащим слоем пола или служащий для покрытия упругой постелью.
Гидроизоляционный слой - слой, препятствующий прониканию через пол сточных вод и других жидкостей, а также прониканию в пол грунтовых вод.
Стяжка (основание под покрытие) - слой пола, служащий для выравнивания поверхности нижележащего слоя пола или перекрытия, придания покрытию пола заданного уклона, укрытия различных трубопроводов, распределения нагрузок по нежестким нижележащим слоям пола на перекрытии.
Подстилающий слой - слой пола, распределяющий нагрузки на грунт.
Теплоизоляционный слой - элемент пола, уменьшающий общую теплопроводность пола.
Звукоизоляционный слой - элемент пола, повышающий звукоизолирующую способность пола.
Грунтовое основание - слой грунта, по которому устраивается подстилающий слой или опоры под лаги.
Деформационный шов - разрыв в подстилающем слое, стяжке или покрытии, обеспечивающий относительное смещение их разрозненных участков.
Пароизоляционный слой - элемент пола, расположенный под слоем тепло-звукоизоляции или стяжкой, препятствующий прониканию в них водяных паров из ниже расположенного помещения через перекрытие.
Экологичность пола - свойство всех элементов конструкции пола не выделять при эксплуатации вредных веществ и соответствовать стандартам экологии.
Теплоусвоение пола - свойство поверхности покрытия пола в большей или меньшей степени воспринимать тепло при периодических колебаниях теплового потока или температуры воздуха.
Безыскровость пола - отсутствие искрообразования на покрытии пола при ударах или волочении по нему металлических или каменных предметов, а также при разрядах статического электричества.
Антистатичность пола - отсутствие скопления на покрытии пола статического электричества.
малая - незначительное воздействие жидкости на пол, при котором поверхность покрытия пола сухая или слегка влажная; покрытие пола жидкостями не пропитывается;
средняя - периодическое увлажнение пола, при котором поверхность покрытия пола влажная или мокрая; покрытие пола пропитывается жидкостями;
большая - постоянное или часто повторяющееся воздействие жидкостей на покрытие пола.
Беспыльность пола - полное отсутствие отделения продуктов износа покрытия пола, образующихся при изнашивающих воздействиях от движения пешеходов и транспорта.
Звукоизолирующая способность пола - ослабление шума при его проникновении через пол на перекрытии.
Интенсивность механических воздействий на пол: весьма значительная, значительная, умеренная, слабая (табл.1).
Таблица 1
|
Механические воздействия |
Интенсивность механических воздействий |
||||
|
весьма значительная |
значительная |
умеренная |
Слабая |
||
|
Движение пешеходов на 1 м ширины прохода, число людей в сутки |
- |
- |
500 и более |
Менее 500 |
|
|
Движение транспорта на гусеничном ходу на одну полосу движения, ед./сут. |
10 и более |
Менее 10 |
- |
- |
|
|
Движение транспорта на резиновом ходу на одну полосу движения, ед./сут. |
Более 200 |
100-200 |
Менее 100 |
Движение ручных тележек |
|
|
Движение тележек на металлических шинах, перекатывание круглых металлических предметов на одну полосу движения, ед./сут. - |
Более 50 |
30-50 |
Менее 30 |
- |
|
|
Удары при падении с высоты 1 м твердых предметов массой, кг не более |
20 |
10 |
5 |
2 |
|
|
Волочение твердых предметов с острыми углами и ребрами |
Соответствует |
Соответствует |
- |
- |
|
|
Работа острым инструментом на полу (лопатами и др.) |
Соответствует |
Соответствует |
- |
- |
|

по результатам испытаний материалов немецкой фирмы UZIN
В секторе полов испытательной лаборатории ОАО «ЦНИИПромзданий» (аттестат аккредитации № ГОСТ РОСС RU. 9001.21 СЛ 13 от 24.06.02) в январе-феврале 2004 года были проведены испытания прочностных характеристик материалов, выпускаемых немецкой фирмы UZIN. Были исследованы саморазравнивающиеся композиции марок Uzin NC-145, Uzin NC-160 и Uzin NC-174, клеи для приклеивания паркета марок Uzin MK-73, Uzin MK-77, Uzin MK-80 и Uzin MK-80S, клей для линолеума без подосновы марки Uzin KE-2008, клей для ковровых покрытий и линолеума с тепло-звукоизолирующей подосновой марки Uzin UZ-75, клей для керамической плитки марки Uzin Power Base и эпоксидный клей для керамической кислотоупорной плитки марки Uzin Epoxiflex Plus.
Анализ результатов испытаний, проведённых в соответствии с ГОСТ 23789-79, ГОСТ 310.4-81* и ГОСТ 28574-90 и представленных в таблицах 1 и 2, позволяют сделать следующие заключения:
1. Саморазравнивающиеся композиции по прочностным характеристикам значительно превосходят как рекомендуемые СНиП 2.03.13-88 «Полы» для изготовления монолитных стяжек цементно-песчаный раствор марки M150 и бетон класса по прочности на сжатие В15 (прочность на сжатие композиций составляет 15 МПа), так и рекомендуемые данным нормативным документом гипсовые саморазравнивающиеся стяжки с пределом прочности при сжатии не менее 10 МПа. По растекаемости саморазравнивающихся композиций соответствуют, а для композиции марки Uzin NC-145 и превосходят требования, содержащиеся в технической литературе - согласно Справочнику строителя «Устройство полов» - М., «Строииздат», 1986 г. растекаемость по вискозиметру Суттарда, обеспечивающая самовыравнивание саморазравнивающихся стяжек, должна составлять 280 - 300 мм.
2. Предел прочности клеевого соединения паркета с нижележащими слоями на равномерный отрыв при использовании клеев, выпускаемой фирмой UZPN, соответствует, а при сравнении с рядом клеевых композиций и превосходит величину данного параметра у рекомендованных «Справочником строителя под редакцией А.Д. Кокина - М., «Стройиздат, 1987 г.» для приклеивания паркета клеёв. В частности, прочность клеевого соединения на равномерный отрыв у клеящей мастики «Перминид» (ТУ 400-1-136-78) должна быть не менее 0,2 МПа у клея первой категории качества и не менее 0,4 МПа у клея высшей категории качества, у битумно-скипидарной мастики «Биски» (ТУ 400-2-85-76) величина данного параметра должна составлять не менее 0,2 МПа, а у битумно-синтетического клея (ТУ 400-2-262-77) не менее 0,1 МПа.
3. Предел прочности клеевого соединения линолеума без теплозвукоизолирующей подосновы с нижележащими слоями на равномерный отрыв при использовании клея марки Uzin KE-2008, выпускаемого фирмой UZIN, соответствует величине данного параметра у рекомендованных «Справочником строителя под редакцией А.Д. Кокина - М., «Строииздат, 1987 г.» для приклейки данного рулонного материала клеёв. В частности, прочность клеевого соединения на равномерный отрыв у дисперсионного клея марки АДМ-К (ТУ 400-1-177-79) не менее 0,15 МПа у клея первой категории качества и не менее 0,25 МПа для клея со знаком качества, а у кумароно-каучуковых мастик марки КН-2 и КН-3 (ГОСТ 24064-80) и у битумно-скипидарной мастики «Биски» (ТУ 400-2-85-76) величина данного параметра должна быть не менее 0,1 МПа
4. Сравнение эффективности применения выпускаемого фирмой UZIN клея марки Uzin UZ-75 для приклейки ковровых покрытий и линолеума на теплозвукоизолирующей подоснове с наиболее часто применяемым для данных типов рулонного покрытий клеем марки «Бустилат» (ТУ 400-2-50-75), обеспечивающего прочность сцепления не менее 0,1 МПа, показывает многократное (не менее 3 раз) увеличение прочностных характеристик.
5. Сцепление плиточного клея марки Uzin Power Base с керамической плиткой значительно выше. чем величина данного параметра у рекомендуемого СНиП 2.03.13-88 «Полы» в качестве материала прослойки цементно-песчаного раствора марки МЗОО - неоднократные испытания в секторе полов показали, что сцепление цементно-песчаного раствора с керамической плиткой не превышает 0,1 МПа.
6. Характер отрыва керамической кислотоупорной плитки, приклеенной к бетонному основанию эпоксидным клеем марки Uzin Epoxiflex Plus, соответствует характеру отрыва штучных материалов, применяемых в антикоррозионных облицовках из штучных материалов на полимерзамазках - величина сцепления должна превышать предел прочности бетонного основания при растяжении -см. Справочнике строителя «Защита строительных конструкций и технологического оборудования от коррозии» - М. 1981 г.
|
Марка саморазравнивающейся композиции |
Растекаемость по вискозиметру Суттарда, мм |
Предел прочности при сжатии после 28 суток воздушной выдержки, Мпа |
|
UzinNC-145 |
322 |
23,5 |
|
Uzin NC-160 |
283 |
36,3 |
|
Uzin NC-174 |
272 |
37,8 |
|
Материал покрытия пола |
Марка клея |
Материал нижележащего слоя |
Предел прочности клеевого соединения на равномерный отрыв, МПа |
|
Штучный паркет |
Uzin MK-73 |
Саморазравнивающаяся стяжка марки Uzin NC-145 |
0,361 |
|
Штучный паркет |
Uzin MK-77 |
Цементно-песчаный раствор марки Ml50 |
0,381 |
|
Штучный паркет |
Uzin MK-80 |
Гипсоволокнистый лист |
0,413 |
|
Штучный паркет |
Uzin MK-80S |
Фанера |
0,394 |
|
Линолеум без подосновы |
Uzin KE-2008 |
Саморазравнивающаяся стяжка марки Uzin NC-174 |
0,172 |
|
Линолеум с тепло-звукоизолирующей подосновой |
Uzin UZ-75 |
Цементно-песчаный раствор марки M150 |
0,325 |
|
Ковролин |
Uzin UZ-75 |
Гипсоволокнистый лист |
0,393 |
|
Керамическая плитка |
Uzin Power Base |
Цементно-песчаный раствор марки M150 |
0,231 |
|
Керамическая кислотоупорная плитка |
Uzin Epoxiflex Plus |
Бетон класса по прочности на сжатие В15 |
2,925 |
Примечание: - разрыв адгезионный (клей- стяжка)
2 - разрыв адгезионный (клей - линолеум)
3 - разрыв когезионный (по плите ГВП)
4 - разрыв адгизионно-когезионный (частично по слою клей- фанера, частично по клею)
5 - разрыв когезионный (по бетонному основанию)
Зав. сектором полов, к.т.н. Чекулаев А.П.
|
_________________________________________________________ |