НАУЧНО-ПРОИЗВОДСТВЕННОЕ ОБЪЕДИНЕНИЕ
«ПЛАСТИК» (НПО «ПЛАСТИК») МИНХИМПРОМА
Пособие
по проектированию
технологических
трубопроводов
из пластмассовых труб
(к СН 550-82)
Утверждено приказом
НПО «Пластик»
от 12 июля 1983 г. № 321
![]()
МОСКВА СТРОЙИЗДАТ 1984
Пособие по проектированию технологических трубопроводов из пластмассовых труб / НПО «Пластик» - М.: Стройиздат, 1984.
Разработано в дополнение к «Инструкции по проектированию технологических трубопроводов из пластмассовых труб» (СН 550-82) на основе обобщения отечественного и зарубежного опыта.
Содержит данные по свойствам пластмассовых труб, графики для определения расчетных характеристик материала труб, рекомендации по выбору типов труб, способов соединений, конструированию и расчету трубопроводов. Приведены размеры труб, соединительных деталей и примеры расчета.
Для инженерно-технических работников проектных организаций.
Табл. 42, ил. 41.
Разработано НПО «Пластик» Минхимпрома (кандидаты техн. - наук С.В. Ехлаков, Ю.С. Давыдов, инженеры Г.И. Шапиро, Е.С. Гольянова); ВНИИТеплопроект Минмонтажспецстроя СССР (разд. 7), ВНИИТБХП Минхимпрома (разд. 8).
1.1. Настоящее Пособие разработано в дополнение к «Инструкции по проектированию технологических трубопроводов из пластмассовых труб» и распространяется на проектирование технологических трубопроводов из пластмассовых труб наружным диаметром до 1200 мм из полиэтилена низкого давления (ПНД), полиэтилена высокого давления (ПВД), полипропилена (ПП) и непластифицированного поливинилхлорида (ПВХ).
1.2. Способ прокладки технологических трубопроводов приведен в табл. 1.
Таблица 1
|
Транспортируемое вещество |
Категория трубопровода |
Способ прокладки трубопроводов |
||||||||
|
Вне зданий |
В помещениях с производствами, относящимися по пожарной опасности к категории |
|||||||||
|
наземно и надземно |
подземно |
А |
Б |
В |
Г |
Д |
Е |
|||
|
А |
Вредные, к которым материал труб химически стоек: |
II |
|
|
|
|
|
|
|
|
|
класса опасности 2 |
|
? |
? |
- |
- |
- |
? |
? |
- |
|
|
класса опасности 2 (соляная и серная кислоты, едкие щелочи) |
|
+ |
+ |
? |
? |
? |
+ |
+ |
? |
|
|
класса опасности 3 |
|
+ |
+ |
? |
? |
? |
+ |
+ |
? |
|
|
Б |
Легковоспламеняющие жидкости (ЛВЖ) |
III |
? |
? |
- |
- |
- |
? |
? |
- |
|
Горючие газы (ГГ), горючие вещества (ГВ), горючие жидкости (ГЖ), к которым материал труб химически стоек |
|
? |
+ |
- |
- |
- |
? |
? |
- |
|
|
В |
Трудоногорючие (ТГ) и негорючие (НГ): |
|
|
|
|
|
|
|
|
|
|
к которым материал труб химически относительно стоек |
IV |
+ |
+ |
? |
? |
+, - |
+ |
+ |
? |
|
|
к которым материал труб химически стоек |
V |
+ |
+ |
? |
? |
+, - |
+ |
+ |
? |
|
|
Примечание. Знак «+» означает, что применение труб допускается, знак «-» - недопустимость применения труб, знак «?» - допустимость применения труб решает проектная организация по согласованию с соответствующими органами Государственного надзора. |
||||||||||
Допускается прокладывать трубопроводы из поливинилхлоридных труб диаметром до 110 мм и полиэтиленовых труб, имеющих изоляцию из несгораемых материалов, для транспортирования ТГ и НГ, в помещениях с производствами, относящимися по пожарной опасности к категориям В, за исключением складских помещений и транзитной прокладки трубопроводов.
Вредные вещества класса опасности 4 следует относить: пожароопасные - к группе Б и негорючие - к группе В.
1.3. Трубопроводы из пластмассовых труб не допускается применять для транспортирования вредных веществ 1 класса опасности, взрывоопасных веществ (ВВ) и сжиженных углеводородных газов (СУГ), а также веществ, к которым материал труб химически нестоек.
1.4. Применение пластмассовых трубопроводов в зависимости от материала труб и температур наружного воздуха (наиболее холодной пятидневки) и транспортируемого вещества приведено в табл. 2.
Таблица 2
|
Допустимая температура, °С |
|||||
|
транспортируемого вещества |
наружного воздуха (наиболее холодной пятидневки) |
||||
|
максимальная для категории трубопроводов |
минимальная |
||||
|
II и III |
IV |
V |
|||
|
ПНД и ПВД |
40 |
40 |
60 |
-30 |
-40 |
|
ПП |
60 |
60 |
100 |
0 |
-10 |
|
пвх |
60 |
40 |
60 |
0 |
-10 |
2.1. Материал труб и соединительных деталей для пластмассовых трубопроводов и уплотнительных элементов к ним рекомендуется принимать на основании данных по химической стойкости, приведенных в прил. 1.
При этом следует учитывать, что: полиэтилен стоек к водным растворам кислот, щелочей и солей и к значительному числу органических моющих средств, не стоек к концентрированным кислотам - окислителям; полипропилен имеет такую же химическую стойкость, как полиэтилен, но применим при более высоких температурах; ПВХ стоек к большинству кислот, щелочей, растворов солей, а также к органическим растворителям в смеси с водой, не стоек к ароматическим и хлорированным углеводородам; фторопласт стоек практически ко всем веществам; натуральный каучук не стоек к маслам; синтетический бутадиен-нитрильный каучук имеет хорошую стойкость к маслам и бензину, не стоек к окисляющим веществам; бутилкаучук и этилен-пропиленовый каучук имеют хорошую атмосферостойкость, особенно пригодны для агрессивных веществ, не стойки к маслам и жирам; наириты по химической стойкости приближаются к ПВХ и их стойкость находится в интервале стойкости бутадиен-нитрильного каучука и бутилкаучука; синтетический фторсодержащий каучук по химической стойкости превосходит остальные резины.
2.2. Физико-механические свойства термопластов, используемых для изготовления напорных труб и соединительных деталей, приведены в табл. 3.
2.3 Основным видом нагрузки для пластмассовых труб является внутреннее гидростатическое давление. При этом толщину стенки труб следует определять по формуле
где d - наружный диаметр трубы;
p - рабочее давление в трубопроводе, МПа;
R - расчетное сопротивление материала труб, МПа.
Таблица 3
|
Метод определения |
Термопласты |
||||
|
пвх |
пвд |
пнд |
пп |
||
|
Плотность, г/см3 |
ГОСТ 15139-69 |
1,38 - 1,4 |
0,920 - 0,923 |
0,949 - 0,953 |
0,90 - 0,91 |
|
Показатели текучести расплава, г/10 мин |
ГОСТ 11645-73 |
- |
0,3 |
0,3 - 0,6 |
0,2 - 0,4 |
|
Предел текучести при растяжении, МПа |
ГОСТ 11262-76 |
> 50,0 |
> 9,5 |
> 20,0 |
> 26,0 |
|
Относительное удлинение при разрыве, % |
> 25 |
> 210 |
> 200 |
> 200 |
|
|
Модуль упругости при изгибе, МПа |
ГОСТ 9550-81 |
2500 - 3000 |
110 - 160 |
680 - 750 |
670 - 1190 |
|
Коэффициент Пуассона |
- |
0,35 - 0,38 |
0,44 - 0,46 |
0,42 - 0,44 |
0,4 - 0,42 |
|
Твердость по Бриннелю, Н/мм2 |
ГОСТ 4670-77 |
100 - 160 |
14 - 25 |
45 - 54 |
60 - 85 |
|
Температура плавления, °С |
Поляризационный микроскоп |
- |
105 - 108 |
120 - 125 |
160 - 170 |
|
Температура размягчения по Вика, °С |
ГОСТ 15065-69 |
80 |
65 |
30 |
100 |
|
Средний коэффициент линейного теплового расширения, 1/°С |
8×10-5 |
2,2×10-4 |
2,2×10-4 |
1,5×10-4 |
|
|
Теплопроводность (коэффициент теплопроводности), Вт/м×°С (ккал/м×ч×°С) |
- |
0,17 (0,15) |
0,35 (0,3) |
0,42 (0,36) |
0,23 (0,2) |
|
Удельная теплоемкость, кДж/кг×°С (ккал/кг×°С) |
- |
2,1 (0,5) |
2,5 (0,6) |
2,5 (0,6) |
2,1 (0,5) |
|
Диэлектрическая проницаемость при 106 Гц |
ГОСТ 6433.3-71 |
3,1 - 3,4 |
2,2 - 2,3 |
2,2 - 2,4 |
2,2 |
|
Электрическая прочность (толщина образца 1 мм), кВ/мм |
ГОСТ 6433.3-71 |
26 - 60 |
45 - 60 |
40 - 60 |
28 - 40 |
|
Удельное поверхностное сопротивление, Ом×м |
ГОСТ 6433.2-71 |
6,6×1014 |
5×1013 |
1,2×1014 |
4×1013 |
|
Удельное объемное электрическое сопротивление, Ом×м |
ГОСТ 6433.2-71 |
4,5×1015 |
7,8×1014 |
8,2×1014 |
1×1016 |
2.4. Расчетное сопротивление материала труб надлежит определять по формуле
где Rн - нормативное длительное сопротивление разрушению материала труб, МПа;
Ky - коэффициент условий работы трубопровода;
Kc - коэффициент прочности соединения труб;
Kx - коэффициент химической стойкости материала труб.
2.5. Нормативное длительное сопротивление разрушению материала труб из ПНД, ПВД, ПП и ПВХ в зависимости от температуры и срока службы трубопровода следует принимать по графикам, приведенным на рис. 1.

Рис. 1. Зависимость нормативного длительного сопротивления разрушению Rн материала труб от температуры и срока службы трубопровода для труб:
а - из ПНД; б - из ПВД; в - из ПП; г - из ПВХ
Для труб из ПНД и ПП необходимо учитывать, что с повышением температуры срок службы трубопровода сокращается.
2.6. Напорные трубы из термопластов и соединительные детали к ним подразделяются на типы в зависимости от величины номинального давления (табл. 4). За номинальное давление труб из термопластов принимается максимальное рабочее давление при транспортировании по ним воды с температурой 20 °С и расчетном сроке службы 50 лет для труб из ПВХ, ПНД, ПВД и 10 лет - для труб из ПП.
Таблица 4
|
Величина номинального давления, труб, МПа |
Тип труб |
Величина номинального давления, труб, МПа |
|
|
Облегченный (О) |
0,1 |
Средний (С) |
0,6 |
|
Легкий (Л) |
0,25 |
Тяжелый (Т) |
1 |
|
Среднелегкий (СЛ) |
0,4 |
Особотяжелый (ОТ) |
1,6 |
2.7. Для труб из ПНД, ПВД, ПП и ПВХ при транспортировании по ним воды с различной температурой и при разном сроке службы трубопровода рабочее давление Pраб в последнем следует принимать по рис. 2 - 5.
При транспортировании воды (или других веществ) с температурой ниже 20 °С рабочее давление следует принимать такое же, как при температуре 20 °С.
2.8. Для трубопроводов II, III и IV категорий величины Rн, Pраб, определенные по графикам на рис. 1 - 5, необходимо снижать путем умножения на коэффициент условий работы Kу (табл. 5), учитывающий опасность транспортируемого по трубопроводу вещества.

Рис. 2. Зависимость рабочего давления Pраб от температуры и срока службы трубопровода для труб из ПНД: а - типов Т (-) и СЛ (- - -) и б - типов С (-) и Л (- - -)

Рис. 3. Зависимость рабочего давления Pраб от температуры и срока службы трубопровода для труб из ПВД: а - типов Т (-) и СЛ (- - -) и б - типов С (-) и Л (- - -)
Рис. 4. Зависимость рабочего давления Pраб от температуры и срока службы трубопровода для труб из ПП типов Т (-), С (- - -) и Л (-×-×-)
Рис. 5. Зависимость рабочего давления Pраб от температуры и срока службы трубопровода для труб из ПВХ типов ОТ (-), Т (- - -), С (-×-×-) и СЛ (-)
2.9. Для трубопроводов следует применять соединения и соединительные детали, равнопрочные основному материалу труб.
При использовании соединений и соединительных деталей, не равнопрочных основному материалу труб, величины Rн и Pраб, определенные по графикам на рис. 1 - 5, следует снижать путем умножения на коэффициент прочности соединений Kс, принимаемый по табл. 6.
2.10. Химическая стойкость материала труб и соединительных деталей характеризуется коэффициентом химической стойкости Kх, который определяется как отношение химической стойкости материала к данному веществу к химической стойкости материала к воде.
При этом принимается, что материал химически стоек, если Kх = 0,5 - 1, химически относительно стоек, если Kх = 0,1 - 0,5 и химически нестоек, если Kх < 0,1.
Таблица 5
|
Группа |
Температура, °С |
Коэффициент условий работы Kу для труб из |
|||||||||||||
|
ПНД или ПВД |
ПВХ |
ПП |
|||||||||||||
|
Типы труб |
|||||||||||||||
|
Л |
СЛ |
С |
Т |
СЛ |
С |
Т |
ОТ |
Л |
С |
Т |
|||||
|
II и III |
А и Б |
20 |
0,4 |
0,4 |
0,4 |
0,6 |
0,6 |
0,6 |
0,6 |
0,6 |
0,4 |
0,4 |
0,6 |
||
|
30 |
0,4 |
0,4 |
0,4 |
0,6 |
0,6 |
0,6 |
0,6 |
0,6 |
0,4 |
0,4 |
0,6 |
||||
|
40 |
- |
- |
0,4 |
0,5 |
- |
0,4 |
0,4 |
0,4 |
0,3 |
0,3 |
0,45 |
||||
|
50 |
- |
- |
- |
- |
- |
- |
0,4 |
0,4 |
- |
0,25 |
0,4 |
||||
|
60 |
- |
- |
- |
- |
- |
- |
- |
0,4 |
- |
0,2 |
0,3 |
||||
|
IV |
В |
20 |
0,4 |
0,4 |
0,4 |
0,6 |
0,4 |
0,4 |
0,4 |
0,6 |
0,3 |
0,3 |
0,35 |
||
|
30 |
0,4 |
0,4 |
0,4 |
0,6 |
0,4 |
0,4 |
0,4 |
0,6 |
0,3 |
0,3 |
0,35 |
||||
|
40 |
- |
- |
0,4 |
0,5 |
- |
- |
0,2 |
0,4 |
0,2 |
0,2 |
0,25 |
||||
|
50 |
- |
- |
- |
- |
- |
- |
- |
- |
- |
0,2 |
0,2 |
||||
|
60 |
- |
- |
- |
- |
- |
- |
- |
- |
- |
0,15 |
0,15 |
||||
Таблица 6
|
Коэффициент прочности соединений Kс для труб из |
|||
|
ПНД, ПВД |
ПП |
ПВХ |
|
|
Контактная сварка встык: |
|
|
|
|
для соединения труб и соединительных деталей |
0,9 - 1,0 |
0,9 - 1,0 |
- |
|
для изготовления тройников равнопроходных прямых и сегментных отводов |
0,6 - 0,7 |
0,6 - 0,7 |
- |
|
для изготовления тройников равнопроходных косых и разнопроходных прямых |
0,3 - 0,4 |
0,3 - 0,4 |
- |
|
Контактная сварка враструб для соединения труб и соединительных деталей |
0,95 - 1,0 |
0,95 - 1,0 |
- |
|
Склейка враструб для соединения труб и соединительных деталей |
- |
- |
0,9 - 1,0 |
|
Экструзионная сварка (при V-образной разделке кромок): |
- |
- |
- |
|
соединения труб |
0,6 |
0,55 |
- |
|
для изготовления тройников и сегментных отводов |
0,3 - 0,4 |
0,3 - 0,4 |
- |
|
Газовая прутковая сварка (при V-образной разделке кромок): |
|
|
|
|
для соединения труб |
0,35 |
0,35 |
0,4 |
|
для изготовления тройников и сегментных отводов |
0,15 - 0,2 |
0,15 - 0,2 |
0,2 - 0,25 |
|
На свободных фланцах, устанавливаемых: |
|
|
|
|
при приваренных (приклеенных) к трубам втулкам под фланец |
0,9 - 1,0 |
0,9 - 1,0 |
0,9 - 1,0 |
|
на трубах с формованными утолщенными буртами |
0,8 - 0,9 |
0,8 - 0,9 |
- |
|
на трубах с отбортовкой |
0,5 - 0,7 |
0,5 - 0,7 |
0,5 - 0,7 |
Таблица 7
|
Концентрация, % |
Температура, °С |
Напряжение, МПа |
Коэффициент химической стойкости труб 1 из ПНД |
||
|
по времени Kх.в |
по напряжению Kх.н |
||||
|
Азотная кислота |
53 |
80 |
4 - 2 |
0,01 |
0,3 |
|
|
40 |
5 |
0,005 |
0,5 |
|
|
65 |
80 |
4 - 2 |
0,01 |
0,3 |
|
|
Бензин |
100 |
80 |
4 |
0,08 |
0,68 |
|
100 |
60 |
2 |
0,7 |
0,94 |
|
|
|
|
4 |
0,03 |
0,63 |
|
|
|
|
2 |
0,55 |
0,93 |
|
|
Бензол |
100 |
80 |
4 |
0,06 |
0,75 |
|
|
|
2 |
> 1 (2,2) |
1 |
|
|
100 |
60 |
4,5 |
0,07 |
0,73 |
|
|
|
|
2,5 |
> 1 (1,4) |
1 |
|
|
Вода |
100 |
80 |
4 - 2 |
1 |
1 |
|
Вода со смачивающими средствами |
2 |
80 |
4 - 2 |
0,24 |
0,6 |
|
Воздух |
100 |
80 |
4 - 2 |
> 1 (10) |
1 |
|
Газ природный, состоящий в основном из метана |
100 |
80 |
4 - 2 |
> 1 (5) |
1 |
|
Гексанол |
100 |
80 |
4 3 |
0,4 > 1 (5) |
0,9 1 |
|
Декан |
100 |
80 |
4 |
0,1 |
0,72 |
|
Диметилсульфит |
100 |
80 |
4 - 2 |
0,6 |
0,87 |
|
Дихлорэтилен |
100 |
60 |
5 - 3 |
0,003 |
- |
|
Диэтилсульфат |
100 |
80 |
4 2 |
0,2 0,03 |
0,42 0,16 |
|
Кислород |
100 |
80 |
4 - 2 |
1 |
1 |
|
Конденсат газовый (смесь ароматических и алифатических веществ) |
100 |
80 |
4 2 |
0,2 > 1 (1,5) |
0,78 1 |
|
100 |
20 |
6 5 |
Долговечный 4500 ч » 300000 ч |
||
|
Масло трансформаторное |
100 |
80 |
4 2 |
0,24 1 |
0,78 1 |
|
100 |
60 |
4,5 3 |
0,3 1 |
0,84 1 |
|
|
Медного электролита раствор |
20/5 |
80 |
4 - 2 |
> 1 (6) |
1 |
|
Метанол |
100 |
60 |
5 - 3 |
1 |
1 |
|
Метиленхлорид |
100 |
80 |
4 2 |
0,05 0,8 |
0,67 0,95 |
|
100 |
60 |
4,5 2,5 |
0,04 0,3 |
0,65 0,85 |
|
|
Метиловый эфир ацетоуксусной кислоты |
100 |
80 |
4 - 2 |
0,55 |
0,85 |
|
Моющие вещества |
Различная |
80 |
4 - 3 |
0,1 - 1 |
0,6 - 1 |
|
Натр едкий |
50 |
80 |
4 - 2 |
> 1 (15) |
1 |
|
Натрия гипохлорид, содержащий 12 % хлора |
- |
80 |
4 2 |
0,02 0,07 |
0,5 0,62 |
|
- |
40 |
5 |
0,035 |
0,25 |
|
|
Нефть нефракционированная (смесь ароматических и алифатических веществ) |
100 |
60 |
5 3 |
0,08 0,7 |
0,7 0,95 |
|
100 |
20 |
4,5 |
Долговечны - 23 г. |
||
|
|
|
2,8 |
То же |
||
|
Октанол |
100 |
80 |
4 2 |
1 > 1 (10) |
1 1 |
|
100 |
60 |
4,5 3 |
0,2 > 1 (1,4) |
0,82 1 |
|
|
100 |
40 |
6 5 |
0,005 1 |
- 1 |
|
|
Поваренной соли раствор |
25 |
80 60 |
4 - 2 4,5 - 3 |
> 1 (10) > 1 (15) |
1 1 |
|
Полисульфид |
100 |
80 |
4 - 2 |
0,35 |
0,75 |
|
Серная кислота |
40 |
80 |
4 - 3 |
> 1 (40) |
1 |
|
78 |
80 60 |
4 - 1,5 4,5 - 2,5 |
> 1 (4) > 1 (1,5) |
1 1 |
|
|
85 |
80 |
3 1 |
> 1 (1,4) 0,05 |
- |
|
|
90 - 91 |
80 |
3 1 |
0,5 0,02 |
- |
|
|
95 - 97 |
80 |
3 1 |
0,25 0,007 |
- |
|
|
98 |
80 |
3 1 |
0,2 0,005 |
- |
|
|
98 |
60 |
4 2 |
0,3 0,04 |
- |
|
|
98 |
40 |
5 |
0,1 |
- |
|
|
Смесь, состоящая из воды 88,5 вес. ч, хлората натрия 10 вес. ч, гидроокиси натрия 1 вес. ч, анилина 0,25 вес. ч, монохлорбензола 0,25 вес. ч, и толуол-динамика 0,25 вес. ч. |
100 |
80 |
4 - 2 |
0,1 |
0,5 |
|
Смесь 1, 3, 5 триметилбензола и декаина |
1:1 |
80 |
4 2 |
0,02 0,7 |
0,65 0,95 |
|
Смесь хромовой и азотной кислот и воды |
100 |
40 |
5 - 3 |
0,0001 |
- |
|
Соляная кислота |
33 |
80 |
4 - 2 |
0,35 |
0,75 |
|
Сточная вода предприятий молочной промышленности |
100 |
80 |
4 - 2 |
0,32 |
0,73 |
|
Сточная вода предприятия химволокна |
100 |
80 |
4 - 2 |
0,3 |
0,75 |
|
Сточная вода целлюлозных предприятий |
100 |
80 |
4 - 2 |
0,85 |
0,95 |
|
Толуол |
100 |
80 |
4 |
0,016 |
0,65 |
|
100 |
|
2 |
0,8 |
0,95 |
|
|
Триацетилглицерин |
100 |
80 |
4 - 2 |
> 1 (2 - 8) |
1 |
|
100 |
80 |
4 2 |
0,05 0,45 |
0,65 0,9 |
|
|
1, 3, 5 триметилбензол |
100 |
80 |
4 2 |
0,08 0,85 |
0,7 0,95 |
|
Углерод четыреххлористый |
100 |
60 |
4,5 2 |
0,06 0,3 |
0,62 0,8 |
|
60 |
80 |
4-2 |
0,4 |
0,8 |
|
|
Уксусная кислота |
60 60 |
60 40 |
4,5 - 3 5 - 3,5 |
0,2 0,1 |
0,7 0,58 |
|
- |
80 |
4 - 2 |
0,14 |
- |
|
|
98 |
60 |
4 |
0,1 |
- |
|
|
|
|
2 |
0,02 |
- |
|
|
98 |
40 |
5 |
0,05 |
- |
|
|
|
|
3 |
0,02 |
- |
|
|
Формальдегид |
40 |
40 |
5 |
0,01 |
0,6 |
|
Фторхлоруглеводород |
100 |
80 60 |
4 - 2 4,5 - 2,5 |
0,1 0,25 |
0,55 0,7 |
|
Хлороформ |
100 |
60 |
4,5 2,5 |
0,02 0,04 |
0,44 0,52 |
|
Хлорная кислота |
10 10 |
80 60 |
4 - 2 4,5 - 2,5 |
0,25 0,15 |
0,7 0,62 |
|
10 |
40 |
5 - 3 |
0,07 |
0,53 |
|
|
20 |
80 |
4 |
0,25 |
0,58 |
|
|
20 |
40 |
5 3 |
0,07 0,03 |
0,36 0,25 |
|
|
Этиленгликоль |
100 |
80 |
4 - 2 |
> 1 (2,3) |
1 |
|
Этиленхлорид |
100 |
80 |
4 - 2 |
0,75 |
0,9 |
|
Этиловый эфир ацетоуксусной кислоты |
100 |
80 |
4 |
0,2 |
0,8 |
|
100 |
80 |
2 |
> 1 (7,5) |
1 |
|
|
1 При транспортировании веществ с меньшей температурой, чем указано в таблице, принимаются значения коэффициента химической стойкости те же, что для ближайшей по таблице большей температуры (100, 80, 60 или 40 °С). |
|||||
Таблица 8
|
Концентрация, % |
Температура, °С |
Напряжение, МПа |
Коэффициент химической стойкости труб 1 из ПП |
||
|
по времени Kх.в |
по напряжению Kх.н |
||||
|
Азотная кислота |
15 |
80 |
4 - 2 |
0,2 |
0,6 |
|
Анилин |
100 |
130 |
- |
0,01 |
- |
|
Монохлоруксусная кислота |
100 |
80 |
4 3 |
0,03 0,05 |
- |
|
Моноэтиламин |
100 |
100 |
3 - 2 |
1 |
1 |
|
Натр едкий |
30 |
80 |
- |
0,3 |
0,7 |
|
Натрия гипохлорид |
12 |
80 |
- |
0,01 |
- |
|
Никеля электролита раствор |
- |
80 |
4 |
0,03 |
- |
|
Серная кислота |
40 |
100 |
3 - 2 |
> 1 (1,6) |
1 |
|
85 |
80 |
3 - 1,5 |
0,2 |
0,6 |
|
|
90 |
80 |
- |
0,05 |
- |
|
|
98 |
20 |
- |
0,01 |
- |
|
|
Смесь азотной и плавиковой кислоты |
15:4 |
80 |
4 - 2 |
0,15 |
0,5 |
|
Соляная кислота |
20 |
100 |
- |
0,8 |
0,9 |
|
30 |
100 80 |
3 - 2 3 - 2 |
0,15 0,2 |
0,47 0,57 |
|
|
Триацетилглицерин |
100 |
100 |
3 |
0,07 |
- |
|
Триэтиленгликоль |
100 |
100 |
3 - 2 |
0,65 |
0,85 |
|
Уксусная кислота |
100 |
80 |
- |
0,1 |
- |
|
Фосфорная кислота |
75 |
80 |
4 - 2 |
0,4 |
0,7 |
|
Этиленхлорид |
100 |
80 |
7 |
0,05 |
- |
|
100 |
20 |
5 |
0,001 |
- |
|
|
1 См. сноску к табл. 7. |
|||||
Таблица 9
|
Температура, °С |
Концентрация, % |
Напряжение, МПа |
Время до разрушения, ч |
Коэффициент химической стойкости труб 1 из ПВД |
|
|
Азотная кислота |
80 |
5 |
2 1,3 |
2×103 2,5×103 |
- 0,2 |
|
80 |
30 |
2 |
80 |
- |
|
|
|
|
1,8 |
100 |
- |
|
|
|
|
1,3 |
150 |
0,01 |
|
|
|
|
0,8 |
150 |
0,005 |
|
|
Анилин |
80 |
- |
1,2 |
2×103 |
- |
|
Вода |
80 |
- |
1,8 |
104 |
1 |
|
|
|
1,5 |
1,5×104 |
1 |
|
|
|
|
0,7 |
3×104 |
1 |
|
|
Натрия гидроокись |
80 |
5 |
2 |
10 |
- |
|
|
|
1,3 |
70 |
0,007 |
|
|
80 |
30 |
1,3 |
5×103 |
0,3 |
|
|
|
|
0,7 |
5×103 |
- |
|
|
Серная кислота |
80 |
80 |
1,1 |
4×104 |
1 |
|
|
|
0,7 |
4×104 |
1 |
|
|
80 |
90 |
1,3 |
300 |
- |
|
|
|
|
0,7 |
3×103 |
0,1 |
|
|
80 |
98 |
1,5 |
30 |
- |
|
|
|
|
0,7 |
103 |
0,03 |
|
|
Смачивающее вещество |
80 |
- |
1,8 |
5 |
1 |
|
|
|
1,1 |
40 |
- |
|
|
|
|
0,7 |
2×103 |
- |
|
|
Соляная кислота |
80 |
20 |
1,3 |
2×104 |
1 |
|
Уксусная кислота |
80 |
40 |
1,8 |
103 |
- |
|
|
|
1,3 |
6×103 |
0,4 |
|
|
|
|
0,7 |
104 |
- |
|
|
80 |
99,5 |
1,3 |
2×103 |
0,1 |
|
|
Хромовая кислота |
80 |
60 |
1,3 |
2×103 |
0,1 |
|
|
|
0,7 |
2×103 |
0,1 |
|
|
Хромовая кислота |
80 |
30 |
1,3 0,7 |
2×103 2×103 |
0,1 0,1 |
|
1 См. сноску к табл. 7. |
|||||
Таблица 10
|
Температура, °С |
Концентрация, % |
Напряжение, МПа |
Время до разрушения, ч |
Коэффициент химической стойкости труб из ПВХ |
|
|
Азотная кислота |
60 |
5 |
8 |
103 |
- |
|
|
|
7 |
4×103 |
0,4 |
|
|
60 |
30 |
9 |
20 |
|
|
|
|
|
6 |
100 |
- |
|
|
Анилин |
60 |
- |
10 |
20 |
- |
|
60 |
- |
5 |
20 |
- |
|
|
60 |
- |
2 |
20 |
- |
|
|
60 |
- |
0,7 |
20 |
- |
|
|
Вода |
60 |
- |
7 |
> 104 |
1 |
|
Мазут |
60 |
- |
9 |
1 |
- |
|
|
- |
6 |
40 |
- |
|
|
Натрия гидроокись |
60 |
5 |
9 |
60 |
- |
|
60 |
30 |
7 |
2×103 |
0,2 |
|
|
60 |
- |
4 |
104 |
- |
|
|
60 |
- |
2 |
3×104 |
- |
|
|
Серная кислота |
60 |
80 |
10 |
30 |
- |
|
60 |
- |
8 |
6×103 |
0,6 |
|
|
60 |
90 |
7 |
3×103 |
0,2 |
|
|
60 |
- |
4 |
7×103 |
- |
|
|
60 |
- |
2 |
104 |
- |
|
|
60 |
98 |
7 |
1,5×103 |
0,15 |
|
|
60 |
- |
4 |
5×103 |
- |
|
|
60 |
- |
2 |
2×104 |
- |
|
|
Соляная кислота |
60 |
20 |
7 |
104 |
1 |
|
|
|
|
> 4×104 |
|
|
|
60 |
35 |
7 |
> 104 |
1 |
|
|
Уксусная кислота |
60 |
40 |
8 |
103 |
|
|
Хромовая кислота |
60 |
10 |
7 |
2×103 |
0,2 |
|
60 |
10 |
4 |
103 |
|
|
|
60 |
10 |
2 |
2×104 |
|
|
|
60 |
30 |
7 |
103 |
0,1 |
|
|
60 |
30 |
4 |
3×103 |
|
|
|
60 |
30 |
2 |
104 |
|
|
|
1 См. сноску к табл. 7. |
|||||
Рис. 6. Зависимость модуля ползучести материала трубы при растяжении E0 от срока службы трубопровода и величины напряжения в стенке трубы:
а - из ПНД; б - из ПВД; в - из ПП; г - из ПВХ
2.11. При определении химической стойкости к веществу, транспортируемому по трубопроводу, в первую очередь следует использовать данные по исследованию нагруженных образцов труб из ПНД, ПВД, ПП и ПВХ, приведенные в табл. 7 - 10.
При этом для ряда веществ определены раздельно коэффициенты химической стойкости по напряжению Kх.н и по времени Kх.в. В этом случае величины Rн и Pраб, определенные по графикам на рис. 1 - 5, следует умножать на коэффициент химической стойкости по напряжению, а при определении срока службы трубопровода, последний следует умножать на коэффициент химической стойкости по времени.
Если Kх.в больше 1, то величины Rн и Pраб принимают такими, как для воды, а срок службы трубопровода увеличивается.
При отсутствии веществ в табл. 7 - 10 можно использовать данные, приведенные в прил. 1. При этом величины Rн и Pраб, определенные по графикам на рис. 1 - 5, умножают на коэффициент химической стойкости, принятый в соответствии с п. 2.10 настоящего Пособия.
2.12. При воздействии на трубы внешнего гидростатического давления возможна потеря трубами формоустойчивости с переходом поперечного сечения от круга к эллипсу.
Наименьшее значение наружного критического давления Pл определяют по формуле
(3)
где E - модуль ползучести материала трубы;
μ - коэффициент Пуассона материала трубы, принимаемый по данным табл. 3.
Рис. 7. Зависимость коэффициента K0 от температуры
Рис. 8. Начальная эллипсность труб (а) и значения коэффициента, учитывающего изменение радиуса труб (б)
Рис. 9. Сравнение теоретических (сплошные линии) и экспериментальных (штриховые линии) кривых зависимости наружного критического давления для труб из ПНД от срока службы трубопровода и типа труб
2.13. Модуль ползучести материала трубы E, МПа, принимается с учетом его изменения при длительном действии нагрузки и температуры на трубопровод по формуле
где E0 - модуль ползучести материала трубы при растяжении, МПа, принимаемый для ПНД, ПВД, ПП и ПВХ по графикам, приведенным на рис. 6;
K0 - коэффициент, учитывающий влияние температуры на деформационные свойства материала труб, принимаемый по графику на рис. 7.
2.14. При использовании пластмассовых труб, имеющих в результате длительного хранения или свертывания в бухты начальную эллипсность, которая была определена замерами, величину допускаемого наружного давления следует снижать путем умножения на коэффициент Kэ, принимаемый по графику на рис. 8.
2.15. Величины допускаемого критического давления, определенные для труб из ПНД теоретически и экспериментально, показаны на рис. 9.
Устойчивость труб из ПНД к вакууму для срока службы трубопровода 50 лет и температуры 20 °С приведена на рис. 10.
Определенные по графикам на этих рисунках величины рекомендуется снижать путем давления на коэффициент запаса прочности для материала труб Kз.п = 1,3.
Для температуры 20 °С коэффициенты запаса прочности принимаются для труб из ПВД Kз.п = 1,6, ПП - Kз.п = 2,4 и ПВХ - Kз.п = 2.
Пример. Для трубы из ПНД наружным диаметром d = 110 мм и толщиной стенки δ = 6,3 мм по рис. 10 находим величину равномерно распределенного наружного избыточного давления 0,14 МПа. Эту величину снижаем, разделив на коэффициент запаса прочности Kз.п = 1,3. Отсюда 0,14/1,3 = 0,107 МПа.
Рис. 10. График прочности труб из ПНД при вакууме
3.1. Основным способом соединения труб из ПНД между собой и с соединительными деталями из ПНД является контактная стыковая сварка. Эту сварку надлежит выполнять в соответствии с ОСТ 6-19-505-79.
Для труб из ПНД по ГОСТ 18599-73 (табл. 11) наружным диаметром 63 мм и выше с толщиной стенки более 3 мм, а также для труб из ПНД по ТУ 6-19-214-83 (табл. 12) следует применять соединительные детали из ПНД, предназначенные для соединения с трубами контактной стыковой сваркой.
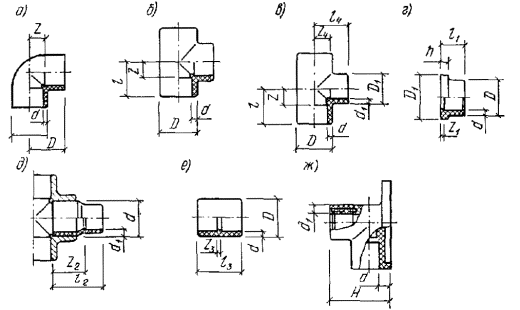
Основные размеры соединительных деталей из ПНД по ТУ 6-19-213-83 (рис. 11) приведены в табл. 13, а соединительных деталей из ПНД по ТУ 6-19-218-83 (рис. 12) - в табл. 14.
Рис. 11. Соединительные детали из ПНД, изготовляемые методами литья под давлением, прессованием и намоткой:
а - тройник; б - угольник; в - угольник 45°; г - втулка под фланец; д - переход
Рис. 12. Соединительные детали из ПНД, получаемые из отрезков труб:
а - отвод сварной 90°; б - отвод сварной 60°; в - отвод сварной 45°; г - отвод сварной 30°; д - тройник сварной; е - тройник сварной 60°; ж - тройник сварной неравнопроходный; з - отвод гнутый
Таблица 11
|
Трубы из ПНД по ГОСТ 18599-73 типа |
||||||||
|
Л |
СЛ |
С |
Т |
|||||
|
толщина стенки, мм |
масса 1 м, кг |
толщина стенки, мм |
масса 1 м, кг |
толщина стенки, мм |
масса 1 м, кг |
толщина стенки, мм |
масса 1 м, кг |
|
|
10 |
- |
- |
- |
- |
- |
- |
2,0 |
0,052 |
|
12 |
- |
- |
- |
- |
- |
- |
2,0 |
0,063 |
|
16 |
- |
- |
- |
- |
- |
- |
2,0 |
0,091 |
|
20 |
- |
- |
- |
- |
- |
- |
2,0 |
0,118 |
|
25 |
- |
- |
- |
- |
2,0 |
0,151 |
2,3 |
0,17 |
|
32 |
- |
- |
- |
- |
2,0 |
0,197 |
3,0 |
0,282 |
|
40 |
- |
- |
2,0 |
0,25 |
2,3 |
0,282 |
3,7 |
0,434 |
|
50 |
- |
- |
2,0 |
0,316 |
2,8 |
0,444 |
4,6 |
0,671 |
|
63 |
2,0 |
0,402 |
2,5 |
0,49 |
3,6* |
0,693 |
5,8* |
1,06 |
|
75 |
2,0 |
0,482 |
2,9 |
0,681 |
4,3* |
0,974 |
6,9* |
1,5 |
|
90 |
2,2 |
0,632 |
3,5 |
0,973 |
5,1 |
1,39 |
8,2 |
2,13 |
|
110 |
2,7 |
0,949 |
4,3* |
1,46 |
6,3* |
2,08 |
10,0* |
3,17 |
|
125 |
3,1 |
1,23 |
4,8 |
1,89 |
7,1 |
2,67 |
11,4 |
4,1 |
|
140 |
3,5 |
1,54 |
5,4 |
2,32 |
8,0 |
3,36 |
12,8 |
5,16 |
|
160 |
3,9* |
2,01 |
6,2* |
3,04 |
9,1* |
4,36 |
14,6* |
6,72 |
|
180 |
4,4 |
2,48 |
7,0 |
3,86 |
10,2 |
5,49 |
16,4 |
8,46 |
|
200 |
4,9 |
3,07 |
7,7 |
4,72 |
11,4 |
6,81 |
18,2 |
10,4 |
|
225 |
5,5* |
3,85 |
8,7* |
5,99 |
12,8* |
8,6 |
20,5* |
13,2 |
|
250 |
6,1 |
4,75 |
9,7 |
7,41 |
14,2 |
10,6 |
22,8 |
16,3 |
|
280 |
6,9 |
6,01 |
10,8 |
9,22 |
15,9 |
13,3 |
25,5 |
20,4 |
|
315 |
7,7* |
7,54 |
12,2* |
11,7 |
17,9* |
16,8 |
- |
- |
|
355 |
8,7 |
9,59 |
13,7 |
14,8 |
20,1 |
21,2 |
- |
- |
|
400 |
9,8* |
12,1 |
15,4* |
18,7 |
22,7* |
27,0 |
- |
- |
|
450 |
11,0 |
15,3 |
17,3 |
23,7 |
25,5 |
34,0 |
- |
- |
|
500 |
12,2* |
18,8 |
19,3* |
29,2 |
- |
- |
- |
- |
|
560 |
13,7 |
23,7 |
21,6 |
36,7 |
- |
- |
- |
- |
|
630 |
15,4* |
29,9" |
24,3* |
46,3 |
- |
- |
- |
- |
|
* К данным размерам труб разработаны соединительные детали из ПНД (по состоянию на 01.01.84 г.). |
||||||||
Таблица 12
|
Трубы из ПНД по ТУ 6-19-214-83 типа |
||||||||
|
Л |
сл |
с |
Т |
|||||
|
толщина стенки, мм |
масса 1 м, кг |
толщина стенки, мм |
масса 1 м, кг |
толщина стенки, мм |
масса 1 м, кг |
толщина стенки, мм |
масса 1 м, кг |
|
|
315 |
- |
- |
- |
- |
- |
- |
28,7 |
26,2 |
|
400 |
- |
- |
- |
- |
- |
- |
36,4 |
42,2 |
|
500 |
- |
- |
- |
- |
28,3 |
42,7 |
45,5 |
65,7 |
|
630 |
- |
- |
- |
- |
35,7 |
67,6 |
- |
- |
|
710 |
- |
- |
27,4 |
59,7 |
40,2 |
85,8 |
- |
- |
|
800 |
- |
- |
30,8 |
75,5 |
45,3 |
108 |
- |
- |
|
900 |
22,0 |
61,6 |
34,7 |
95,7 |
- |
- |
- |
- |
|
1000 |
24,4 |
76,1 |
38,5 |
118,0 |
- |
- |
- |
- |
|
1200 |
29,3 |
109,0 |
46,2 |
170,0 |
- |
- |
- |
- |
Таблица 13
|
d1 |
Основные размеры соединительных деталей из ПНД по ТУ 6-19-213-83, мм |
||||||||||||
|
D |
D1 |
h |
r |
z |
z1 |
z2 |
|||||||
|
Для труб типа |
|||||||||||||
|
С, Т |
с |
т |
л |
сл |
с |
т |
С |
Т |
|||||
|
63 |
- |
102 |
73 |
12 |
63 |
120 |
120 |
- |
- |
50 |
50 |
- |
- |
|
75 |
63 |
122 |
88 |
14 |
75 |
150 |
150 |
- |
- |
50 |
50 |
63 |
63 |
|
110 |
63 |
158 |
122 |
20 |
110 |
225 |
225 |
- |
- |
80 |
80 |
69 |
99 |
|
160 |
110 |
212 |
172 |
28 |
160 |
325 |
320 |
- |
- |
80 |
80 |
64 |
64 |
|
225 |
160 |
268 |
233 |
40 |
225 |
478 |
478 |
- |
- |
100 |
100 |
87 |
87 |
|
315 |
225 |
370 |
332 |
50 |
- |
- |
- |
- |
- |
100 |
100 |
100 |
100 |
|
400 |
315 |
482 |
425 |
50 |
- |
- |
- |
- |
- |
100 |
100 |
104 |
104 |
|
500 |
315 400 |
585 |
526 |
50 |
- |
- |
- |
- |
- |
100 |
- |
190 117 |
190 117 |
|
630 |
400 500 |
685 |
636 |
50 |
- |
- |
- |
- |
100 |
100 |
- |
224 143 |
- |
|
710 |
- |
800 |
730 |
55 |
- |
- |
- |
|
100 |
100 |
- |
- |
- |
|
800 |
- |
905 |
833 |
55 |
- |
- |
- |
100 |
100 |
- |
- |
- |
- |
|
900 |
- |
1005 |
935 |
55 |
- |
- |
- |
100 |
100 |
- |
- |
- |
- |
|
1000 |
- |
1110 |
1038 |
60 |
- |
- |
- |
100 |
100 |
- |
- |
- |
- |
|
1200 |
- |
1330 |
1245 |
60 |
- |
- |
- |
100 |
100 |
- |
- |
- |
- |
Таблица 14
|
d1 |
Основные размеры соединительных деталей из ПНД по ТУ 6-218-83, мм |
||||||||||||
|
z |
z1 |
z2 |
|||||||||||
|
О |
СЛ |
С |
Т |
О |
СЛ |
С |
Т |
О |
СЛ |
С |
Т |
||
|
63 |
- |
- |
- |
- |
- |
- |
- |
- |
- |
- |
- |
- |
- |
|
110 |
63 |
- |
- |
- |
- |
- |
- |
- |
- |
- |
- |
- |
- |
|
160 |
63, 110 |
- |
- |
- |
- |
- |
- |
- |
- |
- |
- |
- |
- |
|
225 |
63, 110, 160 |
- |
- |
- |
- |
- |
- |
- |
- |
- |
- |
- |
- |
|
315 |
63, 110, 160 160, 225 |
- |
- |
778 |
778 |
- |
- |
576 |
576 |
- |
- |
498 |
498 |
|
400 |
110, 160, 225 |
- |
- |
900 |
900 |
- |
- |
646 |
646 |
- |
- |
548 |
548 |
|
500 |
110, 160, 225, 315 |
- |
- |
1100 |
1100 |
- |
- |
783 |
783 |
|
- |
665 |
665 |
|
630 |
315, 500, 500 |
- |
- |
1295 |
- |
- |
- |
896 |
- |
- |
- |
741 |
- |
|
710 |
400, 500, 630 |
- |
1415 |
1415 |
- |
- |
965 |
965 |
- |
- |
792 |
792 |
- |
|
800 |
400, 500, 630, 710 |
- |
1550 |
1550 |
- |
- |
1043 |
1043 |
- |
- |
847 |
847 |
- |
|
900 |
400, 500, 630, 710, 800 |
1750 |
- |
- |
- |
1179 |
- |
- |
- |
960 |
- |
- |
- |
|
1000 |
400, 500, 630, 710, 800, 900 |
1900 |
- |
- |
- |
1266 |
- |
- |
- |
1022 |
- |
- |
- |
|
1200 |
600, 630, 710, 800, 900, 1000 |
2200 |
- |
- |
- |
1439 |
- |
- |
- |
1146 |
- |
- |
- |
|
d1 |
Основные размеры соединительных деталей из ПНД по ТУ 6-218-83, мм |
|||||||||||||||
|
z3 |
l |
l1 |
l2 |
h |
l3 |
h |
||||||||||
|
О |
сл |
с |
т |
о |
с |
т |
О |
О |
сл |
с |
С |
т |
||||
|
63 |
- |
- |
- |
- |
- |
- |
- |
- |
- |
- |
- |
- |
- |
- |
145 |
145 |
|
110 |
63 |
- |
- |
- |
- |
- |
- |
- |
- |
- |
- |
- |
- |
400* |
265 |
265 |
|
160 |
63, 100 |
- |
- |
- |
- |
- |
- |
- |
- |
- |
- |
- |
- |
500 |
390 |
390 |
|
225 |
63, 110, 160 |
- |
- |
- |
- |
- |
- |
- |
- |
- |
- |
- |
- |
624 |
538 |
538 |
|
315 |
63, 110, 160, 160, 225 |
- |
- |
428 |
428 |
- |
800 |
800* |
- |
- |
- |
- |
826* |
826* |
778 |
778 |
|
400 |
110, 160, 225 |
- |
- |
461 |
461 |
- |
850 |
850* |
- |
- |
- |
- |
800* |
800** |
900 |
900 |
|
500 |
110, 160, 225, 315 |
- |
- |
551 |
551 |
- |
1100 |
1100* |
- |
- |
- |
- |
900* |
900** |
1100 |
1100 |
|
630 |
315, 500, 500 |
- |
- |
603 |
- |
1230 |
1230* |
- |
- |
- |
- |
1030 |
- |
1030* |
- |
- |
|
710 |
400, 500, 630 |
- |
636 |
636 |
- |
1410 |
1410* |
- |
445 |
1555 |
1010 |
1100 |
- |
1100* |
- |
- |
|
800 |
400, 500, 630, 710 |
- |
672 |
672 |
- |
1500 |
1500* |
- |
560 |
1640 |
1080 |
1200 |
- |
1200* |
- |
- |
|
900 |
400, 500, 630, 710, 800 |
762 |
- |
- |
- |
1500 |
- |
- |
525 |
1650 |
1025 |
1500 |
- |
- |
- |
- |
|
1000 |
400, 500, 630, 710, 800, 900 |
802 |
- |
- |
- |
1600 |
- |
- |
650 |
1750 |
1100 |
1600 |
- |
- |
- |
- |
|
1200 |
600, 630, 710, 800, 900, 1000 |
883 |
- |
- |
- |
1800 |
- |
- |
655 |
1970 |
1515 |
1800 |
- |
- |
- |
- |
|
* Соединительные детали с усилением стеклопластиком. ** Соединительные детали изготовляют из труб типа Т или из труб типа С с усилением стеклопластиком. |
||||||||||||||||
3.2. Основным способом соединения труб из ПВД с соединительными деталями из ПВД является контактная сварка враструб. Эту сварку надлежит выполнять в соответствии с приложением к ОСТ 6-05-367-74.
Для труб из ПВД по ГОСТ 18599-73 (табл. 15) наружным диаметром от 16 до 140 мм и толщиной стенки от 2 до 12 мм следует применять соединительные детали из ПВД, предназначенные для соединения с трубами контактной сваркой враструб. Основные размеры соединительных деталей из ПВД по ОСТ 6-05-367-74 (рис. 13) приведены в табл. 16.
Рис. 13. Раструбные соединительные детали из ПВД:
а - угольник; б - тройник; в - тройник переходной; г - втулка под фланец; д - переход; е - муфта; ж - угольник с крепежным фланцем
Для соединения труб из ПВД с соединительными деталями из ПВД одинакового типа надлежит применять контактную раструбно-стыковую сварку, при которой одновременно со сваркой по цилиндрическим поверхностям выполняют сварку торца трубы с боковой поверхностью внутренней полки соединительной детали.
Для соединения труб из ПВД с соединительными деталями из ПВД, тип которых выше, чем тип труб, надлежит применять раструбную сварку, при которой выполняют соединение только по цилиндрическим поверхностям и используют обязательно ограничительный хомут, обеспечивающий вдвигание трубы враструб соединительной детали на определенную величину.
3.3. Для соединения труб из ПВД между собой наружным диаметром свыше 50 мм и толщиной стенки более 3 мм следует применять контактную стыковую сварку. Эту сварку надлежит выполнять в соответствии с ОСТ 6-19-505-79.
Таблица 15
|
Трубы из ПВД по ГОСТ 18599-73 типа |
||||||||
|
Л |
сл |
с |
т |
|||||
|
толщина стенки, мм |
масса 1 м, кг |
толщина стенки, мм |
масса 1 м, кг |
толщина стенки, мм |
масса 1 м, кг |
толщина стенки, мм |
масса 1 м, кг |
|
|
10 |
- |
- |
- |
- |
- |
- |
2,0 |
0,05 |
|
12 |
- |
- |
- |
- |
- |
- |
2,0 |
0,063 |
|
16 |
- |
- |
- |
- |
2,0* |
0,088 |
2,7* |
0,112 |
|
20 |
- |
- |
- |
- |
2,0* |
0,123 |
3,3* |
0,175 |
|
25 |
- |
- |
2,0* |
0,146 |
2,7* |
0,19 |
4,2* |
0,27 |
|
32 |
2,0* |
0,191 |
2,4* |
0,223 |
3,4* |
0,309 |
5,3* |
0,441 |
|
40 |
2,0* |
0,242 |
3,0* |
0,348 |
4,3* |
0,475 |
6,7* |
0,636 |
|
50 |
2,4* |
0,359 |
3,7* |
0,548 |
5,4* |
0,735 |
8,3* |
1,07 |
|
63 |
3,0* |
0,566 |
4,7* |
0,853 |
6,7* |
1,18 |
10,5* |
1,68 |
|
75 |
3,6* |
0,808 |
5,6* |
1,21 |
8,0* |
1,66 |
12,5 |
2,38 |
|
90 |
4,3* |
1,14 |
6,7 |
1,73 |
9,6* |
2,39 |
15,0 |
3,43 |
|
110 |
5,2* |
1,72 |
8,1* |
2,57 |
11,8* |
3,55 |
18,3 |
5,13 |
|
125 |
6,0 |
2,21 |
9,3 |
3,31 |
13,4 |
4,57 |
20,8 |
6,62 |
|
140 |
6,7* |
2,77 |
10,4 |
4,13 |
- |
- |
- |
- |
|
160 |
7,7 |
3,63 |
11,9 |
5,41 |
- |
- |
- |
- |
|
* К данным размерам труб разработаны соединительные детали из ПВД (по состоянию на 01.01.84 г.). |
||||||||
Таблица 16
|
Тип труб |
Основные размеры соединительных деталей из ПВД по ОСТ 6-05-367-74, мм |
||||||||||||||||
|
d1 |
d2 |
D |
D1 |
H |
h |
l |
l1 |
l2 |
l3 |
l4 |
z |
z1 |
z2 |
z3 |
z4 |
||
|
16 |
Т |
- |
- |
23 |
- |
- |
- |
23 |
- |
- |
31 |
- |
9 |
- |
- |
3 |
- |
|
20 |
16 |
- |
29 |
- |
- |
- |
27 |
- |
- |
35 |
- |
11 |
- |
- |
3 |
- |
|
|
25 |
16,20 |
- |
36 |
58 |
- |
15 |
32 |
21,5 |
- |
40 |
- |
13,5 |
3 |
- |
3 |
- |
|
|
32 |
25 |
- |
46 |
68 |
- |
15 |
39 |
25 |
- |
47 |
- |
17 |
3 |
- |
3 |
- |
|
|
40 |
25/32 |
- |
57 |
79 |
- |
15 |
47 |
29 |
- |
55 |
- |
21 |
3 |
- |
3 |
- |
|
|
50 |
32/40 |
- |
72 |
89 |
- |
15 |
57 |
34 |
- |
65 |
- |
26 |
3 |
- |
3 |
- |
|
|
63 |
32/40/50 |
- |
90 |
104 |
- |
15 |
70 |
40,5 |
- |
78 |
- |
32,5 |
3 |
- |
3 |
- |
|
|
16 |
С |
- |
22 |
- |
- |
- |
- |
20 |
- |
- |
25 |
- |
9 |
- |
- |
3 |
- |
|
20 |
16 |
27 |
- |
- |
- |
- |
24 |
- |
27 |
27 |
- |
12 |
- |
16 |
3 |
12 |
|
|
25 |
16/20 |
16/20 |
34 |
50 |
- |
6 |
28 |
19 |
31/30 |
31 |
25/26 |
14 |
5 |
20/18 |
3 |
14 |
|
|
32 |
25 |
16/20/25 |
43 |
60 |
- |
7 |
34 |
21 |
36 |
35 |
28/29/31 |
18 |
5 |
22 |
3 |
17 |
|
|
40 |
25/32 |
16/20/25 32 |
54 |
78 |
- |
8 |
40 |
23 |
39/38 |
39 |
33/34/36 38 |
22 |
5 |
25/22 |
3 |
22 |
|
|
50 |
32/40 |
16/20/25 3/40 |
67 |
88 |
- |
10 |
47 |
25 |
44 |
44 |
38/39/41 43/45 |
25 |
5 |
28/26 |
4 |
28 |
|
|
63 |
40/50 |
16/20/25 32/40/50 |
84 |
102 |
- |
12 |
56 |
27 |
54/50 |
48 |
45/46/48 30/52/61 |
- 34 |
- 5 |
- 36/30 |
- 4 |
- 34 |
|
|
75 |
С |
50/63 |
- |
96 |
120 |
- |
15 |
83,5 |
46,5 |
- |
90 |
- |
40 |
3 |
- |
3 |
- |
|
90 |
50/63/75 |
- |
115 |
138 |
- |
18 |
99 |
54 |
- |
105 |
- |
48 |
3 |
- |
3 |
- |
|
|
110 |
50/75/90 |
- |
141 |
158 |
- |
18 |
121 |
64 |
- |
125 |
- |
60 |
3 |
- |
3 |
- |
|
|
20 |
СЛ |
труб 1/2" |
- |
- |
- |
48 |
- |
- |
- |
- |
- |
- |
- |
- |
- |
- |
- |
|
25 |
труб 3/4" |
- |
- |
- |
58 |
- |
- |
- |
- |
- |
- |
- |
- |
- |
- |
- |
|
|
75 |
50/63 |
63 |
92 |
110 |
- |
10 |
53 |
30 |
60/52 |
53 |
62 |
40 |
6 |
40/30 |
5 |
40 |
|
|
90 |
63/75 |
75 |
110 |
128 |
- |
12 |
61 |
34 |
66/98 |
61 |
69/71 |
47 |
6 |
44/34 |
5 |
47 |
|
|
110 |
75/90 |
75/90 |
134 |
150 |
- |
14 |
70 |
38 |
72/66 |
70 |
71/89/89 |
57 |
6 |
48/38 |
6 |
51 |
|
|
140 |
Л |
110 |
110 |
158 |
165 |
- |
16 |
78 |
43 |
94 |
78 |
105 |
72 |
7 |
62 |
6 |
73 |
3.4. Для труб из ПП рекомендуется применять соединительные детали: тройники, отводы, переходы и втулки под фланцы, изготовленные из отрезков полипропиленовых труб методами гнутья, сварки и формования.
Сортамент труб из ПП приведен в табл. 17.
Таблица 17
|
Трубы из ПП по ТУ 38-102-100-76 типа |
||||||
|
Л |
с |
т |
||||
|
толщина стенки, мм |
масса 1 м, кг |
толщина стенки, мм |
масса 1 м, кг |
толщина стенки, мм |
масса 1 м, кг |
|
|
32 |
- |
- |
- |
- |
2,5 |
0,21 |
|
40 |
- |
- |
- |
- |
3,1 |
0,33 |
|
50 |
- |
- |
2,4 |
0,33 |
3,9 |
0,50 |
|
63 |
- |
- |
3 |
0,54 |
4,9 |
0,80 |
|
75 |
- |
- |
3,6 |
0,73 |
5,8 |
1,15 |
|
90 |
- |
- |
4,3 |
1,05 |
7,0 |
1,64 |
|
110 |
2,3 |
0,68 |
5,3 |
1,64 |
8,5 |
2,46 |
|
125 |
2,6 |
0,91 |
6,0 |
2,04 |
9,7 |
3,17 |
|
140 |
2,9 |
1,14 |
6,7 |
2,55 |
10,8 |
3,99 |
|
160 |
3,3 |
1,48 |
7,7 |
3,31 |
12,3 |
5,19 |
|
180 |
3,7 |
1,86 |
8,6 |
4,21 |
13,9 |
6,58 |
|
200 |
4,1 |
2,29 |
9,6 |
5,17 |
15,4 |
8,12 |
|
225 |
4,6 |
2,90 |
10,8 |
6,55 |
- |
- |
|
250 |
5,1 |
3,57 |
11,9 |
8,10 |
- |
- |
|
280 |
5,8 |
4,47 |
13,4 |
10,14 |
- |
- |
|
315 |
6,5 |
5,64 |
15,0 |
12,86 |
- |
- |
Основным способом соединения этих труб является контактная стыковая сварка, которую следует выполнять в соответствии с Инструкцией по проектированию и монтажу сетей водоснабжения и канализации из пластмассовых труб.
3.5. Для труб из ПВХ следует применять соединительные детали, предназначенные для соединения с трубами враструб с помощью клеев или резиновых уплотнительных колец.
Трубы, соединяемые на раструбах с уплотнительными кольцами, предназначены для подземной прокладки, так как соединения этих труб не способны воспринимать осевые нагрузки от внутреннего давления транспортируемого вещества.
3.6. Для труб из ПВХ по ТУ 6-19-231-83 (табл. 18) наружным диаметром от 16 до 160 мм следует применять соединительные детали из ПВХ, предназначенные для склеивания.
Таблица 18
|
Трубы из ПВХ по ТУ 6-19-231-83 типа |
||||||||||
|
О |
сл |
с |
т |
ОТ |
||||||
|
толщина стенки, мм |
масса 1 м, кг |
толщина стенки, мм |
масса 1 м, кг |
толщина стенки, мм |
масса 1 м, кг |
толщина стенки, мм |
масса 1 м, кг |
толщина стенки, мм |
масса 1 м, кг |
|
|
10 |
- |
- |
- |
- |
- |
- |
- |
- |
1,0 |
0,045 |
|
12 |
- |
- |
- |
- |
- |
- |
- |
- |
1,0 |
0,055 |
|
16 |
- |
- |
- |
- |
- |
- |
- |
- |
1,2* |
0,09 |
|
20 |
- |
- |
- |
- |
- |
- |
- |
- |
1,5* |
0,137 |
|
25 |
- |
- |
- |
- |
- |
- |
1,5* |
0,174 |
1,9 |
0,212 |
|
32 |
- |
- |
- |
- |
- |
- |
1,8* |
0,264 |
2,4 |
0,342 |
|
40 |
- |
- |
- |
- |
1,8* |
0,334 |
1,9* |
0,350 |
3,0 |
0,525 |
|
50 |
- |
- |
- |
- |
1,8* |
0,422 |
2,4* |
0,552 |
3,7 |
0,809 |
|
63 |
- |
- |
- |
- |
1,9* |
0,562 |
3,0* |
0,854 |
4,7 |
1,29 |
|
75 |
- |
- |
1,8 |
0,642 |
2,2 |
0,782 |
3,6 |
1,22 |
5,6 |
1,82 |
|
90 |
- |
- |
1,8 |
0,774 |
2,7 |
1,13 |
4,3 |
1,75 |
6,7 |
2,61 |
|
110 |
1,8 |
0,951 |
2,2* |
1,16 |
3,2* |
1,64 |
5,3* |
2,61 |
8,2 |
3,90 |
|
125 |
1,8 |
1,08 |
2,5 |
1,48 |
3,7 |
2,13 |
6,0 |
3,34 |
9,3 |
5,01 |
|
140 |
1,8 |
1,21 |
2,8 |
1,84 |
4,1 |
2,65 |
6,7 |
4,18 |
10,4 |
6,27 |
|
160 |
1,8 |
1,39 |
3,2* |
2,41 |
4,7* |
3,44 |
7,7* |
5,47 |
11,9 |
8,17 |
|
180 |
1,8 |
1,57 |
3,6 |
3,02 |
6,3 |
4,37 |
8,6 |
6,88 |
13,4 |
10,4 |
|
200 |
1,8 |
1,74 |
4,0 |
3,70 |
5,9 |
5,37 |
9,6 |
8,51 |
14,9 |
12,0 |
|
225 |
1,8 |
1,96 |
4,5 |
4,70 |
6,6 |
6,76 |
10,8 |
10,8 |
16,7 |
16,1 |
|
250 |
2,0 |
2,40 |
4,9 |
5,65 |
7,3 |
8,31 |
11,9 |
13,2 |
18,6 |
19,9 |
|
280 |
2,3 |
3,11 |
5,5 |
7,11 |
8,2 |
10,4 |
13,4 |
16,6 |
20,8 |
24,9 |
|
315 |
2,5 |
3,78 |
6,2 |
9,02 |
9,2 |
13,2 |
15,0 |
20,9 |
23,4 |
31,5 |
|
355 |
2,9 |
4,87 |
7,0 |
11,4 |
10,4 |
16,7 |
16,9 |
26,5 |
26,3 |
39,9 |
|
400 |
3,2 |
6,10 |
7,9 |
14,5 |
11,7 |
21,1 |
19,0 |
33,7 |
29,7 |
50,8 |
|
450 |
3,6 |
7,65 |
8,9 |
18,3 |
13,2 |
26,8 |
21,5 |
42,7 |
- |
- |
|
* К данным размерам труб разработаны соединительные детали из ПВХ (по состоянию на 01.01.1984 г.). |
||||||||||
Основные размеры раструбных соединительных деталей из ПВХ по ТУ 6-19-222-83 под склеивание (рис. 14) приведены в табл. 19.
Рис. 14. Раструбные соединительные детали из ПВХ:
а и б - угольник (исполнение с упорной полкой и упорными рифами); в - тройник; г - втулка под фланец; д - переход; е - муфта
Таблица 19
|
d1 |
Основные размеры соединительных деталей из ПВХ типа Т по ТУ 6-19-051-274-80 |
|||||||||||
|
D |
D1 |
h |
l |
l1 |
l2 |
l3 |
z |
z1 |
z2 |
z3 |
||
|
16 |
- |
24,5 |
29 |
6 |
23 |
17 |
- |
31 |
9 |
3 |
- |
3 |
|
20 |
16 |
29,5 |
34 |
6 |
27 |
19 |
37 |
35 |
11 |
3 |
21 |
3 |
|
25 |
20 |
35,5 |
41 |
7 |
32,5 |
22 |
44 |
41 |
13,5 |
3 |
25 |
3 |
|
32 |
25 |
43,5 |
50 |
7 |
39 |
25 |
52 |
47 |
17 |
3 |
30 |
3 |
|
40 |
32 |
52,5 |
61 |
8 |
47 |
29 |
62 |
55 |
21 |
3 |
36 |
3 |
|
50 |
40 |
64 |
73 |
8 |
57 |
34 |
75 |
65 |
26 |
3 |
44 |
3 |
|
63 |
50 |
79,5 |
90 |
9 |
70,5 |
41 |
92 |
79 |
32,5 |
3 |
54 |
3 |
|
110 |
50 |
133 |
150 |
12 |
117 |
66 |
119 |
128 |
56 |
5 |
88 |
6 |
|
160 |
110 |
193 |
213 |
16 |
167 |
91 |
187 |
180 |
81 |
5 |
126 |
8 |
Для соединения указанных труб и соединительных деталей из ПВХ следует применять клей ГИПК-127 по ТУ 6-05-251-95-79. Клей ГИПК-127 не пригоден для склеивания деталей трубопроводов из ПВХ, если по ним транспортируется: плавиковая кислота любой концентрации, азотная кислота концентрацией более 20 %, соляная кислота концентрацией более 25 % и серная кислота концентрацией более 70 %. В этом случае следует применять клей на основе метиленхлорида (перхлорвиниловая смола 14 - 16 вес. ч. и метиленхлорид 86 - 84 вес. ч.). Клей на основе метиленхлорида не заполняет зазоры. Поэтому при его применении разность между соединяемыми диаметрами не должна быть более 0,1 мм.
Склеивание труб и соединительных деталей из ПВХ следует выполнять в соответствии с Инструкцией по проектированию и монтажу сетей водоснабжения и канализации из пластмассовых труб.
3.7. Для раструбных труб из ПВХ по ТУ 6-19-231-83 (табл. 20) следует применять соединительные детали типа «Т» из чугуна (рис. 15) или из ПВХ по ТУ 6-19-223-83 и отводы типа «Т» из ПВХ по ТУ 6-19-221-83 (рис. 16), предназначенные для соединения с помощью резиновых уплотнительных колец. Основные размеры деталей приведены в табл. 21.
Таблица 20
|
Толщина стенки труб, мм, по ТУ 6-19-231-83 типа |
Масса труб, кг, длиной 5,5 м типа |
|||
|
С |
т |
С |
т |
|
|
63 |
- |
3,0 |
- |
4,72 |
|
75 |
- |
3,6 |
- |
6,74 |
|
90 |
- |
4,3 |
- |
9,67 |
|
110 |
3,2 |
5,3 |
9,06 |
14,4 |
|
140 |
4,1 |
6,7 |
14,6 |
23,1 |
|
160 |
4,7 |
7,7 |
19,0 |
30,3 |
|
225 |
6,6 |
10,8 |
37,4 |
59,8 |
|
280 |
8,2 |
13,4 |
57,5 |
92,0 |
|
315 |
9,2 |
15,0 |
73,0 |
116 |
Рис. 15. Чугунные соединительные детали для раструбных труб из ПВХ:
а - тройник с двумя раструбами и фланцем; б - тройник раструбный; в - патрубок фланец-гладкий конец; г - патрубок фланец-раструб; д - переход раструбный (для труб d = 160/110 мм)
Рис. 16. Соединительные детали из ПВХ для раструбных труб:
а - тройник; б - переход; в - тройник переходный 110 ´ 63 мм; г - муфта; д - отвод
Уплотнительные кольца из резины на основе синтетического изопренового каучука марки 1365 по ТУ 38-105-895-75 для получения соединений поставляются в комплекте с трубами, соединительными деталями и отводами в количестве, равном количеству раструбов.
Таблица 21
|
Материал |
Обозначение размера |
Размер, мм, для труб наружным диаметром, мм |
|||||||||
|
63 |
75 |
90 |
110 |
140 |
160 |
225 |
280 |
315 |
|||
|
Тройник с двумя раструбами и фланцами |
Чугун |
L |
- |
- |
- |
- |
- |
- |
250 |
280 |
320 |
|
Тройник раструбный |
ПВХ |
L1 L2 |
274 137 |
305 153 |
330 165 |
368 184 |
- - |
462 231 |
- - |
- - |
- - |
|
для труб d, мм: |
|
|
|
|
|
|
|
|
|
|
|
|
110 |
Чугун |
L1 |
- |
- |
- |
186 |
200 |
212 |
244 |
- |
- |
|
L2 |
- |
- |
- |
186 |
199 |
208 |
238 |
- |
- |
||
|
140 |
» |
L1 |
- |
- |
- |
- |
214 |
226 |
258 |
- |
- |
|
L2 |
- |
- |
- |
- |
213 |
222 |
252 |
- |
- |
||
|
160 |
» |
L1 |
- |
- |
- |
- |
- |
236 |
268 |
- |
- |
|
L2 |
- |
- |
- |
- |
- |
235 |
265 |
- |
- |
||
|
225 |
» |
L1 |
- |
- |
- |
- |
- |
- |
297 |
- |
- |
|
L2 |
- |
- |
- |
- |
- |
- |
297 |
- |
- |
||
|
Переход раструбный |
|
|
|
|
|
|
|
|
|
|
|
|
для труб d, мм: |
|
|
|
|
|
|
|
|
|
|
|
|
63 |
ПВХ |
L |
- |
243 |
232 |
- |
- |
291 |
- |
- |
- |
|
110 |
» |
L |
257 |
- |
- |
- |
- |
314 |
- |
- |
- |
|
Патрубок фланец-раструб |
Чугун |
L |
- |
- |
- |
133 |
147 |
159 |
192 |
247 |
267 |
|
Патрубок фланец-гладкий конец |
» |
L |
- |
- |
- |
141 |
159 |
171 |
192 |
247 |
267 |
|
Отвод α: |
|
|
|
|
|
|
|
|
|
|
|
|
45° |
ПВХ |
L |
235 |
260 |
292 |
334 |
- |
440 |
578 |
694 |
768 |
|
90° |
» |
L |
364 |
414 |
476 |
559 |
- |
768 |
1039 |
1268 |
1414 |
3.8. Основным видом разъемных соединений пластмассовых труб является соединение на свободных металлических фланцах, устанавливаемых на втулках под фланцы (рис. 17).
Рис. 17. Фланцевое соединение пластмассовых труб:
1 - труба; 2 - втулка из ПНД под фланец; 3 - свободный металлический фланец; 4 - прокладка; 5 - втулка из ПВД или ПВХ под фланец
Указанный вид соединения следует применять также для присоединения арматуры к пластмассовым трубам.
Для соединения втулок под фланцы с трубами используют те же виды соединений, что для других соединительных деталей.
Свободные металлические фланцы должны иметь размеры, указанные в табл. 22 и 23.
3.9. Для получения фланцевого соединения на раструбных трубах из ПВХ следует применять чугунные патрубки фланец-раструб и фланец-гладкий конец (рис. 18).
Таблица 22
|
Dу |
d |
d1 |
d2 |
d3 |
Болты |
d4 |
b для трубопроводов |
d5 |
d6 |
S |
|||||
|
количество |
размер |
безнапорных |
напорных |
л |
сл |
с |
т |
||||||||
|
50 |
63 |
165 |
18 |
125 |
4 |
М16 |
78 |
- |
16 |
102 |
- |
54 |
54 |
50 |
2 |
|
65 |
75 |
185 |
18 |
145 |
4 |
М16 |
92 |
10 |
16 |
122 |
- |
- |
65 |
59 |
2 |
|
100 |
110 |
220 |
18 |
180 |
8 |
М16 |
128 |
10 |
18 |
158 |
- |
- |
96 |
87 |
3 |
|
150 |
160 |
285 |
23 |
240 |
8 |
М20 |
178 |
15 |
18 |
212 |
- |
- |
137 |
127 |
3 |
|
200 |
225 |
340 |
23 |
295 |
8 |
М20 |
238 |
15 |
20 |
268 |
- |
- |
196 |
189 |
3 |
|
300 |
315 |
445 |
23 |
400 |
12 |
М20 |
338 |
20 |
26 |
370 |
- |
- |
275 |
251 |
3 |
|
400 |
400 |
565 |
27 |
515 |
16 |
М24 |
430 |
20 |
32 |
482 |
- |
- |
349 |
319 |
3 |
|
500 |
500 |
670 |
27 |
620 |
20 |
М24 |
533 |
20 |
38 |
585 |
- |
- |
437 |
409 |
3 |
|
600 |
630 |
780 |
30 |
725 |
20 |
М27 |
645 |
25 |
35 |
685 |
- |
- |
551 |
- |
3 |
|
700 |
710 |
895 |
30 |
840 |
24 |
М27 |
740 |
25 |
40 |
800 |
- |
645 |
621 |
- |
3 |
|
800 |
800 |
1015 |
33 |
950 |
24 |
М30 |
843 |
25 |
40 |
905 |
- |
738 |
709 |
- |
3 |
|
900 |
900 |
1115 |
33 |
1050 |
28 |
М30 |
947 |
25 |
- |
1005 |
856 |
831 |
- |
- |
3 |
|
1000 |
1000 |
1230 |
36 |
1160 |
28 |
М37 |
1050 |
25 |
- |
1110 |
951 |
923 |
- |
- |
3 |
|
1200 |
1200 |
1455 |
39 |
1380 |
32 |
М36 |
1260 |
30 |
- |
1330 |
1141 |
1108 |
- |
- |
3 |
Таблица 23
|
Dу |
d |
Размеры свободных стальных фланцев, устанавливаемых на втулках из ПВХ и ПВД, мм |
|||||||||||
|
Pу = 0,6 МПа |
Pу = 1 МПа |
||||||||||||
|
d1 |
d2 |
d3 |
Болты |
b |
d1 |
d2 |
d3 |
Болты |
b |
||||
|
количество |
размер |
количество |
размер |
||||||||||
|
10 |
16 |
75 |
11,5 |
50 |
4 |
М10 |
10 |
90 |
14 |
60 |
4 |
М12 |
12 |
|
15 |
20 |
80 |
11,5 |
55 |
4 |
М10 |
10 |
95 |
14 |
65 |
4 |
М12 |
12 |
|
20 |
25 |
90 |
11,5 |
65 |
4 |
М10 |
10 |
105 |
14 |
75 |
4 |
М12 |
14 |
|
25 |
32 |
100 |
11,5 |
75 |
4 |
М10 |
12 |
115 |
14 |
85 |
4 |
М12 |
14 |
|
32 |
40 |
120 |
14 |
90 |
4 |
М12 |
12 |
140 |
18 |
100 |
4 |
М16 |
16 |
|
40 |
50 |
130 |
14 |
100 |
4 |
М12 |
12 |
150 |
18 |
110 |
4 |
М16 |
18 |
|
50 |
63 |
140 |
14 |
110 |
4 |
М12 |
12 |
165 |
18 |
125 |
4 |
М16 |
18 |
|
65 |
75 |
160 |
14 |
130 |
4 |
М12 |
14 |
185 |
18 |
145 |
4 |
М16 |
20 |
|
80 |
90 |
190 |
18 |
150 |
4 |
М16 |
14 |
200 |
18 |
160 |
8 |
М16 |
22 |
|
100 |
110 |
210 |
18 |
170 |
4 |
М16 |
14 |
220 |
18 |
180 |
8 |
М16 |
24 |
|
125 |
140 |
240 |
18 |
200 |
8 |
М16 |
14 |
250 |
18 |
210 |
8 |
М16 |
26 |
|
Dу |
d |
Размеры свободных стальных фланцев, устанавливаемых на втулках из ПВХ и ПВД, мм |
|||||||||
|
d4 |
r |
d5 |
d6 |
S |
|||||||
|
номинальный размер для втулок из |
допускаемое отклонение |
для втулок из |
|||||||||
|
ПВХ |
ПВД |
||||||||||
|
ПВХ |
ПВД |
I вариант |
II вариант |
||||||||
|
I вариант |
II вариант |
||||||||||
|
10 |
16 |
23 |
- |
- |
-0,5 |
1,27 |
27 |
|
|
16 |
2 |
|
15 |
20 |
28 |
- |
- |
-0,5 |
1 |
32 |
- |
- |
20 |
2 |
|
20 |
25 |
34 |
35 |
37 |
-0,5 |
1,5 |
39 |
50 |
58 |
25 |
2 |
|
25 |
32 |
42 |
44 |
47 |
-0,5 |
1,5 |
48 |
60 |
68 |
32 |
2 |
|
32 |
40 |
51 |
55 |
58 |
-0,5 |
2 |
59 |
78 |
79 |
40 |
2 |
|
40 |
50 |
62 |
68 |
73 |
-0,5 |
2 |
71 |
88 |
89 |
50 |
2 |
|
50 |
63 |
78 |
86 |
92 |
-1 |
2,5 |
88 |
102 |
104 |
63 |
2 |
|
65 |
75 |
- |
94 |
98 |
-1 |
2,5 |
- |
110 |
120 |
75 |
2 |
|
80 |
90 |
- |
112 |
117 |
-1 |
3 |
- |
128 |
138 |
90 |
2 |
|
100 |
110 |
- |
136 |
143 |
-1 |
3 |
- |
150 |
158 |
110 |
3 |
|
125 |
140 |
- |
160 |
- |
-1 |
4 |
|
165 |
- |
140 |
3 |
Рис. 18. Фланцевое соединение раструбных труб из ПВХ:
1 - труба; 2 - уплотнительное кольцо; 3 - патрубок-раструб; 4 - прокладка; 5 - раструб; 6 - патрубок фланец-гладкий
Основные размеры такого фланцевого соединения указаны в табл. 24.
Таблица 24
|
Dу |
d |
d1 |
d2 |
d3 |
d1 |
d2 |
d3 |
K1 |
K2 |
S |
Резьба болтов |
Число отверстий |
|
50 |
63 |
165 |
125 |
102 |
57 |
59 |
18 |
20 |
17 |
7,5 |
М16 |
4 |
|
65 |
75 |
185 |
145 |
123 |
67 |
69 |
18 |
21 |
18 |
8 |
М16 |
4 |
|
80 |
90 |
200 |
160 |
138 |
81 |
83 |
18 |
22 |
19 |
8,5 |
М16 |
8 |
|
100 |
110 |
220 |
180 |
158 |
99 |
101 |
18 |
22 |
19 |
9 |
М16 |
8 |
|
125 |
140 |
250 |
210 |
188 |
125 |
127 |
18 |
23 |
20 |
9,5 |
М16 |
8 |
|
150 |
160 |
285 |
340 |
212 |
144 |
146 |
23 |
24 |
21 |
10 |
М20 |
8 |
|
200 |
225 |
340 |
295 |
268 |
203 |
205 |
23 |
26 |
23 |
11 |
М20 |
8 |
|
250 |
280 |
395 |
350 |
322 |
251 |
253 |
23 |
26 |
23 |
12 |
М20 |
12 |
|
300 |
315 |
445 |
400 |
372 |
283 |
285 |
23 |
26 |
23 |
13 |
М20 |
12 |
3.10. При отсутствии соединительных деталей заводского изготовления допускается применять соединительные детали, изготовляемые в условиях трубозаготовительного производства из отрезков труб (табл. 25). При этом следует учитывать снижение прочности соединительных деталей в соответствии с данными табл. 6.
Таблица 25
|
Детали трубопровода |
Размеры труб для изготовления деталей, мм |
Способ изготовления деталей |
|
|
пнд, пвд, пп |
Тройники и отводы сварные |
d = 40 - 500 δ ≥ 4 |
Контактная сварка встык |
|
пвх |
То же |
d = 32 - 400 δ ≥ 3 |
Газовая прутковая сварка |
|
пнд |
» |
d = 630 - 1200 δ ≥ 15 |
Экструзионная сварка |
|
пнд, пвд, пп |
Тройники сварные неравнопроходные |
d = 40 - 500 δ ≥ 4 |
Вытяжка горловины и контактная сварка встык |
|
пвх |
То же |
d = 32 - 400 δ ≥ 3 |
Вытяжка горловины и газовая прутковая сварка |
|
пнд |
» |
d = 630 - 1200 δ ≥ 15 |
Вытяжка горловины и экструзионная сварка |
|
пнд, пвд, пп |
Раструбное соединение |
d = 16 - 225 δ ≥ 2 |
Формование и контактная сварка враструб |
|
пвх |
То же |
d = 25 - 315 δ ≥ 1,5 |
Формование и склеивание враструб |
|
пнд, пвд, пп |
Муфтовые соединения |
d = 16 - 160 δ ≥ 2 |
Формование муфты и контактная раструбно-стыковая сварка |
|
Пвх |
Муфтовые соединения |
d = 16 - 160 δ ≥ 1,5 |
Формование муфты и газовая прутковая сварка |
|
Пнд, пвд, пп, пвх |
Отбортовка концов труб |
d = 63 - 315 δ = 4 - 20 |
Формование |
|
То же |
Переходы |
d = 16 - 315 |
То же |
|
ПНД, ПВД, ПП, ПНД |
Втулки под фланец |
d = 63 - 315 δ = 4 - 20 |
» |
|
пвд, пп, пвх |
Отводы гнутые |
d = 63 - 315 δ = 4 - 20 |
» |
Контактную стыковую сварку тройников и отводов, газовую прутковую сварку, формование и гнутье пластмассовых труб, вытяжку горловин для изготовления неравнопроходных тройников следует выполнять в соответствии с Инструкцией по изготовлению и монтажу технологических трубопроводов из полиэтилена, полипропилена, винипласта и фторопласта.
В обоснованных случаях допускается применение стандартных фторопластовых соединительных частей, бронированных металлом.
3.11. Для трубопроводов, транспортирующих некоррозионные и неагрессивные вещества, следует применять стандартную трубопроводную арматуру, изготовляемую из чугуна, стали, латуни; краны пробковые и шаровые фланцевые, вентили и задвижки фланцевые и т.д.
3.12. При транспортировании по трубам веществ, коррозионных и агрессивных по отношению к металлу, следует применять специальную арматуру, изготовляемую из пластмассы или из металла с защитным покрытием, химическая стойкость которых должна быть не ниже, чем у труб (рис. 19).
Рис. 19. Запорная арматура для коррозионных и агрессивных веществ:
а - вентиль запорный гуммированный; б - вентиль запорный диафрагмовый с защитным покрытием или футерованный; в - вентиль сильфонный из пластмассы; г - затвор шланговый
Основные строительные размеры и масса указанной арматуры приведены в табл. 26.
Конструкция и основные размеры диафрагмовых вентилей и технические требования на них регламентируются ГОСТ 9660-71.
Для чугунных гуммированных вентилей присоединительные размеры фланцев установлены ГОСТ 1235-67, для чугунных эмалированных вентилей - ГОСТ 12815-67, а для шланговых затворов из алюминиевого сплава - ГОСТ 1234-67.
Таблица 26
|
Pу, МПа |
Температурные пределы, °С |
Dу, мм |
L, мм |
H, мм |
Масса, кг |
Материал и защитные покрытия |
|
|
Вентили футерованные чугунные 15ч63 |
0,6 |
От -15 до +65 |
125 |
400 |
580 |
52 |
Кислотостойкая резина |
|
150 |
480 |
660 |
72 |
||||
|
200 |
600 |
730 |
130 |
||||
|
250 |
730 |
830 |
212 |
||||
|
300 |
850 |
870 |
264 |
||||
|
Вентили диафрагмовые чугунные с защитным покрытием |
1,6 |
До +60 или до +110 |
6 |
70 |
73 |
0,5 |
Полиэтилен, фторопласт 42ЛД |
|
10 |
90 |
80 |
1,2 |
||||
|
15 |
110 |
105 |
2,7 |
||||
|
20 |
130 |
120 |
4,3 |
||||
|
Р ´ 26324; Р ´ 26368 |
1 |
То же |
25 |
150 |
140 |
6,1 |
|
|
32 |
170 |
145 |
8 |
||||
|
40 |
290 |
190 |
12,4 |
||||
|
50 |
200 |
210 |
13 |
||||
|
0,6 |
» |
80 |
240 |
270 |
16,3 |
||
|
100 |
270 |
320 |
25,6 |
||||
|
Вентили диафрагмовые эмалированные чугунные 15ч93эм; |
1,6 |
От -15 до +120 |
10 |
120 |
32 |
2,4 |
Фторопласт |
|
15 |
130 |
82 |
3,3 |
||||
|
20 |
150 |
120 |
5,4 |
||||
|
25 |
160 |
120 |
5,9 |
||||
|
15ч95эм |
1 |
То же |
32 |
180 |
168 |
8,8 |
Резина |
|
40 |
200 |
168 |
9,9 |
||||
|
50 |
230 |
200 |
15,1 |
||||
|
65 |
290 |
200 |
17,4 |
||||
|
0,6 |
От -15 до +120 |
80 |
310 |
240 |
28,5 |
||
|
100 |
350 |
245 |
33,5 |
||||
|
То же, КА 26333 |
0,6 |
До +90 |
150 |
410 |
415 |
83 |
|
|
200 |
500 |
602 |
140 |
||||
|
Вентили сильфонные чугунные, футерованные фторопластом Р ´ 26058 |
0,6 |
От- 10 до +125 |
25 |
140 |
200 |
17,2 |
Фторопласт 42ЛД |
|
40 |
230 |
200 |
23,2 |
||||
|
50 |
230 |
200 |
20,5 |
||||
|
80 |
270 |
220 |
46,5 |
||||
|
100 |
300 |
220 |
56 |
||||
|
Вентили из полипропилена 15п57п |
0,6 |
До +50 |
32 |
180 |
220 |
1,45 |
Полипропилен |
|
|
50 |
230 |
250 |
8,0 |
|||
|
Вентили из пентапласта 15п56п |
0,25 |
» +100 |
32 |
180 |
220 |
2,05 |
Пентапласт |
|
50 |
230 |
250 |
5,5 |
||||
|
100 |
350 |
305 |
13,2 |
||||
|
Затворы шланговые из алюминиевого сплава 32а3р |
0,6 |
» +50 » +60 |
50 |
230 |
236 |
9 |
Резина марок: Iа-19-7889, Iб-21-6620 и III-Iб-20, НО-68-2 по ТУ 38-1051082-76 и марки 51-2104 по ТУ 38-1051050-76 |
|
» +90 или |
80 |
310 |
294 |
16 |
|||
|
П 98007 |
до +110 |
100 |
350 |
420 |
29 |
||
|
125 |
400 |
385 |
34 |
||||
|
150 |
480 |
512 |
53 |
||||
|
200 |
600 |
520 |
74 |
4.1. Гидравлический расчет трубопроводов следует производить по номограмме (рис. 20), составленной ЦНИИЭП инженерного оборудования в соответствии с главой СНиП по проектированию наружных сетей и сооружений водоснабжения. Допускается производить гидравлический расчет труб согласно Инструкции по проектированию и монтажу сетей водоснабжения и канализации из пластмассовых труб, а также пользоваться Таблицами для гидравлического расчета напорных и безнапорных трубопроводов из пластмассовых труб, ОНТИ СКТБ «Энергопромполимер», М., 1982 г. или Таблицами для гидравлического расчета трубопроводов канализации и водоснабжения из полиэтиленовых труб большого диаметра, часть 2, Главмосстрой, М., 1981.
Рис. 20. Номограмма для гидравлического расчета напорных трубопроводов из пластмассовых труб
Номограмма учитывает потери напора, вызванные стыками труб в размере 15 % потерь напора по трубе.
Расчетный внутренний диаметр труб Др определяется по формуле
Пример. Для трубы с внутренним расчетным диаметром Др = 90 мм при допускаемой скорости потока υ = 0,5 м/с по табл. 20 находим 4i и расход q = 3,4 л/с.
4.2. Номограмма и таблицы составлены для воды с температурой 10 °С (коэффициент кинематической вязкости υ0 = 1,31 см2/с). Для воды с другой температурой или для веществ с другим коэффициентом кинематической вязкости потери напора, определяемые по номограмме или таблицам, следует умножать на коэффициент по вязкости жидкости Kв, значения которого приведены на рис. 21 или вычисляют по формуле:
где v - коэффициент кинематической вязкости транспортируемой жидкости.
Рис. 21. Зависимость коэффициента Kг и кинематической вязкости воды от температуры
4.3. При транспортировании по трубопроводам веществ, плотность которых отличается от плотности воды, потери напора, определяемые по номограмме или таблицам, следует умножать дополнительно на поправочный коэффициент на плотность жидкости Kп, значения которого вычисляют как
где γ - плотность транспортируемой жидкости;
γ0 - плотность воды при температуре 10 °С.
4.4. Потери напора h на расчетном участке трубопровода следует определять по формуле
где f - коэффициент, учитывающий потери напора в соединительных деталях и арматуре, принимаемый равным от 1,1 (для прямых трубопроводов значительной длины) до 1,6 (для трубопроводов с многочисленными поворотами, ответвлениями, арматурой и т.п.);
i - гидравлический уклон;
l - длина расчетного участка, м.
5.1. При конструировании пластмассовых трубопроводов необходимо учитывать специфические особенности материала труб, а именно: высокий коэффициент линейного удлинения (в 8 - 25 раз выше, чем у стальных труб) и более низкие по сравнению с металлическими трубами механическую прочность и твердость (см. табл. 3).
5.2. Величину температурного изменения длины трубопровода надлежит определять по формуле
где α - коэффициент линейного расширения, принимаемый по табл. 3;
Δt - максимальная разность между температурами стенок трубопровода в процессе эксплуатации и окружающей среды, при которой осуществляется монтаж замыкающих стыков трубопровода;
l - первоначальная длина трубопровода, м. Изменение длины трубопровода в зависимости от его длины и разности температур приведено на рис. 22.
5.3. Трубопроводы из пластмассовых труб следует прокладывать: межцеховые - на эстакадах или отдельно стоящих опорах и в галереях; внутрицеховые - по колоннам, этажеркам и площадкам, на которых установлено оборудование, по стенам внутри зданий, на подвесках к балкам перекрытий.
Трубопроводы из ПВХ без светостабилизирующих добавок (естественного цвета) прокладывать открыто наземно или надземно запрещается.
5.4. При открытой прокладке трубопроводов из термопластов без теплоизоляции наружная поверхность труб светлоокрашенных и белого цвета может нагреваться в среднеевропейской полосе до температуры 45 °С, а труб темноокрашенных и черного цвета до 60 °С. Это необходимо учитывать при определении величины рабочего давления для трубопроводов и величины компенсаций температурных удлинений трубопровода.
Рис. 22. Зависимость изменения длины трубопровода от его первоначальной длины и разности температур для труб:
а - из ПНД и ПВД; б - из ПП; в - из ПВХ
Трубопроводы из пластмассовых труб, прокладываемые совместно со стальными трубопроводами, и имеющие на поверхности температуру выше допустимой для пластмасс, должны быть защищены от теплового воздействия (увеличение расстояний между трубопроводами, установка защитных тепловых экранов и тепловой изоляции из несгораемых материалов). При этом трубопроводы из пластмассовых труб следует располагать, как правило, ниже стальных.
5.5. Внутри зданий в местах возможного механического повреждения пластмассовых труб, как правило, следует принимать скрытую прокладку в бороздах, каналах, монтажных шахтах. При этом к местам прокладки трубопроводов должен быть обеспечен свободный доступ посредством установки дверок, съемных щитов и т.п.
5.6. Трубопроводы, прокладываемые в местах возможного их повреждения (над проездами, дорогами, под пешеходными мостиками и т.п.), должны быть заключены в футляры или закрыты кожухами, изготовленными из более прочных материалов, чем пластмассовые трубы. Концы кожухов или футляров должны выступать не менее 0,5 м от наружных стенок пересекаемых ими сооружений.
Внутренний диаметр футляра должен быть на 100 - 200 мм больше наружного диаметра трубопровода (с учетом изоляции).
5.7. Трубопроводы в местах пересечения фундаментов, перекрытий и перегородок должны заключаться в футляры, изготовленные, как правило, из стальных труб, концы которых должны выступать на 20 - 50 мм из пересекаемой конструкции.
Длину футляров, пересекающих стены и перегородки, допускается принимать равной толщине пересекаемой стены или перегородки. Зазор между трубопроводами и футлярами должен быть не менее 10 - 20 мм и тщательно уплотнен негорючим материалом, допускающим перемещение трубопровода вдоль его продольной оси.
5.8. В строительных сооружениях, конструкциях и элементах зданий должны быть установлены закладные части для крепления трубопроводов и оставлены отверстия в стенах, перегородках и перекрытиях для прокладки трубопроводов.
Кронштейны, опоры и подвески устанавливают после разбивки оси трубопровода и определения мест их крепления.
5.9. Монтаж пластмассовых трубопроводов следует выполнять на заранее установленных опорах, кронштейнах, подвесках. При этом должны быть выдержаны предусмотренные проектом уклоны или уклоны в пределах 0,002 - 0,005 на 1 м трубопровода в сторону движения жидкости.
Трубопроводы не должны примыкать вплотную к поверхности строительных конструкций. Расстояние в свету между трубами и строительными конструкциями должно быть не менее 20 мм.
5.10. Наружные (межцеховые) трубопроводы значительной протяженности рекомендуется укладывать на сплошном основании.
Горизонтальные участки внутрицеховых трубопроводов, расположенные в местах, где температура вещества или окружающей среды не превышает 30 °С, рекомендуется производить на отдельно стоящих опорах, подвесках, скобах и кронштейнах, а при указанных температурах выше 30 °С - на сплошном основании.
5.11. При конструировании трубопроводов следует полностью использовать компенсирующую способность элементов трубопроводов. Это достигается выбором рациональной схемы прокладки и правильным размещением неподвижных креплений, делящих трубопроводы на участки, температурная деформация которых происходит независимо один от другого и воспринимается поворотами трубопровода (рис. 23).
Рис. 23. Примеры рациональной расстановки неподвижных креплений
5.12. Минимальное расстояние от осей отводов или тройников до креплений на трубопроводе (рис. 24) следует принимать в зависимости от материала труб, их диаметра и величины удлинения по графикам, приведенным на рис. 25. Указанные графики можно использовать также для расчета П-образного компенсатора (см. рис. 24), прокладки труб в шахтах или при установке арматуры на трубопроводе (рис. 26).
Рис. 24. Изогнутые участки трубопровода, предназначенные для компенсации температурных изменений длин труб
а - гнутый отвод; б - П-образный компенсатор
Рис. 25. Минимальное расстояние от неподвижного крепления до отвода или тройника на участке трубопровода, предназначенного для компенсации температурных изменений труб:
а - из ПНД; б - из ПВД; в - из ПП; г - из ПВХ
Рис. 26. Прокладка пластмассовых труб:
а - в шахте; б - по стене с установкой водоразборного крана
5.13. В необходимых случаях компенсирующая способность трубопроводов может быть повышена за счет введения дополнительных поворотов, спусков и подъемов, изменяющих высоту прокладки, петлеобразных компенсаторов или съемных вставок к оборудованию (рис. 27).

Рис. 27. Способы повышения компенсирующей способности трубопроводов за счет введения
а - дополнительных отводов, или петлеобразного компенсатора; б - съемных вставок
5.14. На прямых участках трубопровода из ПВХ значительной протяженности должны устанавливаться П-образные или лирообразные компенсаторы (рис. 28).
Компенсация линейных удлинений труб из полиэтилена и полипропилена может обеспечиваться продольным изгибом при прокладке их в виде «змейки» на сплошной опоре, ширина которой должна допускать возможность изгиба трубопровода при перепаде температур.
При условиях технологического процесса или гидравлики, когда трубопровод должен быть прямым, на нем устанавливают сильфонные фторопластовые компенсаторы.
Рис. 28. Компенсаторы для трубопроводов из ПВХ:
а - лирообразный; б - П-образный
5.15. При прокладке труб малых диаметров (до 63 мм) на сплошном основании следует применять перфорированные профили, используемые для монтажа трубных и электрических проводок, в том числе для систем контроля и автоматизации: перфорированные лотки, полосы и т.д. В обоснованных случаях, особенно при прокладке труб, разматываемых из бухт или с катушек в качестве сплошной опоры, применяют пластмассовые трубы большего диаметра.
Сплошные основания для труб большого диаметра могут быть выполнены в виде желоба или сплошного основания из листовой стали или металлопласта, а также с использованием уголков и швеллеров стальных гнутых или прокатных.
5.16. Сплошное основание крепится к строительным конструкциям или оборудованию с помощью кронштейнов и подвесок. Конструкция этого основания должна обеспечивать возможность самокомпенсации трубопроводов в местах поворота, присоединения ответвлений и т.п.
5.17. Выбор сечения сплошного основания (рис. 29) при прокладке нескольких трубопроводов производится в зависимости от суммарной массы 1 м трубопроводов по табл. 27 при расстоянии между опорами или подвесками, равном 6 м. При расстоянии между опорами или подвесками 3 м выбор сечения сплошного основания производится по табл. 27 с учетом уменьшения действующей нагрузки в 8 раз. Ширина сплошного основания выбирается в соответствии с количеством трубопроводов и требованиями п. 5.14.
Рис. 29. К выбору сечения уголков под сплошное основание
Таблица 27
|
Нагрузка q, кг/м |
Сечение уголка B ´ B ´ d, мм, при уклоне трубопровода |
|
||
|
i = 1/100 |
i = 1/125 |
i = 1/250 |
|
|
|
1 2 3 4 5 |
63 ´ 40 ´ 5 |
63 ´ 40 ´ 5 |
90 ´ 56 ´ 5,5 |
|
|
75 ´ 50 ´ 5 |
||||
|
110 ´ 70 ´ 6,5 |
||||
|
10 15 |
75 ´ 50 ´ 5 |
|||
|
90 ´ 56 ´ 5,5 |
||||
|
20 25 30 |
90 ´ 56 ´ 5,5 |
|||
|
100 ´ 63 ´ 6 |
125 ´ 80 ´ 7 |
|||
|
40 50 |
100 ´ 63 ´ 6 |
|||
|
125 ´ 80 ´ 7 |
140 ´ 90 ´ 8 |
|||
|
75 100 125 150 |
125 ´ 80 ´ 7 |
|||
|
160 ´ 100 ´ 9 |
||||
|
140 ´ 90 ´ 8 |
|
|||
|
200 250 |
140 ´ 90 ´ 8 |
160 ´ 100 ´ 9 |
200 ´ 125 ´ 12 |
|
|
300 350 400 |
160 ´ 100 ´ 9 |
|||
|
180 ´ 110 ´ 10 |
||||
|
200 ´ 125 ´ 14 |
||||
|
450 500 |
180 ´ 110 ´ 10 |
|||
|
200 ´ 125 ´ 16 |
|
|||
5.18. В местах установки разъемных соединений или ответвлений труб, пересекающихся со сплошным основанием, в нем должны быть предусмотрены разрывы. В местах разрыва устанавливаются дополнительные крепления. Расположение мест стыков сплошного основания должно определяться с учетом условий прокладки.
5.19. Расстояния между креплениями пластмассовых трубопроводов, прокладываемых горизонтально на отдельных опорах, следует принимать в соответствии с графиками, приведенными на рис. 30 - 33.
Для труб из ПНД, ПВД и ПП типов С, СЛ и Л расстояния между креплениями следует уменьшать путем умножения величин, полученных по графикам на рис. 30 - 32, на коэффициенты соответственно 0,9; 0,8 и 0,7. Для труб из ПВХ типа ОТ расстояния между креплениями следует увеличивать путем умножения величин, полученных по графику на рис. 33, на коэффициент 1,1.
Для вертикальных трубопроводов расстояния между креплениями, полученные для горизонтальных участков, необходимо увеличивать на 30 %.
Графики на рис. 30 - 33 получены при транспортировании по трубам воды. При транспортировании веществ, плотность которых выше 1 г/см3, расстояния между креплениями следует уменьшать путем умножения на коэффициент Kр в соответствии с рис. 34.
5.20. Расстояния между креплениями пластмассовых трубопроводов, лежащих на сплошном основании, могут превышать значения, приведенные на рис. 30 - 33, в 2 - 3 раза.
5.21. Арматура, устанавливаемая на пластмассовых трубопроводах, должна иметь самостоятельное крепление к строительным конструкциям, оборудованию или кронштейнам. Опора для крепления арматуры изготовляется гнутьем из стального листа или резкой стандартного уголка и соединяется с ее фланцем болтами, а сама опора крепится к конструкциям болтами или сваркой (рис. 35).
Рис. 30. Расстояния между креплениями на горизонтальных участках трубопровода из ПНД типа Т
Рис. 31. Расстояния между креплениями на горизонтальных участках трубопровода из ПВД типа Т
Рис. 32. Расстояния между креплениями на горизонтальных участках трубопровода из ПП типа Т
Рис. 33. Расстояния между креплениями на горизонтальных участках трубопровода из ПВХ типов Л, С и Т
Рис. 34. Поправочный коэффициент при определении расстояния между креплениями на плотность вещества, транспортируемого по трубопроводу
Рис. 35. Крепление арматуры с помощью опоры для труб диаметром:
а - до 63; б - свыше 63
5.22. Крепления разделяются на подвижные и неподвижные. Подвижные крепления предназначены для перемещения в них труб вдоль оси, а неподвижные - для исключения этого перемещения.
5.23. Подвижные крепления получают путем установки пластмассовой трубы с зазором 2 - 3 мм в скобе, изготовленной из металлического прутка, или хомута, изготовленного гнутьем или штамповкой из листа (рис. 36).
При этом заусенцы, острые кромки, забоины и задиры на внутренней поверхности скоб или хомутов не допускаются. Хомуты должны иметь загнутые наружу кромки.
При использовании хомутов без загнутых наружу кромок между ними и поверхностью пластмассовой трубы следует устанавливать свободно (без натяжения) прокладку из полиэтиленовой ленты с утолщениями по кромкам, например, в соответствии с ГОСТ 22689-77. При этом толщина хомута должна быть меньше ширины ленты на величину утолщений. Во избежание повреждения пластмассовой трубы установка ленты из поливинилхлоридного пластика запрещается.
5.24. Неподвижные крепления получают путем установки с двух сторон подвижного хомута накладок из труб ПВХ, приклеиваемых к трубам или соединительных деталей, преимущественно муфт, из полиэтилена, привариваемых к трубам из полиэтилена (рис. 37).
Рис. 36. Подвижные крепления пластмассовых труб с применением:
а - скобы; б - хомутов; 1 - скоба; 2 - прокладка из резины; 3 - тяга; 4 - хомут; 5 - настил; 6 - уголок
Рис. 37. Неподвижные крепления пластмассовых труб:
а - с применением двух муфт; б - с двумя накладками; в - стяжка накладок, приклеиваемых к трубе из ПВХ; г - хомут с резиновой прокладкой; д - опора к фланцевому соединению
В качестве неподвижной опоры следует применять также фланцевое соединение, закрепляемое опорой к строительной конструкции или соединительную деталь на трубопроводе, с двух сторон которой располагают опоры.
5.25. Для труб из полиэтилена и полипропилена на участке трубопровода небольшой протяженности (с 5 - 7 креплениями) в качестве неподвижного крепления можно использовать подвижную опору, между внутренней поверхностью которой и наружной поверхностью трубы устанавливают резиновую прокладку, шириной на 10 мм превышающей ширину опоры.
Резиновая прокладка должна сжиматься хомутом с таким усилием, чтобы радиальная деформация не превышала для трубы из ПП - 3,5, ПНД - 4, ПВД - 6 и ПВХ - 0,8 %.
Крепления с резиновыми прокладками можно использовать также для трубопроводов из полиэтилена и ПП в случаях, когда температурные деформации трубопровода компенсируются изменением его продольного изгиба.
5.26. Для крепления вертикальных участков трубопровода опоры устанавливают под соединительной деталью на трубе или под накладкой из ПВХ, приклеиваемой к трубе из ПВХ (рис. 38). В качестве крепления вертикального участка следует применять также фланцевое соединение, закрепляемое опорой к строительной конструкции. Для труб из полиэтилена и полипропилена допускается использовать также опоры с резиновыми прокладками.

Рис. 38. Крепления вертикальных участков трубопроводов:
а - подвижным креплением; б - неподвижным креплением; в - при групповой прокладке трубопроводов хомутами
5.27. Конструкции опор и подвесок пластмассовых трубопроводов изображены на рис. 39 и 40.
Рис. 39. Опоры и подвески по ОСТ 36-17-77:
а - опора консольная; б - опора консольная со сплошным основанием; в - подвеска с одной тягой; г - подвеска со сплошным основанием; д - опора для вертикального трубопровода; 1 - упор; 2 - кронштейн; 3 - консоль; 4 - хомут; 5 - стойка
Рис. 40. Опоры и подвески по ОСТ 95-761-79:
а - короб для защиты труб; б - короб гнутый из листовой стали; в - короб с защитной крышкой; г - короб из двух половин со спутником; д - короб с соединительными хомутами; е - опора с хомутами и болтом; ж - опора для прокладки труб через перекрытия; з - опора для прокладки труб через стену; и - подвеска для фланцевых соединений; к - подвеска с одним коробом; л - подвеска с двумя гнутыми коробами; м - подвеска с двумя хомутами; н - подвеска групповая; о - подвеска с хомутами и опорной балкой; п - подвеска с открытым коробом; р - подвеска с закрытым коробом
5.28. На поверхности опор и подвесок не допускаются забоины, трещины, закаты, задиры, а также раковины и брызги металла от сварки и резки.
Обработанные детали опор и подвесок не должны иметь заусенцев. Острые кромки деталей должны быть притуплены. Радиус притупления должен быть не менее 1 мм.
Отверстия в деталях опор и подвесок выполняются сверлением или пробивкой. При изготовлении деталей опор и подвесок штамповкой радиус изгиба этих деталей должен быть не менее толщины металла.
5.29. Поверхности всех деталей опор и подвесок, изготовленных из стали за исключением резьбовых элементов, должны иметь антикоррозионное покрытие, оговоренное проектом в зависимости от условий эксплуатации. Перед окраской детали должны быть очищены от ржавчины и обезжирены.
5.30. Крепежные детали должны соответствовать: болты - ГОСТ 7798-70, гайки - ГОСТ 5915-70, шайбы - ГОСТ 11371-68. Механические свойства и рекомендуемые марки материала болтов и гаек должны соответствовать требованиям ГОСТ 1759-70.
6.1. Напорные трубопроводы из пластмассовых труб, укладываемых в грунт, должны быть рассчитаны на воздействие внутреннего давления и на совместное воздействие внешней приведенной нагрузки Pпр от давления грунта и временных нагрузок, атмосферного давления при образовании в трубопроводе вакуума Pвак и внешнего гидростатического давления Pг.в.
Безнапорные трубопроводы из этих труб следует рассчитывать на воздействие внешней приведенной нагрузки Pпр и внешнего гидростатического давления Pг.в.
В зависимости от условий работы трубопровода величину расчетного сопротивления материала труб следует снижать путем умножения на коэффициент Kу условий прокладки подземного трубопровода, принимаемый равным 0,8 - для трубопроводов, прокладываемых в местах, труднодоступных для рытья траншей в случае его повреждения; 0,9 - для трубопроводов, прокладываемых под усовершенствованными покрытиями; 1,0 - для остальных трубопроводов.
6.2. Определение необходимой несущей способности труб при совместном воздействии приведенной внешней нагрузки Pпр, атмосферного давления при образовании в трубопроводе вакуума Pвак и внешнего гидростатического давления Pг.в должно производиться по условию устойчивости круглой формы поперечного сечения труб, и по предельной допустимой величине относительного укорочения вертикального диаметра.
6.3. Определение необходимой несущей способности труб по условию устойчивости круглой формы поперечного сечения надлежит производить для напорных трубопроводов по формуле
Pкр ≥ 2(Pпр/100d + Pвак + Pг.в), (10)
а для безнапорных трубопроводов по формуле
где Pкр - предельная величина внешнего равномерного радиального давления, МПа (кгс/см2), которое труба способна выдержать без потери устойчивости круглой формы поперечного сечения;
Pпр - расчетная внешняя приведенная нагрузка Н/м (кгс/см);
Pвак - величина возможного вакуума на расчетном участке трубопровода, МПа (кгс/см2); при отсутствии специального обоснования принимается равной 0,1 МПа;
Pг.в - внешнее гидростатическое давление грунтовых вод на трубопровод, МПа (кгс/см2), определяемое по формуле
В формуле (11) γв - плотность воды, с учетом растворенных в ней солей, Н/м3 (кгс/см3); Hг.в - высота столба грунтовой воды над верхом трубопровода, м/см.
За критическую величину предельного внешнего равномерного радиального давления следует принимать меньшее из значений, вычисленных по формулам:
где Pгр - параметр, характеризующий жесткость засыпки, МПа (кгс/см2), рассчитываемый по соотношению
Pл - параметр, характеризующий жесткость трубопровода, МПа (кгс/см2), принимаемый в соответствии с данными разд. 2 настоящего Пособия;
Eгр - модуль деформации грунта засыпки, принимаемый согласно данным табл. 28.
Таблица 28
|
Наименование грунта |
Объемная масса грунта, т/м3 |
Модуль деформации грунта засыпки Eгр, МПа |
|||
|
Степень уплотнения грунта |
|||||
|
нормальная |
повышенная |
плотная при намывке |
|||
|
Г-I |
Пески гравелистые, крупные и средней крупности |
1,7 |
8 |
16 |
26 |
|
г-II |
Пески мелкие |
1,75 |
6 |
12 |
18 |
|
г-III |
Пески пылеватые, супеси |
1,8 |
5 |
7,5 |
10 |
|
Г-iv |
Суглинки полутвердые, тугомягкие и текучепластичные |
1,8 |
3,5 |
5,5 |
8 |
|
Г-v |
Супеси и суглинки твердые |
1,85 |
2,5 |
5 |
7,5 |
|
Г-VI |
Глины |
1,9 |
1,2 |
2,5 |
3,5 |
6.4. Несущую способность подземного трубопровода по условию предельно допустимой величины овализации поперечного сечения трубы (укорочения вертикального диаметра) следует определять по формуле
(16)
где εφ - относительная деформация вертикального диаметра трубы, %;
Pпр - расчетная внешняя приведенная нагрузка на трубопровод, Н/м (кгс/см);
d - наружный диаметр трубопровода, м (см);
ς - коэффициент, учитывающий распределение нагрузки и опорной реакции, который следует принимать: при укладке трубопровода на плоское основание - 1,3, при укладке на спрофилированное основание - 1,2;
θ - коэффициент, учитывающий совместное действие отпора грунта и внутреннего (внешнего) давления, вычисляемый по формуле
где εφ - предельно допустимая величина овализации поперечного сечения трубы, %, принимаемая для труб из ПНД и ПВД - 5 %, ПП - 4 %, ПВХ - 3,5 %.
В формуле (18) P - внутреннее давление транспортируемого вещества (считается положительным) или внешнее равномерное радиальное давление (считается отрицательным), которое может быть атмосферным (при образовании в трубе вакуума) или гидростатическим (при прокладке трубопровода ниже уровня воды) или давлением грунта.
6.5. Внешнюю приведенную нагрузку трубопровода следует определять с учетом размеров поперечного сечения труб, траншеи и насыпи; условий укладки труб, траншеи и насыпи; условий укладки труб; вида грунта основания и засыпки или насыпи трубопровода; степени уплотнения грунта засыпки (насыпи); глубины заложения труб; вида и величины временной нагрузки, действующей на поверхности грунта или на дорожной одежде (покрытии) над трубопроводом.
6.6. При определении нагрузок на подземные трубопроводы следует иметь в виду:
условия укладки труб: в траншею, в насыпь и в узкую прорезь;
способы опирания труб на основание (в траншее или в насыпи); на плоское основание с подбивкой пазух, на грунтовую выкружку и на бетонный фундамент;
степени уплотнения грунта засыпки - нормальную, повышенную и плотную, достигаемую намывом (см. табл. 28);
глубины заложения, определяемые высотой засыпки грунта над верхом трубопровода.
6.7. Продольный профиль основания должен соответствовать проектному уклону трубопровода и обеспечивать плотное прилегание трубопровода к основанию по всей его длине.
Способ опирания труб на основание необходимо принимать в зависимости от несущей способности грунтов основания и применяемых труб и от величин нагрузок, исходя из указаний главы СНиП на основания зданий и сооружений.
В скальных и крупнообломочных грунтах или в песчаных и глинистых грунтах, содержащих включения крупнообломочных грунтов, а также при случайных переборах грунта основания, следует предусматривать выравнивание основания песчаным грунтом или местным грунтом с тщательным уплотнением, устраивая подушку под трубопроводом из указанного грунта толщиной не менее 10 см над выступающими неровностями основания.
При засыпке трубопровода каменистым грунтом надлежит производить предварительную засыпку трубопровода мягким грунтом на толщину 20 см выше верхней образующей или применять специальную защиту трубопровода и его изоляции от повреждений.
6.8. В спрофилированном по длине трубопровода грунтовом основании должна быть предусмотрена выполняемая механизированным способом выкружка по форме труб с углом охвата 2α = 90° или 2α = 120°.
Лоток бетонного фундамента трубопровода должен быть глубиной не менее 0,25d; толщина лотка под низом трубы также должна быть не менее 0,25d, но не менее 15 см (где d - наружный диаметр трубы).
6.9. Величина нагрузки на подземные трубопроводы зависит от степени уплотнения (трамбования) грунта, являющегося траншейной засыпкой, или укладываемого в насыпь.
Для достижения нормальной степени уплотнения, трамбование засыпки выполняется слоями толщиной не более 20 см.
Для достижения повышенной степени уплотнения грунта засыпки толщина трамбуемых слоев засыпки назначается из условия обеспечения объемного веса скелета грунта засыпки не менее тс/м3: 1,5 - при засыпке песчаными грунтами и супесями; 1,6 - при засыпке суглинками и глинами.
Наиболее высокая степень уплотнения грунта засыпки достигается гидравлическим намывом, который применяется при укладке трубопроводов в намываемых территориях и насыпях. При этом объемный вес скелета песчаного и супесчаного грунта должен быть не менее 1,6 тс/м3.
Для повышенной и высокой степеней уплотнения грунта засыпки в проекте должен быть предусмотрен контроль объемной массы грунта засыпки на основании исследований грунта методами, установленными в главе СНиП по правилам производства и приемки работ на земляных сооружениях. Контрольные пробы грунта для исследований должны отбираться с обеих сторон трубопровода через каждые 100 м по его длине.
Таблица 29
|
Коэффициент приведения β для нагрузок от |
||
|
давления грунта |
массы трубопровода и транспортируемого вещества |
|
|
1. На плоское основание из минерального грунта с подбивкой засыпки под круглые трубы |
0,75 |
0,6 |
|
2. То же, на плотное спрофилированное основание выкружкой с углом охвата трубы 2α: |
|
|
|
75° |
0,55 |
0,375 |
|
90° |
0,50 |
0,325 |
|
120° |
0,45 |
0,25 |
|
3. На железобетонный фундамент с углом охвата трубы 2α = 120° |
0,35 |
0,2 |
Таблица 30
|
Коэффициент η при степени уплотнения засыпки |
||||||
|
нормальной |
повышенной |
плотной с помощью намывки |
||||
|
в траншее |
в насыпи |
в траншее |
в насыпи |
в траншее |
в насыпи |
|
|
Г-I, Г-II |
0,95 |
0,86 |
0,86 |
0,78 |
0,78 |
0,75 |
|
г-III, Г-iv, Г-v |
0,97 |
0,9 |
0,88 |
0,82 |
0,82 |
0,78 |
|
Г-VI |
1,0 |
0,95 |
0,9 |
0,86 |
- |
- |
При укладке трубопроводов в траншее уплотнение грунта засыпки должно производиться до верха трубопровода по всей ширине траншеи, а при укладке в насыпи - на ширине не менее двух диаметров трубопровода с каждой стороны.
6.10. Внешняя приведенная нагрузка определяется по формуле
где Q - равнодействующая расчетных вертикальных нагрузок;
β - коэффициент приведения, принимаемый по данным табл. 29;
η - коэффициент, учитывающий боковое давление грунта на трубопровод и принимаемый по табл. 30.
6.11. Равнодействующая нормативной вертикальной нагрузки на единицу длины трубопровода от давления грунта Qнв определяется по формулам:
при укладке в траншее
» » » насыпи
» » » прорези
При этом, если в формуле (20) произведение BKтрψ окажется больше, чем произведение dKн в формуле (21), определенные для одних и тех же грунтов основания и способов опирания трубопровода, то и при укладке труб в траншее вместо формулы (20) следует пользоваться формулой (21).
В формулах (20) - (22) приняты следующие обозначения:
γнгр - нормативное значение объемной массы грунта засыпки, тс/м3, принимаемое по табл. 28;
H - глубина заложения трубопровода (считая от верха трубы), м;
d - наружный диаметр трубопровода, м;
B - ширина траншеи на уровне верха трубопровода, м;
Kтр - коэффициент, зависящий от отношения H/Bс.р и от категории грунта засыпки, принимаемый в соответствии с табл. 31;
Bс.р - ширина траншеи на уровне середины расстояния между поверхностью земли и верхом трубопровода;
B0 - ширина прорези;
ψ - коэффициент, учитывающий разгрузку трубы грунтом, находящимся в пазухах между стенками траншеи и трубопроводом, определяемым по формуле (23), причем если коэффициент окажется меньше величины d, B, то в формуле (19) принимается ψ = dн/B.
(23)
Kн - коэффициент концентрации давления грунта в насыпи, зависящий от вида грунта основания и от способа опирания трубопровода.
Таблица 31
|
H/Bс.р |
Коэффициент Kтр при категории грунтов засыпки (по табл.) |
H/Bс.р |
Коэффициент Kтр при категории грунтов засыпки (по табл.) |
||||
|
Г-I, Г-II |
Г-III, Г-IV, Г-V |
Г-VI |
Г-I, Г-II |
Г-III, Г-IV, Г-V |
Г-VI |
||
|
0 |
1,000 |
1,000 |
1,000 |
1,5 |
0,787 |
0,816 |
0,842 |
|
0,1 |
0,981 |
0,984 |
0,968 |
1,6 |
0,778 |
0,809 |
0,835 |
|
0,2 |
0,962 |
0,968 |
0,974 |
1,7 |
0,765 |
0,790 |
0,815 |
|
0,3 |
0,944 |
0,952 |
0,961 |
1,8 |
0,750 |
0,775 |
0,800 |
|
0,4 |
0,928 |
0,937 |
0,948 |
1,9 |
0,735 |
0,765 |
0,790 |
|
0,5 |
0,910 |
0,923 |
0,936 |
2 |
0,725 |
0,750 |
0,780 |
|
0,6 |
0,896 |
0,910 |
0,925 |
3 |
0,630 |
0,660 |
0,690 |
|
0,7 |
0,861 |
0,896 |
0,913 |
4 |
0,555 |
0,585 |
0,620 |
|
0,8 |
0,867 |
0,883 |
0,902 |
5 |
0,490 |
0,520 |
0,560 |
|
0,9 |
0,852 |
0,872 |
0,891 |
6 |
0,435 |
0,470 |
0,505 |
|
1,0 |
0,839 |
0,862 |
0,882 |
7 |
0,390 |
0,425 |
0,460 |
|
1,1 |
0,826 |
0,849 |
0,873 |
8 |
0,350 |
0,385 |
0,425 |
|
1,2 |
0,816 |
0,840 |
0,865 |
9 |
0,315 |
0,350 |
0,390 |
|
1,3 |
0,806 |
0,831 |
0,857 |
10 |
0,290 |
0,320 |
0,360 |
|
1,4 |
0,796 |
0,823 |
0,849 |
15 |
0,195 |
0,220 |
0,255 |
Коэффициент Kн определяется по формуле (24), причем если окажется, что Pл ≤ Pтр, то в формуле (21) принимается Kн = 1
Kпр - коэффициент, принимаемый в зависимости от величины отношения h0/Dн, где h0 - величина заглубления в прорезь верха трубопровода относительно основания насыпи или дна траншеи:
При h0D0 Kпр равно
0 1
0,1 0,83
0,3 0,71
0,5 0,63
0,7 0,57
1,0 0,52
Pгр - параметр, характеризующий жесткость грунта засыпки, МПа, определяемый по формуле (15).
6.12. Нормативные временные нагрузки от подвижных транспортных средств следует принимать:
для трубопроводов различного назначения всех диаметров, прокладываемых под автомобильными дорогами, - нагрузку от колонн автомобилей или от колесного транспорта НК-80, в зависимости от того, какая из этих нагрузок оказывает большее силовое воздействие на трубопровод;
для подземных технологических трубопроводов, прокладываемых в местах, где возможно нерегулярное движение автомобильного транспорта, - нагрузку от колонн автомобилей Н-18 или от гусеничного транспорта НГ-60 в зависимости от того, какая из этих нагрузок вызывает большее воздействие на трубопровод;
для трубопроводов различного назначения, прокладываемых в местах, где движение автомобильного транспорта невозможно - равномерно распределенную нагрузку с интенсивностью 0,5 тс/м2.
6.13. Величину нормативной временной нагрузки от подвижных транспортных средств, исходя из конкретных условий работы проектируемого трубопровода, при соответствующем обосновании допускается увеличивать или уменьшать.
Равнодействующая нормативной вертикальной нагрузки на трубопровод от транспорта определяется по формулам:
где μ - динамический коэффициент подвижной нагрузки, зависящий от высоты H засыпки вместе с покрытием.
При H, м μ равно:
0,5 1,17
0,6 1,14
0,7 1,10
0,8 1,07
0,9 1,04
1,0 1,00
Kн - коэффициент, определяемый согласно п. 6.11;
qнтр - нормативное равномерно распределенное давление от автомобильного и гусеничного транспорта, передаваемое на трубопровод через грунт, определяемое для нагрузок Н-18, Н-30, НГ-60 и НК-80 по рис. 41 в зависимости от приведенной глубины заложения трубопровода, которая определяется по формуле
(26)
где H - глубина заложения трубопровода, считая от его верха до верха покрытия, м;
hпокр - толщина слоя покрытия (дорожной одежды), м;
Eпокр - модуль деформации покрытия, кгс/см2, определяемый в зависимости от его конструкции и материала покрытия;
Eгр - модуль деформации грунта засыпки, кгс/см2, определяемый в соответствии с табл. 28.
Для покрытия, состоящего из нескольких разнородных слоев, модуль деформации определяется по формуле
(27)
где h1, h2, …, hn - толщина слоев;
E1, E2, …, En - соответствующие модули деформации;
n - число слоев.
6.14. Расчетные нагрузки получаются путем умножения нормативных нагрузок на коэффициент перегрузки n, для которого принимаются следующие значения: для вертикального давления от автомобильной нагрузки 1,4; от колесной и гусеничной нагрузки 1,1.
6.15. Равнодействующая нормативной вертикальной нагрузки Qнв на трубопроводы от нормативной равномерно распределенной нагрузки интенсивностью qнв, т/м2, действующей по площади, размеры которой в три и более раз превышают наружный диаметр трубопровода, определяются по формуле
где Kн - обозначения те же, что и в формуле (24). Для получения расчетной нагрузки нормативную нагрузку умножают на коэффициент перегрузки n = 1,4.
6.16. Для безнапорных трубопроводов из пластмассовых труб максимальная глубина заложения в грунт (при гусеничной нагрузке 60 т) не должна превышать величин, указанных в табл. 32.

Рис. 41. Зависимость нормативного давления от транспорта qнтр от глубины заложения трубопровода Hпр, при диаметре труб 110 мм (сплошные линии), при диаметре труб 50 мм (пунктирные линии) и при диаметре труб 1200 мм (штрихпунктирных линий):
а - от нагрузок при Hпр от 2 до 9 м; б - от нагрузок НГ-60 при Hпр от 0,5 до 2 м; в - от нагрузок Н-18 и НК-80 при Hпр от 0,5 до 2 м; г - от нагрузки Н-30 при Hпр от 0,5 до 2 м
Таблица 32
|
Тип |
Наружный диаметр, мм |
Максимальная глубина заложения, м, при степени уплотнения грунта |
|||
|
в песках 1,6 т/м3 |
в суглинках и супесях 1,7 т/м3 |
в глинах 2 т/м3 |
|||
|
пвд |
сл |
160 |
8Н |
8Н |
8Н |
|
пнд |
л |
900 - 1200 |
5,2Н |
- |
2,3Н |
|
900 - 1200 |
8П |
8П |
8П |
||
|
пнд |
сл |
180 и 200 |
8Н |
2,5Н |
- |
|
225 |
8Н |
3,5Н |
- |
||
|
250 |
8Н |
4Н |
- |
||
|
280 и 315 |
8Н |
4,5Н |
- |
||
|
355 и 400 |
6Н |
6П |
5П |
||
|
450 |
6Н |
6П |
4П |
||
|
500 |
6Н |
6П |
3П |
||
|
560 |
6Н |
6П |
2,2П |
||
|
630 |
6Н |
6П |
- |
||
|
710 - 1200 |
6,8Н |
- |
4Н |
||
|
710 - 1200 |
8П |
3П |
8П |
||
|
с |
160 - 225 |
8Н |
8Н |
8Н |
|
|
250 |
8Н |
8Н |
5П |
||
|
280 |
8Н |
- |
1,5П |
||
|
315 - 400 |
8Н |
8Н |
8П |
||
|
630 - 800 |
8Н |
- |
5,2Н |
||
|
630 - 800 |
8П |
8П |
8П |
||
|
ПП |
л |
160 |
8Н |
4П |
- |
|
180 - 200 |
8Н |
8П |
- |
||
|
225 |
8Н |
6П |
- |
||
|
250 |
8П |
5П |
- |
||
|
280 |
8Н |
4П |
- |
||
|
С |
160, 180, 200 |
8Н |
8П |
8П |
|
|
С |
225 и 250 |
8Н |
4П |
- |
|
|
280 |
8Н |
8П |
8П |
||
|
пвх |
СЛ |
160 и 180 |
8Н |
8Н |
8Н |
|
200, 225, 250, 315 |
8Н |
8Н |
1,5П |
||
|
С |
160 - 315 |
8Н |
8Н |
8П |
|
|
Примечание. В таблице даны условные обозначения степени уплотнения: Н - нормальная, уплотнение грунта вручную (коэффициент уплотнения не менее 0,92); П - повышенная, механическое уплотнение грунта (коэффициент уплотнения 0,97). |
|||||
7.1. При расчете тепловой изоляции для трубопроводов следует руководствоваться требованиями главы СНиП на проектирование тепловых сетей, Инструкции по проектированию тепловой изоляции оборудования и трубопроводов промышленных предприятий.
7.2. Конструкцию и материал тепловой изоляции следует проектировать с учетом несущей способности трубопроводов и деформации поперечного сечения труб.
7.3. Конструкцию тепловой изоляции следует проектировать:
для трубопроводов, прокладываемых на отдельно стоящих опорах и подвесках такую же, как и для стальных трубопроводов - по действующей нормативной документации и в соответствии с типовыми деталями тепловой изоляции промышленного оборудования и трубопроводов;
для одиночных трубопроводов, прокладываемых на сплошном основании, изготовленном в виде желоба из профильного металла: (уголков, швеллеров и т.д.) - в виде изоляции, покрывающей: трубопровод совместно с основанием;
для трубопроводов при их групповой прокладке на сплошном основании, изготовленном в виде сплошного настила - в виде изоляции, прикрепляемой к настилу (при этом настил не изолируется).
При групповой прокладке пластмассовых трубопроводов в обогреваемом коробе тепловая изоляция должна выполняться на стенках короба.
7.4. Толщина теплоизоляционного слоя должна определяться из следующих условий:
а) по заданному падению (или повышению) температуры веществ, транспортируемых в трубопроводах, последовательно по формулам:
(29)
где d0 - внутренний диаметр трубопровода, м;
dн - наружный диаметр трубопровода, м;
dиз - диаметр трубопровода с изоляцией, м;
tнт - температура вещества в начале трубопровода, °С;
tкт - температура вещества в конце трубопровода, °С;
t0 - температура окружающей среды, °С;
L - длина трубопровода, м;
λиз - теплопроводность (коэффициент теплопроводности) тепловой изоляции, Вт/(м×°С) [ккал/(м×ч×°С)];
λст - теплопроводность (коэффициент теплопроводности) стенки трубопровода, Вт/(м×°С) [ккал/(м×ч×°С)], принимается по табл. 3;
Cт - удельная теплоемкость вещества, кДж/кг×°С [ккал/(к×°С)] принимается по табл. 3;
G - часовой расход вещества, кг/ч;
αиз - коэффициент теплоотдачи от поверхности изоляции в окружающий воздух, Вт/(м2×°С) [ккал/(м2×ч×°С)], принимается по табл. 33;
Kп - коэффициент, учитывающий дополнительный тепловой поток (дополнительные потери тепла или холода) через опоры, подвески, фланцевые соединения и арматуру, принимается равным: при прокладке трубопровода на опорах или подвесках - 1,7, при прокладке одиночных трубопроводов совместно со сплошным основанием - 1,2; при прокладке трубопровода на сплошном основании - настиле - 2.
Таблица 33
|
Коэффициент теплоотдачи от поверхности изоляции в окружающий воздух αиз, Вт/(м2×°С) [ккал/(м2×ч×°С)] при расположении изолируемых объектов |
||||
|
для покровных слоев с малым коэффициентом излучения |
для покровных слоев с высоким коэффициентом излучения |
для покровных слоев с малым коэффициентом излучения |
для покровных слоев с высоким коэффициентом излучения |
|
|
Вертикальный с положительной температурой транспортируемого вещества |
7 (6) |
12 (10) |
35 (30) |
35 (30) |
|
Горизонтальный с положительной температурой транспортируемого вещества |
6 (5) |
11 (9) |
29 (25) |
29 (25) |
|
Трубопроводы с отрицательной температурой транспортируемого вещества |
6 (5) 5 (4)* |
11 (9) 7 (6)* |
29 (25) - |
29 (25) - |
|
* К покрытиям с малым коэффициентом излучения относятся кожухи из листов алюминия и алюминиевого сплава, а также окрашенные алюминиевой краской; к покрытиям с высоким коэффициентом излучения - стеклотекстолит, фольгоизол. |
||||
И затем,
где δиз - толщина теплоизоляционного слоя, м;
б) по заданному времени остановки движения жидкого вещества в трубопроводе, расположенном на открытом воздухе, в целях предотвращения аварийного замерзания вещества.
При этом расчет следует производить исходя из допустимости замерзания 25 % объема вещества, находящегося в трубопроводе, по формулам (30) и (31).
(31)
где Vт - объем транспортируемого вещества на 1 м длины трубопровода, м3;
ρт - плотность транспортируемого вещества, кг/м3;
Cт - удельная теплоемкость транспортируемого вещества, кДж/(кг×°С) [ккал/(кг×°С)];
Vст - объем стенки трубопровода на 1 м длины трубопровода, м3;
ρст - плотность стенки трубопровода, принимаемая по таблице 3, кг/м3;
Cст - удельная теплоемкость материала стенки, принимаемая по табл. 3, кДж/(кг×°С) [ккал/(кг×°С)];
tз - температура замерзания вещества, °С;
rз - скрытая теплота замерзания вещества, кДж/кг (ккал/кг);
z - продолжительность остановки движения вещества, ч;
3,6 - коэффициент для расчета.
Примечание. При расчете в единицах МКГСС из формулы следует исключить коэффициент 3,6;
в) в целях предотвращения конденсации влаги из окружающего воздуха на поверхности изоляции трубопроводов, транспортирующих вещества с отрицательными температурами, - по формулам (30) и (32).
(32)
где tт - температура транспортируемого вещества, °С;
tп - температура на поверхности изоляции, °С.
Расчетные значения перепада t0 - tп приведены в табл. 34;
Таблица 34
|
Расчетный перепад t0 - tп при относительной влажности окружающего воздуха, % |
||||
|
50 |
60 |
70 |
80 |
|
|
20 |
10,7 |
8,0 |
5,6 |
3,6 |
|
25 |
11,1 |
8,3 |
5,8 |
3,7 |
|
30 |
11,6 |
8,6 |
6,1 |
3,8 |
г) по нормированной линейной плотности теплового потока (нормированным потерям тепла или холода через теплоизоляцию). При этом расчет следует производить последовательно по формулам (30) и (33)
(33)
где q - линейная плотность теплового потока (допускаемые потери тепла (холода), Вт/м [ккал/(м×ч)], принимаемая:
для трубопроводов с положительными температурами по «Нормам тепловых потерь изолированными поверхностями оборудования и трубопроводов с положительными температурами»;
для трубопроводов с отрицательными температурами по таблицам 35 и 36.
dизd, λиз, t0, tт, λст - то же, что и в формуле (29) и (32).
Таблица 35
|
Нормы линейной плотности теплового потока для трубопроводов, транспортирующих вещества с температурой 20 °С и ниже (нормы потерь холода изолированными трубопроводами), Вт/м [ккал/(м×ч)] |
||||
|
Для трубопроводов, расположенных в помещениях со среднегодовой температурой окружающего воздуха 20 °С, при температуре холодоносителя, °С |
Для трубопроводов, расположенных на открытом воздухе со среднегодовой температурой от 0 до 10 °С, при температуре холодоносителя, °С |
|||
|
0 |
-15 |
0 |
-15 |
|
|
63 |
13 (11) |
16 (14) |
8 (7) |
13 (11) |
|
90 |
15 (13) |
20 (17) |
10 (9) |
16 (14) |
|
110 |
17 (15) |
23 (20) |
12 (10) |
19 (16) |
|
150 |
20 (17) |
26 (22) |
13 (11) |
21 (18) |
|
160 |
22 (19) |
28 (24) |
14 (12) |
22 (19) |
|
225 |
27 (23) |
35 (30) |
17 (15) |
27 (23) |
|
250 |
31 (27) |
41 (35) |
21 (18) |
31 (27) |
|
315 |
36 (31) |
46 (40) |
24 (21) |
36 (31) |
Примечания: 1. При расчетах по формулам (29), (31), (33) толщина тепловой изоляции, входящая в dиз в правой части формул, задается в пределах 0,04 - 0,05 м.
2. При изоляции одиночных трубопроводов совместно со сплошным основанием вместо величины d в формулах приводится величина dиз, вычисляемая из отношения
где U - наружный диаметр трубопровода совместно со сплошным основанием, м.
3. В формулах (29), (31) - (33) сопротивление теплоотдачи от продукта к стенке трубопровода не учитывается.
Таблица 36
|
Коэффициент пересчета нормированной плотности теплового потока (норм потерь холода изолированными трубопроводами, расположенными на открытом воздухе, для летних температур воздуха) |
||
|
Температура холодоносителя, °С |
||
|
0 |
-15 |
|
|
20 |
2,0 |
1,4 |
|
25 |
2,5 |
1,6 |
|
30 |
3,0 |
1,8 |
7.5. Толщина теплоизоляции, предусматриваемая на стенках отапливаемого короба, внутри которого располагаются несколько трубопроводов, определяется из уравнения теплового баланса, по которому тепло, выделяемое обогревающим теплопроводом и трубопроводами, температура которых выше расчетной температуры воздуха внутри короба, приравнивается теплу, отдаваемому коробом в окружающий воздух, а также теплу, поглощаемому трубопроводами с температурой ниже температуры воздуха внутри короба (если таковые имеются). При этом расчетная формула для указанного случая выводится в каждом конкретном случае прокладки трубопроводов в коробе.
7.6. Найденная расчетом толщина теплоизоляционного слоя округляется до значения, кратного 10 мм. Минимальная толщина теплоизоляционного слоя из уплотняющихся изделий принимается равной 30 мм.
7.7. Максимальная толщина теплоизоляционного слоя для трубопроводов не должна превышать значений, указанных в табл. 37.
Для трубопроводов, транспортирующих кристаллизующиеся, полимеризующиеся или замерзающие вещества, допускается принимать толщину теплоизоляционного слоя больше указанной в табл. 37.
7.8. Коэффициент уплотнения при монтаже волокнистых уплотняющихся материалов принимается для теплозвукоизоляционного материала марки АТМ-1 без склейки - 4, с оклейкой - 2; для пенополиуретана эластичного - 1,3.
Таблица 37
|
Толщина теплоизоляционного слоя, мм |
Наружный диаметр трубопровода, мм |
Толщина теплоизоляционного слоя, мм |
|
|
10 |
40 |
160 |
160 |
|
25 |
70 |
200 |
180 |
|
50 |
80 |
280 |
180 |
|
63 |
100 |
315 |
200 |
|
110 |
150 |
400 |
200 |
7.9. Материалы и изделия, применяемые для тепловой изоляции, должны выбираться по действующим стандартам и техническим условиям и иметь минимальную массу. Для теплоизоляционных изделий объемная масса с учетом уплотнения не должна быть более 75 кг/м3, а масса 1 м2 защитного покровного слоя не должна превышать 2 кг.
7.10. Материалы и изделия, применяемые для тепловой защиты трубопроводов, должны быть несгораемыми или трудносгораемыми. Для тепловой изоляции трубопроводов, транспортирующих активные окислители и расположенных в тех местах помещения, где окружающая среда их содержит, следует применять холсты из супертонкого штапельного волокна из горных пород, маты и вату из супертонкого стекловолокна без связующего СТВ и другие материалы, в которых содержание органических и горючих веществ не превышает 0,45 % по массе.
При выборе теплоизоляционных изделий и покровного слоя рекомендуется руководствоваться прил. 2 и 3.
8.1. Трубопроводы из ПНД, ПВД, ПП и ПВХ согласно «Правилам защиты от статического электричества в производствах химической, нефтехимической промышленности» по значениям удельных поверхностного и объемного электрического сопротивления (см. табл. 3) относятся к диэлектрическим.
8.2. При проектировании и эксплуатации таких трубопроводов должны выполняться мероприятия, приведенные в нижеследующих пунктах.
8.3. Металлические корпуса, детали, арматура, и защитные кожухи термоизоляции, выполненные из электропроводных материалов, должны быть заземлены. Не допускается наличия на трубопроводах электропроводных (металлических) частей и деталей, имеющих электрическое сопротивление относительно земли более 100 Ом.
8.4. Опоры трубопроводов должны быть изготовлены из электропроводных материалов и заземлены, либо иметь заземленные прокладки из электропроводных материалов в местах, где на них опираются трубопроводы.
8.5. Наружная поверхность трубопроводов, по которым транспортируются вещества и материалы с удельным объемным электрическим сопротивлением более 105 Ом×м, должна металлизироваться или окрашиваться электропроводными эмалями и лаками. При этом должен быть обеспечен электрический контакт между электропроводным слоем и заземленной металлической арматурой.
В качестве электропроводных покрытий возможно использование эмалей следующих марок: АС-588; ХС-928; ХС-973; ХВ-5235; ЭП-977; ХС-5141; АК-562; ХС-972; ХС-5132; КО-9143.
Вместо электропроводного покрытия допустимо обвивать трубопроводы металлической проволокой сечением не менее 4 мм2 с шагом намотки 100 - 150 мм, которая должна быть присоединена к заземленной металлической арматуре.
В случае прокладки трубопроводов диаметром до 200 мм на сплошном электропроводном (металлическом) основании или при бесканальной прокладке в грунте электропроводное покрытие наружной поверхности не является обязательным. При этом разрывы в сплошном основании (в свету) не должны превышать 200 мм.
8.6. Электропроводные покрытия (или обивка) наружных поверхностей, сплошные основания, отдельные электропроводные элементы и арматура трубопроводов должны представлять на всем протяжении непрерывную электрическую цепь, которая в пределах цеха (отделения, установки) должна быть присоединена через каждые 20 - 30 м, но не менее чем в двух точках.
8.7. При использовании трубопроводов для транспортирования жидких продуктов скорости не ограничиваются при исключении возможности образования взрывоопасных концентрацией паровоздушных смесей следующими способами:
температура жидкости ниже температурного диапазона взрываемости;
среда в технологическом оборудовании не содержит окислителей и находится под избыточным давлением;
технологическое оборудование заполнено инертным газом.
Во всех остальных случаях скорость движения по трубопроводам и истечения в аппараты (резервуары) устанавливается в каждом конкретном случае отдельно в зависимости от свойств жидкости, содержания примесей, диаметра трубопровода, температуры, способа подачи и т.д.
При этом в качестве заведомо безопасных следует принимать следующие значения скоростей транспортирования (при условии выполнения перечисленных в вышестоящих пунктах мероприятий) - для жидкости с удельным объемным электрическим сопротивлением:
менее 105 Ом×м - до 5 м/с
» 109 » - » - 2 »
Для труб с внутренним диаметром
до 30 мм - до 0,2 м/с
от 30 до 75 мм - » 0,4 м/с
» 80 » 100 » - » 0,8 »
более 100 » - » 0,8 »
При необходимости транспортирования жидкостей со скоростями, значения которых превосходят безопасные, следует применять специальные устройства для отвода заряда, рекомендованные, например, РТМ-6-28-008-78.
8.8. При пневмотранспорте гранулированных, порошкообразных полимерных материалов следует применять трубы из того же или близкого по составу полимерного материала (например, транспортирование гранулированного порошкообразного полиэтилена следует вести по полиэтиленовым трубам).
8.9. В системах пневмотранспорта, всюду где это возможно, подаваемый воздух должен быть увлажнен до такой степени, чтобы относительная влажность воздуха на выходе из системы составляла не менее 65 %.
8.10. Для снижения электризации в стенки пневмотранспортных трубопроводов из термопластов могут быть введены заземленные заостренные электроды (иглы). Иглы в количестве 20 - 30 шт. вводятся на конечном участке трубопровода (непосредственно перед входом его в бункер, аппарат) длиной 1 - 1,5 м таким образом, чтобы острие выступало над внутренней поверхностью стенки не более, чем на 1 мм. Участок трубопровода, на котором устанавливаются игольчатые электроды, не должен покрываться сплошным электропроводным слоем. При обмотке его проволокой игольчатые электроды должны быть соединены с ней.
8.11. При движении горючих газов и паров по трубам из полимерных материалов опасная электризация практически исключена при условии отсутствия в газовом потоке твердых и жидких частиц. Повышенную опасность вызывает электризация конденсата паров и газов в случае истечения их через неплотности в стыках трубопроводов при больших перепадах давления.
9.1. Выбрать тип труб из ПНД наружным диаметром 110 мм, транспортирующих соляную кислоту с концентрацией до 30 %, под давлением 0,25 МПа и при температуре 40 °С.
По рис. 2, а для труб типа Т при сроке службы 50 лет и температуре 40 °С максимальное давление 0,4 МПа.
Величина напряжения в материале стенок труб составляет
σ = p(d - S)/2S.
Толщина стенки трубы типа Т (см. табл. 11) равна 10 мм, отсюда σ = 0,4(110 - 10)/(2×10) = 2 МПа, т.е. величина напряжения не превышает значений величин, приведенных в табл. 17.
По таблице находим коэффициент химической стойкости по времени Kх.в = 0,35 и напряжению Kх.н = 0,7. Отсюда расчетный срок службы составляет 50×0,35 = 17,5 лет, а величина допускаемого давления Pраб = 0,4×0,7 = 0,28 МПа, т.е. выбор труб типа Т сделан правильно.
9.2. Определить допустимое рабочее давление трубы типа Т из ПВД, транспортирующей сточные жидкости с токсичными свойствами 3 класса опасности при постоянной температуре 35 °С. Срок службы трубопровода 25 лет.
По рис. 3, а для трубы типа Т и сроке службы 25 лет максимальное рабочее давление 0,65 МПа.
По табл. 5 коэффициент условий работы составляет 0,6, отсюда имеем величину рабочего давления Pраб = 0,65×0,6 = 0,39 МПа.
9.3. Выбрать тип труб из ПВХ, транспортирующих газообразный аммиак. при температуре 20 °С и давлении 0,38 МПа (3,8 кгс/см2). По таблице прил. 1 для указанной среды и температуры находим, что материал труб является химически относительно стойким. Отсюда по табл. 5 определяем коэффициент условий работы для трубы типа Т Kу = 0,4. Необходимо принять трубу типа Т, т.к. 1,0×0,4 = 0,4 МПа.
9.4. Определить тип труб из ПВД, по которым транспортируется вода с постоянным давлением 0,25 МПа с различными температурами 50 °С - 800 ч в году; 40 °С - 2000 ч году и 30 °С - 6000 ч в году. Срок службы трубопровода 50 лет.
Проведем расчет использования несущей способности труб, учитывая годовое использование ресурса при различных температурах, для труб разных типов, пользуясь данными рис. 3, а и б, которые сведены в табл. 38.
Таблица 38
|
Количество ч работы трубопровода в году |
Количество работы трубопровода в годах |
Срок службы труб, лет, при давлении 0,25 МПа и разных температурах в зависимости от типа |
||||
|
Т |
С |
Сл |
Л |
|||
|
50 |
800 |
4,5 |
50 |
10 |
5 |
1 |
|
40 |
2000 |
11,5 |
50 |
50 |
10 |
1 |
|
30 |
6000 |
34 |
50 |
50 |
50 |
10 |
Таблица 39
|
Количество ч работы трубопровода в году |
Количество работы трубопровода в годах |
Срок службы труб типа Т (см. рис. 2 а и б) |
|
|
8 |
500 |
0,6 |
> 1 |
|
7 |
1000 |
1,1 |
> 1 |
|
6 |
4000 |
4,6 |
10 |
Из таблицы следует, что для данных условий наиболее целесообразным является выбор труб типа СЛ. Трубы типа С и Т дают суммарный срок службы, превышающий заданный, а трубы типа Л - недостаточный срок службы (12 лет).
9.5. Определить тип труб из ПНД, по которым транспортируется вода с температурой 40 °С под давлением, указанным в табл. 39. Срок службы трубопровода 10 лет.
9.6. Определить тип труб из ПНД для транспортирования продукта с температурой 40 °С при максимальной величине наружного критического давления 0,04 МПа (0,4 кгс/см2) и сроке службы трубопровода 10 лет. Трубопровод прокладывается обычно внутри здания. Вследствие длительного хранения труб в неблагоприятных условиях возможна эллипсность их до 5 %. По рис. 9 для труб типа С имеем величину допускаемого наружного критического давления 0,1 МПа. По рис. 7 и 8 находим коэффициенты снижения величины этого давления по температуре K0 = 0,65 и по эллипсности Kэ = 0,65, отсюда имеем 0,1 МПа×0,65×0,65 = 0,044 МПа, т.е. для указанных условий эксплуатации могут быть использованы трубы типа С.
9.7. Трубопровод из ПП наружным диаметром 32 мм имеет расстояние от отвода до неподвижного крепления 15 м, температура воздуха при монтаже составляет 20 °С, максимальная температура жидкости при эксплуатации трубопровода равна 75 °С, минимальная 15 °С. Определить расстояние от оси отвода до крепления на участке, воспринимающем удлинение.
Увеличение длины трубопровода на основном участке:
Δl = 15 м (75 - 20) 0,18 мм/м = 13,5 мм,
уменьшение длины трубопровода
Δl = 15 м (20 - 15) 0,1 мм/м = 13,5 мм.
По рис. 25, в находим а = 2000 мм.
9.8. Рассчитать подземный (межцеховой) трубопровод. Материал трубопровода - полиэтилен низкого давления, γт = 0,95×10-4 Н/м3 (0,95×10-3 кгс/см2); рабочее (нормативное) давление p = 0,4 МПа (4,0 кгс/см2); наружный диаметр трубопровода d = 250 мм; транспортируемое вещество - вода, γт.в = 1×104 Н/м3 (10-3 кгс/см3); температура транспортируемого вещества tэ = 20 °С; проектируемый срок эксплуатации - 25 лет; тип соединений - контактная сварка встык; прокладка трубопровода - в траншее на естественном основании с выкружкой с углом охвата 90°; глубина заложения верха трубопровода H = 2,75 м; ширина траншеи на уровне верха трубопровода B = 0,75 м; грунт - суглинок твердый, γгр = 1,9×104 Н/м3 (1,9×10-3 кгс/см3); засыпка траншеи - повышенным уплотнением, модуль деформации грунта засыпки Eтр = 4,0 МПа (40 кгс/см2); наружная изоляция отсутствует; высота уровня грунтовых вод над верхом трубопровода Hг.в = 1,5 м; плотность грунтовых вод γг.в = 1,02×104 Н/м3 (1,02×10-3 кгс/см3); интенсивность нагрузки на поверхности засыпки qгр = 5×103 Н/м2 (500 кгс/м2); подвижные нагрузки - нерегулярное движение автотранспорта, величина возможного вакуума в трубопроводе Pвак = 0,05 МПа (0,5 кгс/см2).
1. Определяем расчетные характеристики материала трубопровода. Нормативное расчетное сопротивление в соответствии с рис. 1,а Rн = 4,5 МПа. По табл. 7 для сварных встык соединений труб из полиэтилена низкого давления принимаем Kс = 0,9; согласно п. 6.1 для трубопроводов, прокладываемых под усовершенствованными покрытиями K1 = 0,9, отсюда R = 4,5 МПа×0,9×0,9 = 3,6 МПа.
2. Определяем необходимую толщину стенки трубопровода по формуле
![]()
По ГОСТ 18599-73 табл. 11 выбираем трубу d = 250 мм, типа С с толщиной стенки δ = 14,2 мм.
3. Определяем значения нормативных нагрузок и воздействий на трубопровод.
Нормативная нагрузка от массы 1 м трубопровода по формуле
qнт = γтπ(d - δ)δ = 0,95×104×3,14(0,25 - 0,0142)0,0142 = 100 Н/м (10 кгс/м).
Нормативная вертикальная нагрузка от давления грунта по формуле
qнгр = γгрH = 1,9×104×2,75 = 52,25×103 Н/м (52,25×102 кгс/м).
Нормативная нагрузка от давления грунтовых вод по формуле
qнг.в = γвπd2/4 = 1,02×104×3,14×0,252/4 = 500 Н/м (50 кгс/м).
Нормативная нагрузка от массы транспортируемого вещества по формуле
qнг.в = γг.вπd2/4 = 1×104×(3,14×0,22162)/4 » 385 Н/м (385 кгс/м)
Внутренний диаметр трубы dв = d - 2δ = 0,25 - 2×0,0142 = 0,2216 м.
Нормативную нагрузку от транспорта определяем из сравнения нагрузки Н-18 для двух колонн автомобилей с нагрузкой НГ-60. Значения нагрузок Н-18 и НГ-60 находим по рис. 41 при H = 2,75 м от колонн автомобилей qнгр = 0,63 т/м2, от гусеничного трактора qнгр = 1,5 т/м2. Для дальнейших расчетов принимаем qнгр = 1,5 т/м2.
4. Определяем величины расчетных нагрузок и воздействий на трубопровод с соответствующими коэффициентами перегрузки. Расчетное внутреннее давление P = nqp = 1,1×0,4 = 0,44 МПа (4,4 кгс/см2).
Расчетная нагрузка от массы трубопровода
qт = nтqнт = 1,2×100 = 120 Н/м (12 кгс/м).
Расчетная нагрузка от давления грунта по формуле
Qгр = nгрqнгрBKгр = 1,2×52,25×103×0,75×0,6 » 28,3×103 Н/м (28300 кгс/м).
По табл. 31 при укладке труб в твердый суглинок в траншею с H = 2,75 м; B = 0,75 м, имеем H/Bс.р = 4,3 и Kтр = 0,6.
Расчетная нагрузка от давления грунтовых вод
Qг.в = nг.вqг.в = 0,8×500 = 400 Н/м (40 кгс/м).
Расчетная нагрузка от массы транспортируемого вещества
Qт.в = nт.вqнт.в = 1,0×2×103 = 2×103 Н/м (200 кгс/м).
Расчетная нагрузка от транспорта по формуле
Qтр = nтрqнтрd = 1,1×15×103×0,25 = 4,12×103 Н/м (4120 кгс/м).
Расчетная нагрузка от равномерно распределенной нагрузки на поверхности засыпки по формуле
Qр = nрqрdKн = 1,4×5×103×0,25×0,8 = 1,4×103 Н/м (1400 кгс/м).
Коэффициент концентрации давления грунта по формуле
![]()
Параметр жесткости грунта засыпки по формуле
Pгр = 0,125Eгр = 0,125×40 = 0,5 МПа (5 кгс/см2).
Параметр жесткости трубопровода принимаем по рис. 9 равным 0,1 МПа.
5. Определяем полную расчетную приведенную (эквивалентную) линейную нагрузку по формуле Pпр = ΣβηQ:
для трубопровода, опирающегося на естественное основание с выкружкой 2α с углом охвата трубы 90° по табл. 29 принимаем: β = 0,50;
для нагрузок от давления грунта, β = 0,325 - для массовых нагрузок.
Для твердого суглинка с повышенным уплотнением по табл. 30 принимаем η = 0,88.
Тогда с учетом направления действия расчетных вертикальных нагрузок имеем Pпр = βη(Qгр + Qгр + Qр) + β2η(q1 + qг.в - Qг.в) = 0,5×0,88 > (28,3×103 + 4,12×103 + 1,4×103) + 0,325×0,88(120 + 385 - 400) = 15,3×103 Н/м (1530 кгс/м).
Проверяем несущую способность трубопровода по условию предельно допустимой овализации поперечного сечения трубы по формуле (16).
Для трубопроводов, уложенных на естественное основание с выкружкой, принимаем ξ = 1,2, для трубопроводов из ПНД [εφ] = 5 %.
Коэффициент q рассчитываем для наиболее опасного случая - возникновения в трубопроводе вакуума:

![]()
6. Проверяем несущую способность трубопровода по условию устойчивости круглой формы поперечного сечения трубы по формуле
Pкр ≥ 2(Pпр/d + Pвак + Pг.в).
Предельная величина внешнего радиального давления по формулам (13) и (14):
0,44 МПа (4,4 кгс/см3);
Pкр = Pтр + 1,143Pтр = 0,1 + 1,143×0,5 » 0,67 МПа (6,7 кгс/см2).
Принимаем в качестве предельной величины Pкр = 0,44 МПа (4,4 кгс/см2). Внешнее гидростатическое давление грунтовых вод по формуле
Pг.в = γвHг.в = 1,02×104×1,5 = 1,53×104 Па (0,153 кгс/см2);
Pкр = 0,44 МПа (4,4 кгс/см2) > 2(15,63×103/0,25 + 5×104 + 1,53×104) » 2,47×105 Па » 0,247 МПа (2,47 кгс/см2).
9.9. Расчет теплоизоляции короба:
1. Исходные данные: размер короба (ширина и высота), м; наружный диаметр, материал и толщина стенки пластмассового трубопровода, м; наружный диаметр стального трубопровода-спутника, м; температура теплоносителя в пластмассовом трубопроводе в конце короба, °С; температура теплоносителя теплового спутника и конце короба, °С, заданная температура воздуха в конце короба, °С; температура окружающего воздуха, °С.
2. Условия расчета:
а) расчет теплоизоляции короба основывается на балансе тепла, по которому тепло, выделяемое тепловым спутником и трубопроводами с температурой выше заданной температуры воздуха внутри короба, приравнивается к теплу, отдаваемому коробом в окружающий воздух, а также теплу, поглощенному трубопроводами с температурой, ниже температуры воздуха внутри короба (если таковые имеются);
б) расчет производится для конечного участка короба (на предыдущих участках будет отмечен более эффективный обогрев);
в) применяемые в расчете величины коэффициентов теплоотдачи определяются следующим образом:
коэффициенты теплоотдачи от воздуха внутри короба к внутренней поверхности короба и от короба в окружающий воздух, не имеющие определяющего значения, принимаются равными соответственно 8 и 29 Вт/(м2×°С);
коэффициенты теплоотдачи от пластмассовых трубопроводов и теплового спутника, имеющие определяющее значение в расчете, вычисляются по приведенным ниже формулам. При этом коэффициент теплоотдачи излучением к стенке короба и коэффициент теплоотдачи конвекции к воздуху внутри короба определяются раздельно, а температура поверхности трубопровода и внутренней поверхности короба сначала принимаются: первая на 5 °С ниже температуры теплоносителя, вторая на 5 °С ниже температуры воздуха внутри короба. Далее эти значения могут быть уточнены и коэффициенты теплоотдачи вычислены вновь;
коэффициент излучения поверхности пластмассовых трубопроводов принимается равным 5,2 Вт/(м2×К4), поверхности стального трубопровода - спутника 4,7 Вт/(м2×К4);
коэффициент теплопроводности стенки пластмассового трубопровода принимается по табл. 3, коэффициент теплопроводности теплоизоляции стенки короба - по общепринятым нормам проектирования теплоизоляции промышленного оборудования и трубопроводов;
г) расчет справедлив только при условии, что в соединениях короба нет неплотностей. В противном случае будет иметь место проникновение наружного холодного воздуха внутрь короба и утечка теплого воздуха наружу, что нарушит принятый баланс тепла.
3. Принятые обозначения:
d - наружный диаметр пластмассового трубопровода, м;
δ - толщина стенки пластмассового трубопровода, м;
dсп - наружный диаметр спутника, м;
Fк - поверхность короба на 1 м длины, м2;
fгр и Fсп - поверхность трубопровода и спутника на 1 м длины, м2;
tт - температура теплоносителя в трубопроводе, °С;
tтр - температура поверхности трубопровода, °С;
tсп - температура спутника, °С;
tк.вн - температура внутренней поверхности короба, °С;
tв - температура воздуха внутри короба, °С;
t0 - температура окружающего воздуха, °С;
αтр.л - коэффициент теплоотдачи излучением от трубопровода к поверхности короба, Вт/(м2×°С);
αтр.к - коэффициент теплоотдачи конвекций от трубопровода к воздуху внутри короба, Вт/(м2×°С);
αсп.л - коэффициент теплоотдачи излучением от спутника к поверхности короба, Вт/(м2×°С);
αсп.к - коэффициент теплоотдачи конвекции от спутника к воздуху внутри короба, Вт/(м2×°С);
αв - коэффициент теплоотдачи от воздуха внутри короба и внутренней поверхности короба, Вт/(м2×°С);
αн - коэффициент теплоотдачи от наружной поверхности короба в окружающий воздух, Вт/(м2×°С);
Cк - коэффициент излучения внутренней поверхности короба, Вт/(м2×К4);
Cs - коэффициент излучения абсолютно черного тела, равный 5,77 Вт/(м2×К4);
qтр.л - теплоотдача излучением трубопровода с 1 м длины, Вт/м;
qтр.к - теплоотдача конвекций трубопровода с 1 м длины, Вт/м;
qсп.л - теплоотдача излучением спутника с 1 м длины, Вт/м;
qсп.к - теплоотдача конвекций спутника с 1 м длины, Вт/м;
qтр = qтр.п + qтр.к - теплопотеря трубопроводов с 1 м длины, Вт/м;
Cпр.тр и Cпр.сп - приведенный коэффициент излучения поверхностей трубопровода и короба, спутника и короба, Вт/(м2×К4);
Cтр и Cсп - коэффициенты излучения поверхности трубопровода и спутника, Вт/(м2×К4);
lиз - теплопроводность (коэффициент теплопроводности) стенки пластмассового трубопровода, Вт/(м×°С);
qсп = qсп.п + qсп.к - теплопотеря спутником с метра длины, Вт/м;
λиз - теплопроводность (коэффициент теплопроводности) теплоизоляции короба, Вт/(м×°С);
Q - количество тепла, теряемое на 1 м короба, Вт/м;
δиз - толщина теплоизоляционного слоя, м;
Kп - коэффициент, учитывающий дополнительные потери опорами короба, принимаемый равным 1,3;
При нескольких трубопроводах их обозначения индексируются числами 1, 2, 3 и т.д.
4. Последовательность расчета и расчетные формулы.
В начале вычисляются приближенные значения коэффициентов теплоотдачи αтр.л, αтр.к, αсп.л и αсп.к. Для этого предварительно устанавливаются ориентировочные значения tтр = tт - 5 °С и tкв.н = tв - 5 °С, а также определяется значение Cпр.тр и Cпр.сп:
(36)
При этом, если Fтр/Fк или Fсп/Fк ≤ 0,1, то соответственно
Cпр.тр @ Cтр; Cпр.сп @ Ссп.
Определяются значения коэффициентов теплоотдачи:
(37)
(38)
Определяются теплопотери трубопроводом и спутником на 1 м длины:
qтр = qтр.л + qтк.к = αтр.лFтр(tтр - tк.вн) + αтр.кFтр(tтр - tв); (41)
qсп = qсп.л + qсп.к = αсп.лFсп(tсп - tк.вн) + αсп.кFсп(tсп - tв). (42)
Определяются общие теплопотери трубопроводами и спутником
Эти теплопотери приравниваются теплопотерям через стенку короба, откуда определяется толщина его теплоизоляции
(44)
Затем уточняются величины tк.вн и tтр, для чего применяются формулы
Если уточненная разность tтр - tк.вн отличается от принятой ранее, менее, чем на 15 %, расчет можно закончить. В противном случае расчет повторяется с применением уточненных величин tтр и tкв.н.
5. Пример расчета. Требуется определить толщину теплоизоляционного слоя из матов минераловатных на синтетическом связующем, устанавливаемых на внутренней поверхности короба, в котором проложены три трубопровода из ПНД типа Т d = 140 мм и обогревающий водяной трубопровод-спутник. Короб изготовлен из стального листа; его ширина 900, высота 450 и длина 500 м. Диаметр полиэтиленовых трубопроводов 140, толщина стенки 12,7 мм. Один из трубопроводов резервный, пустой, в остальных двух протекает продукт с температурой в конце короба 25 °С. Диаметр спутника 57 мм, температура протекающей в нем воды в конце короба 55 °С. Температура воздуха внутри короба и в конце его 10 °С, температура окружающего воздуха -40 °С.
λиз = 0,047 Вт/(м×°С).
Определяем поверхность короба и трубопроводов по длине 1 м:
Fк = 2(0,9 + 0,45) = 2,7 м2;
Fтр = 3,14×0,140 = 0,44 м2;
Fсп = 3,14×0,057 = 0,179 м2.
Определяем Cпр.тр по формуле (35).
= 5,12 Вт/(м2×К4).
Поскольку Fсп/Fк < 0,1, принимаем Cпр.сп = Cп = 4,7 Вт/(м2×К4).
Определяем приближенно коэффициенты теплоотдачи и теплопотери трубопроводами и спутником по формулам (37) - (42), принимая tк.вн = 10 - 5 °С и tтр = 25 - 5 = 20 °С.
αтр.л = 5,12
5,12(73,7 - 59,7)/15 = 4,8 Вт/(м2×°С);
αтр.к = 1,66
= 1,66×2,15 = 3,58 Вт/(м2×°С);
αсп.л = 4,7
4,7(115,7 - 59,7)/50 = 5,21 Вт/(м2×°С);
αсп.к = 1,66
= 1,66×3,56 = 5,92 Вт/(м2×°С);
qтр = 4,8×0,44(20 - 5) + 3,58×0,44(20 - 10) = 31,9 + 15,8 = 47,7 Вт/м;
qсп = 5,21×0,179 (55 - 5) + 5,92×0,179(55 - 10) = 46,5 + 47,7 = 94,2 Вт/м.
Общее количество тепла, выделенное трубопроводами и спутниками, определяем по формуле (43)
Q = 47,7 + 47,7 + 94,2 = 189,6 Вт/м.
По формуле (44) находим толщину теплоизоляционного слоя
![]()
По формулам (45) и (46) определяем значения температур tк.вн и tтр:
tк.вн = -40×189,6/(2,7×1,3)×(1/29 + 0,036/0,047) = -40 + 43,7 = 37 °С;
tтр = 25 - 47,7
= 25 - 47,7×0,2/2,2 = 25 - 4,4 = 20,6 °С.
Ввиду близкого совпадения найденных значений температур tк.вн и tтр с принятыми в начале расчета ориентировочно, а также небольшой разницы (~ 13,5) между уточненной разностью tтр - tк.вн и принятой ориентировочно, в дальнейшем уточнении расчет не нуждается. Толщину теплоизоляционного слоя принимаем равной 40 мм.
Условные обозначения
С - стоек
ОС - относительно стоек
Н - не стоек
НК - натуральный каучук
СКИ - синтетический неопреновый каучук
СКС - синтетический бутадиен-стирольный каучук
СКБ - синтетический натрий-бутадиеновый каучук
СКН - синтетический бутадиен-нитрильный каучук
БК - бутилкаучук
СКЭП - этиленпропиленовый каучук
СКФ - синтетический фторсодержащий каучук
Кл. оп - класс опасности вредных веществ.
|
Концентрация |
Температура, °С |
Термопласты |
Резина на основе |
|||||||||
|
ПВХ |
ПВД |
ПНД |
ПП |
НК, СКИ |
СКС, СКБ |
СКН |
БК, СКЭП |
Наиритов |
СКФ |
|||
|
Адипиновая кислота |
Насыщенная водная |
20 |
С |
С |
С |
С |
С |
С |
С |
С |
С |
С |
|
40 |
С |
С |
С |
С |
С |
- |
С |
С |
С |
С |
||
|
60 |
ОС |
С |
С |
С |
С |
- |
С |
С |
С |
С |
||
|
80 |
- |
- |
- |
С |
- |
- |
- |
- |
- |
- |
||
|
Азотная кислота |
6, 3 %-ная водная |
20 |
С |
С |
С |
С |
Н |
Н |
Н |
С |
Н |
С |
|
40 |
С |
С |
С |
- |
- |
- |
- |
С |
- |
С |
||
|
60 |
С |
С |
С |
ОС |
- |
- |
- |
ОС |
- |
ОС |
||
|
До 40 % |
20 |
С |
ОС |
ОС |
ОС |
Н |
Н |
Н |
С |
Н |
С |
|
|
40 |
С |
- |
- |
- |
- |
- |
- |
С |
- |
С |
||
|
60 |
ОС |
Н |
Н |
Н |
- |
- |
- |
ОС |
- |
С |
||
|
Водная 100 %-ная |
20 |
Н |
Н |
Н |
Н |
Н |
Н |
Н |
Н |
Н |
Н |
|
|
Акрилонитрил (2 кл. оп) |
Технический |
20 |
Н |
С |
С |
С |
Н |
С |
Н |
С |
С |
ОС |
|
40 |
- |
- |
С |
ОС |
- |
- |
- |
С |
С |
ОС |
||
|
50 |
- |
- |
С |
Н |
- |
- |
- |
ОС |
Н |
Н |
||
|
Аллиловый спирт (3 кл. оп) |
96 %-ный |
20 |
ОС |
С |
С |
С |
С |
С |
С |
ОС |
ОС |
ОС |
|
40 |
Н |
- |
С |
С |
С |
- |
С |
ОС |
Н |
Н |
||
|
60 |
- |
- |
С |
С |
С |
- |
С |
ОС |
- |
- |
||
|
Алюминия сульфат |
10 %-ный водный |
20 |
С |
С |
С |
С |
С |
ОС |
С |
С |
С |
С |
|
40 |
С |
С |
С |
С |
С |
- |
С |
С |
С |
С |
||
|
60 |
ОС |
С |
С |
С |
С |
- |
С |
С |
С |
С |
||
|
Насыщенный |
20 |
С |
С |
С |
С |
С |
ОС |
С |
С |
С |
С |
|
|
40 |
С |
С |
С |
С |
С |
- |
С |
С |
С |
С |
||
|
60 |
С |
С |
С |
С |
С |
- |
С |
С |
С |
С |
||
|
80 |
- |
- |
- |
- |
- |
- |
- |
- |
- |
С |
||
|
Алюминия хлорид |
10 %-ный водный |
20 |
С |
С |
С |
С |
С |
С |
С |
С |
С |
С |
|
40 |
С |
С |
С |
С |
С |
С |
С |
С |
С |
С |
||
|
60 |
С |
С |
С |
С |
С |
С |
ОС |
С |
С |
С |
||
|
20 |
С |
С |
С |
С |
С |
С |
С |
С |
С |
С |
||
|
Насыщенный |
40 |
С |
С |
С |
С |
С |
С |
С |
С |
С |
С |
|
|
60 |
С |
С |
С |
С |
С |
С |
С |
С |
С |
С |
||
|
80 |
- |
- |
- |
С |
- |
- |
ОС |
С |
С |
С |
||
|
Амилацетат (ЛВЖ, 4 кл. оп) |
Разбавленный |
20 |
Н |
Н |
С |
ОС |
ОС |
Н |
Н |
ОС |
Н |
Н |
|
40 |
- |
- |
С |
ОС |
- |
- |
- |
- |
- |
- |
||
|
60 |
- |
- |
С |
Н |
- |
- |
- |
- |
- |
- |
||
|
Амиловый спирт (ЛВЖ, 3 кл. оп) |
Технический разбавленный |
20 |
С |
ОС |
С |
С |
ОС |
ОС |
С |
С |
С |
ОС |
|
40 |
С |
- |
С |
С |
- |
- |
С |
С |
С |
- |
||
|
60 |
ОС |
Н |
С |
С |
- |
- |
С |
С |
С |
- |
||
|
80 |
- |
- |
- |
С |
- |
- |
- |
- |
- |
- |
||
|
Аммиак (ГГ, 4 кл. оп) |
Газообразный технический чистый |
20 |
С |
С |
С |
С |
С |
С |
С |
С |
С |
С |
|
40 |
С |
С |
С |
С |
С |
ОС |
ОС |
- |
ОС |
ОС |
||
|
60 |
С |
С |
С |
С |
С |
- |
- |
- |
- |
- |
||
|
Водный насыщенный на холоду |
20 |
С |
С |
С |
С |
С |
С |
С |
С |
С |
С |
|
|
40 |
С |
С |
С |
С |
С |
- |
ОС |
С |
С |
С |
||
|
60 |
ОС |
С |
С |
С |
С |
- |
ОС |
С |
С |
С |
||
|
Аммония ацетат |
Водный любой |
20 |
С |
С |
С |
С |
С |
С |
С |
С |
С |
С |
|
40 |
С |
С |
С |
С |
С |
С |
ОС |
С |
С |
С |
||
|
60 |
ОС |
С |
С |
С |
С |
- |
- |
С |
ОС |
С |
||
|
Аммония карбонат |
50 %-ный водный |
20 |
С |
С |
С |
С |
С |
С |
С |
С |
С |
С |
|
40 |
С |
С |
С |
С |
С |
С |
С |
С |
С |
С |
||
|
60 |
ОС |
С |
С |
С |
С |
С |
С |
С |
С |
С |
||
|
80 |
- |
- |
- |
С |
- |
- |
- |
С |
- |
С |
||
|
Аммония нитрат |
10 %-ный водный |
20 |
С |
С |
С |
С |
С |
С |
С |
С |
С |
С |
|
40 |
С |
С |
С |
С |
С |
С |
С |
С |
С |
С |
||
|
60 |
ОС |
ОС |
ОС |
С |
С |
С |
ОС |
С |
- |
С |
||
|
80 |
- |
- |
- |
ОС |
- |
- |
- |
- |
- |
С |
||
|
Водный насыщенный |
20 |
С |
С |
С |
С |
С |
С |
С |
С |
С |
С |
|
|
40 |
С |
С |
С |
С |
С |
С |
С |
С |
С |
С |
||
|
60 |
ОС |
ОС |
ОС |
С |
С |
С |
ОС |
С |
- |
С |
||
|
80 |
- |
- |
- |
ОС |
- |
- |
- |
- |
- |
- |
||
|
Аммония сульфат |
10 %-ный водный |
20 |
С |
С |
С |
С |
С |
С |
С |
С |
С |
С |
|
40 |
С |
С |
С |
С |
С |
С |
С |
С |
С |
С |
||
|
60 |
ОС |
С |
С |
С |
С |
С |
С |
С |
С |
С |
||
|
80 |
- |
- |
- |
С |
- |
- |
- |
С |
- |
С |
||
|
Насыщенный водный |
20 |
С |
С |
С |
С |
С |
ОС |
С |
С |
С |
С |
|
|
40 |
С |
С |
С |
С |
С |
- |
С |
С |
С |
С |
||
|
60 |
С |
С |
С |
С |
С |
- |
С |
С |
С |
С |
||
|
80 |
- |
- |
- |
С |
- |
- |
- |
С |
- |
С |
||
|
Аммония сульфид |
Водный любой |
20 |
С |
С |
С |
С |
С |
- |
С |
С |
С |
С |
|
40 |
С |
С |
С |
С |
С |
- |
С |
С |
С |
ОС |
||
|
60 |
ОС |
С |
С |
С |
С |
- |
С |
С |
С |
Н |
||
|
Аммония фосфат |
Водный любой |
20 |
С |
С |
С |
С |
С |
С |
С |
С |
С |
С |
|
40 |
С |
С |
С |
С |
С |
С |
С |
С |
С |
С |
||
|
60 |
С |
С |
С |
С |
С |
С |
ОС |
С |
С |
С |
||
|
80 |
- |
- |
- |
С |
- |
- |
- |
С |
- |
С |
||
|
Аммония хлорид |
10 %-ный водный |
20 |
С |
С |
С |
С |
С |
С |
С |
С |
С |
С |
|
40 |
С |
С |
С |
С |
С |
С |
С |
С |
С |
С |
||
|
60 |
ОС |
С |
С |
С |
С |
С |
С |
С |
С |
С |
||
|
80 |
- |
- |
- |
С |
- |
- |
- |
С |
С |
С |
||
|
Водный насыщенный |
20 |
С |
С |
С |
С |
С |
С |
С |
С |
С |
С |
|
|
40 |
С |
С |
С |
С |
С |
С |
С |
С |
С |
С |
||
|
60 |
ОС |
С |
С |
С |
С |
С |
С |
С |
С |
С |
||
|
80 |
- |
- |
- |
С |
- |
- |
- |
С |
С |
С |
||
|
Анилин хлоргидрат |
Насыщенный водный |
20 |
С |
Н |
С |
С |
С |
С |
ОС |
С |
Н |
ОС |
|
40 |
ОС |
- |
С |
С |
- |
- |
Н |
С |
- |
Н |
||
|
60 |
- |
- |
ОС |
ОС |
ОС |
- |
- |
С |
- |
- |
||
|
40 %-ный водный |
20 |
ОС |
ОС |
С |
С |
С |
С |
Н |
С |
С |
С |
|
|
40 |
Н |
- |
С |
С |
С |
- |
- |
С |
С |
С |
||
|
60 |
- |
- |
ОС |
С |
Н |
- |
- |
С |
ОС |
ОС |
||
|
80 |
- |
- |
- |
ОС |
- |
- |
- |
С |
ОС |
ОС |
||
|
Ацетальдегид (ГГ, 3 кл. оп) |
Технический чистый |
20 |
Н |
ОС |
С |
ОС |
С |
Н |
Н |
С |
Н |
ОС |
|
40 |
- |
Н |
ОС |
Н |
- |
- |
- |
ОС |
- |
Н |
||
|
60 |
- |
- |
ОС |
- |
- |
- |
- |
Н |
- |
|
||
|
Ацетон (ЛВЖ, 4 кл. оп) |
20 |
Н |
Н |
С |
С |
С |
Н |
Н |
С |
Н |
Н |
|
|
40 |
- |
- |
С |
С |
- |
- |
- |
С |
- |
- |
||
|
60 |
- |
- |
С |
С |
ОС |
- |
- |
С |
- |
- |
||
|
Технический чистый до 10 % водный |
20 |
Н |
С |
С |
С |
С |
ОС |
Н |
С |
С |
ОС |
|
|
40 |
- |
- |
С |
С |
- |
- |
- |
С |
ОС |
ОС |
||
|
60 |
- |
ОС |
С |
С |
- |
- |
- |
С |
Н |
Н |
||
|
Бария гидроокись |
Насыщенная водная |
20 |
С |
С |
С |
С |
С |
С |
С |
С |
С |
С |
|
40 |
С |
С |
С |
С |
С |
- |
С |
С |
С |
С |
||
|
60 |
ОС |
С |
С |
С |
С |
- |
С |
С |
С |
С |
||
|
Бария соли, кроме бария углекислого |
Водные любые |
20 |
С |
С |
С |
С |
С |
С |
С |
С |
С |
С |
|
40 |
С |
С |
С |
С |
С |
- |
С |
С |
С |
С |
||
|
60 |
С |
С |
С |
С |
С |
- |
С |
С |
С |
С |
||
|
80 |
- |
- |
- |
С |
- |
- |
- |
С |
- |
С |
||
|
Белильный щелок, содержащий 12,5 % активного хлора |
Водный |
20 |
С |
С |
С |
С |
Н |
Н |
Н |
С |
С |
Н |
|
40 |
С |
- |
С |
С |
- |
- |
- |
С |
С |
- |
||
|
60 |
ОС |
ОС |
С |
ОС |
- |
- |
- |
С |
ОС |
- |
||
|
Бензальдегид (3 кл. оп) |
Насыщенный водный |
20 |
Н |
Н |
С |
С |
ОС |
Н |
ОС |
С |
Н |
С |
|
40 |
- |
- |
С |
- |
- |
- |
- |
С |
- |
С |
||
|
60 |
- |
- |
С |
- |
- |
- |
- |
С |
- |
С |
||
|
Бензиловый спирт (3 кл. оп) |
Технический |
20 |
ОС |
Н |
С |
С |
ОС |
Н |
Н |
С |
С |
ОС |
|
40 |
- |
- |
С |
С |
- |
- |
- |
- |
С |
- |
||
|
60 |
- |
- |
ОС |
ОС |
- |
- |
- |
- |
С |
- |
||
|
Бензин (ЛЗЖ, 4 кл. оп) |
20 |
С |
Н |
С |
ОС |
Н |
Н |
С |
Н |
Н |
С |
|
|
40 |
С |
- |
С |
- |
- |
- |
С |
- |
- |
С |
||
|
60 |
С |
- |
ОС |
Н |
- |
- |
С |
- |
- |
С |
||
|
Бензойная кислота |
Водная любая |
20 |
С |
С |
С |
С |
С |
- |
Н |
Н |
Н |
С |
|
40 |
С |
С |
С |
С |
С |
- |
- |
- |
- |
С |
||
|
60 |
ОС |
С |
С |
С |
С |
- |
- |
- |
- |
С |
||
|
80 |
- |
- |
- |
С |
- |
- |
- |
- |
- |
С |
||
|
Борная кислота (3 кл. оп) |
» |
20 |
С |
С |
С |
С |
С |
С |
С |
С |
С |
С |
|
40 |
С |
С |
С |
С |
С |
- |
С |
С |
С |
С |
||
|
60 |
ОС |
С |
С |
С |
С |
- |
- |
С |
- |
- |
||
|
80 |
- |
- |
- |
С |
- |
- |
- |
- |
- |
- |
||
|
Бродильная смесь, состоящая из этилового спирта и уксусной кислоты |
Рабочая |
20 |
С |
С |
С |
С |
С |
- |
ОС |
С |
С |
ОС |
|
40 |
С |
- |
С |
- |
С |
- |
ОС |
С |
С |
ОС |
||
|
60 |
ОС |
- |
С |
- |
- |
- |
- |
ОС |
С |
ОС |
||
|
Брома водный раствор |
Насыщенный |
20 |
С |
Н |
Н |
Н |
Н |
Н |
Н |
Н |
Н |
С |
|
Бромистоводородная кислота |
50 %-ный водный |
20 |
С |
С |
С |
С |
Н |
Н |
ОС |
С |
С |
С |
|
40 |
С |
С |
С |
С |
- |
- |
Н |
С |
С |
С |
||
|
60 |
С |
С |
С |
С |
- |
- |
- |
С |
С |
С |
||
|
Бура |
Водная любая |
20 |
С |
С |
С |
С |
С |
ОС |
С |
С |
|
С |
|
40 |
С |
С |
С |
С |
С |
- |
С |
С |
С |
С |
||
|
60 |
ОС |
С |
С |
С |
С |
- |
С |
С |
С |
С |
||
|
80 |
- |
- |
- |
С |
- |
- |
- |
С |
- |
- |
||
|
Бутан (ГГ) |
Технический |
20 |
С |
Н |
С |
С |
Н |
Н |
С |
Н |
С |
С |
|
Бутадиен (ГГ) |
То же |
20 |
С |
Н |
С |
С |
Н |
Н |
Н |
- |
С |
ОС |
|
40 |
- |
- |
- |
С |
- |
- |
- |
- |
С |
- |
||
|
60 |
- |
- |
- |
С |
- |
- |
- |
- |
ОС |
- |
||
|
Бутандиол (2 кл. оп) |
10 %-ный водный |
20 |
С |
С |
С |
С |
С |
- |
С |
С |
ОС |
С |
|
40 |
ОС |
С |
С |
С |
- |
- |
С |
С |
Н |
С |
||
|
60 |
- |
С |
С |
С |
ОС |
|
С |
С |
- |
С |
||
|
Бутанол (ЛВЖ, 3 кл. оп) |
Технический |
20 |
С |
С |
С |
С |
С |
С |
С |
С |
С |
С |
|
40 |
С |
- |
С |
С |
С |
С |
С |
С |
С |
ОС |
||
|
60 |
ОС |
- |
С |
оС |
С |
С |
С |
С |
ОС |
ОС |
||
|
Бутилацетат (ЛВЖ, 4 кл. оп) |
То же |
20 |
Н |
Н |
С |
ОС |
С |
Н |
Н |
С |
ОС |
ОС |
|
Бутилен жидкий |
» |
20 |
С |
Н |
Н |
Н |
Н |
Н |
С |
ОС |
С |
С |
|
Бутиленгликоль |
» |
20 |
С |
С |
С |
С |
С |
- |
Н |
С |
С |
С |
|
60 |
ОС |
С |
С |
С |
С |
- |
- |
С |
С |
ОС |
||
|
Бутилфенол |
Технический |
20 |
ОС |
Н |
ОС |
С |
ОС |
- |
Н |
Н |
Н |
ОС |
|
Вазелин |
То же |
20 |
ОС |
ОС |
ос |
С |
С |
- |
С |
Н |
Н |
С |
|
40 |
Н |
- |
- |
- |
- |
- |
С |
- |
- |
С |
||
|
60 |
- |
- |
Н |
ОС |
- |
- |
С |
- |
- |
С |
||
|
Винилацетат (3 кл. оп) |
Технический |
20 |
Н |
Н |
- |
С |
ОС |
- |
С |
С |
С |
С |
|
Винная кислота |
Любая водная |
20 |
С |
С |
С |
С |
С |
- |
С |
С |
С |
С |
|
40 |
С |
С |
С |
С |
С |
- |
С |
ОС |
С |
С |
||
|
60 |
ОС |
С |
С |
С |
С |
- |
ОС |
Н |
С |
С |
||
|
Винный уксус |
Торговый |
20 |
С |
С |
С |
С |
ОС |
ОС |
С |
С |
С |
ОС |
|
40 |
С |
С |
С |
С |
- |
- |
С |
С |
С |
Н |
||
|
60 |
С |
С |
С |
С |
- |
- |
ОС |
ОС |
ОС |
|
||
|
Вино красное и белое |
Торговое |
20 |
С |
С |
С |
С |
С |
С |
С |
С |
С |
С |
|
40 |
- |
С |
С |
С |
- |
- |
- |
- |
- |
- |
||
|
60 |
- |
С |
С |
С |
- |
- |
- |
- |
- |
- |
||
|
Вино плодово-ягодное Вискозно-прядильный раствор |
- |
20 |
С |
С |
С |
С |
С |
С |
С |
С |
С |
С |
|
- |
20 |
С |
С |
С |
С |
С |
|
Н |
С |
ОС |
С |
|
|
40 |
С |
С |
С |
С |
- |
- |
- |
С |
ОС |
С |
||
|
60 |
С |
С |
С |
С |
- |
- |
- |
С |
Н |
С |
||
|
Вода дистиллированная деонизированная обессоленная |
100 %-ная |
20 |
С |
С |
С |
С |
С |
С |
С |
С |
С |
С |
|
40 |
С |
С |
С |
С |
С |
С |
С |
С |
С |
С |
||
|
60 |
С |
С |
С |
С |
С |
С |
С |
ОС |
С |
С |
||
|
80 |
- |
- |
- |
С |
- |
- |
С |
Н |
- |
С |
||
|
Вода конденсат |
- |
20 |
С |
С |
С |
С |
С |
С |
С |
С |
С |
С |
|
40 |
С |
С |
С |
С |
С |
С |
С |
С |
С |
С |
||
|
60 |
ОС |
С |
С |
С |
С |
С |
С |
ОС |
С |
С |
||
|
Вода минеральная |
- |
20 |
С |
С |
С |
С |
С |
С |
С |
С |
С |
С |
|
40 |
С |
С |
С |
С |
С |
С |
С |
С |
С |
С |
||
|
60 |
С |
С |
С |
С |
С |
С |
С |
С |
С |
С |
||
|
80 |
- |
- |
- |
С |
- |
- |
С |
С |
- |
С |
||
|
Вода озерная, морская |
- |
20 |
С |
С |
С |
С |
С |
С |
С |
С |
С |
С |
|
40 |
С |
С |
С |
С |
С |
С |
С |
С |
С |
С |
||
|
60 |
ОС |
С |
С |
С |
С |
С |
С |
С |
С |
С |
||
|
80 |
- |
- |
- |
С |
- |
- |
С |
С |
ОС |
С |
||
|
Вода питьевая хлорированная |
- |
20 |
С |
С |
С |
С |
С |
С |
С |
С |
С |
С |
|
40 |
С |
С |
С |
С |
С |
С |
С |
С |
С |
С |
||
|
60 |
С |
С |
С |
С |
- |
- |
С |
ОС |
С |
С |
||
|
80 |
- |
- |
- |
С |
- |
- |
ОС |
- |
- |
- |
||
|
Вода сточная без органических растворителей |
- |
20 |
С |
С |
С |
С |
С |
С |
С |
С |
С |
С |
|
40 |
С |
С |
С |
С |
С |
С |
С |
С |
С |
С |
||
|
60 |
|
С |
С |
С |
С |
С |
С |
С |
С |
С |
||
|
80 |
- |
- |
- |
С |
- |
- |
С |
- |
- |
С |
||
|
Водород (ГГ) |
Технический |
20 |
С |
С |
С |
С |
С |
С |
С |
С |
С |
С |
|
40 |
С |
- |
С |
С |
- |
- |
С |
С |
С |
С |
||
|
60 |
С |
- |
С |
С |
- |
- |
С |
С |
С |
С |
||
|
80 |
- |
- |
- |
- |
- |
- |
С |
С |
С |
С |
||
|
Водород хлористый (2 кл. оп) |
Технический газообразный |
20 |
С |
С |
С |
С |
Н |
- |
С |
- |
С |
С |
|
40 |
С |
|
С |
С |
- |
- |
Н |
С |
Н |
С |
||
|
100 %-ный |
60 |
ОС |
С |
С |
- |
- |
- |
- |
С |
- |
С |
|
|
Водорода перекись |
водная |
20 |
С |
С |
С |
С |
Н |
Н |
ОС |
С |
Н |
С |
|
40 |
С |
- |
С |
С |
- |
- |
Н |
ОС |
- |
ОС |
||
|
60 |
ОС |
- |
С |
С |
- |
- |
|
Н |
- |
Н |
||
|
30 %-ная водная |
20 |
С |
С |
С |
С |
Н |
Н |
Н |
ОС |
Н |
С |
|
|
40 |
С |
- |
С |
С |
- |
- |
|
Н |
- |
С |
||
|
60 |
- |
- |
С |
ОС |
- |
- |
- |
- |
- |
ОС |
||
|
90 %-ная водная |
20 |
- |
- |
С |
Н |
Н |
Н |
Н |
ОС |
Н |
ОС |
|
|
Воздух сжатый, содержащий масло |
- |
20 |
ОС |
С |
С |
ОС |
Н |
Н |
С |
Н |
С |
С |
|
40 |
- |
- |
С |
- |
- |
- |
- |
- |
- |
- |
||
|
Восковой спирт |
Технический |
20 |
С |
- |
ОС |
ОС |
Н |
- |
С |
Н |
С |
С |
|
40 |
С |
- |
- |
- |
- |
- |
С |
- |
С |
С |
||
|
60 |
С |
- |
Н |
Н |
- |
- |
С |
- |
С |
С |
||
|
Гексан (ЛВЖ) |
» |
20 |
С |
Н |
С |
С |
Н |
Н |
С |
Н |
С |
С |
|
40 |
- |
- |
- |
- |
- |
- |
С |
- |
С |
С |
||
|
60 |
- |
- |
ОС |
ОС |
- |
- |
С |
- |
С |
С |
||
|
Гексантриол |
Торговый |
60 |
С |
- |
С |
С |
С |
- |
ОС |
С |
С |
С |
|
20 |
С |
- |
С |
С |
Н |
Н |
С |
Н |
С |
С |
||
|
Гептан (ЛВЖ) |
Технический |
60 |
- |
- |
ОС |
ОС |
- |
- |
С |
- |
С |
С |
|
Гидроксиламина сульфат |
Любой водный |
20 |
С |
С |
С |
С |
С |
С |
С |
С |
ОС |
С |
|
40 |
С |
- |
С |
С |
С |
- |
ОС |
С |
- |
С |
||
|
60 |
- |
- |
С |
С |
- |
- |
- |
- |
- |
- |
||
|
Гликоколь |
10 %-ный водный |
20 |
С |
- |
С |
С |
Н |
- |
С |
С |
С |
С |
|
Гликолевая кислота |
37 %-ная водная |
20 |
С |
С |
С |
С |
С |
- |
С |
С |
С |
С |
|
40 |
- |
- |
С |
- |
- |
- |
- |
- |
- |
- |
||
|
60 |
- |
- |
С |
- |
- |
- |
- |
- |
- |
- |
||
|
Глицерин (ГЖ) |
Технический |
20 |
С |
С |
С |
С |
С |
С |
С |
С |
С |
С |
|
40 |
С |
С |
С |
С |
С |
С |
С |
С |
С |
С |
||
|
60 |
С |
С |
С |
С |
С |
С |
С |
С |
С |
ОС |
||
|
80 |
- |
- |
- |
С |
- |
- |
ОС |
ОС |
С |
Н |
||
|
Любой водный |
20 |
С |
С |
С |
С |
С |
С |
С |
С |
С |
С |
|
|
40 |
С |
С |
С |
С |
С |
С |
С |
С |
С |
С |
||
|
60 |
- |
С |
С |
С |
С |
С |
С |
С |
С |
ос |
||
|
80 |
- |
- |
- |
С |
- |
- |
ОС |
ОС |
С |
Н |
||
|
Глицеринхлоргидрид |
- |
60 |
ОС |
- |
С |
- |
Н |
- |
Н |
ОС |
С |
С |
|
Глюкоза |
Любая водная |
20 |
С |
С |
С |
С |
С |
С |
С |
С |
С |
С |
|
40 |
С |
С |
С |
С |
С |
|
С |
С |
С |
С |
||
|
60 |
ОС |
С |
С |
С |
С |
- |
С |
С |
С |
С |
||
|
80 |
- |
- |
- |
С |
- |
- |
С |
С |
С |
С |
||
|
Декалин (4 кл. оп) |
Технический |
20 |
С |
ос |
С |
ОС |
Н |
Н |
Н |
Н |
Н |
С |
|
60 |
ОС |
- |
ОС |
ОС |
- |
- |
- |
- |
- |
С |
||
|
Декстрин |
Торговый |
20 |
С |
С |
С |
С |
С |
- |
С |
С |
С |
С |
|
40 |
С |
С |
С |
- |
- |
- |
С |
С |
С |
С |
||
|
60 |
С |
С |
С |
- |
- |
- |
С |
С |
С |
С |
||
|
Дибутилсебацинат |
Технический |
20 |
Н |
С |
С |
С |
Н |
Н |
Н |
С |
Н |
С |
|
Дибутилфталат (2 кл. оп) |
То же |
20 |
Н |
С |
С |
С |
ОС |
Н |
Н |
ОС |
Н |
ОС |
|
40 |
- |
- |
ОС |
ОС |
- |
- |
- |
- |
- |
- |
||
|
60 |
- |
ОС |
ОС |
ОС |
Н |
- |
- |
- |
- |
- |
||
|
Дигексилфталат |
» |
60 |
Н |
- |
ОС |
ОС |
ОС |
- |
Н |
С |
Н |
Н |
|
Дигликолевая кислота |
30 %-ная водная |
20 |
С |
С |
С |
С |
ОС |
- |
Н |
ОС |
Н |
С |
|
40 |
С |
С |
С |
С |
ОС |
- |
- |
ОС |
- |
С |
||
|
60 |
ОС |
С |
С |
С |
ОС |
- |
- |
ОС |
- |
С |
||
|
Диизобутилкетон |
Технический |
20 |
Н |
С |
С |
С |
С |
Н |
Н |
ОС |
Н |
Н |
|
60 |
- |
Н |
Н |
Н |
ОС |
- |
- |
- |
- |
- |
||
|
Диметиламин (2 кл. оп) |
То же |
20 |
ОС |
Н |
С |
С |
ОС |
- |
Н |
ОС |
Н |
Н |
|
Диметилформамид (2 кл. оп) |
» |
20 |
Н |
С |
С |
С |
ОС |
- |
ОС |
ОС |
С |
С |
|
40 |
- |
- |
С |
С |
- |
- |
- |
- |
- |
- |
||
|
60 |
- |
- |
ос |
С |
- |
- |
- |
- |
- |
- |
||
|
Динонилфталат |
» |
20 |
Н |
ОС |
ОС |
С |
С |
- |
Н |
ОС |
Н |
С |
|
Диоксан (ЛВЖ, 3 кл. оп) |
Технический |
20 |
Н |
ОС |
С |
ОС |
Н |
- |
Н |
С |
Н |
Н |
|
40 |
- |
- |
С |
ОС |
- |
- |
- |
- |
- |
- |
||
|
60 |
- |
- |
С |
ОС |
- |
- |
- |
- |
- |
- |
||
|
80 |
- |
- |
- |
Н |
- |
- |
- |
- |
- |
- |
||
|
Диоктилфталат |
То же |
20 |
Н |
ОС |
ОС |
С |
ОС |
- |
Н |
ОС |
Н |
С |
|
60 |
- |
- |
- |
ОС |
- |
- |
- |
- |
- |
- |
||
|
Дихлорбензол (4 кл. оп) |
» |
20 |
Н |
ОС |
ОС |
ОС |
Н |
Н |
Н |
Н |
Н |
С |
|
Дихлоруксусная кислота (3 кл. оп) |
» |
20 |
С |
- |
С |
С |
С |
- |
Н |
С |
ОС |
ОС |
|
40 |
С |
- |
С |
С |
- |
- |
- |
С |
Н |
Н |
||
|
60 |
ОС |
- |
ОС |
ОС |
Н |
- |
- |
С |
- |
- |
||
|
50 %-ная водная |
20 |
С |
С |
С |
С |
С |
- |
Н |
С |
С |
ОС |
|
|
40 |
С |
- |
С |
С |
С |
- |
- |
С |
ОС |
ОС |
||
|
60 |
ОС |
- |
С |
С |
С |
- |
- |
С |
Н |
Н |
||
|
Дихлоруксусной кислоты метиловый эфир (3 кл. оп) |
Технический |
20 |
Н |
- |
С |
С |
Н |
- |
Н |
С |
Н |
Н |
|
40 |
- |
- |
С |
С |
- |
- |
- |
С |
- |
- |
||
|
60 |
- |
- |
С |
С |
- |
- |
- |
ОС |
- |
- |
||
|
Дихлорэтилен (4 кл. оп) |
То же |
20 |
Н |
Н |
Н |
ОС |
Н |
Н |
Н |
Н |
Н |
ОС |
|
Диэтиламин (ЛВЖ, 4 кл. оп) |
» |
20 |
ОС |
Н |
Н |
С |
ОС |
ОС |
Н |
ОС |
Н |
ОС |
|
Диэтиловый эфир (ЛВЖ, 4 кл. оп) |
» |
20 |
Н |
Н |
ОС |
С |
Н |
Н |
Н |
Н |
ОС |
Н |
|
Дрожжи |
Любые водные |
20 |
С |
С |
С |
С |
С |
- |
С |
С |
С |
С |
|
40 |
С |
|
С |
С |
- |
- |
С |
С |
С |
С |
||
|
60 |
- |
|
С |
С |
- |
- |
- |
- |
- |
- |
||
|
Дрожжи для пивного сусла |
Торговые |
20 |
С |
С |
С |
С |
С |
С |
С |
С |
С |
С |
|
40 |
С |
С |
С |
С |
- |
- |
С |
С |
С |
С |
||
|
60 |
ОС |
С |
С |
С |
- |
- |
С |
С |
С |
С |
||
|
Дубильная кислота |
Любая водная |
20 |
С |
С |
С |
С |
С |
- |
С |
С |
С |
С |
|
40 |
- |
С |
С |
С |
С |
- |
- |
- |
- |
- |
||
|
60 |
- |
С |
С |
С |
С |
- |
- |
- |
- |
- |
||
|
Дубильный экстракт |
Технический |
20 |
С |
С |
С |
С |
С |
- |
С |
С |
С |
С |
|
Желатин |
Любой водный |
20 |
С |
С |
С |
С |
С |
С |
С |
С |
С |
С |
|
40 |
С |
С |
С |
С |
С |
- |
С |
С |
С |
С |
||
|
60 |
- |
С |
С |
С |
- |
- |
- |
- |
- |
- |
||
|
Железа соли |
Любые водные |
20 |
С |
С |
С |
С |
С |
С |
С |
С |
С |
С |
|
40 |
С |
С |
С |
С |
С |
С |
С |
С |
С |
С |
||
|
60 |
ос |
С |
С |
С |
С |
С |
С |
С |
С |
С |
||
|
Жирные кислоты |
Технические |
20 |
С |
ОС |
С |
С |
Н |
Н |
ОС |
Н |
ос |
С |
|
40 |
С |
ОС |
С |
С |
- |
- |
- |
- |
- |
- |
||
|
60 |
С |
ОС |
ОС |
С |
- |
- |
- |
- |
- |
- |
||
|
Изооктан |
Технический |
20 |
С |
С |
С |
С |
Н |
Н |
С |
Н |
С |
С |
|
Изопропанол (ЛВЖ) |
То же |
20 |
С |
- |
С |
С |
С |
- |
ОС |
С |
С |
С |
|
40 |
- |
- |
С |
С |
С |
- |
- |
С |
ОС |
С |
||
|
60 |
- |
- |
С |
С |
С |
- |
- |
ОС |
- |
ОС |
||
|
80 |
- |
- |
- |
С |
- |
- |
- |
- |
- |
- |
||
|
Изопропиловый эфир (ЛВЖ) |
» |
20 |
Н |
ОС |
ОС |
ОС |
Н |
Н |
Н |
Н |
Н |
Н |
|
60 |
- |
Н |
Н |
Н |
- |
- |
- |
- |
- |
- |
||
|
Йодная тинктура в этаноле (ЛВЖ) |
65 %-ная |
20 |
Н |
ОС |
С |
С |
С |
Н |
С |
С |
Н |
С |
|
Калия алюмосульфат (квасцы) |
50 %-ный водный |
20 |
С |
С |
С |
С |
- |
- |
С |
С |
С |
С |
|
40 |
С |
С |
С |
С |
- |
- |
ОС |
С |
С |
С |
||
|
60 |
ОС |
С |
С |
С |
С |
- |
Н |
С |
С |
С |
||
|
80 |
- |
- |
- |
- |
- |
- |
- |
С |
С |
С |
||
|
Калия бихромат |
Насыщенный водный |
20 |
С |
С |
С |
С |
Н |
- |
С |
С |
ОС |
С |
|
40 |
С |
- |
С |
С |
- |
- |
ОС |
С |
Н |
С |
||
|
60 |
ОС |
- |
С |
С |
- |
- |
- |
С |
- |
- |
||
|
80 |
- |
- |
- |
С |
- |
- |
- |
- |
- |
- |
||
|
Калия борат |
10 %-ный водный |
20 |
С |
С |
С |
С |
С |
С |
С |
С |
С |
С |
|
40 |
С |
С |
С |
С |
С |
- |
С |
С |
С |
С |
||
|
60 |
ОС |
С |
С |
С |
С |
- |
С |
С |
С |
С |
||
|
Калия бромат |
Насыщенный водный |
20 |
С |
С |
С |
С |
С |
С |
С |
С |
С |
С |
|
40 |
С |
С |
С |
С |
С |
- |
С |
С |
С |
С |
||
|
60 |
ОС |
С |
С |
С |
С |
- |
Н |
С |
ОС |
С |
||
|
Калия бромид |
Любой водный |
20 |
С |
С |
С |
С |
С |
С |
С |
С |
С |
С |
|
40 |
С |
С |
С |
С |
С |
С |
С |
С |
С |
С |
||
|
60 |
ОС |
С |
С |
С |
С |
С |
С |
С |
С |
С |
||
|
Калия гидроокись (2 кл. оп) |
50 %-ная водная |
20 |
С |
С |
С |
С |
С |
С |
С |
С |
С |
С |
|
40 |
С |
С |
С |
С |
С |
- |
С |
С |
С |
С |
||
|
60 |
ОС |
С |
С |
С |
С |
- |
С |
С |
С |
ОС |
||
|
80 |
- |
- |
- |
С |
- |
- |
ОС |
ОС |
ОС |
Н |
||
|
Калия иодид |
Насыщенный |
20 |
С |
С |
С |
С |
ОС |
- |
С |
С |
С |
С |
|
40 |
С |
С |
С |
С |
- |
- |
ОС |
С |
ОС |
С |
||
|
60 |
С |
С |
С |
С |
- |
- |
Н |
С |
Н |
С |
||
|
Калия карбонат (поташ) |
Насыщенный водный |
20 |
С |
С |
С |
С |
С |
С |
С |
С |
С |
С |
|
40 |
С |
С |
С |
С |
С |
С |
С |
С |
С |
С |
||
|
60 |
|
|
|
С |
|
С |
|
|
|
|
||
|
Калия нитрат |
50 %-ный водный |
20 |
С |
С |
С |
С |
С |
С |
С |
С |
С |
С |
|
40 |
С |
С |
С |
С |
С |
- |
С |
С |
С |
С |
||
|
60 |
С |
С |
С |
С |
С |
- |
С |
С |
С |
С |
||
|
Калия перманганат |
Насыщенный водный |
20 |
С |
С |
С |
С |
С |
ОС |
ОС |
С |
ОС |
С |
|
40 |
С |
С |
С |
С |
С |
- |
Н |
С |
Н |
С |
||
|
60 |
ОС |
С |
С |
С |
С |
- |
- |
С |
- |
С |
||
|
Калия персульфат |
Любой водный |
20 |
С |
С |
С |
С |
С |
Н |
Н |
С |
С |
С |
|
40 |
С |
С |
С |
С |
С |
- |
- |
С |
С |
С |
||
|
60 |
ОС |
С |
С |
С |
С |
- |
- |
С |
С |
С |
||
|
80 |
- |
- |
- |
- |
- |
- |
- |
С |
ОС |
С |
||
|
Калия перхлорат |
Насыщенный водный |
20 |
С |
С |
С |
С |
Н |
- |
С |
С |
С |
С |
|
40 |
С |
- |
С |
С |
- |
- |
ОС |
С |
ОС |
С |
||
|
60 |
ОС |
- |
С |
С |
- |
- |
- |
С |
- |
С |
||
|
Калия сульфат |
Любой водный |
20 |
С |
С |
С |
С |
С |
С |
С |
С |
С |
С |
|
40 |
С |
С |
С |
С |
С |
С |
С |
С |
С |
С |
||
|
60 |
ОС |
С |
С |
С |
С |
С |
С |
С |
С |
С |
||
|
Калия феррицианит, ферроцианит |
Разбавленный водный; насыщенный |
40 |
С |
С |
С |
С |
С |
С |
С |
С |
С |
С |
|
60 |
ОС |
С |
С |
С |
С |
- |
С |
С |
С |
С |
||
|
60 |
С |
С |
С |
С |
С |
- |
С |
С |
С |
С |
||
|
Калия фосфат |
Любой водный |
20 |
С |
С |
С |
С |
С |
С |
С |
С |
С |
С |
|
40 |
С |
С |
С |
С |
- |
С |
ОС |
С |
ОС |
С |
||
|
60 |
ОС |
С |
С |
С |
- |
С |
Н |
С |
Н |
С |
||
|
80 |
- |
- |
- |
С |
- |
- |
- |
С |
- |
- |
||
|
Калия хлорат |
Насыщенный водный |
20 |
С |
С |
С |
С |
С |
С |
С |
С |
С |
С |
|
40 |
С |
С |
С |
С |
С |
С |
ОС |
С |
ОС |
С |
||
|
60 |
С |
С |
- |
- |
- |
С |
- |
С |
- |
С |
||
|
Калия хлорид |
Любой водный |
20 |
С |
С |
С |
С |
С |
С |
С |
С |
С |
С |
|
40 |
С |
С |
С |
С |
С |
С |
С |
С |
С |
С |
||
|
60 |
С |
С |
С |
С |
С |
С |
С |
С |
С |
С |
||
|
80 |
- |
- |
- |
С |
- |
- |
- |
С |
- |
- |
||
|
Калия хромат |
Насыщенный водный |
20 |
С |
С |
С |
С |
С |
- |
С |
С |
С |
С |
|
40 |
С |
- |
- |
С |
- |
- |
ОС |
С |
С |
С |
||
|
60 |
С |
- |
- |
С |
- |
- |
Н |
С |
ОС |
С |
||
|
Калия цианид |
То же |
20 |
С |
С |
С |
С |
С |
С |
С |
С |
С |
С |
|
40 |
С |
С |
С |
С |
- |
- |
С |
С |
С |
ОС |
||
|
60 |
С |
С |
С |
С |
- |
- |
С |
С |
ОС |
Н |
||
|
Кальция гипохлорит, содержащий 12,5 % активного хлора |
» |
20 |
С |
С |
С |
С |
Н |
С |
С |
С |
Н |
С |
|
40 |
С |
С |
С |
С |
- |
С |
- |
С |
- |
С |
||
|
60 |
- |
С |
С |
С |
- |
С |
- |
С |
- |
С |
||
|
Кальция гидроокись |
Насыщенная водная |
20 |
С |
С |
С |
С |
С |
С |
С |
С |
С |
С |
|
40 |
С |
С |
С |
С |
- |
- |
С |
С |
С |
С |
||
|
60 |
С |
С |
С |
С |
- |
- |
ОС |
С |
С |
С |
||
|
80 |
- |
- |
- |
С |
- |
- |
- |
С |
- |
С |
||
|
Кальция хлорид |
Насыщенный водный |
20 |
С |
С |
С |
С |
С |
С |
С |
С |
С |
С |
|
40 |
С |
С |
С |
С |
С |
С |
С |
С |
С |
С |
||
|
60 |
ОС |
С |
С |
С |
С |
С |
С |
С |
С |
С |
||
|
80 |
- |
- |
- |
С |
- |
- |
ОС |
С |
ОС |
С |
||
|
Камфора (3 кл. оп) |
- |
20 |
Н |
С |
С |
С |
ОС |
- |
С |
ОС |
Н |
ОС |
|
60 |
Н |
ОС |
ОС |
С |
Н |
- |
ОС |
Н |
- |
Н |
||
|
Кислород |
Любой |
20 |
С |
- |
С |
С |
ОС |
Н |
Н |
С |
Н |
С |
|
40 |
С |
- |
- |
- |
- |
- |
- |
С |
С |
С |
||
|
60 |
С |
- |
ОС |
ОС |
- |
- |
- |
С |
С |
С |
||
|
Кислота для прядильных ванн, содержащая Cl2 |
100 мг/л |
20 |
С |
- |
С |
С |
Н |
- |
Н |
С |
Н |
С |
|
200 » |
20 |
- |
- |
С |
С |
Н |
- |
- |
- |
- |
- |
|
|
40 |
ОС |
- |
- |
- |
- |
- |
Н |
С |
Н |
С |
||
|
700 » |
20 |
- |
- |
С |
С |
Н |
- |
- |
- |
- |
- |
|
|
40 |
Н |
- |
- |
- |
- |
- |
Н |
ОС |
Н |
С |
||
|
Коньяк |
Торговый |
20 |
С |
С |
С |
С |
С |
С |
С |
С |
С |
С |
|
40 |
С |
С |
С |
С |
С |
С |
С |
С |
С |
С |
||
|
Крахмала раствор, патока |
Любая водная |
20 |
С |
С |
С |
С |
С |
С |
С |
С |
С |
С |
|
40 |
С |
С |
С |
С |
С |
С |
С |
С |
С |
С |
||
|
60 |
С |
С |
С |
С |
С |
С |
С |
С |
С |
С |
||
|
80 |
- |
- |
- |
С |
- |
- |
С |
С |
С |
С |
||
|
Крезол |
До 90 % водный |
20 |
ОС |
Н |
С |
С |
Н |
Н |
ОС |
Н |
Н |
С |
|
40 |
- |
- |
С |
С |
- |
- |
ОС |
- |
- |
С |
||
|
Кремниевая кислота |
Любая |
60 |
С |
С |
С |
С |
С |
С |
С |
С |
С |
С |
|
Кремнефтористоводородная кислота |
32 %-ная водная |
20 |
С |
С |
С |
С |
Н |
- |
ОС |
ОС |
ОС |
Н |
|
40 |
С |
С |
С |
- |
- |
- |
Н |
ОС |
Н |
- |
||
|
60 |
С |
С |
С |
- |
- |
- |
- |
Н |
- |
- |
||
|
Кротоновый альдегид (2 кл. оп) |
Технический |
20 |
Н |
С |
г |
С |
С |
С |
С |
С |
С |
С |
|
Ланолин |
То же |
20 |
С |
С |
С |
С |
ОС |
- |
С |
ОС |
С |
С |
|
40 |
ОС |
- |
С |
С |
ОС |
- |
С |
Н |
ОС |
С |
||
|
60 |
- |
- |
С |
С |
ОС |
- |
С |
- |
Н |
С |
||
|
Ликеры |
» |
20 |
С |
С |
С |
С |
С |
- |
С |
С |
С |
С |
|
40 |
С |
ОС |
С |
- |
- |
- |
- |
С |
- |
- |
||
|
Лимонная кислота |
10 %-ная |
20 |
С |
С |
С |
С |
С |
С |
С |
С |
С |
С |
|
40 |
С |
С |
С |
С |
- |
С |
С |
С |
С |
С |
||
|
60 |
ОС |
С |
С |
С |
- |
- |
ОС |
С |
С |
С |
||
|
80 |
- |
- |
- |
С |
- |
- |
- |
- |
- |
- |
||
|
Магния соли |
Любые водные |
20 |
С |
С |
С |
С |
С |
С |
С |
С |
С |
С |
|
40 |
С |
С |
С |
С |
С |
- |
С |
С |
С |
С |
||
|
60 |
ОС |
С |
С |
С |
С |
- |
С |
С |
С |
С |
||
|
80 |
- |
- |
- |
С |
- |
- |
- |
С |
- |
С |
||
|
Мазут (ГЖ) |
- |
20 |
С |
ОС |
ОС |
ОС |
Н |
Н |
С |
Н |
С |
С |
|
40 |
ОС |
Н |
Н |
Н |
- |
- |
С |
- |
С |
С |
||
|
Малеиновая кислота |
Насыщенная водная |
20 |
С |
С |
С |
С |
С |
ОС |
Н |
ОС |
Н |
С |
|
40 |
С |
С |
С |
С |
С |
- |
- |
Н |
- |
С |
||
|
60 |
ОС |
С |
С |
С |
С |
- |
- |
- |
- |
С |
||
|
Мармелад |
|
20 |
С |
С |
С |
С |
С |
- |
С |
С |
С |
С |
|
40 |
ОС |
С |
С |
С |
С |
- |
С |
С |
С |
С |
||
|
60 |
ОС |
С |
С |
С |
С |
- |
С |
С |
С |
С |
||
|
80 |
- |
- |
- |
С |
- |
- |
- |
С |
- |
С |
||
|
Масла и жиры растительные (ГЖ) |
- |
20 |
С |
С |
С |
С |
Н |
Н |
С |
Н |
ОС |
С |
|
40 |
ОС |
ОС |
ОС |
С |
- |
- |
С |
- |
ОС |
С |
||
|
60 |
- |
- |
- |
ОС |
- |
- |
С |
- |
Н |
С |
||
|
Масло вазелиновое (ГЖ) |
- |
20 |
С |
- |
С |
С |
Н |
Н |
С |
С |
С |
С |
|
40 |
С |
- |
С |
С |
- |
- |
С |
ОС |
ОС |
С |
||
|
60 |
- |
- |
ОС |
ОС |
- |
- |
ОС |
Н |
Н |
С |
||
|
Масло веретенное (ГЖ) |
- |
20 |
ОС |
ОС |
ОС |
С |
Н |
Н |
С |
Н |
ОС |
С |
|
40 |
- |
- |
- |
ОС |
- |
- |
С |
- |
Н |
ОС |
||
|
60 |
- |
- |
ОС |
Н |
- |
- |
ОС |
- |
- |
Н |
||
|
Масло дизельное (ЛВЖ) |
- |
20 |
С |
С |
С |
ОС |
Н |
Н |
С |
Н |
ОС |
С |
|
40 |
С |
- |
- |
- |
- |
- |
С |
- |
- |
С |
||
|
60 |
- |
ОС |
ОС |
- |
- |
- |
- |
- |
- |
- |
||
|
Масло древесное (ГЖ) |
- |
20 |
ОС |
- |
С |
С |
Н |
Н |
С |
С |
С |
С |
|
60 |
Н |
- |
ОС |
ОС |
- |
|
- |
С |
- |
- |
||
|
Масло камфорное (ГЖ) |
- |
20 |
С |
Н |
Н |
Н |
Н |
- |
С |
Н |
Н |
С |
|
Масло костное (ГЖ) |
- |
20 |
ОС |
С |
С |
С |
Н |
- |
С |
Н |
Н |
С |
|
60 |
Н |
С |
С |
С |
- |
- |
С |
- |
- |
С |
||
|
Масло кукурузное (ГЖ) |
Техническое |
20 |
ОС |
С |
С |
С |
Н |
- |
С |
ОС |
ОС |
С |
|
40 |
|
|
С |
С |
- |
- |
С |
Н |
Н |
С |
||
|
60 |
|
ОС |
ОС |
ОС |
- |
- |
С |
- |
- |
С |
||
|
Масло льняное (ГЖ) |
» |
20 |
С |
- |
С |
С |
ОС |
- |
С |
С |
ОС |
С |
|
40 |
С |
- |
С |
С |
ОС |
- |
С |
Н |
Н |
сс |
||
|
60 |
ОС |
- |
С |
С |
ОС |
|
С |
- |
- |
- |
||
|
80 |
- |
- |
- |
С |
- |
- |
- |
- |
- |
- |
||
|
Масло минеральное, не содержащее ароматических веществ (ГЖ) |
- |
20 |
С |
ОС |
С |
С |
Н |
- |
С |
Н |
ОС |
С |
|
40 |
С |
ОС |
С |
С |
- |
- |
С |
- |
- |
С |
||
|
60 |
С |
Н |
ОС |
ОС |
- |
- |
С |
- |
- |
С |
||
|
Масло моторное (ГЖ) |
- |
60 |
Н |
11 |
ОС |
Н |
Н |
- |
С |
Н |
С |
С |
|
Масло оливковое (ГЖ) |
- |
20 |
С |
С |
С |
С |
Н |
Н |
С |
Н |
С |
С |
|
40 |
С |
|
С |
С |
- |
- |
С |
- |
С |
С |
||
|
60 |
С |
ОС |
ОС |
С |
- |
- |
С |
- |
С |
С |
||
|
80 |
- |
- |
- |
С |
- |
- |
- |
- |
- |
С |
||
|
Масло пальмовое |
- |
20 |
С |
С |
С |
С |
Н |
Н |
С |
С |
С |
С |
|
40 |
Н |
- |
С |
С |
- |
- |
С |
ОС |
ОС |
С |
||
|
60 |
- |
Н |
ОС |
ОС |
- |
- |
ОС |
Н |
Н |
С |
||
|
Масло парафиновое (ГЖ) |
- |
20 |
С |
ОС |
С |
С |
Н |
Н |
С |
Н |
С |
С |
|
40 |
С |
- |
С |
С |
- |
- |
ОС |
- |
ОС |
С |
||
|
60 |
ОС |
- |
С |
ОС |
- |
- |
ОС |
- |
Н |
С |
||
|
Масло силиконовое (ГЖ) |
- |
20 |
С |
С |
С |
С |
С |
С |
С |
ОС |
С |
С |
|
40 |
ОС |
С |
С |
С |
- |
- |
С |
Н |
С |
С |
||
|
60 |
Н |
С |
С |
С |
- |
- |
С |
- |
ОС |
С |
||
|
80 |
- |
- |
- |
С |
- |
- |
- |
- |
- |
- |
||
|
Масло смазочное (ГЖ) |
- |
20 |
С |
Н |
С |
ОС |
Н |
Н |
С |
Н |
С |
С |
|
40 |
С |
- |
С |
- |
- |
- |
С |
- |
ОС |
С |
||
|
60 |
С |
- |
ОС |
- |
- |
- |
ОС |
- |
Н |
С |
||
|
Масло сосновое (ГЖ) |
- |
20 |
Н |
С |
С |
С |
Н |
Н |
ОС |
Н |
Н |
С |
|
60 |
|
ОС |
ОС |
ОС |
- |
- |
ОС |
- |
- |
С |
||
|
Масло терпентиновое (ГЖ) |
- |
20 |
С |
ОС |
ОС |
Н |
Н |
Н |
С |
Н |
Н |
С |
|
40 |
ОС |
- |
ОС |
- |
- |
- |
С |
- |
- |
С |
||
|
60 |
- |
Н |
ОС |
- |
- |
- |
С |
- |
- |
С |
||
|
Масляная кислота (ГЖ, 3 кл. оп) |
Техническая |
20 |
С |
С |
С |
С |
Н |
Н |
Н |
ОС |
ОС |
ОС |
|
40 |
- |
- |
С |
- |
- |
- |
- |
- |
- |
- |
||
|
60 |
- |
- |
ОС |
- |
- |
- |
- |
- |
- |
- |
||
|
Меди соли |
Любые водные |
20 |
С |
С |
С |
С |
С |
С |
С |
С |
С |
С |
|
40 |
С |
С |
С |
ОС |
С |
- |
С |
С |
С |
С |
||
|
60 |
ОС |
С |
С |
Н |
ОС |
- |
ОС |
С |
С |
С |
||
|
Меласса |
- |
20 |
С |
С |
С |
С |
С |
С |
С |
С |
С |
С |
|
40 |
С |
С |
С |
С |
С |
- |
С |
С |
С |
С |
||
|
60 |
С |
С |
С |
С |
С |
1 |
С |
С |
С |
С |
||
|
Мелассовое сусло |
- |
20 |
С |
С |
С |
С |
С |
С |
С |
С |
С |
С |
|
40 |
С |
С |
С |
С |
С |
- |
С |
С |
С |
С |
||
|
60 |
С |
С |
С |
С |
С |
- |
С |
С |
С |
С |
||
|
Ментол |
- |
20 |
ОС |
- |
С |
С |
С |
- |
С |
С |
С |
С |
|
60 |
Н |
- |
ОС |
ОС |
ОС |
- |
ОС |
ОС |
ОС |
С |
||
|
Метан (ГГ) |
Технический |
20 |
С |
С |
С |
С |
Н |
Н |
С |
Н |
Н |
С |
|
Метанол (ЛВЖ, 4 кл. оп) |
Любой |
20 |
С |
ОС |
С |
С |
С |
С |
С |
С |
С |
ос |
|
40 |
С |
- |
С |
С |
С |
- |
С |
С |
С |
ос |
||
|
60 |
ОС |
Н |
С |
С |
Н |
- |
С |
С |
ОС |
ос |
||
|
Метиламин (2 кл. оп). |
32 %-ный водный |
20 |
ОС |
- |
С |
С |
С |
С |
Н |
С |
С |
С |
|
Метилацетат (4 кл. оп) |
Технический |
20 |
Н |
Н |
С |
С |
Н |
Н |
Н |
ОС |
Н |
Н |
|
40 |
- |
- |
- |
С |
- |
- |
- |
- |
- |
- |
||
|
60 |
- |
- |
- |
ОС |
|
- |
- |
- |
- |
- |
||
|
Метилсерная кислота |
до 50 % водная |
20 |
С |
ОС |
ОС |
ОС |
С |
- |
Н |
С |
С |
С |
|
40 |
ОС |
ОС |
ОС |
ОС |
Н |
- |
- |
С |
ОС |
ос |
||
|
Техническая чистая |
40 |
С |
Н |
Н |
Н |
Н |
- |
Н |
С |
ОС |
ос |
|
|
60 |
ОС |
- |
- |
- |
- |
- |
- |
С |
Н |
Н |
||
|
Метилэтилкетон (ЛВЖ, 4 кл. оп) |
Технический |
20 |
Н |
ОС |
С |
С |
Н |
Н |
Н |
С |
Н |
Н |
|
40 |
- |
Н |
СО |
ОС |
- |
- |
- |
ОС |
- |
- |
||
|
60 |
- |
- |
Н |
ОС |
- |
- |
- |
|
- |
- |
||
|
Метоксилбутанол |
- |
20 |
С |
С |
С |
С |
Н |
- |
С |
С |
С |
С |
|
60 |
Н |
ОС |
ОС |
ОС |
- |
- |
С |
ОС |
ОС |
С |
||
|
Мовилит Д |
Торговый |
20 |
С |
- |
С |
С |
С |
С |
С |
С |
С |
С |
|
Молоко |
20 |
С |
С |
С |
С |
С |
- |
С |
С |
С |
С |
|
|
40 |
С |
- |
С |
С |
- |
- |
- |
- |
- |
- |
||
|
60 |
С |
- |
С |
С |
- |
|
- |
- |
- |
- |
||
|
80 |
|
|
|
С |
|
|
|
|
|
|
||
|
Молочная кислота |
90 %-ная водная |
20 |
С |
С |
С |
С |
ОС |
ОС |
Н |
ОС |
Н |
С |
|
40 |
ОС |
С |
С |
С |
ОС |
- |
- |
ОС |
- |
ОС |
||
|
60 |
Н |
С |
С |
С |
ОС |
- |
- |
ОС |
- |
ОС |
||
|
80 |
- |
- |
- |
С |
- |
- |
- |
Н |
- |
ОС |
||
|
Метилхлорацетат (3 кл. оп) |
Технический |
20 |
ОС |
- |
С |
С |
Н |
- |
Н |
С |
Н |
ОС |
|
40 |
- |
- |
С |
С |
- |
- |
- |
- |
- |
- |
||
|
60 |
- |
|
С |
С |
- |
- |
- |
- |
- |
- |
||
|
Морфолин (2 кл. оп) |
» |
20 |
Н |
С |
С |
С |
Н |
- |
Н |
ОС |
ОС |
С |
|
40 |
- |
С |
С |
С |
- |
- |
- |
- |
- |
- |
||
|
60 |
- |
С |
С |
С |
- |
- |
- |
- |
- |
- |
||
|
Моча |
- |
20 |
С |
С |
С |
С |
С |
С |
С |
С |
С |
С |
|
40 |
С |
С |
С |
С |
- |
- |
С |
С |
С |
С |
||
|
60 |
ОС |
С |
С |
С |
- |
- |
С |
С |
С |
С |
||
|
Мочевина |
30 %-ная водная |
20 |
С |
С |
С |
С |
С |
С |
С |
С |
С |
С |
|
40 |
С |
С |
С |
С |
С |
- |
С |
С |
С |
С |
||
|
60 |
С |
С |
С |
С |
- |
- |
- |
- |
- |
- |
||
|
Моющие средства синтетические |
- |
20 |
С |
|
С |
С |
С |
С |
С |
С |
С |
С |
|
40 |
С |
- |
С |
С |
- |
- |
С |
С |
С |
С |
||
|
60 |
ОС |
- |
С |
С |
- |
- |
С |
С |
С |
С |
||
|
80 |
- |
- |
- |
С |
- |
- |
- |
- |
- |
- |
||
|
Муравьиная кислота |
50 %-ная водная |
20 |
С |
С |
С |
С |
С |
ОС |
ОС |
С |
С |
С |
|
40 |
С |
С |
С |
С |
С |
Н |
- |
С |
С |
С |
||
|
60 |
ОС |
С |
С |
С |
С |
- |
- |
ОС |
ОС |
ОС |
||
|
Муравьиная кислота |
Техническая |
20 |
С |
С |
С |
С |
Н |
ОС |
Н |
С |
С |
Н |
|
40 |
ОС |
С |
С |
ОС |
- |
- |
- |
С |
ОС |
Н |
||
|
60 |
Н |
С |
С |
Н |
- |
- |
- |
С |
Н |
- |
||
|
Мыльный раствор |
Любой водный |
20 |
С |
С |
С |
С |
С |
С |
С |
С |
С |
С |
|
40 |
С |
С |
С |
С |
С |
С |
С |
С |
С |
С |
||
|
60 |
ОС |
С |
С |
С |
С |
С |
С |
С |
С |
С |
||
|
Мышьяковая кислота |
80 %-ная водная |
20 |
С |
С |
С |
С |
С |
С |
С |
С |
С |
С |
|
40 |
С |
С |
С |
С |
С |
- |
С |
С |
С |
С |
||
|
60 |
ОС |
С |
С |
С |
С |
- |
С |
С |
С |
С |
||
|
80 |
- |
- |
- |
- |
С |
- |
ОС |
С |
С |
С |
||
|
Натрия ацетат |
Любой водный |
20 |
С |
С |
С |
С |
С |
С |
С |
С |
С |
С |
|
40 |
- |
С |
С |
С |
- |
С |
С |
С |
С |
С |
||
|
60 |
- |
С |
С |
С |
- |
С |
- |
С |
- |
С |
||
|
80 |
- |
- |
- |
С |
- |
- |
- |
ОС |
- |
- |
||
|
Натрия бензонат |
Насыщенный водный |
20 |
С |
С |
С |
С |
С |
С |
С |
С |
С |
С |
|
40 |
С |
- |
С |
С |
С |
С |
С |
С |
С |
С |
||
|
60 |
С |
- |
С |
С |
- |
С |
- |
С |
- |
С |
||
|
80 |
- |
- |
- |
С |
- |
- |
- |
ОС |
- |
ОС |
||
|
Натрия бикарбонат |
То же |
20 |
С |
С |
С |
С |
С |
С |
С |
С |
С |
С |
|
40 |
С |
С |
С |
С |
С |
- |
С |
С |
С |
С |
||
|
60 |
С |
С |
С |
С |
С |
- |
С |
С |
С |
С |
||
|
80 |
- |
- |
|
С |
- |
- |
- |
С |
- |
С |
||
|
Натрия бисульфат |
10 %-ный водный |
20 |
С |
С |
С |
С |
С |
С |
С |
С |
С |
С |
|
40 |
С |
С |
С |
С |
С |
- |
ОС |
С |
С |
С |
||
|
60 |
ОС |
С |
С |
С |
С |
- |
Н |
С |
ОС |
С |
||
|
80 |
- |
- |
- |
С |
- |
- |
- |
ОС |
- |
С |
||
|
Натрия бисульфат |
Любой водный |
20 |
С |
С |
С |
С |
С |
С |
ОС |
С |
С |
С |
|
40 |
ОС |
С |
С |
С |
С |
- |
Н |
С |
С |
С |
||
|
60 |
Н |
С |
С |
С |
С |
- |
- |
С |
ОС |
С |
||
|
Натрия бромат |
» |
20 |
С |
С |
С |
С |
С |
С |
С |
С |
С |
С |
|
40 |
ОС |
- |
ОС |
ОС |
- |
- |
ОС |
С |
С |
С |
||
|
60 |
- |
- |
- |
- |
- |
- |
Н |
С |
ОС |
С |
||
|
Натрия гидроокись (2 кл. оп) |
До 10 % водная |
20 |
С |
С |
С |
С |
С |
С |
С |
С |
С |
ОС |
|
40 |
С |
С |
С |
С |
С |
С |
С |
С |
С |
ОС |
||
|
60 |
ОС |
С |
С |
С |
С |
- |
С |
С |
С |
ОС |
||
|
80 |
- |
- |
- |
С |
- |
- |
- |
- |
- |
- |
||
|
До 30 % водная |
20 |
С |
С |
С |
С |
С |
С |
С |
С |
С |
ОС |
|
|
40 |
С |
С |
С |
С |
С |
С |
ОС |
С |
С |
Н |
||
|
60 |
ОС |
С |
С |
С |
С |
- |
Н |
С |
ОС |
- |
||
|
80 |
- |
- |
- |
С |
- |
- |
- |
|
- |
- |
||
|
50 %-ная водная |
20 |
С |
С |
С |
С |
С |
С |
ОС |
С |
Н |
Н |
|
|
40 |
С |
С |
С |
С |
С |
С |
Н |
С |
- |
- |
||
|
60 |
С |
С |
С |
С |
С |
С |
- |
ОС |
- |
- |
||
|
80 |
- |
- |
- |
С |
- |
- |
- |
|
- |
- |
||
|
Натрия гидросульфит |
До 10 % водный |
20 |
С |
- |
С |
С |
- |
С |
С |
С |
С |
С |
|
40 |
С |
- |
С |
С |
- |
С |
ОС |
С |
С |
С |
||
|
60 |
ОС |
- |
С |
С |
- |
- |
Н |
С |
С |
С |
||
|
Натрия гипохлорит, содержащий 2,5 % активного хлора |
- |
20 |
С |
С |
С |
С |
ОС |
ОС |
Н |
С |
Н |
С |
|
40 |
С |
- |
ОС |
ОС |
- |
- |
- |
- |
- |
- |
||
|
60 |
ОС |
- |
- |
- |
- |
- |
- |
- |
- |
- |
||
|
Натрия иодид |
Любой водный |
20 |
С |
- |
С |
С |
- |
- |
С |
С |
С |
С |
|
40 |
С |
- |
- |
- |
- |
- |
С |
С |
С |
С |
||
|
60 |
ОС |
- |
- |
- |
- |
- |
ОС |
С |
С |
С |
||
|
Натрия карбонат (сода) |
Насыщенный водный |
20 |
С |
С |
С |
С |
С |
С |
С |
С |
С |
С |
|
40 |
С |
С |
С |
С |
С |
С |
С |
С |
С |
С |
||
|
60 |
С |
С |
С |
С |
С |
С |
С |
С |
С |
С |
||
|
80 |
- |
- |
- |
С |
- |
- |
- |
С |
- |
- |
||
|
Натрия нитрат |
То же |
20 |
С |
С |
С |
С |
С |
С |
С |
С |
С |
С |
|
» |
40 |
С |
С |
С |
С |
С |
С |
С |
С |
С |
С |
|
|
» |
60 |
ОС |
С |
С |
С |
С |
С |
С |
С |
С |
С |
|
|
Натрия нитрит |
» |
20 |
С |
С |
С |
С |
С |
- |
С |
С |
С |
С |
|
Натрия оксалат |
» |
20 |
С |
- |
С |
С |
- |
- |
С |
С |
С |
С |
|
» |
40 |
С |
- |
- |
- |
- |
- |
- |
- |
- |
- |
|
|
» |
60 |
ОС |
- |
- |
- |
- |
- |
- |
- |
- |
- |
|
|
Олеиновая кислота |
Техническая чистая |
20 |
С |
ОС |
С |
С |
Н |
Н |
ОС |
Н |
Н |
С |
|
40 |
С |
- |
С |
С |
- |
- |
Н |
- |
- |
- |
||
|
60 |
С |
Н |
ОС |
ОС |
- |
- |
- |
- |
- |
- |
||
|
Олова хлорид |
Насыщенный водный |
20 |
С |
С |
С |
С |
С |
С |
С |
С |
С |
С |
|
40 |
ОС |
С |
С |
С |
- |
- |
С |
ОС |
С |
С |
||
|
60 |
ОС |
С |
С |
С |
- |
- |
ОС |
Н |
С |
С |
||
|
Отходящие газы, содержащие: |
|
|
|
|
|
|
|
|
|
|
|
|
|
двуокись углерода |
Любая |
20 |
С |
С |
С |
С |
С |
- |
С |
С |
С |
С |
|
40 |
С |
С |
С |
С |
С |
- |
С |
С |
С |
С |
||
|
60 |
С |
С |
С |
С |
С |
- |
С |
С |
С |
С |
||
|
80 |
- |
- |
- |
С |
- |
- |
- |
- |
- |
- |
||
|
нитрозные соединения |
Следы |
20 |
С |
С |
С |
С |
Н |
|
ОС |
С |
С |
С |
|
40 |
С |
С |
С |
С |
- |
- |
ОС |
С |
С |
С |
||
|
60 |
С |
|
С |
ОС |
- |
- |
Н |
С |
ОС |
С |
||
|
окись углерода |
Любая |
20 |
С |
С |
С |
С |
С |
- |
С |
С |
С |
С |
|
40 |
С |
С |
С |
С |
С |
- |
С |
С |
С |
С |
||
|
60 |
С |
С |
С |
С |
С |
- |
С |
С |
С |
С |
||
|
олеум |
Незначительная |
20 |
С |
Н |
Н |
Н |
Н |
Н |
Н |
С |
С |
С |
|
Высокая |
20 |
Н |
Н |
Н |
Н |
Н |
Н |
Н |
С |
ОС |
С |
|
|
сернистый ангидрид |
Следы |
20 |
С |
С |
С |
С |
ОС |
- |
ОС |
С |
С |
С |
|
40 |
С |
С |
С |
С |
ОС |
- |
Н |
С |
С |
С |
||
|
60 |
С |
С |
С |
С |
ОС |
- |
- |
С |
С |
С |
||
|
80 |
- |
- |
- |
С |
- |
- |
- |
С |
- |
С |
||
|
серную кислоту |
Любая |
20 |
С |
С |
С |
С |
Н |
- |
ОС |
С |
С |
С |
|
40 |
С |
С |
С |
С |
- |
- |
Н |
С |
С |
С |
||
|
60 |
С |
С |
С |
ОС |
- |
- |
- |
С |
С |
С |
||
|
серный ангидрид |
Следы |
20 |
С |
- |
С |
С |
- |
- |
ОС |
С |
С |
С |
|
40 |
С |
- |
С |
С |
- |
- |
Н |
С |
С |
С |
||
|
60 |
- |
- |
С |
ОС |
- |
- |
- |
С |
С |
С |
||
|
80 |
С |
- |
- |
ОС |
- |
- |
- |
ОС |
- |
- |
||
|
соляную кислоту |
Любая |
20 |
С |
С |
С |
С |
С |
- |
ОС |
С |
С |
С |
|
40 |
С |
С |
С |
С |
С |
- |
Н |
С |
С |
С |
||
|
60 |
- |
С |
С |
С |
С |
- |
- |
С |
С |
С |
||
|
80 |
С |
- |
- |
С |
- |
- |
- |
ОС |
|
С |
||
|
фтористый водород |
Следы |
20 |
С |
С |
С |
С |
С |
- |
С |
С |
С |
С |
|
40 |
С |
С |
С |
С |
С |
- |
ОС |
С |
С |
С |
||
|
60 |
С |
С |
С |
С |
С |
- |
Н |
ОС |
ОС |
С |
||
|
Пальминтиновая кислота |
Техническая чистая |
20 |
С |
- |
ОС |
ОС |
ОС |
ОС |
ОС |
ОС |
О |
С |
|
40 |
- |
- |
- |
Н |
- |
- |
Н |
Н |
Н |
ОС |
||
|
Парафин |
- |
60 |
Н |
Н |
ОС |
ОС |
Н |
- |
С |
Н |
С |
С |
|
Парафиновая эмульсия |
Торговая водная |
20 |
С |
- |
С |
С |
Н |
- |
С |
Н |
С |
С |
|
40 |
С |
- |
С |
С |
- |
- |
С |
Н |
ОС |
С |
||
|
60 |
- |
- |
ос |
ОС |
- |
- |
ОС |
Н |
Н |
С |
||
|
Перхлорная кислота |
10 %-ная водная |
20 |
С |
С |
С |
С |
Н |
- |
Н |
С |
Н |
С |
|
40 |
С |
С |
С |
С |
- |
- |
- |
С |
- |
С |
||
|
60 |
ОС |
С |
С |
С |
- |
- |
- |
С |
- |
С |
||
|
70 %-ная водная |
20 |
ОС |
С |
С |
ОС |
Н |
- |
Н |
С |
Н |
С |
|
|
40 |
- |
ОС |
ос |
Н |
- |
- |
- |
С |
- |
С |
||
|
60 |
- |
Н |
Н |
- |
- |
- |
- |
С |
- |
С |
||
|
Перхлорэтилен, тетрахлорэтилен (3 кл. оп) |
Техническая |
20 |
Н |
- |
ос |
ОС |
Н |
Н |
ОС |
Н |
Н |
С |
|
40 |
- |
- |
- |
- |
- |
- |
Н |
- |
- |
С |
||
|
60 |
- |
- |
- |
- |
- |
- |
- |
- |
- |
С |
||
|
Петролейный эфир |
Технический чистый |
20 |
С |
Н |
С |
С |
Н |
- |
С |
Н |
Н |
С |
|
40 |
С |
- |
ОС |
С |
- |
- |
ОС |
- |
- |
- |
||
|
60 |
- |
- |
ос |
ОС |
- |
- |
Н |
- |
- |
ОС |
||
|
Пиво |
Торговое |
20 |
С |
С |
С |
С |
С |
С |
С |
С |
С |
С |
|
40 |
С |
С |
С |
С |
С |
С |
С |
С |
С |
С |
||
|
60 |
С |
С |
С |
С |
С |
С |
С |
С |
С |
С |
||
|
Пикриновая кислота |
1 %-ная водная |
20 |
С |
С |
С |
С |
С |
С |
ОС |
С |
ОС |
С |
|
Пиридин (2 кл. оп) |
Технический |
20 |
Н |
С |
С |
ОС |
Н |
Н |
Н |
С |
Н |
ОС |
|
40 |
- |
ОС |
ос |
ОС |
- |
- |
- |
ОС |
- |
Н |
||
|
60 |
|
ОС |
ос |
ОС |
- |
- |
- |
Н |
- |
- |
||
|
Плодовая пульпа |
- |
20 |
С |
С |
С |
С |
С |
С |
С |
С |
С |
С |
|
40 |
- |
- |
С |
С |
- |
- |
- |
- |
- |
- |
||
|
60 |
- |
- |
С |
С |
- |
- |
- |
- |
- |
- |
||
|
Пропан (ГГ) |
Технический жидкий |
20 |
С |
Н |
Н |
С |
Н |
Н |
С |
Н |
С |
С |
|
Технический газообразный |
20 |
С |
ОС |
С |
С |
Н |
Н |
С |
С |
С |
С |
|
|
Пропанол |
Технический |
20 |
С |
С |
С |
С |
Н |
- |
ОС |
С |
С |
С |
|
40 |
ОС |
С |
С |
С |
- |
- |
ОС |
С |
С |
С |
||
|
60 |
ОС |
С |
С |
С |
- |
- |
Н |
С |
С |
С |
||
|
Пропаргиловый спирт (2 кл. оп) |
7 %-ный водный |
20 |
С |
С |
С |
С |
С |
С |
С |
С |
С |
С |
|
40 |
С |
С |
С |
С |
- |
- |
С |
С |
С |
С |
||
|
60 |
С |
С |
С |
С |
- |
- |
С |
С |
ОС |
С |
||
|
Пропионовая кислота |
50 %-ная водная |
20 |
С |
С |
С |
С |
ОС |
Н |
Н |
С |
ОС |
С |
|
40 |
С |
С |
С |
С |
- |
- |
- |
С |
Н |
С |
||
|
60 |
ОС |
С |
С |
С |
- |
- |
- |
С |
- |
ОС |
||
|
техническая |
20 |
С |
С |
С |
С |
Н |
Н |
Н |
С |
Н |
С |
|
|
40 |
ОС |
ОС |
ОС |
ОС |
- |
- |
- |
С |
- |
С |
||
|
60 |
- |
ОС |
ОС |
ОС |
- |
- |
- |
ОС |
- |
С |
||
|
Пропиленгликоль |
Технический |
20 |
С |
С |
С |
С |
С |
С |
С |
С |
С |
С |
|
40 |
С |
С |
С |
С |
- |
- |
ОС |
С |
С |
С |
||
|
60 |
С |
С |
С |
С |
- |
- |
Н |
С |
- |
ОС |
||
|
Пропилена окись (2 кл. оп) |
Техническая |
20 |
ОС |
|
С |
С |
- |
- |
Н |
С |
Н |
Н |
|
Псевдокумол |
Технический |
60 |
ОС |
ОС |
ОС |
ОС |
Н |
- |
Н |
Н |
Н |
С |
|
Сало |
|
20 |
С |
С |
С |
С |
Н |
Н |
С |
С |
С |
С |
|
40 |
С |
- |
С |
С |
- |
- |
С |
С |
С |
С |
||
|
60 |
С |
ОС |
С |
С |
- |
- |
С |
С |
С |
С |
||
|
Сало говяжье, сульфированная эмульсия |
Торговое |
20 |
С |
- |
С |
С |
Н |
Н |
С |
Н |
С |
С |
|
Сахарный сироп |
Торговый |
20 |
С |
С |
С |
С |
С |
С |
С |
С |
С |
С |
|
40 |
С |
С |
С |
С |
- |
- |
С |
С |
С |
С |
||
|
60 |
ОС |
С |
С |
С |
- |
- |
С |
С |
С |
С |
||
|
80 |
- |
- |
- |
С |
- |
- |
- |
С |
- |
С |
||
|
Светильный газ (без бензола, ГГ) |
- |
20 |
С |
С |
С |
С |
Н |
- |
С |
Н |
ОС |
С |
|
Сера |
Техническая |
20 |
ОС |
С |
С |
С |
Н |
Н |
Н |
Н |
Н |
С |
|
40 |
Н |
С |
С |
С |
- |
- |
- |
- |
- |
С |
||
|
60 |
- |
- |
- |
С |
- |
- |
- |
- |
С |
С |
||
|
Серебра соли |
Насыщенные |
20 |
С |
С |
С |
С |
С |
С |
С |
С |
С |
С |
|
40 |
С |
С |
С |
С |
С |
С |
С |
С |
С |
С |
||
|
60 |
ОС |
С |
С |
С |
С |
С |
С |
С |
С |
С |
||
|
Серная кислота (2 кл. оп) |
До 40 % водная |
20 |
С |
С |
С |
С |
С |
ОС |
ОС |
С |
ОС |
С |
|
40 |
С |
С |
С |
С |
ОС |
- |
Н |
С |
Н |
С |
||
|
60 |
ОС |
С |
С |
С |
- |
- |
- |
С |
- |
С |
||
|
До 60 % водная |
20 |
С |
С |
С |
С |
Н |
Н |
Н |
С |
Н |
С |
|
|
40 |
С |
С |
С |
С |
- |
- |
- |
С |
- |
С |
||
|
60 |
С |
С |
С |
С |
- |
- |
- |
ОС |
- |
С |
||
|
До 80 % водная |
20 |
С |
С |
С |
С |
Н |
Н |
Н |
С |
Н |
С |
|
|
40 |
С |
ОС |
С |
С |
- |
- |
- |
ОС |
- |
С |
||
|
60 |
С |
- |
ОС |
ос |
- |
- |
- |
Н |
- |
ОС |
||
|
90 %-ная водная |
20 |
С |
ОС |
ОС |
ос |
Н |
Н |
Н |
ОС |
Н |
С |
|
|
40 |
С |
- |
- |
- |
- |
- |
- |
Н |
- |
С |
||
|
96 %-ная водная |
20 |
С |
ОС |
ОС |
ОС |
Н |
Н |
Н |
Н |
Н |
С |
|
|
Сернистая кислота |
Насыщенная водная |
20 |
С |
С |
С |
С |
- |
- |
Н |
С |
Н |
С |
|
40 |
С |
С |
С |
С |
- |
- |
- |
ОС |
- |
С |
||
|
60 |
ОС |
- |
С |
С |
- |
- |
- |
Н |
- |
ОС |
||
|
Сероводород (2 кл. оп) |
Технический |
20 |
С |
С |
С |
С |
Н |
Н |
С |
С |
ОС |
С |
|
40 |
С |
С |
С |
С |
- |
- |
ОС |
ОС |
Н |
С |
||
|
60 |
С |
ОС |
ОС |
С |
- |
- |
Н |
Н |
- |
ОС |
||
|
Насыщенный |
20 |
С |
С |
С |
С |
ОС |
Н |
ОС |
С |
ОС |
С |
|
|
40 |
С |
С |
С |
С |
- |
- |
Н |
ОС |
Н |
С |
||
|
60 |
ОС |
С |
С |
С |
- |
- |
- |
Н |
- |
С |
||
|
Сероуглерод (2 кл. оп) |
Технический |
20 |
ОС |
Н |
ОС |
С |
Н |
Н |
Н |
Н |
Н |
С |
|
Серы двуокись (сернистый ангидрид, 3 кл. оп) |
Техническая газообразная |
20 |
С |
С |
С |
С |
Н |
Н |
Н |
С |
Н |
С |
|
40 |
С |
С |
С |
С |
- |
- |
- |
С |
- |
ОС |
||
|
60 |
С |
С |
С |
С |
- |
- |
- |
ОС |
- |
- |
||
|
Любая влажная |
20 |
С |
С |
С |
С |
Н |
Н |
Н |
С |
Н |
С |
|
|
40 |
С |
С |
С |
С |
- |
- |
- |
С |
- |
ОС |
||
|
60 |
ОС |
С |
С |
С |
- |
- |
- |
ОС |
- |
Н |
||
|
Техническая |
20 |
ОС |
ОС |
ОС |
ОС |
Н |
Н |
Н |
ОС |
Н |
ОС |
|
|
Синильная кислота |
» |
20 |
С |
С |
С |
С |
ОС |
ОС |
ОС |
С |
ОС |
С |
|
40 |
С |
С |
С |
С |
- |
- |
Н |
ОС |
Н |
ОС |
||
|
60 |
ОС |
С |
С |
С |
- |
- |
- |
- |
- |
- |
||
|
Смачивающее вещество |
До 50 % водное |
20 |
С |
С |
С |
С |
С |
С |
С |
С |
С |
С |
|
40 |
С |
- |
- |
С |
- |
- |
- |
- |
- |
- |
||
|
60 |
ОС |
- |
- |
С |
- |
- |
- |
- |
- |
- |
||
|
Смесь: азотная кислота + фосфорная кислота + вода |
3 ч. + 1 ч. + 2 ч. |
20 |
ОС |
- |
ОС |
Н |
Н |
Н |
Н |
С |
Н |
С |
|
Смесь: серная кислота + азотная кислота + вода |
48 + 49 + 3 |
20 |
С |
Н |
Н |
Н |
Н |
Н |
Н |
ОС |
Н |
Н |
|
40 |
ОС |
- |
- |
- |
- |
- |
- |
- |
- |
- |
||
|
60 |
Н |
- |
- |
- |
- |
- |
- |
- |
- |
- |
||
|
+ 50 + 50 + 0 |
20 |
ОС |
Н |
Н |
Н |
Н |
Н |
Н |
ОС |
Н |
Н |
|
|
40 |
Н |
- |
- |
- |
- |
- |
- |
- |
- |
- |
||
|
10 + 87 + 3 |
20 |
ОС |
Н |
Н |
Н |
Н |
Н |
Н |
Н |
Н |
Н |
|
|
50 + 31 + 19 |
20 |
С |
Н |
Н |
Н |
Н |
Н |
Н |
ОС |
ОС |
С |
|
|
50 + 33 + 17 |
20 |
С |
Н |
Н |
Н |
Н |
Н |
Н |
ОС |
Н |
С |
|
|
40 |
ОС |
- |
- |
- |
- |
- |
- |
- |
- |
- |
||
|
10 + 20 + 70 |
20 |
С |
ОС |
ОС |
Н |
Н |
Н |
Н |
С |
ОС |
С |
|
|
40 |
С |
- |
- |
- |
- |
- |
- |
С |
- |
С |
||
|
Смесь: серная кислота + фосфорная кислота + вода |
30 %-ная |
20 |
С |
- |
С |
С |
ОС |
- |
Н |
С |
С |
С |
|
60 %-ная |
40 |
С |
- |
ОС |
ОС |
- |
- |
- |
С |
ОС |
С |
|
|
10 %-ная |
|
|
|
|
|
|
|
|
|
|
|
|
|
Соляная кислота (2 кл. оп) |
5 %-ная водная |
20 |
С |
С |
С |
С |
Н |
Н |
ОС |
С |
ОС |
С |
|
40 |
С |
С |
С |
- |
- |
- |
Н |
С |
Н |
С |
||
|
60 |
ОС |
С |
С |
С |
- |
- |
- |
С |
- |
С |
||
|
10 %-ная водная |
20 |
С |
С |
С |
С |
Н |
Н |
ОС |
С |
ОС |
С |
|
|
40 |
С |
С |
С |
С |
- |
- |
Н |
С |
Н |
С |
||
|
60 |
ОС |
С |
С |
С |
- |
- |
- |
С |
- |
С |
||
|
до 30 % водная |
20 |
С |
С |
С |
С |
Н |
Н |
Н |
С |
Н |
С |
|
|
40 |
С |
С |
С |
С |
- |
- |
- |
С |
- |
С |
||
|
60 |
ОС |
С |
С |
С |
- |
- |
- |
ОС |
- |
ОС |
||
|
36 %-ная водная |
20 |
С |
С |
С |
С |
Н |
Н |
Н |
С |
Н |
С |
|
|
40 |
С |
- |
С |
С |
- |
- |
- |
ОС |
- |
ОС |
||
|
60 |
ОС |
ОС |
С |
С |
- |
- |
- |
Н |
- |
Н |
||
|
Спермацет |
- |
20 |
Н |
С |
С |
С |
Н |
- |
С |
Н |
ОС |
С |
|
Спирт из масла орехов |
Технический |
20 |
С |
- |
С |
С |
ОС |
- |
С |
Н |
ОС |
С |
|
40 |
С |
- |
С |
С |
- |
- |
С |
- |
Н |
С |
||
|
60 |
ос |
- |
С |
С |
Н |
- |
С |
- |
- |
С |
||
|
Спирт из спермацетового масла |
- |
20 |
С |
С |
С |
С |
Н |
- |
С |
ОС |
С |
С |
|
Спиртные напитки, содержащие 40 % алкоголя |
- |
20 |
С |
С |
С |
С |
С |
С |
С |
С |
С |
С |
|
Стеариновая кислота |
Техническая |
20 |
С |
С |
С |
С |
ОС |
ОС |
С |
С |
С |
С |
|
40 |
С |
- |
- |
- |
- |
- |
С |
С |
С |
С |
||
|
60 |
С |
- |
ОС |
ОС |
- |
- |
ОС |
ОС |
ОС |
ОС |
||
|
Сульфонат жирного спирта |
Водный |
20 |
С |
- |
С |
С |
- |
- |
С |
С |
С |
С |
|
40 |
С |
- |
С |
С |
- |
- |
С |
С |
С |
С |
||
|
60 |
ОС |
- |
С |
ОС |
- |
- |
С |
С |
С |
С |
||
|
Сурьмы хлорид (2 кл. оп) |
90 %-ная водный |
20 |
С |
С |
С |
С |
Н |
- |
Н |
С |
С |
С |
|
40 |
С |
С |
С |
С |
- |
- |
- |
- |
- |
- |
||
|
60 |
- |
С |
С |
С |
- |
- |
- |
- |
- |
- |
||
|
Тетрагидронафталин (4 кл. оп) |
Технический |
20 |
Н |
- |
ОС |
Н |
Н |
Н |
Н |
Н |
Н |
С |
|
Тетрагидрофуран (ЛВЖ, 4 кл. оп) |
То же |
20 |
Н |
ОС |
ОС |
Н |
Н |
Н |
Н |
Н |
Н |
С |
|
Тетрахлорэтан (3 кл. оп) |
» |
20 |
Н |
Н |
ОС |
ОС |
Н |
Н |
Н |
Н |
Н |
ОС |
|
Тионилхлорид |
» |
20 |
Н |
Н |
Н |
Н |
Н |
Н |
Н |
Н |
Н |
С |
|
Толуол (ЛВЖ, 3 кл. оп) |
» |
20 |
Н |
Н |
ОС |
С |
Н |
Н |
Н |
Н |
Н |
С |
|
» |
60 |
- |
- |
Н |
ОС |
- |
- |
- |
- |
- |
- |
|
|
Трибутилфосфат |
Технический |
20 |
Н |
С |
С |
С |
ОС |
Н |
Н |
С |
Н |
Н |
|
40 |
- |
С |
С |
С |
- |
- |
- |
- |
- |
- |
||
|
60 |
- |
С |
С |
С |
- |
- |
- |
- |
- |
- |
||
|
Трилон |
- |
80 |
ОС |
С |
С |
|
Н |
|
С |
С |
Н |
ОС |
|
Триоктилфосфат |
- |
20 |
Н |
- |
ОС |
С |
Н |
Н |
ОС |
Н |
Н |
Н |
|
Трихлоруксусная кислота (3 кл. оп) |
Техническая чистая |
20 |
ОС |
С |
С |
С |
Н |
Н |
Н |
ОС |
Н |
Н |
|
40 |
- |
ОС |
ОС |
С |
- |
- |
- |
- |
- |
- |
||
|
60 |
- |
- |
Н |
С |
- |
- |
- |
- |
- |
- |
||
|
50 %-ная водная |
20 |
С |
С |
С |
С |
Н |
- |
Н |
ОС |
Н |
Н |
|
|
40 |
ОС |
- |
С |
С |
- |
- |
- |
- |
- |
- |
||
|
60 |
- |
- |
С |
С |
- |
- |
- |
- |
- |
- |
||
|
Трихлорэтан |
Технический |
20 |
Н |
Н |
ОС |
ОС |
Н |
Н |
Н |
Н |
Н |
С |
|
Трихлорэтилен (3 кл. оп) |
То же |
20 |
Н |
Н |
Н |
ОС |
Н |
Н |
Н |
Н |
Н |
С |
|
Триэтаноламин (3 кл. оп) |
» |
20 |
ОС |
ОС |
С |
С |
ОС |
ОС |
ОС |
Н |
С |
С |
|
Углерода двуокись (углекислота, углекислый газ) |
Техническая сухая |
20 |
С |
С |
С |
С |
С |
ОС |
С |
С |
С |
С |
|
40 |
С |
С |
С |
С |
С |
- |
С |
С |
С |
С |
||
|
60 |
С |
С |
С |
С |
С |
- |
С |
С |
С |
С |
||
|
80 |
- |
- |
- |
С |
- |
- |
- |
- |
- |
- |
||
|
Техническая |
20 |
С |
С |
С |
С |
С |
ОС |
С |
С |
С |
С |
|
|
40 |
С |
С |
С |
С |
С |
- |
С |
С |
С |
С |
||
|
Влажная |
60 |
ОС |
С |
С |
С |
С |
- |
С |
С |
С |
|
|
|
Удобрительная соль (минеральное удобрение) Уксус |
Водная |
20 |
С |
С |
С |
С |
С |
- |
С |
С |
С |
С |
|
40 |
С |
С |
С |
С |
С |
- |
С |
С |
С |
С |
||
|
60 |
ОС |
С |
С |
С |
С |
- |
С |
С |
С |
С |
||
|
Торговый |
20 |
С |
С |
С |
С |
ОС |
- |
Н |
ОС |
Н |
Н |
|
|
40 |
С |
С |
С |
С |
ОС |
- |
- |
Н |
- |
- |
||
|
60 |
С |
С |
С |
С |
ОС |
- |
- |
- |
- |
- |
||
|
80 |
- |
- |
- |
С |
- |
- |
- |
- |
- |
- |
||
|
Уксусная кислота (ГЖ, 3 кл. оп) |
Техническая чистая |
20 |
ОС |
ОС |
С |
С |
С |
Н |
Н |
ОС |
ОС |
Н |
|
40 |
Н |
- |
С |
С |
ОС |
- |
- |
- |
- |
- |
||
|
60 |
- |
Н |
ОС |
ОС |
- |
- |
- |
- |
- |
- |
||
|
50 %-ная водная |
20 |
С |
С |
С |
С |
С |
Н |
Н |
С |
ОС |
ОС |
|
|
40 |
С |
С |
С |
С |
С |
- |
- |
- |
- |
- |
||
|
60 |
- |
С |
С |
С |
С |
- |
- |
- |
- |
- |
||
|
10 %-ная водная |
20 |
С |
С |
С |
С |
С |
Н |
ОС |
С |
С |
ОС |
|
|
40 |
С |
С |
С |
С |
С |
- |
Н |
С |
С |
Н |
||
|
Уксусной кислоты ангидрид |
Технический |
20 |
Н |
ОС |
С |
С |
Н |
Н |
Н |
ОС |
Н |
Н |
|
40 |
- |
ОС |
ОС |
ОС |
- |
- |
- |
- |
- |
- |
||
|
Фенол (3 кл. оп) |
До 10 % водный |
20 |
С |
Н |
С |
С |
Н |
Н |
Н |
С |
ОС |
С |
|
40 |
ОС |
- |
С |
С |
- |
- |
- |
С |
Н |
С |
||
|
60 |
- |
- |
ОС |
С |
- |
- |
- |
С |
- |
С |
||
|
До 90 % водный |
20 |
ОС |
Н |
С |
С |
Н |
Н |
Н |
Н |
Н |
С |
|
|
40 |
- |
- |
С |
С |
- |
- |
- |
- |
- |
ОС |
||
|
60 |
- |
- |
ОС |
С |
- |
- |
- |
- |
- |
Н |
||
|
Формальдегид (формалин, 2 кл. оп) |
40 %-ный водный |
20 |
С |
С |
С |
С |
ОС |
С |
С |
С |
С |
С |
|
40 |
С |
С |
С |
С |
- |
- |
С |
С |
С |
С |
||
|
60 |
- |
С |
- |
- |
- |
- |
ОС |
С |
ОС |
С |
||
|
Формамид (3 кл. оп) |
Технический |
20 |
Н |
- |
С |
С |
С |
- |
С |
С |
С |
ОС |
|
40 |
- |
- |
С |
- |
С |
- |
- |
С |
- |
- |
||
|
60 |
- |
- |
С |
- |
С |
- |
- |
С |
- |
- |
||
|
Фосфора хлорид (2 кл. оп) |
Технический |
20 |
Н |
С |
С |
С |
С |
С |
Н |
С |
Н |
С |
|
Фосфорная кислота |
до 30 % водная |
20 |
С |
С |
С |
С |
С |
ОС |
ОС |
С |
С |
С |
|
40 |
С |
С |
С |
С |
С |
- |
ОС |
С |
С |
С |
||
|
60 |
ОС |
С |
С |
С |
С |
- |
Н |
С |
С |
С |
||
|
80 |
- |
- |
- |
С |
- |
- |
- |
С |
ОС |
С |
||
|
до 50 % |
20 |
С |
С |
С |
С |
ОС |
Н |
ОС |
С |
С |
С |
|
|
40 |
С |
С |
С |
С |
- |
- |
Н |
С |
С |
С |
||
|
60 |
С |
С |
С |
С |
- |
- |
- |
С |
ОС |
С |
||
|
85 %-ная водная |
20 |
С |
С |
С |
С |
ОС |
Н |
Н |
С |
С |
С |
|
|
40 |
С |
С |
С |
С |
- |
- |
- |
С |
С |
С |
||
|
60 |
С |
ОС |
ОС |
С |
- |
- |
- |
С |
ОС |
С |
||
|
80 |
- |
- |
- |
С |
- |
- |
- |
ОС |
- |
С |
||
|
Фосфоропентоксид (2 кл. оп) |
Технический |
20 |
С |
- |
С |
С |
С |
- |
ОС |
С |
С |
С |
|
40 |
С |
- |
С |
- |
С |
- |
Н |
С |
С |
С |
||
|
Фотографическая эмульсия |
Любая |
20 |
С |
С |
С |
С |
С |
- |
ОС |
С |
С |
С |
|
40 |
С |
- |
С |
С |
С |
- |
- |
С |
С |
С |
||
|
Фотографический закрепитель |
Торговый |
20 |
С |
С |
С |
С |
С |
- |
С |
С |
С |
С |
|
40 |
С |
- |
С |
С |
С |
- |
С |
С |
С |
С |
||
|
60 |
ОС |
- |
- |
- |
- |
- |
- |
- |
- |
- |
||
|
Фотографический проявитель |
» |
20 |
С |
С |
С |
С |
С |
- |
ОС |
С |
С |
С |
|
40 |
С |
- |
С |
С |
С |
- |
ОС |
С |
С |
С |
||
|
60 |
ОС |
- |
ОС |
- |
- |
- |
- |
- |
- |
- |
||
|
Фруктовые напитки |
- |
20 |
С |
С |
С |
С |
С |
С |
С |
С |
С |
С |
|
40 |
С |
С |
С |
С |
С |
С |
С |
С |
С |
С |
||
|
60 |
С |
С |
С |
С |
С |
С |
С |
С |
С |
С |
||
|
80 |
- |
- |
- |
С |
- |
- |
С |
- |
- |
С |
||
|
Фталевая кислота |
Насыщенная |
20 |
С |
С |
С |
С |
Н |
- |
Н |
С |
С |
Н |
|
40 |
ОС |
С |
С |
С |
- |
- |
- |
С |
С |
- |
||
|
60 |
Н |
С |
С |
С |
- |
- |
- |
ОС |
ОС |
- |
||
|
Фтористоводородная (плавиковая) кислота |
70 %-ная водная |
20 |
С |
С |
С |
С |
Н |
Н |
Н |
Н |
Н |
С |
|
60 |
- |
ОС |
ОС |
- |
- |
- |
- |
- |
- |
- |
||
|
50 %-ная водная |
20 |
С |
С |
С |
С |
Н |
Н |
Н |
Н |
Н |
С |
|
|
40 |
- |
- |
- |
С |
- |
- |
- |
- |
- |
- |
||
|
60 |
- |
ОС |
ОС |
С |
- |
- |
- |
- |
- |
- |
||
|
до 40 % водная |
20 |
С |
С |
С |
С |
ОС |
Н |
Н |
Н |
Н |
С |
|
|
40 |
ОС |
С |
С |
С |
- |
- |
- |
- |
- |
С |
||
|
60 |
ОС |
ОС |
ОС |
С |
Н |
- |
- |
- |
- |
ОС |
||
|
Фурфуриловый спирт |
Технический |
20 |
Н |
Н |
С |
С |
С |
Н |
Н |
ОС |
ОС |
Н |
|
40 |
- |
- |
С |
- |
- |
- |
- |
- |
- |
- |
||
|
60 |
- |
- |
С |
ОС |
ОС |
- |
- |
- |
- |
- |
||
|
Хлоральгидрат |
То же |
20 |
Н |
Н |
С |
ОС |
ОС |
|
Н |
ОС |
ОС |
ОС |
|
40 |
- |
- |
С |
- |
- |
- |
- |
- |
- |
- |
||
|
60 |
- |
- |
С |
Н |
- |
- |
- |
- |
- |
- |
||
|
Хлорбензол (ЛВЖ, 3 кл. оп) |
» |
20 |
Н |
Н |
ОС |
С |
Н |
Н |
Н |
Н |
Н |
Н |
|
Хлорметан (метилхлорид) |
» |
20 |
Н |
Н |
Н |
ОС |
Н |
Н |
Н |
ОС |
Н |
ОС |
|
Хлорная вода |
Насыщенная |
20 |
ОС |
ОС |
ОС |
ОС |
Н |
Н |
Н |
ОС |
ОС |
ОС |
|
40 |
ОС |
ОС |
ОС |
- |
- |
- |
- |
- |
- |
- |
||
|
Хлорная кислота |
10 %-ная водная |
20 |
С |
С |
С |
Н |
Н |
Н |
Н |
С |
Н |
Н |
|
40 |
С |
С |
С |
- |
- |
- |
- |
С |
- |
- |
||
|
60 |
ОС |
- |
- |
- |
- |
- |
- |
С |
- |
- |
||
|
20 %-ная водная |
20 |
С |
ОС |
ОС |
Н |
Н |
Н |
Н |
С |
Н |
Н |
|
|
40 |
С |
- |
- |
- |
- |
- |
- |
С |
- |
- |
||
|
60 |
ОС |
- |
- |
- |
- |
- |
- |
- |
- |
- |
||
|
Хлороформ |
Технический |
20 |
Н |
Н |
Н |
ОС |
Н |
Н |
Н |
Н |
Н |
ОС |
|
Хлорсульфоновая кислота |
Техническая |
20 |
ОС |
Н |
Н |
Н |
Н |
Н |
Н |
Н |
Н |
Н |
|
Хлоруксусная монокислота |
50 %-ная водная |
20 |
С |
С |
С |
С |
ОС |
- |
Н |
ОС |
Н |
Н |
|
40 |
С |
- |
С |
С |
- |
- |
- |
- |
- |
- |
||
|
60 |
- |
- |
С |
С |
- |
- |
- |
- |
- |
- |
||
|
Хлоруксусная кислота |
Техническая |
20 |
С |
С |
С |
С |
Н |
- |
Н |
ОС |
Н |
Н |
|
40 |
С |
С |
С |
С |
- |
- |
- |
- |
- |
- |
||
|
60 |
ОС |
С |
С |
С |
|
|
|
|
|
|
||
|
Хлорэтанол (этиленхлоргидрин) |
Технический |
20 |
Н |
Н |
С |
С |
Н |
Н |
С |
ОС |
Н |
Н |
|
40 |
- |
- |
С |
С |
- |
- |
- |
- |
- |
- |
||
|
60 |
- |
- |
С |
С |
- |
- |
- |
- |
- |
- |
||
|
Хлофен (хлоридифенил) |
» |
20 |
Н |
- |
С |
С |
Н |
- |
Н |
Н |
Н |
С |
|
Хромовая кислота в смеси с серной кислотой и водой |
50 ч. |
20 |
С |
Н |
Н |
Н |
Н |
Н |
Н |
ОС |
Н |
С |
|
15 ч. |
40 |
С |
- |
- |
- |
- |
- |
- |
ОС |
- |
С |
|
|
35 ч. |
60 |
ос |
- |
- |
- |
- |
- |
- |
- |
- |
С |
|
|
Хромовая кислота |
До 50 % водная |
20 |
С |
С |
С |
С |
Н |
Н |
Н |
ОС |
Н |
С |
|
40 |
С |
ОС |
ОС |
С |
- |
- |
- |
ОС |
- |
С |
||
|
60 |
ос |
- |
- |
Н |
- |
- |
- |
ОС |
- |
С |
||
|
Любая водная |
20 |
С |
С |
С |
С |
Н |
Н |
Н |
ОС |
Н |
С |
|
|
Царская водка |
Концентрированная |
20 |
С |
Н |
Н |
ОС |
Н |
Н |
Н |
Н |
Н |
ОС |
|
40 |
ОС |
- |
- |
Н |
- |
- |
- |
- |
- |
- |
||
|
Циклогексан (ЛВЖ, 4 кл. оп) |
Технический |
20 |
Н |
С |
С |
С |
Н |
Н |
С |
Н |
Н |
С |
|
40 |
- |
С |
С |
- |
- |
- |
- |
- |
- |
- |
||
|
60 |
- |
С |
С |
- |
- |
- |
- |
- |
- |
- |
||
|
Циклогексанол (4 кл. оп) |
То же |
20 |
С |
Н |
С |
С |
Н |
Н |
ОС |
Н |
С |
С |
|
40 |
С |
- |
С |
С |
- |
- |
- |
|
- |
- |
||
|
60 |
С |
- |
С |
ОС |
- |
- |
- |
- |
- |
- |
||
|
Циклогексанон (3 кл. оп) |
» |
20 |
Н |
Н |
С |
С |
Н |
- |
Н |
ОС |
Н |
Н |
|
40 |
- |
- |
ОС |
ОС |
- |
- |
- |
- |
- |
- |
||
|
60 |
- |
- |
ОС |
ОС |
- |
- |
- |
- |
- |
- |
||
|
Цинка соли |
Любые водные |
20 |
С |
С |
С |
С |
С |
С |
С |
С |
С |
С |
|
40 |
С |
С |
С |
С |
- |
- |
ОС |
С |
С |
С |
||
|
60 |
ОС |
С |
С |
С |
- |
- |
Н |
С |
С |
С |
||
|
Цинка хлорид |
Насыщенный водный |
20 |
С |
С |
С |
С |
С |
С |
С |
С |
С |
С |
|
40 |
ОС |
С |
С |
С |
- |
С |
С |
ОС |
С |
С |
||
|
60 |
ОС |
С |
С |
С |
- |
- |
ОС |
Н |
С |
С |
||
|
Щавелевая кислота |
Разбавленная водная |
20 |
С |
С |
С |
С |
С |
С |
ОС |
ОС |
ОС |
С |
|
40 |
С |
С |
С |
С |
С |
С |
Н |
ОС |
Н |
С |
||
|
60 |
С |
С |
С |
С |
|
С |
- |
ОС |
|
ОС |
||
|
Этилацетат (ЛВЖ, 4 кл. оп) |
Технический |
20 |
Н |
ОС |
С |
С |
ОС |
Н |
Н |
ОС |
Н |
Н |
|
40 |
- |
- |
С |
С |
ОС |
- |
- |
ОС |
- |
- |
||
|
60 |
- |
Н |
ОС |
С |
ОС |
- |
- |
ОС |
- |
- |
||
|
Этиленгликоль (ГЖ) |
То же |
20 |
С |
С |
С |
С |
С |
С |
С |
С |
С |
С |
|
40 |
С |
- |
С |
С |
- |
С |
С |
С |
С |
С |
||
|
60 |
С |
- |
С |
С |
ОС |
- |
ОС |
С |
ОС |
С |
||
|
80 |
- |
- |
- |
С |
- |
- |
- |
- |
- |
ОС |
||
|
Этилендиамин |
» |
20 |
ОС |
- |
С |
С |
Н |
ОС |
ОС |
С |
С |
ОС |
|
40 |
- |
- |
С |
- |
- |
- |
ОС |
С |
ОС |
ОС |
||
|
60 |
- |
- |
С |
- |
- |
- |
Н |
С |
Н |
Н |
||
|
Этиловый спирт (этанол ЛВЖ, 4 кл. оп) |
Технический |
20 |
С |
Н |
С |
С |
С |
С |
С |
С |
С |
ОС |
|
96 %-ный |
40 |
С |
- |
С |
С |
С |
С |
С |
С |
С |
ОС |
|
|
60 |
ОС |
- |
С |
С |
С |
- |
С |
С |
С |
ОС |
||
|
80 |
- |
- |
- |
С |
- |
- |
ОС |
С |
С |
- |
||
|
Этиловый спирт (бродильное сусло) |
Рабочий |
40 |
С |
- |
С |
С |
С |
С |
С |
С |
С |
С |
|
60 |
ОС |
- |
ОС |
С |
С |
- |
С |
С |
С |
С |
||
|
Этиловый спирт с 2 % толуола |
96 %-ный |
20 |
С |
- |
ОС |
ОС |
С |
С |
С |
С |
С |
С |
|
Этиловый спирт с уксусной кислотой (бродильная смесь) |
Рабочий |
20 |
С |
С |
С |
С |
С |
- |
ос |
С |
С |
ОС |
|
40 |
С |
- |
С |
- |
С |
- |
ос |
С |
С |
ОС |
||
|
60 |
ОС |
- |
- |
- |
- |
- |
- |
ОС |
С |
ОС |
||
|
Этиловый эфир акриловой кислоты |
Технический |
20 |
Н |
Н |
С |
- |
ОС |
Н |
ОС |
ОС |
Н |
- |
|
Этил хлористый (4 кл. оп) |
» |
20 |
Н |
- |
ОС |
ОС |
Н |
ос |
Н |
Н |
Н |
ОС |
|
Яблочная кислота |
1 %-ная водная |
20 |
С |
С |
С |
С |
С |
С |
С |
С |
С |
С |
|
40 |
- |
- |
С |
С |
- |
С |
С |
С |
С |
С |
||
|
60 |
- |
- |
С |
С |
- |
С |
С |
С |
С |
С |
||
|
Янтарная кислота |
Любая |
20 |
С |
С |
С |
С |
оС |
С |
С |
С |
С |
С |
|
40 |
С |
С |
С |
С |
- |
С |
С |
С |
С |
С |
||
|
60 |
С |
С |
С |
С |
- |
С |
С |
С |
С |
С |
||
|
ГОСТ или ТУ |
Средняя плотность (объемная масса), кг/м3 |
Теплопроводность (коэффициент теплопроводности), Вт/(м×°С), [ккал/(м×ч×°С)] |
Группа возгораемости |
Характер пористости |
Размеры по ГОСТ или ТУ, мм |
Область применения |
|||||
|
материала по ГОСТ или ТУ при 25 °С, не более |
Расчетный в конструкции |
|
|||||||||
|
материала по ГОСТ или ТУ |
расчетная в конструкции |
при положительных температурах |
при отрицательных температурах |
|
|||||||
|
1. Маты из стеклянного штапельного волокна на синтетическом связующем, МТ-35 |
ГОСТ 10499-78 |
35 |
55 |
0,047 (0,04) |
0,04 + 0,0003tср (0,034 + 0,00026tср) |
0,052 (0,045) |
трудносгораемые |
открытая |
Рулоны: длина 1000 - 13000; ширина 500, 800, 1000, 1500; толщина 30 - 80 с интервалом 10 мм |
Трубопроводы диаметром 50 мм и более. Арматура |
|
|
2. Маты минераловатные на синтетическом связующем, 50 |
ГОСТ 9573-72 |
50 |
75 |
0,047 (0,04) |
0,04 + 0,00026tср (0,034 + 0,00022tср) |
0,05 (0,043) |
несгораемые |
то же |
Рулоны: длина 2000, 3000, 4000; ширина 500, 1000; толщина от 40 до 100 с интервалом 10 мм |
То же |
|
|
3. Маты и вата из супертонкого стекловолокна без связующего СТВ |
ТУ 21-РСФСР-224-75 |
25 |
75 |
0,044 (0,038) |
ориентировочно (0,034 + 0,00026tср) 0,04 + 0,0003tср |
0,047 (0,04) |
то же |
» |
Размеры матов по согласованию с заказчиком |
Трубопроводы всех диаметров. Арматура. Вата применяется в набивку под кожух |
|
|
4. Маты без связующего из ультратонкого или супертонкого стеклянного волокна |
ТУ 18-16-84-76 |
до 10 |
до 40 |
- |
ориентировочно 0,04 + 0,0003tср (0,034 + 0,00026tср) |
0,047 (0,04) |
» |
открытая |
Длина 1100, ширина 600, толщина 20 - 60 с интервалом 10 мм |
Трубопроводы всех диаметров. Арматура |
|
|
5. Материал теплозвукоизоляционный марки АТМ-1 |
ТУ 18-16-85-76 |
до 10 без оклейки |
до 40 без оклейки |
- |
ориентировочно 0,04 + 0,0003tср (0,034 + 0,00026tср) |
0,047 (0,04) |
несгораемый |
то же |
Длина 6000, ширина 570 и 1000, толщина 20 - 40 с интервалом 5 мм |
Трубопроводы всех диаметров. Арматура с оклейкой стеклотканью, в некоторых случаях может применяться без покровного слоя |
|
|
6. Пенополиуретан эластичный трудносгораемый марки ППУ-ЭТ |
ТУ 6-05-1734-75 |
30 - 40 |
40 - 50 |
- |
- |
0,047 (0,04) 0,047 (0,04) |
трудносгораемый |
» |
Листы и плиты: длина 2000, ширина 850 и 1000, толщина от 5 до 300 |
Трубопроводы всех диаметров, арматура с отрицательными температурами транспортируемых веществ. На пожаровзрывоопасных производствах не применяется |
|
|
7. Плиты минераловатные на синтетическом связующем мягкие, марки 50 |
ГОСТ 9573-72 |
50 |
75 |
0,047 (0,04) |
0,04 + 0,00026tср (0,034 + 0,00022tср) |
|
несгораемые |
» |
Длина 1000, ширина 500, 700; толщина 40 - 100 с интервалом 10 мм |
Трубопроводы с диаметром 100 мм и более. Арматура |
|
|
8. Холст из штапельного базальтового волокна марки ХШБВ |
ТУ 6-11-215-76 |
40 |
80 |
0,041 (0,035) |
ориентировочно 0,04 + 0,00026tср (0,034 + 0,00022tср) |
0,047 (0,04) |
несгораемый |
» |
Рулоны шириной 5000 и 1000, толщина не нормируется |
Трубопроводы всех диаметров |
|
|
9. Холст из супертонкого штапельного волокна из горных пород |
РСТ УССР 5013-76 |
15 - 35 |
30 - 70 |
0,035 - 0,043 (0,03 - 0,037) |
ориентировочно 0,04 + 0,00029tср |
0,047 (0,04) |
то же |
то же |
Длина 1100, ширина 1050, толщина до 200 |
Трубопроводы всех диаметров. Арматура |
|
|
Примечания: 1. tср - средняя температура теплоизоляционного слоя. Для трубопроводов, расположенных в помещении и на открытом воздухе в летнее время tср = (t + 40)/2, на открытом воздухе в зимнее время tср = t/2. Здесь t - температура изолируемого трубопровода, °С. 2. Расчетные значения теплопроводности (коэффициента теплопроводности) теплоизоляционных конструкций трубопроводов с положительными температурами транспортируемых веществ даны с учетом влияния шовности и крепежных деталей. 3. Расчетные значения теплопроводности (коэффициента теплопроводности) теплоизоляционных конструкций трубопроводов с отрицательными температурами транспортируемых веществ даны с учетом влажности материала, накапливающейся в теплоизоляционном слое в процессе эксплуатации. 4. Теплоизоляционные материалы отнесены к группам возгораемости, в соответствии с прил. 1 СНиП «Противопожарные нормы проектирования промышленных зданий и сооружений». |
|
||||||||||
|
ГОСТ или ТУ |
Применяемая толщина, мм |
Масса 1 м2, кг |
Водопоглощение, %, не более |
Группа возгораемости |
Расчетный срок службы в неагрессивных средах, год |
Область применения |
||
|
вне помещений |
в помещениях |
|||||||
|
1. Листы из алюминия и алюминиевых сплавов |
0,3 - 0,8 |
0,85 - 2,2 |
- |
Несгораемые |
12 |
14 |
Трубопроводы всех диаметров. Арматура |
|
|
2. Оболочки (заготовки) из алюминия и алюминиевых сплавов для покрытия тепловой изоляции трубопроводов |
ТУ 36-2065-77 |
0,3 |
0,85 |
- |
То же |
10 |
12 |
Трубопроводы всех диаметров |
|
3. Ленты из алюминия и алюминиевых сплавов |
ГОСТ 13726-78 |
0,25 - 0,7 |
0,7 - 2,0 |
- |
» |
10 |
12 |
То же |
|
4. Стеклотекстолит покровный листовой СТПЛ |
ТУ 36-1583-72 |
0,3 - 0,5 |
0,3 - 0,6 |
2 |
Трудносгораемый |
8 |
9 |
Трубопроводы диаметром более 150 мм. В цехах пожароопасных и взрывоопасных производств категорий А, Б, В не применяются |
|
5. Стеклотекстолит для теплоизоляционных конструкций |
ТУ 6-11-270-73 |
0,3 - 0,5 |
0,4 - 0,7 |
3 |
То же |
7 |
8 |
|
|
6. Фольга алюминиевая дублированная для теплоизоляционных конструкций: |
|
|
|
|
|
|
|
|
|
Ф0,15т-К, Ф0,15м-К |
ТУ 36-1177-77 |
0,8 - 1 |
0,9 - 1,1 |
5 - 7 |
Трудносгораемая |
5 |
7 |
Трубопроводы всех диаметров. В цехах пожароопасных и взрывоопасных производств категорий А, Б, В не применяется |
|
Ф0,15т-Ст, Ф0,15-Ст |
» |
0,5 - 0,9 |
0,8 - 1,0 |
5 - 7 |
Трудносгораемая |
5 |
7 |
Фольга, дублированная картоном, применяется только внутри помещений |
|
Ф0,15-С, Ф0,15м-С |
» |
0,4 - 0,6 |
0,8 - 0,9 |
5 - 7 |
То же |
5 |
7 |
То же |
|
Ф0,15т-Сх, Ф0,15м-Сх |
» |
0,9 - 1,2 |
0,7 - 0,9 |
5 - 7 |
» |
5 |
7 |
» |
|
Ф0,15т-П, Ф0,15м-П |
» |
1,6 - 1,4 |
1,3 - 1,5 |
5 - 7 |
» |
5 |
7 |
» |
|
7. Фольгоизол |
ГОСТ 20429-75 |
2 - 2,5 |
0,7 - 0,8 |
4 г/м2 за 24 ч |
Трудносгораемый |
5 |
7 |
Трубопроводы всех диаметров. В цехах пожароопасных и взрывоопасных производств категорий А, Б, В не применяется |
|
8. Оболочки гофрированные для теплоизоляционных конструкций отводов трубопроводов (изготавливаются из алюминиевой фольги мягкой ГОСТ 618-73, фольги дублированной ТУ 36-1177-77, 10429-75) |
- |
0,2 - 0,6 |
0,6 - 0,8 |
5 - 7 |
Изготовленные только из фольги - несгораемые, остальные - трудносгораемые |
5 |
6 |
Область применения гофрированных отводов соответствует области применения материалов, из которых они изготавливаются |
|
Примечания: 1. При соответствующем обосновании допускается применение материалов, не приведенных в настоящей таблице. 2. Фольгоизол отнесен к группе трудносгораемых материалов в конструкции с несгораемым основным теплоизоляционным слоем. 3. Материалы отнесены к группе возгораемости в соответствии с прил. 1 глава СНиП «Противопожарные нормы проектирования зданий и сооружений». |
||||||||
Содержание
|
_________________________________________________________ |