
ОАО "ЦНИИПРОМЗДАНИЙ"
НАРУЖНЫЕ СТЕНЫ, СТЕНЫ ПОДВАЛА, ПОКРЫТИЯ, ЧЕРДАЧНЫЕ ПЕРЕКРЫТИЯ, ПЕРЕГОРОДКИ, ОГРАЖДАЮЩИЕ КОНСТРУКЦИИИ МАНСАРД И ПОЛЫ С ТЕПЛОИЗОЛЯЦИЕЙ ИЗ МИНЕРАЛОВАТНЫХ ПЛИТ ПРОИЗВОДСТВА ЗАО «ТЕХНОНИКОЛЬ»
Материалы для проектирования и рабочие чертежи узлов
Зам. Генерального директора _____________________ С.М. Гликин
Руководитель отдела ____________________________ A.M. Воронин
Москва, 2005 г.
Содержание
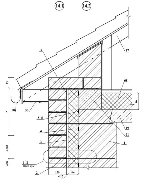
1.1. Альбом содержит материалы для проектирования и рабочие чертежи трехслойных стен, стен подвала, покрытий, чердачных перекрытий, перегородок, ограждающих конструкций мансард и полов отапливаемых зданий различного назначения с теплоизоляцией из минераловатных плит ТЕХНО БЛОК (ТУ 5762-013-17925162-2003), ТЕХНО ВЕНТ (ТУ 5762-016-17925162-2004), ТЕХНО ВЕНТ+ (ТУ 5762-016-17925162-2004), ТЕХНО ЛАЙТ (ТУ 5762-013-17925162-2003), ТЕХНО РУФ В (ТУ 5762-015-17925162-2004), ТЕХНО РУФ Н (ТУ 5762-015-17925162-2004), ТЕХНО РУФ (ТУ 5762-015-17925162-2004), ТЕХНО ФАС (ТУ 5762-025-17925162-2005), ТЕХНО ПЛАСТ (ТУ 5762-025-17925162-2005) и ТЕХНО ФЛОР и ТЕХНО ФЛОР+ (ТУ 5762-038-17925162-2005).
В качестве кровельных материалов предусмотрены:
- полимерные пленки «Logicroof» марок RP, R2P, SR, P, PMV (сертификат соответствия № РОСС ES-СЛ16.Н00530 от 10.05.2005 г. до 18.05.2008 г.);
- битумно-полимерные наплавляемые рулонные материалы марок «УНИФЛЕКС» (ТУ 5774-001-17925162-99), «ТЕХНОЭЛАСТ» (ТУ 5774-003-00287852-99), «ВЕСТОПЛАСТ» (ТУ 5774-009-17925162-2002), «БИПОЛЬ» (ТУ 5774-003-17925162-00), «ТЕХНОЭЛАСТ СОЛО» (ТУ 5774-003-00287852-99), «ЭКОФЛ ЕКС» (ТУ 5774-003-17925162-00), «ТЕХНОЭЛАСТ-ФИКС» (ТУ 5774-003-00287852-99);
- гибкая черепица «ШИНГЛАС» (ТУ 5774-036-17325162-2005) и композитная черепица «Люксард» (Luxard) по ТУ 1476-001-56852608-2005.
1.2 Материалы разработаны для следующих условий:
- здания одно- и многоэтажные, I - IV степени огнестойкости с сухим и нормальным температурно-влажностным режимом для строительства на всей территории страны;
- стены несущие или самонесущие из штучных материалов (кирпич, камни, бетонные блоки) или монолитного железобетона;
- температура холодной пятидневки обеспеченностью 0,92 - до минус 55 °С.
1.3. Проектирование следует вести с учетом указаний следующих действующих нормативных документов:
СНиП 31-01-2003 «Здания жилые многоквартирные»;
СНиП 31-05-2003 «Общественные здания административного назначения»;
СНиП 31-03-2001 «Производственные здания»;
СНиП 2.09.04-87* «Административные и бытовые здания» (изд. 2001);
СНиП 2.08.02-89* «Общественные здания и сооружения»;
СНиП 23-02-2003 «Тепловая защита зданий»;
СНиП II-22-81 «Каменные и армокаменные конструкции»;
СНиП 21-01-97* «Пожарная безопасность зданий и сооружений»;
СНиП 23-01-99 «Строительная климатология»;
СНиП II-26-76 «Кровли»;
СП 55-101-2000 «Ограждающие конструкции с применением гипсокартонных листов»;
СП 55-102-2001 «Конструкции с применением гипсоволокнистых листов».
СО-002-02495342-2005 «Кровли зданий и сооружений. Проектирование и строительство», М., ОАО «ЦНИИПромзданий», 2005 г.
2.1. В зависимости от физико-технических свойств плиты минераловатные предназначаются для применения в качестве тепло- и звукоизоляции:
-ТЕХНО БЛОК - в каркасных стенах и трехслойных стенах с отделочным слоем из кирпича или штукатурки;
- ТЕХНО ЛАЙТ - в конструкциях покрытий с вентилируемой воздушной прослойкой мансард, чердачных перекрытий, каркасных стен, полов по лагам, перегородок;
- ТЕХНО РУФ В - в качестве верхнего слоя в конструкциях покрытий с кровлей из рулонных и мастичных материалов;
- ТЕХНО РУФ Н - в качестве нижнего слоя в конструкциях покрытий с кровлей из рулонных и мастичных материалов;
- ТЕХНО РУФ - в конструкциях покрытий с рулонной или мастичной кровлей;
- ТЕХНО ВЕНТ, ТЕХНО ВЕНТ+ - в стенах с вентилируемой воздушной прослойкой;
- ТЕХНО ФАС - в конструкциях стен с защитно-декоративным слоем из тонкослойной штукатурки;
- ТЕХНО ФЛОР и ТЕХНО ФЛОР+ - в конструкциях полов;
- ТЕХНО ПЛАСТ - в конструкциях стен с защитно-декоративным слоем из традиционной штукатурки.
2.2. Показатели физико-технических свойств плит приведены в таблице 1.
Таблица 1
|
№ п/п |
Наименование показателя, ед. измерения |
МАРКА ПЛИТЫ |
||||||||||
|
ТЕХНО ЛАЙТ |
ТЕХНО БЛОК |
ТЕХНО ВЕНТ |
ТЕХНО ВЕНТ+ |
ТЕХНО РУФВ |
ТЕХНО РУФН |
ТЕХНО РУФ |
ТЕХНО ФАС |
ТЕХНО ПЛАСТ |
ТЕХНО ФЛОР |
ТЕХНО ФЛ0Р+ |
||
|
1 |
Плотность, кг/м3 |
40 |
60 |
80 |
110 |
190 |
130 |
160 |
150 |
110 |
130 |
150 |
|
2 |
Прочность на сжатие при 10% деформации, кПа, не менее |
- |
- |
10 |
20 |
70 |
35 |
50 |
45 |
20 |
25 |
50 |
|
3 |
Прочность на отрыв слоев, кПа, не менее |
- |
- |
3 |
3 |
12 |
7,5 |
10 |
15 |
3 |
- |
- |
|
4 |
Теплопроводность λ10, Вт/(м·К), не более |
0,034 |
0,034 |
0,034 |
0,035 |
0,036 |
0,035 |
0,036 |
0,037 |
0,034 |
0,034 |
0,036 |
|
5 |
Теплопроводность λ25, Вт/(м·К), не более |
0,036 |
0,036 |
0,036 |
0,037 |
0,038 |
0,037 |
0,038 |
0,038 |
0,036 |
0,037 |
0,039 |
|
6 |
Теплопроводность при условиях эксплуатации, Вт/(м·К), не более |
|
||||||||||
|
|
λА, Вт/(м·К), |
0,042 |
0,041 |
0,042 |
0,043 |
0,045 |
0,042 |
0,043 |
0,045 |
0,042 |
0,042 |
0,043 |
|
|
λБ, Вт/(м·К), |
0,045 |
0,044 |
0,045 |
0,045 |
0,048 |
0,045 |
0,046 |
0,048 |
0,045 |
0,045 |
0,045 |
|
7 |
Водопоглощение при полном погружении, % по объему, не более |
2,0 |
1,5 |
1,5 |
1,5 |
1,5 |
1,5 |
1,5 |
1,0 |
1,5 |
1,0 |
1,0 |
|
8 |
Содержание органических веществ, % по массе, не более |
2,5 |
3,0 |
3,0 |
3,0 |
4,5 |
4,5 |
4,5 |
4,5 |
4,5 |
4,5 |
4,5 |
|
9 |
Паропроницаемость, мг/(м·ч·Па), не менее |
0,3 |
0,3 |
0,3 |
0,31 |
0,3 |
0,31 |
0,31 |
0,3 |
0,5 |
0,3 |
0,3 |
|
10 |
Влажность, % по массе, не более |
0,5 |
0,5 |
≤0,5 |
0,5 |
0,5 |
0,5 |
- |
0,5 |
0,5 |
0,5 |
0,5 |
|
11 |
Сжимаемость, %, не более |
10 |
5 |
- |
- |
- |
- |
- |
- |
- |
- |
- |
2.3. Номинальные размеры плит и допуски представлены в таблице 2.
Таблица 2
Номинальные размеры и допуски минераловатных плит
|
Размеры плит, мм |
МАРКА ПЛИТ |
||||||||||
|
ТЕХНО ЛАЙТ |
ТЕХНО БЛОК |
ТЕХНО ВЕНТ |
ТЕХНО ВЕНТ + |
ТЕХНО РУФВ |
ТЕХНО РУФН |
ТЕХНО РУФ |
ТЕХНО ФАС |
ТЕХНО ПЛАСТ |
ТЕХНО ФЛОР |
ТЕХНО ФЛ0Р+ |
|
|
Длина |
1000 |
1000 |
1000 |
1000 |
1000 |
1000 |
1000 |
1000 |
1000 |
1000 |
1000 |
|
Ширина |
500, 600 |
500, 600 |
500, 600 |
500, 600 |
500, 600 |
500, 600 |
500, 600 |
500, 600 |
500, 600 |
500, 600 |
500, 600 |
|
Толщина |
50-200 |
50-170 |
50-150 |
50-140 |
40-60 |
50-130 |
50-100 |
40...150 |
40...200 |
20...60 |
20...60 |
|
с интервалом 10 мм |
|||||||||||
2.4.Все минераловатные плиты относятся к группе горючести НГ по ГОСТ 30244-94.
Стены с защитно-декоративным штукатурным слоем, кирпичной кладкой или экраном из материалов группы горючести НГ могут применяться в зданиях I - IV степеней огнестойкости классов пожарной опасности СО по СНиП 21-01-97 табл. 4 и 5 высотой до 25 этажей.
Покрытия по железобетонным плитам толщиной по полю не менее 50 мм и стены с защитным слоем из кирпича шириной 120 мм могут применяться в зданиях I - IV степеней огнестойкости классов пожарной опасности СО по СНиП 21-01-97.
Покрытия по стальным профилированным настилам могут применяться в зданиях II - IV степеней огнестойкости классов пожарной опасности СО по СНиП 21-01-97.
3.1. Минимальное допустимое сопротивление теплопередаче стен и покрытий зданий различного назначения и разных климатических условий регламентировано СНиП 23-02-2003 «Тепловая защита зданий».
Сопротивление теплопередаче стен подвалов принимается с учетом расчетной температуры воздуха подвала как для наружных стен.
Показатель теплоусвоения полов общественных и производственных зданий не должен превышать значений, приведенных в СНиП 23-02-2003. В противном случае предусматривается устройство слоя дополнительной теплоизоляции.
3.2. По назначению рассматриваемые в работе здания образуют три группы:
1. Жилые, лечебно-профилактические и детские учреждения, школы, интернаты;
2. Общественные, кроме указанных выше, административные и бытовые, за исключением помещений с влажным режимом;
3. Производственные с сухим и нормальным режимами.
3.3. При новом строительстве необходимая толщина слоя теплоизоляции из минераловатных плит должна определяться с учетом следующих условий:
Стены без воздушной прослойки имеют несущую часть из полнотелого керамического кирпича или камней толщиной 380 мм и наружную защитно-декоративную стенку из штукатурки или из кирпича толщиной 120 мм. В зданиях 1 и 2 группы стена с внутренней стороны имеет отделочный штукатурный слой толщиной 20 мм. Коэффициент теплотехнической однородности 0,95 без учета откосов проемов и их теплопроводных включений. При наличии замкнутой воздушной прослойки должно быть учтено ее термическое сопротивление.
3.4. В конструкциях стен с вентилируемой воздушной прослойкой требуемая толщина теплоизоляции определяется на основе теплотехнического и аэродинамического расчета воздушной прослойки.
3.5. Стены подвала имеют несущую часть, выполненную из кирпича или камней толщиной 510 мм или из бетонных блоков толщиной 500 мм с отделочным штукатурным слоем толщиной 20 мм со стороны помещения.
3.6. Теплоизоляция стен подвала рассчитывается только для «теплых» подвалов, в которых предусмотрена нижняя разводка труб систем отопления, горячего водоснабжения, а также труб систем водоснабжения и канализации.
3.7. Требуемое сопротивление теплопередаче стен подвала над уровнем земли принимается равным сопротивлению теплопередаче наружных стен здания, которое находится по табл. к СНиП 23-02-2003 в зависимости от значения градусо-суток отопительного периода.
3.8. Градусо-сутки отопительного периода вычисляются по формуле:
Dd = (tint – tht)Zht
где tint- расчетная температура внутреннего воздуха в помещении 1-го этажа, °С;
tht; Zht- средняя температура, °С, и продолжительность, сут., периода со средней суточной температурой воздуха ниже или равной 8 °С по СНиП 23-01-99.
3.9. Требуемая толщина теплоизоляции стены подвала, расположенной выше уровня земли, принимается равной толщине теплоизоляции наружной стены и вычисляется по формуле:
![]()
где Rreq - нормируемое сопротивление теплопередаче наружной стены, принятое в зависимости от значения Dd, (м2·°С)/Вт;
δ - толщина несущей части стены, м;
λ - коэффициент теплопроводности материала несущей части стены, Вт/(м·°С);
λут - коэффициент теплопроводности теплоизоляции, Вт/(м·°С).
3.10. Требуемая толщина теплоизоляции стены подвала, расположенной ниже уровня земли, вычисляется по формуле:
![]()
3.11. Покрытия - совмещенные из сборных железобетонных ребристых плит по серии 1.465.1-21 или многопустотных железобетонных плит толщиной 220 мм по ГОСТ 9561-91 или монолитного железобетона и кровлей.
3.12. При реконструкции стен и покрытий толщина слоя дополнительной теплоизоляции
определялась исходя из разности сопротивлений теплопередаче
, где
вычисляется по формуле (5) СП 23-101-2004 «Проектирование тепловой защиты зданий».
3.13. Необходимая толщина слоя теплоизоляции из минераловатных плит для стен и покрытий перечисленных выше трех групп зданий для всех областных и республиканских центров РФ приведены в таблицах 3 и 3 а, в стенах подвала - в таблице 3 б. В ограждающих конструкциях мансард толщину теплоизоляции следует принимать по табл. 3 а.
3.14. Требуемая толщина теплоизоляции из минераловатных плит в полах холодильников, установленная с учетом требований СНиП 2.11.02-87, приведена в таблицах 3 в, 3 г и 3 д.
3.15. Требуемая толщина теплоизоляции в полах по необогреваемому грунту принимается по расчету в соответствии с указаниями СНиП 23-02-2003. При этом пол должен удовлетворять требованиям по показателю теплоусвоения.
3.16 Необходимость устройства специального парозащитного слоя определяется расчетом по СНиП 23-02-2003. Пароизоляционный слой в стене располагается между несущим слоем и слоем эффективной теплоизоляции, а в покрытии - по железобетонному основанию или стальному профилированному настилу.
Таблица 3
|
№ п/п |
Город РФ |
Условия эксплуатации |
Градусо-сутки |
Тип помещения |
СТЕНЫ |
|||
|
Новое строительство |
Реконструкция |
|||||||
|
|
Толщина теплоизоляции, мм |
|
Толщина дополнительной теплоизоляции, мм |
|||||
|
1 |
2 |
3 |
4 |
5 |
6 |
7 |
8 |
9 |
|
1 |
Архангельск |
Б |
6170 |
1 |
3,56 |
140 |
0,97 |
120 |
|
|
|
|
5670 |
2 |
2,90 |
100 |
0,78 |
100 |
|
|
|
|
3 |
2,13 |
70 |
0,69 |
70 |
|
|
2 |
Астрахань |
А |
3540 |
1 |
2,64 |
90 |
0,82 |
80 |
|
|
|
|
3200 |
2 |
2,08 |
60 |
0,66 |
60 |
|
|
|
|
3 |
1,64 |
40 |
0,57 |
40 |
|
|
3 |
Анадырь |
Б |
9500 |
1 |
4,72 |
180 |
1,13 |
170 |
|
|
|
|
8900 |
2 |
3,87 |
150 |
0,93 |
140 |
|
|
|
|
3 |
2,76 |
100 |
0,81 |
100 |
|
|
4 |
Барнаул |
А |
6120 |
1 |
3,54 |
130 |
1,12 |
100 |
|
|
|
|
5680 |
2 |
2,90 |
100 |
0,91 |
90 |
|
|
|
|
3 |
2,13 |
60 |
0,8 |
60 |
|
|
5 |
Белгород |
А |
4180 |
1 |
2,86 |
100 |
0,82 |
90 |
|
|
|
|
3800 |
2 |
2,32 |
70 |
0,66 |
70 |
|
|
|
|
3 |
1,76 |
60 |
0,57 |
60 |
|
|
6 |
Благовещенск |
Б |
6670 |
1 |
3,74 |
150 |
1,02 |
130 |
|
|
|
|
6240 |
2 |
3,07 |
110 |
0,83 |
100 |
|
|
|
|
3 |
2,25 |
70 |
0,73 |
70 |
|
|
7 |
Брянск |
Б |
4570 |
1 |
3,00 |
110 |
0,87 |
100 |
|
|
|
|
4160 |
2 |
2,45 |
80 |
0,7 |
80 |
|
|
|
|
3 |
1,83 |
60 |
0,62 |
60 |
|
Продолжение таблицы 3
|
1 |
2 |
3 |
4 |
5 |
6 |
7 |
8 |
9 |
|
8 |
Волгоград |
А |
3950 |
1 |
2,78 |
100 |
0,85 |
90 |
|
|
|
|
3600 |
2 |
2,24 |
60 |
0,69 |
60 |
|
|
|
|
3 |
1,72 |
40 |
0,6 |
60 |
|
|
9 |
Вологда |
Б |
5570 |
1 |
3,35 |
130 |
0,97 |
110 |
|
|
|
|
5100 |
2 |
2,73 |
100 |
0,78 |
90 |
|
|
|
|
3 |
2,02 |
70 |
0,69 |
70 |
|
|
10 |
Воронеж |
А |
4530 |
1 |
3,0 |
100 |
0,87 |
90 |
|
|
|
|
4140 |
2 |
2,44 |
70 |
0,7 |
70 |
|
|
|
|
3 |
1,83 |
60 |
0,62 |
60 |
|
|
11 |
Владимир |
Б |
5000 |
1 |
3,3 |
120 |
0,91 |
110 |
|
|
|
|
4580 |
2 |
2,57 |
100 |
0,74 |
80 |
|
|
|
|
3 |
1,91 |
60 |
0,64 |
60 |
|
|
12 |
Владивосток |
Б |
4680 |
1 |
3,04 |
110 |
0,83 |
100 |
|
|
|
|
4300 |
2 |
2,49 |
80 |
0,67 |
80 |
|
|
|
|
3 |
1,86 |
60 |
0,59 |
60 |
|
|
13 |
Владикавказ |
А |
3410 |
1 |
2,59 |
90 |
0,72 |
90 |
|
|
|
|
3060 |
2 |
2,02 |
60 |
0,58 |
60 |
|
|
|
|
3 |
1,61 |
40 |
0,50 |
50 |
|
|
14 |
Грозный |
А |
3060 |
1 |
2,47 |
70 |
0,72 |
70 |
|
|
|
|
2740 |
2 |
1,9 |
60 |
0,58 |
60 |
|
|
|
|
3 |
1,55 |
40 |
0,5 |
40 |
|
|
15 |
Екатеринбург |
А |
5980 |
1 |
3,49 |
130 |
1,04 |
100 |
|
|
|
|
5520 |
2 |
2,85 |
100 |
0,85 |
90 |
|
|
|
|
3 |
2,10 |
60 |
0,74 |
60 |
|
|
16 |
Иваново |
Б |
5230 |
1 |
3,23 |
120 |
0,93 |
110 |
|
|
|
|
4800 |
2 |
2,64 |
100 |
0,75 |
80 |
|
|
|
|
3 |
1,96 |
60 |
0,66 |
70 |
Продолжение таблицы 3
|
1 |
2 |
3 |
4 |
5 |
6 |
7 |
8 |
9 |
|
17 |
Игарка |
Б |
9660 |
1 |
4,78 |
190 |
1,28 |
170 |
|
|
|
|
9090 |
2 |
3,93 |
150 |
1,06 |
130 |
|
|
|
|
3 |
2,82 |
100 |
0,92 |
100 |
|
|
18 |
Иркутск |
А |
6480 |
1 |
3,79 |
130 |
1,06 |
120 |
|
|
|
|
6360 |
2 |
3,12 |
100 |
0,86 |
90 |
|
|
|
|
3 |
2,27 |
70 |
0,76 |
60 |
|
|
19 |
Ижевск |
Б |
5680 |
1 |
3,39 |
130 |
1,08 |
110 |
|
|
|
|
5240 |
2 |
2,77 |
100 |
0,88 |
80 |
|
|
|
|
3 |
2,05 |
70 |
0,8 |
60 |
|
|
20 |
Йошкар-Ола |
Б |
5520 |
1 |
3,33 |
120 |
1,02 |
110 |
|
|
|
|
5080 |
2 |
2,72 |
90 |
0,83 |
80 |
|
|
|
|
3 |
2,02 |
70 |
0,73 |
60 |
|
|
21 |
Казань |
Б |
5420 |
1 |
3,30 |
120 |
0,98 |
110 |
|
|
|
|
4990 |
2 |
2,70 |
90 |
0,8 |
90 |
|
|
|
|
3 |
2,0 |
70 |
0,7 |
70 |
|
|
22 |
Калининград |
Б |
3650 |
1 |
2,68 |
90 |
0,72 |
90 |
|
|
|
|
3260 |
2 |
2,10 |
70 |
0,58 |
70 |
|
|
|
|
3 |
1,65 |
40 |
0,5 |
60 |
|
|
23 |
Калуга |
Б |
4810 |
1 |
3,08 |
110 |
0,89 |
100 |
|
|
|
|
4400 |
2 |
2,52 |
90 |
0,72 |
80 |
|
|
|
|
3 |
1,88 |
60 |
0,63 |
60 |
|
|
24 |
Кемерово |
А |
6540 |
1 |
3,69 |
130 |
1,12 |
120 |
|
|
|
|
6080 |
2 |
3,02 |
90 |
0,91 |
90 |
|
|
|
|
3 |
2,21 |
60 |
0,8 |
60 |
|
|
25 |
Вятка |
Б |
5870 |
1 |
3,45 |
130 |
1,0 |
110 |
|
|
|
|
5400 |
2 |
2,82 |
100 |
0,82 |
90 |
|
|
|
|
3 |
2,08 |
70 |
0,71 |
70 |
Продолжение таблицы 3
|
1 |
2 |
3 |
4 |
5 |
6 |
7 |
8 |
9 |
|
26 |
Кострома |
Б |
5300 |
1 |
3,25 |
120 |
0,97 |
100 |
|
|
|
|
4860 |
2 |
2,66 |
90 |
0,78 |
80 |
|
|
|
|
3 |
1,97 |
60 |
0,69 |
60 |
|
|
27 |
Краснодар |
А |
2680 |
1 |
2,34 |
70 |
0,74 |
70 |
|
|
|
|
2380 |
2 |
1,75 |
40 |
0,59 |
60 |
|
|
|
|
3 |
1,48 |
30 |
0,52 |
40 |
|
|
28 |
Красноярск |
А |
6340 |
1 |
3,62 |
130 |
1,13 |
100 |
|
|
|
|
5870 |
2 |
2,96 |
100 |
0,93 |
90 |
|
|
|
|
3 |
2,17 |
60 |
0,81 |
60 |
|
|
29 |
Курган |
А |
5980 |
1 |
3,49 |
120 |
1,08 |
100 |
|
|
|
|
5550 |
2 |
2,86 |
90 |
0,88 |
90 |
|
|
|
|
3 |
2,11 |
60 |
0,77 |
60 |
|
|
30 |
Курск |
Б |
4400 |
1 |
2,95 |
110 |
0,87 |
90 |
|
|
|
|
4040 |
2 |
2,41 |
80 |
0,7 |
80 |
|
|
|
|
3 |
1,80 |
60 |
0,62 |
60 |
|
|
31 |
Кызыл |
А |
7880 |
1 |
4,16 |
140 |
1,26 |
120 |
|
|
|
|
7430 |
2 |
3,43 |
120 |
1,06 |
100 |
|
|
|
|
3 |
2,49 |
70 |
0,64 |
90 |
|
|
32 |
Липецк |
А |
4730 |
1 |
3,06 |
100 |
0,89 |
90 |
|
|
|
|
4320 |
2 |
2,50 |
70 |
0,72 |
70 |
|
|
|
|
3 |
1,86 |
60 |
0,63 |
60 |
|
|
33 |
Магадан |
Б |
7800 |
1 |
4,13 |
160 |
0,93 |
150 |
|
|
|
|
7230 |
2 |
3,37 |
130 |
0,91 |
110 |
|
|
|
|
3 |
2,45 |
80 |
0,8 |
70 |
|
|
34 |
Махачкала |
А |
2560 |
1 |
2,30 |
60 |
0,64 |
70 |
|
|
|
|
2260 |
2 |
1,7 |
40 |
0,51 |
60 |
|
|
|
|
3 |
1,45 |
30 |
0,45 |
40 |
Продолжение таблицы 3
|
1 |
2 |
3 |
4 |
5 |
6 |
7 |
8 |
9 |
|
35 |
Москва |
Б |
4940 |
1 |
3,13 |
110 |
0,87 |
100 |
|
|
|
|
4520 |
2 |
2,55 |
90 |
0,73 |
80 |
|
|
|
|
3 |
1,9 |
60 |
0,61 |
60 |
|
|
36 |
Мурманск |
Б |
6380 |
1 |
3,63 |
140 |
0,89 |
130 |
|
|
|
|
5830 |
2 |
2,95 |
110 |
0,72 |
100 |
|
|
|
|
3 |
2,17 |
70 |
0,63 |
70 |
|
|
37 |
Нальчик |
А |
3260 |
1 |
2,54 |
70 |
0,72 |
70 |
|
|
|
|
2920 |
2 |
1,97 |
60 |
0,58 |
60 |
|
|
|
|
3 |
1,58 |
40 |
0,5 |
40 |
|
|
38 |
Нижний Новгород |
Б |
5180 |
1 |
3,21 |
120 |
0,97 |
100 |
|
|
|
|
4750 |
2 |
2,63 |
100 |
0,78 |
80 |
|
|
|
|
3 |
1,95 |
60 |
0,67 |
60 |
|
|
39 |
Новгород |
Б |
4930 |
1 |
3,13 |
110 |
0,89 |
100 |
|
|
|
|
4490 |
2 |
2,55 |
100 |
0,72 |
80 |
|
|
|
|
3 |
1,9 |
60 |
0,63 |
60 |
|
|
ДО |
Новосибирск |
А |
6600 |
1 |
3,71 |
130 |
1,12 |
120 |
|
|
|
|
6140 |
2 |
3,04 |
100 |
0,91 |
100 |
|
|
|
|
3 |
2,23 |
60 |
0,8 |
60 |
|
|
41 |
Омск |
А |
6280 |
1 |
3,60 |
130 |
1,08 |
100 |
|
|
|
|
5840 |
2 |
2,85 |
100 |
0,88 |
90 |
|
|
|
|
3 |
2,17 |
60 |
0,77 |
60 |
|
|
42 |
Оренбург |
А |
5310 |
1 |
3,26 |
100 |
0,97 |
100 |
|
|
|
|
4900 |
2 |
2,67 |
90 |
0,78 |
90 |
|
|
|
|
3 |
1,98 |
60 |
0,69 |
60 |
Продолжение таблицы 3
|
1 |
2 |
3 |
4 |
5 |
6 |
7 |
8 |
9 |
|
43 |
Орел |
Б |
4650 |
1 |
3,03 |
110 |
0,87 |
100 |
|
|
|
|
4250 |
2 |
2,48 |
80 |
0,7 |
80 |
|
|
|
|
3 |
1,85 |
60 |
0,62 |
60 |
|
|
44 |
Пенза |
А |
5070 |
1 |
3,17 |
100 |
0,94 |
100 |
|
|
|
|
4660 |
2 |
2,60 |
90 |
0,75 |
90 |
|
|
|
|
3 |
1,93 |
60 |
0,66 |
60 |
|
|
45 |
Пермь |
Б |
5930 |
1 |
3,48 |
130 |
1,05 |
110 |
|
|
|
|
5470 |
2 |
2,84 |
100 |
0,84 |
100 |
|
|
|
|
3 |
2,09 |
70 |
0,75 |
70 |
|
|
46 |
Петрозаводск |
Б |
5540 |
1 |
3,34 |
120 |
0,94 |
110 |
|
|
|
|
5060 |
2 |
2,85 |
100 |
0,75 |
100 |
|
|
|
|
3 |
2,10 |
70 |
0,66 |
70 |
|
|
47 |
Петропавловск-Камчатский |
Б |
4760 |
1 |
3,07 |
110 |
0,76 |
110 |
|
|
|
|
4250 |
2 |
2,48 |
80 |
0,61 |
80 |
|
|
|
|
3 |
1,85 |
60 |
0,53 |
60 |
|
|
48 |
Псков |
Б |
4580 |
1 |
3,0 |
110 |
0,87 |
100 |
|
|
|
|
4160 |
2 |
2,45 |
80 |
0,7 |
80 |
|
|
|
|
3 |
1,83 |
60 |
0,62 |
60 |
|
|
49 |
Ростов-на-Дону |
А |
3520 |
1 |
2,63 |
70 |
0,83 |
70 |
|
|
|
|
3180 |
2 |
2,07 |
60 |
0,64 |
60 |
|
|
|
|
3 |
1,64 |
40 |
0,55 |
40 |
|
|
50 |
Рязань |
Б |
4890 |
1 |
3,11 |
120 |
0,89 |
100 |
|
|
|
|
4470 |
2 |
2,54 |
100 |
0,72 |
80 |
|
|
|
|
3 |
1,90 |
60 |
0,64 |
60 |
Продолжение таблицы 3
|
1 |
2 |
3 |
4 |
5 |
6 |
7 |
8 |
9 |
|
51 |
Самара |
Б |
5110 |
1 |
3,19 |
120 |
0,95 |
100 |
|
|
|
|
4710 |
2 |
2,61 |
100 |
0,77 |
80 |
|
|
|
|
3 |
1,94 |
60 |
0,68 |
60 |
|
|
52 |
Санкт-Петербург |
Б |
4800 |
1 |
3,08 |
110 |
0,87 |
100 |
|
|
|
|
4360 |
2 |
2,51 |
80 |
0,7 |
80 |
|
|
|
|
3 |
1,87 |
60 |
0,62 |
60 |
|
|
53 |
Саранск |
А |
5120 |
1 |
3,19 |
100 |
0,95 |
100 |
|
|
|
|
4700 |
2 |
2,61 |
90 |
0,77 |
90 |
|
|
|
|
3 |
1,94 |
60 |
0,68 |
60 |
|
|
54 |
Саратов |
А |
4760 |
1 |
3,07 |
100 |
0,89 |
100 |
|
|
|
|
4370 |
2 |
2,51 |
70 |
0,72 |
70 |
|
|
|
|
3 |
1,87 |
60 |
0,64 |
60 |
|
|
55 |
Салехард |
Б |
9170 |
1 |
4,61 |
180 |
1,17 |
150 |
|
|
|
|
8590 |
2 |
3,78 |
150 |
0,96 |
130 |
|
|
|
|
3 |
2,72 |
100 |
0,85 |
80 |
|
|
56 |
Смоленск |
Б |
4820 |
1 |
3,09 |
110 |
0,87 |
100 |
|
|
|
|
4400 |
2 |
2,52 |
100 |
0,7 |
80 |
|
|
|
|
3 |
1,88 |
60 |
0,62 |
60 |
|
|
57 |
Ставрополь |
А |
3210 |
1 |
2,52 |
70 |
0,74 |
70 |
|
|
|
|
2880 |
2 |
1,95 |
60 |
0,59 |
60 |
|
|
|
|
3 |
1,58 |
40 |
0,52 |
40 |
|
|
58 |
Сыктывкар |
Б |
6320 |
1 |
3,61 |
140 |
1,06 |
120 |
|
|
|
|
5830 |
2 |
2,95 |
110 |
0,86 |
100 |
|
|
|
|
3 |
2,17 |
70 |
0,76 |
70 |
|
|
59 |
Тамбов |
А |
4760 |
1 |
3,07 |
100 |
0,91 |
100 |
|
|
|
|
4360 |
2 |
2,51 |
70 |
0,73 |
70 |
|
|
|
|
3 |
2,87 |
60 |
0,66 |
60 |
Продолжение таблицы 3
|
1 |
2 |
3 |
4 |
5 |
6 |
7 |
8 |
9 |
|
60 |
Тверь |
Б |
5010 |
1 |
3,15 |
120 |
0,93 |
100 |
|
|
|
|
4580 |
2 |
2,57 |
100 |
0,75 |
80 |
|
|
|
|
3 |
1,92 |
60 |
0,66 |
60 |
|
|
61 |
Томск |
Б |
6700 |
1 |
3,75 |
150 |
1,13 |
120 |
|
|
|
|
6230 |
2 |
3,07 |
110 |
0,93 |
100 |
|
|
|
|
3 |
2,25 |
70 |
0,82 |
70 |
|
|
62 |
Тула |
Б |
4760 |
1 |
3,07 |
110 |
0,89 |
100 |
|
|
|
|
4350 |
2 |
2,50 |
100 |
0,72 |
80 |
|
|
|
|
3 |
1,87 |
60 |
0,64 |
60 |
|
|
63 |
Тюмень |
А |
6120 |
1 |
3,54 |
130 |
1,08 |
100 |
|
|
|
|
5670 |
2 |
2,90 |
100 |
0,88 |
90 |
|
|
|
|
3 |
2,13 |
60 |
0,78 |
60 |
|
|
64 |
Ульяновск |
А |
5380 |
1 |
3,29 |
100 |
0,97 |
100 |
|
|
|
|
4960 |
2 |
2,69 |
90 |
0,78 |
90 |
|
|
|
|
3 |
1,99 |
60 |
0,69 |
60 |
|
|
65 |
Улан-Удэ |
А |
7200 |
1 |
3,92 |
130 |
1,08 |
130 |
|
|
|
|
6730 |
2 |
3,22 |
100 |
0,88 |
100 |
|
|
|
|
3 |
2,35 |
70 |
0,78 |
60 |
|
|
66 |
Уфа |
А |
5520 |
1 |
3,33 |
120 |
1,04 |
120 |
|
|
|
|
5090 |
2 |
2,73 |
90 |
0,84 |
90 |
|
|
|
|
3 |
2,02 |
60 |
0,75 |
60 |
|
|
67 |
Хабаровск |
Б |
6180 |
1 |
3,56 |
140 |
0,97 |
120 |
|
|
|
|
5760 |
2 |
2,93 |
100 |
0,78 |
100 |
|
|
|
|
3 |
2,15 |
70 |
0,68 |
70 |
|
|
68 |
Чебоксары |
Б |
5400 |
1 |
3,29 |
120 |
0,98 |
110 |
|
|
|
|
4970 |
2 |
2,70 |
100 |
0,8 |
100 |
|
|
|
|
3 |
2,00 |
70 |
0,71 |
60 |
Окончание таблицы 3
|
1 |
2 |
3 |
4 |
5 |
6 |
7 |
8 |
9 |
|
69 |
Челябинск |
А |
5780 |
1 |
3,43 |
130 |
1,02 |
100 |
|
|
|
|
5340 |
2 |
2,80 |
100 |
0,83 |
90 |
|
|
|
|
3 |
2,07 |
60 |
0,73 |
70 |
|
|
70 |
Чита |
А |
7600 |
1 |
4,06 |
140 |
1,1 |
130 |
|
|
|
|
7120 |
2 |
3,34 |
110 |
0,89 |
100 |
|
|
|
|
3 |
2,42 |
70 |
0,79 |
70 |
|
|
71 |
Элиста |
А |
3670 |
1 |
2,68 |
90 |
0,82 |
90 |
|
|
|
|
3320 |
2 |
2,13 |
60 |
0,66 |
60 |
|
|
|
|
3 |
1,66 |
40 |
0,58 |
40 |
|
|
72 |
Южно-Сахалинск |
Б |
5590 |
1 |
3,36 |
130 |
0,83 |
120 |
|
|
|
|
5130 |
2 |
2,74 |
100 |
0,67 |
100 |
|
|
|
|
3 |
2,03 |
70 |
0,59 |
70 |
|
|
73 |
Якутск |
А |
10400 |
1 |
5,04 |
190 |
1,42 |
160 |
|
|
|
|
9900 |
2 |
4,17 |
140 |
1,17 |
130 |
|
|
|
|
3 |
2,98 |
100 |
1,03 |
90 |
|
|
74 |
Ярославль |
Б |
5300 |
1 |
3,26 |
120 |
0,97 |
100 |
|
|
|
|
4860 |
2 |
2,66 |
100 |
0,78 |
80 |
|
|
|
|
3 |
1,97 |
60 |
0,69 |
60 |
|
№ п/п |
Город РФ |
Условия эксплуатации |
Градусо-сутки |
Тип помещения |
ПОКРЫТИЯ |
|||
|
Новое строительство |
Реконструкция |
|||||||
|
|
Толщина теплоизоляции, мм |
|
Толщина дополнительной теплоизоляции, мм |
|||||
|
1 |
2 |
3 |
4 |
5 |
6 |
7 |
8 |
9 |
|
1 |
Архангельск |
Б |
6170 |
1 |
5,29 |
230 |
1,48 |
180 |
|
|
|
|
5670 |
2 |
3,86 |
170 |
1,03 |
130 |
|
|
|
|
3 |
2,91 |
130 |
0,78 |
100 |
|
|
2 |
Астрахань |
А |
3540 |
1 |
3,97 |
140 |
1,25 |
110 |
|
|
|
|
3200 |
2 |
2,88 |
100 |
0,86 |
80 |
|
|
|
|
3 |
2,30 |
80 |
0,66 |
70 |
|
|
3 |
Анадырь |
Б |
9500 |
1 |
6,95 |
310 |
1,74 |
230 |
|
|
|
|
8900 |
2 |
5,16 |
230 |
1,22 |
190 |
|
|
|
|
3 |
3,72 |
160 |
0,93 |
130 |
|
|
4 |
Барнаул |
А |
6120 |
1 |
5,26 |
190 |
1,71 |
140 |
|
|
|
|
5680 |
2 |
3,87 |
140 |
1,20 |
110 |
|
|
|
|
3 |
2,92 |
110 |
0,91 |
80 |
|
|
5 |
Белгород |
А |
4180 |
1 |
4,29 |
150 |
1,25 |
110 |
|
|
|
|
3800 |
2 |
3,12 |
100 |
0,86 |
80 |
|
|
|
|
3 |
2,45 |
80 |
0,66 |
70 |
|
|
6 |
Благовещенск |
Б |
6670 |
1 |
5,54 |
230 |
1,57 |
190 |
|
|
|
|
6240 |
2 |
4,10 |
180 |
1,09 |
140 |
|
|
|
|
3 |
3,06 |
130 |
0,83 |
100 |
|
|
7 |
Брянск |
Б |
4570 |
1 |
4,49 |
200 |
1,33 |
150 |
|
|
|
|
4160 |
2 |
3,26 |
140 |
0,92 |
110 |
|
|
|
|
3 |
2,54 |
100 |
0,70 |
90 |
|
Продолжение таблицы 3 а
|
1 |
2 |
3 |
4 |
5 |
6 |
7 |
8 |
9 |
|
8 |
Волгоград |
А |
3950 |
1 |
4,17 |
150 |
1,31 |
110 |
|
|
|
|
3600 |
2 |
3,04 |
110 |
0,90 |
80 |
|
|
|
|
3 |
2,40 |
80 |
0,69 |
70 |
|
|
9 |
Вологда |
Б |
5570 |
1 |
4,98 |
220 |
1,48 |
170 |
|
|
|
|
5100 |
2 |
3,64 |
160 |
1,03 |
120 |
|
|
|
|
3 |
2,77 |
110 |
0,78 |
90 |
|
|
10 |
Воронеж |
А |
4530 |
1 |
4,47 |
160 |
1,33 |
150 |
|
|
|
|
4140 |
2 |
3,26 |
110 |
0,92 |
100 |
|
|
|
|
3 |
2,53 |
80 |
0,70 |
80 |
|
|
11 |
Владимир |
Б |
5000 |
1 |
4,70 |
200 |
1,39 |
160 |
|
|
|
|
4580 |
2 |
3,43 |
150 |
0,97 |
110 |
|
|
|
|
3 |
2,64 |
110 |
0,74 |
90 |
|
|
12 |
Владивосток |
Б |
4680 |
1 |
4,54 |
200 |
1,28 |
150 |
|
|
|
|
4300 |
2 |
3,32 |
140 |
0,88 |
110 |
|
|
|
|
3 |
2,57 |
100 |
0,67 |
90 |
|
|
13 |
Владикавказ |
А |
3410 |
1 |
3,91 |
140 |
1,10 |
110 |
|
|
|
|
3060 |
2 |
2,82 |
100 |
0,76 |
80 |
|
|
|
|
3 |
2,26 |
80 |
0,58 |
70 |
|
|
14 |
Грозный |
А |
3060 |
1 |
3,73 |
140 |
1,10 |
110 |
|
|
|
|
2740 |
2 |
2,70 |
100 |
0,76 |
80 |
|
|
|
|
3 |
2,18 |
80 |
0,58 |
70 |
|
|
15 |
Екатеринбург |
А |
5980 |
1 |
5,19 |
190 |
1,60 |
140 |
|
|
|
|
5520 |
2 |
3,81 |
140 |
1,11 |
110 |
|
|
|
|
3 |
2,88 |
100 |
0,85 |
80 |
|
|
16 |
Иваново |
Б |
5230 |
1 |
4,82 |
200 |
1,42 |
160 |
|
|
|
|
4800 |
2 |
3,52 |
150 |
0,99 |
120 |
|
|
|
|
3 |
2,70 |
110 |
0,75 |
90 |
Продолжение таблицы 3 а
|
1 |
2 |
3 |
4 |
5 |
6 |
7 |
8 |
9 |
|
17 |
Игарка |
Б |
9660 |
1 |
7,03 |
300 |
1,97 |
230 |
|
|
|
|
9090 |
2 |
5,24 |
230 |
1,39 |
170 |
|
|
|
|
3 |
3,77 |
160 |
1,06 |
130 |
|
|
18 |
Иркутск |
А |
6480 |
1 |
5,62 |
210 |
1,62 |
150 |
|
|
|
|
6360 |
2 |
4,16 |
150 |
1,13 |
110 |
|
|
|
|
3 |
3,10 |
110 |
0,86 |
80 |
|
|
19 |
Ижевск |
Б |
5680 |
1 |
5,04 |
230 |
1,65 |
230 |
|
|
|
|
5240 |
2 |
3,70 |
160 |
1,16 |
120 |
|
|
|
|
3 |
2,81 |
110 |
0,88 |
90 |
|
|
20 |
Йошкар-Ола |
Б |
5520 |
1 |
4,96 |
220 |
1,57 |
160 |
|
|
|
|
5080 |
2 |
3,63 |
150 |
1,09 |
120 |
|
|
|
|
3 |
2,77 |
110 |
0,83 |
110 |
|
|
21 |
Казань |
Б |
5420 |
1 |
4,91 |
220 |
1,51 |
220 |
|
|
|
|
4990 |
2 |
3,60 |
150 |
1,05 |
150 |
|
|
|
|
3 |
2,75 |
110 |
0,80 |
90 |
|
|
22 |
Калининград |
Б |
3650 |
1 |
4,03 |
170 |
1,10 |
140 |
|
|
|
|
3260 |
2 |
2,90 |
120 |
0,76 |
100 |
|
|
|
|
3 |
2,31 |
90 |
0,58 |
90 |
|
|
23 |
Калуга |
Б |
4810 |
1 |
4,61 |
200 |
1,36 |
200 |
|
|
|
|
4400 |
2 |
3,36 |
140 |
0,95 |
110 |
|
|
|
|
3 |
2,60 |
100 |
0,72 |
90 |
|
|
24 |
Кемерово |
А |
6540 |
1 |
5,48 |
200 |
1,71 |
140 |
|
|
|
|
6080 |
2 |
4,03 |
140 |
1,20 |
110 |
|
|
|
|
3 |
3,02 |
110 |
0,91 |
80 |
|
|
25 |
Вятка |
Б |
5870 |
1 |
5,13 |
230 |
1,54 |
170 |
|
|
|
|
5400 |
2 |
3,76 |
160 |
1,07 |
120 |
|
|
|
|
3 |
2,85 |
120 |
0,82 |
90 |
Продолжение таблицы 3 а
|
1 |
2 |
3 |
4 |
5 |
6 |
7 |
8 |
9 |
|
26 |
Кострома |
Б |
5300 |
1 |
4,85 |
210 |
1,42 |
160 |
|
|
|
|
4860 |
2 |
3,53 |
150 |
1,03 |
120 |
|
|
|
|
3 |
2,71 |
120 |
0,78 |
90 |
|
|
27 |
Краснодар |
А |
2680 |
1 |
3,54 |
130 |
1,13 |
100 |
|
|
|
|
2380 |
2 |
2,56 |
90 |
0,78 |
70 |
|
|
|
|
3 |
2,10 |
70 |
0,59 |
60 |
|
|
28 |
Красноярск |
А |
6340 |
1 |
5,37 |
200 |
1,74 |
140 |
|
|
|
|
5870 |
2 |
3,95 |
140 |
1,22 |
110 |
|
|
|
|
3 |
2,97 |
110 |
0,93 |
80 |
|
|
29 |
Курган |
А |
5980 |
1 |
5,20 |
190 |
1,65 |
140 |
|
|
|
|
5550 |
2 |
3,82 |
140 |
1,16 |
110 |
|
|
|
|
3 |
2,88 |
100 |
0,88 |
80 |
|
|
30 |
Курск |
Б |
4400 |
1 |
4,42 |
190 |
1,33 |
140 |
|
|
|
|
4040 |
2 |
3,21 |
130 |
0,92 |
110 |
|
|
|
|
3 |
2,51 |
110 |
0,70 |
90 |
|
|
31 |
Кызыл |
А |
7880 |
1 |
6,14 |
230 |
1,97 |
160 |
|
|
|
|
7430 |
2 |
4,57 |
160 |
1,39 |
130 |
|
|
|
|
3 |
3,35 |
110 |
1,06 |
90 |
|
|
32 |
Липецк |
А |
4730 |
1 |
4,57 |
160 |
1,36 |
130 |
|
|
|
|
4320 |
2 |
3,33 |
110 |
0,95 |
100 |
|
|
|
|
3 |
2,58 |
90 |
0,72 |
80 |
|
|
33 |
Магадан |
Б |
7800 |
1 |
6,10 |
270 |
1,71 |
200 |
|
|
|
|
7230 |
2 |
4,49 |
200 |
1,20 |
150 |
|
|
|
|
3 |
3,48 |
150 |
0,91 |
120 |
|
|
34 |
Махачкала |
А |
2560 |
1 |
3,33 |
110 |
0,99 |
100 |
|
|
|
|
2260 |
2 |
2,50 |
90 |
0,67 |
80 |
|
|
|
|
3 |
2,06 |
70 |
0,51 |
60 |
Продолжение таблицы 3 а
|
1 |
2 |
3 |
4 |
5 |
6 |
7 |
8 |
9 |
|
35 |
Москва |
Б |
4940 |
1 |
4,67 |
200 |
1,33 |
160 |
|
|
|
|
4520 |
2 |
3,41 |
140 |
0,92 |
120 |
|
|
|
|
3 |
2,63 |
110 |
0,70 |
90 |
|
|
36 |
Мурманск |
Б |
6380 |
1 |
5,39 |
230 |
1,36 |
190 |
|
|
|
|
5830 |
2 |
3,93 |
160 |
0,95 |
140 |
|
|
|
|
3 |
2,96 |
120 |
0,72 |
110 |
|
|
37 |
Нальчик |
А |
3260 |
1 |
3,83 |
140 |
1,10 |
110 |
|
|
|
|
2920 |
2 |
2,78 |
100 |
0,76 |
90 |
|
|
|
|
3 |
2,24 |
80 |
0,58 |
80 |
|
|
38 |
Нижний Новгород |
Б |
5180 |
1 |
4,80 |
200 |
1,45 |
160 |
|
|
|
|
4750 |
2 |
3,50 |
150 |
1,01 |
120 |
|
|
|
|
3 |
2,69 |
120 |
0,77 |
90 |
|
|
39 |
Новгород |
Б |
4930 |
1 |
4,67 |
200 |
1,36 |
160 |
|
|
|
|
4490 |
2 |
3,40 |
140 |
0,95 |
120 |
|
|
|
|
3 |
2,63 |
110 |
0,72 |
90 |
|
|
ДО |
Новосибирск |
А |
6600 |
1 |
5,50 |
200 |
1,71 |
150 |
|
|
|
|
6140 |
2 |
4,06 |
140 |
1,20 |
110 |
|
|
|
|
3 |
3,04 |
110 |
0,91 |
90 |
|
|
41 |
Омск |
А |
6280 |
1 |
5,39 |
200 |
1,65 |
140 |
|
|
|
|
5840 |
2 |
3,94 |
140 |
1,16 |
110 |
|
|
|
|
3 |
2,96 |
110 |
0,88 |
90 |
|
|
42 |
Оренбург |
А |
5310 |
1 |
4,85 |
170 |
1,48 |
140 |
|
|
|
|
4900 |
2 |
3,56 |
120 |
1,03 |
100 |
|
|
|
|
3 |
2,73 |
100 |
0,78 |
80 |
Продолжение таблицы 3 а
|
1 |
2 |
3 |
4 |
5 |
6 |
7 |
8 |
9 |
|
43 |
Орел |
Б |
4650 |
1 |
4,53 |
200 |
1,33 |
150 |
|
|
|
|
4250 |
2 |
3,30 |
140 |
0,92 |
120 |
|
|
|
|
3 |
2,56 |
110 |
0,70 |
90 |
|
|
44 |
Пенза |
А |
5070 |
1 |
4,74 |
170 |
1,42 |
140 |
|
|
|
|
4660 |
2 |
3,46 |
130 |
0,99 |
100 |
|
|
|
|
3 |
2,66 |
90 |
0,75 |
80 |
|
|
45 |
Пермь |
Б |
5930 |
1 |
5,15 |
220 |
1,60 |
170 |
|
|
|
|
5470 |
2 |
3,81 |
160 |
1,11 |
130 |
|
|
|
|
3 |
2,88 |
120 |
0,85 |
90 |
|
|
46 |
Петрозаводск |
Б |
5540 |
1 |
4,97 |
210 |
1,42 |
170 |
|
|
|
|
5060 |
2 |
3,62 |
150 |
0,99 |
120 |
|
|
|
|
3 |
2,53 |
110 |
0,75 |
90 |
|
|
47 |
Петропавловск-Камчатский |
Б |
4760 |
1 |
4,58 |
200 |
1,16 |
160 |
|
|
|
|
4250 |
2 |
3,30 |
140 |
0,80 |
120 |
|
|
|
|
3 |
2,56 |
110 |
0,61 |
90 |
|
|
48 |
Псков |
Б |
4580 |
1 |
4,49 |
200 |
1,33 |
150 |
|
|
|
|
4160 |
2 |
3,26 |
140 |
0,92 |
110 |
|
|
|
|
3 |
2,54 |
100 |
0,70 |
90 |
|
|
49 |
Ростов-на-Дону |
А |
3520 |
1 |
3,96 |
140 |
1,22 |
110 |
|
|
|
|
3180 |
2 |
2,87 |
100 |
0,84 |
80 |
|
|
|
|
3 |
2,29 |
80 |
0,64 |
70 |
|
|
50 |
Рязань |
Б |
4890 |
1 |
4,65 |
200 |
1,36 |
150 |
|
|
|
|
4470 |
2 |
3,39 |
140 |
0,95 |
110 |
|
|
|
|
3 |
2,62 |
100 |
0,72 |
90 |
Продолжение таблицы 3 а
|
1 |
2 |
3 |
4 |
5 |
6 |
7 |
8 |
9 |
|
51 |
Самара |
Б |
5110 |
1 |
4,76 |
200 |
1,45 |
160 |
|
|
|
|
4710 |
2 |
3,78 |
150 |
1,01 |
110 |
|
|
|
|
3 |
2,68 |
110 |
0,77 |
90 |
|
|
52 |
Санкт-Петербург |
Б |
4800 |
1 |
4,60 |
200 |
1,33 |
150 |
|
|
|
|
4360 |
2 |
3,34 |
140 |
0,92 |
110 |
|
|
|
|
3 |
2,59 |
100 |
0,70 |
90 |
|
|
53 |
Саранск |
А |
5120 |
1 |
4,76 |
170 |
1,45 |
140 |
|
|
|
|
4700 |
2 |
3,48 |
120 |
1,01 |
100 |
|
|
|
|
3 |
2,62 |
100 |
0,77 |
80 |
|
|
54 |
Саратов |
А |
4760 |
1 |
4,58 |
160 |
1,36 |
120 |
|
|
|
|
4370 |
2 |
3,34 |
110 |
0,95 |
100 |
|
|
|
|
3 |
2,59 |
80 |
0,72 |
80 |
|
|
55 |
Салехард |
Б |
9170 |
1 |
6,78 |
300 |
1,78 |
230 |
|
|
|
|
8590 |
2 |
5,04 |
230 |
1,26 |
180 |
|
|
|
|
3 |
3,65 |
160 |
0,96 |
120 |
|
|
56 |
Смоленск |
Б |
4820 |
1 |
4,61 |
200 |
1,33 |
150 |
|
|
|
|
4400 |
2 |
3,36 |
140 |
0,92 |
110 |
|
|
|
|
3 |
2,60 |
100 |
0,70 |
90 |
|
|
57 |
Ставрополь |
А |
3210 |
1 |
3,80 |
140 |
1,13 |
110 |
|
|
|
|
2880 |
2 |
2,75 |
100 |
0,78 |
80 |
|
|
|
|
3 |
2,22 |
80 |
0,59 |
70 |
|
|
58 |
Сыктывкар |
Б |
6320 |
1 |
5,37 |
230 |
1,62 |
180 |
|
|
|
|
5830 |
2 |
3,95 |
170 |
1,13 |
130 |
|
|
|
|
3 |
2,97 |
120 |
0,86 |
100 |
|
|
59 |
Тамбов |
А |
4760 |
1 |
4,58 |
160 |
1,39 |
120 |
|
|
|
|
4360 |
2 |
3,35 |
110 |
0,97 |
100 |
|
|
|
|
3 |
2,59 |
80 |
0,74 |
80 |
Продолжение таблицы 3 а
|
1 |
2 |
3 |
4 |
5 |
6 |
7 |
8 |
9 |
|
60 |
Тверь |
Б |
5010 |
1 |
4,70 |
200 |
1,42 |
150 |
|
|
|
|
4580 |
2 |
3,43 |
140 |
0,99 |
110 |
|
|
|
|
3 |
2,64 |
110 |
0,75 |
90 |
|
|
61 |
Томск |
Б |
6700 |
1 |
5,55 |
270 |
1,74 |
180 |
|
|
|
|
6230 |
2 |
4,09 |
180 |
1,22 |
130 |
|
|
|
|
3 |
3,09 |
130 |
0,93 |
100 |
|
|
62 |
Тула |
Б |
4760 |
1 |
4,58 |
200 |
1,36 |
150 |
|
|
|
|
4350 |
2 |
3,33 |
150 |
0,95 |
110 |
|
|
|
|
3 |
2,58 |
100 |
0,72 |
90 |
|
|
63 |
Тюмень |
А |
6120 |
1 |
5,26 |
190 |
1,65 |
140 |
|
|
|
|
5670 |
2 |
3,87 |
140 |
1,16 |
110 |
|
|
|
|
3 |
2,92 |
110 |
0,88 |
80 |
|
|
64 |
Ульяновск |
А |
5380 |
1 |
4,90 |
180 |
1,48 |
140 |
|
|
|
|
4960 |
2 |
3,58 |
120 |
1,03 |
100 |
|
|
|
|
3 |
2,69 |
100 |
0,78 |
80 |
|
|
65 |
Улан-Удэ |
А |
7200 |
1 |
5,80 |
210 |
1,65 |
160 |
|
|
|
|
6730 |
2 |
4,29 |
150 |
1,16 |
120 |
|
|
|
|
3 |
3,18 |
110 |
0,88 |
80 |
|
|
66 |
Уфа |
А |
5520 |
1 |
4,96 |
180 |
1,60 |
140 |
|
|
|
|
5090 |
2 |
3,64 |
120 |
1,11 |
100 |
|
|
|
|
3 |
2,78 |
100 |
0,95 |
80 |
|
|
67 |
Хабаровск |
Б |
6180 |
1 |
5,30 |
230 |
1,48 |
180 |
|
|
|
|
5760 |
2 |
3,90 |
170 |
1,03 |
130 |
|
|
|
|
3 |
2,94 |
120 |
0,78 |
100 |
|
|
68 |
Чебоксары |
Б |
5400 |
1 |
4,90 |
220 |
1,51 |
160 |
|
|
|
|
4970 |
2 |
3,60 |
150 |
1,05 |
120 |
|
|
|
|
3 |
2,75 |
110 |
0,80 |
90 |
Продолжение таблицы 3 а
|
1 |
2 |
3 |
4 |
5 |
6 |
7 |
8 |
9 |
|
69 |
Челябинск |
А |
5780 |
1 |
5,10 |
180 |
1,57 |
140 |
|
|
|
|
5340 |
2 |
3,74 |
140 |
1,09 |
110 |
|
|
|
|
3 |
2,84 |
100 |
0,83 |
80 |
|
|
70 |
Чита |
А |
7600 |
1 |
6,0 |
220 |
1,68 |
170 |
|
|
|
|
7120 |
2 |
4,45 |
160 |
1,18 |
120 |
|
|
|
|
3 |
3,28 |
110 |
0,90 |
100 |
|
|
71 |
Элиста |
А |
3670 |
1 |
4,04 |
140 |
1,25 |
110 |
|
|
|
|
3320 |
2 |
2,93 |
110 |
0,86 |
80 |
|
|
|
|
3 |
2,33 |
80 |
0,66 |
70 |
|
|
72 |
Южно-Сахалинск |
Б |
5590 |
1 |
4,99 |
220 |
1,28 |
180 |
|
|
|
|
5130 |
2 |
3,65 |
160 |
0,88 |
130 |
|
|
|
|
3 |
2,78 |
110 |
0,67 |
100 |
|
|
73 |
Якутск |
А |
10400 |
1 |
7,40 |
280 |
2,18 |
200 |
|
|
|
|
9900 |
2 |
5,56 |
200 |
1,53 |
160 |
|
|
|
|
3 |
3,98 |
140 |
1,17 |
110 |
|
|
74 |
Ярославль |
Б |
5300 |
1 |
4,85 |
220 |
1,48 |
160 |
|
|
|
|
4860 |
2 |
3,54 |
150 |
1,03 |
120 |
|
|
|
|
3 |
2,72 |
110 |
0,76 |
90 |
|
№ п/п |
Город РФ |
Условия эксплуатации |
Градусо-сутки |
Тип помещения |
СТЕНЫ ПОДВАЛА |
||
|
Выше уровня земли |
Ниже уровня земли |
||||||
|
|
Толщина теплоизоляции, мм |
Толщина теплоизоляции, мм |
|||||
|
1 |
2 |
3 |
4 |
5 |
6 |
7 |
8 |
|
1 |
Архангельск |
Б |
6170 |
1 |
3,56 |
120 |
100 |
|
|
|
|
5670 |
2 |
2,90 |
100 |
70 |
|
|
|
|
3 |
2,13 |
70 |
60 |
|
|
2 |
Астрахань |
А |
3540 |
1 |
2,64 |
80 |
100 |
|
|
|
|
3200 |
2 |
2,08 |
70 |
60 |
|
|
|
|
3 |
1,64 |
40 |
30 |
|
|
3 |
Анадырь |
Б |
9500 |
1 |
4,72 |
180 |
140 |
|
|
|
|
8900 |
2 |
3,87 |
140 |
110 |
|
|
|
|
3 |
2,76 |
100 |
70 |
|
|
4 |
Барнаул |
А |
6120 |
1 |
3,54 |
120 |
100 |
|
|
|
|
5680 |
2 |
2,90 |
100 |
70 |
|
|
|
|
3 |
2,13 |
70 |
60 |
|
|
5 |
Белгород |
А |
4180 |
1 |
2,86 |
100 |
70 |
|
|
|
|
3800 |
2 |
2,32 |
70 |
60 |
|
|
|
|
3 |
1,76 |
60 |
40 |
|
|
6 |
Благовещенск |
Б |
6670 |
1 |
3,74 |
140 |
110 |
|
|
|
|
6240 |
2 |
3,07 |
110 |
80 |
|
|
|
|
3 |
2,25 |
70 |
60 |
|
|
7 |
Брянск |
Б |
4570 |
1 |
3,00 |
100 |
80 |
|
|
|
|
4160 |
2 |
2,45 |
80 |
70 |
|
|
|
|
3 |
1,83 |
60 |
40 |
|
Продолжение таблицы 3 б
|
1 |
2 |
3 |
4 |
5 |
6 |
7 |
8 |
|
8 |
Волгоград |
А |
3950 |
1 |
2,78 |
100 |
70 |
|
|
|
|
3600 |
2 |
2,24 |
70 |
60 |
|
|
|
|
3 |
1,72 |
60 |
40 |
|
|
9 |
Вологда |
Б |
5570 |
1 |
3,35 |
120 |
100 |
|
|
|
|
5100 |
2 |
2,73 |
100 |
70 |
|
|
|
|
3 |
2,02 |
70 |
60 |
|
|
10 |
Воронеж |
А |
4530 |
1 |
3,0 |
110 |
80 |
|
|
|
|
4140 |
2 |
2,44 |
80 |
70 |
|
|
|
|
3 |
1,83 |
60 |
40 |
|
|
11 |
Владимир |
Б |
5000 |
1 |
3,3 |
110 |
80 |
|
|
|
|
4580 |
2 |
2,57 |
80 |
70 |
|
|
|
|
3 |
1,91 |
60 |
40 |
|
|
12 |
Владивосток |
Б |
4680 |
1 |
3,04 |
100 |
70 |
|
|
|
|
4300 |
2 |
2,49 |
80 |
70 |
|
|
|
|
3 |
1,86 |
60 |
40 |
|
|
13 |
Владикавказ |
А |
3410 |
1 |
2,59 |
80 |
70 |
|
|
|
|
3060 |
2 |
2,02 |
60 |
40 |
|
|
|
|
3 |
1,61 |
40 |
30 |
|
|
14 |
Грозный |
А |
3060 |
1 |
2,47 |
80 |
70 |
|
|
|
|
2740 |
2 |
1,9 |
60 |
40 |
|
|
|
|
3 |
1,55 |
40 |
30 |
Продолжение таблицы 3 б
|
1 |
2 |
3 |
4 |
5 |
6 |
7 |
8 |
|
15 |
Екатеринбург |
А |
5980 |
1 |
3,49 |
120 |
100 |
|
|
|
|
5520 |
2 |
2,85 |
100 |
70 |
|
|
|
|
3 |
2,10 |
70 |
60 |
|
|
16 |
Иваново |
Б |
5230 |
1 |
3,23 |
110 |
80 |
|
|
|
|
4800 |
2 |
2,64 |
60 |
70 |
|
|
|
|
3 |
1,96 |
60 |
40 |
|
|
17 |
Игарка |
Б |
9660 |
1 |
4,78 |
180 |
140 |
|
|
|
|
9090 |
2 |
3,93 |
140 |
110 |
|
|
|
|
3 |
2,82 |
100 |
70 |
|
|
18 |
Иркутск |
А |
6480 |
1 |
3,79 |
140 |
110 |
|
|
|
|
6360 |
2 |
3,12 |
110 |
80 |
|
|
|
|
3 |
2,27 |
70 |
60 |
|
|
19 |
Ижевск |
Б |
5680 |
1 |
3,39 |
110 |
80 |
|
|
|
|
5240 |
2 |
2,77 |
100 |
70 |
|
|
|
|
3 |
2,05 |
60 |
40 |
|
|
20 |
Йошкар-Ола |
Б |
5520 |
1 |
3,33 |
110 |
80 |
|
|
|
|
5080 |
2 |
2,72 |
80 |
70 |
|
|
|
|
3 |
2,02 |
60 |
40 |
|
|
21 |
Казань |
Б |
5420 |
1 |
3,30 |
110 |
80 |
|
|
|
|
4990 |
2 |
2,70 |
80 |
70 |
|
|
|
|
3 |
2,0 |
60 |
40 |
Продолжение таблицы 3 б
|
1 |
2 |
3 |
4 |
5 |
6 |
7 |
8 |
|
22 |
Калининград |
Б |
3650 |
1 |
2,68 |
|
|
|
|
|
|
3260 |
2 |
2,10 |
|
|
|
|
|
|
3 |
1,65 |
|
|
|
|
23 |
Калуга |
Б |
4810 |
1 |
3,08 |
110 |
80 |
|
|
|
|
4400 |
2 |
2,52 |
80 |
70 |
|
|
|
|
3 |
1,88 |
60 |
40 |
|
|
24 |
Кемерово |
А |
6540 |
1 |
3,69 |
120 |
100 |
|
|
|
|
6080 |
2 |
3,02 |
100 |
70 |
|
|
|
|
3 |
2,21 |
70 |
60 |
|
|
25 |
Вятка |
Б |
5870 |
1 |
3,45 |
120 |
100 |
|
|
|
|
5400 |
2 |
2,82 |
100 |
70 |
|
|
|
|
3 |
2,08 |
70 |
60 |
|
|
26 |
Кострома |
Б |
5300 |
1 |
3,25 |
110 |
80 |
|
|
|
|
4860 |
2 |
2,66 |
80 |
70 |
|
|
|
|
3 |
1,97 |
60 |
40 |
|
|
27 |
Краснодар |
А |
2680 |
1 |
2,34 |
70 |
60 |
|
|
|
|
2380 |
2 |
1,75 |
40 |
30 |
|
|
|
|
3 |
1,48 |
40 |
30 |
|
|
28 |
Красноярск |
А |
6340 |
1 |
3,62 |
120 |
100 |
|
|
|
|
5870 |
2 |
2,96 |
100 |
70 |
|
|
|
|
3 |
2,17 |
70 |
60 |
|
|
29 |
Курган |
А |
5980 |
1 |
3,49 |
120 |
100 |
|
|
|
|
5550 |
2 |
2,86 |
100 |
70 |
|
|
|
|
3 |
2,11 |
70 |
60 |
Продолжение таблицы 3 б
|
1 |
2 |
3 |
4 |
5 |
6 |
7 |
8 |
|
30 |
Курск |
Б |
4400 |
1 |
2,95 |
100 |
70 |
|
|
|
|
4040 |
2 |
2,41 |
80 |
70 |
|
|
|
|
3 |
1,80 |
60 |
40 |
|
|
31 |
Кызыл |
А |
7880 |
1 |
4,16 |
150 |
120 |
|
|
|
|
7430 |
2 |
3,43 |
120 |
100 |
|
|
|
|
3 |
2,49 |
80 |
70 |
|
|
32 |
Липецк |
А |
4730 |
1 |
3,06 |
110 |
80 |
|
|
|
|
4320 |
2 |
2,50 |
80 |
70 |
|
|
|
|
3 |
1,86 |
60 |
40 |
|
|
33 |
Магадан |
Б |
7800 |
1 |
4,13 |
150 |
120 |
|
|
|
|
7230 |
2 |
3,37 |
110 |
80 |
|
|
|
|
3 |
2,45 |
80 |
70 |
|
|
34 |
Махачкала |
А |
2560 |
1 |
2,30 |
70 |
60 |
|
|
|
|
2260 |
2 |
1,7 |
40 |
30 |
|
|
|
|
3 |
1,45 |
40 |
30 |
|
|
35 |
Москва |
Б |
4940 |
1 |
3,13 |
110 |
80 |
|
|
|
|
4520 |
2 |
2,55 |
80 |
70 |
|
|
|
|
3 |
1,9 |
60 |
40 |
|
|
36 |
Мурманск |
Б |
6380 |
1 |
3,63 |
120 |
100 |
|
|
|
|
5830 |
2 |
2,95 |
100 |
80 |
|
|
|
|
3 |
2,17 |
70 |
60 |
Продолжение таблицы 3 б
|
1 |
2 |
3 |
4 |
5 |
6 |
7 |
8 |
|
37 |
Нальчик |
А |
3260 |
1 |
2,54 |
80 |
70 |
|
|
|
|
2920 |
2 |
1,97 |
60 |
40 |
|
|
|
|
3 |
1,58 |
40 |
30 |
|
|
38 |
Нижний Новгород |
Б |
5180 |
1 |
3,21 |
110 |
80 |
|
|
|
|
4750 |
2 |
2,63 |
80 |
70 |
|
|
|
|
3 |
1,95 |
60 |
40 |
|
|
39 |
Новгород |
Б |
4930 |
1 |
3,13 |
110 |
80 |
|
|
|
|
4490 |
2 |
2,55 |
80 |
70 |
|
|
|
|
3 |
1,9 |
60 |
40 |
|
|
ДО |
Новосибирск |
А |
6600 |
1 |
3,71 |
120 |
100 |
|
|
|
|
6140 |
2 |
3,04 |
100 |
80 |
|
|
|
|
3 |
2,23 |
70 |
60 |
|
|
41 |
Омск |
А |
6280 |
1 |
3,60 |
120 |
100 |
|
|
|
|
5840 |
2 |
2,85 |
100 |
80 |
|
|
|
|
3 |
2,17 |
70 |
60 |
|
|
42 |
Оренбург |
А |
5310 |
1 |
3,26 |
110 |
80 |
|
|
|
|
4900 |
2 |
2,67 |
80 |
70 |
|
|
|
|
3 |
1,98 |
60 |
40 |
|
|
43 |
Орел |
Б |
4650 |
1 |
3,03 |
100 |
70 |
|
|
|
|
4250 |
2 |
2,48 |
80 |
70 |
|
|
|
|
3 |
1,85 |
60 |
40 |
Продолжение таблицы 3 б
|
1 |
2 |
3 |
4 |
5 |
6 |
7 |
8 |
|
44 |
Пенза |
А |
5070 |
1 |
3,17 |
110 |
80 |
|
|
|
|
4660 |
2 |
2,60 |
80 |
70 |
|
|
|
|
3 |
1,93 |
60 |
40 |
|
|
45 |
Пермь |
Б |
5930 |
1 |
3,48 |
120 |
100 |
|
|
|
|
5470 |
2 |
2,84 |
100 |
70 |
|
|
|
|
3 |
2,09 |
70 |
60 |
|
|
46 |
Петрозаводск |
Б |
5540 |
1 |
3,34 |
110 |
80 |
|
|
|
|
5060 |
2 |
2,85 |
100 |
70 |
|
|
|
|
3 |
2,10 |
60 |
40 |
|
|
47 |
Петропавловск-Камчатский |
Б |
4760 |
1 |
3,07 |
100 |
70 |
|
|
|
|
4250 |
2 |
2,48 |
80 |
70 |
|
|
|
|
3 |
1,85 |
60 |
40 |
|
|
48 |
Псков |
Б |
4580 |
1 |
3,0 |
100 |
70 |
|
|
|
|
4160 |
2 |
2,45 |
80 |
70 |
|
|
|
|
3 |
1,83 |
60 |
40 |
|
|
49 |
Ростов-на-Дону |
А |
3520 |
1 |
2,63 |
80 |
70 |
|
|
|
|
3180 |
2 |
2,07 |
60 |
40 |
|
|
|
|
3 |
1,64 |
40 |
30 |
|
|
50 |
Рязань |
Б |
4890 |
1 |
3,11 |
140 |
80 |
|
|
|
|
4470 |
2 |
2,54 |
80 |
70 |
|
|
|
|
3 |
1,90 |
60 |
40 |
Продолжение таблицы 3 б
|
1 |
2 |
3 |
4 |
5 |
6 |
7 |
8 |
|
51 |
Самара |
Б |
5110 |
1 |
3,19 |
110 |
80 |
|
|
|
|
4710 |
2 |
2,61 |
80 |
70 |
|
|
|
|
3 |
1,94 |
60 |
40 |
|
|
52 |
Санкт-Петербург |
Б |
4800 |
1 |
3,08 |
100 |
70 |
|
|
|
|
4360 |
2 |
2,51 |
80 |
70 |
|
|
|
|
3 |
1,87 |
60 |
40 |
|
|
53 |
Саранск |
А |
5120 |
1 |
3,19 |
110 |
80 |
|
|
|
|
4700 |
2 |
2,61 |
80 |
70 |
|
|
|
|
3 |
1,94 |
60 |
40 |
|
|
54 |
Саратов |
А |
4760 |
1 |
3,07 |
100 |
70 |
|
|
|
|
4370 |
2 |
2,51 |
80 |
70 |
|
|
|
|
3 |
1,87 |
60 |
40 |
|
|
55 |
Салехард |
Б |
9170 |
1 |
4,61 |
160 |
140 |
|
|
|
|
8590 |
2 |
3,78 |
140 |
110 |
|
|
|
|
3 |
2,72 |
80 |
70 |
|
|
56 |
Смоленск |
Б |
4820 |
1 |
3,09 |
110 |
80 |
|
|
|
|
4400 |
2 |
2,52 |
80 |
70 |
|
|
|
|
3 |
1,88 |
60 |
40 |
|
|
57 |
Ставрополь |
А |
3210 |
1 |
2,52 |
80 |
70 |
|
|
|
|
2880 |
2 |
1,95 |
60 |
40 |
|
|
|
|
3 |
1,58 |
40 |
30 |
Продолжение таблицы 3 б
|
1 |
2 |
3 |
4 |
5 |
6 |
7 |
8 |
|
58 |
Сыктывкар |
Б |
6320 |
1 |
3,61 |
120 |
100 |
|
|
|
|
5830 |
2 |
2,95 |
100 |
70 |
|
|
|
|
3 |
2,17 |
70 |
60 |
|
|
59 |
Тамбов |
А |
4760 |
1 |
3,07 |
110 |
80 |
|
|
|
|
4360 |
2 |
2,51 |
80 |
70 |
|
|
|
|
3 |
2,87 |
60 |
40 |
|
|
60 |
Тверь |
Б |
5010 |
1 |
3,15 |
110 |
80 |
|
|
|
|
4580 |
2 |
2,57 |
80 |
70 |
|
|
|
|
3 |
1,92 |
60 |
40 |
|
|
61 |
Томск |
Б |
6700 |
1 |
3,75 |
140 |
110 |
|
|
|
|
6230 |
2 |
3,07 |
100 |
70 |
|
|
|
|
3 |
2,25 |
70 |
60 |
|
|
62 |
Тула |
Б |
4760 |
1 |
3,07 |
110 |
80 |
|
|
|
|
4350 |
2 |
2,50 |
80 |
70 |
|
|
|
|
3 |
1,87 |
60 |
40 |
|
|
63 |
Тюмень |
А |
6120 |
1 |
3,54 |
120 |
100 |
|
|
|
|
5670 |
2 |
2,90 |
100 |
70 |
|
|
|
|
3 |
2,13 |
70 |
60 |
|
|
64 |
Ульяновск |
А |
5380 |
1 |
3,29 |
110 |
80 |
|
|
|
|
4960 |
2 |
2,69 |
80 |
70 |
|
|
|
|
3 |
1,99 |
60 |
40 |
Продолжение таблицы 3 б
|
1 |
2 |
3 |
4 |
5 |
6 |
7 |
8 |
|
65 |
Улан-Удэ |
А |
7200 |
1 |
3,92 |
140 |
110 |
|
|
|
|
6730 |
2 |
3,22 |
110 |
80 |
|
|
|
|
3 |
2,35 |
70 |
60 |
|
|
66 |
Уфа |
А |
5520 |
1 |
3,33 |
110 |
80 |
|
|
|
|
5090 |
2 |
2,73 |
100 |
70 |
|
|
|
|
3 |
2,02 |
60 |
40 |
|
|
67 |
Хабаровск |
Б |
6180 |
1 |
3,56 |
120 |
100 |
|
|
|
|
5760 |
2 |
2,93 |
100 |
70 |
|
|
|
|
3 |
2,15 |
70 |
60 |
|
|
68 |
Чебоксары |
Б |
5400 |
1 |
3,29 |
110 |
80 |
|
|
|
|
4970 |
2 |
2,70 |
80 |
70 |
|
|
|
|
3 |
2,00 |
60 |
40 |
|
|
69 |
Челябинск |
А |
5780 |
1 |
3,43 |
120 |
100 |
|
|
|
|
5340 |
2 |
2,80 |
100 |
70 |
|
|
|
|
3 |
2,07 |
70 |
60 |
|
|
70 |
Чита |
А |
7600 |
1 |
4,06 |
150 |
120 |
|
|
|
|
7120 |
2 |
3,34 |
110 |
80 |
|
|
|
|
3 |
2,42 |
80 |
70 |
|
|
71 |
Элиста |
А |
3670 |
1 |
2,68 |
80 |
70 |
|
|
|
|
3320 |
2 |
2,13 |
70 |
60 |
|
|
|
|
3 |
1,66 |
40 |
30 |
Окончание таблицы 3 б
|
1 |
2 |
3 |
4 |
5 |
6 |
7 |
8 |
|
72 |
Южно-Сахалинск |
Б |
5590 |
1 |
3,36 |
110 |
80 |
|
|
|
|
5130 |
2 |
2,74 |
80 |
70 |
|
|
|
|
3 |
2,03 |
60 |
40 |
|
|
73 |
Якутск |
А |
10400 |
1 |
5,04 |
190 |
150 |
|
|
|
|
9900 |
2 |
4,17 |
150 |
120 |
|
|
|
|
3 |
2,98 |
100 |
70 |
|
|
74 |
Ярославль |
Б |
5300 |
1 |
3,26 |
110 |
80 |
|
|
|
|
4860 |
2 |
2,66 |
80 |
70 |
|
|
|
|
3 |
1,97 |
60 |
40 |
Таблица 3 в
|
Температура воздуха в более теплом помещении, СС |
Требуемая толщина теплоизоляции из минераловатных плит, мм, внутренних стен, перегородок и междуэтажных перекрытий охлаждаемых помещений, при температуре воздуха в более холодном помещении, СС |
||||||
|
|
минус 30 |
минус 20 |
минус 10 |
минус 5 |
0 |
5 |
12 |
|
Минус 30 |
80 |
- |
- |
- |
- |
- |
- |
|
Минус 20 |
100 |
80 |
- |
- |
- |
- |
- |
|
Минус 10 |
150 |
120 |
80 |
- |
- |
- |
- |
|
Минус 5 |
170 |
150 |
100 |
80 |
- |
- |
- |
|
0 |
190 |
170 |
120 |
100 |
80 |
- |
- |
|
5 |
190 |
170 |
150 |
120 |
100 |
80 |
- |
|
10 |
220 |
190 |
170 |
150 |
120 |
100 |
80 |
|
20 |
250 |
220 |
190 |
170 |
120 |
100 |
100 |
|
Температура воздуха в охлажденных помещениях, СС |
Требуемая толщина теплоизоляции из минераловатных плит, мм, полов на обогреваемых грунтах |
|
Минус 1 |
120 |
|
Минус 10 |
150 |
|
Минус 20 |
220 |
|
Минус 30 |
260 |
|
Среднегодовая температура наружного воздуха в районе строительства, ºС |
Требуемая толщина теплоизоляции из минераловатных плит, мм, перекрытий над проветриваемыми подпольями для различных районов СНиП 23-01-99, при температуре воздуха в более холодном помещении, ºС |
||||
|
минус 30 |
минус 20 |
минус 10 |
минус 5 |
0 и не нормируется |
|
|
3 и ниже |
220 |
170 |
150 |
120 |
120 |
|
выше 3 и ниже 9 |
220 |
190 |
170 |
120 |
120 |
|
9 и выше |
260 |
220 |
190 |
170 |
150 |
4.1. Стена при новом строительстве может быть несущей или самонесущей и представляет собой трехслойную конструкцию с несущим слоем из полнотелого керамического кирпича, бетонных блоков или монолитного железобетона, слоем теплоизоляции из минераловатных плит «ТЕХНО ПЛАСТ» и отделочным слоем из традиционной штукатурки толщиной 25 - 30 мм, и из плит «ТЕХНО ФАС» и отделочным слоем из тонкослойной штукатурки толщиной 4,5 - 5 мм.
Для стен с облицовкой из кирпича толщиной 120 мм используются плиты марки «ТЕХНО БЛОК».
4.2. При защитно-декоративном слое из штукатурки необходимо, чтобы:
- штукатурка имела нулевой предел распространения огня;
- традиционная штукатурка должна выполняться толщиной 25 - 30 мм по закрепленной к несущей части стены стальной сетке;
- тонкослойная штукатурка должна выполняться толщиной 4,5 - 5 мм по закрепленной к несущей части стены щелочестойкой стеклосетке (табл. 4);
- штукатурка на высоту 2,5 м от планировки должна иметь защиту от механических повреждений.
Физико-технические показатели стеклосеток
|
Наименование показателя, ед.измерения |
Требуемые значения для сеток марок |
||||||
|
R131 |
R275 |
SD4418 |
SD4420 |
SDA4412 |
SD4512 |
Строби СЕКО 5×5 |
|
|
1. Масса 1 м2, номинальная, г |
160 |
343 |
149 |
161 |
161 |
327 |
160 |
|
2. Толщина номинальная, мм |
0,47 |
0,9 |
0,48 |
0,5 |
0,52 |
0,85 |
0,36 |
|
3. Размер ячеек, мм |
3,5×3,5 |
6×6 |
4×5,5 |
4×5 |
7×8,5 6×6 |
7×8 |
5×5 |
|
4. Разрывная нагрузка в исходном состоянии, Н/5 см, не менее: |
|
||||||
|
- по основе |
1900 |
3800 |
2000 |
2000 |
1900 |
4000 |
1800 |
|
- по утку |
1900 |
3500 |
1800 |
2000 |
2000 |
5500 |
1800 |
|
5. Разрывная нагрузка после «быстрого» теста, Н/5 см, не менее: |
|
||||||
|
- по основе |
1250 |
2300 |
1200 |
1200 |
1100 |
2400 |
1000 |
|
- по утку |
1250 |
2300 |
1100 |
1200 |
1300 |
3300 |
1000 |
|
6. Разрывная нагрузка после 28 дней выдержки в 5%-ном растворе NaOH при температуре (18-30) °С, Н/5 см, не менее: |
|
||||||
|
- по основе |
1200 |
1900 |
1000 |
1000 |
950 |
2000 |
1100 |
|
- по утку |
1200 |
1750 |
900 |
1000 |
1100 |
2750 |
1100 |
4.3. Теплоизоляционные плиты крепят к несущему слою стены на клею и дополнительно распорными дюбелями.
При подготовке несущей части стены до закрепления к ней теплоизоляции рекомендуется использовать при необходимости: антигрибковый препарат типа Ceresit CT 99, грунтовку типа Ceresit CT 16, Ceresit CT 17 (ТУ 5745-008-58239148-03).
4.4. Для наклейки минераловатных плит рекомендуется применять клеевую смесь Ceresit CT 190 (ТУ 5745-008-58239148-03).
4.5. Клей следует наносить на теплоизоляционную плиту с помощью штукатурного шпателя или валиком (шириной 4 - 6 см) по всему периметру с отступлением от краев на 2 - 3 см и дополнительно "куличами" на остальную поверхность плиты, при этом площадь приклеенной поверхности плит - не менее 40%.
4.6. Установку плит в проектное положение осуществляют с прижатием к поверхности несущей части стены и выравниванием по высоте относительно друг друга трамбовками. Образование излишков выступающего клея недопустимо.
4.7. Выравнивание по горизонтали теплоизоляционных плит может осуществляться с помощью временно закрепленной к несущей части стены деревянной рейки или с применением цокольного профиля (изготовленного из алюминия или оцинкованной стали) толщиной 1 - 1,5 мм, который закрепляют к несущей части стены дюбелями, располагаемыми с шагом не более 300 мм.
4.8. При установке цокольных профилей необходимо оставлять зазор в стыке между ними в 2 - 3 мм. Для выравнивания вдоль несущей части стены необходимо использовать соответствующие подкладочные шайбы из ПВХ, а для соединения профилей между собой - пластмассовые соединительные элементы.
4.9. После установки первого ряда теплоизоляционных плит на цокольный профиль зазор между поверхностью несущей части стены и профилем необходимо заполнить полиуретановой пеной.
4.10. Теплоизоляционные плиты устанавливают вплотную друг к другу. В случае, если между ними образуются зазоры более 2 мм, их необходимо заполнить материалом используемого утеплителя.
4.11. Установку и наклеивание теплоизоляционных плит следует выполнять с перевязкой швов с устройством зубчатого защемления на внешних и внутренних углах стен.
4.12. Плиты теплоизоляционного материала, устанавливаемые в углах оконных и дверных проемов, должны быть цельными с вырезанными по месту фрагментами. Не допускается стыковать плиты на линиях углов оконных и дверных проемов.
4.13. Рекомендуемые типы тарельчатых дюбелей и условия их применения приведены в таблице 5.
4.14. При отделке фасадов штукатуркой сетку, армирующую штукатурный слой, крепят к несущему слою стены также распорными дюбелями (см. табл. 5).
4.15. Установка дюбелей для крепления плит теплоизоляции должна выполняться после полного высыхания клеевого состава. Срок высыхания при температуре наружного воздуха 20 °С и относительной влажности 65 % составляет не менее 72 часов. Перед установкой дюбелей выполняется шлифовка плит теплоизоляции при наличии неровностей в местах стыка.
Характеристики тарельчатых дюбелей
|
Вид дюбеля |
Материал ограждающей конструкции |
Глубина анкеровки, Hv, мм |
Длина дюбеля, мм |
Диаметр, мм |
Расчетное выдергива- |
Допускаемый изгибающий момент, Н·м |
||
|
дюбеля |
шляпки |
распорный элемент из
нержаве- |
Распор- |
|||||
|
Дюбель с обычной распорной зоной и закручиваемым распорным элементом EJ0TSDM-T |
Массивный материал (бетон, кирпич и камни керамические полнотелые, кирпич и камни силикатные полнотелые, трехслойные панели при толщине наружного бетонного слоя не менее 40 мм) |
50 |
100÷340 |
8,10 |
60 |
0,5 |
6,55 |
5,82 |
|
Дюбель с обычной распорной зоной и забивным элементом EJ0T TID-T |
« - » |
35-50 |
75÷295 |
8,10 |
60 |
0,25 |
3,19 |
2,83 |
|
Дюбель с удлиненной распорной зоной EJ0T SDM-T |
Многопустотный кирпич, пустотелые блоки, легкий бетон |
90 |
120÷340 |
8,10 |
60 |
0,2 |
6,55 |
5,82 |
|
Дюбель с закручиваемым распорным элементом для пористых материалов EJ0T SPM-T |
Пенобетон, газобетон |
110 |
150÷340 |
8,10 |
60 |
0,2 |
6,55 |
5,82 |
4.16. Внешние углы здания с укрепленной теплоизоляцией, а также углы дверных и оконных проемов должны быть усилены при традиционной штукатурке дополнительными стальными сетками 250×400 мм на скрутках, а при тонкослойной штукатурке - пластмассовыми уголками с вклеенной стеклосеткой, которые устанавливают встык по отношению друг к другу с нахлесткой сетки в месте стыка на 10 см.
4.17. При тонкослойной штукатурке после устройства усиливающего уголка на плоскости откосов дверных и оконных проемов следует наклеивать усилительную диагональную армирующую сетку размером 20×30 см. При этом усилительная сетка в углах оконных и дверных проемов вклеивается без напуска на пластмассовую часть уголка.
4.18. Традиционная штукатурка выполняется из известково-цементного раствора, приготавливаемого на месте из извести, песка, цемента, воды и добавок, в том числе обязательно пластифицирующих, или из готовых растворных смесей, и армируется стальной оцинкованной сеткой по ГОСТ 2715-75 с размером ячейки 20 мм и диаметром проволоки 1 - 1,6 мм.
4.19. В качестве вяжущего рекомендуется портландцемент или шлакопортландцемент по ГОСТ 10178-85* марок 300; 400 и известь строительная по ГОСТ 9179-77 в виде известкового теста (γ = 1400 кг/м3). Технические требования - по ГОСТ 28013-98 «Растворы строительные. Общие технические условия».
Рекомендуемые рецептуры штукатурных смесей приведены в табл. 6
|
Составляющие |
Состав в %, для смесей |
||
|
№1 |
№2 |
№3 |
|
|
1. Цемент |
8,9 |
8,9 |
10 |
|
2. Известь |
9 |
9 |
8 |
|
3. Заполнитель |
82 |
82 |
81 |
|
4. Добавки |
0,1 |
0,1 |
0,5 |
|
5. Пигмент |
- |
- |
0,5 |
4.20. Традиционная штукатурка выполняется улучшенного качества или высококачественная с нанесением ее соответственно в 2 или 3 слоя. После грунтовки поверхности плит пластичным раствором слоем в 3...5 мм он разравнивается в горизонтальном направлении зубчатым шпателем, образующим борозды глубиной 2...3 мм. После выдержки в течение 1 ...3 суток наносят нижний слой грунта толщиной 7...8 мм. После схватывания этого слоя (24...36 час) раскатывается армирующая сетка и крепится через штукатурку и теплоизоляцию к несущей части дюбелями при установке в среднем 8 дюбелей/м2 поверхности. Затем наносят второй слой грунта толщиной 7...8 мм с выравниванием его «под правило». При высококачественной штукатурке наносят третий, отделочный слой толщиной 2 - 5 мм в зависимости от вида отделки (см. ниже).
Из приведенных в табл. 6 смесей состав № 1 служит для приготовления грунтовки, № 2 - для грунта и № 3 - для отделочного слоя, окрашенного в массе (см. ниже).
4.21. При улучшенной штукатурке (под окраску) общая толщина штукатурного слоя доводится до 30 мм и поверхность ее выравнивается «под правило».
При высококачественнной штукатурке и окраске фасадов второй слой грунта выравнивают по маякам и после его схватывания наносят отделочный слой - накрывку толщиной 1 - 2 мм из мелкозернистого раствора, который затирается гладилками или затирочно-шлифовальными машинами. При отделке цветным раствором толщина выполненного к этому моменту штукатурного слоя должна составлять около 25...27 мм.
4.22. После полного затвердевания штукатурки ее в соответствии с проектом прорезают на всю толщину горизонтальными и вертикальными деформационными швами шириной 6 мм с шагом не более 8м. Крайний вертикальный шов должен располагаться не ближе 150 мм от угла фасада (наружного или входящего). Затем швы заделывают вулканизующейся мастикой.
4.23. Между штукатурным слоем и элементами заполнения проемов окон, дверей, ворот и др. предусматривается паз на всю толщину штукатурки, заполняемый вулканизующейся мастикой, в качестве которой рекомендуются силиконовые или тиоколовые составы.
4.24. При традиционной штукатурке фасады отделывают нанесением слоя цветного раствора (цветной накрывки) или окрашиванием поверхности. Первый вариант предпочтительнее из-за меньшей стоимости, большей прочности поверхности и практичности отделки, на которой незаметны мелкие дефекты.
4.25 Отделочный слой выполняется также из известково-цементного раствора с добавлением необходимых пигментов (от 3 до 12 % к весу сухого вяжущего). Подробные рекомендации содержатся в Инструкции по приготовлению и применению строительных растворов СН 290-74. Оптимальным является применение раствора, получаемого из сухих смесей заводского изготовления.
4.26. Отделочный слой из цветного раствора наносится с помощью пневматической форсунки непосредственно по 2-му слою штукатурки (грунту).
Характеристика вариантов отделки из цветного раствора дана в табл. 7.
Таблица 7
|
№ п/п |
Шероховатость |
Наибольший размер зерна, мм |
Условная толщина слоя, мм |
Масса (сухого слоя), кг/м2 |
|
1 |
Грубая |
5 |
5 |
10 |
|
2 |
Средняя |
3 |
3,5 |
7 |
|
3 |
Мелкая |
1 |
2 |
4 |
4.27. Для цветовой отделки рекомендуются известково-цементные или цементные краски, которые отличаются высокой атмосферостойкостью и представляют собой смесь белого портландцемента и извести со щелочестойкими пигментами и добавками хлористого кальция.
Могут быть применены также и другие долговечные и атмосферостойкие краски, перечень которых приведен в Приложении 3 СНиП 2.03.11-85, в том числе полимерцементные краски на основе поливинилацетатной дисперсии, алкидные, перхлорвиниловые и хлоркаучуковые эмали.
4.28. При отсутствии требований к получению особо гладкой поверхности краску наносят без какой-либо дополнительной обработки выполненной штукатурки с расходом ее около 0.9 кг/м2.
4.29. Для получения особо гладкой поверхности по грунту выполняют слой накрывки толщиной до 2 мм из мелкозернистого раствора (крупностью зерна до 1 мм). В этом варианте нет необходимости в тщательной затирке поверхности 2-го слоя штукатурки (грунта); она должна быть лишь ровной после ее выравнивания правилом. По накрывке наносится краска с расходом ее около 0,8 кг/м2.
4.30 Для тонкослойной штукатурки при устройстве защитного слоя на поверхность закрепленного утеплителя наносится полутерком клеевой состав типа Ceresit CT 190 (ТУ 5745-008-5823914.8-03), на котором фиксируется и втапливается полотно стеклосетки. Второе и последующие полотна стеклосетки устанавливаются с напуском 9 - 10 см на предыдущее. В местах примыкания защитного слоя к оконным и дверным блокам снимается фаска под углом 45°для уплотнительной ленты или герметизирующей мастики (допускается для уплотнения применять самоклеющиеся профили).
4.31. После технологического перерыва не менее 72 часов, необходимого для высыхания клеевого состава, на поверхность защитного слоя наносят грунтовку типа Ceresit CT 16 (ТУ 574-5-008-5823948-03).
4.32. До нанесения защитно-декоративного слоя необходимо выдержать технологический перерыв не менее 6 часов.
4.33. При тонкослойной штукатурке фасады отделывают устройством защитно-декоративного слоя. Основание под декоративную штукатурку или окраску должно соответствовать требованиям СНиП 3.04.01-87.
4.34. Для тонкослойной штукатурки используется сухая цементно-песчаная смесь типа Ceresit CT 68 (ТС-07-0823-03), Ceresit CT 35, Ceresit CT 36, Ceresit CT 137 (ТУ 5745-007-58239148-03), Ceresit CT 60, Ceresit CT 63, Ceresit CT 64, Ceresit CT 177 (ТУ 5745-010-58239148-2003), ГЛИМС 2000 или ГЛИМС Magnum (ТУ 5745-010-40397319-2003).
4.35. На заармированную стеклосеткой поверхность защитной штукатурки декоративная штукатурная смесь наносится теркой слоем, соответствующим размеру зерна минерального наполнителя.
4.36. Работы по нанесению декоративной штукатурной смеси следует выполнять при температуре воздуха от + 5 до + 30 °С (для цветных штукатурок от + 9 °С) и относительной влажности не более 80 %.
4.37. При устройстве защитной кирпичной стенки может применяться кирпич или камни керамические лицевые (ГОСТ 7484-78) или отборные стандартные (ГОСТ 530-95) предпочтительно полусухого прессования, а также силикатный кирпич (ГОСТ 379-95). При облицовке силикатным кирпичом цоколь, пояса, парапеты и карниз выполняют из керамического кирпича.
При новом строительстве защитная стенка из кирпича может выполняться на всю высоту здания. При этом она может быть самонесущей до высоты 6...7 м, а далее навесной с опиранием на пояса, выступающие из несущей стены через каждые 2 этажа (6...7 м) по высоте здания.
При реконструкции кирпичная защитная стенка обязательна в виде цоколя высотой не менее 2,5 м от планировочной отметки. По архитектурным соображениям она может быть выполнена самонесущей и большей высоты.
4.38. При защитной стенке из кирпича кладка ведется с обязательным заполнением раствором горизонтальных и вертикальных швов и расшивкой с фасадной стороны.
Шаг температурных швов в кирпичной облицовке принимается по СНиП II-22-81*, как для неотапливаемых зданий.
4.39. При облицовке кирпичной кладкой в новом строительстве последняя армируется с несущей частью стены сварными арматурными сетками, располагаемыми с шагом по высоте 600 мм; площадь поперечных стержней (связей) должна быть не менее 0,4 см2/м2 (глава СНиП II-22-81, п. 6.32).
При реконструкции кирпичная облицовка связывается с существующей кладкой с помощью кронштейнов, закрепленных на дюбелях. При этом рекомендуются дюбели типа Д1 В3-1 Ш (Бийского завода стеклопластиков), HPS-I фирмы «Хилти» или ДГ (табл. 8).
Таблица 8
|
Тип дюбелей |
Фирма-изготовитель |
Ø нар., мм |
Глубина заделки |
Расчетное выдергивающее усилие, кгс |
|
Комплект Д1 В3-1 Ш Ст. 5,5-L-1 |
Бийский завод стеклопластиков ТУ 2291-006-994511-99 |
8 |
45 |
30* |
|
HPS-I |
«Хилти» т. 792-52-52 |
6 8 |
40 50 |
25* 40* |
|
ДГ 3,7×40 ДГ 4,5×40 |
ТУ 14-4-1231-83 |
3,7 4,5 |
35 |
40** 25*** |
|
* В бетоне В ≥ 15, кладке из полнотелого керамического кирпича. В кладке из дырчатого кирпича или легкого бетона расчетное усилие уменьшается наполовину. ** В бетоне В ≥ 12,5. *** В кладке из полнотелого кирпича. |
||||
4.40. Парапеты, пояса, подоконники и т.п. должны иметь надежные сливы из оцинкованной стали, которые обеспечивают отвод атмосферной влаги и исключают возможность ее сбегания непосредственно по стене.
4.41. Все открытые поверхности стальных элементов, выходящих на фасад, и анкера, устанавливаемые в кладке, должны быть защищены от коррозии металлизацией слоем толщиной 120 мкм или лакокрасочными покрытиями (п. 2.40 - 2.45 СНиП 2.03.11-85).
4.42. Отделку цоколя рекомендуется выполнять из материалов повышенной прочности и декоративности, допускающих их очистку и мойку, например, из лицевого кирпича, плит из натурального или искусственного камня, керамической и стеклянной плитки и др.
Верхняя кромка этой защитно-декоративной отделки должна располагаться не ниже 2,5 м от уровня планировки.
Аналогичную отделку могут иметь углы стен, порталы дверей, арок, ворот, оконные наличники или отдельные участки глухих стен.
5.1. Каркасные конструкции стен могут быть выполнены послойной сборкой или из трехслойных панелей укрупнительной сборки.
5.2. В целях снижения трудоемкости производства работ сборку панелей с последующим их монтажом целесообразно производить на объекте строительства.
5.3. Панели имеют наружный каркас, выполненный из стальных швеллеров, к которому закреплены на заклепках профлист внутренней обшивки и внутренний каркас панели, а к нему профлист наружной обшивки.
5.4. Теплоизоляция выполняется из минераловатных плит марки «ТЕХНО БЛОК», «ТЕХНО ВЕНТ» или «ТЕХНО ВЕНТ+», по которым с наружной стороны размещается ветрозащитная пленка типа «TYVEK SOFT», а с внутренней стороны при необходимости слой пароизоляции.
5.5. Крепление панелей укрупнительной сборки к несущим конструкциям стального каркаса выполняется на высокопрочных болтах.
6.1. Стены с вентилируемой воздушной прослойкой включают несущую часть, выполненную из полнотелого керамического кирпича, бетонных блоков или из монолитного железобетона, металлический каркас, теплоизоляционный слой из минераловатных плит марки «ТЕХНО ВЕНТ» или «ТЕХНО ВЕНТ +», ветрозащитную пленку и защитный облицовочный экран.
6.2. Каркас состоит из кронштейнов, направляющих и кляммеров для закрепления облицовки.
6.3. Кронштейны и направляющие каркаса, а также кляммеры для крепления плит облицовки изготавливаются из оцинкованной стали. Толщина прижимов кляммеров должна составлять не менее 1 мм, ширина прижима - не менее 10 мм.
6.4. Кронштейн имеет подвижную вставку, позволяющую осуществлять регулировку установки направляющих в заданной плоскости. Длина подвижной вставки установлена исходя из толщины теплоизоляционного слоя от 55 до 200 мм.
6.5. Шаг кронштейнов по горизонтали рекомендуется принимать равным 600 мм, а по вертикали не менее 1400 мм.
6.6. Кронштейны крепятся к несущей части стены анкерными дюбелями, число которых определяется расчетом, исходя из величины ветровой нагрузки и веса облицовки с каркасом.
6.7. Стандартная длина направляющей составляет 3000 мм. Направляющие выполнены Т и Г-образного профиля и закрепляются к кронштейнам двумя вытяжными заклепками диаметром 3,2÷4,8 мм. При этом свободный конец направляющей от места закрепления к кронштейну не должен превышать 300 мм.
6.8. Стык направляющих по вертикали осуществляется с помощью вставок. При этом между направляющими предусматривается зазор в 8÷10 мм.
6.9. Минераловатные плиты теплоизоляции крепятся к несущей части стены тарельчатыми дюбелями. Схемы установки плит теплоизоляции, тарельчатых дюбелей и кляммеров представлены на стр. 181.
6.10. Во избежание продувания и увлажнения теплоизоляции из минераловатных плит поверх их закрепляется тарельчатыми дюбелями диффузионно-гидроизоляционная пленка типа «TYVEK SOFT» или другой подобный материал. Пленка должна устанавливаться в один слой с перехлестом смежных полотен в зоне стыков не более чем на 100÷150 мм.
6.11. При креплении облицовочных плит керамогранита кляммеры, располагаемые с шагом, соответствующим размеру облицовочных плит, крепят к направляющим на заклепках. При этом конструкция кляммера определяет величину горизонтального зазора между плитами облицовки, равную 4 мм. Вертикальный зазор между плитами также принимается равным 4 мм.
6.12. Решения стен с вентилируемой воздушной прослойкой разработаны на основе системы фирмы «КРАСПАН».
7.1. Несущая часть стен подвала может быть выполнена из кирпичной кладки, бетонных блоков или из монолитного железобетона.
7.2. Теплоизоляция стен подвала необходима только для «теплых» подвалов, в которых размещена нижняя разводка труб систем отопления, горячего водоснабжения, а также труб систем водоснабжения и канализации.
7.3. Теплоизоляция из плит «ТЕХНО ФАС» или «ТЕХНО ПЛАСТ» располагается по выравненной наружной поверхности стен подвала и наклеивается на нее клеевой смесью в соответствии с указаниями п. 4.4.
7.4. По теплоизоляционному слою выполняется оклеечная гидроизоляция из двух слоев битумно-полимерного рулонного материала. При этом первый слой закрепляют к несущей части стены подвала дюбелями, а второй наклеивают на него методом подплавления.
7.5. В уровне подошвы фундамента вертикальная гидроизоляция должна быть наплавлена на горизонтальную гидроизоляцию, а в уровне верха теплоизоляционного слоя - к несущей части стены подвала.
7.6. Защита тепло- гидроизоляционного слоя может быть выполнена стенкой из кирпичной кладки толщиной 120 мм.
8.1. Конструкции разработаны для совмещенных покрытий при сборных железобетонных плитах (или с монолитным железобетонным основанием) и при стальных профилированных настилах с утеплением из минераловатных плит и кровлями из рулонных материалов и из стальных профилированных листов.
8.2. В общем случае покрытие включает следующие конструктивные слои:
- несущее основание (железобетонное или из стальных оцинкованных профилированных настилов);
- пароизоляционный слой (по расчету): из битумных наплавляемых рулонных материалов марок: «БИКРОСТ» (ТУ 5774-042-00288739-99), «ЛИНОКРОМ» (ТУ 5774-002-13157915-98) и из битумно-полимерных наплавляемых рулонных материалов (см. п. 1.1) - по основанию из железобетона; из битумно-полимерных рулонных материалов с армирующей основой из полиэстра (см. п. 1.1) - по основанию из профилированных листов;
- теплоизоляцию из минераловатных плит «ТЕХНО РУФ», «ТЕХНО РУФ В» и «ТЕХНО РУФ Н» (ТУ 5762-015-17925162-2004) при рулонной кровлей из плит «ТЕХНО ЛАЙТ» (ТУ 5762-013-17925162-2003) при кровле из профилированных стальных листов марки НС 44-1000-07 (08) по ГОСТ 24045-94 или из гибкой черепицы «Шинглас» (ТУ 5774-036-17325162-2005) либо композитной черепицы «Luxard» (ТУ 1476-001-56852608-2005);
- цементно-песчаную стяжку из раствора с прочностью не менее 5 МПа или сборную стяжку из асбестоцементных плоских прессованных листов толщиной 10 мм (ГОСТ 18124-85) или из цементно-стружечных плит толщиной 10 мм (ГОСТ 26816-86) при кровле из рулонных материалов;
- кровлю из рулонных материалов (см. п. 1.1) или из стальных профилированных листов; кровельный ковер из полимерной пленки марки «Loqicroof» и из наплавляемого рулонного материала «ТЕХНОЭЛАСТ СОЛО» выполняют однослойным, а из других марок-двухслойным, причем для верхнего слоя применяют материалы с крупнозернистой посыпкой.
Примечание: по основанию из минераловатных плит применение наплавляемых рулонных материалов с армирующей основой из стеклохолста не допускается.
9.1. До начала изоляционных работ должны быть выполнены и приняты все строительно-монтажные работы на изолируемых участках, включая замоноличивание швов между плитами, устройство выравнивающей стяжки из раствора, установку и закрепление к плитам чаш водосточных воронок, компенсаторов деформационных швов, патрубков (или стаканов) для пропуска С.н.с.-ного оборудования и т.п. Кирпичные парапеты должны быть оштукатурены и иметь необходимые закладные детали.
9.2. Поверхности основания из сборных железобетонных плит или монолитного железобетона должны быть выровнены, а стыки между плитами зачеканены цементно-песчаным раствором марки не ниже 50 (ГОСТ 28031-98) или легким бетоном класса не ниже В7.5 (ГОСТ 25820-2000). Уклонообразующий слой рекомендуется выполнять из раствора или легкого бетона.
9.3. Теплоизоляционные плиты при укладке по толщине в 2 и более слоев следует располагать вразбежку с плотным прилеганием друг к другу. Нахлестки между слоями должны составлять 1/2 - 1/3 поверхности плит. Швы между плитами более 5 мм должны быть заполнены теплоизоляционным материалом.
9.4. Плиты закрепляют к несущему основанию механическим способом или точечно приклеивают к основанию и между собой (при толщине в два и более слоя) горячим битумом строительных марок с температурой нагрева не более 120 °С.
При наклейке плиты плотно прижимают друг к другу и к основанию. Точечная либо полосовая приклейка должна быть равномерной и составлять 25 - 35 % склеиваемых поверхностей.
9.5. При эксплуатируемой кровле по плитам теплоизоляции предусматривается выравнивающая цементно-песчаная стяжка, которая должна укладываться по разделительному слою, например из пергамина (ГОСТ 2697-83 изм. № 1) и выполняться из жесткого (с осадкой конуса до 30 мм) раствора марок 50 - 100. Толщину стяжки и ее армирование устанавливают расчетом. Затирку из раствора по железобетонному основанию предусматривают толщиной 10 - 15 мм.
9.6. В цементно-песчаной стяжке по несущим железобетонным плитам должны быть предусмотрены температурно-усадочные швы шириной 5 - 10 мм, разделяющие стяжку на участки не более 3×3 м, а при длине несущих плит 6 м швы располагают над торцевыми швами несущих плит.
9.7. Температурно-усадочные швы в монолитных выравнивающих стяжках рекомендуется выполнять путем прорезки механической пилой. Допускается образовывать их путем установки реек при укладке цементно-песчаного раствора, которые удаляют после твердения материала стяжки, а швы заполняют мастикой с последующей укладкой на шов полосок рулонного материала шириной 150 - 200 мм с наклейкой их по кромкам. Так же проклеивают стыки, образуемые листами сборной стяжки.
9.8. Для обеспечения необходимой адгезии рулонных пароизоляционных и кровельных материалов все поверхности основания из бетона, цементно-песчаного раствора или сборных стяжек должны быть огрунтованы холодными составами (праймерами).
9.9. Грунтовку наносят на выровненную сухую и обеспыленную поверхность при помощи окрасочного распылителя или вручную кистью. Грунтовка должна иметь прочное сцепление с основанием. На приложенном к ней после высыхания тампоне не должно оставаться следов цементного вяжущего или пыли.
9.10. Плоские асбестоцементные прессованные листы или цементно-стружечные плиты, используемые в качестве сборной стяжки, во избежание коробления, должны быть огрунтованы с обеих сторон.
Грунтовка наносится на поверхность листов с помощью малярного валика или кисти.
9.11 Кровля может быть выполнена двухслойной из рулонных наплавляемых битумно-полимерных материалов или однослойной из полимерных рулонных материалов.
9.12 При однослойной кровле из полимерной пленки, ее, как правило, укладывают насухо с механическим креплением или пригрузом; допускается частичная наклейка пленки по стяжке для обеспечения возможности выхода водяных паров в зоне парапетов, перепада высот и конька, при этом частичная (полосовая) приклейка производится вдоль уложенного по скату слоя рулонного материала; на вертикальной поверхности парапетов пленку наклеивают точечно; выход водяных паров обеспечивается через неприклеенные к основанию полосы водоизоляционного ковра.
При двухслойной кровле из наплавляемых битумно-полимерных рулонных материалов (с верхним слоем из материала с крупнозернистой посыпкой) эти материалы укладывают, как правило, путем сплошной приклейки к основанию под кровлю; допускается нижний слой ковра приклеивать частично (полосами) или крепить механическим способом. Для полосовой приклейки нижнего слоя ковра применяют материал марки «УНИФЛЕКС-ВЕНТ» (ТУ 5774-001-17925162-99).
9.14. На участках примыканий кровли к парапетам, деформационным швам и другим конструктивным элементам основанием под кровлю должны служить ровные поверхности конструкций и наклонные бортики высотой не менее 100 мм (под углом 45°) из теплоизоляционных материалов, применяемых для утепления покрытий, либо из цементно-песчаного раствора или легкого бетона.
Бортики из теплоизоляционных материалов должны быть приклеены к основанию под кровлю.
9.15. Изоляционные работы выполняют в соответствии с требованиями главы СНиП 3.04.01-87 «Изоляционные и отделочные работы», СНиП III-4-80* «Техника безопасности в строительстве», а также СО-002-02495342-2005 «Кровли зданий и сооружений. Проектирование и строительство», М., ОАО «ЦНИИПромзданий», 2005 г. и «Руководства по применению и устройству кровель из битумно-полимерных материалов кровельной компании «ТехноНИКОЛЬ», 2004 г.
9.16. Максимально допустимая площадь кровли из рулонных и мастичных материалов групп горючести Г-3 и Г-4 при общей толщине водоизоляционного ковра до 6 мм, не имеющей защиты слоем гравия, а также площадь участков, разделенных противопожарными поясами (стенами) не должна превышать значений, приведенных в таблице 9.
9.17. Противопожарные пояса должны быть выполнены как защитные слои эксплуатируемых кровель шириной не менее 6 м. Противопожарные пояса должны пересекать основание под кровлю (в том числе теплоизоляцию), выполненное из материалов групп горючести Г-3 и Г-4 на всю толщину этих материалов.
Таблица 9
|
Группа горючести (Г) и распространения пламени (РП) водоизоляционного ковра кровли, не ниже |
Группа горючести материала основания под кровлю |
Максимально допустимая площадь кровли без гравийного слоя или крупнозернистой посыпки, а также участков кровли, разделенных противопожарными поясами, м2 |
|
Г2; РП2 |
НГ;П |
Без ограничений |
|
Г3; РП2 |
НГ;П |
10000 |
|
Г3; РП3 |
НГ;П |
5200 |
|
ГД |
НГ;П |
3600 |
9.18. При реконструкции железобетонных покрытий дополнительная теплоизоляция устраивается по существующей рулонной кровле, отремонтированной в соответствии со СО-002-02495342-2005 «Кровли зданий и сооружений. Проектирование и строительство», М., ОАО «ЦНИИПромзданий», 2005 г., при этом особое внимание обращается на состояние примыкания кровли к деформационным швам, парапетам, вентшахтам, трубам. В зоне воронок внутреннего водостока полностью удаляются старая теплоизоляция и кровля. Воронки поднимаются на новый уровень; кровля в зоне примыкания к воронке должна быть понижена относительно прилегающих участков на 15...20 мм.
9.19. Над существующими в старой кровле разжелобками (ендовами) минераловатные плиты по разметке прорезают пилой, обеспечивая их плотное прилегание к основанию.
10.1. Покрытие включает следующие конструкционные слои:
- стальной профилированный настил;
- пароизоляционный слой (по расчету);
- теплоизоляцию из минераловатных плит;
- водоизоляционный ковер из рулонных материалов (см. п. 8.2).
10.2. В местах примыкания профнастила к стенкам парапетов, к деформационным швам, к водосточным воронкам, а также с каждой стороны конька и ендовы следует предусматривать заполнение пустот ребер настилов (со стороны теплоизоляции) на длину 250 мм заглушками из негорючих минераловатных материалов.
10.3. При устройстве пароизоляции поверхности стальных профилированных настилов должны быть очищены от пыли, строительного мусора и обезжирены растворителем, а полки настилов огрунтованы битумным праймером.
10.4. Теплоизоляционные минераловатные плиты могут закрепляться к профнастилу наклейкой или механически.
10.5. Точечная наклейка выполняется горячим битумом с температурой нагрева не более 120 °С. Наклейка должна быть равномерной и составлять 25 - 35 % площади наклеиваемых плит. Стыки плит должны располагаться на полках профнастила.
10.6. При механическом креплении теплоизоляционные минераловатные плиты крепежным элементом закрепляют к основанию вместе с полимерным рулонным материалом или с нижним слоем из наплавляемого рулонного кровельного материала и с пароизоляционным слоем. Количество креплений для различных участков покрытия должно устанавливаться расчетом в соответствии с требованиями СНиП 2.01.07-85 «Нагрузки и воздействия», но не менее чем одно крепление на плиту.
11.1. В качестве кровельных листов рекомендуется применять в "перевернутом положении" профили стальные гнутые с высотой гофра не менее 44 мм с цинковым, алюмоцинковым или алюминиевым покрытием и защитно-декоративным лакокрасочным покрытием.
11.2. Наиболее целесообразно кровлю из металлических профлистов применять в зданиях с длиной ската до 12 м.
При большей длине ската и уклоне кровли более 10 % профлист должен устанавливаться с величиной нахлестки вдоль ската не менее 200 мм и с обязательной герметизацией продольной нахлестки, а при уклонах менее 10 % - с величиной нахлестки не менее 300 мм и герметизацией мест продольной и поперечной нахлесток.
11.3. В утепленных покрытиях для разрыва "мостиков холода" между верхней полкой дистанционного прогона и профлистом должны быть установлены прокладки из бакелизированной фанеры толщиной 10 мм, окрашенные пентафталевыми или хлорвиниловыми эмалями за 2 раза. В качестве противоветрового барьера рекомендуется использовать рулонный водоизоляционный паропроницаемый материал типа "TYVEK SOFT".
11.4. Продольные и поперечные стыки профлиста при уклонах до 20 % рекомендуется загерметизировать тиоколовыми, силиконовыми или полиуретановыми герметиками.
11.5. Примыкание кровли из металлического профлиста к стенам следует осуществлять с устройством фартуков из оцинкованной стали толщиной 0,8 мм, окрашенной с обеих сторон. Крепление их выполняется на заклепках, а между собой одинарным лежачим фальцем. Коньковый и карнизный фасонные элементы, а также фартуки для отделки пропусков через кровлю должны иметь "гребенку" по форме поперечного сечения металлического профлиста.
11.6. При кровлях из стальных профилированных листов работы ведут в следующей последовательности:
- к прогонам покрытия несущий профилированный настил закрепляют самонарезающими винтами В6×25 (ТУ 36-2042-78), устанавливаемыми в каждый гофр (впадину) профиля к крайним и коньковым прогонам; на промежуточных опорах закрепление производят с шагом через гофр. Шаг прогонов 1,5 - 3,0 м.
- в продольном направлении соединение профнастилов между собой выполняют на заклепках 3К - 12 (ТУ 36-2088-78) с шагом 250 мм;
- перпендикулярно гофрам с нахлесткой полотнищ на 100 мм раскатывают полиэтиленовую пленку толщиной 0,2 мм (ГОСТ 10354-82*), заводя ее во второй и третий гофр каждого профлиста для установки опорных элементов с шагом 750 мм;
- опорные элементы закрепляют к прогонам двумя самонарезающими винтами в каждую "лапку";
- дистанционные прогоны закрепляют к опорным элементам через термовкладыш из бакелизированной фанеры двумя самонарезающими винтами;
- теплоизоляцию из плит или матов выполняют заподлицо с дистанционными прогонами с перевязкой стыков нижнего слоя верхними плитами;
- под опорные элементы и дистанционные прогоны укладывают доборные вкладыши из этих же плит;
- ветрозащиту из паропроницаемых материалов, например "TYVEK SOFT", выполняют так же с нахлесткой полотнищ не менее чем на 100 мм;
- профилированные листы кровли закрепляют к дистанционным прогонам самонарезающими винтами В6×80 с шайбой и уплотнителем из герметизирующей ленты в каждый гофр (гребень) на карнизных и коньковых прогонах; с шагом через гофр - на промежуточных прогонах;
- для увеличения жесткости продольных кромок кровельных профлистов на дистанционный прогон под накрываемый гофр листа устанавливается элемент жесткости;
- между собой в продольном направлении кровельные профлисты соединяют на заклепках после нанесения на накрываемую кромку силиконового, тиоколового или полиуретанового герметика. Отверстия в заклепках также промазывают герметиком. Перед нанесением герметизирующих мастик поверхности должны быть обеспылены и обезжирены бензином (ГОСТ 443-76* или ГОСТ 3134-78*).
12.1. Чердачные перекрытия разработаны железобетонными (из сборных плит или монолитного железобетона) и деревянными.
12.2. При перекрытии из железобетона в качестве теплоизоляционного слоя предусмотрено применение минераловатных плит «ТЕХНО ФЛОР» и «ТЕХНО ФЛОР+», которые размещаются по пароизоляционному слою из битумного или битумно-полимерного наплавляемого рулонного материала.
12.3. По поверхности минераловатных плит укладывают рулонный материал, например пергамин (ГОСТ 2697-83, изм. № 1).
12.4. По слою рулонного материала выполняют армированную цементно-песчаную стяжку из раствора марки 100 толщиной 40 мм.
12.5. В деревянном чердачном перекрытии минераловатные плиты «ТЕХНО ЛАЙТ» укладываются на слой пароизоляции из битумного, битумно-полимерного рулонного материала или из полиэтиленовой пленки.
12.6. По верху деревянных балок перекрытия раскладывают цементно-стружечные плиты толщиной 20 мм, которые закрепляют к балкам шурупами с шагом 300 мм.
13.1. Несущие конструкции мансард могут быть выполнены из дерева или стали марок С235, С245, С255, С345 по ГОСТ 27772-88*.
13.2. В поперечнике несущие конструкции мансард представляют собой раму. Шаг рам и сечения элементов определяются статическим расчетом.
13.3. Соединения металлоконструкций предусматриваются на сварке и монтажных болтах или на постоянных болтах.
13.4. Сечения узловых элементов и величина сварных швов определяются расчетом.
13.5. Деревянные несущие конструкции следует выполнять из пиломатериалов хвойных пород второго сорта по ГОСТ 8486-86*.
13.6. Для изготовления настилов и обрешетки применяется древесина 3 сорта, а для несущих элементов стропильной системы (стропильные ноги, ендов, мауэрлатов, прогонов, стоек, подкосов, связей) - древесина 2 сорта.
13.7. Соединения деревянных элементов несущих конструкций предусмотрены гвоздевыми с прямой расстановкой гвоздей или расположением их в шахматном порядке.
13.8. Для устройства деревянных несущих конструкций должны применяться элементы с глубокой антипиреновой пропиткой.
13.9. Огнезащитная облицовка стальных и деревянных несущих конструкций предусмотрена двумя слоями гипсокартонных листов марок ГКЛО и ГКЛВО (ГОСТ 6266-97), или гипсоволокнистых листов марок ГВЛ и ГВЛВ (ГОСТ Р 51829-2001). Под обшивкой предварительно закрепляют просечно-вытяжную сетку или стальные струны диаметром не менее 2,0 мм с шагом 250 ... 300 мм.
13.10. Устройство огнезащитной облицовки несущих стальных и деревянных конструкций следует выполнять в соответствии с указаниями СП 55-101-2000 и СП 55-102-2001.
13.11. Для теплоизоляции мансард предусматривают плиты марки «ТЕХНО ЛАЙТ», а для кровли - гибкую («ШИНГЛАС») или композитную («Luxard») черепицы.
13.12. Для естественного освещения мансардных помещений в ограждающие конструкции встраиваются мансардные окна.
13.13. В покрытии мансард между слоем теплоизоляции и кровлей должен быть предусмотрен вентиляционный зазор (канал) высотой не менее 50 мм, сообщающийся с наружным воздухом на карнизном и коньковом участках, а по теплоизоляции - противоветровой барьер из диффузионно-гидроизоляционной пленки (из водоизоляционного, но паропроницаемого материала) типа «Тайвек».
14.1. Полы на лагах с тепло- звукоизоляционным слоем из минераловатных плит могут выполняться по подстилающему бетонному слою (в полах по грунту) или по железобетонному перекрытию.
14.2. В качестве тепло- звукоизоляции должны использоваться минераловатные плиты марки «ТЕХНО ЛАЙТ», «ТЕХНО ФЛОР» или «ТЕХНО ФЛОР+», причем первые укладывают между лагами, остальные под цементно-песчаную стяжку.
14.3. В полах по грунту лаги опираются на кирпичные или бетонные столбики, установленные на бетонный подстилающий слой.
14.4. Минераловатные плиты должны, как правило, укладываться на слой гидроизоляции, выполненный из рулонного битумного или битумно-полимерного материала.
14.5. В полах по железобетонному перекрытию минераловатные плиты укладывают на предварительно выровненную поверхность перекрытия, а при необходимости на слой пароизоляции.
14.6. В полах, устраиваемых непосредственно по бетонному подстилающему слою или железобетонному перекрытию, в качестве тепло- звукоизоляционного слоя должны использоваться минераловатные плиты «ТЕХНО ФЛОР+».
14.7. По минераловатным плитам рекомендуется предусматривать сборную стяжку из спаренных гипсоволокнистых листов, по которой выполняется покрытие пола.
14.8. Необходимость устройства пароизоляции в каждом конкретном случае должна определяться расчетом сопротивления паропроницанию в соответствии с указаниями СНиП 23-02-2003 «Тепловая защита зданий».
15.1. Перегородки представляют собой конструкцию, включающую металлический или деревянный каркас, звукоизоляционный слой из минераловатных плит «ТЕХНО ЛАЙТ» и обшивку из гипсокартонных ГКЛ (ГОСТ 6266-97) или гипсоволокнистых листов ГВЛ (ГОСТ Р 51829-2001), закрепленных к каркасу на самонарезающих винтах.
15.2. В качестве металлического каркаса применяют оцинкованные профили (ТУ 1111-004-04001508-95) стандартной длины 2750, 3000, 4000 и 4500 мм. Металлический каркас состоит из стоечных профилей ПС 50/50, ПС 75/50 или ПС 100/50 и направляющих ПН 50/40, ПН 75/40 и ПН 100/40.
15.3. Стойки и направляющие деревянного каркаса выполняются из брусков сечением соответственно 60×50 и 60×40 мм, изготовленных из хвойных пород древесины не ниже 2 сорта по ГОСТ 8486-86. Бруски каркаса должны быть обработаны антипиренами и антисептиками в соответствии с требованиями СНиП 3.03.01-87. Влажность древесины не должна превышать 12±3%.
15.4. Крепление направляющих металлических профилей (ТУ 1111-004-04001508-95) и деревянных брусков каркасов к полу и потолку, а также стоек, примыкающих к стенам или колоннам, следует предусматривать с помощью дюбелей, располагаемых с шагом не более 1000 мм, но не менее 3 креплений на один профиль (брусок).
15.5. С целью повышения звукоизолирующей способности перегородок следует предусматривать применение уплотнительной ленты «Изофон» (ТУ 5763-031 -17925162-2004) между направляющим профилем каркаса и перекрытием, а также в местах сопряжения каркаса со стенами.
15.6. Стоечные профили (ПС) каркаса устанавливают между верхним и нижним направляющими профилями (ПН) с шагом 500 или 600 мм.
15.7. Крепление стоечного профиля к направляющему следует выполнять методом «просечки с отгибом», а деревянных стоек - гвоздями и винтами.
15.8. Для повышения звукоизоляционных характеристик пространство между листами обшивки заполняют изоляционными материалами. Горизонтальные стыки ГКЛ или ГВЛ располагают вразбежку.
15.9. Толщина звукоизоляционного слоя должна быть не менее половины расстояния между внутренними поверхностями листов обшивки.
15.10. Крепление каркаса к несущим конструкциям выполняют дюбелями, приведенными в табл. 10.
15.11. Крепление листов обшивки к каркасу перегородок осуществляется самонарезающими винтами, приведенными в табл. 11.
15.12. Швы между листами обшивки следует заделывать шпаклевочной смесью.
15.13. Выбор конструктивного решения перегородок в зависимости от высоты и требований звукоизоляции следует производить по таблицам на стр. 207, 209 и 223.
15.14. Перегородки с обшивками из листов ГКЛ и ГВЛ на металлическом каркасе с заполнением из минераловатных материалов группы горючести НГ (ГОСТ 30244-94) относятся к классу пожарной опасности К0. Область применения перегородок должна определяться с учетом требований СНиП 21-01-97 и нормативных документов на здания различного функционального назначения.
15.15. Монтаж перегородок следует выполнять с учетом указаний СП 55-101-2000 и СП 55-102-2001.
15.16. До начала монтажа перегородок все строительные работы, связанные с «мокрыми» процессами, должны быть закончены. Монтаж осуществляется до устройства чистого пола в условиях сухого или нормального температурно-влажностного режима.
Таблица 10
|
Наименование и тип винта (дюбеля) |
Изображение винта и дюбеля |
||
|
Для крепления ПС - профиля |
d = 6 мм, под винт Ø 3 - Д мм |
дюбель универсальный |
|
|
Для крепления ПН - профиля к несущим конструкциям (с пределом огнестойкости до 45 мин) |
d = 6 мм, длина 35, 40, 50, 70 мм; d = 8 мм, длина 80 мм; |
Дюбель анкерный пластмассовый |
|
|
Для крепления ПН - профиля к несущим конструкциям (с пределом огнестойкости свыше 45 мин) |
d = 6 мм, длина 49 мм; |
Дюбель анкерный металлический |
|
Таблица 11
|
Толщина слоя листов обшивки, мм |
Тип винта |
Изображение винта |
||||
|
для дерева |
для профиля толщиной, мм |
|||||
|
до 0,7 |
0,7-2,2 |
|||||
|
один |
до 10 |
MN30 |
MN30 |
ТВ25 |
Прокалывающий самонарезающий винт MN (соотв. ГОСТ 11652-80*] |
высверливающий самонарезающий винт ТВ (соотв. ГОСТ 10620-80*) |
|
12,5 |
MN45 |
MN30 |
ТВ25 |
|||
|
двойной |
10+10 |
MN30+MN45 |
MN35+MN45 |
ТВ25+ТВ35 |
|
|
|
12,5+12,5 |
MN45+MN45 |
MN30+MN45 |
ТВ25+ТВД5 |
|||

Экспликация материалов и деталей к узлам стен
|
№ поз. |
Наименование |
№ поз. |
Наименование |
|
1 |
Стена (несущая часть) |
11 |
Наружная штукатурка |
|
2 |
Междуэтажное перекрытие |
11а |
Грунтовка, сухая смесь |
|
3 |
Плита покрытия |
11б |
Нижний слой грунта, штукатурная цементно-песчаная смесь |
|
4 |
Теплоизоляция из минераловатных плит марки «ТЕХНО ПЛАСТ» |
11в |
Второй слой грунта, цементно-известково-песчаная штукатурная смесь |
|
5 |
Клеевой состав для приклейки плит теплоизоляции |
11г |
Поверхность увлажнить или огрунтовать |
|
6 |
Выравнивающая штукатурка сухая смесь |
11д |
Отделочный слой, смесь штукатурная декоративная |
|
7 |
Сварная оцинкованная металлическая сетка 20×20 Ø 1,0 ... 1,6 по ТУ 14-4-647-95 Солнечногорского завода металлических сеток «Лепсе»; или по ГОСТ 2715-75 |
12 |
Внутренняя штукатурка |
|
8 |
Два ряда металлической сетки |
13 |
Плитка облицовочная глазурованная |
|
9 |
Стык сеток внахлест 100 мм |
13а |
Выравнивающая цементно-песчаная штукатурная смесь |
|
10 |
Дополнительная сетка 250×400 на скрутках |
136 |
Клей для плитки облицовочной |
|
10а |
Z - образная сетка |
14 |
Дюбельный комплект |
|
106 |
Г- образная сетка |
15 |
Стеклопакет |
|
10в |
П - образная сетка |
16 |
Доска, пропитанная антипиреном |
|
|
|
16а |
Пластина 6×40 с болтом 0 10 и шагом 600 мм, но не менее 2 штук на проем |
|
|
|
17 |
Рейка 40×50, закрепленная к пробкам 50×60 шурупами. Пробки закреплены к стене дюбелями без шайбы |
|
№ поз. |
Наименование |
№ поз. |
Наименование |
|
18 |
Антисептированная доска |
39 |
Пена строительная |
|
19 |
Защитная стенка из кирпича |
40 |
Горизонтальный шов |
|
20 |
Прокладка уплотняющая типа Вилатерм - СМ Ø 30; 40 (трубчатая), ТУ-6-05-221-872-86 |
41 |
Вертикальный шов |
|
21 |
Слив С2 |
42 |
Дюбель HPS-I, "Хилти", Ø 6 или 8 |
|
22 |
Слив СД |
43 |
Дюбель из полиамида ТУ 36-941 -79 |
|
23 |
Слив С1 |
44 |
Шуруп ГОСТ 1144-80 |
|
24 |
Слив С3 |
45 |
Трубчатый уплотнитель из резины |
|
25 |
Антисептированный брус 140×140 мм |
46 |
Гвоздь Ø 6с шагом 600 мм, но не менее 2 шт. на проем |
|
26 |
Костыль К2 |
47 |
Окно деревянное |
|
27 |
Костыль К3 |
48 |
Рама и полотно распашных складчатых ворот серии 1.435-28 |
|
28 |
Вязальная проволока ГОСТ 3282-74 |
49 |
Костыль МС-1 с шагом 700 мм, см. в серии 1.435-28 |
|
29 |
Антисептированный брусок 100×40 |
50 |
Стальная планка для крепления рамы ворот, см. в серии 1.Д35-28 |
|
30 |
Кровельный ковер |
51 |
Подоконник по проекту |
|
31 |
Прокладка из рулонного битумного материала марки "БИКРОСТ" или "ЛИНОКРОМ" |
52 |
Капельник |
|
32 |
Теплоизоляция из плит марки "ТЕХНО РУФ Н" |
53 |
Отмостка по проекту |
|
33 |
Стропильная нога |
54 |
Гидроизоляция - цементно-песчаный раствор |
|
34 |
Кровля |
55 |
Гидроизоляция |
|
35 |
Подшивка карниза из доски 150×30 мм |
56 |
Антисептированная доска |
|
36 |
Мастика, см. п. 4.23 (пояснительная записка) |
57 |
Железобетонная перемычка над воротным проемом |
|
37 |
Прокладка уплотняющая из пенорезины сечением 8×8 мм по ТУ 38-406316-87 |
58 |
Стена подвала |
|
38 |
Прокладка уплотняющая типа Вилатерм - СМ Ø 30; 40, ТУ 6-05-221-872-86 |
59 |
Пол подвала или 1-го этажа: - линолеум; - стяжка из цементно-песчаного раствора М 50 - 30 мм; - минераловатная плита марки "ТЕХНО ФЛОР" или "ТЕХНО ФЛОР+"; - гидроизоляция; - бетонная подготовка марки В 7,5-80 мм. |
|
№ поз. |
Наименование |
№ поз. |
Наименование |
|
60 |
Щебень |
69 |
Прокладка уплотняющая |
|
61 |
Труба дренажная сечением 8×8 мм по ТУ 38-406316-87 |
70 |
Плита перекрытия |
|
62 |
Бортовой камень |
71 |
Пластина 6×40, заранее скрепленная с оконной рамой шурупами |
|
63 |
Перекрытие подвала |
72 |
Обрамляющий уголок 50×4 |
|
64 |
Крупный песок |
73 |
Полосу 4×40 крепить к стене дюбелями |
|
65 |
Термовставка из ячеистобетонных блоков по ГОСТ 21520-89 |
74 |
Мастика, см. п. 4.23 |
|
66 |
Фартук из оцинкованной кровельной стали |
75 |
Теплоизоляция из плит марки "ТЕХНО РУФ" или "ТЕХНО РУФ Н" |
|
67 |
Оконное стекло |
76 |
Выравнивающая стяжка |
|
68 |
Железобетонная надоконная перемычка |
|
|

1 -Стена [несущая часть]; 4-Теплоизоляция из минераловатных плит «ТЕХНО ПЛАСТ»; 7-Сварная оцинкованная металлическая сетка 20×20 Ø 1,0 ... 1,6 по ТУ 14-4-647-95 Солнечногорского завода металлических сеток «Лепсе»; или по ГОСТ 2715-75; 9 - Выравнивающая штукатурка, сухая смесь; 11а - Грунтовка, сухая смесь; 116 - Нижний слой грунта, штукатурная цементно-песчаная смесь; 11 в - Второй слой грунта, цементно-известково-песчаная штукатурная смесь; 11г - Поверхность увлажнить или огрунтовать; 11д- Отделочный слой, смесь штукатурная декоративная; 13 - Плитка облицовочная глазурованная.
СХЕМА №2.
Расположение анкеров в углах, температурных швах и у проемов

14 - Дюбельный комплект; 40 - Горизонтальный шов; 41 - Вертикальный шов.
СХЕМА № 3.

* - размер по проекту
11 - Наружная штукатурка.


1 - Стена (несущая часть); 4 - Теплоизоляция из минераловатных плит марки «ТЕХНО ПЛАСТ»; 5 - Клеевой состав для приклейки плит теплоизоляции; 6 - Выравнивающая штукатурка, сухая смесь; 7 - Сварная оцинкованная металлическая сетка 20×20 Ø 1,0 ... 1,6 по ТУ 14-4-647-95 Солнечногорского завода металлических сеток «Лепсе»; или по ГОСТ 2715-75; 8- Два ряда металлической сетки; 10 - Дополнительная сетка 250×400 на скрутках; 11а - Грунтовка, сухая смесь; 116 - Нижний слой грунта, штукатурная цементно-песчаная смесь; 11в - Второй слой грунта, цементно-известково-песчаная штукатурная смесь; 11г - Поверхность увлажнить или огрунтовать; 11д - Отделочный слой, смесь штукатурная декоративная; 13 - Плитка облицовочная глазурованная; 13а - Выравнивающая цементно-песчаная штукатурная смесь; 13б - Клей для плитки облицовочной; 14 - Дюбельный комплект.


1 - Стена (несущая часть); 2 - Междуэтажное перекрытие; 4 - Теплоизоляция из минераловатных плит марки «ТЕХНО ПЛАСТ»; 5 - Клеевой состав для приклейки плит теплоизоляции; 6 - Выравнивающая штукатурка, сухая смесь; 7 - Сварная оцинкованная металлическая сетка 20×20 Ø 1,0 ... 1,6 по ТУ 14-4-647-95 Солнечногорского завода металлических сеток «Лепсе»; или по ГОСТ 2715-75; 9 - Стык сеток внахлест 100 мм; 11 - Наружная штукатурка; 14 - Дюбельный комплект.


1 - Стена (несущая часть); 4 - Теплоизоляция из минераловатных плит марки «ТЕХНО ПЛАСТ»; 5 - Клеевой состав для приклейки плит теплоизоляции; 6 - Выравнивающая штукатурка, сухая смесь; 7 - Сварная оцинкованная металлическая сетка 20×20 Ø 1,0 ... 1,6 по ТУ 14-4-647-95 Солнечногорского завода металлических сеток «Лепсе»; или по ГОСТ 2715-75; 106 - Г-образная сетка; 11 - Наружная штукатурка; 14 - Дюбельный комплект; 28 - Вязальная проволока ГОСТ 3282-74.


1 - Стена (несущая часть); 4- Теплоизоляция из минераловатных плит марки «ТЕХНО ПЛАСТ»; 5 - Клеевой состав для приклейки плит теплоизоляции; 6 - Выравнивающая штукатурка, сухая смесь; 7 - Сварная оцинкованная металлическая сетка 20×20 Ø 1,0 ... 1,6 по ТУ 14-4-647-95 Солнечногорского завода металлических сеток«Лепсе»; или по ГОСТ 2715-75; 9 - Стык сеток внахлест 100 мм; 11 - Наружная штукатурка; 20 - Прокладка уплотняющая типа Вилатерм-СМ Ø 30; 40 (трубчатая), ТУ 6-05-221-872-86.


1 - Стена (несущая часть); 4 - Теплоизоляция из минераловатных плит марки «ТЕХНО ПЛАСТ»; 7 - Сварная оцинкованная металлическая сетка 20×20 Ø 1,0 ... 1,6 по ТУ 14-4-647-95 Солнечногорского завода металлических сеток «Лепсе»; или по ГОСТ 2715-75; 11 - Наружная штукатурка; 14 - Дюбельный комплект; 36 - Мастика, см. п. 4.23; 37 - Прокладка уплотняющая из пенорезины сечением 8×8 мм по ТУ 38-406316-87; 40 - Горизонтальный шов.


1 - Стена (несущая часть); 7-Сварная; 10а - Z-образная сетка; 10б - Г-образная сетка; 11 - Наружная штукатурка; 13 - Плитка облицовочная глазурованная; 14 - Дюбельный комплект; 24 - Слив С3; 28 - Вязальная проволока ГОСТ 3282-74; 36 - Мастика, см. п. 4.23; 52 - Капельник; 54 - Гидроизоляция - цементно-песчаный раствор; 58 - Стена подвала.
Вариант с поверхностным сбросом дождевой воды без утепления подземной части стен подвала

11 - Наружная штукатурка; 13 - Плитка облицовочная глазурованная; 19 - Защитная стенка из кирпича; 53 - Отмостка по проекту; 54- Гидроизоляция-цементно-песчаный раствор; 55 - Гидроизоляция; 58 - Стена подвала; 59 - Пол подвала или 1-го этажа: - линолеум; - стяжка из цементно-песчаного раствора М 50 -30 мм; - минераловатная плита марки «ТЕХНО ФЛОР» или «ТЕХНО ФЛОР+»; - гидроизоляция; - бетонная подготовка марки В7,5-80 мм; 63 - Перекрытие подвала.

5 - Клеевой состав для приклейки плит теплоизоляции; 6 - Выравнивающая штукатурка, сухая смесь; 7 - Сварная оцинкованная металлическая сетка 20×20 Ø 1,0 ... 1,6 по ТУ 14-4-647-95 Солнечногорского завода металлических сеток «Лепсе»; 11 - Наружная штукатурка; 13 - Плитка облицовочная глазурованная; 19 - Защитная стенка из кирпича; 54- Гидроизоляция-цементно-песчаный раствор; 55 - Гидроизоляция; 58- Стена подвала; 59 - Пол подвала или 1-го этажа:
- линолеум; - стяжка из цементно-песчаного раствора М 50 - 30 мм; - минераловатная плита марки «ТЕХНО ФЛОР» или «ТЕХНО ФЛОР+»; - гидроизоляция;
- бетонная подготовка марки В7,5 - 80 мм; 63 - Перекрытие подвала; 60 - Щебень; 61 - Труба дренажная; 62 - Бортовой камень; 63 - Перекрытие подвала; 64 - Крупный песок.

1 - Стена (несущая часть); 3 - Плита покрытия; 4 - Теплоизоляция из минераловатных плит марки «ТЕХНО ПЛАСТ»; 5 - Клеевой состав для приклейки плит теплоизоляции; 6 - Выравнивающая штукатурка, сухая смесь; 7 - Сварная оцинкованная металлическая сетка 20×20 Ø 1,0 ... 1,6 по ТУ 14-4-647-95 Солнечногорского завода металлических сеток«Лепсе»; или по ГОСТ 2715-75; 10а - Z-образная сетка; 11 - Наружная штукатурка; 14- Дюбельный комплект; 18- Антисептированная доска; 22 - Слив С4; 25 - Антисептированный брус 140×140 мм; 27 - Костыль К3; 28- Вязальная проволока ГОСТ 3282-74; 29 - Антисептированный брусок 100×40; 30 - Кровельный ковер; 31 - Прокладка из рулонного битумного материала марки «БИКРОСТ» или «ЛИНОКРОМ»; 36 - Мастика, см. п. 4.23; 44 - Шуруп ГОСТ 1144-80; 65 - Термовставка из ячеистобетонных блоков по ГОСТ 21520-89; 66 - Фартук из оцинкованной кровельной стали; 75 - Теплоизоляция из плит марки «ТЕХНО РУФ» или «ТЕХНО РУФ Н»; 76 - Выравнивающая стяжка.

1 - Стена (несущая часть); 4 - Теплоизоляция из минераловатных плит марки «ТЕХНО ПЛАСТ»; 5 - Клеевой состав для приклейки плит теплоизоляции; 6 - Выравнивающая штукатурка, сухая смесь; 7 - Сварная оцинкованная металлическая сетка 20×20 Ø 1,0 ... 1,6 по ТУ 14-4-647-95 Солнечногорского завода металлических сеток«Лепсе»; или по ГОСТ 2715-75; 10а - Z- образная сетка; 11 - Наружная штукатурка; 14 - Дюбельный комплект; 28 - Вязальная проволока ГОСТ3282-74;32-Теплоизоляция из плит марки «ТЕХНО РУФ Н»;33- Стропильная нога; 34- Кровля; 35 - Подшивка карниза из доски 150×30 мм; 36- Мастика, см. п. 4.23; 65 - Термовставка из ячеистобетонных блоков по ГОСТ 21520-89; 70 - Плита перекрытия.


* - размер по проекту
4 - Теплоизоляция из минераловатных плит марки «ТЕХНО ПЛАСТ»; 5 - Клеевой состав для приклейки плит теплоизоляции; 6 - Выравнивающая штукатурка, сухая смесь; 7- Сварная оцинкованная металлическая сетка 20×20 Ø 1,0 ... 1,6 по ТУ 14-4-647-95 Солнечногорского завода металлических сеток «Лепсе»; или по ГОСТ 2715-75; 10 в - П - образная сетка; 11 - Наружная штукатурка; 12 - Внутренняя штукатурка; 14 - Дюбельный комплект; 25 - Антисептированный брус 140×140 мм; 28- Вязальная проволока ГОСТ 3282-74; 36 - Мастика, см. п. 4.23; 39 - Пена строительная; 42 - Дюбель HPS-I, «Хилти», Ø 6 или 8; 46 - Гвоздь Ø 6 с шагом 600 мм, но не менее 2 шт. на проем; 71 - Пластина 6×40, заранее скрепленная с оконной рамой шурупами.


1 - Стена (несущая часть); 4 - Теплоизоляция из минераловатных плит марки «ТЕХНО ПЛАСТ»; 5 - Клеевой состав для приклейки плит теплоизоляции; 6 - Выравнивающая штукатурка, сухая смесь; 7 - Сварная оцинкованная металлическая сетка 20×20 Ø 1,0 ... 1,6 по ТУ 14-4-647-95 Солнечногорского завода металлических сеток «Лепсе»; или по ГОСТ 2715-75; 10 в - П - образная сетка; 11 - Наружная штукатурка; 12 - Внутренняя штукатурка; 14 – Дюбельный комплект; 15 - Стеклопакет; 16 - Доска, пропитанная антипиреном; 16а - Пластина 6×40 с болтом 0 10 и шагом 600 мм, но не менее 2 штук на проем; 23 - Слив С1; 26 - Костыль К2; 28 - Вязальная проволока ГОСТ 3282-74; 36 - Мастика, см. п. 4.23; 39 - Пена строительная; 42 - Дюбель HPS-I, «Хилти», Ø 6 или 8; 43 - Дюбель из полиамида ТУ 36-941 -79; 44 - Шуруп ГОСТ 1144-80; 46 - Гвоздь Ø 6 с шагом 600 мм, но не менее 2 шт. на проем; 47- Окно деревянное; 51 - Подоконник по проекту; 67 - Оконное стекло; 68 - Железобетонная надоконная перемычка; 69 - Прокладка уплотняющая.

4 -Теплоизоляция из минераловатных плит марки «ТЕХНО ПЛАСТ»; 11 - Наружная штукатурка; 14 - Дюбельный комплект; 38 - Прокладка уплотняющая типа Вилатерм-СМ Ø 30; 40, ТУ 6-05-221-872-86; 48 - Рама и полотно распашных складчатых ворот серии 1.435-28; 72 - Обрамляющий уголок 50×4; 73 - Полосу 4×40 крепить к стене дюбелями.

4 - 1еплоизоляция из минераловатных плит марки «ТЕХНО ПЛАСТ»; 7 - Сварная оцинкованная металлическая сетка 20×20 Ø 1,0 ... 1,6 по ТУ 14-4-647-95 Солнечногорского завода металлических сеток«Лепсе»; или по ГОСТ 2715-75; 106 - Г-образная сетка; 11 - Наружная штукатурка; 14 - Дюбельный комплект; 17 - Рейка 40×50, закрепленная к пробкам 50×60 шурупами. Пробки закреплены к стене дюбелями без шайбы; 20 - Прокладка уплотняющая типа Вилатерм-СМ Ø 30; 40 (трубчатая), ТУ 6-05-221-872-86; 21 - Слив С2; 28 - Вязальная проволока ГОСТ 3282-74; 36 - Мастика, см. п. 4.23; 37 - Прокладка уплотняющая из пенорезины сечением 8×8 мм по ТУ 38-406316-87; 38- Прокладка уплотняющая типа Вилатерм-СМ Ø 30; 40, ТУ 6-05-221-872-86; 45 - Трубчатый уплотнитель из резины; 48 - Рама и полотно распашных складчатых ворот серии 1.435-28; 49 - Костыль МС-1 с шагом 700 мм, см. в серии 1.435-28; 50 - Стальная планка для крепления рамы ворот, см. в серии 1.435-28; 56 - Антисептированная доска; 57 - Железобетонная перемычка над воротным проемом; 74 - Мастика, см. п. 4.23.

Экспликация материалов и деталей к узлам стен
|
№ поз. |
Наименование |
№ поз. |
Наименование |
|
1 |
Стена (несущая часть) |
13 |
Рейка 40×50, закрепленная к пробкам 50×60 шурупами. Пробки закреплены к стене дюбелями без шайбы |
|
2 |
Грунтовка типа Ceresit CT 16, Ceresit CT 17 (ТУ 5745-008-58239148-03) |
14 |
Слив С1 |
|
3 |
Междуэтажное перекрытие |
15 |
Слив С2 |
|
4 |
Плита покрытия |
16 |
Слив С4 |
|
5 |
Клеевой состав для приклейки плит теплоизоляции и устройства базового защитного слоя, сухая смесь типа Ceresit CT 190 (ТУ 5745-008-58239148-03) |
17 |
Костыль К3 |
|
6 |
Декоративная штукатурка, сухая смесь типа Ceresit CT68 (ТС-07-0823-03), Ceresit CT 35, Ceresit CT 36, Ceresit CT 137 (ТУ 5745-007-58239148-03), Ceresit CT 60, Ceresit CT 63, Ceresit CT 64, Ceresit CT 177 (ТУ 5745-010-5823948-2003), Глимс 2000, Глимс Magnum (ТУ 5745-010-40397319-2003) |
18 |
Мастика, см. п. 4.23. |
|
6а |
Грунтовки типа Ceresit CT 16 (ТУ 5745-008-58239148-03) |
19 |
Прокладка уплотняющая из пенорезины сечением 8×8 мм по ТУ 38-406316-87 |
|
7 |
Армирующая сетка типа Строби ССКО 5×5 (ТУ 6-48-00204961-98)(ТС-07-076-03/2) |
20 |
Прокладка пенополиэтиленовая уплотняющая марки Вилатерм-СМ Ø 30; 40 (трубчатая), ТУ 6-05-221-872-86 |
|
8 |
Дюбель из полиамида или полиэтилена EJOT (ТС-07-1051-05) |
21 |
Пена строительная |
|
9 |
Теплоизоляция из минераловатных плит ТЕХНО ФАС |
22 |
Компенсатор |
|
10 |
Доска, пропитанная антипиреном; пластина 6×40 с болтом Ø 10 и шагом 600 мм, но не менее 2 штук на проем |
23 |
Плитка облицовочная |
|
11 |
Стык сеток внахлест 100 мм |
24 |
Клей для плитки облицовочной |
|
12 |
Усиливающий уголок со стеклосеткой |
25 |
Цокольная плита (цементно-волокнистая) |
|
№ поз. |
Наименование |
№ поз. |
Наименование |
|
26 |
Уплотнительная лента |
44 |
Железобетонная перемычка |
|
27 |
Опорный профиль |
45 |
Окно деревянное |
|
28 |
Отмостка по проекту |
46 |
Шуруп ГОСТ 1144-80 |
|
29 |
Гидроизоляция - цементно-песчаный раствор |
47 |
Дюбель из полиамида (ТУ 36-941-79) |
|
30 |
Обмазочная гидроизоляция 2 слоя |
48 |
Подоконник по проекту |
|
31 |
Стены подвала |
49 |
Прокладка уплотнительная |
|
32 |
Пол подвала или 1-го этажа: - линолеум; - стяжка из цементно-песчаного раствора М50-30мм; - плита теплоизоляции марки «ТЕХНО ФЛОР» или «ТЕХНО ФЛОР+»; - гидроизоляция; - бетонная подготовка марки В7,5-80 мм. |
50 |
Рама и полотно распашных складчатых ворот серии 1.435-28 |
|
33 |
Перекрытие подвала |
51 |
Костыль МС-1 с шагом 700 мм, см. в серии 1.435-28 |
|
34 |
Защитная стенка из кирпича |
52 |
Стальная планка для крепления рамы ворот, см. в серии 1.435-28 |
|
35 |
Щебень |
53 |
Наличник деревянный |
|
36 |
Труба дренажная |
54 |
Обрамляющий уголок 50×4 |
|
37 |
Бортовой камень |
55 |
Полосу 4×40 крепить к стене дюбелями |
|
38 |
Крупный песок |
56 |
Антисептированная доска |
|
39 |
Термовставка из ячеистобетонных блоков по ГОСТ 21520-89 |
57 |
Костыль К2 |
|
40 |
Фартук из оцинкованной стали |
58 |
Теплоизоляция покрытия |
|
41 |
Гвоздь 0 6 через деревянную прокладку с шагом 600 мм, но не менее 2 шт. на проем |
59 |
Кровля |
|
42 |
Дюбель HPS-I, «Хилти», 0 6 или 8 |
60 |
Трубчатый уплотнитель из резины |
|
43 |
Пластина 6×40, заранее скрепленная с окном шурупами |
|
|
СХЕМА №3

* - размер по проекту
6 - Декоративная штукатурка, сухая смесь типа Ceresit CT68 (TC-07-0823-03), Ceresit CT35, Ceresit CT36, Ceresit CT 137 (ТУ 5745-007-58239148-03), Ceresit CT 60, Ceresit CT 63, Ceresit CT 64, Ceresit CT 177 (ТУ 5745-010-58239148-2003), Глимс 2000, Глимс Magnum (ТУ 5745-010-40397319-2003).


1 - Стена (несущая часть); 3 - Междуэтажное перекрытие; 5 - Клеевой состав для приклейки плит теплоизоляции и устройства базового защитного слоя, сухая смесь типа Ceresit СТ 190 (ТУ 5745-008-58239148-03); 6 - Декоративная штукатурка, сухая смесь типа Ceresit CT68 (ТС-07-0823-03), Ceresit CT 35, Ceresit CT36, Ceresit CT 137 (ТУ 5745-007-58239148-03), Ceresit CT 60, Ceresit CT 63, Ceresit CT 64, Ceresit CT 177 (ТУ 5745-010-58239148-2003), Глимс 2000, Глимс Magnum (ТУ 5745-010-40397319-2003); 7- Грунтовки типа Ceresit СТ 16 (ТУ 5745-008-58239148-03); 8 - Дюбель из полиамида или полиэтилена EJOT (ТС-07-1051-05); 9 - Теплоизоляция из минераловатных плит ТЕХНО ФАС.

1 - Стена (несущая часть); 2 - Грунтовка типа Ceresit CT 16, Ceresit CT 17 (ТУ 5745-008-58239148-03); 5 - Клеевой состав для приклейки плит теплоизоляции и устройства базового защитного слоя, сухая смесь типа Ceresit CT 190 (ТУ 5745-008-58239148-03); 6 - Декоративная штукатурка, сухая смесь типа Ceresit CT68 (ТС-07-0823-03), Ceresit CT 35, Ceresit CT 36, Ceresit CT 137 (ТУ 5745-007-58239148-03), Ceresit CT 60, Ceresit CT 63, Ceresit CT 64, Ceresit CT 177 (ТУ 5745-010-58239148-2003), Глимс 2000, Глимс Magnum (ТУ 5745-010-40397319-2003); 7 -Армирующая сетка типа Строби ССКО 5×5 (ТУ 6-48-00204961 -98) (ТС-07-076-03/2); 8-Дюбельиз полиамида или полиэтилена EJOT (ТС-07-1051-05); 9-Теплоизоляция из минераловатных плит ТЕХНО ФАС.

1 - Стена (несущая часть); 5 - Клеевой состав для приклейки плит теплоизоляции и устройства базового защитного слоя, сухая смесь типа CeresitCT 190 (ТУ 5745-008-58239148-03); 6 - Декоративная штукатурка, сухая смесь типа Ceresit CT68 ITC-07-0823-03), Ceresit CT 35, Ceresit CT 36, Ceresit CT 137 (ТУ 5745-007-58239148-03), Ceresit CT 60, Ceresit CT 63, Ceresit CT 64, Ceresit CT 177 (ТУ 5745-010-58239148-2003), Глимс 2000, Глимс Magnum (ТУ 5745-010-40397319-2003); 7-Армирующая сетка типа Строби ССКО 5×5 (ТУ 6-48-00204961-98) (ТС-07-076-03/2); 9 - Теплоизоляция из минераловатных плит ТЕХНО ФАС; 22 - Компенсатор.
Вариант с поверхностным сбросом дождевой воды

5 - Клеевой состав для приклейки плит теплоизоляции и устройства базового защитного слоя, сухая смесьтипа Ceresit CT 190 (ТУ 5745-008-58239148-03); 6 - Декоративная штукатурка, сухая смесь типа Ceresit CT68 (ТС-07-0823-03), Ceresit CT 35, Ceresit CT 36, Ceresit CT 137 (ТУ 5745-007-58239148-03), Ceresit CT 60, Ceresit CT 63, Ceresit CT 64, Ceresit CT 177 (ТУ 5745-010-58239148-2003), Глимс 2000, Глимс Magnum (ТУ 5745-010-40397319-2003); 9 - Теплоизоляция из минераловатных плит ТЕХНО ФАС; 29 - Гидроизоляция - цементно-песчаный раствор; 30 - Обмазочная гидроизоляция 2 слоя; 31 - Стены подвала; 32 - Пол подвала или 1-го этажа: - линолеум; - стяжка из цементно-песчаного раствора М50-30 мм; - плита теплоизоляции марки «ТЕХНО ФЛОР» или «ТЕХНО ФЛОР+»; - гидроизоляция; - бетонная подготовка марки В7,5-80 мм.; 33 - Перекрытие подвала; 34 - Защитная стенка из кирпича.


1 - Стена (несущая часть); 6 -Декоративная штукатурка, сухая смесьтипа Ceresit CT68 ITC-07-0823-03), CeresitCT35, Ceresit CT36, Ceresit CT 137 (ТУ 5745-007-58239148-03), Ceresit CT 60, Ceresit CT 63, Ceresit CT 64, Ceresit CT 177 (ТУ 5745-010-58239148-2003), Глимс 2000, Глимс Magnum (ТУ 5745-010-40397319-2003); 7-Армирующая сетка типа Строби ССКО 5×5 (ТУ 6-48-00204961-98) (ТС-07-076-03/2); 8 - Дюбель из полиамида или полиэтилена EJOT (ТС-07-1051-05); 9 - Теплоизоляция из минераловатных плит ТЕХНО ФАС; 11 - Стык сеток внахлест 100 мм; 23 - Плитка облицовочная; 24 - Клей для плитки облицовочной; 25 - Цокольная плита (цементно-волокнистая); 27 - Опорный профиль; 29 - Гидроизоляция - цементно-песчаный раствор; 31 - Стены подвала.

1 - Стена (несущая часть); 4 - Плита покрытия; 5 - Клеевой состав для приклейки плит теплоизоляции и устройства базового защитного слоя, сухая смесь типа Ceresit СТ 190 (ТУ 5745-008-58239148-03); 6 - Декоративная штукатурка, сухая смесьтипа Ceresit CT68 (ТС-07-0823-03), Ceresit CT 35, Ceresit CT 36, Ceresit СТ 137 (ТУ 5745-007-58239148-03), Ceresit СТ 60, Ceresit СТ 63, Ceresit СТ 64, Ceresit СТ 177 (ТУ 5745-010-58239148-2003), Глимс 2000, Глимс Magnum (ТУ 5745-010-40397319-2003); 7 - Армирующая сетка типа Строби ССКО 5×5 (ТУ 6-48-00204961-98) (ТС-07-076-03/2); 8 - Дюбель из полиамида или полиэтилена EJOT (ТС-07-1051-05); 9 - Теплоизоляция из минераловатных плит ТЕХНО ФАС; 16 - Слив С4; 17 - Костыль К3; 18 - Мастика, см. п. 4.23.; 39 - Термовставка из ячеистобетонных блоков по ГОСТ 21520-89; 40 - Фартук из оцинкованной стали.

1 - Стена (несущая часть); 5 - Клеевой состав для приклейки плит теплоизоляции и устройства базового защитного слоя, сухая смесь типа Ceresit CT 190 (ТУ 5745-008-58239148-03); 6 -Декоративная штукатурка, сухая смесь типа Ceresit CT68 (ТС-07-0823-03), Ceresit CT35, Ceresit CT 36, Ceresit CT 137 (ТУ 5745-007-58239148-03), Ceresit CT 60, Ceresit CT 63, Ceresit CT 64, Ceresit CT 177 (ТУ 5745-010-58239148-2003), Глимс 2000, Глимс Magnum (ТУ 5745-010-40397319-2003); 7 - Армирующая сетка типа Строби ССКО 5×5 (ТУ 6-48-00204961-98) (ТС-07-076-03/2); 9 - Теплоизоляция из минераловатных плит ТЕХНО ФАС; 21 - Пена строительная; 27 - Опорный профиль; 39 - Термовставка из ячеистобетонных блоков по ГОСТ 21520-89.

5 - Клеевой состав для приклейки плит тепло изоляции и устройства базового защитного слоя, сухая смесь типа Сеresit CT 190 (ТУ 5745-008-58239148-03); 6 - Декоративная штукатурка, сухая смесь типа Ceresit CT68 (ТС-07-0823-03), Ceresit CT 35, Ceresit CT 36, Ceresit CT 137 (ТУ 5745-007-58239148-03), Ceresit СТ 60, Ceresit CT 63, Ceresit CT 64, Ceresit CT 177 (ТУ 5745-010-58239148-2003), Глимс 2000, Глимс Magnum (ТУ 5745-010-40397319-2003); 7 - Армирующая сетка типа Строби ССКО 5×5 (ТУ 6-48-00204961-98) (ТС-07-076-03/2); 9 - Теплоизоляция из минераловатных плит ТЕХНО ФАС; 12 - Усиливающий уголок со стеклосеткой; 18 - Мастика, см. п. 4.23.; 21 - Пена строительная; 41 - Гвоздь Ø 6 через деревянную прокладку с шагом 600 мм, но не менее 2 шт. на проем; 42 - Дюбель HPS-I, «Хилти», Ø 6 или 8; 43 - Пластина 6×40, заранее скрепленная с окном шурупами.

1 - Стена (несущая часть); 4 - плита покрытия; 5э - ключевой состав для приклейки плит теплоизоляции и устройства базового защитного слоя, сухая смесь типа Ceresit СТ 190 (ТУ 5745-008-58239148-03); 6 - Декоративная штукатурка, сухая смесь типа Ceresit CT68 (ТС-07-0823-03), Ceresit CT 35, Ceresit CT 36, Ceresit CT 137 (ТУ 5745-007-58239148-03), Ceresit CT 60, Ceresit CT 63, Ceresit CT 64, Ceresit CT 177 (ТУ 5745-010-58239148-2003), Глимс 2000, Глимс Magnum (ТУ 5745-010-40397319-2003); 7-Армирующая сетка типа Строби ССКО 5×5 (ТУ 6-48-00204961-98) (ТС-07-076-03/2); 8 - Дюбель из полиамида или полиэтилена EJOT (ТС-07-1051-05); 9 - Теплоизоляция из ми нерало ватных плит ТЕХНО ФАС; 10 - Доска, пропитанная антипиреном; пластина 6×40 с болтом Ø 10 и шагом 600 мм, но не менее 2 штук на проем; 12 - Усиливающий уголок со стеклосеткой; 14 - Слив С1; 18 - Мастика, см. п. 4.23.; 41 - Гвоздь Ø 6 через деревянную прокладку с шагом 600 мм, но не менее 2 шт. на проем; 42 - Дюбель HPS-I, «Хилти», Ø 6 или 8; 43 - Пластина 6×x40, заранее скрепленная с окном шурупами; 44 - Железобетонная перемычка; 45 - Окно деревянное; 46 - Шуруп ГОСТ 1144-80; 47 - Дюбель из полиамида (ТУ 36-941-79); 48 - Подоконник по проекту; 49 - Прокладка уплотнительная; 57 - Костыль К2.

6- Декоративная штукатурка, сухая смесь типа Ceresit CT68 (TC-07-0823-03), Ceresit CT 35, Ceresit CT 36, Ceresit CT 137 (ТУ 5745-007-58239148-03), Ceresit CT 60, Ceresit СТ 63, Ceresit СТ 64, Ceresit СТ 177 (ТУ 5745-010-58239148-2003), Глимс 2000, Глимс Magnum (ТУ 5745-010-40397319-2003); 8 - Дюбель из полиамида или полиэтилена EJOT (TC-07-1051 -05); 9 -Теплоизоляция из минераловатных плит ТЕХНО ФАС; 18- Мастика, см. п. 423.; 20- Прокладка пенополиэтиленовая уплотняющая марки Вилатерм-СМ Ø 30; 40 (трубчатая), ТУ 6-05-221-872-86; 50 - Рама и полотно распашных складчатых ворот серии 1.435-28; 53 - Наличник деревянный; 54 - Обрамляющий уголок 50×4; 55 - Полосу 4×40 крепить к стене дюбелями.

6 - Декоративная штукатурка, сухая смесь типа Ceresit CT68 (TC-07-0823-03), Ceresit CT 35, Ceresit CT 36, Ceresit CT 137 (ТУ 5745-007-58239148-03), Ceresit СТ 60, Ceresit CT 63, Ceresit CT 64, Ceresit CT 177 (ТУ 5745-010-58239148-2003), Глимс 2000, Глимс Magnum (ТУ 5745-010-40397319-2003); 7 - Армирующая сетка типа Строби ССКО 5×5 (ТУ 6-48-00204961-98) (ТС-07-076-03/2); 8 - Дюбель из полиамида или полиэтилена EJOT (ТС-07-1051 -05); 9 - Теплоизоляция из минераловатных плит ТЕХНО ФАС; 13 - Рейка 40×50, закрепленная к пробкам 50x60 шурупами. Пробки закреплены к стене дюбелями без шайбы; 15 - Слив С2; 18 - Мастика, см. п. 4.23.; 19 - Прокладка уплотняющая из пенорезины сечением 8×8 мм по ТУ 38-406316-87; 20 - Прокладка пе нопол иэти л еновая уплотняющая марки Вилатерм-СМ 0 30; 40 (трубчатая), ТУ 6-05-221-872-86; 46 - Шуруп ГОСТ 1144-80; 50 - Рама и полотно распашных складчатых ворот серии 1.435-28; 51 - Костыль МС-1 с шагом 700 мм, см. в серии 1.435-28; 52 - Стальная планка для крепления рамы ворот, см. в серии 1.435-28; 60 - Трубчатый уплотнитель из резины.

Экспликация материалов и деталей к узлам стен
|
№ поз. |
Наименование |
№ поз. |
Наименование |
|
|
1 |
Стена (несущая часть) |
23 |
Плита покрытия |
|
|
2 |
Защитно-декоративная кладка |
24 |
Надворотная перемычка |
|
|
3 |
Рихтовочный зазор |
25 |
Костыль К1 |
|
|
4 |
Теплоизоляция из минераловатных плит ТЕХНО БЛОК (ТУ 5762-013-17925162-2003) |
26 |
Теплоизоляция покрытия |
|
|
5 |
Клеевой состав для приклейки плит теплоизоляции типа Ceresit CT 190 (ТУ 5745-008-58239148-03) |
27 |
Костыль К3 |
|
|
6 |
Грунтовка типа Ceresit CT 16, Ceresit CT 17 (ТУ 5745-008-58239148-03) |
28 |
Вязальная проволока ГОСТ 3282-74 |
|
|
7 |
Сварная оцинкованная металлическая сетка 20×20 Ø 1,0 ... 1,6 по ТУ 14-4-647-95 Солнечногорского завода металлических сеток «Лепсе»; или по ГОСТ 2715-75 |
29 |
Закладная сетка М1 |
|
|
8 |
Антисептированный деревянный брусок 210x40 мм |
30 |
Закладная сетка М2 |
|
|
9 |
Антисептированный деревянный брусок 140×40 мм |
31 |
Закладная петля 3П1 |
|
|
10 |
Желоб |
32 |
2Ø6 |
|
|
11 |
Наружная штукатурка |
33 |
Подшивка карниза |
|
|
12 |
Внутренняя штукатурка |
34 |
Анкер А2 |
|
|
13 |
Кровля |
35 |
Уголок - перемычка с опиранием на боковую кладку проема не менее 120 мм |
|
|
14 |
Дюбель EJOT (ТС-07-1051-05) |
36 |
Мастика, см. п. 4.23 |
|
|
15 |
Стеклопакет |
37 |
Прокладка уплотняющая из пенорезины сечением 8×8 мм по ТУ 38-406316-87 |
|
|
16 |
Доска, пропитанная антипиреном |
38 |
Прокладка пенополиэтиленовая уплотняющая марки Вилатерм-СМ Ø 30; (трубчатая), ТУ 6-05-221-872-86 |
40 |
|
16а |
Пластина 6×40 с болтом Ø 10 и шагом 600 мм, но не менее 2 штук на проем |
39 |
Пена строительная |
|
|
17 |
Стропила |
40 |
Надоконная перемычка |
|
|
18 |
Междуэтажное перекрытие |
41 |
Цементный раствор |
|
|
19 |
Чердачное перекрытие |
42 |
Дюбель HPS-I, «Хилти», Ø 6 или 8 |
|
|
20 |
Слив С1 |
43 |
Оконное стекло |
|
|
21 |
Слив С2 |
44 |
Шуруп ГОСТ 1144-80 |
|
|
22 |
Слив С4 |
45 |
Шуруп ГОСТ 1144-80 |
|
|
№ поз. |
Наименование |
№ поз. |
Наименование |
|
46 |
Гвоздь Ø 6 через деревянную прокладку с шагом 600 мм, но не менее 2 шт. на проем |
59 |
Пол подвала или 1-го этажа: - линолеум; - стяжка из цементно-песчаного раствора М50-30 мм; - минераловатная плита марки «ТЕХНО ФЛОР» или «ТЕХНО ФЛОР+»; - гидроизоляция; - бетонная подготовка марки В7,5 - 80 мм или плита перекрытия. |
|
47 |
Окно деревянное |
60 |
Крупный песок |
|
48 |
Рама и полотно распашных складчатых ворот серии 1.435-28 |
61 |
Термовставка из ячеистобетонных блоков по ГОСТ 21520-89 |
|
49 |
Костыль МС-1 с шагом 700 мм. см. в серии ворот |
62 |
Фартук из оцинкованной кровельной стали |
|
50 |
Стальная планка для крепления рамы ворот, см. в серии ворот |
63 |
Несущая балка - пояс |
|
51 |
Подоконник по проекту |
64 |
Декоративная плитка |
|
52 |
Капельник |
65 |
Прокладка уплотняющая |
|
53 |
Отмостка по проекту |
66 |
Пластина 6x40, заранее скрепленная с окном шурупами |
|
54 |
Гидроизоляция - цементно-песчаный раствор |
67 |
Наличник деревянный |
|
55 |
Отделка цоколя |
68 |
Теплоизоляция из плит марки «ТЕХНО ФЛОР», «ТЕХНО ФЛОР+» или «ТЕХНО ЛАЙТ» |
|
56 |
Фундаментная балка |
69 |
Трубчатый уплотнитель из резины |
|
57 |
Бортовой камень |
|
|
|
58 |
Стена подвала |
|
|

2 - Защитно-декоративная кладка; 4 - Теплоизоляция из ми не рало ватных плит ТЕХНО БЛОК (ТУ 5762-013-17925162-2003); 59 - Пол подвала или 1-го этажа:
- линолеум; - стяжка из цементно-песчаного раствора М50 - 30 мм; - минераловатная плита марки «ТЕХНО ФЛОР» или «ТЕХНО ФЛОР+»; - гидроизоляция;
- бетонная подготовка марки В7,5-80 мм или плита перекрытия; 63 - Несущая балка - пояс.
СХЕМА №2.
Расположение анкеров в углах, температурных швах и у проемов

Таблица 1
Максимальный шаг [м] температурных швов в защитно-декоративной стене Li
|
Вид кладки |
Шаг швов при средней температуре наружного воздуха наиболее холодной пятидневки |
||
|
минус 40 °С и ниже |
минус 30 °С |
минус 20 °С и выше |
|
|
Из кирпича, в т.ч. лицевого на растворе марки 50 и более |
30 |
42 |
70 |
|
Из силикатного кирпича на растворе марки 50 |
21 |
30 |
42 |
СХЕМА №3.

* - размер по проекту
СХЕМА № 4

* - размер по проекту
Соединение слоев петлями

1 - Стена (несущая часть); 2 - Защитно-декоративная кладка; 3 - Рихтовочный зазор; 4 - Рихтовочный зазор; 5 - Клеевой состав для приклейки плит теплоизоляции типа Ceresit СТ 190 (ТУ 5745-008-58239148-03); 6 - Грунтовка типа Ceresit CT 16, Ceresit CT 17 (ТУ 5745-008-58239148-03); 12 - Внутренняя штукатурка; 28 - Вязальная проволока ГОСТ 3282-74; 29 - Закладная сетка М1; 30 - Закладная сетка М2; 31 - Закладная петля 3П1; 32 - 2 Ø 6.
Соединение слоев сеткой

1 - Стена (несущая часть); 2 - Защитно-декоративная кладка; 3 - Рихтовочный зазор; 4 - Рихтовочный зазор; 5 - Клеевой состав для приклейки плит теплоизоляции типа Ceresit СТ 190 (ТУ 5745-008-58239148-03); 6 - Грунтовка типа Ceresit CT 16, Ceresit CT 17 (ТУ 5745-008-58239148-03); 12 - Внутренняя штукатурка; 30 - Закладная сетка М2.


1 - Стена (несущая часть); 2 - Защитно-декоративная кладка; 3 - Рихтовочный зазор; 4 - Рихтовочный зазор; 12 - Внутренняя штукатурка; 28 - Вязальная проволока ГОСТ 3282-74; 29 - Закладная сетка М1; 30 - Закладная сетка М2; 31 - Закладная петля ЗП1; 32 - 2 Ø 6.

1 - Стена (несущая часть); 2 - Защитно-декоративная кладка; 3 - Рихтовочный зазор; 4 - Рихтовочный зазор; 5 - Клеевой состав для приклейки плит теплоизоляции типа Ceresit СТ 190 (ТУ 5745-008-58239148-03); 6 - Грунтовка типа Ceresit СТ 16, Ceresit СТ 17 (ТУ 5745-008-58239148-03); 20 - Слив С1; 28 - Вязальная проволока ГОСТ 3282-74; 29 - Закладная сетка М1; 31 - Закладная петля 3П1.


2-Защитно-декоративная кладка; 3 - Рихтовочный зазор; 5- Клеевой состав для приклейки плит теплоизоляции типа CeresitCT 190 |ТУ 5745-008-58239148-03); 6 - Грунтовка типа Ceresit СТ 16, Ceresit СТ 17 (ТУ 5745-008-58239148-03); 30 - Закладная сетка М2.

1 - Стена (несущая часть); 2 - Защитно-декоративная кладка; 3 - Рихтовочный зазор; 4 - Рихтовочный зазор; 5 - Клеевой состав для приклейки плит теплоизоляции типа Ceresit СТ 190 (ТУ 5745-008-58239148-03); 29 - Закладная сетка М1; 30 - Закладная сетка М2; 31 - Закладная петля 3П1; 32 - 2 Ø 6; 36 - Мастика, см. п. 4.23; 38 - Прокладка пенополиэтиленовая уплотняющая марки Вилатерм-СМ Ø 30; 40 (трубчатая), ТУ 6-05-221-872-86; 63 - Прокладка пенополиэтиленовая уплотняющая марки Вилатерм-СМ Ø 30; 40 (трубчатая), ТУ 6-05-221-872-86; 64 - Декоративная плитка.

1 - Стена (несущая часть); 2 - Защитно-декоративная кладка; 3 - Рихтовочный зазор; 4 - Рихтовочный зазор; 5 - Клеевой состав для приклейки плит теплоизоляции типа Ceresit СТ 190 (ТУ 5745-008-58239148-03); 6 - Грунтовка типа Ceresit CT 16, Ceresit CT 17 (ТУ 5745-008-58239148-03); 12 - Внутренняя штукатурка; 20 - Слив С1; 29 - Закладная сетка М1; 30 - Закладная сетка М2; 31 - Закладная петля 3П1; 32 - 2 Ø 6; 36 - Мастика, см. п. 4.23.


1 - Стена (несущая часть); 2 - Защитно-декоративная кладка; 3 - Рихтовочный зазор; 12 - Внутренняя штукатурка; 29 - Закладная сетка М1; 30 - Закладная сетка М2; 31 - Закладная петля ЗП1; 32 - 2 0 6; 53 - Отмостка по проекту; 54 - Гидроизоляция - цементно-песчаный раствор; 55 - Отделка цоколя; 56 - Фундаментная балка; 57 - Бортовой камень; 58 - Стена подвала; 59 - Пол подвала или 1-го этажа: - линолеум; - стяжка из цементно-песчаного раствора М 50 - 30 мм; - минераловатная плита марки «ТЕХНО ФЛОР» или «ТЕХНО ФЛОР+»; - гидроизоляция; - бетонная подготовка марки В7,5 - 80 мм или плита перекрытия.; 60 - Крупный песок.

* -размер по проекту
1 - Стена (несущая часть); 2 - Защитно-декоративная кладка; 4 - Рихтовочный зазор; 5 - Клеевой состав для приклейки плит теплоизоляции типа Ceresit CT 190 (ТУ 5745-008-58239148-03); 6 - Грунтовка типа Ceresit CT 16, Ceresit CT 17 (ТУ 5745-008-58239148-03); 8 - Антисептированнный деревянный брусок 210×40 мм; 13 - Кровля; 22 - Слив С4; 23 - Плита покрытия; 26 - Теплоизоляция покрытия; 27 - Костыль КЗ; 29 - Закладная сетка М1; 30 - Закладная сетка М2; 31 - Закладная петля 3П1; 32 - 2 Ø 6; 44- Шуруп ГОСТ 1144-80; 61 -Термовставка из ячеистобетонных блоков по ГОСТ 21520-89; 62 - Фартук из оцинкованной кровельной стали.

* -размер по проекту
1 - Стена (несущая часть); 2 - Защитно-декоративная кладка; 3 - Рихтовочный зазор; 4 - Рихтовочный зазор; 5 - Клеевой состав для приклейки плит теплоизоляции типа Ceresit СТ 190 (ТУ 5745-008-58239148-03); 6 - Грунтовка типа Ceresit СТ 16, Ceresit СТ 17 (ТУ 5745-008-58239148-03); 10 - Желоб; 17 - Стропила; 19 - Чердачное перекрытие; 33 - Подшивка карниза; 61 - Термовставка из ячеистобетонных блоков по ГОСТ 21520-89; 68 - Теплоизоляция из плит марки «ТЕХНО ФЛОР», «ТЕХНО ФЛОР+» или «ТЕХНО ЛАЙТ».

1 - Стена (несущая часть); 2 - Защитно-декоративная кладка; 3 - Рихтовочный зазор; 4 - Рихтовочный зазор; 5 - Клеевой состав для приклейки плит теплоизоляции типа Ceresit CT 190 (ТУ 5745-008-58239148-03); 6 - Грунтовка типа Ceresit CT 16, Ceresit CT 17 (ТУ 5745-008-58239148-03); 12 - Внутренняя штукатурка; 15 - Стеклопакет; 28 - Вязальная проволока ГОСТ3282-74; 29 - Закладная сетка Ml; 30 - Закладная сетка М2; 31 - Закладная петля 3П1; 32 - 2 Ø 6; 36 - Мастика, см. п. 4.23; 37 - Прокладка уплотняющая из пенорезины сечением 8×8 мм поТУ38-406316-87;39 - Пена строительная; 40 - Надоконная перемычка; 42 - Дюбель HPS-I, «Хилти», Ø 6 или 8; 46 - Гвоздь Ø 6 через деревянную прокладку с шагом 600 мм, но не менее 2 шт. на проем; 66 - Пластина 6×40, заранее скрепленная с окном шурупами.

1 - Стена (несущая часть); 2 - Защитно-декоративная кладка; 3 - Рихтовочный зазор; 4 - Рихтовочный зазор; 7 - Сварная оцинкованная металлическая сетка 20×20 Ø 1,0 ... 1,6 по ТУ 14-4-647-95 Солнечногорского завода металлических сеток «Лепсе»; или по ГОСТ 2715-75; 11 - Наружная штукатурка; 12 - Внутренняя штукатурка; 15 - Стеклопакет; 16 - Доска, пропитанная антипиреном; 16а - Пластина 6×40 с болтом Ø 10 и шагом 600 мм, но не менее 2 штук на проем; 20 - Слив С1; 25 - Костыль К1; 29 - Закладная сетка M1; 30- Закладная сетка М2; 31 - Закладная петля ЗГИ; 32 - 2 0 6;34 - Анкер А2; 35 -Уголок-перемычка с опиранием на боковую кладку проема не менее 120 мм; 36 - Мастика, см. п. 4.23; 37 - Прокладка уплотняющая из пенорезины сечением 8×8 мм по ТУ 38-406316-87; 39 - Пена строительная ; 40 - Надоконная перемычка; 41 - Цементный раствор; 42 - Дюбель HPS-I, «Хилти», Ø 6 или 8; 43 - Оконное стекло; 44 - Шуруп ГОСТ 1144-80; 46 - Гвоздь Ø 6 через деревянную прокладку с шагом 600 мм, но не менее 2 шт. на проем; 47 - Окно деревянное; 51 - Подоконник по проекту; 52 - Капельник; 65 - Прокладка уплотняющая.

* - размер по проекту
4- Рихтовочный зазор; 5 - Клеевой состав для приклейки плит теплоизоляции типа Ceresit CT 190 (ТУ 5745-008-58239148-03); 6 - Грунтовка типа Ceresit CT 16, Ceresit CT 17 (ТУ 5745-008-58239148-03); 29 - Закладная сетка М1; 30 - Закладная сетка М2; 31 - Закладная петля 3П1; 38 - Прокладка пенополиэтиленовая уплотняющая марки Вилатерм-СМ Ø 30; 40 (трубчатая), ТУ 6-05-221-872-86; 48 - Рама и полотно распашных складчатых ворот серии 1435-28.

* -размер по проекту
2 - Защитно-декоративная кладка; 3 - Рихтовочный зазор; 4 - Рихтовочный зазор; 5 - Клеевой состав для приклейки плит теплоизоляции типа Ceresit CT 190 (ТУ 5745-008-58239148-03); 6 - Грунтовка типа Ceresit CT 16, Ceresit CT 17 (ТУ 5745-008-58239148-03); 14- Дюбель EJOT (ТС-07-1051-05); 21 - СливС2; 24 - Надворотная перемычка; 29 -Закладная сетка М1; 30 - Закладная сетка М2; 31 - Закладная петля 3П1; 32 - Закладная петля 3П1; 35 - Уголок-перемычка с опиранием на боковую кладку проема не менее 120 мм; 36 - Мастика, см. п. 4.23; 37 - Прокладка уплотняющая из пенорезины сечением 8×8 мм по ТУ 38-406316-87; 38 - Прокладка пенополиэтиленовая уплотняющая марки Вилатерм-СМ Ø 30; 40 (трубчатая), ТУ 6-05-221-872-86; 45 - Шуруп ГОСТ 1144-80; 48 - Рама и полотно распашных складчатых ворот серии 1.435-28; 49 - Костыль МС-1 с шагом 700 мм, см. в серии ворот; 50 - Стальная планка для крепления рамы ворот, см. в серии ворот; 69 - Трубчатый уплотнитель из резины.

Экспликация материалов и деталей к узлам стен
|
№ поз. |
Наименование |
№ поз. |
Наименование |
|
1 |
Стена (несущая часть) |
23 |
Оконное стекло |
|
2 |
Защитно-декоративная кладка |
24 |
Надворотная перемычка |
|
3 |
Рихтовочный зазор |
25 |
Костыль К1 |
|
4 |
Теплоизоляция из минераловатных плит ТЕХНО БЛОК (ТУ 5762-013-17925162-2003) |
26 |
Теплоизоляция из плит марок «ТЕХНО РУФ» или «ТЕХНО РУФ Н» |
|
5 |
Клеевой состав для приклейки плит теплоизоляции типа Ceresit CT 190 (ТУ 5745-008-58239148-03) |
27 |
Костыль КЗ |
|
6 |
Грунтовка типа Ceresit CT 16, Ceresit CT 17 (ТУ 5745-008-58239148-03) |
28 |
Вязальная проволока ГОСТ 3282-74 |
|
7 |
Сварная оцинкованная металлическая сетка 20×20 Ø 1,0 ... 1,6 по ТУ 14-4-647-95 Солнечногорского завода металлических сеток «Лепсе»; или по ГОСТ 2715-75 |
29 |
Закладная сетка М1 |
|
8 |
Антисептированный деревянный брусок 210×40 мм |
30 |
Закладная сетка М2 |
|
9 |
Антисептированный деревянный брусок 140×40 мм |
31 |
Закладная петля 3П1 |
|
10 |
Желоб |
32 |
2Ø6 |
|
11 |
Наружная штукатурка |
33 |
Анкер А1 |
|
12 |
Внутренняя штукатурка |
34 |
Анкер А2 |
|
13 |
Кровля |
35 |
Уголок - перемычка с опиранием на боковую кладку проема не менее 120 мм |
|
14 |
Дюбель EJOT (ТС-07-1051-05) |
36 |
Мастика, см. п. 4.23 |
|
15 |
Стеклопакет |
37 |
Прокладка уплотняющая из пенорезины сечением 8×8 мм по ТУ 38-406316-87 |
|
16 |
Доска, пропитанная антипиреном |
38 |
Прокладка пенополиэтиленовая уплотняющая марки Вилатерм-СМ Ø 30; 4 (трубчатая), ТУ 6-05-221-872-86 |
|
16а |
Пластина 6×40 с болтом Ø 10 и шагом 600 мм, но не менее 2 штук на проем |
39 |
Пена строительная |
|
17 |
Стропила |
40 |
Надоконная перемычка |
|
18 |
Плита покрытия |
41 |
Цементный раствор |
|
19 |
Чердачное перекрытие |
42 |
Дюбель HPS-I, «Хилти», Ø 6 или 8 |
|
20 |
Слив С1 |
43 |
Дюбель из полиамида ТУ 36-941-79 |
|
21 |
Слив С2 |
44 |
Шуруп ГОСТ 1144-80 |
|
22 |
Слив С4 |
45 |
Шуруп ГОСТ 1144-80 |
|
№ поз. |
Наименование |
№ поз. |
Наименование |
|
46 |
Гвоздь Ø 6 через деревянную прокладку с шагом 600 мм, но не менее 2 шт. на проем |
58 |
Стена подвала |
|
47 |
Окно деревянное |
59 |
Крупный песок |
|
48 |
Рама и полотно распашных складчатых ворот серии 1.435-28 |
60 |
Термовставка из ячеистобетонных блоков по ГОСТ 21520-89 |
|
49 |
Костыль МС-1 с шагом 700 мм, см. в серии 1.435-28 |
61 |
Фартук из оцинкованной стали кровельной |
|
50 |
Стальная планка для крепления рамы ворот, см. в серии 1.435-28 |
62 |
Подшивка карниза |
|
51 |
Подоконник по проекту |
63 |
Трубчатый уплотнитель из резины |
|
52 |
Капельник |
|
|
|
53 |
Отмостка по проекту |
|
|
|
54 |
Гидроизоляция - цементно-песчаный раствор |
|
|
|
55 |
Перекрытие над подвалом |
|
|
|
56 |
Фундаментная балка |
|
|
|
57 |
Консоль под фундаментную балку |
|
|
СХЕМА №1
Расположение плит утеплителя, рассечек

2 - Защитно-декоративная кладка; 4 - Теплоизоляция из минераловатных плит ТЕХНО БЛОК (ТУ 5762-013-17925162-2003).
СХЕМА № 2.
Расположение анкеров в углах, температурных швах и у проемов

Максимальный шаг температурных швов в защитно-декоративной стене Li см. в таблице №1 на листе 2 документ М24.32/05 - 3.1
1 - Стена (несущая часть); 2 - Защитно-декоративная кладка; 4 - Теплоизоляция из минераловатных плит ТЕХНО БЛОК (ТУ 5762-013-17925162-2003); 33 - Теплоизоляция из минераловатных плит ТЕХНО БЛОК (ТУ 5762-013-17925162-2003); 35 - Уголок - перемычка с опиранием на боковую кладку проема не менее 120 мм; 41 - Цементный раствор.
СХЕМА №3.

* - размер по проекту
СХЕМА № 4.

* - размеры по проекту

1 - Стена (несущая часть); 2 - Защитно-декоративная кладка; 3 - Рихтовочный зазор; 4 - Теплоизоляция из минераловатных пли тТЕХНО БЛОК (ТУ 5762-013-17925162-2003); 5 - Клеевой состав для приклейки плит теплоизоляции типа Ceresit СТ 190 (ТУ 5745-008-58239148-03); 6 - Грунтовка типа Ceresit CT 16, Ceresit СТ 17 (ТУ 5745-008-58239148-03); 28 - Вязальная проволока ГОСТ 3282-74; 29 - Закладная сетка М1; 33 - Анкер А1; 42 - Дюбель HPS-I, «Хилти», Ø 6 или 8.


28 - Вязальная проволока ГОСТ 3282-74; 29 - Закладная сетка М1; 33 - Анкер А1.

1 - Стена (несущая часть; 2 - Защитно-декоративная кладка; 3 - Рихтовочный зазор; 29 - Закладная сетка М1; 33 - Анкер А1; 42 - Дюбель HPS-I, «Хилти», Ø 6 или 8.

1 - Стена (несущая часть); 2 - Защитно-декоративная кладка; 3 - Рихтовочный зазор; 4 - Теплоизоляция из минераловатных плит ТЕХНО БЛОК (ТУ 5762-013-17925162-2003); 5 - Клеевой состав для приклейки плит теплоизоляции типа Ceresit CT 190 (ТУ 5745-008-58239148-03); 12 - Внутренняя штукатурка; 53 - Отмостка по проекту; 54 - Гидроизоляция - цементно-песчаный раствор; 55 - Перекрытие над подвалом; 56 - Фундаментная балка; 57 - Консоль под фундаментную балку; 58 - Стена подвала; 59 - Крупный песок.

* - размер по проекту
1 - Стена (несущая часть); 4 - Теплоизоляция из минераловатных плит ТЕХНО БЛОК (ТУ 5762-013-17925162-2003); 5 - Клеевой состав для приклейки плит теплоизоляции типа Ceresit CT 190 (ТУ 5745-008-58239148-03); 8 - Антисептированнный деревянный брусок 210×40 мм; 9 - Антисептированный деревянный брусок 140×40 мм; 13 - Кровля; 18 - Плита покрытия; 22 - Слив С4; 26 - Теплоизоляция из плит марок «ТЕХНО РУФ» или «ТЕХНО РУФ Н»; 27 - Костыль К3; 29 - Закладная сетка М1; 33 - 2 Ø 6; 41 - Цементный раствор; 45 - Шуруп ГОСТ 1144-80; 60 - Термовставка из ячеистобетонных блоков по ГОСТ 21520-89; 61 - Фартук из оцинкованной кровельной стали.

* - размер по проекту
1 - Стена (несущая часть); 3 - Рихтовочный зазор; 4 - Теплоизоляция из минераловатных плит ТЕХНО БЛОК (ТУ 5762-013-17925162-2003); 5 - Клеевой состав для приклейки плит теплоизоляции типа Ceresit CT 190 (ТУ 5745-008-582391Д8-03); 10 - Желоб; 17 - Стропила; 19 - Чердачное перекрытие; 29 - Закладная сетка М1; 33 - Анкер А1; 45 - Шуруп ГОСТ 1144-80; 60 - Термовставка из ячеистобетонных блоков по ГОСТ 21520-89; 62 - Подшивка карниза.

* - размер по проекту
4 - Теплоизоляция из минераловатных плит ТЕХНО БЛОК (ТУ 5762-013-17925162-2003); 5 - Клеевой состав для приклейки плит теплоизоляции типа Ceresit CT 190 (ТУ 5745-008-58239148-03); 15 - Стеклопакет; 16 - Доска, пропитанная антипиреном; 16а - Пластина 6×40 с болтом Ø 10 и шагом 600 мм, но не менее 2 штук на проем; 20 - Слив С1; 23 - Оконное стекло; 25 - Костыль К1; 29 - Закладная сетка М1; 33 - Анкер А1; 34-Анкер А2; 36 - Мастика; 37 - Прокладка уплотняющая из пенорезины сечением 8×8 мм по ТУ 38-406316-87; 41 - Цементный раствор; 42 - Дюбель HPS-I, «Хилти», Ø 6 или 8; 43 - Дюбель из полиамида ТУ 36-941-79; 44 - Шуруп ГОСТ 1144-80; 46 - Гвоздь Ø 6 через деревянную прокладку с шагом 600 мм, но не менее 2 шт. на проем; 51 - Подоконник по проекту.

1 - Стена (несущая часть); 2 - Защитно-декоративная кладка; 3 - Рихтовочный зазор; 4 - Теплоизоляция из минераловатных плит ТЕХНО БЛОК (ТУ 5762-013-17925162-2003); 5 - Клеевой состав для приклейки плит теплоизоляции типа Ceresit CT 190 (ТУ 57Д5-008-582391Д8-03); 7 - Сварная оцинкованная металлическая сетка 20×20 Ø 1,0 ... 1,6 по ТУ 1Д-Д-6Д7-95 Солнечногорского завода металлических сеток «Лепсе»; или по ГОСТ 2715-75; 12 - Внутренняя штукатурка; 16 - Доска, пропитанная антипиреном; 16а - Пластина 6×40 с болтом Ø 10 и шагом 600 мм, но не менее 2 штук на проем; 29 - Закладная сетка М1; 33 - Анкер А1; 35 - Уголок- перемычка сопиранием на боковую кладку проема не менее 120 мм; 36 - Мастика; 37 - Прокладка уплотняющая из пенорезины сечением 8×8 мм по ТУ 38-406316-87; 39 - Пена строительная; 40 - Надоконная перемычка; 42 - Дюбель HPS-I, «Хилти», Ø 6 или 8; 46 - Гвоздь Ø 6 через деревянную прокладку с шагом 600 мм, но не менее 2 шт. на проем.

2 - Защитно-декоративная кладка; 3 - Рихтовочный зазор; 4 - Теплоизоляция из минераловатных плит ТЕХНО БЛОК (ТУ 5762-013-17925162-2003); 5 - Клеевой состав для приклейки плит теплоизоляции типа Ceresit СТ 190 (ТУ 5745-008-58239148-03); 14 - Дюбель EJOT (ТС-07-1051 -05); 21 - Слив С2; 24 - Надворотная перемычка; 29 - Закладная сетка М1; 33 - Анкер А1; 35 - Уголок- перемычка с опиранием на боковую кладку проема не менее 120 мм; 36 - Мастика; 37 - Прокладка уплотняющая из пенорезины сечением 8×8 мм по ТУ 38-406316-87; 38 - Прокладка пенополиэтиленовая уплотняющая марки Вилатерм-СМ Ø 30; 40 (трубчатая), ТУ 6-05-221-872-86; 45 - Шуруп ГОСТ 1144-80; 48 - Рама и полотно распашных складчатых ворот серии 1.435-28; 49 - костыль МС-1 с шагом 700 мм, см. в серии 1.435-28; 50 - Стальная планка для крепления рамы ворот, см. в серии 1.435-28; 63 - Трубчатый уплотнитель из резины.

Экспликация материалов и деталей к узлам стен с облицовкой из оцинкованного стального профлиста
|
№ поз. |
Наименование |
№ поз. |
Наименование |
|
1 |
Панель стеновая цокольная |
21 |
Асбестоцементный лист |
|
2 |
Рама и полотно ворот по сети 1.435-28 |
22 |
Ригель |
|
3 |
Слив С2 |
23 |
Самонарезающие винты |
|
4 |
Костыль МС-1 с шагом 700 мм см. в серии 1.435-28 |
24 |
Ригель |
|
5 |
Пленка типа «Тайвек» (TYVEK) |
25 |
Термовкладыш из бакелизированной фанеры |
|
6 |
Наружная обшивка из оцинкованного стального профлиста |
26 |
Шуруп 1 -4×40 (шаг 300) |
|
7 |
Утеплитель из плит марки «ТЕХНО БЛОК» (ТУ 5762-013-17925162-2003) |
27 |
Герметизирующая мастика, см. п. 4.23 |
|
7' |
Утеплитель из плит марки «ТЕХНО ЛАЙТ» |
||
|
8 |
Каркас панели |
28 |
Антисептированный деревянный брус сечением 40×130, крепить шурупами 1 -6×90 с шагом 600 |
|
9 |
Угловой нащельник |
29 |
Антисептированный деревянный брусок 40×90(120) |
|
10 |
Слив С1 |
30 |
Нащельник Н1 |
|
11 |
Внутренняя обшивка |
31 |
Подоконник из деревянной доски 60×280 |
|
12 |
Заклепка |
32 |
Слив С5 |
|
13 |
Кровля из профлиста |
33 |
Болт М16×50 с шагом 600 |
|
14 |
Прогон |
34 |
Нащельник Н2 |
|
15 |
Пароизоляция |
35 |
Элемент крепления окна У2; У3 с шагом 600 |
|
16 |
Костыль К-4 |
36 |
Мастика, см. п. 4.23 |
|
17 |
Деревянный брусок |
37 |
Доска |
|
18 |
Фартук |
38 |
Нащельник Н3 |
|
19 |
Несущий настил покрытия |
39 |
Нащельник Н4 |
|
20 |
Балка покрытия |
40 |
Нащельник Н5 |
СХЕМА №1. Продольный фасад

1 - Панель стеновая цокольная; 3 - Слив С2.
СХЕМА № 2. Торцевой фасад

1 - Панель стеновая цокольная; 4 - Костыль МС-1 с шагом 700 мм см. в серии 1.435-28.

5 - Пленка типа «Тайвек» (TYVEK); 6 - Наружная обшивка из оцинкованного стального профлиста;7 - Утеплитель из плит марки «ТЕХНО БЛОК» (ТУ 5762-013-17925162-2003); 8 - Каркас панели; 9 - Угловой нащельник; 15 - Пароизоляция.

5 - Пленка типа «Тайвек» (TYVEK); 6 - Наружная обшивка из оцинкованного стального профлиста; 8 - Каркас панели; 11 - Внутренняя обшивка; 12 - Заклепка; 15 - Пароизоляция.

5 - Пленка типа «Тайвек» (TYVEK); 6 - Наружная обшивка из оцинкованного стального профлиста; 8- Каркас панели; 11 - Внутренняя обшивка; 12 - Заклепка; 15 - Пароизоляция.

1 - Панель стеновая цокольная; 5 - Пленка типа «Тайвек» (TYVEK); 6 - Наружная обшивка из оцинкованного стального профлиста; 7 - Утеплитель из плит марки «ТЕХНО БЛОК» (ТУ 5762-013-17925162-2003); 8 - Каркас панели; 10- СливС1; 11 - Внутренняя обшивка; 12 -Заклепка; 15- Пароизоляция; 33 - Болт М16×50 с шагом 600; 34 - Нащельник Н2; 35 - Элемент крепления окна У2; У3 с шагом 600.


5 - Пленка типа «Тайвек» (TYVEK); 6 - Наружная обшивка из оцинкованного стального профлиста; 7 - Утеплитель из плит марки «ТЕХНО БЛОК» (ТУ 5762-013-17925162-2003); 10- Слив С1; 11 - Внутренняя обшивка; 15 - Пароизоляция; 22 - Ригель; 26 - Шуруп 1 -4×40 (шаг 300); 27 - Герметизирующая мастика, см. п. 4.23; 28 - Антисептированный деревянный брус сечением 40×130, крепить шурупами 1 - 6×90 с шагом 600; 29 - Антисептированный деревянный брусок 40×90 (120); 30 - Нащельник HI; 31 - Подоконник из деревянной доски 60×280; 32 - Слив С5; 33 - Болт М16×50 с шагом 600.

5 - Пленка типа «Тайвек» (TYVEK); 6 - Наружная обшивка из оцинкованного стального профлиста; 7 - Утеплитель из плит марки «ТЕХНО БЛОК» (ТУ 5762-013-17925162-2003); 7' - Утеплитель из плит марки «ТЕХНО ЛАЙТ; 8 - Каркас панели; 11- Слив С1; 13 - Кровля из профлиста; 14 - Прогон; 15 - Пароизоляция; 19 - Несущий настил покрытия; 24 - Ригель; 40 - Нащельник Н5.

5 - Пленка типа «Таивек» ITYVEKJ; 6 - Наружная обшивка из оцинкованного стального профлиста; 12 - Заклепка; 13- Кровля из профлиста; 14 - Прогон; 15 - Пароизоляция; 16 - Костыль К-А; 17 - Деревянный брусок; 18- Фартук; 19 - Несущий настил покрытия; 20 - Балка покрытия; 21 - Асбестоцементный лист; 22 - Ригель; 24 - Ригель; 25 - Термовкладыш из бакелизированной фанеры.

2 - Рама и полотно ворот по сети 1.435-28; 5 - Пленка типа «Тайвек» (TYVEK); 6 - Наружная обшивка из оцинкованного стального профлиста; 7 - Утеплитель из плит марки «ТЕХНО БЛОК» (ТУ 5762-013-17925162-2003); 8 - Каркас панели; 11 - Внутренняя обшивка; 25 - Термовкладыш из бакелизированной фанеры; 38 - Нащельник Н3; 39 - Нащельник Н4.

2 - Рама и полотно ворот по сети 1.435-28; 3 - Слив С2; Л - Костыль МС-1 с шагом 700 мм см в серии 1.435-28; 5 - Пленка типа «Тайвек» ITYVEK); 7 - Утеплитель из плит марки «ТЕХНО БЛОК» (ТУ 5762-013-17925162-2003); 8 - Каркас панели; 11 - Внутренняя обшивка; 15 - Пароизоляция; 25 - Термовкладыш из бакелизированной фанеры; 36 - Мастика, см. п. 4.23; 37 - Доска.

Экспликация материалов и деталей к узлам стен подвала
|
№ поз. |
Наименование |
№ поз. |
Наименование |
|
|
1 |
Несущая часть стены |
11 |
Бортовой камень |
|
|
2 |
Отделочный штукатурный слой |
12 |
Пол подвала |
|
|
3 |
Теплоизоляция из минераловатных плит «ТЕХНО ПЛАСТ» или «ТЕХНО ФАС» (ТУ 5762-025-17925162-2004) |
13 |
Теплоизоляция из минераловатных «ТЕХНО ПЛАСТ» или «ТЕХНО ФАС» |
плит |
|
4 |
Горизонтальная гидроизоляция из цементно-песчаного раствора М 50 |
14 |
Опорный профиль |
|
|
5 |
Клеевой слой для крепления теплоизоляции |
15 |
Облицовка цоколя |
|
|
6 |
Перекрытие над подвалом |
16 |
Щебень |
|
|
7 |
Дюбели для крепления внутреннего слоя гидроизоляции из битумно-полимерного рулонного материала |
17 |
Крупный песок |
|
|
8 |
Двухслойная рулонная гидроизоляция из битумно-полимерного материала: (нижний слой из «ТЕХНОЭЛАСТ ФИКС»; верхний слой из «ТЕХНОЭЛАСТ МОСТ Б») или однослойная кровля из «Loqicroof» |
18 |
Дренажная труба |
|
|
9 |
Защитная стенка из кирпича толщиной 120 мм |
|
|
|
|
10 |
Отмостка |
|
|
|
Вариант с поверхностным сбросом дождевой воды и защитой гидроизоляции кирпичной кладкой.

1 - Несущая часть стены; 2 - Отделочный штукатурный слои; 3 - Теплоизоляция из минераловатных плит «ТЕХНО ПЛАСТ» или «ТЕХНО ФАС» (ТУ 5762-025-17925162-2004-); 4 - Горизонтальная гидроизоляция из цементно-песчаного раствора М 50; 5 - Клеевой слой для креплен и я тепло изоляции; 6 - Перекрытие над подвалом; 7- Дюбели для крепления внутреннего слоя гидроизоляции из битум но-пол и мерного рулонного материала; 8-Двухслойная рулонная гидроизоляция из битумно-полимерного материала: (нижний слой из «ТЕХНОЭЛАСТФИКС»; верхний слой из «ТЕХНОЭЛАСТ МОСТ Б») или однослойная кровля из «Loqicroof»; 9 - Защитная стенка из кирпича толщиной 120 мм; 10 - Отмостка; 11 - Бортовой камень; 12 - Пол подвала; 13 - Теплоизоляция из минераловатных плит «ТЕХНО ПЛАСТ» или «ТЕХНО ФАС».

1 - Несущая часть стены; 2 - отделочный штукатурный слои; 3 - 1еплоизоляция из минераловатных плит «ТЕХНО ПЛАСТ» или «ТЕХНО ФАС» (ТУ 5762-025-17925162-2004-);4- Горизонтальная гидроизоляция из цементно-песчаного раствора М 50; 6- Перекрытие над подвалом; 7 - Дюбели для крепления внутреннего слоя гидроизоляции из битумно-полимерного рулонного материала; 8 - Двухслойная рулонная гидроизоляция из битумно-полимерного материала: (нижний слой из «ТЕХН0ЭЛАСТФИКС»; верхний слой из «ТЕХНОЭЛАСТ МОСТ Б») или однослойная кровля из «Loqicroof»;9 -Защитная стенка из кирпича толщиной 120 мм; 11 - Бортовой камень; 12 - Пол подвала; 13 - Теплоизоляция из минераловатных плит «ТЕХНО ПЛАСТ» или «ТЕХНО ФАС»; 14 - Опорный профиль; 15 - Облицовка цоколя; 16 - Щебень; 17 - Крупный песок; 18 - Дренажная труба.

Экспликация материалов и деталей к узлам стен с вентилируемой воздушной прослойкой
|
№ поз. |
Наименование |
№ поз. |
Наименование |
|
1 |
Направляющая из Т-образного профиля |
21 |
Дюбель HPS-1, «Хилти», Ø 6 или 8 мм |
|
2 |
Направляющая из Г-образного профиля |
22 |
Главный профиль, δ = 1,5 мм |
|
3 |
Кляммер К-1 |
23 |
Лист оцинкованной стали 1250×50×0,7 мм с шагом 600 мм |
|
4 |
Плитка керамогранитная |
24 |
Вставка рядовая 130×100x2 мм |
|
5 |
Кляммер К-2 |
25 |
Пленка типа «Тайвек» (TYVEK) |
|
6 |
Минераловатная плита «ТЕХНО ВЕНТ», «ТЕХНО ВЕНТ+» (ТУ 5762-016-17925162-2004) |
26 |
Кронштейн угловой |
|
7 |
Кляммер К-3 |
27 |
Зажимной профиль |
|
8 |
Кляммер К-4 |
28 |
Направляющая из Л-образного профиля |
|
9 |
Кляммер К-5 |
29 |
Регулировочный винт |
|
10 |
Кляммер К-6 |
30 |
Кляммер угловой К-7 |
|
11 |
Дюбели и крепления теплоизоляции |
31 |
Тарельчатый дюбель или дюбель с шайбой |
|
12 |
Заклепка вытяжная нержавеющая 3,2 - 4,8 |
32 |
Вставка угловая 250×250×2 мм |
|
13 |
Анкерный дюбель |
33 |
Самонарезающий винт |
|
14 |
Поронитовая прокладка |
34 |
Отрезки Г-образного профиля λ = 200 -300 мм |
|
15 |
Резиновая прокладка |
35 |
Клей |
|
16 |
Стальной элемент рамы обрамления оконной коробки, δ = 0,55 мм |
36 |
Защитный фартук из оцинкованной стали |
|
17 |
Слив оконного блока |
37 |
Гнутый уголок 100×100×2 мм |
|
18 |
Оконный блок |
38 |
Слив цоколя |
|
19 |
Кронштейн рядовой |
39 |
Гидроизоляция |
|
20 |
Стыковочный профиль |
40 |
Отмостка |

СХЕМА №1.
Раскладка плит теплоизоляции, размещения кляммеров и дюбелей

1 - Направляющая из Т-образного профиля; 2 - Направляющая из Г-образного профиля; 3 - Кляммер К-1; 4 - Плитка керамогранитная; 5 - Кляммер К-2; 6 - Минераловатная плита «ТЕХНО ВЕНТ», «ТЕХНО ВЕНТ+ (ТУ 5762-016-17925162-2004); 7 - Кляммер К-3; 8 - Кляммер К-4; 9 - Кляммер К-5; 10 - Кляммер К-6; II - Дюбели и крепления теплоизоляции.
СХЕМА №2.
Крепление несущих элементов при установке оконного отлива

1 - Направляющая из Т-образного профиля; 2- Направляющая из Г-образного профиля; 12-Заклепка вытяжная нержавеющая 3,2-4,8; 16- Стальной элемент рамы обрамления оконной коробки, 6 = 0,55 мм; 34 - Отрезки Г-образного профиля! = 200-300мм.

1 - Направляющая из Т-образного профиля; 3 - Кляммер К-1;4- Плитка керамогранитная; 6- Минераловатная плита «ТЕХНО ВЕНТ», «ТЕХНО ВЕНТ+ (ТУ 5762-016-17925162-2004); 13 - Анкерный дюбель; 14 - Поронитовая прокладка; 15 - Резиновая прокладка; 19 - Кронштейн рядовой; 29 - Регулировочный винт.

1 - Направляющая из Т-образного профиля; 2 - Направляющая из Г-образного профиля; 3 - Кляммер К-1; 4 - Плитка керамогранитная; 6 - Минераловатная плита «ТЕХНО ВЕНТ», «ТЕХНО ВЕНТ+ (ТУ 5762-016-17925162-2004); 7 - Кляммер К-3; 12 - Заклепка вытяжная нержавеющая 3,2 -4,8; 13 - Анкерный дюбель; 14 - Поронитовая прокладка;15 - Резиновая прокладка; 19 - Кронштейн рядовой; 20 - Стыковочный профиль; 29 - Регулировочный винт.

2 - Направляющая из Г-образного профиля; 4 - Плитка керамогранитная; 6 - Минераловатная плита «ТЕХНО ВЕНТ», «ТЕХНО ВЕНТ+ (ТУ 5762-016-17925162-20О4); 8 - Кляммер К-4; 12 - Заклепка вытяжная нержавеющая 3,2 -4,8; 13 - Анкерный дюбель; 14 - Поронитовая прокладка; 15 - Резиновая прокладка; 18 - Оконный блок; 19 - Кронштейн рядовой; 21 - Дюбель HPS-1, «Хилти», Ø 6 или 8 мм; 22 - Главный профиль, δ = 1,5 мм; 23 - Лист оцинкованной стали 1250×50×0,7 мм с шагом 600 мм; 25 - Пленка типа «Тайвек» (TYVEK); 29 - Регулировочный винт.

2 - Направляющая из Г-образного профиля; 4 - Плитка керамогранитная; 6 - Минераловатная плита «ТЕХНО ВЕНТ», «ТЕХНО ВЕНТ + (ТУ 5762-016-17925162-2004-); 8 - Кляммер К-4; 13 - Анкерный дюбель; 14 - Поронитовая прокладка; 15 - Резиновая прокладка; 16 - Стальной элемент рамы обрамления оконной коробки, δ = 0,55 мм; 19 - Кронштейн рядовой; 21 - Дюбель HPS-1, «Хилти», Ø 6 или 8 мм; 24 - Вставка рядовая 130×100×2 мм; 25 - Пленка типа «Тайвек» (TYVEK); 31 - Тарельчатый дюбель или дюбель с шайбой.

1 - Направляющая из Т-образного профиля; 2 - Направляющая из Г-образного профиля; 4- Плитка керамогранитная;7- Кляммер К-3; 12 - Заклепка вытяжная нержавеющая 3,2 -4,8; 13 - Анкерный дюбель; 16 - Стальной элемент рамы обрамления оконной коробки, δ = 0,55 мм; 19 - Кронштейн рядовой; 21 - Дюбель HPS-1, «Хилти», Ø 6 или 8 мм; 24 - Вставка рядовая 130×100×2 мм; 25 - Пленка типа «Тайвек» (TYVEK); 27 - Зажимной профиль; 33 - Самонарезающий винт.

1 - Направляющая из Т-образного профиля; 2 - Направляющая из Г-образного профиля; 4 - Плитка керамогранитная; 6 - Минераловатная плита «ТЕХНО ВЕНТ», «ТЕХНО ВЕНТ+ (ТУ 5762-016-17925162-2004); 7 - Кляммер К-3; 12 - Заклепка вытяжная нержавеющая 3,2 - 4,8; 13 - Анкерный дюбель; 17 - Слив оконного блока; 19 - Кронштейн рядовой; 25 - Пленка типа «Тайвек» (TYVEK); 31 - Тарельчатый дюбель или дюбель с шайбой; 33 - Самонарезающий винт.

4 - Плитка керамогранитная; 6 - Минераловатная плита «ТЕХНО ВЕНТ», «ТЕХНО ВЕНТ+ (ТУ 5762-016-17925162-200Л); 12 - Заклепка вытяжная нержавеющая 3,2 -4,8; 13 - Анкерный дюбель; 14 - Поронитовая прокладка; 15 - Резиновая прокладка; 25 - Пленка типа «Тайвек» (TYVEK); 26 - Кронштейн угловой; 28 - Направляющая из Л-образного профиля; 29 - Регулировочный винт.

4- Плитка керамогранитная;6- Минераловатная плита «ТЕХНО ВЕНТ», «ТЕХНО ВЕНТ+ (ТУ 5762-016-17925162-2004); 13 - Анкерный дюбель; 19 - Кронштейн рядовой; 25 - Пленка типа «Тайвек» (TYVEK); 30 - Кляммер угловой К-7; 32 - Вставка угловая 250×250×2 мм; 35 - Клей.

2 - Направляющая из Г-образного профиля; 4 - Плитка керамогранитная; 10 - Кляммер К-6; 12 - Заклепка вытяжная нержавеющая 3,2 - 4,8; 13 - Анкерный дюбель; 19 - Кронштейн рядовой; 29 - Регулировочный винт; 35 - Клей.

1 - Направляющая из Т-образного профиля; 2 - Направляющая из Г-образного профиля; 7 - Кляммер К-3; 12 - Заклепка вытяжная нержавеющая 3,2 -4,8; 13 - Анкерный дюбель; 17 - Слив оконного блока; 19 - Кронштейн рядовой; 21 - Дюбель HPS-1, «Хилти», Ø 6 или 8 мм; 25 - Пленка типа «Тайвек» (TYVEK); 38 - Слив цоколя; 39 - Гидроизоляция; 40 - Отмостка.

1 - Направляющая из Т-образного профиля; 2 - Направляющая из Г-образного профиля; 4 - Плитка керамогранитная; 6 - Минераловатная плита «ТЕХНО ВЕНТ», «ТЕХНО ВЕНТ+ (ТУ 5762-016-17925162-2004); 7- Кляммер К-3; 12 - Заклепка вытяжная нержавеющая 3,2-4,8; 13 - Анкерный дюбель; 21 - Дюбель HPS-1, «Хилти», Ø 6 или 8 мм; 25 - Пленка типа «Тайвек» (TYVEK); 31 - Тарельчатый дюбель или дюбель с шайбой; 36 - Защитный фартук из оцинкованной стали; 37 - Гнутый уголок 100×100×2 мм.

Экспликация материалов и деталей к узлам перегородок
|
№ поз. |
Наименование |
№ поз. |
Наименование |
|
1 |
Стальной стоечный профилированный каркас ПС |
10 |
Шпаклевка по армирующей ленте |
|
2 |
Стальной направляющий профилированный каркас ПН |
11 |
Угловая армирующая лента и шпаклевка |
|
3 |
Гипсокартонный ГКЛ или гипсоволокнистый ГВЛ лист |
12 |
Вставка из минераловатной плиты «ТЕХНО ЛАЙТ» (ТУ-5762-013-17925162-2003) |
|
к |
Звукоизоляция из минераловатных плит «ТЕХНО ЛАЙТ» (ТУ 5762-013-17925162-2003) |
13 |
Профиль ПС с дополнительным деревянным бруском |
|
5 |
Лента уплотнительная марки «Изофон» (ТУ 5763-031-07925162-2005) |
U |
Гладкий стоечный профиль |
|
6 |
Дюбель |
15 |
Спаренный стоечный профиль ПС |
|
7 |
Разделительная лента |
16 |
Армированный защитный уголок с последующим шпаклеванием |
|
8 |
Шпаклевка |
17 |
Лента кромочная |
|
9 |
Самонарезающий винт |
|
|


1 - Стальной стоечный профилированный каркас ПС; 2- Стальной направляющий профилированный каркас ПН; 3- Гипсокартонный ГКЛ или гипсоволокнистый ГВЛ лист; 4 - Звукоизоляция из минераловатных плит «ТЕХНО ЛАЙТ» (ТУ 5762-013-17925162-2003); 5 - Лента уплотнительная марки «Изофон» (ТУ 5763-031-07925162-2005); 6 - Дюбель; 7- Разделительная лента; 8 - Шпаклевка; 9 - Самонарезающий винт.

1 - Стальной стоечный профилированный каркас ПС; 2 -Стальной направляющий профилированный каркас ПН; 3- Гипсокартонный ГКЛ или гипсоволокнистый ГВЛ лист; 4-Звукоизоляция из минераловатных плит «ТЕХНО ЛАЙТ» (ТУ 5762-013-17925162-2003); 9 - Самонарезающий винт; 10 - Шпаклевка по армирующей ленте;

1 - Стальной стоечный профилированный каркас ПС; 2- Стальной направляющий профилированный каркас ПН; 3- Гипсокартонный ГКЛ или гипсоволокнистый ГВЛ лист; 4 - Звукоизоляция из минераловатных плит «ТЕХНО ЛАЙТ» (ТУ 5762-013-17925162-2003); 8 - Шпаклевка; 9 - Самонарезающий винт; 11 - Угловая армирующая лента и шпаклевка.


1 - Стальной стоечный профилированный каркас ПС;2 -Стальной направляющий профилированный каркас ПН;3- Гипсокартонный ГКЛ или гипсоволокнистый ГВЛ лист; 4-Звукоизоляция из минераловатных плит «ТЕХНО ЛАЙТ» (ТУ 5762-013-17925162-2003); 5 - Лента уплотнительная марки «Изофон» (ТУ 5763-031-07925162-2005); 8 - Шпаклевка; 9 - Самонарезающий винт; 11 - Угловая армирующая лента и шпаклевка.

1 - Стальной стоечный профилированный каркас ПС; 2 - Стальной направляющий профилированный каркас ПН; 3 - Гипсокартонный ГКЛ или гипсоволокнистый ГВЛ лист; 4-Звукоизоляция из минерал оватных плит «ТЕХНО ЛАЙТ» (ТУ 5762-013-17925162-2003); 9 - Самонарезающий винт; 12- Вставка из минераловатной плиты «ТЕХНО ЛАЙТ»(ТУ-5762-013-17925162-2003); 13 - Профиль ПС с дополнительным деревянным бруском; 14- Гладкий стоечный профиль; 15 - Спаренный стоечный профиль ПС.

1 - Стальной стоечный профилированный каркас ПС; 2 -Стальной направляющий профилированный каркас ПН; 3- Гипсокартонный ГКЛ или гипсоволокнистый ГВЛ лист; 9 - Самонарезающий винт; 12- Вставка из минераловатной плиты «ТЕХНО ЛАЙТ» (ТУ-5762-013-17925162-2003); 13 - Профиль ПС с дополнительным деревянным бруском; 14 - Гладкий стоечный профиль.

1 - Стальной стоечный профилированный каркас ПС; 2- Стальной направляющий профилированный каркас ПН; 3- Гипсокартонный ГКЛ или гипсоволокнистый ГВЛ лист; 4 - Звукоизоляция из минераловатных плит «ТЕХНО ЛАЙТ» (ТУ 5762-013-17925162-2003); 8 - Шпаклевка; 9 - Самонарезающий винт; 11 - Угловая армирующая лента и шпаклевка; 16 – Армированный защитный уголок с последующим шпаклеванием.

1 - Стальной стоечный профилированный каркас ПС; 2- Стальной направляющий профилированный каркас ПН; 3- Гипсокартонный ГКЛ или гипсоволокнистый ГВЛ лист; 4 - Звукоизоляция из минераловатных плит «ТЕХНО ЛАЙТ» (ТУ 5762-013-17925162-2003); 8 - Шпаклевка; 9 - Самонарезающий винт; 11 - Угловая армирующая лента и шпаклевка; 16 – Армированный защитный уголок с последующим шпаклеванием.


1 - Стальной стоечный профилированный каркас ПС; 2- Стальной направляющий профилированный каркас ПН; 3- Гипсокартонный ГКЛ или гипсоволокнистый ГВЛ лист; 4 - Звукоизоляция из минераловатных плит «ТЕХНО ЛАЙТ» (ТУ 5762-013-17925162-2003); 5 - Лента уплотнительная марки «Изофон» (ТУ 5763-031-07925162-2005); 6 - Дюбель; 7 - Разделительная лента; 8 - Шпаклевка; 9 - Самонарезающий винт; 17 - Лента кромочная.
Таблица Технические характеристики перегородок на металлическом каркасе
|
Тип перегородок |
Эскиз |
Максимальная высота перегородки, м |
Толщина перегородки D, мм |
Толщина одного слоя обшивки d, мм |
Шаг стоечных профилей а, мм |
Тип элементов каркаса |
Индекс изоляции воздушного шума 1в,дБ |
Характеристики звукоизоляционного слоя |
||
|
тип направляющего профиля |
тип стоечного профиля |
плотность, кг/м3 |
толщина, мм |
|||||||
|
С металлическим каркасом и однослойной обшивкой |
|
2,5 |
70 |
10 |
600 |
ПС 50/40 |
ПС 50/50 |
45 |
40 |
50 |
|
3,0 |
75 |
12,5 |
46 |
|||||||
|
3,0 |
70 |
10 |
400 |
45 |
||||||
|
4,0 |
75 |
12,5 |
46 |
|||||||
|
4,0 |
70 |
10 |
300 |
47 |
||||||
|
5,0 |
75 |
12,5 |
48 |
|||||||
|
4,5 |
95 |
10 |
600 |
ПН 75/40 |
ПС 75/50 |
47 |
40 |
50 |
||
|
100 |
12,5 |
48 |
||||||||
|
6,0 |
95 |
10 |
400 |
48 |
40 |
50 |
||||
|
100 |
12,5 |
49 |
||||||||
|
7,0 |
95 |
10 |
300 |
48 |
||||||
|
100 |
12,5 |
49 |
||||||||
|
5,0 |
120 |
10 |
600 |
ПН 100/40 |
ПС 100/50 |
48 |
40 |
50 |
||
|
125 |
12,5 |
49 |
||||||||
|
6,5 |
120 |
10 |
400 |
48 |
||||||
|
125 |
12,5 |
49 |
||||||||
|
8,0 |
120 |
10 |
300 |
48 |
40 |
50 |
||||
|
125 |
12,5 |
49 |
||||||||
Технические характеристики перегородок на металлическом каркасе
|
Тип перегородок |
Эскиз |
Максимальная высота перегородки, м |
Толщина перегородки D, мм |
Толщина одного слоя обшивки d, мм |
Шаг стоечных профилей а, мм |
Тип элементов каркаса |
Индекс изоляции воздушного шума 1в,дБ |
Характеристики звукоизоляционного слоя |
||
|
тип направляющего профиля |
тип стоечного профиля |
плотность, кг/м3 |
толщина, мм |
|||||||
|
С металлическим каркасом и двухслойной обшивкой |
|
4,0 |
90 |
2×10 |
600 |
ПС 50/40 |
ПС 50/50 |
48 |
40 |
50 |
|
100 |
2×12,5 |
49 |
||||||||
|
5,0 |
90 |
2×10 |
400 |
48 |
||||||
|
100 |
2×12,5 |
49 |
||||||||
|
6,0 |
90 |
2×10 |
300 |
48 |
||||||
|
100 |
2×12,5 |
49 |
||||||||
|
5,5 |
115 |
2×10 |
600 |
ПН 75/40 |
ПС 75/50 |
50 |
40 |
50 |
||
|
125 |
2×12,5 |
52 |
||||||||
|
6,5 |
115 |
2×10 |
400 |
50 |
40 |
50 |
||||
|
125 |
2×12,5 |
52 |
||||||||
|
7,5 |
115 |
2×10 |
300 |
50 |
||||||
|
125 |
2×12,5 |
52 |
||||||||
|
6,5 |
140 |
2×10 |
600 |
ПН 100/40 |
ПС 100/50 |
50 |
40 |
50 |
||
|
150 |
2×12,5 |
52 |
||||||||
|
7,5 |
140 |
2×10 |
400 |
50 |
||||||
|
150 |
2×12,5 |
52 |
||||||||
|
9,0 |
150 |
2×12,5 |
300 |
52 |
||||||

Экспликация материалов и деталей к узлам перегородок с деревянным каркасом
|
№ поз. |
Наименование |
№ поз. |
Наименование |
|
1 |
Деревянный брусок 60×50 мм |
8 |
Шпаклевка |
|
2 |
Гвоздь оцинкованный, шаг 500 мм |
9 |
Шуруп |
|
3 |
Гипсокартонный ГКЛ или гипсоволокнистый ГВЛ лист |
10 |
Шпаклевка по армирующей ленте |
|
4 |
Звукоизоляция из минераловатных плит «ТЕХНО ЛАИТ» (ТУ 5762-013-17925162-2003) |
11 |
Угловая армирующая лента и шпаклевка |
|
5 |
Лента уплотнительная марки «Изофон» (ТУ 5763-031-07925162-2005) |
12 |
Вставка из минераловатной плиты «ТЕХНО ЛАЙТ» (ТУ-5762-013-17925162-2003) |
|
6 |
Винт с пластмассовым дюбелем с шагом 500 мм |
13 |
Армированный защитный уголок с последующим шпаклеванием |
|
7 |
Разделительная лента |
14 |
Лента кромочная |


1 - Деревянный брусок 60×50 мм; 3 - Гипсокартонный ГКЛ или гипсоволокнистый ГВЛ лист; 4 - Звукоизоляция из минераловатных плит «ТЕХНО ЛАЙТ» (ТУ 5762-013-17925162-2003); 5-Лента уплотнительная марки «Изофон» (ТУ 5763-031-07925162-2005); 6 - Винте пластмассовым дюбелем с шагом 500 мм; 7 - Разделительная лента; 8 - Шпаклевка; 9 - Шуруп.


1 - Деревянный брусок 60×50 мм; 3 - Гипсокартонный ГКЛ или гипсоволокнистый ГВЛ лист; 4 - Звукоизоляция из минераловатных плит «ТЕХНО ЛАЙТ» (ТУ 5762-013-17925162-2003); 9- Шуруп; 10 - Шпаклевка по армирующей ленте.

1 - Деревянный брусок 60×50 мм; 2 - Гвоздь оцинкованный, шаг 500 мм; 3 - Гипсокартонный ГКЛ или гипсоволокнистый ГВЛ лист; 4 - Звукоизоляция из минераловатных плит «ТЕХНО ЛАЙТ» (ТУ 5762-013-17925162-2003); 8 - Шпаклевка; 9 - Шуруп; 11 - Угловая армирующая лента и шпаклевка.


1 - Деревянный брусок 60×50 мм; 2 - Гвоздь оцинкованный, шаг 500 мм; 3 - Гипсокартонный ГКЛ или гипсоволокнистый ГВЛ лист; 4 - Звукоизоляция из минераловатных плит «ТЕХНО ЛАЙТ» (ТУ 5762-013-17925162-2003); 5-Лента уплотнительная марки «Изофон» (ТУ 5763-031-07925162-2005); 8 - Шпаклевка; 9 - Шуруп; 11 - Угловая армирующая лента и шпаклевка


1 - Деревянный брусок 60×50 мм; 9 - Шуруп; 3 - Гипсокартонный ГКЛ или гипсоволокнистый ГВЛ лист; 4 - Звукоизоляция из минераловатных плит «ТЕХНО ЛАЙТ» (ТУ 5762-013-17925162-2003); 12- Вставка из минераловатной плиты «ТЕХНО ЛАЙТ» (ТУ-5762-013-17925162-2003).


1 - Деревянный брусок 60×50 мм; 2 - Гвоздь оцинкованный, шаг 500 мм; 3 - Гипсокартонный ГКЛ или гипсоволокнистый ГВЛ лист; 4 - Звукоизоляция из минераловатных плит «ТЕХНО ЛАЙТ» (ТУ 5762-013-17925162-2003); 8 - Шпаклевка; 9 - Шуруп; 11 - Угловая армирующая лента и шпаклевка; 12- Вставка из минераловатной плиты «ТЕХНО ЛАЙТ» (ТУ-5762-013-17925162-2003); 13 – Армированный защитный уголок с последующим шпаклеванием.

1 - Деревянный брусок 60×50 мм; 2 - Гвоздь оцинкованный, шаг 500 мм; 3 - Гипсокартонный ГКЛ или гипсоволокнистый ГВЛ лист; 4 - Звукоизоляция из минераловатных плит «ТЕХНО ЛАЙТ» (ТУ 5762-013-17925162-2003); 8 - Шпаклевка; 9 - Шуруп; 11 - Угловая армирующая лента и шпаклевка. 12- Вставка из минераловатной плиты «ТЕХНО ЛАЙТ» (ТУ-5762-013-17925162-2003); 13 – Армированный защитный уголок с последующим шпаклеванием.


1 - Деревянный брусок 60×50 мм; 4 - Звукоизоляция из минераловатных плит «ТЕХНО ЛАЙТ» (ТУ 5762-013-17925162-2003); 5-Лента уплотнительная марки «Изофон» (ТУ 5763-031-07925162-2005); 6 - Винте пластмассовым дюбелем с шагом 500 мм; 8 - Шпаклевка; 9 – Шуруп; 14 – Лента кромочная.
Таблица
Технические характеристики перегородок на деревянном каркасе
|
Тип перегородок |
Эскиз |
Максимальная высота перегородки, м |
Толщина перегородки D, мм |
Толщина одного слоя обшивки d, мм |
Шаг стоечных профилей а, мм |
Тип элементов каркаса |
Индекс изоляции воздушного шума 1в,дБ |
Характеристики звукоизоляционного слоя |
|||
|
тип направляющего профиля |
тип стоечного профиля |
плотность, кг/м3 |
толщина, мм |
||||||||
|
С деревянным каркасом |
С однослойной обшивкой |
|
3,1 |
80 |
10 |
600 |
60×40 |
60×50 |
45 |
40 |
50 |
|
85 |
12,5 |
600 |
45 |
50 |
|||||||
|
С двухслойной обшивкой |
|
3,1 |
100 |
2×10 |
600 |
60×40 |
60×50 |
53 |
40 |
50 |
|
|
110 |
2×12,5 |
600 |
53 |
50 |
|||||||

Экспликация материалов и деталей к узлам чердачных перекрытий
|
№ поз. |
Наименование |
№ поз. |
Наименование |
|
1 |
Железобетонная плита перекрытия |
6 |
Выравнивающая стяжка |
|
2 |
Пароизоляция (см. п. 8.2) |
7 |
Деревянная балка перекрытия |
|
3 |
Слой пергамина |
8 |
Деревянный щит |
|
4 |
Минераловатные плиты «ТЕХНО ФЛОР», «ТЕХНО ФЛ0Р+» (ТУ 5762-038-17925162-2005) |
9 |
Цементно-стружечная плита, δ = 20 мм |
|
4' |
Минераловатные плиты «ТЕХНО ЛАЙТ» (ТУ 5762-013-17925162-2003) |
||
|
5 |
Армированная цементно-песчаная стяжка |
10 |
Штукатурка |


1 - Железобетонная плита перекрытия; 2 - Пароизоляция (см. п. 8.2); 3 - Слой пергамина; 4 - Минераловатные плиты «ТЕХНО ФЛОР», «ТЕХНО ФЛОР+» (ТУ 5762-038-17925162-2005); 5 - Армированная цементно-песчаная стяжка; 6 - Выравнивающая стяжка.

2- Пароизоляция (см. п. 8.2); 4 - Минераловатные плиты «ТЕХНО ФЛОР», «ТЕХНО ФЛОР+» (ТУ 5762-038-17925162-2005); 7 - Деревянная балка перекрытия; 8 - Деревянный щит; 9 - Цементно-стружечная плита, δ = 20 мм; 10 - Штукатурка.


Экспликация материалов и деталей к узлам полов
|
№ поз. |
Наименование |
№ поз. |
Наименование |
|
1 |
Дощатое покрытие пола |
7 |
Мозаично-бетонное покрытие пола |
|
2 |
Гвозди |
8 |
Звукоизоляция из минераловатных плит «ТЕХНО ФЛОР+» (ТУ 5762-038-17925162-2005) |
|
3 |
Лага |
9 |
Покрытие пола паркетное |
|
4 |
Звукоизоляция из минераловатных плит «ТЕХНО ЛАЙТ» (ТУ 5762-013-17925162-2003) |
10 |
Сборная стяжка из ГВЛ |
|
5 |
Железобетонное перекрытие |
11 |
Пароизоляция (см. п. 8.2] |
|
6 |
Гидроизоляция из наплавляемых рулонных материалов (см. п. 8.2) |
12 |
Звукоизоляционная лента «Изофон» (ТУ 5763-031-17925162-2005) |



1 - Дощатое покрытие пола; 2 - Гвозди; 3 - Лага; 4 - Звукоизоляция из минераловатных плит «ТЕХНО ЛАЙТ» (ТУ 5762-013-17925162-2003); 5 - Железобетонное перекрытие; 6 - Гидроизоляция из наплавляемых рулонных материалов (см. п. 8.2); 7- Мозаично-бетонное покрытие пола; 8- Звукоизоляция из минераловатных плит «ТЕХНО ФЛОР+» (ТУ 5762-038-17925162-2005); 9- Покрытие пола паркетное; 10 -Сборная стяжка из ГВЛ; 11 -Пароизоляция (см. п. 8.2);12-Звукоизоляционная лента «Изофон» (ТУ 5763-031-17925162-2005).

Экспликация материалов и деталей к узлам ограждающих конструкций мансард
|
№ поз. |
Наименование |
№ поз. |
Наименование |
|
1 |
Гипсокартонный лист (2 слоя) |
28 |
Разжелобок |
|
2 |
Стропила стальные |
29 |
Дымовая труба |
|
3 |
Стропила деревянные |
30 |
Металлическая планка |
|
4 |
Кровля из гибкой («ШИНГЛАС») или композитной черепицы («ЛЮКСАРД») |
31 |
Ендовный ковер |
|
4' |
Подкладочный ковер |
||
|
5 |
Контробрешетка |
32 |
Треугольная рейка |
|
6 |
Сплошной настил из обрезной доски, влагостойкой фанеры или плит ОSВ |
33 |
Капельник |
|
7 |
Стальной профлист |
34 |
Крюк водостока |
|
8 |
Деревянный брусок 40×30 мм |
35 |
Подшивка вагонкой |
|
9 |
Деревянный брусок 60×40 мм |
36 |
Каркас из досок |
|
10 |
Вкладыш из гипсокартона |
37 |
Стена |
|
11 |
Ветрозащитная диффузионная пленка типа «Тайвек» (TYVEK) |
38 |
Дополнительная теплоизоляция по периметру наружной стены |
|
12 |
Пароизоляция |
39 |
Чердачное перекрытие |
|
13 |
Минераловатная плита «ТЕХНО ЛАЙТ» |
40 |
Гибкие связи |
|
14 |
Вентилируемая воздушная прослойка |
41 |
Анкер стропила |
|
15 |
Защитная перфорированная металлизированная лента |
42 |
Мауэрлат |
|
16 |
Битумно-полимерная мастика |
43 |
Гидроизоляция |
|
17 |
Оконный оклад "VELUХ" |
44 |
Кобылка |
|
18 |
Вентиляционное отверстие |
45 |
Защитно-декоративная стенка |
|
19 |
Точечный коньковый аэратор |
46 |
Минераловатная плита марки «ТЕХНО РУФ» |
|
20 |
Щипцовое окно с решеткой |
47 |
Цементно-песчаная стяжка или деревянные ходовые дорожки |
|
21 |
Затяжка |
48 |
Пергамин |
|
22 |
Вентиляционное отверстие (шаг 500 мм) |
49 |
Кирпичная кладка |
|
23 |
Сплошной коньковый аэратор |
50 |
Блоки |
|
24 |
Кровельный низкий вентилятор скатного типа |
51 |
Фиксаторы |
|
25 |
Кровельный высокий вентилятор скатного типа |
52 |
Обшивка вагонкой |
|
26 |
Штукатурка |
|
|
|
27 |
Герметик |
|
|

1 - Гипсокартонныи лист (2 слоя); 2 - Стропила стальные; 3 - Стропила деревянные; 4 - Кровля из гибкой («ШИНГЛАС») или из композитной черепицы ([«ЛЮКСАРД»); 5- Контробрешетка; 6 - Сплошной настил из обрезной доски, влагостойкой фанеры или плитОБВ;7- Стальной профлист; 8-Деревянный брусок 40×30 мм; 9 - Деревянный брусок 60×40 мм; 10 - Вкладыш из гипсокартона; 11 - Ветрозащитная диффузионная пленка типа «Тайвек» (TYVEK); 12 - Пароизоляция; 13 - Минераловатная плита «ТЕХНО ЛАЙТ»; 14 - Вентилируемая воздушная прослойка; 15 - Защитная перфорированная металлизированная лента.


1 - Гипсокартонный лист (2 слоя); 2 - Стропила стальные; 3 - Стропила деревянные; 4 - Кровля из гибкой («ШИНГЛАС») или из композитной черепицы («ЛЮКСАРД»); 4' - Подкладочный ковер; 5 - Контробрешетка; 6 - Сплошной настил из обрезной доски, влагостойкой фанеры или плит OSB; 7 - Стальной профлист; 9 - Деревянный брусок 60×40 мм; 11 - Ветрозащитная диффузионная пленка типа «Тайвек» (TYVEK); 12 - Пароизоляция; 13 - Минераловатная плита «ТЕХНО ЛАЙТ»; 14 - Вентилируемая воздушная прослойка; 19 - Точечный коньковый аэратор; 20 - Щипцовое окно с решеткой; 21 - Затяжка.


1 - Гипсокартонныи лист (2 слоя);3 - Стропила деревянные; 4- Кровля из гибкой («ШИНГЛАС») или из композитной черепицы («ЛЮКСАРД»); 4’ - Подкладочный ковер; 9 - Деревянный брусок 60×40 мм; 11 - Ветрозащитная диффузионная пленка типа «Тайвек» (TYVEK); 12 - Пароизоляция; 13 - Минераловатная плита «ТЕХНО ЛАЙТ»; 14 - Вентилируемая воздушная прослойка; 21 - Затяжка; 22 - Вентиляционное отверстие (шаг 500 мм); 23 - Сплошной коньковый аэратор; 24 - Кровельный низкий вентилятор скатного типа; 25 - Кровельный высокий вентилятор скатного типа.


1 - Гипсокартонный лист (2 слоя); 3 - Стропила деревянные; 4- Кровля из гибкой («ШИНГЛАС») или из композитной черепицы («ЛЮКСАРД»); 4'- Подкладочный ковер; 6 - Сплошной настил из обрезной доски, влагостойкой фанеры или плит OSB; 11 - Ветрозащитная диффузионная пленка типа «Тайвек» (TYVEK); 12- Пароизоляция; 13 - Минераловатная плита «ТЕХНО ЛАЙТ»; 14 - Вентилируемая воздушная прослойка; 22 - Вентиляционное отверстие |шаг500 мм); 26- Штукатурка; 27- Герметик;28- Разжелобок; 29 - Дымовая труба; 30 - Металлическая планка; 31 - Ендовный ковер; 32 - Треугольная рейка; 33 - Капельник; 34 - Крюк водостока; 35 - Подшивка вагонкой; 36 - Каркас из досок; 37 - Стена; 38 - Дополнительная теплоизоляция по периметру наружной стены; 39 - Чердачное перекрытие; 42 - Мауэрлат; 43 - Гидроизоляция; 46 - Минераловатная плита марки «ТЕХНО РУФ»; 47 - Цементно-песчаная стяжка или деревянные ходовые дорожки; 48 - Пергамин.

1 - Гипсокартонный лист (2 слоя); 4 - Кровля из гибкой («ШИНГЛАС») или из композитной черепицы («ЛЮКСАРД»); 4' - Подкладочный ковер; 6 - Сплошной настил из обрезной доски, влагостойкой фанеры или плит OSB; 9 - Деревянный брусок 60×40 мм; 11 - Ветрозащитная диффузионная пленка типа «Тайвек» [TYVEK); 12- Пароизоляция; 13 - Минераловатная плита «ТЕХНО ЛАЙТ»; 14 - Вентилируемая воздушная прослойка; 22 - Вентиляционное отверстие (шаг 500 мм); 26 - Штукатурка; 33 - Капельник; 34 - Крюк водостока; 35 - Подшивка вагонкой; 36 - Каркас из досок; 37 - Стена; 40 - Гибкие связи; 41 - Анкер стропила; 42 - Мауэрлат; 43 - Гидроизоляция; 49 - Кирпичная кладка.

1 - Гипсокартонный лист (2 слоя); 4 - Кровля из гибкой («ШИНГЛАС») или из композитной черепицы («ЛЮКСАРД»); 4' - Подкладочный ковер; 5 - Контробрешетка; 6 - Сплошной настил из обрезной доски, влагостойкой фанеры или плит OSB; 9 - Деревянный брусок 60×40 мм; 11 - Ветрозащитная диффузионная пленка типа «Тайвек» (TYVEK); 12 - Пароизоляция; 13 - Минераловатная плита «ТЕХНО ЛАЙТ»; 14 - Вентилируемая воздушная прослойка; 26 - Штукатурка; 33 - Капельник; 35 - Подшивка вагонкой; 36 - Каркас из досок; 40 - Гибкие связи; 41 - Анкер стропила; 42 - Мауэрлат; 43 - Гидроизоляция; 44 - Кобылка; 49 - Кирпичная кладка; 50 - Блоки.

1 - Гипсокартонный лист (2 слоя); 4 - Кровля из гибкой («ШИНГЛАС») или из композитной черепицы («ЛЮКСАРД»); 4' - Подкладочный ковер; 5 - Контробрешетка; 6 - Сплошной настил из обрезной доски, влагостойкой фанеры или плит OSB; 9 - Деревянный брусок 60×40 мм; 11 - Ветрозащитная диффузионная пленка типа «Тайвек» (TYVEK); 12 - Пароизоляция; 13 - Минераловатная плита «ТЕХНО ЛАЙТ»; 14 - Вентилируемая воздушная прослойка; 26 - Штукатурка; 33 - Капельник; 35 - Подшивка вагонкой; 36 - Каркас из досок; 40 - Гибкие связи; 41 - Анкер стропила; 42 - Мауэрлат; 43 - Гидроизоляция; 44 - Кобылка; 49 - Кирпичная кладка.

1 - Гипсокартонный лист (2 слоя); 4 - Кровля из гибкой («ШИНГЛАС») или из композитной черепицы («ЛЮКСАРД»); 4' - Подкладочный ковер; 6 - Сплошной настил из обрезной доски, влагостойкой фанеры или плит OSB; 11 - Ветрозащитная диффузионная пленка типа «Тайвек» (TYVEK); 12 - Пароизоляция; 13 - Минераловатная плита «ТЕХНО ЛАЙТ»; 18 - Вентиляционное отверстие; 35 - Подшивка вагонкой; 44 - Кобылка; 51 - Фиксаторы.

Экспликация материалов и деталей к узлам покрытия с железобетонным основанием
|
№ поз. |
Наименование |
№ поз. |
Наименование |
|
1 |
Несущая железобетонная плита |
13 |
Бетонные плитки на растворе или пластиковых подставках |
|
2 |
Выравнивающая затирка цементно-песчаным раствором марки 50 толщиной до 15 мм или уклонообразующий слой из легкого бетона |
14 |
Цементно-песчаный раствор |
|
3 |
Грунтовка раствором битума в керосине (1:3) и пароизоляционный слой (по расчету) |
15 |
Почвенный слой |
|
4 |
Плиты теплоизоляционные с прочностью на сжатие не менее 0,05 МПа марки «ТЕХНО РУФ» |
16 |
Геотекстиль |
|
5 |
То же, с прочностью 0,07 МПа марки «ТЕХНО РУФ В» |
17 |
Геодренажная полимерная мембрана |
|
5а |
То же, с прочностью 0,035 МПа марки «ТЕХНО РУФ Н» |
18 |
Парапет |
|
6 |
Основной водоизоляционный ковер из полимерной пленки Loqicroof или «ТЕХНОЭЛАСТ СОЛО» |
19 |
Уплотнитель типа «Вилатерм» по ТУ 2291-002-05794463-97 |
|
6а |
То же, из 2-х слоев наплавляемых битумно-полимерных рулонных материалов: нижний марки «ТЕХНОЭЛАСТ ФИКС» и верхний марки «ТЕХНОЭЛАСТ» |
20 |
Легкий бетон класса В7,5 на пористых заполнителях |
|
66 |
Основной водоизоляционный ковер из двух слоев наплавляемых рулонных материалов (см. п. 8.2) |
21 |
Бортик из теплоизоляционных плит или легкого бетона |
|
7 |
Защитный слой (посыпка на верхнем слое рулонного материала) |
22 |
Дополнительные слои ковра (усиление примыкания кровли к парапету) |
|
8 |
Механическое крепление |
23 |
Сварной шов в кровле из полимерной пленки |
|
9 |
Точечная приклейка теплоизоляционных плит мастикой «Эврика» (ТУ 5775-010-17925162-2003) |
24 |
Слой рулонного материала (усиление кровли в ендове) |
|
9а |
Грунтовка мастикой «Эврика» |
25 |
Костыль из стальной полосы 4×40 мм |
|
96 |
Полоса наплавляемого рулонного материала |
26 |
Дюбель ДГ З,7×70 Ц6 |
|
10 |
Прокладочный слой (пергамин по ГОСТ 2697-83) |
27 |
Защитный фартук из оцинкованной стали толщиной 0,8 мм |
|
11 |
Выравнивающая стяжка из цементно-песчаного раствора, в т.ч. армированная (по расчету) |
28 |
Ограждение |
|
11а |
Сборная стяжка из асбестоцементных листов или цементно-стружечных плит |
29 |
Приклейка мастикой «Эврика» |
|
12 |
Пригрузочный слой из гравия |
30 |
Стена |
|
№ поз. |
Наименование |
№ поз. |
Наименование |
|
31 |
Герметик полимерный (в кровле из полимерной пленки) |
41 |
Дополнительный слой вокруг воронки; трубы; анкера |
|
31а |
Герметик - мастика |
42 |
Компенсатор из оцинкованной стали толщиной 1,0 мм |
|
32 |
Приклейка по кромкам |
43 |
Стена деформационного шва (бетон, кирпичная кладка) |
|
32а |
Механическое крепление по кромкам |
44 |
Дополнительная пароизоляция |
|
33 |
Усиление кровли в коньке |
45 |
Минеральная плита «ТЕХНО ЛАЙТ» |
|
34 |
Патрубок с фланцем |
46 |
Стальная полоса 4×40 мм |
|
35 |
Хомут |
47 |
Рамка из уголка 30×30 мм |
|
36 |
Местное понижение воронки |
48 |
Анкер |
|
37 |
Колпак воронки |
49 |
Стальная шайба 100×100×5 мм |
|
38 |
Прижимной фланец |
50 |
Парапетная плита |
|
39 |
Минеральная вата |
51 |
Стальной стакан с фланцем |
|
40 |
Подливка цементно-песчаным раствором |
52 |
Труба |
А. Однослойная кровля из полимерной пленки "Logicroof" или из битумно-полимерного рулонного материала "Техноэласт СОЛО" с механическим креплением их и утеплителя (неэксплуатируемая).

Б. Двухслойная кровля из наплавляемых битумно-полимерных рулонных материалов с механическим креплением нижнего слоя "Техноэласт ФИКС" и утеплителя (неэксплуатируемая)

1 - Несущая железобетонная плита; 2 - Выравнивающая затирка цементно-песчаным раствором марки 50 толщиной до 15 мм или уклонообразующий слой из легкого бетона; 3 - Грунтовка раствором битума в керосине (1:3) и пароизоляционный слой (по расчету); 4 - Плиты теплоизоляционные с прочностью на сжатие не менее 0,05 МПа марки «ТЕХНО РУФ»; 5 - Тоже, с прочностью 0,07 МПа марки «ТЕХНО РУФ В»; 5а - То же, с прочностью 0,035 МПа марки «ТЕХНО РУФ Н»; 6 - Основной водоизоляционный ковер из полимерной пленки Loqicroof или «ТЕХНОЭЛАСТ СОЛО»; 6а - Тоже, из 2-х слоев наплавляемых битум но-пол и мерных рулонных материалов: нижний марки «ТЕХНОЭЛАСТ ФИКС» и верхний марки «ТЕХНОЭЛАСТ»; 8 - Механическое крепление; 23 - Сварной шов в кровле из полимерной пленки; 31 - Герметик полимерный (в кровле из полимерной пленки).
В. Кровля с приклейкой наплавляемых битумно-полимерных рулонных материалов

Г. Кровля с пригрузом, в т.ч. эксплуатируемая

1 - Несущая железобетонная плита; 2 - Выравнивающая затирка цементно-песчаным раствором марки 50 толщиной до 15 мм или уклонообразующий слой из легкого бетона; 3 - Грунтовка раствором битума в керосине (1:3) и пароизоляционный слой (по расчету); 4 - Плиты теплоизоляционные с прочностью на сжатие не менее 0,05 МПа марки «ТЕХНО РУФ»;5 - Тоже, с прочностью 0,07 МПа марки «ТЕХНО РУФ В»; 5а - То же, с прочностью 0,035 МПа марки «ТЕХНО РУФ Н»; 6 - Основной водоизоляционный ковер из полимерной пленки Loqicroof или «ТЕХНОЭЛАСТ СОЛО»; 66 - Основной водоизоляционный ковер из двух слоев наплавляемых рулонных материалов (см. п. 8.2); 7 - Защитный слой (посыпка на верхнем слое рулонного матер нала); 9-Точечная при клейка тепло изоляционных плит мастикой «Эврика» (ТУ 5775-010-17925162-2003); 9а - Грунтовка мастикой «Эврика»; 96 - Полоса наплавляемого рулонного материала; 10 - Прокладочный слой (пергамин по ГОСТ 2697-83); 11 - Выравнивающая стяжка из цементно-песчаного раствора, в т.ч. армированная (по расчету); 11а - Сборная стяжка из асбестоцементных листов или цементно-стружечных плит; 12 - Пригрузочный слой из гравия; 13 - Бетонные плитки на растворе или пластиковых подставках; 14 - Цементно-песчаный раствор; 15 - Почвенный слой; 16 - Геотекстиль; 17 - Геодренажная полимерная мембрана; 26 - Дюбель ДГЗ,7×70 Ц6.
СХЕМА МАРКИРОВКИ УЗЛОВ



18 - Парапет; 19 - Уплотнитель типа «Вилатерм» по ТУ 2291-002-05794463-97; 20 - Легкий бетон класса В7,5 на пористых заполнителях; 21 - Бортик из теплоизоляционных плит или легкого бетона; 22 - Дополнительные слои ковра (усиление примыкания кровли к парапету); 23 - Сварной шов в кровле из полимерной пленки; 24 - Слой рулонного материала (усиление кровли в ендове); 25 - Костыль из стальной полосы 4×40 мм; 26 - Дюбель ДГЗ,7×70 Ц6; 27 - Защитный фартук из оцинкованной стали толщиной 0,8 мм; 28 - Ограждение; 29 - Приклейка мастикой «Эврика»; 31 - Герметик полимерный (в кровле из полимерной пленки); 32 - Приклейка по кромкам; 32а - Механическое крепление по кромкам.

Узел "Д" для покрытия 13.1 Б

6 - Основной водоизоляционный ковер из полимерной пленки Loqicroof или «ТЕХН0ЭЛАСТ СОЛО»; 6а - Тоже, из 2-х слоев наплавляемых битумно-полимерных рулонных материалов: нижний марки «ТЕХНОЭЛАСТ ФИКС» и верхний марки «ТЕХН0ЭЛАСТ»; 8- Механическое крепление; 18- Парапет; 19 - Уплотнитель типа «Вилатерм» по ТУ 2291 -002-05794463-97; 20 - Легкий бетон класса В7,5 на пористых заполнителях; 22 - Дополнительные слои ковра (усиление примыкания кровли к парапету); 23 - Сварной шов в кровле из полимерной пленки; 24 - Слой рулонного материала (усиление кровли в ендове); 26 - Дюбель ДГЗ,7×70 Ц6; 27- Защитный фартук из оцинкованной стали толщиной 0,8 мм; 28 - Ограждение; 31 - Герметик полимерный (в кровле из полимерной пленки); 32 - Приклейка по кромкам; 32а - Механическое крепление по кромкам.

Узел "Д" для покрытия 13.1 Б

6 - Основной водоизоляционный ковер из полимерной пленки Loqicroof или «ТЕХН0ЭЛАСТ СОЛО»; 6а - Тоже, из 2-х слоев наплавляемых битумно-полимерных рулонных материалов: нижний марки «ТЕХНОЭЛАСТ ФИКС» и верхний марки «ТЕХНОЭЛАСТ»; 8 - Механическое крепление; 19 - Уплотнительтипа «Вилатерм» по ТУ 2291-002-05794463-97; 20 - Легкий бетон класса В7,5 на пористых заполнителях; 21 - Бортик из теплоизоляционных плит или легкого бетона; 22 - Дополнительные слои ковра (усиление примыкания кровли к парапету); 23 - Сварной шов в кровле из полимерной пленки; 24 - Слой рулонного материала (усиление кровли в ендове); 26 - Дюбель ДГЗ, 7×70 Ц6; 27 - Защитный фартук из оцинкованной стали толщиной 0,8 мм; 30 - Стена ; 31а - Герметик-мастика ; 32 - Приклейка по кромкам.


13 - Бетонные плитки на растворе или пластиковых подставках; 20 - Легкий бетон класса В7,5 на пористых заполнителях; 24 - Слой рулонного материала (усиление кровли в ендове); 32 - Приклейка по кромкам; 32а - Механическое крепление по кромкам; 33 - Усиление кровли в коньке.

19 - Уплотнитель типа «Вилатерм» по ТУ 2291-002-05794463-97; 20 - Легкий бетон класса В7,5 на пористых заполнителях; 22 - Дополнительные слои ковра (усиление примыкания кровли к парапету); 24 - Слой рулонного материала (усиление кровли в ендове); 29 - Приклейка мастикой «Эврика»; 30 - Стена; 31а - Герметик-мастика; 34- Патрубок с фланцем; 35 -Хомут; 36- Местное понижение воронки; 37- Колпак воронки; 38- Прижимной фланец; 39- Минеральная вата; 40 - Подливка цементно-песчаным раствором.

19 - Уплотнитель типа «Вилатерм» по ТУ 2291 -002-05794463-97; 20 - Легкий бетон класса В7,5 на пористых заполнителях; 22 - Дополнительные слои ковра (усиление примыкания кровли к парапету); 24 - Слой рулонного материала (усиление кровли в ендове); 31 - Герметик полимерный (в кровле из полимерной пленки); 31а - Герметик- мастика; 32 - Приклейка по кромкам; 32а - Механическое крепление по кромкам; 34 - Патрубок с фланцем; 35 - Хомут; 36 - Местное понижение воронки; 37- Колпак воронки; 38- Прижимной фланец; 39 - Минеральная вата; 40 - Подливка цементно-песчаным раствором; 41 -Дополнительный слой вокруг воронки; трубы; анкера.

1 - Несущая железобетонная плита; 8- Механическое крепление; 21 - Бортик из теплоизоляционных плит или легкого бетона; 22 - Дополнительные слои ковра (усиление примыкания кровли к парапету); 23 - Сварной шов в кровле из полимерной пленки; 24 - Слой рулонного материала (усиление кровли в ендове); 27 - Защитный фартук из оцинкованной стали толщиной 0,8 мм; 29 - Приклейка мастикой «Эврика»; 31 - Герметик полимерный (в кровле из полимерной пленки); 31а - Герметик- мастика; 32 - Приклейка по кромкам; 42 - Компенсатор из оцинкованной стали толщиной 1,0 мм; 43 - Стена деформационного шва (бетон, кирпичная кладка); 45 - Минеральная плита «ТЕХНО ЛАЙТ»; 46 - Стальная полоса 4×40 мм.

4 - Плиты теплоизоляционные с прочностью на сжатие не менее 0,05 МПа марки «ТЕХНО РУФ»; 23 - Сварной шов в кровле из полимерной пленки; 27 - Защитный фартук из оцинкованной стали толщиной 0,8 мм; 31 - Герметик полимерный (в кровле из полимерной пленки); 31а - Герметик- мастика; 35 - Хомут; 41 - Дополнительный слой вокруг воронки; трубы; анкера; 47 - Рамка из уголка 30×30 мм; 48 - Анкер; 49 - Стальная шайба 100×100×5 мм; 51 - Стальной стакан с фланцем; 52 - Труба.

21 - Бортик из теплоизоляционных плит или легкого бетона; 22 - Дополнительные слои ковра (усиление примыкания кровли к парапету); 23 - Сварной шов в кровле из полимерной пленки; 28 - Ограждение; 29 - Приклейка мастикой «Эврика»; 31 - Герметик полимерный (в кровле из полимерной пленки); 31а - Герметик- мастика; 50 - Парапетная плита.

27 - Бортик из теплоизоляционных плит или легкого бетона; 31а - Гер мети к полимерный (в кровле из полимерной пленки); 35 - Хомут; 39 - Прижимной фланец; 47 - Рамка из уголка 30×30 мм; 51 - Стальной стакан с фланцем; 52 - Труба.

Экспликация материалов и деталей к узлам покрытия по стальному профилированному настилу с рулонной кровлей
|
№ поз. |
Наименование |
№ поз |
Наименование |
|
1 |
Стальной профнастил |
16 |
Слой рулонного материала (усиление ендовы) |
|
2 |
Пароизоляция |
17 |
Герметик полимерный (в кровлях из полимерных пленок) |
|
3 |
Плиты теплоизоляционные с прочностью на сжатие не менее 0,05 МПа марки «ТЕХНО РУФ» |
17а |
Герметик-мастика |
|
4 |
То же, с прочностью 0,035 МПа марки «ТЕХНО РУФ Н» |
18 |
Сварной шов в кровле из полимерных пленок |
|
5 |
То же, с прочностью 0,07 МПа марки «ТЕХНО РУФ В» |
19 |
Дополнительные слои рулонного материала (усиление примыкания кровли) |
|
6 |
Основной водоизоляционный ковер из полимерной пленки Loqicroof или «ТЕХНОЭЛАСТ СОЛО ЭКМ» (ТУ 5774-003-00287852-99) |
20 |
Защитный фартук из оцинкованной стали толщиной 0,8 мм |
|
6а |
То же, из 2-х слоев наплавляемого битумно-полимерного рулонного материала: |
|
|
|
|
нижний марки «ТЕХНОЭЛАСТ ФИКС» и верхний марки «ТЕХНОЭЛАСТ» |
21 |
Костыль из полосы 4×40 мм |
|
6б |
Водоизоляционный ковер из двух слоев наплавляемых рулонных материалов (см. п. 8.2 пояснительной записки) |
22 |
Ограждение |
|
7 |
Защитный слой (посыпка на верхнем слое рулонного материала) |
23 |
Дюбель ДГЗ,7×70 Ц6 |
|
8 |
Механическое крепление |
24 |
Парапет |
|
9 |
Точечная приклейка мастикой «Эврика» теплоизоляционных плит (ТУ 5775-010-17925162-2003) |
25 |
Трехслойная стеновая панель |
|
9а |
Грунтовка мастикой «Эврика» |
26 |
Дополнительный слой теплоизоляции (≥ 50 мм) |
|
9б |
Полоса наплавляемого рулонного материала |
27 |
Комплект деталей для крепления ограждения парапета |
|
10 |
Сборная стяжка из асбестоцементного листа или цементно-стружечной плиты |
28 |
Толевые гвозди |
|
11 |
Подкладка из асбестоцементного листа или цементно-стружечной плиты |
29 |
Заглушка из негорючего утеплителя |
|
12 |
Стальная гребенка |
30 |
Деревянный брус антисептированный и антипирерованный |
|
13 |
Оцинкованная сталь толщиной 0,8 мм |
31 |
Заклепка комбинированная 3К-10 |
|
14 |
Приклейка |
32 |
Винт самонарезающий В6×25 |
|
14a |
Механическое крепление |
33 |
Слой рулонного материала (усиление ковра в коньке) |
|
15 |
Бортик из теплоизоляционных плит |
34 |
Стальной поддон |
|
№ поз. |
Наименование |
№ поз. |
Наименование |
|
35 |
Патрубок с фланцем |
47 |
Болт М10×30-011 с шайбой и гайкой |
|
36 |
Стальной хомут |
48 |
Стальная пластина 220×120×10 мм |
|
37 |
Колпак воронки |
49 |
Уголок 125×80×7 |
|
38 |
Прижимной фланец |
50 |
Компенсатор из оцинкованной стали толщиной 2 мм |
|
39 |
Дополнительный слой ковра вокруг воронки |
51 |
Выкружка из оцинкованной стали толщиной 1,5 мм |
|
40 |
Местное понижение вокруг воронки |
52 |
Слой кровельного рулонного материала «насухо» (крупнозернистой посыпкой вниз) |
|
41 |
Прогон |
53 |
Труба |
|
42 |
Опорный столбик |
54 |
Стальной стакан |
|
43 |
Бортик из гнутого профиля |
55 |
Дополнительный слой рулонного материала (усиление ковра в коньке) |
|
44 |
Минеральная вата |
56 |
Цементно-песчаный раствор |
|
45 |
Компенсатор из оцинкованной стали толщиной 0,8 мм |
57 |
Шуруп |
|
46 |
Стальная полоса 4×40 мм |
|
|
А. Однослойная кровля из полимерной пленки "Logiroof" или из битумно-полимерного рулонного материала "Техноэласт СОЛО" с механическим креплением их и утеплителя

Б. Двухслойная кровля из наплавляемых битумно-полимерных рулонных материалов с механическим креплением нижнего слоя "Техноэласт ФИКС" и утеплителя

1 -Стальной профнастил; 2- Пароизоляция; 3 - Плиты теплоизоляционные с прочностью на сжатие не менее 0,05 М Па марки «ТЕХНО РУФ»; 4 - То же, с прочностью 0,035 МПа марки «ТЕХНО РУФ Н»; 5 - То же, с прочностью 0,07 МПа марки «ТЕХНО РУФ В»; 6 - Основной водоизоляционный ковер из полимерной пленки Loqicroof или «ТЕХНОЭЛАСТСОЛО ЭКМ» (ТУ 5774-003-00287852-99); 6а - Тоже, из 2х слоев наплавляемого битумно-полимерного рулонного материала: нижний марки «ТЕХНОЭЛАСТ ФИКС» и верхний марки «ТЕХНОЭЛАСТ»; 8 - Механическое крепление; 9 - Точечная приклейка мастикой «Эврика» теплоизоляционных плит (ТУ 5775-010-17925162-2003); 17 - Герметик полимерный (в кровлях из полимерных пленок); 18 - Сварной шов в кровле из полимерных пленок.
Б. Кровля с приклейкой наплавляемых битумно-полимерных рулонных материалов

Узел В. 1

1 - Стальной профнастил; 2 - Пароизоляция; 3 - Плиты теплоизоляционные с прочностью на сжатие не менее 0,05 МПа марки «ТЕХНО РУФ»; 4 - То же, с прочностью 0,035 МПа марки «ТЕХНО РУФ Н»; 5-То же, с прочностью 0,07 МПа марки «ТЕХНО РУФ В»; 66- Водоизоляционный ковер из двух слоев наплавляемых рулонных материалов (см. п. 8.2); 8 - Механическое крепление; 9 - Точечная приклейка мастикой «Эврика» теплоизоляционных плит (ТУ 5775-010-17925162-2003); 9а - Грунтовка мастикой «Эврика»; 10 - Сборная стяжка из асбестоцементного листа или цементно-стружечной плиты; 23 - Дюбель ДГ3,7х70 Ц6.
Схема маркировки узлов

1 - Стальной профнастил; 4 - То же, с прочностью 0,035 МПа марки «ТЕХНО РУФ Н»; 5 - То же, с прочностью 0,07 МПа марки «ТЕХНО РУФ В»; 6 - Основной водоизоляционный ковер из полимерной пленки Loqicroof или «ТЕХНОЭЛАСТ СОЛО ЭКМ» (ТУ 577Л-003-00287852-99); 7 - Защитный слой (посыпка на верхнем слое рулонного материала); 8 - Механическое крепление; 9 - Точечная приклейка мастикой «Эврика» теплоизоляционных плит (ТУ 5775-010-17925162-2003); 10 - Сборная стяжка из асбестоцементного листа или цементно-стружечной плиты; 11 - Подкладка из асбестоцементного листа или цементно-стружечной плиты; 12 - Стальная гребенка; 13 - Оцинкованная сталь толщиной 0,8 мм; 14 - Приклейка; 16 - Слой рулонного материала (усиление ендовы).

12 - Стальная гребенка; 13 - Оцинкованная сталь толщиной 0,8 мм; 14 - Приклейка; 15 - Бортик из теплоизоляционных плит; 16 - Слой рулонного материала (усиление ендовы); 17а - Герметик-мастика; 19 - Дополнительные слои рулонного материала (усиление примыкания кровли); 20 - Защитный фартук из оцинкованной стали толщиной 0,8 мм; 21 - Костыль из полосы 4×40 мм; 22 - Ограждение; 23 - Дюбель ДГ 3,7×70 Ц6; 24- Парапет; 29 - Заглушка из негорючего утеплителя.

Узел "Г" для покрытия 14.1 Б

6 - Основной водоизоляционный ковер из полимерной пленки Loqicroof или «ТЕХНОЭЛАСТ СОЛО ЭКМ» (ТУ 577Д-003-00287852-99); 6а - То же, из 2х слоев наплавляемого битумно-полимерного рулонного материала: нижний марки «ТЕХНОЭЛАСТ ФИКС» и верхний марки «ТЕХНОЭЛАСТ»; 8 - Механическое крепление; 12 - Стальная гребенка; 13 - Оцинкованная сталь толщиной 0,8 мм; 14 - Приклейка; 17 - Герметик полимерный (в кровлях из полимерных пленок); 17а - Герметик-мастика; 18 - Сварной шов в кровле из полимерных пленок; 19 - Дополнительные слои рулонного материала (усиление примыкания кровли); 20 - Защитный фартук из оцинкованной стали толщиной 0,8 мм; 23 - Дюбель ДГ 3,7×70 Ц6; 24 - Парапет; 29 - Заглушка из негорючего утеплителя.


8 - Механическое крепление; 12 - Стальная гребенка; 13 - Оцинкованная сталь толщиной 0,8 мм; 14 - Приклейка; 15 - Бортик из теплоизоляционных плит; 16 - Слой рулонного материала (усиление ендовы); 17а - Герметик-мастика; 19 - Дополнительные слои рулонного материала (усиление примыкания кровли); 20 - Защитный фартук из оцинкованной стали толщиной 0,8 мм; 25 - Трехслойная стеновая панель; 26 - Дополнительный слой теплоизоляции (≥ 50 мм); 27 - Комплект деталей для крепления ограждения парапета; 28 - Толевые гвозди; 29 - Заглушка из негорючего утеплителя; 30 - Деревянный брус антисептированный и антипирерованный; 31 - Заклепка комбинированная 3К-10; 32 - Винт самонарезающий В6х25.


13 - Оцинкованная сталь толщиной 0,8 мм; 14 - Приклейка; 14а - Механическое крепление; 16 - Слой рулонного материала (усиление ендовы); 29 - Заглушка из негорючего утеплителя; 31 - Заклепка комбинированная 3К-10; 33 - Слой рулонного материала (усиление ковра в коньке).


13 - Оцинкованная сталь толщиной 0,8 мм; 14 - Приклейка; 14а - Механическое крепление; 16 - Слой рулонного материала (усиление ендовы); 17 - Герметик полимерный (в кровлях из полимерных пленок); 17а - Герметик-мастика; 18 - Сварной шов в кровле из полимерных пленок; 19 - Дополнительные слои рулонного материала (усиление примыкания кровли); 24 - Парапет; 29 - Заглушка из негорючего утеплителя; 34 - Стальной поддон; 35 - Патрубок с фланцем; 36 - Стальной хомут; 37 - Колпак воронки; 38 - Прижимной фланец; 39 - Дополнительный слой ковра вокруг воронки; 40 - Местное понижение вокруг воронки; 41 - Прогон; 42 - Опорный столбик.


12 - Стальная гребенка; 14 - Приклейка; 15 - Бортик из теплоизоляционных плит; 17 - Гермети к полимерный |в кровлях из полимерных пленок); 17а- Герметик-мастика; 18 - Сварной шов в кровле из полимерных пленок; 19 - Дополнительные слои рулонного материала (усиление примыкания кровли); 20 - Защитный фартук из оцинкованной стали толщиной 0,8 мм; 23 - Дюбель ДГ 3,7×70 Ц6; 24- Парапет; 26 - Дополнительный слой теплоизоляции (≥ 50 мм); 29 -Заглушка из негорючего утеплителя; 30 - Деревянный брус антисептированный и антипирерованный; 35 - Патрубок с фланцем; 36 - Стальной хомут; 37 - Колпак воронки; 38- Прижимной фланец; 39-Дополнительный слой ковра вокруг воронки; 41 - Прогон; 42- Опорный столбик; 43 - Бортик из гнутого профиля; 44- Минеральная вата; 45- Компенсатор из оцинкованной стали толщиной 0,8 мм; 46- Стальная полоса 4×40 мм; 47- Болт М 10×30-011 с шайбой и гайкой; 48- Стальная пластина 220×120×10 мм.


8 - механическое крепление; 13 - оцинкованная сталь толщиной 0,8 мм; 14 - Приклейка; 14a - механическое крепление; 15 - бортик из теплоизоляционных плит; 17а - Герметик-мастика; 19 - Дополнительные слои рулонного материала (усиление примыкания кровли); 20 - Защитный фартук из оцинкованной стали толщиной 0,8 мм; 21 - Костыль из полосы 4×40 мм; 23 - Дюбель ДГ 3,7×70 Ц6; 26 - Дополнительный слой теплоизоляции (≥50 мм); 29 - Заглушка из негорючего утеплителя; 30 - Деревянный брус антисептированный и антипирерованный; 31 - Заклепка комбинированная ЗК-10; 41 - Прогон; 43 - Бортик из гнутого профиля; 44 - Минеральная вата; 45 - Компенсатор из оцинкованной стали толщиной 0,8 мм; 46 - Стальная полоса 4×40 мм; 47 - Болт М10×30-011 с шайбой и гайкой; 49 - Уголок 125×80×7; 50 - Компенсатор из оцинкованной стали толщиной 2 мм; 51 - Выкружка из оцинкованной стали толщиной 1,5 мм; 52 - Слой кровельного рулонного материала «насухо» (крупнозернистой посыпкой вниз).

8 - Механическое крепление; 14 - Приклейка; 14а - Механическое крепление; 15 - Бортик из теплоизоляционных плит; 19 - Дополнительные слои рулонного материала (усиление примыкания кровли); 31 - Заклепка комбинированная 3К-10; 32 - Винт самонарезающий В6×25; 41 - Прогон; 44 - Минеральная вата; 50 - Компенсатор из оцинкованной стали толщиной 2 мм; 51 - Выкружка из оцинкованной стали толщиной 1,5 мм; 52 - Слой кровельного рулонного материала «насухо» (крупнозернистой посыпкой вниз).

14 - Приклейка; 15 - Бортик из теплоизоляционных плит; 17а - Герметик-мастика; 19 - Дополнительные слои рулонного материала (усиление примыкания кровли); 29 - Заглушка из негорючего утеплителя; 36 - Стальной хомут; 41 - Прогон; 44 - Минеральная вата; 53 - Труба; 54 - Стальной стакан.

Экспликация материалов и деталей к узлам покрытия с кровлей из профилированных стальных листов
|
№ поз. |
Наименование |
№ поз. |
Наименование |
|
1 |
Несущий стальной профилированный настил |
16 |
Шайба неопреновая |
|
2 |
Стальной профилированный настил |
17 |
Заглушка из минераловатного мата |
|
3 |
Пароизоляция |
18 |
Стальная гребенка по форме профлиста |
|
к |
Ветрозащита из пленки типа «TYVEK» |
19 |
Оцинкованная сталь δ = 0,8 мм |
|
5 |
Теплоизоляция «ТЕХНО ЛАЙТ» |
20 |
Защитный фартук из оцинкованной стали δ = 0,8 мм |
|
6 |
Термовкладыш из бакелизированной фанеры |
21 |
Гребенчатый уплотнитель из пористой резины |
|
7 |
Опорный элемент из стали δ = 3 мм |
22 |
Труба |
|
8 |
Элемент жесткости δ = 2 мм |
23 |
Стальной квадратный стакан с фланцем |
|
9 |
Дистанционный прогон |
24 |
Дополнительные прогоны |
|
10 |
Шайба стальная |
25 |
Хомут |
|
11 |
Герметизирующая лента |
26 |
Зонт из оцинкованной стали |
|
12 |
Мастика герметизирующая |
27 |
Коньковый защитный фартук |
|
13 |
Винт самонарезающий В6×80 |
28 |
Уплотнитель по форме профнастила (гребенка) |
|
U |
Заклепка комбинированная |
29 |
Слив |
|
15 |
Винт самонарезающий В6×25 |
|
|

1 - Несущий стальной профилированный настил; 2 - Стальной профилированный настил; 3 - Пароизоляция; 4 - Ветрозащита из пленки типа «TYVEK»; 5 - Теплоизоляция «ТЕХНО ЛАЙТ»; 6 - Термовкладыш из бакелизированной фанеры; 7 - Опорный элемент из стали δ = 3 мм; 8 - Элемент жесткости δ = 2 мм; 9 - Дистанционный прогон; 10 - Шайба стальная; 11 - Герметизирующая лента; 12 - Мастика герметизирующая; 13 - Винт само нарезающий В6×80; 15 - Винт самонарезающий В6×25; 16 - Шайба неопреновая.


3 - Пароизоляция; 4 - Ветрозащита из пленки типа «TYVEK»; 5 - Теплоизоляция «ТЕХНО ЛАЙТ»; 7 - Опорный элемент из стали δ = 3 мм; 14 - Заклепка комбинированная; 17 - Заглушка из минераловатного мата; 19 - Оцинкованная сталь δ = 0,8 мм; 20- Защитный фартук из оцинкованной стали δ = 0,8 мм; 28 - Уплотнитель по форме профнастила (гребенка); 29 - Слив.

3 - Пароизоляция; 4 - Ветрозащита из пленки типа «TYVEK»; 5 - Теплоизоляция «ТЕХНО ЛАЙТ»; 17 - Заглушка из минераловатного мата; 19 - Оцинкованная сталь δ = 0,8 мм; 21 - Гребенчатый уплотнитель из пористой резины; 28 - Уплотнитель по форме профнастила (гребенка).

3 - Пароизоляция; 4 - Ветрозащита из
пленки типа «TYVEK»; 5 - Теплоизоляция «ТЕХНО
ЛАЙТ»; 12 - Мастика герметизирующая; 20 - Защитный фартук
из оцинкованной
стали δ = 0,8 мм; 22 - Труба; 23 - Стальной квадратный
стакан с фланцем;
24 - Дополнительные
прогоны; 25 - Хомут; 26 - Зонт из
оцинкованной стали.
12 - Мастика герметизирующая;14 – Заклепка комбинированныя; 20 - Защитный фартук из оцинкованной стали δ = 0,8 мм; 21 - Гребенчатый уплотнитель из пористой резины; 27 – коньковый защитный фартук.

АНКЕР А1

|
Марка изделия |
№ поз. |
Наименование |
Кол. |
Масса ед., кг |
Примечание |
|
А1 |
1 |
6А-Ш, ГОСТ 5781-82, L =150 |
1 |
0,03 |
0,31...0,43 |
|
2* |
лист |
1 |
0,3...0,4 |
АНКЕР А2

|
Марка изделия |
№ поз. |
Наименование |
Кол. |
Масса ед., кг |
Примечание |
|
А2 |
1 |
6А-Ш, ГОСТ 5781-82, L =240 |
2 |
0,053 |
0,42 |
|
2 |
Лист |
1 |
0,314
|
ЗАКЛАДНАЯ СЕТКА М1

ЗАКЛАДНАЯ СЕТКА М2

ЗАКЛАДНАЯ ПЕТЛЯ 3П1

- 3П1 и М2 - оцинковать
СЛИВ С1

СЛИВ С2

СЛИВ С3

СЛИВ С4

СЛИВ С5

Материал:
ОЦ ![]()
* - толщина слива С2; СЗ -1 мм
** - по проекту
А=В/3, С=В/2
КОСТЫЛЬ К1

КОСТЫЛЬ К2


КОСТЫЛЬ К3

КОСТЫЛЬ К4

Материал:
![]()
1.* Уточняется в проекте.
2. Костыли окрасить за 2 раза или оцинковать
ПРИМЕР: Сборная несущая балка из керамзитобетона плотностью 14-00 кг/м3 класса В 12.5

*а = 30...140 (по толщине теплоизоляции)
|
СТАЛЬНАЯ НАПРАВЛЯЮЩАЯ |
Н - направляющая нижняя В - направляющая верхняя |
|
|
|
Материал: ОЦ ![]()
* Болт М8 с гайкой и 2-мя шайбами
Р- направляющая рядовая

КЛЯММЕР А2

КЛЯММЕР А2

СКОБА

УГОЛОК

ШАЙБА

ПРИЖИМНАЯ ПЛАНКА

Материал: ОЦ
![]()
КРОНШТЕЙН ФИРМЫ «КРАСПАН»

НАЩЕЛЫНИК Н1

НАЩЕЛЫНИК Н2

НАЩЕЛЬНИК НЗ

НАЩЕЛЫНИК Н4

НАЩЕЛЬНИК Н5

* - размеры по проекту
ПРИЛОЖЕНИЯ
Административное здание в Москве.
Усиление теплозащиты выполнено с применением минераловатных плит «ТЕХНО БЛОК». Принятая конструкция стены дана на расчетной схеме.

1 - цементно-известковая штукатурка, λ = 0,87 Вт/(м·°С);
2; 4 - кирпичная кладка, λ2 = 0,81 Вт/(м·°С);
3 - плита минераловатная «ТЕХНО БЛОК», λБ = 0,044 Вт/(м·°С).
Требуемое сопротивление теплопередаче стены является функцией числа градусо-суток отопительного периода (ГСОП):
Dd=(tint-tht)Zht
где: tint - расчетная температура внутреннего воздуха, °С;
tht, Zht- средняя температура, °С и продолжительность, сут. периода со средней суточной температурой воздуха ниже или равной 8 °С по СНиП 23-01-99 «Строительная климатология».
Для Москвы Dd = 4600 и Rred = 2,58 м2·°С/Вт.
![]()
Требуется усиление теплозащитной способности стены на:
= 2,58 - 0,81 = 1,77 м2·°С/Вт,
а за вычетом R облицовочного слоя из кирпича, равного 0,148 м2·°С/Вт, получаем
ΔR = 1,77 - 0,148 = 1,622 м2·°С/Вт
Толщина слоя дополнительной теплоизоляции при λБ = 0,044 Вт/(м·°С) и коэффициенте теплотехнической однородности r = 0,92 составит:
δ = ΔR·λ/r = 1,622·0,044/0,92 = 0,079 м
Принимаем слой изоляции равным 80 мм, тогда фактическое сопротивление теплопередаче составит:
![]()
1. Цель расчета - определение необходимости устройства специальной парозащиты в многослойной стене.
Расчет выполнен по СНиП 23-02-2003 «Тепловая защита зданий».
2. Исходные данные - административное здание в Москве
tBH = 18 °С;
φвн = 50 %;
Rreq = 2,63 м2·°С/Вт (см. расчет теплозащиты стены).
3. Конструкция стены:

1 - цементно-известковая штукатурка,
λ= 0,87 Вт/м·°С;
μ = 0,098 мг/м·ч·Па
2; 4- кирпичная кладка
λ = 0,81 Вт/м·°С;
μ = 0,11 мг/м·ч·Па
3 - плита минераловатная «ТЕХНО БЛОК»
λБ = 0,044 Вт/м·°С;
μ = 0,35 мг/м·ч·Па
а -а - плоскость возможной конденсации.
Сопротивление теплопередаче внутренних слоев составит:
![]()
4. Требуемое сопротивление паропроницанию слоев стены до плоскости возможной конденсации должно быть не менее его значения:
по формуле:
или
по формуле:![]()
5. Проверка возможности влагонакопления за годовой период.
Значения среднемесячных температур наружного воздуха для Москвы по СНиП 23-01-99 «Строительная климатология» приведены в таблице, Zo по тому же СНиП (стр. 8) и средней упругости водяных паров наружного воздуха по СНиП 2.01.01-82 «Строительная климатология и геофизика», т.к. в новом СНиПе эти данные отсутствуют.
|
Месяц |
1 |
2 |
3 |
4 |
5 |
6 |
7 |
8 |
9 |
10 |
11 |
12 |
|
Тн,°С |
-10,2 |
-9,2 |
-4,3 |
4,4 |
11,9 |
16,0 |
18,1 |
16,3 |
10,7 |
4,3 |
-1,9 |
-7,3 |
|
еН’ гПа |
2,8 |
2,9 |
3,7 |
6 |
8,9 |
12,4 |
14,7 |
14,2 |
10,4 |
6,9 |
4,8 |
3,6 |
Zo=145 cyт
Сезонные и среднемесячные температуры:
Z1 = 3 мec; tн1 =-8,9 °С;
Z2 = 4 мec; tн2 =+0,625 °С;
Z3 = 5 мec; tн3 =+14,6 °C.
Температура в плоскости возможной конденсации, соответствующая среднезонным температурам, определяется по формуле:
τВ = tB-(tB-tH)ROB/Rreq
τ1 = 18 - (18 + 8,9)2,44/2,63= -7,0 ºС
τ2 = 18 - (18 - 0,625)2,44/2,63= +1,9 ºС
τ3 = 18 - (18 – 14,6)2,44/2,63= +14,8 ºС
соответственно Е1 = 337 Па; Е2 = 701 Па; Е3 = 1683 Па, тогда
Е = (337·3 + 701·4 + 1683·5)/12 =1019 Па
еВ=1032 Па;
ен = 761 Па (см. таблицу выше).
Rп.нар.слоя = 0,12/0,11=1,09 м2·ч·Па/мг;
Rп.внут.слоя = 0,08/0,35 + 0,51/0,11 + 0,02/0,098 = 5,06 м2·ч·Па/мг.
По формуле
RН1 = (1032-1019)·1,09/(1019-761) = 0,054 < 5,06 м2·ч·Па/мг,
то есть по этому условию устройство парозащиты не требуется.
6. Проверка возможности влагонакопления за период с отрицательными среднемесячными температурами.
7. Средняя упругость водяного пара наружного воздуха за период Zo (см. таблицу выше).
ено = 356 Па.
Средняя температура наружного воздуха за тот же период
tно = -6.58°C.
По формуле:
τо = 18 - (18 + 6,58)2,44/2,63 = -4,8°С;
этой температуре соответствует Ео = 408 Па.
По формуле:
η = 0,0024·(408 - 356]·145/1,09 = 16,6.
При γ = 40 кг/м3; δ = 0,08 м; ΔWcр = 3 %, находим:
Rn2 = 0,0024·145·(1032 – 408)/(140·0,08·3 + 16,6) = 4,32 < 5,06 м2·ч·Па/мг.
Таким образом, по этому условию накопления влаги в конструкции за период с отрицательными средними месячными температурами наружного воздуха не будет.
Исходные данные: пол подвала жилого дома.
Конструкция пола:

Таблица физико-технических характеристик составляющих пола
|
№ п/п |
Материал |
Толщина слоя, м |
Плотность материала в сухом состоянии, λ0, кг/м3 |
Коэффициенты при условии эксплуатации А |
Теплотермическое сопротивление, R, м2°С/Вт |
|
|
Теплопроводность λ1, Вт/м°С |
теплоусвоения, s, Вт/м2°С |
|||||
|
1 |
Линолеум |
0,003 |
1600 |
0,33 |
7,52 |
0,009 |
|
2 |
Мастика водостойкая |
0,001 |
1000 |
0,18 |
4,56 |
0,0055 |
|
3 |
Сборная стяжка из гипсоволокнистых листов |
0,02 |
1150 |
0,3 |
6,00 |
0,066 |
|
4 |
Теплоизоляция из минераловатных плит |
0,044 |
160 |
0,043 |
0,64 |
0,93 |
|
5 |
Железобетонное перекрытие |
0,14 |
2500 |
1,92 |
17,98 |
0,073 |
Тепловую инерцию каждого слоя определяем по формуле:
D1 = R1·S1 = 0,009·7,52 = 0,068;
D2 = R2·S2 = 0,0055·4,56 = 0,025;
D3 = R3·S3 = 0,066·6,00 = 0,396;
D5 = R5·S5 = 0,073·17,98 = 1,31.
Т.к. суммарная тепловая инерция первых трех слоев
D1+D2+D3=0,068+0,025+ + 0,396 = 0,489 < 0,5,
а суммарная тепловая инерция трех плюс пятый слой
D1+ D2+D3+D5 = 0,489 + 1,31 = 1,799 > 0,5,
показатель теплоусвоения пола Yn следует определять последовательно расчетом показателей теплоусвоения поверхностей слоев конструкции, начиная с третьего слоя:
![]()
![]()
![]()
что не удовлетворяет требованиям СНиП, предъявляемым к теплоусвоению поверхности пола в жилых, больничных и других подобных зданиях (1 группа зданий и помещений).
Поэтому вводим в конструкцию пола дополнительный слой из минераловатной плиты:
![]()
![]()
![]()
Таким образом, выбранная конструкция отвечает требованиям СНиП 23-02-2003 для зданий и помещений всех трех групп.
1. Поверхностная плотность элементов перекрытия:
m1 = 2400·0,14 = 336 кг/м2
m2= 110,0·0,04 + 1150·0,02 = 4,4 + 23 = 27,4 кг/м2
2. Вычисляем величину Rwo для несущей плиты перекрытия при
m1 = 336 кг/м2 > 200 кг/м2
Rwo = 23 lgmЭ - 10 дБ = 23 lg336 - 10 дБ = 58 - 10 = 48 дБ
3. Для минплиты «ТЕХНО ФЛОР+» и нагрузке на пол в жилом доме 2 кПа:
ЕД = 1,1·105 кг/м2 и еД =0,02
4. Вычисляем:
hэ = h0·(1 - ед] = 0,04(1 - 0,02) = 0,039 м
5. Определяем частоту резонанса конструкции:

6. По таблице 15 СП к СНиП 23-03-2003 находим Rw = 52 дБ (по интерполяции).
7. В соответствии с таблицей 6 СНиП 23-03-2003 данная конструкция перекрытия с покрытием пола из линолеума удовлетворяет нормативным требованиям в домах жилых зданий категории «Б» и «В».
1. Поверхностная плотность элементов перекрытия:
m1= 2500 - 0,1 =250кг/м2
m2= 600·0,04 [доски] + 600·0,05·0,1-2 [лага] = 24 + 6 = 30 кг/м2
2. Вычисляем величину Rwo для несущей плиты перекрытия при
m1 = 250 кг/м2 > 200 кг/м2
Rwo = 23 lgm1 - 10 дБ = 23 lg250 - 10 дБ = 45 дБ
3. Для минплиты γ = 40 кг/м3 и нагрузке на пол в жилом доме 200 кг/м2 (2000 Па)
ЕД =1,4·105 кг/м2 и еД =0,22
4. Вычисляем:
hэ = h0·(1 – еД) = 0,05·(1 - 0,22) = 0,039 м
5. Определяем частоту резонанса конструкции:

6. По таблице 15 СП к СНиП 23-03-2003 находим Rw = 51 дБ (по интерполяции).
7. В соответствии с таблицей 6 СНиП 23-03-2003 данная конструкция перекрытия с дощатым покрытием пола удовлетворяет нормативным требованиям в домах категории «В».
1. Поверхностная плотность элементов перекрытия:
т1 = 2400·0,14 = 336 кг/м2
т2= 700·0,018 + 1150·0,02 = 12,6 + 23,0 = 35,6 кг/м2
По таблице 18 СП к СНиП 23-03-2003 при нагрузке на звукоизоляционный слой равной 200 + 35,6 = 235,6 кг/м2 индекс приведенного уровня ударного шума плиты перекрытия Lnwo = 83 дБ;
2. Для минплиты «ТЕХНО ФЛОР +» при нагрузке на пол в жилом доме 200 кг/м2
ЕД = 1,1·105кг/м2 и еД = 0,02
3. Вычисляем:
h3 = ho·(1 - ед) = 0,04·(1 - 0,02) = 0,039 м
4. Определяем частоту резонанса конструкции:

5. По таблице 17 СП к СНиП 23-03-2003 при значениях Lnwo = 83 дБ и f0 = 141 Гц находим Lnw = 63 дБ (по интерполяции).
6. В соответствии с таблицей 6 СНиП 23-03-2003 данная конструкция перекрытия с покрытием пола из паркета удовлетворяет только нормативным требованиям, предъявляемым к перекрытиям между комнатами в двух уровнях в домах категории «В». Следует изменить конструкцию пола, предусмотрев для устройства звукоизоляции плиты минераловатные толщиной 6 см.
7. Определяем:
hэ = ho·(1 - ед) = 0,06·(1 - 0,02) = 0,059 м ≈ 0,06 м
8. Определяем частоту резонанса конструкции:

9. По таблице 17 при значениях Lnwo = 83 дБ и f0 ≈ 257 Гц находим Lnw = 69 дБ (по интерполяции).
10. В соответствии с таблицей 6 СНиП 23-03-2003 данная конструкция перекрытия с покрытием пола из паркета удовлетворяет нормативным требованиям в домах категории «А», «Б» и «В».
ТЕЛ. (3854) 23-44-64, Т./Ф. 23-64-63

Комплект Д1 В3-1 Ш Ст. 5,5-L-1 ТУ 2291-006-20994511-99,
где L - длина стеклопластикового стержня по проекту.
|
_________________________________________________________ |