Ассоциация «Росэлектромонтаж»
Инструкция
по проектированию и
монтажу контактных соединений шин
между собой и с выводами электротехнических
устройств
№ И 1.08-08
Москва
2008
Содержание
РАЗРАБОТАНА: OOP «Инженерный электротехнический центр - Контакт»
РАЗРАБОТЧИКИ: В.А. Книгель, Г.Ю. Авраменко, М.В. Пономарев, О.В. Пономарева
ВЗАМЕН: ВСН 164-82
АННОТАЦИЯ
Настоящая инструкция разработана в развитие основных положений ГОСТ 10434, ГОСТ 17441, Правил устройства электроустановок (ПУЭ) и строительных норм и правил.
Инструкция распространяется на разборные и неразборные контактные соединения шин толщиной до 15 мм, гибких шин и профилей (швеллерного, корветного, двутаврового и др.) из алюминия, твердого алюминиевого сплава АД31Т и меди, а также на соединение шин с выводами электротехнических устройств.
Для контактных соединений стальных проводников требования Инструкции являются рекомендуемыми.
Инструкция предназначена для научно-исследовательских, проектных и монтажных организаций.
Утверждена
Президент Ассоциации
«РОСЭЛЕКТРОМОНТАЖ»
Е.Ф. Хомицкий 2007 г.
Дата введения 01.01.2008 г.
1.1. Требования Инструкция распространяется на разборные и неразборные контактные соединения шин толщиной до 15 мм, гибких шин и профилей (швеллерного, корветного, двутаврового и др.) из алюминия, твердого алюминиевого сплава АД31Т и меди, а также на соединение шин с выводами электротехнических устройств.
Для контактных соединений стальных проводников требования Инструкции являются рекомендуемыми.
Инструкция устанавливает требования к персоналу, выполняющему проектирование и монтажные работы, определяют организационные и технические мероприятия, обеспечивающие качество электромонтажных работ и их безопасность.
1.2. Настоящая инструкция вводится приказом организации и является обязательной к применению в организациях Ассоциации «Росэлектромонтаж».
Таблица 2.1
Термины, упомянутые в Инструкции
|
Термин |
Документ, устанавливающий термин |
Определение |
|
Абразивное лужение |
ГОСТ 17325 |
Способ лужения с одновременным удалением с поверхности металла окисной пленки при трении твердыми металлическими или неметаллическими частицами |
|
Заземляющий проводник |
Проводник, соединяющий заземляемые части с заземлителем |
|
|
Контактное соединение |
ГОСТ 14312 |
Контактный узел, образующий неразмыкаемый контакт |
|
Линейное контактное соединение |
То же |
Контактное соединение двух и более проводников токопроводов, кабелей, воздушных линий электропередачи, внешних цепей управления, сигнализации, защиты и др. |
|
Лужение погружением в расплавленный припой |
То же |
- |
|
Начальное электрическое сопротивление контактного соединения |
То же |
Сопротивление контактного соединения, измеренное непосредственно после сборки (до испытаний) |
|
Неразборное контактное соединение |
То же |
Контактное соединение, которое не может быть разомкнуто без его разрушения. Например, сварное, паяное, клепаное и др. |
|
Нулевой защитный проводник |
То же |
Проводник, соединяющий зануляемые части с нейтралью электроустановки |
|
Однородные материалы |
То же |
Материалы, номинальные электрохимические потенциалы которых близки по значению |
|
Переходная пластина |
ГОСТ 19357 |
Токоведущая деталь, предназначенная для соединения токоведущих шин из разнородных материалов и присоединения токоведущих шин из одного материала к выводам электротехнических устройств из другого материала |
|
Пластина из алюминиевого сплава |
То же |
Переходная пластина из твердого алюминиевого сплава |
|
Пластина медно-алюминиевая |
То же |
Переходная пластина, состоящая из медной и алюминиевой частей |
|
Разборное контактное соединение |
То же |
Контактное соединение, которое может быть разомкнуто без его разрушения. Например, винтовое, болтовое и др. |
|
Твердый алюминиевый сплав |
То же |
Алюминиевый сплав с временным сопротивлением разрыву не менее 130 МПа (13 кГс/мм2) |
|
Штучный электрод (электрод покрытый) |
Электрод, покрытый смесью веществ, нанесенных на электрод, для усиления ионизации, защиты от вредного воздействия среды и металлургической обработки сварочной ванны |
|
|
Электротехническое устройство |
ГОСТ 18311 |
Устройство, в котором при работе его в соответствии с назначением производится, преобразуется, передается, распределяется или потребляется электрическая энергия. |
3.1.1. Соединение между собой шин из однородных металлов, ответвления от этих шин и соединения алюминиевых шин и шин из алюминиевого сплава с выводами из алюминия и из алюминиевых сплавов выполняются разборными или неразборными. Соединения шин из разнородных материалов и в тех случаях, когда по условиям эксплуатации необходима периодическая разборка соединений, должны выполняться, как правило, разборными.
3.1.2. Контактные соединения в зависимости от технических требований, предъявляемых к ним ГОСТ 10434, подразделяются на классы 1, 2 и 3.
Класс контактных соединений в зависимости от области их применения приведен в табл. 3.1.
Класс контактных соединений в зависимости от области применения
|
Область применения |
Рекомендуемый класс контактного соединения |
|
1. Контактные соединения цепей, сечения проводников которых выбраны по допустимым длительным токовым нагрузкам (силовые электрические цепи, линии электропередачи и т.п.) |
1 |
|
2. Контактные соединения цепей, сечения проводников которых выбраны по стойкости к сквозным токам, потере и отклонению напряжения, механической прочности, защите от перегрузки. Контактные соединения в цепях заземляющих защитных проводников из стали. |
2 |
|
3. Контактные соединения цепей с электротехническими устройствами, работа которых связана с выделением большого количества тепла (нагревательные элементы, резисторы) |
3 |
Линейные контактные соединения силовых цепей следует относить к первому классу.
3.1.3. В зависимости от климатического исполнения и категории размещения электротехнических устройств по ГОСТ 15150 контактные соединения в соответствии с ГОСТ 10434 подразделяются на группы А и Б:
|
Климатическое исполнение и категория размещения электротехнического устройства |
Группа контактного соединения |
|
l. Все климатические исполнения для категории размещения 4.1 при атмосфере типов II и I. Климатические исполнения У, УХЛ, ТС для категории размещения УХЛ, ТС для категории размещения 4 при атмосфере типов II и I |
А |
|
2. Любые сочетания климатического исполнения и категории размещения, кроме указанных выше при атмосфере типов II и I. Любые сочетания климатического исполнения и категории размещения при атмосфере типов III и IV |
Б |
Примечание: в таблице приведены категории размещений изделий
I - для эксплуатации на открытом воздухе;
II - для эксплуатации под навесом или в помещениях, где отсутствует прямое воздействие солнечного излучения и атмосферных осадков;
III - для эксплуатации в закрытых помещениях с естественной вентиляцией без искусственно регулируемых климатических условий;
IV - для эксплуатации в помещениях с искусственно регулируемыми климатическими условиями.
3.1.4. Контактные соединения должны выполняться в соответствии с требованиями ГОСТ 10434, ГОСТ 17441, стандартов, технических условий на конкретные виды электротехнических устройств, СНиП 3.05.06-85, настоящей инструкции по рабочим чертежам, утвержденным в установленном порядке.
3.2.1. Неразборные контактные соединения выполняются сваркой, пайкой, опрессовкой1 или другими методами, указанными в действующих НТД.
1 Неразборные соединения, выполненные методами опрессовки или обжатия, описаны в главе 7.
3.2.2. Конструктивные элементы и размеры сварных контактных соединений шин следует выбирать в соответствии с рекомендациями ГОСТ 23792.
3.2.3. Основными типами сварных соединений ошиновок являются: стыковые, угловые, нахлесточные, тавровые и торцовые (табл. 3.2). Определение типов сварных соединений - по ГОСТ 2601.
Основные типы сварных соединений и шин
|
Тип соединения |
Эскиз соединения |
|
Стыковое |
|
|
Угловое |
|
|
Нахлесточное |
|
|
Тавровое |
|
|
Торцевое |
|
Способы сварки шин из различных материалов указаны в табл. 3.3.
Способы сварки шин
|
Способ сварки |
Материал шик |
|||
|
алюминий |
алюминиевый сплав АД31 |
медь |
сталь |
|
|
1 |
2 |
3 |
4 |
5 |
|
Ручная дуговая: |
|
|
|
|
|
штучным стальным электродом |
- |
- |
- |
+ |
|
неплавящимся вольфрамовым электродом в среде аргона |
+ |
+ |
+ |
+ |
|
угольным электродом |
+ |
1) |
+ |
- |
|
Полуавтоматическая и автоматическая плавящимся электродом в среде аргона |
+ |
+ |
+ |
2) |
1) Сварка сплава АД31 угольным электродом не рекомендуется
2) В качестве защитного газа применяются: CO2 или его смеси
При выборе способа сварки следует иметь в виду:
1) Для сварки угольным электродом не требуется специального сварочного оборудования, в то время как для сварки в среде защитного газа (аргона) плавящимся электродом необходимо приобретение специального сварочного полуавтомата, либо установка для ручной аргонодуговой сварки. В силу своих особенностей сварка угольным электродом возможна только в нижнем положении; сварка в аргоне (ручная, и полуавтоматическая) может выполняться во всех пространственных положениях. При сварке угольным электродом основными факторами, оказывающими вредное воздействие на организм сварщика и окружающую среду, являются ультрафиолетовое излучение и выделение большого количества сварочного аэрозоля и пыли, состоящей из паров металла, его окислов и продуктов сгорания флюса. Эти выделения необходимо удалять непосредственно от места сварки и отфильтровывать перед выбросом в окружающую среду.
2) Ручная аргонодуговая сварка вольфрамовым электродом эффективна при толщине шин до 6 мм. При больших толщинах производительность этого способа резко снижается, особенно при низкой температуре воздуха, что приводит к резкому увеличению энергозатрат на сварку. Сварка в аргоне (ручная дуговая неплавящимся и плавящимся электродом) обеспечивает более высокое качество сварных соединений по сравнению со сваркой угольным электродом. При сварке в аргоне основу вредных выделений составляет озон, который также необходимо удалять от места выполнения сварки.
3) Этот вид сварки рекомендуется для шин толщиной от 3 до 6 мм и следует применять для соединения шин из алюминия и его сплавов толщиной 6 мм и более. Основным преимуществом полуавтоматической сварки плавящимся электродом в инертном газе - аргоне является хорошее качество, высокая производительность и возможность выполнения сварки в любом пространственном положении.
4) Ручная дуговая сварка покрытыми электродами допускается к применению для соединения шин из алюминия при нижнем положении шва после согласования с Заказчиком или разработчиком проекта.
Примечание: более подробно о выборе процесса сварки, техники сварки, оборудования можно узнать из «Инструкции по сварке цветных металлов в электромонтажном производстве».
3.2.4. Поверхность швов сварных соединений должна быть равномерно-чешуйчатой без наплывов. Швы не должны иметь трещин, прожогов, непроваров длиной более 10 % длины шва (но не более 30 мм), незаплавленных кратеров и подрезов глубиной 0,1 толщины шины (но не более 3 мм). Сварные соединения компенсаторов не должны иметь подрезов и непроваров на лентах основного пакета.
3.2.5. Соединения, выполненные опрессовкой, не должны иметь трещин хвостовика наконечника, гильзы, зажимов в месте опрессовки; лунки должны быть расположены симметрично и соосно, геометрические размеры спрессованной части соединения должны соответствовать требованиям стандартов, ТУ, технологических документов.
3.2.6. Сварные и опрессованные соединения, не работающие на растяжение, должны выдерживать напряжения, возникающие от воздействия статических осевых нагрузок, не менее 30 % временного сопротивления разрыву целой гибкой шины; работающие на растяжение - не менее 90 % временного сопротивления разрыву целой гибкой шины.
3.2.7. Отношение начального (после сварки) сопротивления контактных соединений к сопротивлению контрольного участка шины длиной, равной длине контактного соединения, должно быть: для класса 1 - не более 1 (если иное не указано в стандартах и ТУ на конкретные виды электротехнических устройств); для класса 2 - не более 2; для класса 3 - не более 6.
В контактных соединениях шин различной проводимости сравнение следует производить с шиной меньшей проводимости.
3.2.8. Электрическое сопротивление сварных соединений, прошедших испытания или находящихся в эксплуатации, должно оставаться неизменным; для соединений, выполненных опрессовкой, электрическое сопротивление после испытаний не должно превышать начальное значение более, чем в 1,5 раза.
3.2.9. При протекании номинального тока температура нагрева неразборных контактных соединений (классов 1 и 2) не должна превышать значений, указанных в табл. 3.4. Температура нагрева контактных соединений класса 3 устанавливается стандартами и ТУ на конкретные виды электротехнических устройств.
Температура нагрева контактных соединений
|
Материал шин (вывода) |
Наибольшая допустимая температура нагрева в установках, °С |
|
|
до 1000 В |
свыше 1000 В |
|
|
1. Медь, алюминий и его сплавы без защитных покрытий контактных поверхностей |
95 |
90 |
|
2. То же, с защитным покрытием неблагородными металлами |
110 |
105 |
|
3. Медь с защитным покрытием серебром |
135 |
120 |
3.2.10. Температура неразборных контактных соединений при испытании на стойкость при сквозных токах должна быть не более 200°C у соединений шин из алюминия и его сплавов, а также у соединений этих шин с медными, и 300°C у соединений медных шин. После испытаний на стойкость при сквозных токах контактные неразборные соединения не должны иметь механических повреждений, препятствующих их дальнейшей эксплуатации.
3.2.11. Контактные соединения в соответствии с их исполнением и категорией размещения согласно ГОСТ 15150 должны выдерживать воздействие климатических факторов внешней среды, указанных в этом стандарте, а также ГОСТ 15543.1, ГОСТ 16350, ГОСТ 17412 или в стандартах и ТУ на конкретные виды электротехнических устройств.
3.3.1. Разборные контактные соединения выполняются болтами, винтами, специальными зажимами со средствами и без средств стабилизации электрического сопротивления (см. разделы 5, 6).
3.3.2. Разборные контактные соединения, работающие на растяжение, должны выдерживать напряжения, возникающие от воздействия статических осевых нагрузок, не менее 90 % временного сопротивления разрыву целой гибкой шины.
3.3.3. Отношение начального (после сборки) сопротивления разборных контактных соединений (кроме соединений со штыревыми выводами) к сопротивлению контрольного участка шины длиной, равной длине контактного соединения, должно соответствовать требованиям п. 3.2.4.
3.3.4. Начальное сопротивление контактных соединений класса 1 со штыревыми выводами должно быть не выше значений, указанных в табл. 3.3. Сопротивление контактных соединений классов 2 и 3 указывают в стандартах и ТУ на конкретные виды электротехнических устройств.
3.3.5. Электрическое сопротивление контактных разборных соединений, прошедших испытания или находящихся в эксплуатации, не должно превышать начальное сопротивление более, чем в 1,5 раза.
Таблица 3.5
Начальное сопротивление контактных соединений шин со штыревыми выводами
|
Вывод |
М10 |
М12 |
M16 |
М20 |
М24 |
М30 |
М33 |
М36 |
М42 |
М48 |
М56 |
|
Сопротивление, МкОм |
14 |
12 |
10 |
8 |
8 |
6 |
6 |
5 |
5 |
5 |
4 |
3.3.6. При протекании номинального тока температура нагрева разборных контактных соединений классов 1 и 2 не должна превышать значений, указанных в табл. 3.4. Температуру нагрева контактных соединений класса 3 устанавливают в стандартах и ТУ на конкретные виды электротехнических устройств.
3.3.7. Температура разборных контактных соединений и механическая прочность при испытании на стойкость при сквозных токах должна соответствовать требованиям п. 3.2.7.
3.3.8. В разборных контактных соединениях следует применять крепежные детали прочностью не ниже указанной в табл. 3.6.
Класс и группа прочности крепежных деталей
|
Наименование детали и материал |
Класс или группа прочности по ГОСТ 1759.4 и ГОСТ 1759.5 (не ниже) |
|
1. Болты, винты, шпильки из углеродистых или легированных сталей |
5,8 |
|
2. Гайки из углеродистых или легированных сталей |
5 |
|
3. Болты, винты, шпильки и гайки из цветных сплавов |
32 |
Крепежные детали должны иметь защитное металлическое покрытие по ГОСТ 9.303. Для контактных соединений группы А допускается применение вороненых стальных болтов, гаек (Приложение 1), шайб (Приложение 2).
3.3.9. Разборные контактные соединения шин с выводами, а также разборные линейные контактные соединения, подверженные воздействию сквозных токов короткого замыкания, вибрации, а также находящиеся во взрывоопасных и пожароопасных помещениях, должны быть предохранены от самоотвинчивания контргайками, пружинными шайбами, тарельчатыми пружинами или другими способами. Пружинные шайбы следует использовать в соединениях с болтами до М8 включительно.
3.3.10. Разборные контактные соединения должны выдерживать воздействие климатических факторов внешней среды в соответствии с п. 3.2.9.
В электрической части проектной документации или в проектах производства электромонтажных работ должны быть указаны:
- класс контактных соединений;
- материал шин;
- конструкция контактных соединений при соединении шин между собой и с выводами (разборные, неразборные, комплектность и т.п.);
- класс или группа прочности крепежных деталей, вид их покрытия по ГОСТ 9.303 и толщина покрытия по ГОСТ 21.484;
- исполнение и категория размещения электротехнических устройств по ГОСТ 15150, 16350 и 17412;
- наименование и толщина антикоррозионных металлических покрытий контактных соединений по ГОСТ 21.484.
Ручная аргонодуговая сварка вольфрамовым электродом.
4.1.1. Для ручной аргонодуговой сварки вольфрамовым электродом следует применять сертифицированные специализированные установки, выпускаемые отечественной или зарубежной промышленностью (список рекомендованного оборудования можно найти в инструкции И 1.10-07, см. Приложение 11).

Рис. 4.1. Схема поста для ручной аргонодуговой сварки неплавящимся электродом на «переменном токе»
4.1.2. Как исключение при отсутствии специализированных установок сварочный пост может быть собран по схеме, приведенной на рис. 4.2., из оборудования, указанного в табл. 4.3

Рис. 4.2. Принципиальная схема поста для
ручной сварки неплавящимся (вольфрамовым) электродом в среде аргона
ТС - трансформатор сварочный; ОС - возбудитель-стабилизатор дуги; Р - реостат
балластный; 1 - горелка сварочная; 2 - редуктор баллонный; 3 - баллон с аргоном
Оборудование для ручной аргонодуговой сварки алюминия
|
Наименование оборудования |
Назначение |
Примечание |
|
Источник питания*) |
Источник сварочного тока |
Список рекомендованного оборудования можно найти в инструкции И 1.10-07, см. Приложение 11 |
|
Горелка газоэлектрическая |
Подвод тока к электроду и защитного газа к месту сварки |
|
|
Возбудитель стабилизатор дуги |
Возбуждение и стабилизация горения дуги |
|
|
Реостат балластный |
Регулирование сварочного тока |
|
|
Редуктор баллонный |
Понижение давления аргона до рабочего значения |
|
|
Баллон типа 40 - 150 |
Транспортирование и хранение аргона |
*) сварочный источник питания переменного тока
4.1.3. Перечень материалов, необходимых для выполнения ручной аргонодуговой сварки вольфрамовым электродом, приведен в табл. 4.4., расходы материалов - в Приложении 3.
Материалы для ручной аргонодуговой сварки алюминия неплавящимся электродом
|
Материал |
ГОСТ, ТУ |
Назначение |
|
1. Прутки присадочные из сварочной проволоки марки Св5А или СвАК5 диаметром 2 - 5 мм1) |
ГОСТ 7871 или импортные |
Присадка для заполнения сварочной ванны |
|
2. Аргон чистый газообразный |
Защитный газ |
|
|
3. Электроды вольфрамовые ЭВИ-1 |
ГОСТ 2394 |
Неплавящийся электрод |
|
4. Растворитель: бензин или ацетон |
Обезжиривание свариваемых кромок |
|
|
5. Ветошь обтирочная |
ОСТ 63.46-84 |
Протирка кромок растворителем |
|
6. Графитовые пластины и бруски2), асбест |
- |
Изготовление формующих подкладок и уплотнения зазоров |
1) при использовании импортной сварочной проволоки должно быть четкое указание о пригодности ее для сварки алюминия, предназначенного для электротехнических целей
2) Допускается изготовление из отходов графитированных электродов дуговых печей или блоков электролизеров
4.1.4. Подготовка шин к сварке, кроме правки и резки по размеру, должна включать:
а) обработку свариваемых кромок в зависимости от толщины материала для обеспечения необходимых размеров разделки по ГОСТ 23792;
б) просушку свариваемых кромок, если они покрыты влагой;
в) зачистку свариваемых кромок после сборки стальной проволочной щеткой и обезжиривание их растворителем, бензином или ацетоном;
г) подогрев, в случае необходимости свариваемых кромок до 200 - 250°С, если сварка выполняется при температуре окружающей среды ниже 0°С.
Для просушки, а также для подогрева кромок шин и профилей могут быть использованы газовые горелки или гибкие электронагреватели (ГЭН) выпускаемые по ТУ 36-1837-75.
4.1.5. Подготовка сварочной проволоки должна включать:
а) обезжиривание и очистку (механическую или химическую) поверхности (Приложение 4);
б) нарезку на прутки требуемой длины.
4.1.6. При выполнении сварки необходимо соблюдать следующие технологические рекомендации:
а) вольфрамовый электрод выставить из сопла горелки не более, чем на 5 мм;
б) начиная сварку, дугу возбудить на графитовой пластине, разогреть вольфрамовый электрод и затем перенести дугу на кромки шин, не касаясь их электродом:
в) во время выполнения сварки стараться не касаться вольфрамовым электродом металла изделия, так как это приводит к нарушению стабильности процесса сварки, загрязнению шва и быстрому расходу электрода;
г) поддерживать дугу длиной не более 10 мм;
д) заканчивая сварку, после обрыва дуги несколько секунд не отводить горелку от конца шва, защищая струей аргона остывающий металл;
е) при сварке на открытом воздухе защищать место сварки от ветра и осадков ширмами, тентами и т.п., а также, при необходимости, увеличивать расход аргона настолько, чтобы обеспечить эффективную защиту расплавленного металла.
4.1.7. В начале сварки необходимо производить разогрев свариваемых кромок шин путем перемещения сварочной дуги вдоль них, затем сосредоточить дугу в начале шва, расплавить кромки до образования сварочной ванны, ввести в нее присадочный пруток и начать равномерное перемещение дуги вдоль стыка со скоростью плавления кромок. Схема сварки показана на рис. 4.3.

Рис. 4.3. Ручная аргонодуговая сварка
вольфрамовым электродом
а) схема сварки; б) схема движения электрода при сварке.
1 - сварочная горелка; 2 - свариваемое изделие; 3 - металл сварного шва; 4 -
присадочный пруток
Стрелками указано направление сварки и подача присадки
Режимы и ориентировочный расход материалов при сварке приведены в табл. 4.5.
Режимы ручной аргонодуговой сварки алюминия
|
Толщина шин, мм |
Сварочный ток, А |
Диаметр электрода, мм |
Диаметр присадочного прутка, мм |
Расход на 100 мм шва |
|
|
аргона, л |
присадки, г |
||||
|
1 |
2 |
3 |
4 |
5 |
6 |
|
3 |
130 - 150 |
3 |
3 |
9 |
5,6 |
|
4 |
150 - 170 |
3 |
3 |
10 |
6 |
|
1 |
2 |
3 |
4 |
5 |
6 |
|
5 |
170 - 180 |
3 |
3 |
10 |
6,8 |
|
6 |
190 - 200 |
4 |
4 |
11,5 |
8,5 |
|
8 |
220 - 225 |
5 |
5 |
12 |
11 - 20 |
|
10 |
240 - 250 |
5 |
6 |
14 |
35 |
|
12 |
290 - 300 |
6 |
|
16 |
45 |
4.1.8. При сварке в вертикальном, горизонтальном и потолочном положениях для предотвращения стекания металла и лучшего формирования шва следует:
а) уменьшать силу сварочного тока (на 10 - 20 %);
б) увеличивать расход аргона против значений, указанных в табл. 4.5, чтобы обеспечить эффективную защиту шва;
в) сварку выполнять валиками небольшого сечения, короткой дугой;
г) сварочную горелку при сварке в вертикальном и горизонтальном положениях располагать ниже сварочной ванны.
Полуавтоматическая аргонодуговая сварка плавящимся электродом
4.1.9. Для полуавтоматической сварки плавящимся электродом в аргоне следует применять сертифицированное специализированное оборудование, выпускаемое отечественной или зарубежной промышленностью (Список рекомендованного оборудования можно найти в инструкции И 1.10-07, см. Приложение 11).
В качестве источников питания могут применяться источники со ступенчатым, тиристорным или инверторным управлением.
Большинство производителей оборудования для сварки алюминия и его сплавов рекомендуют использовать инверторные источники с микропроцессорным управлением, из-за большей точности в управлении процессом сварки (импульсный режим) и меньшим весом, что особенно важно при сварке в монтажных условиях.
4.1.10. При отсутствии специализированного оборудования, в исключительных случаях, сварочный пост может быть собран но схеме, приведенной на рис. 4.4, из сертифицированного оборудования, указанного в табл. 4.6.

Рис. 4.4 Принципиальная схема поста для
полуавтоматической сварки плавящимся электродом
СГ - сварочная горелка; Р - редуктор баллонный; Б - баллон со сжатым газом; МП
- механизм подачи сварочной проволоки; БУ - блок управления полуавтоматом; ИП -
источник питания.
Примечания:
1. Полуавтоматы (ПУ) могут иметь различное конструктивное исполнение, например:
а - модульные, совмещающие в едином комплексе СГ, МП и БУ с отдельным ИП (как показано на рисунке);
б - компактные, совмещающие в едином комплексе СГ, МП, БУ и ИП.
2. В случае использования сварочной горелки (СГ) с водяным охлаждением полуавтомат следует укомплектовать блоком автономного охлаждения.
Оборудование для сварки алюминия плавящимся электродом в среде инертного газа
|
Наименование оборудования |
Назначение |
Примечание |
|
Источник питания*) |
Источник сварочного тока |
Список рекомендованного оборудования можно найти в инструкции И 1.10-07, см. Приложение 11 |
|
Полуавтомат сварочный |
Управление процессом сварки |
|
|
Редуктор баллонный |
Понижение давления аргона до рабочего значения |
|
|
Блок водяного охлаждения |
Охлаждение сварочной горелки |
|
|
Баллон типа 40 - 150 |
Транспортирование и хранение аргона |
*) сварочный источник питания постоянного тока
4.1.11. Материалы, необходимые при полуавтоматической аргонодуговой сварке, приведены в табл. 4.7., расходы материалов - в Приложении 3 Подготовка шин к сварке в соответствии с п. 4.1.4.
Материалы для ручной аргонодуговой сварки алюминия неплавящимся электродом
|
Материал |
ГОСТ, ТУ |
Назначение |
|
1. Проволока сварочная марки СвА5, СвАК5 диаметром от 1,2 до 2,5 мм *) |
ГОСТ 7871 или импортная |
Сварочная электродная проволока |
|
2. Аргон чистый газообразный |
Защитный газ |
|
|
3. Растворитель; бензин или ацетон |
Обезжиривание свариваемых кромок |
|
|
4. Ветошь обтирочная |
- |
Протирка кромок растворителем |
|
5. Отходы углеграфитных анодов, блоков или электродов, асбест |
- |
Изготовление формующих подкладок и уплотнения зазоров |
*) при использовании импортной сварочной проволоки должно быть четкое указание о пригодности ее для сварки алюминия, предназначенного для электротехнических целей. Сварочная проволока фирмы ESAB (Швеция) OK Autroad 4304 поставляется готовой к применению: поверхность проволоки химически обработана и отполирована, катушки находятся в герметичной упаковке. При использовании качественной проволоки рекомендуется использовать установки типа Kemppi.
4.1.12. Для сварки плавящимся электродом рекомендуется использовать проволоку с рядной намоткой, поставляемую на катушках, очищенную и готовую к применению, отечественного или импортного производства. В случае использования иной проволоки, перед применением ее следует химически очистить (Приложение 4) и в зависимости от конструкции полуавтомата ровно, послойно намотать на катушку, либо прямо в бухте укладывать на вертушку механизма подачи.
4.1.13. На время сварки соединяемые швы необходимо жестко закрепить прижимами либо короткими (≈ 30 мм) сварными швами - прихватками.
4.1.14. При сварке горелку следует вести с равномерной скоростью углом вперед, чтобы струя аргона направлялась вперед, обеспечивая надежную защиту сварочной ванны от воздуха.
Если необходимо получить большую ширину шва, необходимо выполнять горелкой еще и поперечные колебания. Схема сварки показана на рис. 4.5. Основные режимы сварки приведены в табл. 4.8.

Рис. 4.5 Схема выполнения
полуавтоматической сварки в различных пространственных положениях.
1 - сварочная горелка; 2 - свариваемое изделие; 3 - металл сварного шва
Стрелки указывают направление сварки. Сварка во всех случаях выполняется «углом
вперед» с углом наклона горелки в пределах а = 70 - 80°
Режимы полуавтоматической аргонодуговой сварки алюминия плавящимся электродом
|
Толщина шин, мм |
Диаметр сварочной проволоки, мм |
Сварочный ток, А |
Напряжение на дуге, В |
Расход на 100 мм шва |
|
|
аргона, л |
проволоки, г |
||||
|
3 - 5 |
1,2 - 1,6 |
120 - 180 |
16 - 20 |
6 - 8 |
6 - 8 |
|
6 - 8 |
1,4 - 1,8 |
160 - 200 |
18 - 22 |
9 - 10 |
9 - 10 |
|
10 |
1,6 - 2,0 |
220 - 250 |
24 - 27 |
15 |
15 |
|
12 и более |
2 - 2,5 |
240 - 300 |
25 - 32 |
30 |
20 |
4.1.15. При сварке многослойных швов в случае появления на поверхности шва темного налета, последний следует удалить ветошью, увлажненной бензином, или зачистить металлической щеткой. Только после этого можно накладывать последующие слои швов.
4.1.16. При сварке в вертикальном, горизонтальном и потолочном положениях для предотвращения стекания расплавленного металла необходимо:
- уменьшить величину сварочного тока (на 10 - 20 %);
- сварку вести короткой дугой, накладывая валики небольшого сечения;
- при перегреве металла, что визуально выражается в его оплывании, делать кратковременные перерывы в работе (для охлаждения металла).
Ручная дуговая сварка угольным электродом
4.1.17. Сварку следует выполнять открытой дугой на постоянном токе прямой полярности (минус источника питания - на угольном электроде). Для защиты металла шва от окисления необходимо применять флюсы. Способ характеризуется большим объемом расплавленного металла, поэтому сварку следует выполнять только в нижнем положении шва с тщательной формовкой соединения, препятствующей вытеканию расплавленного металла.
После сварки остатки флюса необходимо удалить.
4.1.18. Для ручной дуговой сварки угольным электродом следует собрать сварочный пост по схеме рис. 4.6. из оборудования, указанного в табл. 4.9.

Рис. 4.6. Схема поста для ручной сварки
угольным электродом на постоянном токе
1 - угольный электрод; 2 - источник питания
Оборудование для ручной сварки алюминия угольным электродом
|
Тип (марка) источника питания |
Назначение |
Номинальный сварочный ток, А |
|
ВД-306А |
Источник сварочного тока |
300 |
|
ВДУ-506М |
То же |
500 |
|
ВДМ-1202С*) |
То же |
1000 |
|
ВДМ-1601*) |
То же |
1600 |
*) - для сварки на токах, превышающих номинальный, источники соединяются параллельно по инструкции завода-изготовителя
Для подвода сварочного тока к угольному электроду требуется электрододержатель (Конструкцию электрододержателя можно найти в инструкции И 1.10-07).
4.1.19. Материалы, необходимые при сварке, указаны в табл. 4.10. расходы материалов - в Приложении 3.
Материалы для ручной сварки алюминия угольным электродом
|
Материал |
ГОСТ, ТУ |
Назначение |
|
1 |
2 |
3 |
|
1. Прутки из алюминия*) АД0 или АД1 |
ГОСТ 21488 |
Присадочный материал |
|
2. Электроды угольные**) |
ТУ 16-757.034-86 |
Сварочный электрод |
|
3. Флюс для сварки алюминия ВАМИ |
ТУ 48-4-347-75 |
Раскисление свариваемого металла |
|
4. Растворитель: бензин или ацетон |
Обезжиривание свариваемых кромок |
|
|
5. Ветошь обтирочная |
- |
Протирка кромок растворителем |
|
6. Отходы углеграфитных анодов, блоков или электродов, асбест |
- |
Изготовление формующих подкладок и уплотнения зазоров |
*) - допускается изготовление прутков рубкой из листа или шины, либо отливкой из металла шин.
**) - допускается изготовление из электродов (отходов) дуговых электропечей).
4.1.20. Подготовка шин к сварке заключается в обрезке свариваемых кромок под прямым углом. Скоса кромок при этом не делают, однако необходимо применять приспособления с формирующими подкладками из графита, препятствующими вытеканию расплавленного металла.
4.1.21. В случае применения прутков не заводского производства (специально изготовленные, в упаковке производителя, мерной длины) перед сваркой их следует очищать и обезжиривать.
Перед сваркой на кромки шин и на присадочные прутки необходимо нанести флюс ВАМИ, разведенный водой до «сметанообразной» массы, либо насыпать его на кромки в виде порошка.
4.1.22. В начале сварки следует производить подогрев свариваемых кромок путем перемещения растянутой сварочной дуги вдоль них, затем сконцентрировать дугу в начале шва, расплавить кромки шин до образования сварочной ванны ii начать перемещение дуги вдоль соединяемых кромок со скоростью их плавления. В задний край сварочной ванны необходимо ввести присадочный пруток, которым плавно и равномерно перемешивать сварочную ванну для удаления окислов и шлаков.
4.1.23. Заканчивая выполнение шва, следует дать металлу затвердеть, и в случае образования усадочной раковины возбудить дугу вновь и заплавить кратер.
4.1.24. По окончании сварки швы необходимо тщательно очистить от шлака, остатков флюса, застывших капель металла.
Схема выполнения сварки показана на рис. 4.7.

Рис. 4.7. Схема ручной дуговой сварки угольным
электродом
1 - электрод; 2 - свариваемое изделие; 3
- металл сварного шва; 4 - присадочный пруток;
а - угол наклона присадки 35 - 45°; b - угол наклона электрода 80 - 90°.
Стрелками указано направление сварки и
подача присадки
Рекомендуемые режимы и ориентировочный расход материалов при сварке приведены в табл. 4.11. более полная информация о расходе материалов - в Приложении 3.
Режимы ручной сварки алюминия угольным электродом
|
Толщина шин, мм |
Зазор между кромками шин, мм |
Сварочный ток1), А |
Диаметр присадочного прутка2), мм |
Расход на 100 мм шва, г |
+ |
|
присадки |
флюса ВАМИ |
||||
|
3 |
- |
150 |
5 |
9 |
1 - 2 |
|
4 |
- |
200 |
5 |
10 |
2 - 3 |
|
5 |
- |
200 |
5 |
18 |
3 - 5 |
|
6 |
- |
250 |
8 |
25 |
4 - 6 |
|
8 |
- |
300 |
10 |
35 |
5 - 8 |
|
10 |
- |
350 |
12 |
46 |
7 - 10 |
|
12 |
- |
400 |
12 |
57 |
9 - 12 |
|
15 |
- |
450 |
15 |
80 |
11 - 13 |
1) ток постоянный, полярность прямая.
2) прутки, нарезанные из шин или листов, должны иметь квадратное сечение со стороной квадрата, равной диаметру круглого прутка, указанному в таблице.
Особенности технологии сварки алюминиевых токопроводов различных профилей
Прямоугольные шины
Основные виды сварных соединений прямоугольных шин представлены на рис. 4.8.

Рис. 4.8. Основные сварные соединения
прямоугольных шин
а) соединения шин встык; б) соединения под углом; в) приварка ответвления к
шине; г) приварка ответвления к шине внахлестку; д) приварка компенсатора к
шинам; е) тавровое соединение шин; ж, з) сварка шин по верхним кромкам
1 - шина; 2 - сварной шов; 3 - пакет гибких лент
4.1.25. При сварке в монтажной зоне для формирования швов следует применять переносные сборочные приспособления, закрепляемые непосредственно на свариваемых шинах (рис. 4.9.).

Рис. 4.9. Переносные приспособления для
сварки шин на монтаже
а) для сварки встык; б) для приварки ответвлений
1 - сжимное приспособление; 2 - формирующие бруски из графитированного угля; 3
- подкладка из графитированного угля
4.1.26. При прокладке шин поодиночно должны, как правило, выполняться стыковые соединения, а при монтаже пакетов шин - нахлесточные, торцовые и угловые.
При сварке необходимо использовать специальные приспособления, исключающие вытекание алюминия и обеспечивающие возможность получения сварного шва необходимого размера (рис. 4.9, 4.10).

Рис. 4.10. Сварка шин по верхним
1 - шины; 2 - струбцина; 3 - горелка; 4 - сварочный шов

Рис. 4.11. Сварка пакетов шин по верхним кромкам (угольным
электродом)
1 - шины; 2 - сборочное приспособление; 3 - угольные формующие вкладыши; 4 -
присадка; 5 - электрод
4.1.28. При монтаже комплектных шинопроводов (типа ШMA, например) основной объем работ, связанный с изготовлением укрупненных секций, следует выполнять в мастерских электромонтажных заготовок, где собираемые внахлест шины секций стандартной длины должны соединяться сваркой по верхним и нижним кромкам с кантовкой собранного узла (см. табл. 4.1, торцевое соединение) для повышения его прочности при транспортировке и монтаже. Собранные на проектной отметке соединения шин следует сваривать только с одной стороны, доступной для выполнения сварки.
Профили и трубы
4.1.29. Для изготовления токопроводов различного специального назначения, кроме прямоугольных шин (Приложение), должны применяться прессованные алюминиевые профили и трубы по ГОСТ 15176 следующих типов: швеллер, двутавр, утолок косоугольный, труба круглая и др.
Примеры сварных соединений шин из профилей и труб показаны на рис. 4.12 и 4.13.

Рис. 4.12. Сварные соединения
токопроводов из алюминиевых швеллеров и двутавров
а, з - секции с приваренными вкладышами; б, и - соединение встык; д, м -
тавровое соединение; г, л - угловые секции; е, н - ответвление плоскими шинами;
в, к - компенсаторы; к - оконцевание профиля плоскими шинами
1 - профиль корытообразный; 2 - вкладыш; 3 - сварной шов; 4 - компенсатор

Рис. 4.13 Сварные соединения шин из
профиля «труба круглая»
а - соединение встык; б - ответвление трубой; в, г - ответвление плоской шиной;
д, е - соединение с компенсатором; ж - оконцевание пластиной
1 - труба; 2 - проволочный компенсатор; 3 - обойма компенсатора; 4 - шина; 5 -
контактная пластина
4.1.30. Коробчатые шины следует изготавливать сваркой двух швеллеров, собираемых полками внутрь, при помощи сжимов и фиксаторов зазора - отрезков алюминиевых пластин (рис. 4.14); длина сварных швов равна примерно 100 мм, расстояние между швами (шаг) 1 - 2 м; швы должны выполняться с двух сторон полуавтоматической аргонодуговой сваркой.

Рис. 4.14. Сварка коробчатой шины из
алюминиевого швеллера
1 - швеллер; 2 - сжим; 3 - горелка сварочного полуавтомата; 4 - соединительный
сварной шов
4.1.31. Технологический процесс изготовления токопроводов из профилей и труб необходимо строить по принципу сварки отрезков профиля в непрерывную нить, от которой отрезают участки требуемой длины, поступающие на сборку трехфазных секций токопровода. Длину секций токопровода следует определять условиями транспортировки и монтажа, и, как правило, выбирать кратной расстоянию между опорами или температурными компенсаторами.
4.1.32. Участки изготовления токопроводов должны оборудоваться роликовыми стендами облегчающими передвижение и центровку профилей; механическими вращателями (кантователями), обеспечивающими выполнение сварки в удобном для работы положении; поворотными пилами, позволяющими производить резку профиля под заданным углом, другими необходимыми механизмами.
4.1.33. Для облегчения сборки, центровки и сварки шин стыкуемых секций токопроводов следует применять вкладыши или подкладные кольца, изготавливаемые из алюминиевой полосы толщиной 3 - 5 мм и шириной 50 - 80 мм. Вкладыш (кольцо) должен крепиться на прихватках к одному из концов профиля и при последующей сварке состыкованных профилей служить формующей подкладкой, предотвращающей прожоги и протекания расплавленного металла.
4.1.34. При сварке профиля «отбортованный двутавр» сварной шов следует накладывать только по внешнему периметру профиля. Стык внутренних стенок профиля допускается не сваривать.
4.1.35. В токопроводах из швеллера и двутавра для компенсации температурных изменений длины должны применяться, как правило, шинные компенсаторы К52 - К56 по ТУ 36-14-82. Конструкции сварных соединений компенсаторов с профилями показаны на рис. 4.15.

Рис. 4.15. Приварка компенсаторов к
токопроводу
1 - секции токопровода; 2 - компенсаторы; 3 - планки; 4 - сварной шов
Сечение компенсатора должно быть равным сечению профиля. Поскольку толщина компенсатора, привариваемого только к двум полкам профиля, больше толщины его полок, к ним с наружной стороны следует предварительно приваривать алюминиевые пластины соответствующей толщины (рис. 4.15).
При сварке тавровых соединений труб торец примыкающей (ответвительной) трубы должен обрабатываться так, чтобы он сопрягался с поверхностью основной трубы, или в основной трубе следует высверливать отверстие, равное внешнему диаметру ответвительной трубы. Собранный узел необходимо сваривать по периметру сопряжения труб. Режимы сварки должны соответствовать режимам сварки труб с меньшей толщиной стенки.
При приварке ответвлений следует применять специальные приспособления, фиксирующие положение труб при сварке (рис. 4.16), либо сборку производить на прихватках. Прямоугольные шины достаточно прижать на время сварки струбциной (рис. 4.17).

Рис. 4.16 Приспособление для сборки под
сварку таврового соединении труб
1 - коромысло; 2 - откидная планка; 3 - скоба; 4 - откидной винт; 5 - пята; 6 -
винт прижимной; 7 - труба

Рис. 4.17. Сборка под сварку
прямоугольной шины с трубой
1 - труба; 2 - струбцина; 3 - прямоугольная шина
4.1.36. Компенсаторы для трубчатых токопроводов необходимо изготавливать, как правило, из алюминиевого неизолированного провода марки А по ГОСТ 839. Для этого в зависимости от диаметра трубы следует нарезать куски проводов длиной 300 - 600 мм.
Конструктивно компенсаторы должны выполняться путем сплавления концов проводов в кольцевой монолит (рис. 4.13 д) либо путем приварки проводов к фланцам (рис. 4.13 е) заклепочными швами.
Для этого во фланцах следует делать отверстия, в которые вставляются привариваемые провода. Фланцы с приваренными проводами необходимо приваривать к трубам угловыми швами. Возможно также фланцы приваривать к трубам заблаговременно, а затем уже вставлять и приваривать провода.
При изготовлении компенсаторов без фланцев обработанные провода следует собирать в приспособление (рис. 4.18), состоящее из внутренней графитовой оправки и наружного зажимного кольца, в котором производится сварка проводов в кольцевой монолит, предназначенный для последующей приварки к трубам.

Рис. 4.18. Приспособление для сплавления
алюминиевых проводов в монолит
1 - внутренняя графитовая оправка; 2 - шарнирное кольцо; 3 - шарнир; 4 -
алюминиевые провода; 5 - барашек
После сварки компенсатор изгибается в требуемую форму. На трубчатых шинах могут быть установлены также шинные компенсаторы из алюминиевых лент. При этом концы труб, к которым приваривается плоский компенсатор, сплющиваются. Сварку следует вести на режимах, соответствующих режимам сварки прямоугольных шин.
Приварка пакетов лент и жил проводов
4.1.37. Шинные компенсаторы следует изготавливать сплавлением концов пакетов лент в монолит при помощи аргонодуговой сварки плавящимся или неплавящимся электродом; возможна также сварка угольным электродом.
4.1.38. Сварка компенсатора в специальном приспособлении показана на рис. 4.19.

Рис. 4.19. Сварка компенсатора
1 - сварной шов; 2 - графитовый вкладыш; 3 - горелка полуавтомата; 4 -
приспособление для сварки; 5 - пакет лент; 6 - сварной монолит
Режимы и техника сварки компенсатора и их приварки к шинам аналогичны режимам сварки шин соответствующей толщины (см. табл. 4.5, 4.8, 4.11). В процессе сварки форму необходимо доверху заплавить расплавленным металлом. Перед сваркой ленты пакета следует очистить, обезжирить и просушить.
4.1.39. Провода к шинам должны, как правило, привариваться аргонодуговой или полуавтоматической сваркой. В качестве исключения допускается также сварка угольным электродом. Примеры сварных соединений проводов с шинами показаны на рис. 4.20.


Рис. 4.20 Сварные соединения проводов с
шинами
а - стыковое при горизонтальном расположении шины; б - электрозаклепочное; в -
торцевое при вертикальном расположении шины; г - угловое при горизонтальном
расположении шины
1 - шина; 2 - провод; 3 - сварной шов; 4 - электрозаклепочный шов
Сварку провода с алюминиевыми шинами следует выполнять в следующем порядке;
а) с проводов удалить изоляцию на длине не менее 60 мм;
б) при необходимости концы проводов обезжирить ацетоном или бензином;
в) шину и жилы проводов зачистить стальной проволочной щеткой;
г) с помощью приспособлений (рис. 4.21, 4.22) собрать свариваемый узел таким образом, чтобы провода выступали над шиной примерно на 5 мм;
д) произвести сварку: при сечении жил проводов от 16 до 95 мм2 током 100 - 160 А, при сечении проводов от 120 до 240 мм2 - 150 - 220 А; технология сварки та же, что и при сварке шин;
е) после сварки угольным электродом сварное соединение тщательно зачистить от шпака и остатков флюса.

Рис. 4.21. Приспособление для сварки
проводов с шиной, установленной на плоскость
1 - шарнирная рамка; 2 - медный вкладыш; 3 - скоба; 4 - ручка зажима; 5 - ручка
для переноски

Рис. 4.22. Сварка проводов с шиной,
установленной на ребро
1 - провода; 2 - шина; 3 -
приспособление; 4 - графитовый вкладыш; 5 - сварной шов; 6 - горелка сварочного
полуавтомата
Оконцевание алюминиевых шин медно-алюминиевыми пластинами
4.1.40. Режимы и техника сварки медно-алюминиевых пластин (Приложение 6) с шинами толщиной до 12 мм аналогичны приведенным в табл. 4.5, 4.8, 4.11. Охлаждения шва, выполненного контактной сваркой, при этом не требуется.
Ручная дуговая сварка угольным электродом
4.2.1. Для ручной дуговой сварки меди угольным электродом следует использовать то же оборудование, что и для сварки алюминия (см. табл. 4.9,).
4.2.2. Для сварки необходимы материалы, указанные в табл. 4.12.
Материалы для ручной дуговой сварки меди угольным электродом
|
Материал |
ГОСТ или ТУ |
Назначение |
|
1. Проволока и прутки из меди M1, M01) |
ГОСТ 16130 |
Присадочный материал |
|
2. Электроды угольные2) |
ТУ 16-757.034-86 |
Сварочные неплавящиеся электроды |
|
3. Флюс для сварки меди «борный шлак» |
- |
Раскисление свариваемого металла |
|
4. Графитовые бруски, асбест |
|
Для формирования и уплотнения шва |
|
5. Ацетон или бензин |
Обезжиривание свариваемых кромок |
|
|
6. Ветошь обтирочная |
ОСТ 63.46-84 |
Протирка кромок растворителем |
1) Допускается применение прутков, нарубленных из медных шин или листов.
2) Допускается изготовление из электродов (отходов) дуговых электропечей.
4.2.3. При сварке шин из меди следует использовать такие же приспособления и инструменты, как при сварке шин из алюминия. Вследствие высокой жидкотекучести расплавленной меди необходимо очень тщательно и надежно заформовывать сварные соединения, чтобы исключить протечки металла при сварке. Сварку медных шин и компенсаторов необходимо производить на угольных подкладках с канавкой под стыком; торцы швов уплотнить угольными брусками.
4.2.4. Подготовка шин к сварке (кроме правки и резки по размеру) включает обработку свариваемых кромок в зависимости от толщины материалов в соответствии с ГОСТ 23792, зачистку свариваемых кромок на участке не менее 30 мм от их торцов.
4.2.5. Перед сваркой присадочные прутки следует очистить от жира и грязи. При необходимости несколько присадочных прутков складывают (скручивают) вместе.
4.2.6. Подготовленные к сварке шины необходимо уложить и закрепить в приспособлении, на свариваемые кромки насыпать тонкий слой флюса.
4.2.7. Начиная сварку, следует свариваемые кромки разогреть дугой, перемещая ее вдоль стыка до появления отдельных капель расплавленной меди в зоне дуги; после подогрева кромок дугу сосредоточить в начале шва до расплавления кромок и появления сварочной ванны; присадочный пруток ввести в задний край сварочной ванны (он должен плавиться от ее тепла). Сплавлять присадку каплями, внося ее в дугу, не рекомендуется, так как это ведет к интенсивному окислению металла и образованию трещин в шве. Погружая время от времени разогретый конец прутка во флюс, внести флюс в сварочную ванну.
Сразу после сварки необходимо шов резко охладить водой. Сварку медных шин по возможности следует выполнять за один проход. Режимы сварки и расход материалов приведены в табл. 4.13.
Режимы ручной сварки меди угольным электродом
|
Толщина шин, мм |
Сварочный ток, А1) |
Диаметр угольного электрода, мм |
Диаметр присадочного прутка, мм |
Расход на 100 мм шва, г |
|
|
присадки |
флюса |
||||
|
3 |
150 |
12 |
4 |
29 |
1 |
|
4 |
180 |
12 |
4 |
35 |
2 |
|
5 |
220 |
12 |
6 |
65 |
3 |
|
6 |
260 |
15 |
6 |
105 |
4 |
|
8 |
320 |
15 |
8 |
150 |
5 |
|
10 |
400 |
20 |
8 |
210 |
7 |
|
12 |
500 |
20 |
10 |
290 |
9 |
|
20 |
1000 |
30 |
15 |
450 |
12 |
1) Прямая полярность (минус источника питания - на угольном электроде).
4.2.8. Нахлесточные и угловые соединения медных шин следует выполнять так же, как алюминиевых.
При сварке угловых швов этих соединений шины необходимо по возможности расположить «лодочкой», т.к. при этом ввиду высокой жидкотекучести расплавленной меди, создаются наиболее благоприятные условия для обеспечения хорошего качества сварных соединений (рис. 4.23 а).
При невозможности выполнения сварки в «лодочку» следует применять принудительное формирование шва угольными брусками (рис. 4.23 б). В этом случае во избежание непровара кромки шины ответвления должны расплавляться только после расплавления сборной шины.

Рис. 4.23. Сварка медных шин внахлестку
а) расположение шин «лодочкой»; б) расположение шин - «плашмя»
1, 2 - шипы; 3 - сварной шов; 4 - угольный брусок
Режимы сварки шин внахлестку соответствуют приведенным в табл. 4.13.
Полуавтоматическая сварка плавящимся электродом в защитном газе
4.2.9. Этот способ сварки эффективен при соединении шин толщиной до 10 мм. При сварке больших толщин необходим предварительный и сопутствующий подогрев.
4.2.10. Для полуавтоматической сварки меди в защитном газе как и при сварке алюминия следует применять оборудование, указанное в п.п. 4.1.9, 4.1.10.
4.2.11. При сварке необходимы материалы, приведенные в табл. 4.14.
4.2.12. При подготовке шин к сварке их кромки следует обрабатывать в соответствии с требованиями ГОСТ 23792, очистить и обезжирить на ширине не менее 30 мм.
Материалы для полуавтоматической аргонодуговой сварки меди
|
Материалы |
ГОСТ или ТУ |
Назначение |
|
Проволока медная сварочная М0, M1 |
ГОСТ 16130 |
Электродная проволока, присадочный материал |
|
Графитовые пластины1) |
|
Изготовление формующих подкладок |
|
Бензин или ацетон |
Обезжиривание свариваемых кромок |
|
|
Ветошь обтирочная |
ОСТ 63.46-84 |
Протирка кромок шин |
|
Аргон газообразный |
Защита зоны сварки от кислорода |
1) Допускается изготовление из отходов графитированных анодов и катодных блоков электролизеров, а также электродов дуговых печей.
4.2.13. Для сварки плавящимся электродом рекомендуется использовать проволоку с рядной намоткой, поставляемую на катушках, очищенную и готовую к применению, отечественного или импортного производства. В случае использования иной проволоки, перед применением ее необходимо очистить от жира и грязи и в зависимости от конструкции полуавтомата ровно, послойно намотать на катушку либо прямо в бухте укладывать на вертушку механизма подачи.
4.2.14. После укладки и закрепления шин в приспособлении следует выполнить их сварку по технологии, аналогичной сварке алюминиевых шин (см. рис. 4.24).

Рис. 4.24 Полуавтоматическая сварка
медных шин в защитном газе
а - схема процесса сварки; б - колебательные движение сварочной горелки
1 - сварочная горелка; 2 - шина; 3 - металл сварного шва; 4 - графитовые
формирующие бруски; 5 - графитовая подкладка;
а - угол наклона горелки (70 - 80°)
Стрелкой указано направление сварки
Перед сваркой шин толщиной более 10 мм необходимо произвести предварительный подогрев кромок до температуры 600 - 800°С. Для подогрева следует использовать пропано-кислородное или ацетиленокислородное пламя.
Немедленно после окончания сварки соединение необходимо охладить водой.
Режимы сварки и ориентировочный расход материалов приведены в табл. 4.15.
Режимы полуавтоматической аргонодуговой сварки меди
|
Толщина шины, мм |
Диаметр сварочной проволоки, мм |
Сварочный ток1) А |
Напряжение на дуге, В |
Расход на 100 мм шва |
|
|
электродной проволоки, г |
аргона, л |
||||
|
3 |
1,2 - 1,6 |
240 - 280 |
37 - 39 |
20 |
10 |
|
4 |
1,2 - 1,6 |
280 - 320 |
38 - 40 |
24 |
11 |
|
5 |
1,4 - 1,8 |
320 - 360 |
39 - 41 |
33 |
12 |
|
6 |
1,4 - 1,8 |
360 - 400 |
40 - 42 |
47 |
14 |
|
7 |
1,6 - 2,0 |
400 - 440 |
41 - 43 |
64 |
15 |
|
8 |
1,8 - 2,0 |
440 - 480 |
42 - 44 |
84 |
17 |
|
9 |
2,0 - 2,5 |
480 - 520 |
43 - 45 |
106 |
18 |
|
10 |
2,0 - 2,5 |
520 - 560 |
44 - 46 |
130 |
20 |
1) Постоянный ток, полярность обратная.
4.2.15. Сварку одиночных шин в вертикальном и горизонтальном положениях следует выполнять при использовании электродной проволоки диаметром 1,2 мм. В этом случае необходимо применять приспособление для фиксации и подогрева шин. Шины толщиной до 4 мм должны собираться под сварку без разделки кромок; при толщине 5 мм и более необходим односторонний скос кромок под углом 30°C притуплением около 2 мм. Зазор между кромками не должен превышать 3 мм.
Шины перед сваркой следует подогреть до температуры 600°С. Первый проход должен выполняться «ниточным» швом; последующие проходы - с поперечными колебаниями горелки. Режимы сварки приведены в табл. 4.16. После сварки шов следует охладить водой.
Режимы вертикальной полуавтоматической сварки медных шин
|
Последовательность прохода |
Сварочный ток, А1) |
Напряжение на дуге, В |
|
1-ый |
130 - 140 |
26 - 27 |
|
2-ой и последующие |
120 - 130 |
24 - 26 |
1) Постоянный ток, полярность обратная.
Плазменная сварка
4.2.16. сертифицированные специализированные установки, выпускаемые отечественной или зарубежной промышленностью.
4.2.17. При сварке должны использоваться материалы, указанные в табл. 4.12.
4.2.18. Перед плазменной сваркой свариваемые шины и присадочные прутки следует подготавливать как при полуавтоматической сварке.
4.2.19. Сварку шин необходимо выполнять в приспособлениях, исключающих протечки расплавленного металла, как при сварке угольным электродом.
4.2.20. Приступая к сварке, сначала следует зажечь вспомогательную дугу, которая необходима для ионизации межэлектродного пространства, и, тем самым, облегчения возбуждения основной дуги.
При поднесении горелки с зажженной вспомогательной дугой к свариваемым шинам на расстояние около 10 мм возникает основная дуга, используемая для расплавления металла.
При плазменной сварке аналогичной технике ручной аргонодуговой сварки вольфрамовым электродом необходимо: подогреть шины, расплавить кромки, ввести присадку и перемещать сварочную ванну вдоль кромок. Схема сварки показана на рис. 4.25.

Рис. 4.25. Схема ручной плазменной
сварки
1 - присадочный пруток; 2 - плазменная горелка; 3 - свариваемые шины
Режимы плазменной сварки приведены в табл. 4.17.
Режимы плазменной сварки меди
|
Толщина шины, мм |
Зазор между кромками шин, мм |
Сварочный ток, А |
Напряжение на дуге, В |
Диаметр присадочного прутка, мм |
|
4 |
2 |
350 - 400 |
37 - 40 |
4 |
|
6 |
4 |
380 - 440 |
37 - 40 |
6 |
|
10 |
4 |
440 - 450 |
40 - 45 |
8 |
|
12,5 |
4 |
450 - 500 |
40 - 45 |
10 |
|
20 |
5 |
800 |
40 - 45 |
15 |
Примечания:
1. Расстояние от сопла до изделия ≈ 10 мм.
2. Расход плазмообразующего газа (аргона) 3 - 6 л/мин.
Особенности сварки медных компенсаторов
4.2.21. Для обеспечения полного провара пакета на всю толщину, ленты компенсатора следует укладывать ступенчато. Под нижнюю и на верхнюю ленты необходимо укладывать медные полоски шириной - 50 мм из той же ленты для защиты от подплавления крайних лент.
4.2.22. Для защиты лент от перегрева на их верхнюю поверхность на расстоянии 10 мм от кромки следует накладывать медные теплоотводящие пластины толщиной 8 - 10 мм.
4.2.23. Режимы сварки пакетов лент аналогичны режимам сварки медных шин соответствующей толщины. Сварку необходимо выполнять аналогично сварке шин встык с той разницей, что дугу направляют преимущественно на шину.
4.3.1. Медь с алюминием следует сваривать при изготовлении переходных медно-алюминиевых пластин и наконечников стыковой контактной сваркой оплавлением с ударной осадкой на специальных контактных стыковых машинах.
Сварка должна выполняться на заводах электромонтажных изделий в соответствии с производственными инструкциями.
Переходные медно-алюминиевые пластины (МА) предназначены для приварки к алюминиевым шинам в местах их присоединения к медным плоским или стержневым выводам электрооборудования.
В этих же случаях могут применяться переходные пластины из алюминиевого сплава АД31Т1 типа АП.
4.3.2. Алюминий следует сваривать со сталью дуговой сваркой, например, при изготовлении сталеалюминиевых троллейных планок и компенсаторов; аргонодуговой полуавтоматической или ручной сваркой вольфрамовым электродом (а также ручной сваркой угольным электродом) с предварительным горячим алитированием или оцинковкой стальной детали.
Сталеалюминиевые детали (планки У1040 и троллейные компенсаторы У1008 и др.) предназначены для сварного соединения алюминиевых проводников со стальными, а также стальных проводников (троллеев) между собой. При этом стальная часть планок должна привариваться к стальному проводнику обычными электродами для сварки стали, а алюминиевая - к алюминиевому проводнику - в соответствии с требованиями настоящей инструкции.
5.1.1. Разборные (болтовые) контактные соединения в зависимости от материала соединяемых шин и климатических факторов внешней среды подразделяются на соединения:
а) без средств стабилизации электротехнического сопротивления;
б) со средствами стабилизации электрического сопротивления.
5.1.2. Контактные соединения шин из материалов медь-медь, алюминиевый сплав алюминиевый сплав, медь-сталь, сталь-сталь для групп А и Б, а также из материалов алюминиевый сплав-медь и алюминиевый сплав-сталь для группы А не требуют применения средств стабилизации электрического сопротивления. Соединения выполняются непосредственно с помощью стальных крепежных деталей (рис. 5.1 а).

Рис. 5.1. Разборные контактные соединения
1 - шина медная, из алюминиевого сплава или стали; 2 - алюминиевая шина; 3 -
стальная шайба; 4 - тарельчатая пружина; 5 - стальной болт; 6 - стальная гайка;
7 - болт из цветного металла; 8 - гайка из цветного металла; 9 - шайба из
цветного металла; 10 - металлопокрытие; 11 - шина медная, алюминиевая, из
алюминиевого сплава или стали; 12 - медно-алюминиевая пластина; 13 - пластина
из алюминиевого сплава; 14 - шина из алюминиевого сплава
5.1.3. Контактные соединения шин из материалов алюминий-алюминий, алюминиевый сплав-алюминий для групп А и Б, а также из материалов алюминий-медь и алюминий-сталь для группы А следует выполнять с помощью одного из средств стабилизации сопротивления:
а) тарельчатых пружин по ГОСТ 3057 (рис. 5.1 б);
б) крепежных изделий из меди или ее сплава (рис. 5.1 в);
в) защитных металлических покрытий по ГОСТ 21.484, наносимых на рабочие поверхности шин или электропроводящей смазкой типа ЭПС-98 (рис 5.1 г), - Приложение 7;
г) переходных медно-алюминиевых пластин по ГОСТ 19357 (рис. 5.1 д);
д) переходных пластин из алюминиевого сплава (рис. 5.1 е).
5.1.4. Для группы Б контактные соединения шин из материалов алюминиевый сплав-медь, алюминиевый сплав-сталь, следует выполнять как показано на рис. 5.1 д, е; из материалов алюминий-медь, алюминий-сталь - как показано на рис. 5.1 б, в, д, е.
Рабочие поверхности шин и пластин из алюминия и алюминиевого сплава должны иметь защитные металлопокрытия (Приложение 8).
5.1.5. Пластины из алюминиевого сплава и алюминиевые части медно-алюминиевых пластин следует соединять с алюминиевыми шинами сваркой. Разборные соединения переходных пластин с медными шинами необходимо выполнять с помощью стальных крепежных деталей.
5.1.6. Расположение и диаметр отверстий для соединения шин шириной до 120 мм приведены в табл. 5.1. Зависимость диаметра отверстия в шинах от диаметра стягивающих болтов следующая:
|
Диаметр болта, мм |
6 |
8 |
10 |
12 |
16 |
|
Диаметр отверстия в шинах, мм |
6,6 |
9 |
11 |
14 |
18 |
Размеры, мм
|
Выполнение |
Размеры, мм |
||
|
соединения |
ответвления |
b ≥ b1 |
d |
|
|
|
15 20 25 30 40 50 |
6,6 9 11 11 14 18 |
|
|
|
60 80 100 120 |
11 14 18 18 |
|
|
|
80* 100* 120* |
14 18 18 |
* Примечание только при соединении пакетов шин
5.1.7. Контактные участки шин шириной 60 мм и более, имеющие два отверстия в поперечном ряду, рекомендуется выполнять с продольными разрезами. Ширина разреза зависит от способа его выполнения и должна быть не более 5 мм.
5.2.1. Подготовка шин для разборного соединения состоит из следующих операций: выполнение отверстий под болты, обработка контактных поверхностей и, при необходимости, нанесение металлопокрытия.
5.2.2. Расположение и размеры отверстий под болты должны соответствовать указанным в п. 5.1.6.
5.2.3. При массовой заготовке шин рекомендуется вырубку отверстий производить на прессах. Одновременная вырубка нескольких отверстий
может быть осуществлена с помощью специальных приспособлений. При вырубке отверстий с применением упора и кондукторов разметку производить не следует.
5.2.4. Длину болтов для соединения пакета шин необходимо выбирать по табл. 5.2. На болтах после сборки и затяжки соединений должно оставаться не менее двух ниток свободной резьбы.
Длина болтов для соединения пакетов шин
|
Толщина пакета шин в соединении, мм |
Длина болтов, мм |
||||||
|
алюминиевых с алюминиевыми |
алюминиевых с медными или с шинами из алюминиевого сплава |
медных или стальных |
М6 |
М8 |
М10 |
M12 |
М16 |
|
- |
4 |
4 - 6 |
16 |
20 |
20 |
- |
|
|
4 |
6 - 7 |
7 - 10 |
- |
20 |
25 |
30 |
- |
|
5 - 10 |
8 - 10 |
11 - 15 |
- |
25 |
30 |
35 |
- |
|
11 - 12 |
12 - 15 |
16 - 20 |
- |
- |
35 |
40 |
- |
|
13 - 17 |
16 - 20 |
21 - 25 |
- |
- |
40 |
45 |
50 |
|
18 - 22 |
21 - 25 |
26 - 30 |
- |
- |
45 |
50 |
55 |
|
23 - 27 |
26 - 30 |
31 - 35 |
- |
- |
50 |
55 |
60 |
|
28 - 32 |
31 - 35 |
36 - 40 |
- |
- |
55 |
60 |
65 |
|
33 - 37 |
36 - 40 |
41 - 45 |
- |
- |
60 |
65 |
70 |
|
38 - 42 |
41 - 45 |
46 - 50 |
- |
- |
65 |
70 |
75 |
|
43 - 47 |
46 - 50 |
51 - 55 |
|
- |
70 |
75 |
80 |
|
48 - 52 |
51 - 55 |
56 - 60 |
|
- |
75 |
80 |
85 |
|
53 - 57 |
56 - 60 |
61 - 65 |
- |
- |
80 |
85 |
90 |
|
58 - 62 |
61 - 65 |
66 - 70 |
- |
- |
- |
90 |
95 |
|
63 - 67 |
77 - 70 |
71 - 75 |
- |
- |
- |
95 |
100 |
|
68 - 72 |
71 - 75 |
76 - 81 |
- |
- |
- |
100 |
105 |
5.2.5. Контактные поверхности шин необходимо обрабатывать в следующем порядке: удалить бензином, ацетоном или уайт-спиритом грязь и консервирующую смазку, у сильно загрязненных шин гибкой ошиновки кроме очистки внешних повивов после расплетки очистить внутренние повивы; выправить и обработать под линейку на шинофрезерном станке (при наличии вмятин, раковин и неровностей); удалить посторонние пленки ручным электроинструментом со специальным зачистным кругом, или другими насадками и приспособлениями для механизированных инструментов. Зачистку шин в мастерских электромонтажных заготовок рекомендуется производить на станке 3Ш-120. При зачистке алюминия применять шлифовальные круги не допускается. Не следует применять напильники и стальные щетки для одновременной обработки шин из различных материалов.
5.2.6. Для удаления окисных пленок рабочие поверхности следует зачищать. По окончании зачистки шин из алюминия или алюминиевого сплава на их поверхность необходимо нанести нейтральную смазку (вазелин КВЗ, ГОСТ 15975; ЦИАТИМ-221, ГОСТ 9433; ЦИАТИМ-201, ГОСТ 6267; электропроводящую смазку ЭПС-98 ТУ 0254-002-47926093-2001 или другие смазки с аналогичными свойствами). Рекомендуемое время между зачисткой и смазкой - не более 1 ч.
5.2.7. Способы и технология нанесения металлопокрытий на контактные поверхности шин даны в Приложении 8.
5.2.8. Поверхности, имеющие защитные металлические покрытия, в случае загрязнения перед сборкой следует промыть органическими растворителями (бензином, уайт-спиритом и т.д.).
Луженые медные желобки, предназначенные для закрепления медных шин в петлевых зажимах, необходимо промывать растворителем и покрывать слоем нейтральной смазки (вазелин КВЗ, ГОСТ 15975; ЦИАТИМ-201, ГОСТ 6267; ЦИАТИМ-221, ГОСТ 9433; электропроводящую смазку ЭПС-98 ТУ 0254-002-47926093-2001 или другими смазками с аналогичными свойствами). Зачищать такие желобки наждачной бумагой не следует.
5.2.9. Допускается наносить металлопокрытия на отрезки шин (пластин), которые затем приваривают к шинам на монтаже. Длина покрываемого отрезка шины (пластины) в зависимости от длины этого отрезка должна быть:
|
Сечение шины, мм2 |
4×40 |
6×50 |
8×60 |
8×80 |
10×80 |
10×100 |
12×120 |
|
Длина отрезка шины (пластины), мм |
120 |
120 |
120 |
150 |
150 |
200 |
200 |
|
Длина покрываемою отрезка, мм |
50 |
60 |
70 |
90 |
90 |
110 |
130 |
5.2.10. Затягивать болты контактных соединений рекомендуется динамометрическими ключами с крутящим моментом по табл. 5.3.
Крутящий момент динамометрических ключей
|
Диаметр резьбы, мм |
Крутящий момент, Нм |
|
|
для алюминиевых шин |
для шин из меди, твердого алюминиевого сплава и стали |
|
|
М5 |
7,5 ± 1,0 |
11,5 ± 1,0 |
|
М6 |
10,5 ± 1,0 |
16,0 ± 1,0 |
|
М8 |
22,0 ± 1,5 |
33,0 ± 1,5 |
|
М10 |
30,0 ± 1,5 |
45,0 ± 2,0 |
|
М12 |
40,0 ± 2,0 |
60,0 ± 3,0 |
|
М16 |
60,0 ± 3,0 |
90,0 ± 4,0 |
|
М20 |
90,0 ± 4,0 |
135,0 ± 5,0 |
|
М24 |
130,0 ± 5,0 |
200,0 ± 7,0 |
|
М30 |
200,0 ± 7,0 |
300,0 ± 12,0 |
|
М36 |
240,0 ± 10,0 |
360,0 ± 14,0 |
5.2.11. При отсутствии динамометрических ключей болты контактных соединений медных, стальных шин и шин из алюминиевого сплава следует затягивать гаечными ключами нормальным усилием руки (150 - 200 Н). Соединения алюминиевых шин необходимо предварительно обжать путем затяжки болтов диаметром M12 и выше полным усилием руки (около 400 Н), затем соединения ослабить и вторично затянуть болты нормальным усилием. Для диаметров болтов 6 10 мм делать обжатие не следует.
Соединения с тарельчатыми пружинами следует затягивать в два приема. Вначале болт затягивают до полного сжатия тарельчатой пружины, затем соединение ослабляют поворотом ключа в обратную сторону на 1/4 оборота (на угол 90°) для болтов М6 - М12 и на 1/6 оборота (угол 60°) - для остальных болтов.
6.1. Выводы электротехнических устройств согласно ГОСТ 21242 могут быть плоскими и штыревыми. Размеры выводов приведены в Приложении 9.
6.2. Сварные соединения шин с выводами из однородных металлов должны выполняться согласно указаниям, приведенным в разделе 3.
Сварное соединение шин из алюминия и его сплавов с медным выводом следует выполнять с помощью переходной медно-алюминиевой пластины.
6.3. Разборные соединения шин с плоскими выводами в зависимости от материала выводов, шин и от климатических факторов внешней среды должны выполняться одним из способов, указанных в п.п. 5.1.2 - 5.1.7.
6.4. Для группы А контактные соединения шин со штыревыми выводами в зависимости от материала шины и значения номинального тока вывода следует выполнять:
а) для шин из меди, стали и алюминиевого сплава - непосредственно стальными гайками1 (рис. 6.1 а);
1Во всех случаях должны применяться упорные гайки из меди или латуни
б) для шин из алюминия с выводом на номинальный ток до 630 А - непосредственно гайками из меди и ее сплавов по ГОСТ 5916 (рис. 6.1 б); на номинальный ток выше 630 А * непосредственно стальными или медными гайками с защитным металлопокрытием рабочей поверхности шины (рис. 6.1 в) или с помощью переходных медно-алюминиевых пластин по ГОСТ 19357 (рис. 6.1 г), или переходных пластин из алюминиевого сплава (рис. 6.1 д).

Рис. 6.1. Соединение со штыревыми
выводами
1 - вывод из меди или ее сплавов; 2 - стальная гайка; 3 - шина медная, из
алюминиевого сплава или стали; 4 - гайка из меди или ее сплавов; 5 - шина
алюминиевая или алюминиевого сплава; 6 - металлопокрытие или смазка ЭПС-98; 7 -
медно-алюминиевая пластина; 8 - пластина из алюминиевого сплава; 9 - шина из
алюминиевого сплава
6.5. Для группы Б контактные соединения шин со штыревыми выводами в зависимости от материала шин следует выполнять:
а) шин из меди - непосредственно стальными гайками (рис. 6.1 а);
б) шин из алюминия и алюминиевого сплава - с помощью переходных медно-алюминиевых пластин по ГОСТ 19357 (рис. 6.1 г) или переходных пластин из алюминиевого сплава (рис. 6.1 д), при этом переходные пластины из алюминиевого сплава должны иметь защитное металлопокрытие или должна быть нанесена смазка ЭПС-98.
6.6. Размеры отверстий в шинах должны соответствовать диаметру штыревого вывода:
|
Диаметр штыревого вывода, мм |
6 |
8 |
10 |
12 |
16 |
20 |
24 |
30 |
33 |
36 |
|
Диаметр отверстия шин, мм |
6,6 |
9 |
11 |
14 |
18 |
22 |
26 |
32 |
35 |
39 |
7.1. Соединения и ответвления на медных, стальных, алюминиевых и сталеалюминиевых гибких шинах открытых распределительных устройств следует выполнять обжатием, опрессованием, с помощью петлевых или ответвительных болтовых зажимов. Ответвления алюминиевых и сталеалюминиевых шин должны преимущественно выполняться пропано-кислородной сваркой. Оконцевания следует выполнять аппаратными зажимами1, соединяемыми с гибкой шиной опрессованием2, болтами или сваркой.
1 См. каталог Технопромэкспорта «Арматура воздушных линий электропередачи и открытых распределительных устройств», Москва, 1975
2 Способы опрессовки зажимов гидравлическим инструментом (пресса ПГЭ-20, ПГР-20М1, Технос и др.) приведены в «Инструкции по соединению жил проводов и кабелей», опрессовка пороховым прессом - в Приложении 10.
7.2. Болтовые петлевые и ответвительные зажимы для алюминиевых и сталеалюминиевых шин должны изготавливаться из алюминиевых сплавов, для медных - из латуни, для стальных - из стали (рис. 7.1, 7.2).

Рис. 7.1. Зажим петлевой
1 - планка зажимная; 2 - прижим; 3 - болт; 4 - гайка; 5 - шайба пружинная

Рис. 7.2. Зажим ответвительный
1 - основание; 2 - прижим; 3 - болт; 4 - гайка; 5 - шайба пружинная
В болтовые петлевые зажимы, предназначенные для соединения медных шин с алюминиевыми, на заводе-изготовителе необходимо впаивать луженые медные желобки.
7.3. Болтовые аппаратные зажимы рассчитаны на затяжку шин с помощью плашек (рис. 7.3). Для медных шин их следует изготавливать из латуни, для алюминиевых - из алюминиевых сплавов.

Рис. 7.3. Зажимы аппаратные болтовые
а - для присоединения к стержневому выводу и плоскому, имеющему одно отверстие;
б, в - для присоединения к плоским выводам, имеющим два и четыре отверстия
В конструкции аппаратных зажимов, предназначенных для алюминиевых шин, предусмотрены переходные медные пластины, соединенные с корпусом зажима пайкой или сваркой. Эти пластины обеспечивают лучший контакт при соединении алюминиевого аппаратного зажима с медным выводом аппарата или с алюминиевым выводом, плакированным или армированным медью.
Если алюминиевый аппаратный зажим соединяется с алюминиевым выводом болтами или сваркой, медные пластины следует удалить.
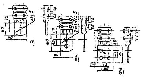
Аппаратные зажимы имеют одно, два или четыре отверстия для присоединения к выводам аппаратов или шинам.
7.4. Аппаратные зажимы, имеющие в лапке одно отверстие диаметром 14,5 мм, допускается рассверливать по диаметру штыревого вывода, но не свыше 30 мм.
7.5. Шины в зажиме следует закреплять в следующем порядке:
- заложить шину в соответствующие желобки зажима (при монтаже переходных зажимов с меди на алюминий медная шина должна соприкасаться с луженым медным желобком, а алюминиевая - с алюминиевым);
- установить плашки;
- покрыть нарезанную часть болтов смазкой марки АМС-1, не допуская попаданий ее на контактную поверхность;
- затянуть болты.
Затяжку болтов гайками необходимо производить так, чтобы все части зажима испытывали одинаковое давление по длине контакта. После полной затяжки болтов между плашками должен оставаться зазор 3 - 4 мм. Сближение плашек вплотную указывает на то, что размеры желобков не соответствуют данной шине и требуемое давление в контакте не обеспечено. Такие зажимы подлежат замене.
7.6. Оконцевания гибких шин аппаратными зажимами для соединения с плоскими выводами аппаратов следует производить в соответствии с конструкцией вывода.
7.7. Гибкие шины, околдованные аппаратными зажимами, соединяются с плоскими выводами аппаратов непосредственно.
7.8. Соединения гибких шин со штыревыми выводами аппаратов следует выполнять:
а) медных, оконцованных аппаратным зажимом с одним отверстием, при диаметре вывода до 28 мм - непосредственно; при диаметре вывода свыше 28 мм - через медные пластины; с двумя и четырьмя отверстиями - через медные пластины;
б) алюминиевых и сталеалюминиевых, оконцованных аппаратными зажимами, - через медные пластины.
8.1.1. Проверку соединений следует производить при квалификационных, типовых, периодических и приемо-сдаточных испытаниях электротехнических устройств в соответствии с требованиями ГОСТ 17441.
8.1.2. Все виды проверок и объем выборки при квалификационных испытаниях приведены в табл. 8.1.
Виды проверок и объем выборки при испытаниях
|
Наименование проверок |
Пункты |
Число образцов, не менее |
Примечание |
|
|
технических требований |
методов испытаний |
|||
|
настоящей инструкции |
||||
|
1. Проверка соответствия требованиям к конструкции |
16 |
При проверках по п.1 - 7 |
||
|
2. Испытание на воздействие климатических факторов внешней среды |
3 |
После проверки по п. 1 |
||
|
3. Испытание на воздействие статической осевой нагрузки |
3 |
После проверки по п. 1 |
||
|
4. Определение начального электрического сопротивления |
10 |
После проверки по п. 1 |
||
|
5. Испытание на нагревание номинальным (длительно допустимым) током |
10 |
После проверки по п. 4 |
||
|
6. Ускоренное испытание в режиме циклического нагревания |
7 |
После проверки по п. 5 |
||
|
7. Испытание на стойкость при сквозных токах |
3 |
После про верки по п. 5 |
||
8.1.3. Соединения, не выдержавшие испытания по одному из п.п. 1 - 7 табл. 8.1., необходимо подвергать повторным испытаниям по этому пункту на удвоенном количестве образцов, при этом результаты повторных испытаний являются окончательными.
8.1.4. Виды проверок и объем выборки при типовых испытаниях должны быть достаточными для проверки тех характеристик соединений, которые могут измениться вследствие изменения конструкции, материала или технологии изготовления.
8.1.5. При периодических испытаниях следует выполнять проверки по п.п. 1, 4, 5 табл. 8.1. Периодические испытания должны проводиться, как правило, один раз в два года.
8.1.6. При приемосдаточных испытаниях следует выполнять проверки по п.п. 1 и 4 табл. 8.1. Объем выборки должен быть установлен в стандартах или
технических условиях на конкретные виды электротехнических устройств; при отсутствии таких указаний объем выборки должен составлять 0,5 % (но не менее 3 шт.) соединений одного типоразмера, предъявляемых одновременно по одному документу. Отбор соединений в выборку должен осуществляться по ГОСТ 18321.
8.2.1. При монтаже контактных соединений следует контролировать их соответствие требованиям ГОСТ 10434, ТУ на конкретные виды электротехнических устройств или требованиям настоящей инструкции.
8.2.2. У плоских разборных соединений необходимо контролировать плотность прилегания контактных поверхностей. Соединения можно считать выдержавшими испытания, если щуп толщиной 0,03 мм не входит в паз сопряжения токоведущих деталей далее зоны, ограниченной периметром шайбы или гайки. При наличии шайб разного диаметра эту зону следует определять диаметром меньшей шайбы. Для сжимных соединений суммарная длина участков вхождения щупа толщиной 0,03 мм в стык между сопрягаемыми плоскостями проводников не должна превышать 25 % периметра нахлеста.
8.2.3. При осмотре неразборных соединений, выполненных опрессовкой, необходимо контролировать их соответствие требованиям, приведенным в п. 3.2.4, при этом визуально нужно проверить соосность лунок и отсутствие в них трещин. Размеры, подлежащие измерению, приведены на рис. 8.1.

Рис. 8.1 Контролируемые элементы впрессованных соединений
Контроль производится у двух-трех соединений с помощью штангенциркуля или специальным измерительным инструментом (рис. 8.2). Остаточная толщина зависит от инструмента, которым проводилась опрессовка, и должна соответствовать значениям, указанным в табл. 8.2, 8.3.

Рис. 8.2 Измерение остаточной толщины h в месте опрессовки
способом местного вдавливания
а, б - ступенчатым инструментом, в - шестигранным обжатием, г - местным
вдавливанием
Остаточная толщина в месте опрессовки медных жил
|
Тип |
Остаточная толщина h ± 2 мм при опрессовке |
|||||
|
наконечника, ГОСТ 7386 |
гильзы, ГОСТ 23469.3 |
инструментом |
||||
|
ПК-3 |
НИОМ с прессом |
ПКМ |
УНИ-1М |
|||
|
РМП-7М1 |
ПГР-20М1, ПГЭ-20 |
|||||
|
- |
1,5 |
- |
- |
- |
2,5 |
- |
|
2,5 - 3; 2,5 - 4; |
2,5 |
2,5 |
- |
- |
- |
- |
|
2,5 - 5; 2,5 - 6 |
|
|
|
|
|
|
|
4 - 4; 4 - 5; 4 - 6 |
4 |
2,5 |
- |
- |
- |
- |
|
6 - 4; 6 - 5; 6 - 6 |
6 |
3 |
- |
- |
- |
- |
|
10 - 5; 10 - 6; 10 - 8 |
10 |
- |
4,3 |
4,3 |
- |
- |
|
16 - 6; 16 - 8 |
16 |
- |
4,3 |
4,3 |
- |
4,5 |
|
25 - 6; 25 - 8; 25 - 10 |
25 |
- |
5 |
5 |
- |
4,5 |
|
35 - 8; 35 - 10; 35 - 12 |
35 |
- |
5,5 |
5,5 |
- |
6,1 - 7 |
|
50 - 8; 50 - 10; 50 - 12 |
50 |
- |
6,5 |
6,5 |
- |
8,2 |
|
70 - 10; 70 - 12 |
70 |
- |
7,3 |
7,3 |
- |
10,2 |
|
95 - 10; 95 - 12 |
95 |
- |
- |
8,5 |
- |
10,2 |
|
120 - 12; 120 - 16 |
120 |
- |
- |
11 |
- |
12,5 |
|
150 - 12; 150 - 16 |
150 |
- |
- |
12 |
- |
13 |
|
185 - 12; 185 - 16 |
185 |
- |
- |
13 |
- |
14,4 |
|
240 - 16; 240 - 20 |
240 |
- |
- |
15 |
- |
14,4 |
Остаточная толщина в месте опрессовки алюминиевых жил
|
Тип |
Остаточная толщина h ± 0,3 мм при опрессовке инструментом |
||||||
|
наконечника |
гильзы |
||||||
|
ГОСТ 23598 |
ТУ 36-1441 |
ПК-3 |
ПК-4 |
НИСО |
УНИ-1А, УНИ-2А |
||
|
- |
- |
- |
4 - 1; 4 - 2 |
3,5 |
- |
- |
- |
|
5 - 1; 5 - 2; |
4,5 |
4,5 |
- |
- |
|||
|
6 - 1; 6 - 2; |
4,5 |
5,5 |
- |
- |
|||
|
8 - 1; 8 - 2 |
- |
7 |
- |
- |
|||
|
16 - 6 - 5,4 |
16 - 5,3 |
5,4 |
- |
- |
5,5* |
5,5 |
4 |
|
25 - 8 - 7 |
25 - 7,1 |
7 |
- |
- |
5,5* |
5,5 |
6 |
|
35 - 10 - 8 |
35 - 8 |
8 |
- |
- |
7* |
7,5 |
7 |
|
50 - 10 - 8 |
50 - 9 |
9 |
- |
- |
- |
7,5 |
8 |
|
70 - 10 - 11 |
70 - 10 |
11 |
- |
- |
- |
9,5 |
9 |
|
70 - 10 - 12 |
70 - 12 |
12 |
|
|
|
|
|
|
70 - 12 - 13 |
90 - 13 |
13 |
|
|
|
|
|
|
120 - 12 - 14 |
120 - 14 |
14 |
- |
- |
- |
11,5 |
11 |
|
120 - 16 - 14 |
|
|
|
|
|
|
|
|
150 - 12 - 16 |
150 - 16 |
16 |
- |
- |
- |
11,5 |
12 |
|
150 - 16 - 16 |
|
|
|
|
|
|
|
|
150 - 12 - 17 |
150 - 17 |
17 |
|
|
|
|
|
|
150 - 16 - 17 |
|
|
|
|
|
|
|
|
185 - 16 - 18 |
185 - 18 |
18 |
- |
- |
- |
12,5 |
13 |
|
185 - 20 - 18 |
|
|
|
|
|
|
|
|
185 - 16 - 19 |
185 - 19 |
19 |
|
|
|
|
|
|
185 - 20 - 19 |
|
|
|
|
|
|
|
|
240 - 20 - 20 |
240 - 20 |
20 |
- |
- |
- |
12,5 |
15 |
|
|
|
|
|
|
|
|
|
|
240 - 20 - 22 |
240 - 22 |
22 |
- |
- |
- |
14 |
16 |
* Остаточная толщина h ± 0,2 мм
8.2.4. У сварных соединений следует контролировать отсутствие трещин, подрезов, незаплавленных кратеров и соответствие сварных швов требованиям п. 3.2.3.
8.2.5. Испытание на воздействие климатических факторов внешней среды необходимо проводить на соответствие требованиям п.п. 3.2.10. Соединения можно считать выдержавшими испытание, если при визуальном осмотре на их контактных поверхностях не будет обнаружено очагов коррозии, препятствующих эксплуатации, и если рост электрического сопротивления после испытания не превышает значений, установленных в п.п. 3.2.7., 3.3.4.
8.2.6. Испытание на воздействие осевой нагрузки для сварных соединений следует проводить по ГОСТ 6996 на стандартных образцах или соединениях; испытания паяных, спрессованных и разборных соединений - по ГОСТ 1497.
Прочность соединения следует оценивать путем сравнения статических осевых нагрузок, разрушающих соединение и целую шину.
Соединения можно считать выдержавшими испытание, если они выдерживают статические осевые нагрузки, указанные в п.п. 3.2.5, 3.3.1.
8.2.7. Электрическое сопротивление соединения следует измерять на участке между точками, указанными на рис. 8.3.

Рис.
8.3. Точки измерения сопротивлений
а - болтовое соединение шин; б - сварное соединение шин; в - болтовое
ответвление от шин; г - сварное ответвление от шин; д - соединение гибких шин;
е - ответвление от гибкой шины; ж - оконцевание гибкой шины; з - соединение
шины с плоским выводом; и - соединение шины со штыревым выводом
Сопротивление проводника1 необходимо измерять на контрольном сопротивлении (целый участок проводника, равный условной длине L соединения).
1 Сопротивление проводника допускается определять расчетным путем. При присоединении к штыревому выводу сопротивление проводника можно не измерять; в этом случае сопротивление контактного соединения должно соответствовать значениям, установленным в ГОСТ 10434.
Для соединений, не указанных на рис. 8.3, точки измерения устанавливают на расстоянии 2 - 10 мм. от контактного стыка по ходу тока.
Сопротивление соединений пакета шин измеряют отдельно для каждой пары элементов соединения (измерение можно производить на ребрах шин так, как это показано на рис. 8.3. а и 8.3. б).
На многопроволочных жилах в местах измерения сопротивления впрессовывают гильзы или накладывают бандаж из двух трех витков медной луженой проволоки диаметром 0,4 - 1,5 мм.
Измерение следует вести с помощью щупов с острыми иглами, разрушающими окисную пленку. Сопротивление (падение напряжения) соединений должно измеряться методом вольтметра-амперметра на постоянном токе, микроомметром или двойным мостом с использованием электроизмерительных приборов класса точности не ниже 0,5.
Сопротивление соединений гибких шин следует измерять только методом вольтметра-амперметра.
При определении сопротивления методом вольтметра-амперметра измерительный ток рекомендуется принимать не более 0,3 номинального тока проводника. Соединения можно считать выдержавшими испытание, если среднее значение сопротивления выборки удовлетворяет требованиям п.п. 3.5.6, 3.3.2 и 3.3.3.
8.2.8. Испытанию на нагревание номинальным током следует подвергать соединения, прошедшие проверку по п. 8.2.7. Нагревание производят постоянным или переменным током. При отсутствии в стандартах и технических условиях на конкретные виды электротехнических устройств значения номинального тока, следует проводить испытания на испытательном токе, значения которого приведены в ГОСТ 17441.
Методы испытаний - по ГОСТ 2933. Линейные контактные соединения собирают в последовательную цепь. Длина шин, соединяющих контактные соединения, должна быть не менее:
при площади сечения до 120 мм2 включительно - 2 м, при площади сечения свыше 120 мм2 - 3 м.
Соединения можно считать выдержавшими испытания, если их температура с учетом верхнего рабочего значения температуры окружающего воздуха по ГОСТ 15543 (измеренное превышение температуры над температурой воздуха при испытаниях плюс верхнее рабочее значение температуры окружающего воздуха) не выше значений, указанных в п.п. 3.5.8, 3.3.5.
8.2.9. Ускоренному испытанию в режиме циклического нагревания следует подвергать макеты контактных соединений, прошедшие проверку по п. 8.2.8. Длина отрезков шин макетов должна быть 250 - 300 мм. Ускоренное испытание состоит в попеременном (циклическом) нагревании соединений током до 120 ± 5°С с последующим их охлаждением до температуры 25 ± 10°С. Значение тока испытания необходимо устанавливать опытным путем из расчета времени нагревания соединений 3 - 10 мин. Для ускорения испытания допускается охлаждение соединений обдувом.
Количество циклов «нагревание-охлаждение» должно быть не менее 500.
В процессе испытания периодически через каждые 100 циклов следует измерять электрическое сопротивление соединений в соответствии с п. 8.2.7. и определять среднее значение сопротивления выборки.
Соединения можно считать выдержавшими испытание, если среднее значение сопротивления выборки после каждого опыта из 100 циклов в сравнении со средним значением сопротивления выборки, полученным до начала испытаний соответствует требованиям п.п. 3.5.5, 3.6.4.
8.2.10. Испытанию на стойкость при сквозных токах следует подвергать соединения, прошедшие испытания по п. 8.2.8. Методы испытаний соединений - по ГОСТ 2933 и ГОСТ Р 52565. Соединения можно считать выдержавшими испытание, если они соответствуют требованиям п.п. 3.5.7, 3.3.4. 3.5.9, и 3.3.6 по электрическому сопротивлению соединения и температуре нагрева при сквозном токе.
8.2.11. Эффективным методом диагностики состояния контактных соединений является контроль их нагрева с применением тепловизоров, а также визуальный контроль температуры, выполняемый с помощью различных индикаторов или термокрасок (Приложение 11).
9.1. Общие требования охраны труда
9.1.1. При выполнении контактных соединений следует выполнять требования СНиП 12-04-2002, Межотраслевых правил по охране труда (правил безопасности) при эксплуатации электроустановок (ПОТ РМ-016-2001), Контактные соединения в части требований безопасности должны соответствовать ГОСТ 12.2.007.0 и обеспечивать условия эксплуатации, установленные «Правилами технической эксплуатации установок потребителей», утвержденными Минэнерго России 13 января 2003 года.
9.1.2. Весь персонал, занимающийся монтажом электрооборудования, должен знать и выполнять «Правила техники безопасности при электромонтажных и наладочных работах». К работам допускаются только специально обученные лица, сдавшие экзамен по технике безопасности и проинструктированные перед началом работы.
9.2. Основные требования по технике безопасности при выполнении болтовых контактных соединений
9.2.1. При выполнении болтовых соединений особое внимание должно быть обращено на состояние инструмента, которым производятся работы. Категорически запрещается работать неисправным инструментом. Гаечные и динамометрические ключи должны соответствовать размерам болтов и гаек. Рабочие поверхности ключей не должны иметь сбитых и смятых граней, а рукоятки - заусенцев. Запрещается отвертывать и завертывать болты и гайки ключом с подкладкой металлических пластинок между гранями головки болта, гайки и ключа, а также удлинять ключи присоединением другого ключа, трубы и т.п.
9.2.2. Работы по обезжириванию, окраске и консервации выполняются в спецодежде, рукавицах и защитных очках с соблюдением правил яичной гигиены. Необходимо помнить, что большая часть эмалей, растворителей, грунтов и шпаклевок токсичны. При попадании их на незащищенный участок кожи ее следует промыть теплой водой с мылом. Запрещается применять этилированный бензин и растворители, содержащие бензол, для обезжиривания и мытья рук, а также проводить работы с грунтовками, эмалями и растворителями вблизи открытых источников огня.
9.3. Основные требования по технике безопасности при выполнении сварочных работ
9.3.1. Сварочные работы при изготовлении и монтаже ошиновки, проводов и кабельных линий должны производиться с соблюдением требований СНиП 12-03-99, ГОСТ 12.3.002, ГОСТ 12.3.003, ППБ-01-03, «Правил техники безопасности при электромонтажных и наладочных работах», «Правил пожарной безопасности при производстве строительно-монтажных работ».
При выполнении газовой сварки необходимо соблюдать требования «Правил безопасности в газовом хозяйстве» и «Правил техники безопасности и гигиены труда при сварочных работах и термической резке металлов в строительстве».
Согласно этим документам должны соблюдаться следующие требования:
9.3.2. При выполнении сварки на монтаже должны применяться приспособления по обеспечению безопасного производства работ (лестницы, подмостки, мостки и др.), удовлетворяющие требованиям ГОСТ 24258.
9.3.3. К электросварочным, газосварочным и другим огневым работам допускаются лица не моложе 18 лет, прошедшие специальную подготовку и проверку знаний по безопасности труда и имеющие "Удостоверение сварщика" с записью в квалификационном удостоверении о допуске к выполнению специальных работ и специальный талон по пожарной безопасности и имеющие группу по электробезопасности не ниже второй. Талон действителен при наличии квалификационного удостоверения и дает право на проведение огневых работ. В талоне отмечаются допущенные рабочим нарушения правил пожарной безопасности, а при грубых нарушениях талон изымается, что влечет за собой внеочередную проверку знаний с выдачей нового талона.
Все сварщики цветных металлов при поступлении на работу и в дальнейшем ежегодно должны проходить медицинский осмотр.
9.3.4. Сварочные установки следует располагать и устанавливать в соответствии с «Правилами устройства электроустановок» гл. 7 - 6.
При обслуживании электросварочных установок помимо настоящих требований следует выполнять указания по эксплуатации и безопасному обслуживанию, изложенные в инструкции завода-изготовителя.
9.3.5. Все виды постоянных работ по электросварке в зданиях должны производиться в специально для этого отведенных вентилируемых помещениях, площадь и кубатура которых удовлетворяют требованиям СНиП с учетом габаритов сварочного оборудования и свариваемых изделий.
Ручная дуговая сварка или сварка в защитном газе, выполняемые систематически, должны производиться в специальных хорошо вентилируемых кабинах со светонепроницаемыми стенками из несгораемого материала. Те же виды сварки, выполняемые несистематически, а также на крупногабаритных изделиях должны производиться при ограждении мест работы светонепроницаемыми щитами или занавесами из несгораемого материала.
9.3.6. В помещениях для сварки запрещается хранить легковоспламеняющиеся вещества и материалы.
В помещениях для электросварочных установок должны быть предусмотрены достаточные по ширине проходы (не менее 0,8 м), обеспечивающие удобство и безопасность при сварочных работах и доставке изделий к месту сварки.
9.3.7. Многопостовые агрегаты и установки из нескольких сварочных агрегатов должны располагаться в отдельном помещении или в части общего производственного помещения, отделенной постоянными перегородками, решетками, сетками и т.п., высотой не менее 1,7 м.
9.3.8. В сварочной цепи для подвода тока к электроду следует применять гибкий кабель (провод). Изоляция проводов должна быть защищена от механических повреждений. Запрещается применять сварочные провода с нарушенной изоляцией и оплеткой. При повреждении оплетки сварочные провода необходимо заключать в резиновый шланг.
9.3.9. В качестве обратного провода, соединяющего свариваемое изделие с источником сварочного тока, могут служить гибкие кабели (провода). Использование в качестве обратного провода сети заземления металлических строительных конструкций зданий, коммуникаций и технологического оборудования запрещается.
Следует тщательно соединять между собой отдельные элементы, используемые в качестве обратного провода (сваркой или с помощью болтов, струбцин или зажимов).
9.3.10. Сварочные установки должны быть защищены со стороны питающей сети предохранителями или автоматами. Многопостовые сварочные агрегаты, кроме того, должны иметь автомат с максимальной защитой в общем проводе сварочной цепи и предохранители на каждом проводе к сварочному посту.
9.3.11. Подсоединять сварочные посты к многопостовому агрегату можно только при отключенном от сети агрегате. Передвижные сварочные установки на время их передвижения необходимо отсоединять от сети.
9.3.12. Подсоединять к сети и отключать электросварочные установки на монтажном объекте, а также наблюдать за их состоянием в процессе эксплуатации должен обученный персонал.
9.3.13. Корпуса сварочных агрегатов, сварочные столы, плиты и т.п., а также обратные провода источников питания следует заземлять.
9.3.14. При одновременной работе сварщиков на различных высотах на одной вертикали должны быть предусмотрены надежные средства для защиты работающих от брызг металла и возможного падения огарков электродов и других предметов.
9.3.15. Спецодежда электросварщика (ГОСТ 12.4.045) должна состоять из брезентовых или суконных брюк и куртки, ботинок (ГОСТ 28507) с глухим верхом, рукавиц (ГОСТ 12.4.010), фартука с нагрудником (ГОСТ 12.4.029) и головного убора. При потолочной сварке необходимо пользоваться асбестовыми или брезентовыми нарукавниками. При сварке цветных металлов и сплавов, содержащих цинк, медь, свинец, необходимо пользоваться фильтрующим респиратором (ГОСТ 12.4.028).
9.3.16. При ручной сварке угольным электродом тяжелых алюминиевых и медных шин должен быть предусмотрен отсос газов непосредственно из зоны сварки. При ручном сварке рекомендуется кроме того, подача воздуха непосредственно под щиток электросварщика.
9.3.17. Для защиты рук сварщика от ожогов излучением дуги на электрододержателе следует укрепить металлический экран. Электрододержатель должен прочно удерживать электрод. Рукоятку электрододержателя рекомендуется изготавливать из диэлектрического и теплоизолирующего материала. Металлическая рукоятка должна быть надежно изолирована.
9.3.18. Для защиты глаз и лица от лучей дуги и брызг металла сварщик должен пользоваться маской (ГОСТ 12.4.035), снабженной темными светозащитными и предохранительными стеклами (ГОСТ 12.4.080).
9.3.19. При сварке в защитных газах баллоны с газом должны быть установлены в стойках в вертикальном положении и прочно прикреплены хомутами или цепями. Баллоны должны находиться от места сварки на расстоянии не менее 5 м, а от отопительных батарей и электропроводки - не менее 1 м.
Газопламенные процессы с применением сжиженных газов должны выполняться с соблюдением следующих требований:
При
работе пламя горелки должно быть направлено в сторону, противоположную от
установленных баллонов. При невозможности выполнения этого требования баллоны
следует защитить металлическими щитами или ширмами из несгораемых материалов.
При
зажигании пропано-кислородной горелки изменение подачи газа должно
производиться постепенно и плавно.
Баллоны
с газом необходимо предохранять от воздействия прямых лучей солнца.
Во избежание появления искр и возможности взрыва удары металлическими предметами по баллонам категорически запрещаются.
Отбор
кислорода из баллонов должен прекращаться при остаточном давлении, равном 0,05
МПа (0,5 кгс/см2). Отбор пропан-бутана из баллонов должен быть
прекращен при снижении в нем давления до предела, ниже которого невозможно
поддерживать требуемое рабочее давление и редуктор перестает выполнять функции
обратного клапана.
Запрещается
проверять баллоны и другие установки на утечку газа при помощи огня. Для этой
цели следует пользоваться мыльной эмульсией.
Замерзшие
вентили и другие части оборудования должны отогреваться теплой водой.
Использование огня запрещается.
Запрещается
устанавливать редукторы и открывать вентили кислородных баллонов замасленными
руками.
При
газовой сварке запрещается:
- пользоваться горючим газом от баллонов вместимостью 5 л и более и кислородом от баллонов любой вместимости без редуктора;
- использование редукторов без манометров, с неисправными манометрами или срок поверки которых истек;
- применять рукава для подачи газа длиной более 30 м или имеющие более двух стыков;
- использовать рукава не по назначению или дефектные, или соединять их отрезками гладких труб.
Закрепление
рукавов на ниппелях аппаратуры (горелок, резаков, редукторов) должно быть
надежным, с применением специальных хомутов. Сращивать рукава необходимо с
помощью специальных соединительных штуцеров.
Во
избежание конденсации газа в шланге запрещается оставлять установку с закрытым
вентилем на горелке и с открытым вентилем на баллоне. При возникновении хлопков
во время работы сначала на горелке должен быть закрыт пропан-бутановый вентиль,
а затем кислородный, после чего мундштук горелки необходимо охладить в воде. Во
избежание образования взрывчатой смеси от скопления газа на поверхности воды
при охлаждении мундштука вентили горелки должны быть закрыты полностью.
Запрещается
находиться в помещениях, кабельных каналах и колодцах с большой концентрацией
пропан-бутана (этот газ характеризуется резким неприятным запахом, вызывающем
раздражение носоглотки и глаз, а также головную боль).
До начала работ с пропан-бутановой горелкой в кабельных туннелях последние необходимо предварительно проветривать. Приточная и вытяжная вентиляция во время работы должны быть постоянно включены. Работать с пропан-бутановыми горелками в кабельных колодцах и котлованах нужно с перерывами по 10 мин. через каждый час работы (работающие должны выходить на свежий воздух).
При
работе с пропан-бутановыми горелками в кабельных туннелях, кабельных каналах и
котлованах должен присутствовать наблюдающий, обученный правилам техники
безопасности при работе с пропан-бутаном.
Попавшие
на кожу капли пропан-бутана (во избежание обмораживания) необходимо быстро
смыть водой.
Тушение
пожара должно производиться углекислотными огнетушителями. Малые очаги пламени
можно ликвидировать применением песка или покрывала из невоспламеняющегося
материала.
9.3.20. При выполнении работ с химикатами должны соблюдаться следующие требования:
Следует
иметь в виду пожаро- и взрывоопасность растворителей, а также их токсичность.
Работа с растворителями допускается только при включенной вентиляции.
При
химической обработке сварочной проволоки необходимо соблюдать меры
предосторожности при работе с кислотами и щелочами. Приготовление травильных
растворов следует производить при включенной вентиляции. Для защиты глаз от
случайного попадания брызг кислоты следует пользоваться защитными очками, а для
защиты рук - резиновыми перчатками.
При приготовлении растворов кислоту добавляют в холодную воду, а не наоборот. Кислоту добавляют небольшими порциями при постоянном перемешивании.
При
попадании кислоты или щелочи на кожу или в глаза пораженные участки следует
немедленно обмыть струей воды. При ожоге кислотами после промывки водой
пораженный участок следует нейтрализовать 3 % содовым раствором и смазать
вазелином.
Если на руки или лицо работающего попал щелочной раствор, то пораженное место сначала промывают водой, а затем 1 % раствором уксусной кислоты.
|
Длина болтов |
Масса 1000 шт. (стальных), кг. при диаметре резьбы, мм |
|||||
|
М6 |
М8 |
М10 |
М12 |
М16 |
М20 |
|
|
Болты с шестигранной головкой, ГОСТ 7798 |
||||||
|
16 |
5,930 |
11,80 |
22,70 |
32,57 |
- |
- |
|
20 |
6,742 |
13,25 |
24,97 |
35,85 |
68,49 |
- |
|
25 |
7,871 |
15,07 |
27,82 |
39,95 |
75,87 |
136,4 |
|
30 |
8,981 |
17,35 |
30,66 |
44,05 |
83,24 |
147,9 |
|
32 |
9,426 |
18,140 |
32,03 |
45,68 |
86,19 |
152,5 |
|
35 |
10,090 |
19,32 |
33,88 |
48,43 |
90,62 |
159,4 |
|
40 |
11,200 |
21,30 |
36,96 |
52,87 |
97,99 |
170,9 |
|
45 |
12,310 |
23,27 |
40,05 |
57,31 |
105,70 |
182,5 |
|
50 |
13,42 |
25,25 |
43,13 |
61,76 |
113,60 |
194,0 |
|
55 |
14,53 |
27,22 |
46,22 |
66,20 |
121,50 |
206,8 |
|
60 |
15,64 |
29,200 |
49,30 |
70,64 |
129,40 |
219,1 |
|
65 |
16,76 |
31,170 |
52,39 |
75,08 |
137,30 |
231,5 |
|
70 |
17,87 |
33,14 |
55,47 |
79,53 |
145,20 |
249,8 |
|
75 |
18,98 |
35,12 |
58,56 |
83,97 |
153,10 |
258,1 |
|
80 |
20,09 |
37,69 |
61,64 |
88,42 |
161.00 |
268,1 |
|
85 |
21,20 |
39,07 |
64,73 |
92,86 |
168,90 |
280,8 |
|
90 |
22,31 |
41,04 |
67,81 |
97,29 |
176,80 |
293,2 |
|
95 |
- |
43,02 |
70,80 |
101,70 |
184,70 |
305,5 |
|
100 |
- |
44,99 |
73,98 |
106,20 |
192,60 |
317,8 |
|
Гайки шестигранные нормальной точности (ГОСТ 5915) |
||||||
|
- |
- |
9,65 |
16,31 |
30,08 |
59,90 |
117,1 |
|
Гайки шестигранные, низкие нормальной точности (ГОСТ 5916) |
||||||
|
|
0,948 |
4,011 |
8,478 |
10,610 |
19,58 |
34,68 |
Примечание
Для определения массы болтов и гаек из алюминиевого сплава и латуни массу, указанную в таблице, следует умножить на 0,359 для алюминиевых сплавов и на 1,083 - для латуни.
|
Болты |
Шайбы |
|||
|
Диаметр, мм |
Диаметр, мм |
Толщина, мм |
Масса стальных шайб 1000 шт., кг |
|
|
внутренний |
наружный |
|||
|
6 |
6,4 |
12,5 |
1, |
0,853 |
|
8 |
8,4 |
17,5 |
1,6 |
2,320 |
|
10 |
10,5 |
21,0 |
2,0 |
4.080 |
|
12 |
13,0 |
24,0 |
2,5 |
6,270 |
|
16 |
17,0 |
30,0 |
3,0 |
11,300 |
|
20 |
21,0 |
37,0 |
4,0 |
32,900 |
Шайбы (ГОСТ 6958)
|
Болты |
Шайбы |
|||
|
Диаметр, мм |
Диаметр, мм |
Толщина, мм |
Масса стальных шайб 1000 шт., кг |
|
|
внутренний |
наружный |
|||
|
6 |
6,4 |
18,0 |
1,6 |
2,79 |
|
8 |
8,4 |
24,0 |
2,0 |
6,23 |
|
10 |
10,5 |
30,0 |
3,0 |
14,60 |
|
12 |
13,0 |
36,0 |
3,0 |
20,80 |
|
16 |
17,0 |
48,0 |
4,0 |
49,60 |
|
20 |
21,0 |
60,0 |
5,0 |
97,40 |
Примечание
Для определения массы шайб из алюминиевого сплава и латуни массу, указанную в таблице, следует умножить на: 0,356 - для алюминиевого сплава, 1,083 - для латуни.
Таблица П3.1
Расход материалов на одно сварное соединение шин между собой или с выводами электротехнического устройства на 100 мм шва
|
Толщина шин, мм |
Сварка ручная угольным электродом |
Сварка в защитном газе |
||||||
|
ручная неплавящимся электродом |
полуавтоматическая плавящимся электродом |
ручная плазменная |
||||||
|
присадка, г |
флюс, г |
аргон, л |
присадка, г |
аргон, л |
сварочная проволока, г |
аргон, л |
присадка, г |
|
|
; |
2 |
3 |
4 |
5 |
6 |
7 |
8 |
9 |
|
Шины из алюминия и его сплавов |
||||||||
|
3 |
9 |
1 - 2 |
9 |
5,6 |
6 |
6 |
- |
- |
|
4 |
10 |
2 - 3 |
10 |
6,0 |
7 |
7 |
- |
- |
|
5 |
18 |
3 - 5 |
10 |
6,8 |
8 |
8 |
- |
|
|
6 |
25 |
4 - 6 |
11 |
8,5 |
9 |
9 |
- |
- |
|
8 |
36 |
5 - 8 |
12 |
11 - 20 |
10 |
10 |
- |
- |
|
10 |
46 |
7 - 10 |
14 |
35 |
15 |
15 |
- |
- |
|
12 |
57 |
9 - 12 |
16 |
45 |
30 |
20 |
- |
- |
|
15 |
80 |
11 - 13 |
- |
- |
50 |
75 |
- |
|
|
20 |
120 |
12 - 14 |
- |
- |
70 |
100 |
- |
- |
|
30 |
280 |
14 - 16 |
- |
- |
100 |
160 |
- |
- |
|
Шины медные |
||||||||
|
3 |
29 |
1,0 |
9 |
29 |
10 |
20 |
9 |
30 |
|
4 |
35 |
2,0 |
10 |
35 |
11 |
24 |
10 |
35 |
|
1 |
2 |
3 |
4 |
5 |
6 |
7 |
8 |
9 |
|
5 |
65 |
3,0 |
- |
- |
12 |
33 |
12 |
65 |
|
6 |
105 |
4,0 |
- |
- |
14 |
47 |
14 |
90 |
|
8 |
150 |
5,0 |
- |
- |
17 |
84 |
16 |
110 |
|
10 |
210 |
7,0 |
- |
- |
20 |
130 |
20 |
180 |
|
12 |
290 |
9,0 |
- |
- |
- |
- |
- |
- |
|
20 |
450 |
12 |
- |
- |
- |
- |
- |
- |
|
30 |
620 |
13 |
- |
- |
- |
- |
- |
- |
Таблица П3.2
Расход вспомогательных материалов на 100 болтовых соединений шин
|
Материал |
Ширина шины, мм. не более |
|||||||
|
25 |
30 |
40 |
50 |
60 |
80 |
100 |
120 |
|
|
Бензин неэтилированный, ацетон |
0,1 |
0,1 |
0,1 |
0,1 |
0,1 |
0,15 |
0,2 |
0,25 |
|
Контактная смазка или паста, кг (ЦИАТИМ-221, ЦИАТИМ-201, ЭПС-98) |
0,3 |
0,5 |
0,6 |
0,7 |
0,8 |
1,2 |
1,6 |
2,0 |
|
Бумага стеклянная или наждачная № 1, 2.3, м2 |
0,06 |
0,12 |
0,15 |
0,2 |
0,25 |
0,5 |
0,5 |
0,6 |
|
Ветошь обтирочная, кг |
0,05 |
0,05 |
0,05 |
0,05 |
0,05 |
0,08 |
0,10 |
0,12 |
Для обезжиривания и удаления окисной пленки проволоку следует помещать на 0,5 - 1 мин. для травления в ванну с 5 %-ным раствором едкого натра технического марки А по ГОСТ 2263. Температура раствора 60 - 70°С.
После травления проволоку необходимо промыть в горячей проточной воде в течение 30 - 40 с. Промытую проволоку осветляют погружением на 30 - 40 с в 15 %-ный раствор азотной кислоты по ГОСТ 701 при комнатной температуре (16 - 25°С).
Осветленную проволоку следует промыть в проточной воде в течение 30 - 40 с и просушить в шкафу при температуре 100 - 150°С.
Обработанную проволоку необходимо хранить в герметически закрытой таре в сухом месте.
Проволоку с химически обработанной поверхностью наматывают на катушки механическим способом рядами без перегибов и зазоров.
Катушки с проволокой следует помещать в полиэтиленовый мешок вместе с контрольным пакетом порошка обезвоженного силикагеля-индикатора (ГОСТ 8984), который герметизируется при относительной влажности окружающего воздуха менее 20 % в течение 30 мин. после обработки. Помещения, в которых регулярно производится химическая обработка сварочной проволоки, должны соответствовать требованиям «Общесоюзных норм технологического проектирования предприятий машиностроения, приборостроения и металлообработки. Цеха металлопокрытий.». ОНТП 05-86, утвержденных Минавтопромом 05.03.86 по согласованию с ГКНТ СССР и Госстроем СССР от 30.12.85 г.. 45-1246.
Шины изготавливаются из меди (прямоугольные из материала по ГОСТ 193, трубчатые из материала по ГОСТ 859); из алюминия (материал по ГОСТ 11069); из алюминиевых сплавов (материал по ГОСТ 4784) из стали (материал по ГОСТ 11036).
Виды профилей из алюминия и его сплавов приведены на рис. П5.1. Размеры и масса шин из алюминия, алюминиевых сплавов, стали и меди, а также профилей из алюминия и его сплавов приведены в таблице.

Рис. П5.1 Профили из алюминия и его сплава
а - швеллер; б - профиль корытный: а - профиль У-образный; г - полутруба; д -
труба круглая; с - труба квадратная; ж
- уголок равнобокий; з - профиль - двутавр
При заказе шин указывают наименование и порядковый номер профиля, номер ГОСТ на профили и шины, наименование материала, из которого изготавливается профиль и номер ГОСТ на этот материал.
Пример обозначения корытного профиля № 7 из алюминия марки А5.
![]()
Таблица П5.1
Прямоугольные шины из меди по ГОСТ 434, алюминия и его сплава по ГОСТ 15176
|
Размеры, м |
Масса 1 м, кг |
Размеры, мм |
Масса 1 м, кг |
||
|
медных |
алюминиевых или из сплава алюминия |
медных |
алюминиевых или из сплава алюминия |
||
|
1 |
2 |
3 |
4 |
5 |
6 |
|
3×10 |
0,29 |
0,08 |
5×40 |
1,78 |
0,45 |
|
3×12 |
- |
0,10 |
5×50 |
2.25 |
0,68 |
|
3×12,5 |
0,32 |
- |
5×60 |
2,67 |
0,81 |
|
3×15 |
- |
0,12 |
5×80 |
2,84 |
0,86 |
|
3×20 |
0,53 |
0,16 |
6×50 |
2,67 |
0,81 |
|
3×25 |
0,67 |
0,20 |
6×60 |
3,20 |
0,97 |
|
3×30 |
0,80 |
0,24 |
6×80 |
4,27 |
1,30 |
|
3×40 |
1,07 |
0.32 |
6×100 |
5,34 |
1.62 |
|
4×10 |
0,37 |
0,11 |
8×60 |
4,27 |
1,30 |
|
4×12 |
- |
0,13 |
8×80 |
5,70 |
1,73 |
|
4×12,5 |
0,43 |
- |
8×100 |
7,12 |
2,17 |
|
4×15 |
0,53 |
0,18 |
8×120 |
8,54 |
2,60 |
|
4×20 |
0,71 |
0,22 |
10×80 |
7,12 |
2,17 |
|
4×25 |
0,89 |
0,27 |
10×100 |
8,90 |
2,70 |
|
4×30 |
1,07 |
0,32 |
10×120 |
10,68 |
3,24 |
|
4×40 |
1,42 |
0,43 |
12×120 |
- |
3,88 |
|
5×30 |
1,34 |
0,40 |
12,5×120 |
12,8 |
- |
Таблица П5.2
Стальные прямоугольные шины (ГОСТ 4405)
|
Размеры, мм |
Масса 1м, кг |
|
3×20 |
0,47 |
|
3×25 |
0,59 |
|
3×30 |
0,71 |
|
3×40 |
0,94 |
|
3×50 |
1,18 |
|
3×60 |
1,41 |
|
3×70 |
1,65 |
|
3×80 |
1,88 |
|
3×100 |
2,35 |
|
4×20 |
0,63 |
|
4×25 |
0,79 |
|
4×30 |
0,94 |
|
4×40 |
1,26 |
|
4×50 |
1,57 |
|
4×60 |
1,88 |
|
4×70 |
2,20 |
|
4×80 |
2,51 |
|
4×100 |
3,14 |
Таблица П5.3
Трубчатые медные шины по ГОСТ 617
|
Размеры, мм |
Сечение, мм |
Масса 1 м, кг |
Размеры, мм |
Сечение, мм |
Масса 1 м, кг |
||
|
диаметр |
толщина |
диаметр |
толщина |
||||
|
15 |
1,5 |
63 |
0,57 |
45 |
2,5 |
337 |
3,00 |
|
18 |
2,0 |
100 |
0,90 |
50 |
2,5 |
378 |
3,34 |
|
20 |
2,0 |
113 |
1,01 |
55 |
3,0 |
490 |
4,35 |
|
22 |
2,0 |
126 |
1,12 |
60 |
3,5 |
622 |
5,54 |
|
24 |
2,0 |
138 |
1,24 |
70 |
4,0 |
829 |
7,42 |
|
26 |
2,0 |
151 |
1,35 |
80 |
4,0 |
955 |
8,55 |
|
30 |
2,5 |
217 |
1,93 |
85 |
5,0 |
1256 |
11,25 |
|
34 |
2,5 |
250 |
2,21 |
95 |
2,5 |
725 |
6,5 |
|
40 |
2,5 |
297 |
2,64 |
100 |
3,5 |
1061 |
9,44 |
Таблица П5.4
Профили из алюминия и его сплава (ГОСТ 15176)
|
Номер профиля |
Размеры, мм |
Сечение, мм |
Масса 1 м профиля, кг |
||||||
|
B |
H |
S |
|||||||
|
Швеллер (рис, П5.1 а) |
|||||||||
|
52 |
25 |
15 |
1,5 |
79,5 |
0,215 |
||||
|
65 |
30 |
15 |
1,5 |
87,0 |
0.236 |
||||
|
108 |
30 |
20 |
2,0 |
133,5 |
0,362 |
||||
|
112 |
35 |
20 |
2,5 |
177,0 |
0,480 |
||||
|
156 |
25 |
25 |
5,0 |
325,0 |
0,881 |
||||
|
168 |
40 |
25 |
3,0 |
254,9 |
0,691 |
||||
|
182 |
55 |
25 |
5,0 |
481,9 |
1,306 |
||||
|
188 |
60 |
25 |
4,0 |
413,1 |
1,120 |
||||
|
306 |
80 |
35 |
4,5 |
641,1 |
1,738 |
||||
|
338 |
80 |
40 |
4,0 |
613,1 |
1,662 |
||||
|
366 |
75 |
45 |
5,0 |
783,1 |
2,122 |
||||
|
Корытный (рис. П5.1 б) |
|||||||||
|
299 |
75 |
35 |
4,0 |
520,0 |
1,411 |
||||
|
301 |
75 |
35 |
5,5 |
595,0 |
1,885 |
||||
|
368 |
100 |
45 |
4,5 |
775,0 |
2,100 |
||||
|
370 |
100 |
45 |
6,0 |
1011,0 |
2,741 |
||||
|
443 |
125 |
55 |
6,5 |
1370,0 |
3,710 |
||||
|
445 |
125 |
55 |
8,0 |
1655,0 |
4,487 |
||||
|
470 |
150 |
65 |
7,0 |
1781,0 |
4,826 |
||||
|
528 |
175 |
80 |
8,0 |
2442,0 |
6,618 |
||||
|
549 |
200 |
90 |
10,0 |
3437,0 |
9,314 |
||||
|
551 |
200 |
90 |
12,0 |
4045,0 |
10,963 |
||||
|
570 |
225 |
105 |
12,5 |
4866,0 |
13,242 |
||||
|
575 |
225 |
105 |
17,5 |
6568,0 |
17,800 |
||||
|
577 |
250 |
115 |
12,5 |
5450,0 |
14,766 |
||||
|
581 |
275 |
120 |
12,5 |
5886,0 |
15,952 |
||||
|
П-образный (рис. П5.1 в) |
|||||||||
|
505 |
75 |
75 |
4,0 |
840 |
2,278 |
||||
|
507 |
75 |
75 |
6,0 |
1232 |
3,338 |
||||
|
555 |
100 |
100 |
5,0 |
1405 |
3,807 |
||||
|
557 |
100 |
100 |
7,0 |
1933 |
5,238 |
||||
|
583 |
125 |
125 |
7,5 |
2612 |
7,077 |
||||
|
585 |
150 |
150 |
8,0 |
3376 |
9,149 |
||||
|
587 |
175 |
175 |
9,5 |
4670 |
12,657 |
||||
|
589 |
200 |
200 |
11,5 |
6441 |
17,454 |
||||
|
591 |
200 |
200 |
13,5 |
7472 |
20,249 |
||||
|
593 |
225 |
225 |
14,5 |
9078 |
24,600 |
||||
|
595 |
250 |
250 |
15,0 |
10500 |
28,455 |
||||
|
597 |
275 |
275 |
15,0 |
11622 |
31,497 |
||||
|
Номер профиля |
Размеры, мм |
Сечение, мм |
Масса, 1 м, кг |
||||||
|
D, В |
S |
||||||||
|
Полутруба (рис. П5.1 г) |
|||||||||
|
6 |
280 |
15 |
5944 |
16,107 |
|||||
|
8 |
280 |
12 |
4811 |
13,039 |
|||||
|
7 |
280 |
10 |
4041 |
10,951 |
|||||
|
10 |
280 |
8 |
3258 |
8,829 |
|||||
|
19 |
350 |
15 |
7292 |
19,761 |
|||||
|
21 |
350 |
10 |
4940 |
13,387 |
|||||
|
23 |
420 |
15 |
8942 |
24,232 |
|||||
|
25 |
420 |
10 |
6040 |
16,367 |
|||||
|
31 |
490 |
15 |
10591 |
28,702 |
|||||
|
33 |
490 |
10 |
7140 |
19,348 |
|||||
|
35 |
520 |
15 |
11298 |
30,618 |
|||||
|
37 |
520 |
10 |
761,1 |
20,625 |
|||||
|
Труба круглая (рис. П5.1 д) |
|||||||||
|
|
10 |
1,0 |
128,5 |
0,077 |
|||||
|
|
14 |
1,5 |
59,0 |
0,160 |
|||||
|
|
16 |
2,0 |
88,0 |
0,238 |
|||||
|
|
18 |
2,0 |
100,0 |
0,271 |
|||||
|
|
20 |
2,0 |
114,0 |
0,309 |
|||||
|
|
22 |
2,0 |
127,0 |
0,344 |
|||||
|
|
24 |
2,0 |
139,0 |
0,377 |
|||||
|
|
26 |
2,0 |
152,0 |
0,412 |
|||||
|
|
30 |
2,5 |
217,0 |
0,588 |
|||||
|
|
34 |
2,5 |
250,0 |
0,678 |
|||||
|
|
40 |
2,5 |
297,0 |
0,805 |
|||||
|
|
45 |
2.5 |
337,0 |
0,913 |
|||||
|
|
50 |
2,5 |
378,0 |
1,024 |
|||||
|
|
52 |
3,0 |
480,0 |
1,301 |
|||||
|
|
55 |
2,5 |
418,0 |
1,133 |
|||||
|
|
60 |
2,5 |
457,0 |
1,338 |
|||||
|
|
65 |
2,5 |
495 |
47341 |
|||||
|
|
70 |
2,5 |
535 |
1,450 |
|||||
|
|
75 |
2,5 |
575 |
1,558 |
|||||
|
|
80 |
2,5 |
615 |
1,667 |
|||||
|
|
80 |
4,0 |
960 |
2,602 |
|||||
|
|
85 |
2,5 |
650 |
1,762 |
|||||
|
|
85 |
3,0 |
775 |
2,100 |
|||||
|
|
85 |
5,0 |
1256 |
3,404 |
|||||
|
|
95 |
2,5 |
725 |
1,963 |
|||||
|
|
100 |
5,0 |
1500 |
4,065 |
|||||
|
|
140 |
10,0 |
4082 |
11,062 |
|||||
|
|
140 |
15,0 |
5900 |
15,989 |
|||||
|
|
210 |
10,0 |
6200 |
16,802 |
|||||
|
|
210 |
15,0 |
8600 |
23,306 |
|||||
|
|
250 |
10,0 |
7500 |
20,325 |
|||||
|
|
250 |
15,0 |
11000 |
29,810 |
|||||
|
Труба квадратная (рис. П5.1 е) |
|||||||||
|
|
70 |
4,0 |
1014,8 |
2,750 |
|||||
|
|
75 |
5,0 |
1335,6 |
3,619 |
|||||
|
|
80 |
5.0 |
1435,6 |
3,890 |
|||||
|
|
90 |
6,0 |
1635,6 |
4,432 |
|||||
|
Равнобокий уголок (рис. П5.1 ж) |
|||||||||
|
Номер профиля |
Размеры, мм |
Сечение, мм |
Масса, 1 м, кг |
||||||
|
I |
S |
||||||||
|
429 |
50 |
8 |
752,7 |
2,040 |
|||||
|
431 |
50 |
10 |
926,1 |
2,510 |
|||||
|
515 |
75 |
10 |
1426,1 |
3,838 |
|||||
|
567 |
120 |
12 |
2293,6 |
6,216 |
|||||
|
Профиль двутавр (рис. П5.1 з) |
|||||||||
|
Номер профиля |
Размеры, мм |
Сечение, мм |
Масса, 1 м, кг |
||||||
|
Н |
В |
h |
П1 |
S |
S1 |
||||
|
3 |
70 |
60 |
20 |
30 |
6 |
4 |
1288 |
3.490 |
|
|
7 |
100 |
80 |
30 |
40 |
8 |
6 |
2488 |
6,742 |
|
|
9 |
130 |
100 |
45 |
40 |
8 |
6 |
3468 |
9,398 |
|
|
13 |
150 |
120 |
55 |
40 |
10 |
8 |
5240 |
14,200 |
|
|
15 |
180 |
150 |
66 |
48 |
10 |
8 |
6520 |
17,669 |
|
|
17 |
200 |
200 |
75 |
50 |
10 |
8 |
8040 |
21,788 |
|
|
27 |
250 |
200 |
95 |
60 |
10 |
8 |
9240 |
25,040 |
|
|
35 |
270 |
М250 |
100 |
70 |
10 |
8 |
10600 |
28,726 |
|
|
41 |
320 |
250 |
125 |
70 |
10 |
8 |
12000 |
32,520 |
|
|
Тип |
Толщина, мм |
Ширина, мм |
Длина, мм (±3 мм) |
Масса, кг, не более |
|
|
медной части |
алюминиевой части |
||||
|
Медно-алюминиевые (ГОСТ 1935) |
|||||
|
МА-40×4 |
4 |
40 |
60 |
100 |
0,13 |
|
МА-50×6 |
6 |
50 |
60 |
100 |
0,24 |
|
МА-60×8 |
8 |
60 |
80 |
160 |
0,56 |
|
МА-80×8 |
8 |
80 |
90 |
160 |
0,79 |
|
МА-100×10 |
10 |
100 |
110 |
180 |
1,47 |
|
МА-120×10 |
10 |
120 |
140 |
180 |
2,08 |
|
Из алюминиевого сплава (ТУ 36-931-82) |
|||||
|
АП-40×4(К181) |
4 |
40 |
160 |
0,07 |
|
|
АП-50×6(К182) |
6 |
50 |
160 |
0,13 |
|
|
АП-60×8(К183) |
8 |
60 |
240 |
0,31 |
|
|
АП-80×8(К184) |
8 |
80 |
250 |
0,43 |
|
|
АП 120×10(К185) |
10 |
100 |
270 |
0,73 |
|
|
АП 120×10(К186) |
10 |
120 |
330 |
1,07 |
|
Смазка предназначена для снижения и стабилизации электрического сопротивления разборных контактных соединений в соответствии с требованиями ГОСТ 10434 и обеспечивает:
- снижение переходного контактного сопротивления в 2...10 раз и стабилизацию его на низком уровне на весь срок службы контактов при температурах до 150°С (кратковременно до 250°С);
- защиту контактов при многократных и длительных токовых перегрузках и перегревах до 150°С без заметного изменения исходных электрических показателей;
- снижение потерь электроэнергии (1 кг смазки обеспечивает экономию электроэнергии в общепромышленных сетях
- 10000 кВт·час в год, на металлургических предприятиях - до 100000 кВт·час в год);
- защиту электрических контактов от коррозии.
Расход смазки: 0,3 кг на 1 м2 контактной поверхности.
При использовании смазки ЭПС-98 отпадает необходимость в применении других способов стабилизации электрического сопротивления: медно-алюминиевых наконечников и пластин, тарельчатых пружин, металлопокрытий контактирующих поверхностей и т.д.
Смазка ЭПС-98 предназначена для применения в:
- распределительных сетях электроустановок (воздушных, кабельных линиях, электростанциях, подстанциях);
- химических, металлургических, машиностроительных производствах;
- атомной промышленности;
- военной технике;
- железнодорожном, морском, авиационном транспорте, метрополитене;
- городском коммунальном хозяйстве.
Таблица П8.1
Металлопокрытия контактных участков шин (по ГОСТ 21.484)
|
Материал шин |
Покрытие |
Условия эксплуатации ПО ГОСТ 9.303-84 |
|||||
|
Обозначение |
Материал |
Способ нанесения |
1 |
2, 3, 4 |
5, 6 |
7, 8 |
|
|
Медь |
06 |
олово |
электролитический |
+ |
- |
- |
- |
|
09 |
то же |
тоже |
- |
+ |
+ |
|
|
|
012 |
то же |
то же |
- |
- |
- |
+ |
|
|
06ОПЛ |
то же |
электролитический, дополнительная обработка оплавлением |
- |
+ |
- |
- |
|
|
Гор09 |
то же |
горячий |
+ |
+ |
- |
|
|
|
Н3-06 |
олово по подслою никеля |
электролитический |
+ |
- |
- |
- |
|
|
Н3-09 |
то же |
то же |
- |
+ |
- |
- |
|
|
Н3.012 |
то же |
то же |
- |
- |
- |
+ |
|
|
Н3.0-С(50)3 |
сплав олово-свинец по подслою никеля |
тоже |
+ |
|
- |
- |
|
|
Н3.0-С(50)6 |
то же |
то же |
- |
- |
+ |
- |
|
|
Н6.0-С(50)6 |
то же |
то же |
- |
- |
- |
+ |
|
|
Гор.ПОС-40 |
припой ПОС-40 |
горячий |
+ |
- |
- |
- |
|
|
Гор.ПОС-61 |
припой ПОС-61 |
то же |
+ |
+ |
- |
- |
|
|
0-Ви6 |
сплав олово-висмут |
электролитический |
+ |
- |
- |
- |
|
|
Медь |
0-Ви9 |
тоже |
то же |
- |
+ |
- |
- |
|
0-Ви12 |
тоже |
то же |
- |
- |
+ |
- |
|
|
Н3.0-Ви(99,7)6 |
сплав олово-висмут по подслою никеля |
то же |
- |
+ |
+ |
+ |
|
|
Ср6 |
серебро |
то же |
- |
+ |
- |
- |
|
|
Алюминий, алюминиевый сплав |
Ср9 |
серебро |
то же |
- |
- |
+ |
- |
|
Н18 |
никель |
химический |
+ |
- |
- |
- |
|
|
Н36 |
то же |
то же |
+ |
+ |
- |
- |
|
|
H12. Кд6.Хр |
хром по подслою кадмия и никеля |
гальванический |
+ |
- |
- |
|
|
|
Н18. Кд18.Хр |
то же |
тоже |
+ |
+ |
- |
- |
|
|
Мб Н909 |
олово по подслою меди и никеля |
то же |
+ |
- |
- |
- |
|
|
Гор. припой А |
припой А |
натирание |
+ |
+ |
- |
- |
|
Примечание.
Допускается гальваническое покрытие шин из алюминия и алюминиевого сплава никелевое - 6 мкм (Н6).
Таблица П8.2
Технология нанесения металлопокрытия горячим способом на медные, алюминиевые и стальные шины
|
Вид покрытия |
Последовательность операций |
Применяемые материалы |
|
1. Горячее лужение меди и стали окунанием |
1. Подготовка: обезжиривание, сушка, травление |
Бензин Б-70. Азотная кислота, серная кислота, хлористый натрий. |
|
2. Покрытие флюсом |
||
|
3. Погружение в ванночку с расплавленным припоем |
P-p хлористого цинка в соляной кислоте (паяльная кислота) ПОС-40. ПОС-65 |
|
|
4. Промывка водой (удаление флюса) |
||
|
5. Протирка сухой тряпкой или встряхивание |
||
|
2. Горячее лужение1) меди и стали натиранием (абразивное лужение) |
1. Подготовка: обезжиривание, сушка, травление |
Бензин Б-70. Азотная кислота, серная кислота, хлористый натрий. |
|
2. Промывка в холодной воде |
||
|
3. Покрытие флюсом, нагрев и натирание |
Флюсы: водный p-p хлористого цинка (25 % хлористого цинка, 75 % воды). Технический вазелин 75 %, хлористый цинк 25 %, паяльный жир2) ТУ 36-1170-79) Припой П0040, ПОС-65 (ГОСТ 21931) |
|
|
4. Остывание |
||
|
5. Промывка водой до снятия остатков флюса |
||
|
6. Сушка |
||
|
3. Горячее лужение алюминия и его сплавов натиранием (абразивное лужение) |
1. Зачистка поверхности до металлического блеска кардощеткой (при наличии на поверхности шин толстого слоя жирового загрязнения обезжирить бензином) |
Бензин Б-70 |
|
2. Нагрев поверхности пламенем пропано-воздушной горелки до температуры плавления припоя А |
Припой А: олово - 40 %, цинк - 58 %, медь - 2 % |
|
|
3. Натирание шины припоем А |
|
|
|
4. Растирание припоя кардощеткой |
|
1) температура лужения меди и стали 330°С, алюминия и его сплавов 400 - 425°С.
2) Состав паяльного жира: канифоль (ГОСТ 19113) - 10-15 массовых частей, животный жир или стеарин (ГОСТ 6484) - 5 - 6 массовых частей, нашатырный спирт (ГОСТ 2210) - 2 массовые части, хлористый цинк (ГОСТ 7345) - 1 массовая часть, дистиллированная вода (ГОСТ 6709) - 1 массовая часть.
1. Размеры плоских выводов

Таблица П9.1
Размеры (резьба) штыревых выводов
|
Номинальный ток, А, до включения |
Материал вывода1) |
||
|
Сталь |
Латунь |
Медь |
|
|
Предел прочности на растяжение, 107 Па |
|||
|
50 |
32 |
25 |
|
|
2,5 - 8,3 |
М3 |
М3 |
- |
|
16 |
М4 |
М4 |
- |
|
25 |
М5 |
М5 |
- |
|
40 |
Мб |
М6 |
- |
|
63 |
- |
М6 |
- |
|
100 |
- |
М8 |
- |
|
160 |
- |
М10 |
- |
|
250 |
- |
М12 |
М10 |
|
320 |
- |
М16 |
М12 |
|
400 |
- |
М20 |
M16 |
|
630 |
- |
- |
М20×1,5 |
|
800 |
- |
- |
М24×2,0 |
|
1000 |
- |
- |
М30×2,0 |
|
1250 |
- |
- |
М33×2,0 |
|
1600 |
- |
- |
М36×2,0 |
|
2000 |
- |
|
М42×3,0 |
|
2500 |
- |
- |
М48×3,0 |
|
3200 |
- |
- |
М56×4,0 |
1) Допускается применение других материалов, обеспечивающих надежный контакт.
На проводах марки А, АС, АСО, и АСУ сечением от 95 до 500 мм2 опрессовка аппаратных и ответвительных алюминиевых зажимов может быть произведена пороховым прессом П3-500. Зажимы с лысками опрессовываются матрицами круглой формы, круглые зажимы без лысок впрессовываются шестигранными матрицами.
В прессе П3-500 энергия пороховых газов строительных патронов типа МПУ 1, 2, 3 воздействует через подвижный поршень на формующие матрицы. Короткие зажимы опрессовываются за один выстрел. Зажимы, длина опрессовываемой части которых больше ширины матриц, прессуются последовательной перестановкой пресса по зажиму за несколько выстрелов.
Габаритные размеры пресса 500×150×70 мм, масса пресса 7,2 кг. Работа пресса возможна во всех пространственных положениях независимо от температурных и климатических условий.
Время на опрессование одного зажима, без учета подготовительных операций, составляет в минутах:
|
|
ответвительного |
аппаратного |
|
сечение 95 - 150 мм2 |
4 |
2 |
|
сечение 185 - 240 мм2 |
10 |
5 |
|
сечение 300 - 500 мм2 |
16 |
8 |
Пресс (рис. П10.1) состоит из корпуса 2, шарнирно соединенного осью 2 со скобой 3, ствола 4 и затвора 5. В окне, образованном корпусом и скобой, помещаются две матрицы 6, одна из которых соединяется с упорным винтом 7 при помощи фиксирующего винта 8, а вторая (подвижная) прижимается к поршню 9, Палец 14 служит для размыкания и замыкания корпуса со скобой. К прессу прилагается вилка для сдвига матрицы с поршнем до упора в патронник (положение «0»).

Рис. П10.1 Пресс пороховой П3-500
1 - корпус, 2 - ось, 3 - скоба, 4 - ствол, 5 - затвор, 6 - матрицы, 7 - винт
упорный, 8 - винт, фиксирующий, 9 - поршень, 10 - кожух, 11 - кожух, 12 -
движок, 13 - пружина, 14 - палец
Подвижная матрица прикрывается кожухами 10 и 11, которые служат для фиксации в инструменте обрабатываемых деталей и создания нормируемого расстояния между подвижной матрицей и зажимом. Это позволяет дополнительно к энергии пороховых газов использовать кинетическую энергию суммарной массы движущихся с большой скоростью поршня и матрицы, усиливая эффект деформации зажима и провода.
С комплектами матриц поставляется три типа кожухов:
- кожухи с вилкой 10 (применяются для фиксации овальных зажимов в прессе при опрессовке круглыми матрицами);
- кожухи гладкие (применяются при опрессовке круглых зажимов шестигранными матрицами);
- кожухи с движком (применяются для устранения перекоса зажимов в прессе при ступенчатой опрессовке). Движок 12, поджатый пружиной 13, может перемещаться за край кожуха и удлинять его на величину, произведенной ранее опрессовки.
Матрицы и кожухи маркированы. Маркировка приведена в таблице П10.1. Выбор матриц и кожухов, в зависимости от марки зажима и сечения провода, производится по таблицам на крышках футляров с матрицами, или по таблице П10.1. Для работы прессом выпускается два комплекта матриц, поставляемых по требованию заказчика (рис. П10.2). Первый комплект матриц предназначен для опрессовки проводов сечением 95 - 150 мм2. На крышку футляра нанесена надпись «КМ 95-150». Второй комплект матриц предназначен для опрессовки проводов сечением 185 - 500 мм2. На крышку футляра нанесена надпись «КМ 185-500».
|
Марка зажима |
Марка провода |
Маркировка матриц |
Применяемые кожухи |
Длина опрессовки |
№ патрона |
Размер после опрессовки (допуск +0,3мм) |
|||
|
Опрессовка кругл. |
Опрессовка шестигр. |
Опрессовка |
Опрессовка шестигр. |
Круг. |
Шестигранник |
||||
|
А2А-95-2; А4А-95-2; ОА-95-1 |
А-95 АС-95 |
А-21 |
Ш-18 |
А-21 и Ш-18 |
Ш-18 и Ш-18 |
70 |
2 |
21 |
18,2 |
|
А2А-100-2; А4Л-120-2; ОА-120-1 |
А-120 А-150 АСО-120 АС-120 |
А-23 |
Ш-20 |
А-23 и Ш-20-23 |
Ш-20-23 и Ш-20-23 |
80 |
3 |
23 |
20,8 |
|
А2А-150-2; А4А-150-2; ОА-150-1 |
А-150 А-185 АСО-150 АСУ-150 |
А-26 |
Ш-23 |
А-26 и Ш-20-23 |
Ш-20-23 и Ш-20-23 |
80 |
3 |
26 |
23,4 |
|
А2А-185-2; А4А-185-2; ОА-150-1 |
А-240 АС-185 АСУ-185 АСО-185 |
А-28 |
Ш-26 |
А-28 и КД |
Ш-26 и КД |
90 |
3 |
28 |
26 |
|
А2А-240-2; А4А-240-2; ОА-240-1 |
А-300 АС-240 АСУ-240 АСО-240 |
А-31 |
Ш-30 |
А-31 и КД2 |
Ш-30 и КД2
|
100 |
1-К 2-Ш |
31,5 |
30,3 |
|
А2А-300-2; А4А-300-2; ОА-300-1 |
А-400 АС-300 АСУ-300 АСО-300 |
А-40 |
|
А-40 и КД2 |
|
100 |
3 |
40,5 |
|
|
А2А-400-2; А4А-400-2; ОА-400-1 |
А-500 АСО-500 АС-400 АСУ-400 |
А-45 |
|
А-45 и КД2 |
|
120 |
3 |
45 |
|

Для производства опрессовки зажима необходимо:
1. Подобрать матрицы с маркировкой, соответствующей марке зажима и сечению провода, вставить матрицы в пазы корпуса пресса. Закрепить нижнюю матрицу винтом, сдвинуть матрицы в крайние положения, после чего сомкнуть корпус со скобой (закрыть пресс) и вставить палец в отверстие.
2. Закрепить на корпусе кожухи, соответствующие типу и сечению зажима.
3. Обработать внутреннюю поверхность прессуемого зажима круглым напильником с целью устранения облоя и заусенцев, затем кардощеткой или металлическим ершом снять оксидную пленку со стенок отверстия и сразу же на зачищенную поверхность зажима нанести слой нейтрального технического вазелина, смазки ЗЭС МРТУ 28-1-206-66, ЭПС-98 или т.п.
4. Наложить бандаж на конец подготовленного провода, скруглить его, выправить деформированные повивы, зачистить кардощеткой от оксидного покрытия и закрепить на него аппаратный зажим. Место установки ответвительного зажима на проводе сетки ОРУ также обработать кардощеткой.
5. Подготовленный аппаратный зажим поместить в окно пресса между матрицами так, чтобы контактная часть зажима была на стороне кожуха с движком и как можно ближе к краю матрицы.
6. Вращением упорного винта, поджать прессуемый зажим к кожухам, поршень с матрицей с помощью вилки поставить в положение «0» (рис. П10.2 а), вывернуть затвор и вставить в его паз патрон. Завернуть затвор в ствол и, удерживая пресс левой рукой за корпус, правой рукой оттянуть ударник затвора за резиновую пуговицу. Резко отпустить ударник, произведя выстрел.
Если диаметр опрессованной части не соответствует заданным размерам, то необходимо повторить опрессовку этого места, но патронами меньшей мощности. Если диаметр опрессованной части соответствует заданным размерам, то пресс поворачивается вокруг прессуемого зажима на 180° и устанавливается на новом месте прессования, перекрывая матрицами на 5 - 8 мм ранее опрессованную часть с обязательным выдвижением движка (рис. П10.2).
При опрессовке ответвительного зажима, пресс закрепляется ближе к угловой части зажима стороной, где находится корпус с движком, и по мере прессования передвигается к концу зажима. Ответвительные и аппаратные зажимы сечением от 185 до 500 мм2 прессуются ступенями за две и более перестановки до получения нужной длины опрессованной части.
Опрессовка зажимов сечением 240 мм2 производится патронами двух типов МПУ-1 и МПУ-2. Овальный зажим - патронами МПУ-1 с круглыми матрицами, круглый зажим - патронами МПУ-2 с шестигранными матрицами.
В табл. П10.1 это требование обозначено соответственно 1-К и 2-Ш.
Зажимы сечением 95, 120 и 150 мм2 опрессовываются одним выстрелом без перестановок и без применения кожуха с движком.
Более подробная информация об устройстве пресса, работе с прессом и обеспечении безопасности при работе изложена в Техническом описании и инструкции по эксплуатации, входящем в комплект поставки пресса П3-500.
Эксплуатация пресса в предприятии должна осуществляться в соответствии с действующей в Ассоциации «Росэлектромонтаж» Инструкцией по обеспечению безопасности при выполнении работ с применением пороховых инструментов. На основе Типовой инструкции по охране труда при производстве работ с применением пороховых инструментов в предприятии должна быть разработана инструкции по охране труда для работающих прессом П3-500, учитывающая специфику местных условий производства работ.

Рис. П10.3 Упаковка матриц
КМ
1, 2 - матрицы; 3 - кожухи; 4 - футляр; 5 - паспорт
Термоиндикаторы - это сложные вещества, которые при достижении определенной температуры резко изменяют свой цвет за счет химического взаимодействия компонентов. В зависимости от необходимости применяются нереверсивные и реверсивные термоиндикаторы.
Нереверсивный термоиндикатор, имеющий формат 18×40 мм, фиксирует значения температур, указанные на рисунке.

При достижении определенной температуры термокраска меняет свой цвет и остается впоследствии без изменений.
Реверсивный термоиндикатор, диаметром 30 мм, при обычной температуре черного цвета. При достижении температуры 90°C черная краска меняет свой цвет на красный, затем зеленый (95°С) и синий (100°С). При уменьшении температуры восстанавливается черный цвет.
Материал: самоклеющийся полиэстер толщиной 0,1 мм. Термоиндикатор может быть наклеен практически на любую поверхность, в том числе вогнутую и выпуклую, как обычный стикер. Используется как самостоятельное изделие.
Термоиндикаторная ФРС композиция
Марка ТИН 75 - 95
ТУ РФ 2388-002-71450847-2004, СЭЗ № 78.01.06.238.Т.009167.08.04
Предназначена для изготовления термоиндикаторных покрытий, окраска которых изменяется на воздухе при достижении температуры поверхности выше 75°C и после охлаждения уже не восстанавливает исходный цвет. Необратимые термочувствительные покрытия используются для обнаружения аномальных участков перегрева рабочей поверхности энергетического оборудования, в электрических цепях (контакты и т.д.).
Технические данные
Состав: неорганические соединения в электроизоляционном фурил-силикатном лаке. Композиция горючая, класс опасности по ГОСТ 12.1.007-76 - 3-й (умеренно опасная). Хранение: 12 месяцев без доступа влаги от -40° до +40°С.
Цвет:
Исходный до 65°C розовый
При 75 - 95°C сиреневый
Выше 150°C синий
Выше 250°C коричневый
Свойства: При нагревании выше 75°C изменение окраски покрытия становится необратимым, токсические соединения при этом не выделяются. Розовое покрытие приобретает сиреневый цвет в течение 1 - 5 мин. нагрева при 95 и 75°C, соответственно. Временные кратковременные нагревы при данных температурах суммируются и также приводят к полному насыщению нового цвета покрытия.
Руководство по применению
Композицию хранят в заводской плотно закрытой таре, предохраняя от влаги, действия тепла и прямых солнечных лучей. Нанесение осуществляют в проветриваемом помещении. Композиция готова для применения.
Композицию размешивают в таре изготовителя и наносят на сухую поверхность ровным тонким слоем кистью или распылителем.
Время высыхания слоя при +20°C не более 1 часа.
Расход композиции на однослойное покрытие 150 г/м2.
|
Наименование |
ГОСТ или ТУ |
|
1. Правила |
|
|
Правила пожарной безопасности в Российской Федерации |
|
|
2. ГОСТы |
|
|
Баллоны стальные малого и среднего объема для газов Pp 19,6 МПа (200 кГс/см2). Технические условия |
|
|
Ветошь обтирочная |
ОСТ 63.46-84 |
|
Покрытия металлические и неметаллические неорганические. Общие требования к выбору |
|
|
Покрытия металлические и неметаллические неорганические. Обозначения Слитки медные. Технические условия |
ГОСТ 21484 ГОСТ 193 (СТ СЭВ 732-77) |
|
Проволока прямоугольного сечения, ленты и шины медные для электротехнических целей. Технические условия |
ГОСТ 434 |
|
Трубы медные |
|
|
Кислота азотная концентрированная. Технические условия |
ГОСТ 701 |
|
Провода неизолированные для воздушных линий электропередачи. Технические условия |
|
|
Медь. Марки (Ст СЭВ 226-75) |
ГОСТ 859 (СТ СЭВ 226) |
|
Бензин авиационный |
|
|
Металлы, Методы испытания на растяжение |
|
|
Болты, винты и шпильки. Механические свойства и методы испытаний |
|
|
Гайки. Механические свойства и методы испытаний |
|
|
Аммоний хлористый технический. Технические условия |
ГОСТ 2210 |
|
Натр едкий технический. Технические условия |
|
|
Ацетон |
|
|
Пружины тарельчатые. Технические условия |
ГОСТ 3057 |
|
Полосы горячекатаные и кованные из инструментальной стали. Сортамент |
|
|
Алюминий и сплавы алюминиевые деформируемые. Марки |
ГОСТ 4784 |
|
Гайки шестигранные (нормальной точности). Конструкция и размеры |
|
|
Смазка ЦИАТИМ 201. Технические требования |
ГОСТ 6267 |
|
Кислота стеариновая техническая (стеарин). Технические условия |
ГОСТ 6484 |
|
Вода дистиллированная |
|
|
Шайбы увеличенные. Технические условия |
ГОСТ 6958 |
|
Цинк хлористый технический. Технические условия |
ГОСТ 7345 |
|
Проволока сварочная из алюминия и алюминиевых сплавов |
ГОСТ 7871 |
|
Силикагель-индикатор. Технические условия |
ГОСТ 8984 |
|
Смазка ЦИАТИМ-221. Технические требования |
ГОСТ 9433 |
|
Аргон газообразный и жидкий. Технические условия |
|
|
Сталь сортовая электротехническая нелегированная |
ГОСТ 11036 |
|
Алюминий первичный. Марки |
|
|
Шайбы. Технические условия |
|
|
Шины, профили и трубы прессованные электротехнического назначения из алюминия |
|
|
Вазелин кремнийорганический марки КВ-3/103 |
ГОСТ 15975 |
|
Проволока и прутки из меди и сплавов на медной основе, сварочные |
ГОСТ 16130 |
|
Канифоль сосновая. Технические условия |
ГОСТ 19113 |
|
Пластины переходные медно-алюминиевые. Общие технические требования |
ГОСТ 19357 |
|
Прутки прессованные из алюминия и алюминиевых сплавов. Технические условия |
ГОСТ 21488 |
|
Припои оловянно-свинцовые в изделиях. Технические условия |
ГОСТ 21931 |
|
Электроды вольфрамовые сварочные неплавящиеся. Технические условия |
|
|
Сварка металлов. Термины и определения основных понятий |
|
|
Аппараты электротехнические низковольтные. Методы испытаний |
ГОСТ 2933 |
|
Сварные соединения. Методы определения механических свойств |
|
|
Соединений контактные электрические. Классификация. Общие технические требования |
|
|
Контакты электрические. Термины и определения |
ГОСТ 14312 |
|
Машины, приборы и другие технические изделия. Исполнения для различных климатических районов. Изделия электротехнические. Исполнения для различных климатических районов. Общие технические требования в части воздействия климатических факторов внешней среды |
ГОСТ 15150 (СТ СЭВ 458-77 и СТ СЭВ 460-77) ГОСТ 15543.1-89 Е |
|
Климатические зоны СССР. Районирование по воздействию климата на технические изделия и материалы, Статистические параметры климатических факторов |
|
|
Пайка и лужение. Основные термины и определения |
ГОСТ 17325 |
|
Изделия электротехнические для районов с холодным климатом. Общие технические условия |
ГОСТ 17412 |
|
Соединения контактные электрические, Правила приемки и методы испытаний |
|
|
Изделия электротехнические. Термины и определения основных понятий |
ГОСТ 18311 |
|
Статистический контроль качества. Методы случайного отбора выборок штучной продукции |
ГОСТ 18321 (СТ СЭВ 1934-79) |
|
Выводы контактные электротехнических устройств плоские и штыревые. Основные размеры |
ГОСТ 21242 |
|
Соединения контактные электрические сварные. Основные типы, конструктивные элементы и размеры |
ГОСТ 23792 |
|
ССБТ. Изделия электротехнические. Общие требования безопасности |
|
|
Работы электросварочные. Требования безопасности |
|
|
Машины, приборы и другие технические изделия. Исполнения для различных климатических районов. Категории, условия эксплуатации, хранения и транспортирования в части воздействия климатических факторов внешней среды |
|
|
Гайки шестигранные низкие класса точности В. |
|
|
Наконечники кабельные медные, закрепляемые опрессовкой. |
|
|
Гильзы кабельные соединительные медные, закрепляемые опрессовкой. |
|
|
Покрытия металлические и неметаллические неорганические. Обозначения. |
ГОСТ 21484 |
|
Наконечники кабельные алюминиевые и медно-алюминиевые, закрепляемые опрессовкой. |
|
|
Наконечники кабельные штифтовые |
ГОСТ 23598 |
|
Гильзы кабельные соединительные алюминиевые, закрепляемые опрессовкой |
|
|
Выключатели переменного тока на напряжения от 3 до 750 кВ |
ГОСТ Р 52565 |
|
Система стандартов безопасности труда. Процессы производственные. Общие требования безопасности |
ГОСТ 12.3.002 |
|
Средства подмащивания |
|
|
Костюмы мужские для защиты от повышенных температур. Технические условия |
ГОСТ 12.4.045 |
|
Обувь специальная кожаная для защиты от механических воздействий. Общие технические условия |
ГОСТ 28507 |
|
Система стандартов безопасности труда. Средства индивидуальной защиты. Рукавицы специальные. Технические условия |
|
|
Фартуки специальные. Технические условия |
ГОСТ 12.4.029 |
|
Система стандартов безопасности труда. Респираторы ШБ-1 "Лепесток". Технические условия |
ГОСТ 12.4.028 |
|
Система стандартов безопасности труда. Щитки защитные лицевые для электросварщиков. Технические условия |
|
|
Болты с шестигранной головкой класса точности В. Конструкция и размеры |
|
|
Гайки шестигранные низкие класса точности В. Конструкция и размеры |
|
|
3. СНиПы |
|
|
Безопасность труда в строительстве |
СНиП 12-03-99 |
|
Безопасность труда в строительстве. Часть 2. Строительное производство |
|
|
Электротехнические устройства |
|
|
4. Технические условия |
|
|
Гибкие электронагреватели |
ТУ 36-1837-82 |
|
Электроды угольные |
ТУ 16-757.034-86 |
|
Шинные компенсаторы К52 - К56 |
ТУ 36-14-82 |
|
Переходные пластины АП |
ТУ 36-931-82 |
|
Жир паяльный |
ТУ 36-1170-79 |
|
Смазка электропроводящая ЭПС-98 |
ТУ 0254-002-47926093-2001 |
|
Гильзы кабельные алюминиевые закрытые |
ТУ 36-1441-83 |
|
Флюс ВАМИ |
ТУ 48-4-347-75 |
|
5. Инструкции |
|
|
Инструкция по сварке цветных металлов в электромонтажном производстве |
|
|
_________________________________________________________ |