www.DocNorma.Ru
Лучшая бесплатная электронная библиотека стандартов и нормативов. Регулярное обновление. Содержит 70000 документов.

алготрейдинг на Python и Backtrader, обучение по алготрейдингу

ОТРАСЛЕВОЙ СТАНДАРТ

Вводы-выводы труб с фланцами
приварными встык стальных сварных сосудов и аппаратов.
Конструкция и размеры.

ОСТ 26-01-1157-75

Министерство химического и нефтяного
машиностроения СССР

Москва

РАЗРАБОТАН Северодонецким филиалом Всесоюзного научно-исследовательского и конструкторского института химического машиностроения, (С.ф. НИИХИММАШ).

Директор                                                   Каминский И.В.

Руководитель темы                                  Белых З.Д.

ВНЕСЕН Всесоюзным научно-исследовательским и конструкторским институтом химического машиностроения (НИИХИММАШ)

Директор                                                   Румянцев И.И.

ПОДГОТОВЛЕН К УТВЕРЖДЕНИЮ Базовым научно-исследовательским отделом стандартизации Всесоюзного научно-исследовательского и конструкторского института химического машиностроения (НИИХИММАШ).

Начальник БНИОС                                   Дюкин В.В.

Руководитель темы                                  Власова К.А.

СОГЛАСОВАН Министерством химической промышленности

Начальник управления по ремонту предприятий химической промышленности и оборудования Толчин Б.И.

УТВЕРЖДЕН Главным Управлением химического машиностроения МХНМ.

Начальник Главного Управления           Григорьев П.Д.

ВВЕДЕН В ДЕЙСТВИЕ ПРИКАЗОМ Главного Управления химического машиностроения.

СОГЛАСОВАНО:

Начальник Управления по ремонту

предприятий химической

промышленности оборудования МХП

Толчин Б.И.

"    "                        1975 г.

УТВЕРЖДАЮ:

Начальник Главного Управления

                               Григорьев П.Д.

"28"    II                      1975 г.

ОТРАСЛЕВОЙ СТАНДАРТ

Вводы-выводы труб с фланцами приварными встык стальных сварных сосудов и аппаратов.
Конструкция и размеры.

ОСТ 26-01-1157-75

Взамен: ОСТ 26-01-3-70,

ОСТ 26-01-5-70

Приказом                                                                                      Срок действия установлен

От     28.02.75 г.       № 18                                                            с 01.01.                  1976 г.

до 01.01.                1993 г.

(Измененная редакция, Изм. № 1, 2, 3).

1. Настоящий стандарт распространяется на вводы-выводы труб с фланцами приварными в стык стальных сварных сосудов и аппаратов на условное давление от 6 до 63 кгс/см2 (от 0,6 до 6,3 МПа), вакуум с остаточным давлением не ниже 667 Па (5 мм рт. ст.) и температуру от минус 70 до плюс 530°С, изготавливаемых в подотрасли химического машиностроения.

(Измененная редакция, Изм. № 3).

2. Стандарт устанавливает конструкции вводов-выводов труб двух типов:

1 - вводы-выводы труб с фланцами с выступом-впадиной приварными в стык на Ру от 6 до 63 кгс/см2 (от 0,6 до 6,3 МПа);

2 - вводы-выводы труб с фланцами с шипом-пазом приварными в стык на Ру от 6 до 63 кгс/см2 (от 0,6 до 6,3 МПа).

(Измененная редакция, Изм. № 2).

3. Конструкция и размеры вводов-выводов труб типов 1, 2 должны соответствовать указанным на черт.1, 2 и в табл.1, 2, 3, 4, 5, 6.

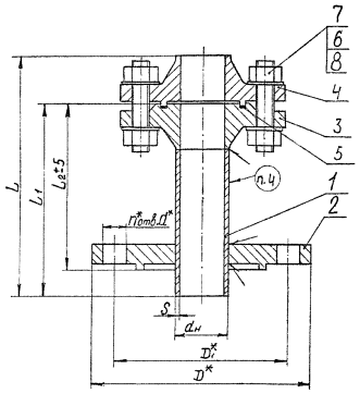
Тип 1

1. Патрубок - без чертежа

2. Фланец типа 2 - по ОСТ 26-01-

3. Фланец исполн. 3 - по ГОСТ 12821-80

4. Фланец исполн. 2 - по ГОСТ 12821-80

5. Прокладка типа Б - по ГОСТ 15180-70

6. Шпилька - по ОСТ 26-2040-77

7. Гайка - по ОСТ 26-2041-77

8. Шайба - по ОСТ 26-2042-77 (только для Ру 40 и 63 кгс/см2)

(Измененная редакция, Изм. № 1, 2).

Черт. 1

ТИП 2

1. Патрубок - без чертежа.

2. Фланец типа 3 - по ОСТ 26-01-

3. Фланец исполн. 5 - по ГОСТ 12821-80

4. Фланец исполн. 4 - по ГОСТ 12821-80

5. Прокладка типа В - по ГОСТ 15180-70

6. Шпилька - по ОСТ 26-2040-77

7. Гайка - по ОСТ 26-2041-77

8. Шайба - по ОСТ 26-2042-77 (только для Ру 40 и 63 кгс/см2)

(Измененная редакция, Изм. № 1, 2).

Черт. 2

Таблица 1

Ру 6 кгс/см2 (0,6 МПа)

Размеры в мм

Проход условный, dу-Dу

dн

S

D*

D1*

L

не менее

L1

не менее

L2

d*

n*

Масса*, кг

Применяемость

из углеродистой стали

из коррозионностойкой стали

тип 1

тип 2

25-50

32

2,5

2,5

140

110

285

260

130

14

4

3,62

3,65

 

32-50

38

3,0

4,55

4,57

 

40-65

45

2,5

160

130

340

280

140

5,76

5,62

 

50-80

57

3,0

3,0

185

150

18

7,77

7,29

 

50-100

205

170

360

300

150

8,57

8,07

 

65-100

76

3,5

3,5

9,64

9,02

 

80-125

89

4,0

235

200

8

13,75

13,20

 

80-150

260

225

385

340

170

15,17

14,53

 

100-150

108

4,0

16,08

15,65

 

125-150

133

5,0

5,0

19,79

20,43

 

150-200

159

6,0

6,0

315

280

395

340

170

18

8

28,30

27,49

 

200-250

219

10,0

370

335

12

39,13

37,48

 

250-300

273

7,0

10,0

435

395

22

55,05

57,37

 

300-350

325

8,0

12,0

485

445

435

380

190

71,06

70,45

 

350-400

377

9,0

9,0

535

495

16

88,92

85,34

 

(Измененная редакция, Изм. № 1, 2, 3).

Таблица 2

Ру 10 кгс/см2 (1,0 МПа)

Размеры в мм

Проход условный, dу-Dу

dн

S

D*

D1*

L

не менее

L1

не менее

L2

d*

n*

Масса*, кг

Применяемость

из углеродистой стали

из коррозионностойкой стали

тип 1

тип 2

200-250

219

6

10

390

350

400

340

170

22

12

48,76

46,85

 

250-300

273

7

10

440

400

62,90

65,34

 

300-350

325

8

12

500

460

445

380

190

26

16

82,71

82,74

 

350-400

377

9

9

565

515

107,23

105,05

 

(Измененная редакция, Изм. № 1, 2).

Таблица 3

Ру 16 кгс/см2 (1,6 МПа)

Размеры в мм

Проход условный, dу-Dу

dн

S

D*

D1*

L

не менее

L1

не менее

L2

d*

n*

Масса*, кг

Применяемость

из углеродистой стали

из коррозионностойкой стали

тип 1

тип 2

50-80

57

3,0

3,0

195

160

350

300

150

18

4

10,83

10,50

 

50-100

215

180

8

12,27

12,07

 

65-100

76

3,5

3,5

14,38

14,09

 

80-125

89

4,0

4,0

245

210

400

340

170

19,58

19,22

 

80-150

280

240

22

22,29

21,79

 

100-150

108

24,32

23,80

 

125-150

133

5,0

5,0

28,58

28,14

 

150-200

159

6,0

6,0

335

295

12

39,86

39,28

 

200-250

219

 

10,0

405

355

26

55,75

54,06

 

250-300

273

7,0

10,0

460

410

460

380

190

76,39

80,20

 

300-350

325

8,0

12,0

520

470

16

100,21

99,94

 

350-400

377

9,0

9,0

580

525

30

136,32

135,97

 

(Измененная редакция, Изм. № 1, 2, 3).

Таблица 4

Ру 25 кгс/см2 (2,5 МПа)

Размеры в мм

Проход условный, dу-Dу

dн

S

D*

D1*

L

не менее

L1

не менее

L2

d*

n*

Масса*, кг

Применяемость

из углеродистой стали

из коррозионностойкой стали

тип 1

тип 2

200-250

219

6

10

425

370

500

420

200

30

12

76,47

74,91

 

250-300

273

8

11

485

430

16

106,46

109,74

 

300-350

325

12

550

490

540

450

220

33

145,80

148,56

 

350-400

377

9

9

610

550

205,07

207,93

 

(Измененная редакция, Изм. № 1).

Таблица 5

Ру 40 кгс/см2 (4,0 МПа)

Размеры в мм

Проход условный, dу-Dу

dн

S

D*

D1*

L

не менее

L1

не менее

L2

d*

n*

Масса*, кг

Применяемость

из углеродистой стали

из коррозионностойкой стали

тип 1

тип 2

10-25

14

3,0

2,5

115

85

335

280

140

14

4

3,28

3,12

 

15-32

18

135

100

18

4,27

5,30

 

20-40

25

2,5

145

110

4,86

5,02

 

25-50

32

160

125

345

5,93

5,83

 

32-50

38

3,0

3,0

7,80

7,48

 

40-65

45

2,5

180

145

395

340

170

8

9,96

9,89

 

50-80

57

3,0

195

160

12,64

12,28

 

50-100

230

190

22

15,90

15,48

 

65-100

76

4,0

3,5

18,90

18,60

 

580-125

89

5,0

4,0

270

220

460

400

200

26

27,28

26,94

 

80-150

300

250

31,50

31,04

 

100-150

108

5,0

4,5

300

250

470

400

200

26

8

37,49

37,54

 

125-150

133

6,0

5,0

45,18

45,28

 

150-200

159

8,0

6,0

375

320

570

500

250

30

12

69,32

68,48

 

200-250

219

10,0

445

385

590

33

120,65

120,24

 

(Измененная редакция, Изм. № 1, 2, 3).

Таблица 6

Ру 63 кгс/см2 (6,3 МПа)

Размеры в мм

Проход условный, dу-Dу

dн

S

D*

D1*

L

не менее

L1

не менее

L2

d*

n*

Масса*, кг

Применяемость

из углеродистой стали

из коррозионностойкой стали

тип 1

тип 2

10-25

14

3,0

2,5

135

100

350

320

150

18

4

4,74

4,50

 

15-32

18

150

110

22

5,67

5,78

 

20-40

25

165

125

380

8,52

8,48

 

25-50

32

175

135

420

360

180

9,71

9,64

 

32-50

38

3,0

430

8

12,17

12,07

 

40-65

45

4,0

2,5

200

160

16,82

16,47

 

50-80

57

4,0

210

170

19,87

19,68

 

50-100

250

200

26

24,79

24,58

 

65-100

76

5,0

3,5

525

450

230

30,78

30,59

 

80-125

89

6,0

4,0

295

240

30

41,24

39,89

 

80-150

340

280

33

52,12

51,63

 

100-150

108

6,0

4,5

340

280

530

450

230

33

8

61,29

60,74

 

125-150

133

8,0

6,0

635

530

280

77,10

76,96

 

150-200

159

10,0

7,0

405

345

12

120,36

118,56

 

200-250

219

12,0

10,0

470

400

645

39

175,75

171,22

 

(Измененная редакция, Изм. № 1, 2, 3).

Примечания:

1. По обоснованному требованию потребителя присоединительные диаметры переходного фланца поз. 2 могут быть приняты ближайшим меньшими диаметрами по ГОСТ 12815-80.

(Измененная редакция, Изм. № 2).

2. dу - условный проход ввода-вывода труб; Dу - условный проход штуцера для установки ввода-вывода труб.

3. Допускается для вводов-выводов труб на условное давление Ру £ 25 кгс/см2 и температуру не выше плюс 300°С вместо шпилек по ОСТ 26-2040-77 и гаек по ОСТ 26-2041-77 применять болты по ОСТ 26-2037-77, гайки по ОСТ 26-2038-77.

(Измененная редакция, Изм. № 1).

4.*) Для справок.

5. Масса подсчитана из условия плотности материала 7,85 г/см3 при L1 равном приведенному в таблицах настоящего стандарта.

Допускается применение вводов-выводов с другими размерами L1, при этом масса должна быть уточнена.

(Измененная редакция, Изм. № 3).

6. Толщины стенок труб приняты для сред со скоростью проникновения коррозии от 0,1 до 0,5 мм/год.

(Измененная редакция, Изм. № 2).

7. Толщины стенок труб из углеродистой, легированной и коррозионностойкой сталей для сред со скоростью проникновения коррозии менее 0,1 мм/год или более 0,5 мм/год назначаются проектирующей организацией.

Пример условного обозначения ввода-вывода труб типа 2 с dу-Dу 50-100 мм на Ру 40 кгс/см2 с длиной L1 340мм с шифром материального исполнения 3:

Ввод-вывод 2-50-100-40-340-3 ОСТ 26-01-

Пример условного обозначения патрубка с dн 57 мм толщиной 3 мм длиной 300 мм из стали 20 ввода-вывода труб типов 1, 2, 3 с dу-Dу 50-100 мм:

Патрубок 57-3-300-20 ОСТ 26-01-

При заказе ввода-вывода типа 2 под фторопластовые прокладки после обозначения условного давления следует добавлять букву Ф.

(Измененная редакция, Изм. № 2).

4. Маркировка, шифр материального исполнения и технические требования - по ОСТ 26-01-

Директор НИИХИММАШ                                                                Румянцев И.И.

Начальник БНИОС                                                                             Дюкин В. В.

Директор С/ф НИИХИММАШ                                                         Каминский И.В.

Заведующий отделом стандартизации                                             Пономаренко И.Н.

Заведующий лабораторией прочности                                            Назаренко В.Г.

Заведующий отделом

емкостного оборудования                                                                 Маслов В.И.

Заведующий конструкторским

сектором стандартов и каталогов                                                     Смыкалов К.А.

Руководитель темы                                                                            Белых З.Д.

УТВЕРЖДАЮ:

Начальник Управления по развитию

химического и нефтяного

машиностроения

                                      В.Н. Бондарев

"___"______________1996 г.

ПЕРЕЧЕНЬ
ОТРАСЛЕВЫХ СТАНДАРТОВ, С КОТОРЫХ СНИМАЕТСЯ ОГРАНИЧЕНИЕ СРОКА ДЕЙСТВИЯ

Обозначение. Наименование документа

Наименование организации-разработчика

Наименование организации, за которой закрепляется документ в России (до его пересмотра)

Примечания (срок действия)

ОСТ 26-01-1157-75

Вводы-выводы труб с фланцами приварными встык стальных сварных сосудов и аппаратов. Конструкция и размеры

Северодонецкий НИИхиммаш (Украина)

АО "ЦКБН"

до 01.01.96

ОСТ 26-01-1158-75

Фланцы переходные плоские приварные вводов-выводов труб стальных сварных сосудов и аппаратов. Конструкция и размеры

Северодонецкий НИИхиммаш (Украина)

АО "ЦКБН"

до

01.01.96

ОСТ 26-01-1159-75

Вводы-выводы труб стальных сварных сосудов и аппаратов. Технические требования

Северодонецкий НИИхиммаш (Украина)

АО "ЦКБН"

до

01.01.96

ОСТ 26-01-1223-88

Фланцы стальных эмалированных сосудов и аппаратов. Конструкция и размеры

НИИэмальхиммаш (Украина)

-

до

01.01.96

ОСТ 26-01-1242-75

Уплотнения валов для аппаратов с перемешивающими устройствами. Гидрозатворы. Параметры, конструкция и основные размеры. Технические требования

ДзержинскНИИхиммаш

-

до

01.01.97

ОСТ 26-01-1244-88

Аппараты с механическими перемешивающими устройствами. Общие технические условия

АО "ЛенНИИхиммаш"

-

до 01.01.95

ОСТ 26-01-1247-75

Уплотнения валов для аппаратов с перемешивающими устройствами. Уплотнения сальниковые. Типы, параметры, конструкция и основные размеры. Технические требования

ДзержинскНИИхиммаш

-

до

01.01.97

Директор по научно-техническому

направлению АО "НИИхиммаш"                                   В.А. Заваров

Начальник отдела стандартизации                                И.И. Орехова


Яндекс цитирования


  _________________________________________________________
  Copyright © DocNorma.Ru, 2009 - 2026
  (при копировании материалов библиотеки - ссылка обязательна)