www.DocNorma.Ru
Лучшая бесплатная электронная библиотека стандартов и нормативов. Регулярное обновление. Содержит 70000 документов.

алготрейдинг на Python и Backtrader, обучение по алготрейдингу

ПРАВИТЕЛЬСТВО МОСКВЫ
КОМПЛЕКС ПЕРСПЕКТИВНОГО РАЗВИТИЯ
ГОРОДА

ТЕХНИЧЕСКИЕ РЕКОМЕНДАЦИИ
по технологии применения дисперсно-
армированных бетонных смесей
для строительства монолитных покрытий
и оснований городских дорог повышенной
эксплуатационной надежности

ТР 86-98

МОСКВА-1999

"Технические рекомендации по технологии применения дисперсно-армированных бетонных смесей для строительства монолитных покрытий и оснований городских дорог повышенной эксплуатационной надежности" разработаны кандидатами технических наук Л.В. Городецким, Р.И. Бега, В.М. Гольдиным, инженером А.М. Балашовым (лаборатория дорожного строительства НИИМосстроя), Ю.П. Емельяновым (Мосстройлицензия).

Рекомендации составлены на основе научно-исследовательских работ, выполненных лабораторией дорожного строительства НИИМосстроя, обобщения отечественных и зарубежных исследований и опыта в области технологии изготовления фибробетона и возведения различных конструкций и сооружений, в том числе дорожных.

Рекомендации разработаны впервые и предназначены для строительства конструкций магистральных и местного значения дорог и улиц, а также для их капитального ремонта и реконструкции.

Рекомендации согласованы с трестом ОАО "Гордорстрой", институтом "Мосинжпроект", Москомэкспертизой, Москомприродой.

СОДЕРЖАНИЕ

1.

Общие положения

2.

Конструкции улиц и дорог различного назначения с использованием дисперсно-армированного бетона

3.

Технические нормы и требования

 

3.1. Требования к материалам для приготовления дисперсно-армированных бетонных смесей

 

3.2. Требования к дисперсно-армированному бетону и смеси

 

3.3. Приготовление дисперсно-армированных смесей

4.

Строительство дорог и улиц различного назначения с конструкциями из монолитного дисперсно-армированного бетона

 

4.1. Подготовительные работы

 

4.2. Возведение земляного полотна

 

4.3. Устройство дренажа мелкого заложения

 

4.4. Устройство песчаного подстилающего слоя

 

4.5. Установка бортовых камней

 

4.6. Устройство технологического слоя и основания

 

4.7. Устройство конструкций из дисперсно-армированных бетонных смесей

5.

Контроль качества строительства

6.

Требования безопасности

7.

Охрана окружающей среды

 

Приложение 1. Типы и назначение магистральных и местного значения улиц и дорог

 

Приложение 2. Свойства водных растворов суперпластификатора С-3 при 20 °С

 

Приложение 3. Рекомендуемые составы фибробетонных смесей

 

Приложение 4. Машины, механизмы, инструмент для строительства улиц и дорог с конструкциями из дисперсно-армированных бетонных смесей

 

Правительство Москвы

Технические рекомендации
по технологии применения дисперсно-армированных бетонных смесей для строительства монолитных покрытий и оснований городских дорог, повышенной эксплуатационной надежности

ТР 86-98

Комплекс перспективного развития города

 

1. ОБЩИЕ ПОЛОЖЕНИЯ

1.1. Настоящие Технические рекомендации распространяются на строительство и реконструкцию монолитных бетонных покрытий и оснований магистральных и местного значения улиц и дорог из дисперсно-армированных бетонных смесей.

1.2. Технические рекомендации разработаны с учетом действующих нормативных документов и альбомов СК 6101-97 "Дорожные конструкции для г. Москвы" часть 1 и 2.

1.3. Дисперсно-армированный бетон представляет собой композиционный материал, состоящий из бетона - матрицы и армирующих стальных волокон-фибр, равномерно распределенных по всему объему смеси.

1.4. Стальная фибра изготавливается рубленой из проволоки или стального листа; строганой из слябов, распылением из расплава с круглой, треугольной, прямоугольной или сложной формой поперечного сечения и дугообразной, прямолинейной, скрученной и др. формы вдоль продольной оси с анкерами или без анкеров на концах.

1.5. Дисперсно-армированный бетон в конструкциях следует устраивать на участках дорог с затяжными подъемами и спусками с продольным уклоном более 40 °/°°, на остановках общественного транспорта и в зонах интенсивного торможения подвижного состава, местах сопряжений с дождеприемными, смотровыми колодцами и бортовыми камнями, на участках высоких насыпей и смены вида грунтов земляного полотна, на пучинистых грунтах III-V степени при третьей категории увлажнения земляного полотна, а также в условиях сжатых сроков строительства и во всех случаях при повышенных требованиях к эксплуатационным показателям улиц и дорог.

 

Разработаны НИИМосстроем

Утверждены:
Первый заместитель руководителя
Комплекса перспективного развития города

Е.П. Заикин

" 2 " декабря 1998 г

Дата введения в действие

Внесены: Управлением развития Генплана

 

 

"1" января 1999 г

 

2. КОНСТРУКЦИИ УЛИЦ И ДОРОГ РАЗЛИЧНОГО
НАЗНАЧЕНИЯ С ИСПОЛЬЗОВАНИЕМ
ДИСПЕРСНО-АРМИРОВАННОГО БЕТОНА

2.1. Конструкции магистральных и местного значения улиц и дорог с использованием в покрытиях и основаниях дисперсно-армированного бетона должны устраиваться с учетом требований проектов, альбомов типовых конструкций СК 6101-97 и настоящих Технических рекомендаций.

2.2. Дисперсно-армированный бетон может использоваться также в покрытиях и основаниях тротуаров, площадок различного назначения и отмостках.

2.3. Основания из дисперсно-армированного бетона устраивают как в конструкциях с асфальтобетонным покрытием, так и в конструкциях с цементобетонным покрытием, в том числе и дисперсно-армированным.

2.4. Конструкции дорог и улиц различного назначения (приложение 1) с дисперсно-армированным бетонным покрытием включают следующие элементы:

- песчаный подстилающий слой;

- технологический слой (в случае необходимости);

- основания из жесткого малоцементного укатываемого бетона или уплотняемых щебеночных смесей;

- полиэтиленовую пленку, пергамин (в случае устройства основания из щебня, песка);

- бортовой камень;

- дисперсно-армированное цементобетонное покрытие.

2.5. Варианты конструкций дорожных одежд с покрытием из дисперсно-армированного бетона приведены на рис. 2.1.

2.6. Покрытия из дисперсно-армированных смесей устраивают на основаниях из укатываемого малоцементного бетона классов В 7,5-В 15, отвечающих требованиям ВСН 16-95, или из щебеночных уплотняемых смесей, отвечающих требованиям ТУ 400-24-150-86.

2.7. Толщины конструктивных слоев принимаются по проекту или в соответствии с рекомендациями табл. 2.1 и 2.2.

2.8. В дисперсно-армированных бетонных покрытиях и основаниях магистральных улиц и дорог швы расширения устраивают в свежеуложенном бетоне. Расстояние между швами определяется температурой воздуха во время бетонирования (табл. 2.1). Швы устраивают в соответствии с требованиями ВСН 7-94.

2.9. Швы расширения в дисперсно-армированных конструкциях, используемых при благоустройстве дворовых территорий и соцкультбыта, не устраиваются.

2.10. Швы сжатия в дисперсно-армированных бетонных покрытиях улиц и дорог различного назначения устраиваются из расчета, чтобы площадь их карты не превышала 140 м2 а в покрытиях тротуаров, отмосток через 35-40 м при их ширине до 3 м как в свежеуложенном, так и в отвердевшем фибробетоне.

В основаниях дорог и улиц из дисперсно-армированного бетона швы сжатия устраиваются через 80-100 м.

2.11. В основаниях из укатываемого малоцементного бетона швы сжатия устраивают через 40-50 м, швы расширения не устраивают.

Рис. 2.1. Конструкции дорог и улиц магистральных и местного
значения:

1 - покрытие или основание из фибробетона; 2 - основание из малоцементного укатываемого бетона или щебня; 3 - покрытие из асфальтобетона; 4 - песчаный подстилающий слой; 5 - полиэтиленовая пленка, пергамин и др.

а,б - магистральные улицы и дороги;

в - реконструируемые дорога с асфальтобетонным покрытием; г - улицы и дорога местного значения

Примечание. При укладке основания бетоноукладчиком или асфальтоукладчиком по песчаному подстилающему слою устраивается технологический слой из известнякового щебня марки не ниже 400.

Таблица 2.1

Рекомендуемые толщины конструктивных слоев магистральных улиц и дорог


№ слоя

Материалы конструктивных слоев дорожной одежды

Толщины конструктивных слоев одежды, см

магистральные дороги

магистральные улицы

скоростного и регулируемого движения с преобладанием грузового транспорта

общегородского значения

районного значения

покрытия из цементобетона класса

В 30

В 27,5

В 30

В 27,5

В 30

В 27,5

1

Покрытие из дисперсно-армированного бетона на основании:

 

 

 

 

 

 

из малоцеметного укатываемого бетона класса В 7,5

20

21

19

20

18

19

из щебеночных смесей

22

23

21

22

20

21

2

Основания из дисперсно-армированного бетона под асфальтобетонное покрытие, укладываемое по технологическому слою из:

 

 

 

 

 

 

малоцементного укатываемого бетона класса В 7,5

19

18

16

щебеночных смесей

22

21

20

2

Основания под дисперсно-армированное бетонное покрытие из малоцементного укатываемого бетона и щебеночных смесей

15

15

15

3

Песчаный постилающий слой

Толщина назначается в зависимости от вида грунтов земляного полотна, характера увлажнения, коэффициента фильтрации песков, используемых в подстилающем , слое в соответствии с требованиями альбома СК 6101-97, ч. 1.

 


Таблица 2.2

Рекомендуемые толщины конструктивных слоев магистральных улиц и дорог местного значения


 


№ слоя

Материалы конструктивных слоев дорожной одежды

Толщины конструктивных слоев одежды, см

улицы и дороги в промышленных и коммунально-складских зонах

внутриквартальные дороги, проезды

дороги, возводимые при благоустройстве территорий вокруг жилых домов, объектов соцкультбыта,

покрытия из цементобетона класса

В 30

В 27,5

В 30

В 25

В 30

В 25

1

Покрытие из дисперсно-армированного бетона на основании:

 

 

 

 

 

 

из малоцеметного укатываемого бетона класса В 7,5

18

19

17

18

15

16

из щебеночных смесей

20

21

19

20

16

17

песчаном

-

-

-

-

17

18

2

Дисперсно-армированное бетонное покрытие, уложенное по крупнозернистому асфальтобетону:

 

 

 

 

 

 

асфальтобетон

15

15

15

щебеночное основание

15

15

15

Песчаный подстилающий слой

Толщина назначается в зависимости от вида грунтов земляного полотна, характера увлажнения, коэффициента фильтрации песков, используемых в подстилающем слое в соответствии с требованиями альбома СК 6101-97, ч.II.

 

Примечание. При реконструкции улиц и дорог с асфальтобетонным покрытием с устройством покрытий из дисперсно-армированного бетона толщина конструктивных слоев в каждом конкретном случае уточняется проектом


Таблица 2.3

Расстояния между швами расширения в конструкциях
из дисперсно-армированного бетона

Наименование слоя

Толщина плиты, см

Температура воздуха во время укладки фибробетона

<5

5-15

10-25

>25

Покрытия

20-22

90

110

120

Швы расширения не устраивают 140

17-19

70

90

110

15-16

50

70

100

Основания

любая

120

Швы расширения не устраивают

 

3. ТЕХНИЧЕСКИЕ НОРМЫ И ТРЕБОВАНИЯ

3.1. Требования к материалам для приготовления дисперсно-армированных бетонных смесей

3.1.1. Для приготовления дисперсно-армированных бетонных смесей должен применяться портландцемент без минеральных добавок марки не ниже 400, отвечающий требованиям ГОСТ 10178-85*. Для бетонных смесей, предназначенных для устройства покрытий и оснований, содержание в клинкере цемента трехкальциевого алюмината не должно быть более 7 и 10 % соответственно.

3.1.2. Пески для приготовления дисперсно-армированного бетона применяются природные, кварцевые или полевошпатовые в чистом виде или с добавками. В качестве добавки могут применяться искусственные пески, полученные дроблением прочных, морозостойких пород. Допускается использование одних искусственных песков. Пески должны удовлетворять требованиям ГОСТ 8736-95. Модуль крупности песков должен быть более 1,8. Содержание глинистых, илистых или пылеватых частиц в песке не должно быть более 3 % по массе для оснований и не более 1 % для покрытий.

3.1.3. Щебень для приготовления дисперсно-армированных бетонных смесей должен отвечать требованиям ГОСТ 8267-93*, щебень из гравия с размером фракций: для покрытий - не более 20 мм, для оснований - не более 40 мм - ГОСТ 10260-82*.

3.1.4. Щебень и щебень из гравия должны разделяться на фракции 5-10, 10-20, 20-40 мм.

3.1.5. Зерновой состав щебня и щебня из гравия должен удовлетворять следующим требованиям: полный остаток на ситах по массе должен составлять для Днаим - 95-100 %; 1/2 (Днаимнаиб) - 40-70 %; Днаиб - 0-5 %.

3.1.6. Щебень и щебень из гравия применяются только после промывки или сухой очистки. Содержание глинистых, илистых и пылевидных частиц из горных пород должно быть не более 1 % по массе. Допускается применение щебня и щебня из гравия с содержанием загрязнения не более 3 % по массе.

3.1.7. Марка щебня по прочности в зависимости от дробимости при сжатии в цилиндре исходной породы в водонасыщенном состоянии должна быть не выше ДР-16 (120 МПа) для изверженных пород и не выше ДР-15 (80 МПа) для осадочных пород.

В основаниях дорог может применяться дисперсно-армированный бетон с заполнителем из осадочных пород ДР-19 (60 МПа).

3.1.8. Для повышения физико-механических показателей бетона используются различные виды стальных фибр, выпускаемых отечественными и зарубежными фирмами.

Стальные фибры, используемые для устройства монолитных бетонных дорожных конструкций, должны удовлетворять требованиям ТУ 1276-001-40610949-95, ТУ 5263-001-04697311-96, разработанным соответственно ЗАО "НИСАН ЛТД" и ДАОЗТ "Курганстальмост" и приведенным в табл. 3.1.

Таблица 3.1

Характеристики рекомендуемых стальных фибр для дисперсно-
армированных монолитных бетонов дорожных конструкций

Характеристики фибр

Ед. изм.

Значения

Длина (L)

мм

35-40

Диаметр приведенный (d)

мм

0,4-0,7

 

-

80-100

Временное сопротивление разрыву

МПа

400-1100

Относительное удлинение

%

14-8

 

3.1.9. Фибра ЗАО "НИСАН ЛТД", полученная резкой стального листа толщиной 0,4-0,8 мм и длиной 20-80 мм, выпускается промышленностью следующих видов: с прямолинейной продольной геометрической осью в виде призматического бруска или скрученного вокруг продольной оси, гнутой по винтовой линии с загибами или смятинами на концах и др.

3.1.10. Стальная фибра ДЗАО "Курганстальмост" изготовлена из слябов методом фрезерования и имеет треугольное сечение, две поверхности которого шероховаты. Фибра имеет закручивание вдоль продольной оси и деформации концов длиной до 2 мм. Окисный слой на фибре, полученный при ее изготовлении, препятствует образованию коррозии в процессе длительного хранения.

3.1.11. Фибра для упрощения дозировки ее при приготовлении дисперсно-армированной смеси поставляется в коробках массой 20, 40 и 50 кг.

3.1.12. Для получения литых бетонных смесей, армированных фибрами, следует применять добавки-суперпластификаторы типа С-3.

Физические свойства суперпластификатора С-3 приведены в приложении 2.

3.1.13. Вода для приготовления бетонной смеси должна удовлетворять требованиям СНиП III-В.1-70.

3.2. Требования к дисперсно-армированному бетону и смеси

3.2.1. Дисперсно-армированный бетон, применяемый в различных дорожных конструкциях, должен отвечать требованиям соответствующих нормативных документов и иметь значения не ниже представленных в табл. 3.2.

Таблица 3.2

Нормативные характеристики фибробетонов для различных
конструкций улиц и дорог

Назначение

Проектная марка (класс бетона) по прочности на сжатие

Прочность на растяжение при изгибе, Рр.и. , МПа

Покрытия магистральных улиц и дорог

400 (В 30)

6,1

350 (В 27,5)

5,0

Покрытия улиц и дорог местного значения

350 (В 27,5)

5,5

350 (В 25)

5,0

Покрытия тротуаров и площадок

300 (В 25)

5,0

Покрытия отмосток

300 (В 22,5)

5,0

Основания

200 (В 15)

4,0

 

3.2.2. Для устройства дорожных конструкций из монолитного фибробетона применяются бетонные смеси литой консистенции с осадком конуса 16-18 см.

3.2.3. Состав дисперсно-армированного бетона следует подбирать в лаборатории дорожного строительства НИИМосстроя или в другой специализированной лаборатории опытно-расчетным путем с обязательным контролем и соответствующей корректировкой его на строительных объектах.

3.2.4. При подборе состава дисперсно-армированного бетона следует исходить из условия получения материала наибольшей плотности, при котором все пустоты между заполнителем и фиброй заполнены цементным камнем и все они покрыты пленкой вяжущего.

3.2.5. Для повышения эффективности работы фибр в бетоне и улучшения свойств смеси содержание щебня должно быть снижено по сравнению с неармированным бетоном и не превышать 100 кг/м3. При этом наибольшая крупность щебня не должна превышать 1/2 длины фибр.

3.2.6. Длина фибр для литых бетонных смесей не должна превышать 40 мм, а L/d -не более 80-100.

3.2.7. Оптимальное содержание фибр для бетона, используемого в покрытиях, составляет 2,5-3 %, в основаниях дорог - 2,0-2,5 %.

3.2.8. Рекомендуемые составы фибробетонных смесей для различных дорожных конструкций представлены в приложении 3.

3.2.9. Контроль прочности фибробетона осуществляется следующими методами:

контрольные образцы фибробетона испытывают в те же сроки, что и неармированного бетона, разрушением их в соответствии с требованиями ГОСТ 10180-90;

неразрушающим методом испытания контрольных образцов или непосредственно в конструкциях.

3.2.10. В каждом конкретном случае после подбора состава сталефибробетона следует визуально оценить физические и технологические свойства смеси: она должна быть однородной, исключать образование "ежей" из волокон, фибра равномерно распределена по всему объему, смесь свободно растекается, вода и цементное молоко не сегрегируют от заполнителей и фибр.

3.3. Приготовление дисперсно-армированных смесей

3.3.1. Для приготовления дисперсно-армированных смесей может быть использовано как специальное отечественное или импортное оборудование, так и серийно выпускаемое отечественное, гарантирующее получение фибробетонных смесей с требуемыми свойствами и фибробетона с заданными проектными характеристиками.

3.3.2. Приготовление сталефибробетонных смесей предпочтительнее осуществлять в бентономешалках с принудительным, турбулентным, вихревым, спирально-вихревым перемешиванием или др. современными методами.

Для дисперсно-армированных смесей литой консистенции, доставляемых на объект в автобетоносмесителях, могут использоваться смесители со свободным падением.

3.3.3. Загрузка материалов в бетоносмеситель осуществляется в следующей последовательности: исходные компоненты (цемент, песок, щебень, вода) перемешиваются в зависимости от вида смесителя в течение 30-60 с, затем вводят фибру различными способами и производят дополнительное перемешивание.

3.3.4. Введение фибр в смеситель может осуществляться:

вручную при помощи мерных емкостей или из упакованных коробок с фиксированным весом фибр. При этом фибры могут быть склеены в пакеты водорастворимым клеем, который в процессе перемешивания способствует более равномерному распределению их в смеси;

полумеханическим способом, используя вращающиеся грохоты, стенки которых имеют отверстие размером не менее длины фибр или щели длиной не менее 10 длин фибр и шириной 0,2-0,8 длины.

3.3.5. Оптимальное время перемешивания дисперсно-армированной бетонной смеси, исключающей образование "ежей", в зависимости от вида бетоносмесителя составляет 1,5-3 мин.

4. СТРОИТЕЛЬСТВО ДОРОГ И УЛИЦ РАЗЛИЧНОГО
НАЗНАЧЕНИЯ С КОНСТРУКЦИЯМИ ИЗ МОНОЛИТНОГО
ДИСПЕРСНО-АРМИРОВАННОГО БЕТОНА

Строительство дорожных конструкций с дисперсно-армированным бетоном включает следующие этапы:

подготовительные работы;

возведение земляного полотна;

устройство дренажа мелкого заложения;

устройство песчаного подстилающего слоя;

установка бортовых камней;

устройство технологического слоя;

устройство оснований;

устройство покрытия.

4.1. Подготовительные работы

4.1.1. Основные виды подготовительных работ и рекомендуемые машины представлены в табл. 4.1.

Таблица 4.1

Рекомендуемые машины для производства подготовительных работ

Вид работ

Дальность транспортировки

Рекомендуемые машины и транспортные средства

1. Расчистка площадки строительства перед возведением земляного полотна:

 

 

а) от кустарника и мелколесья

до 50 м

Кусторезы, бульдозеры на гусеничных тракторах

б) от пней и камней

 

Корчеватели-собиратели на гусеничных тракторах.

 

 

Автокран.

 

 

Особо крупные камни дробят взрывом.

2. Перенос линий связи, электропередач и трубопроводов

согласно проекту

Спецсредства субподрядчика

3. Снос зданий и сооружений в зоне работ и перенос их

то же

Бульдозеры на гусеничных тракторах; экскаваторы, самосвалы, автокраны

4. Снятие растительного слоя в зоне работ, перемещение и складирование его

до 50 м

Бульдозеры на гусеничных тракторах, погрузчики, автосамосвалы

5. То же

до 1000 м

Самоходные скреперы

 

4.1.2. Все подземные сооружения и кабели должны быть проложены вне строящихся дорог и улиц как по ширине, так и по ее длине. В зоне проезжей части дороги по возможности размещаются дождеприемные колодцы с решетками.

4.2. Возведение земляного полотна

4.2.1. Сооружение земляного полотна должно производиться согласно требованиям СНнП III-40-90 "Автомобительные дороги". ВСН 52-96 и в соответствии с техническим проектом производства работ.

4.2.2. Уплотнение грунтов земляного полотна необходимо производить при оптимальной их влажности до требуемой платности (табл. 4.2.).

Таблица 4.2.

Рекомендуемые коэффициенты уплотнения земляного полотна

Вид земляного полотна

Часть земляного полотна

Глубина расположения слоя от поверхности покрытий, м

Коэффициент уплотнения грунта, не менее

Насыпи

Верхняя

до 1,5

1,00-0,98

Нижняя

1,5-6,0

0,95

неподтапливаемая

более 6,0

0,98

Нижняя

1,5-6,0

0,95-0,98

подтапливаемая

более 6,0

0,98

Выемка и в местах с нулевыми отметками

В слое сезонного промерзания

до 1,2

1,00-0,98

Ниже слоя сезонного промерзания

до 1,2

0,95

 

4.2.3. Уплотнение грунтов производят катками на пневматических шинах, кулачковыми и с гладкими вальцами. Катки выбирают в зависимости от вида грунта и толщины слоя отсыпки в соответствии с табл. 4.3.

Таблица 4.3

Рекомендуемые катки для уплотнения грунтов

Модель, тип, марка

Основные конструктивные особенности

Масса, т

Глубина уплотнения (в плотном теле), м

 

связный грунт

несвязный грунт

1

2

3

4

5

ДУ-65

Самоходный пневмоколесный на спецшасси

10-12

0,20

0,25

ДУ-71

Самоходные вибрационные комбинированного действия

17-25

0,50

0,60

ДУ-58А

 

16

0,40

0,60

ДУ-64

 

8,5-9,5

0,30

0,50

ДУ-70

(ДУ-70-1-кулачковый)

Вибрационные прицепные (агрегатируемые) с тракторами Т-150К и К-701М, К-702М

6,5-7

0,25

0,40

ДУ-74

(ДУ-74-1- кулачковый)

 

8-9

0,30

0,50

К-701М-ВК (в т.ч. кулачковый)

 

24,9

0,40

0,60

КО-2

 

12

0,30

0,50

У 6710-01

 

13

0,40

0,60

ДУ-62А

 

13

0,40

0,60

Примечание. Связный грунт - грунт, содержащий глинистых частиц более 12 %. Несвязный грунт-грунт, содержащий глинистых частиц менее 3 %.

4.3. Устройство дренажа мелкого заложения

4.3.1. Дренаж мелкого заложения предназначен для осушения дорожной одежды и верхней части земляного полотна и состоит из дрен и дренирующего слоя (рис. 4.1)

4.3.2. В качестве дрены могут быть использованы керамизобетонные трубофильтры, перфорированные асбестоцементные, керамические и полимерные дренажные трубы. Стыки и водоприемные отверстия дрен защищают от заиливания муфтами и фильтрами, в качестве которых могут быть использованы каменные материалы, нетканые синтетические материалы, а также стеклохолсты.

4.3.3. Технологический процесс устройства дренажей мелкого заложения в предварительно подготовленной для этих целей траншее включает следующие этапы: рытье ровика, устройство в нем подушки под трубы, укладку трубофильтров, сопряжение их с водоприемниками, заполнение ровика песком и его уплотнение.

Трубы с раструбами и трубофильтры обращают против уклона соответственно раструбами и пазами.

4.3.4. Выпуск воды из дрены осуществляют в водоприемные колодцы, причем конец трубы должен выступать на 5 см относительно стенки колодца.

4.3.5. Зазоры между трубчатыми дренами и стенками колодцев должны быть тщательно заделаны цементно-песчаным раствором состава 1:3 или герметиком.

4.4. Устройство песчаного подстилающего слоя.

4.4.1. Песок доставляется к месту строительства автомобилями-самосвалами и выгружается непосредственно в корыто дороги.

Допускается складирование песка на специально отведенном месте с последующей подвозкой его к месту укладки автопогрузчиками. Разравнивание песка производится бульдозерами или автогрейдерами по способу "от себя" с соблюдением проектных уклонов;

Рис. 4.1. Общий вид дорожной конструкции с дренажем мелкого заложения:

1 - конструкция дорожной одежды; 2 - нетканный синтетический материал; 3 - трубчатая дрена

 

4.4.2. Катки для уплотнения песка применяют те же, что и для уплотнения земляного полотна. Особо тщательно следует уплотнять песок около дождеприемных колодцев и в местах примыкания к инженерным сооружениям, где уплотнение производится с помощью ручных электрических трамбовок ИЭ-4505 (ИЭ-4504).

4.4.3. Уплотненный подстилающий слой из песка должен иметь проектную толщину, отклонение от проекта не должно превышать ± 1 см, а коэффициент уплотнения должен быть не менее 0,98. Наибольший просвет под трехметровой рейкой не должен превышать 1 см. Продольные и поперечные уклоны должны соответствовать проекту.

4.5. Установка бортовых камней.

4.5.1. Бортовые камни, ограничивающие проезжую часть, на магистральных улицах следует устраивать из гранита, а на внутриквартальных дорогах, дворовых территориях и объектах соцкультбыта - из бетона и железобетона или дисперсно-армированного бетона, которые должны отвечать требованиям соответственно ГОСТ 6666-91 и ГОСТ 6665-91. Бетонные бортовые камни длиной 1 м могут изготавливаться без армирования, при большей длине - армированными, в том числе металлическими фибрами.

4.5.2. Бортовые камни устанавливаются автокраном КС-2561К-1 и погрузчиком ТО-ЗО или, чаще всего, вручную с применением приспособлений, представленных на рис. 4.2.

4.5.3. Перед установкой бортовых камней длиной 1 м по тщательно выровненному и уплотненному земляному полотну распределяют песчаный подстилающий слой толщиной 10 см, по которому устраивают бетонное основание толщиной 10 см (подушку). Установку бортовых камней производят по шнуру, натянутому между специальными металлическими штырями на высоте, соответствующей отметке верхней кромки камней.

4.5.4. С двух сторон бортового камня устраивают бетонную обойму высотой 10 см в деревянной или металлической опалубке (рис. 4.3).

4.6. Устройство технологического слоя и основания

4.6.1. Технологический слой в случае, предусмотренном проектом, устраивается из песчано-гравийной смеси, известнякового щебня, малоцеметного укатываемого бетона марки М-1 в соответствии с требованиями ГОСТ 25607-94, ВСН 16-95, ТУ 400-24-150-86.

4.6.2. Основания устраивают из малоцементного укатываемого бетона, уплотняемых щебеночных смесей в соответствии с требованиями ВСН 16-95, ТУ 400-24-150-86, ТР 72-98 и дисперсно-армированного бетона в соответствии с требованиями раздела 4.7 настоящих Технических рекомендаций.

4.7. Устройство конструкций из дисперсно-армированного бетона

4.7.1. Устройство покрытий и оснований из дисперсно-армированных бетонных смесей литой консистенции не отличается от строительства из традиционного бетона.

4.7.2. Дисперсно-армированная бетонная смесь доставляется на объект в автобетоносмесителях, во время движения которых происходит непрерывное ее перемешивание.

Доставку смеси целесообразно осуществлять по часовому графику.

4.7.3. Техническая характеристика автобетоносмесителей представлена в табл. 4.4.

Таблица 4.4

Техническая характеристика автобетоносмесителей

Техническая характеристика

Модель

СБ-92В-2

СБ-159Б-2

СБ-172

СБ-211

СБ-234

Объем перевозимой смеси, м3

5

5

6

8

8

Время перемешивания, мин

15-20

15-20

15-20

15-20

15-20

Высота загрузки, м

3,62

3,6

3,6

3,6

3,6

Вместимость бака для воды, л

400

400

450

450

450

Максимальная скорость, км/ч

90

80

80

60

60

Габаритные размеры, м

7,5´2,5´
3,62

9,0´2,5´
2,6

9,87´2,5´3,64

8,0´2,5´
3,6

9,5´2,5´
3,6

 

Рис. 4.2. Схемы приспособлений для установки бортовых камней

 

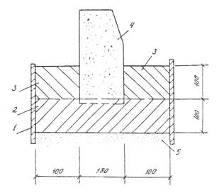
Рис. 4.3. Схема установки бортового камня:

1 - опалубка; 2 - бетонное основание под бортовой камень; 3 - участок добетонирования; 4 - бортовой камень; 5 - песчаный подстилающий слой

 

4.7.4. На объекте следует визуально или при помощи стандартного конуса оценить подвижность дисперсно-армированной смеси, величина которой определяется значениями продольного уклона дорог и улиц и может составлять 12-18 см.

В случае недостаточной подвижности смеси на объекте дополнительно вводится добавка-суперпластификатор и производится дополнительное перемешивание в течение 5-7 мин.

4.7.5. Готовая дисперсно-армированная бетонная смесь выливается из автобетоносмесителя на ранее подготовленный технологический слой или основание в специальную металлическую опалубку, роль которой могут выполнять и бортовые камни.

4.7.6. Для облегчения подачи дисперсно-армированной смеси на расстояние 3-4 м следует применять удлиненные лотки или инвентарные приставные лотки к автобетоносмесителю. Для исключения расслаиваемости смеси угол наклона лотка должен быть в пределах 45-60°.

При выгрузке смеси бетономешалку автобетоносмесителя следует установить вниз по естественному уклону дороги.

В труднодоступную конструкцию дороги укладка бетонной смеси может производиться автобетоносмесителем совместно с бетононасосами типа "Штетгер", "Вибау" и др.

4.7.7. Дисперсно-армированная смесь литой консистенции после ее укладки требует лишь незначительного распределения и профилирования, что осуществляется специальным оборудованием фирмы "Голдблат" (ВСН 7-94).

В случае необходимости, особенно на участках с продольным уклоном более 40 °/°°, следует использовать для дополнительного уплотнения двухвальцевый ручной каток, выпускаемый фирмой "Голдблат".

Смесь должна распределяться и профилироваться против продольного уклона строящейся дороги.

4.7.8. В конце рабочей смены устраивают поперечный температурный шов. Шов устраивают в виде упорного бруса или металлического шаблона, обернутых пергамином, на полную ширину и высоту укладываемой полосы дороги. Брус (шаблон) закрепляется к грунту и бетону с помощью металлических штырей. После возобновления работ установленный брус (шаблон) снимается.

4.7.9. Уход за бетоном нужно осуществлять сразу после его укладки при помощи полиэтиленовой пленки, водонепроницаемой бумаги, пергамина, толя, дорнита и др. пленкообразующих материалов.

В приложении 3 представлены основные машины, механизмы и инструменты для строительства дорог различного назначения из дисперсно-армированного бетона.

5. КОНТРОЛЬ КАЧЕСТВА СТРОИТЕЛЬСТВА

5.1. Контроль за строительством улиц и дорог с конструкциями из дисперсно-армированных бетонных смесей подразделяется на следующие этапы:

-производственный контроль, осуществляемый непосредственно в процессе строительства (главными инженерами строительных организаций, производителями работ, дорожными мастерами);

- инспекторский контроль качества, осуществляемый представителем заказчика при повседневном техническом надзоре в процессе строительства, промежуточные приемки скрытых работ и законченных конструктивных элементов сооружений;

- авторский надзор за строительством, осуществляемый сотрудниками проектной организации.

5.2. Контроль в процессе производства работ заключается в проверке соответствия выполняемых работ проекту, техническим условиям и правилам производства работ, а также соответствия качества применяемых материалов, установленных стандартами.

5.3. Все сооружения, предъявляемые к сдаче в эксплуатацию, должны быть выполнены в соответствии с проектом, СНиПом и другими действующими нормативно-техническими документами.

5.4. При приемке водостоков и дренажа в эксплуатацию должны проверять качество уложенных труб на основании, плотность стыковых соединений и сопряжений труб с колодцами; прямолинейность линии заложения трассы водостока и дренажа между двумя колодцами.

5.5. При приемке земляного полотна и песчаного подстилающего слоя поперечные и продольные профили проверяют нивелировкой, размеры элементов в плане - стальной лентой, а ровность поверхности - рейкой. Требуемая плотность грунтов земляного полотна и песчаного подстилающего слоя должна быть не менее 0,98 от оптимальной. Отклонение толщины песчаного слоя от проектной допускается в пределах ± 1 см. Коэффициент фильтрации песка должен быть не менее 3 м/сутки.

5.6. При приемке качества установки бортовых камней проверяют их устойчивость, продольный уклон, ровность кромки по горизонтали и вертикали, а также качество камней, их размеры; возвышение бортов над лотком проезжей части, характер заделки швов.

5.7. При приемке работ по устройству технологического слоя проверяют: толщину слоя, допуск отклонения которого составляет ± 1 см; коэффициент уплотнения - 0,98; ровность - разность отметок при прикладывании трехметровой рейки не должна превышать 1 см.

5.8. Уменьшение толщины основания не должно превышать 10 % от проектной. Уплотнение основания из песчаных и гравийных смесей считается достаточным, когда брошенная под каток щебенка раздавливается.

5.9. При приемке основания из фибробетона и укатываемого малоцементного бетона проверяют отсутствие трещин, прочность бетона лабораторными испытаниями вырубок, правильность установки люков колодцев и водоприемных решеток. Допускаемые отклонения от проекта не должны превышать по толщине плиты ± 10 мм, по ровности- 5 мм при проверке 3-метровой рейкой, по прочности при испытании на изгиб - 5 %, на сжатие - 10 %.

5.10. Цементобетонные покрытия принимаются к сдаче в 28-суточном возрасте и при наличии результатов испытаний. При приемке проверяют:

- соответствие утвержденному проекту конструкций основания, подстилающего слоя, дренажных устройств и водостока - по актам на "скрытые" работы, журналам производства работ и лабораторным данным;

- соответствие уложенной смеси требованиям ГОСТа или требованиям настоящих Технических рекомендаций;

- качество ухода за бетоном - по данным журналов;

- состояние поверхности (отсутствие раковин, неровностей, наплывов, трещин);

- правильность устройства швов;

- правильность установки люков, колодцев, решеток. Допускаемые отклонения от проекта не должны превышать: по ширине покрытия - 5 см; толщине плиты - 10 %; по поперечному уклону - 5 %; по ровности при проверке 3-метровой рейкой -5 мм; по прочности при испытании на изгиб - 5 % и на сжатие - 10 %.

6. ТРЕБОВАНИЯ БЕЗОПАСНОСТИ

6.1. При строительстве дорог с покрытием из дисперсно-армированных бетонных смесей допускаются люди не моложе 18 лет, прошедшие медицинский осмотр, обученные по утвержденной программе безопасным методам работы, получившие удостоверение о сдаче экзаменов и проинструктированные непосредственно на рабочем месте. Проверка знаний рабочих производится ежегодно специальной комиссией.

6.2. Все подготовительные и механизированные работы должны производиться под непосредственным руководством инженерно-технических работников, назначенных приказом.

6.3. При эксплуатации и обслуживании оборудования по производству фибробетонных смесей необходимо помнить, что сама фибра является источником опасности, приводящим к травматизму.

При резке стальной фибры на специальном оборудовании и введении ее в смесь необходимо пользоваться очками и рукавицами с кожаными нашивками со стороны ладоней. Работы должны производиться с соблюдением "Правил безопасности и промышленной санитарии в проволочном и гвоздильном производстве", "Металлургия", 1960 г., а также "Правил технической эксплуатации проволочно-волочильного и канатного оборудования метизных заводов", "Металлургия", 1974 г.

6.4. На строительных объектах должны быть оборудованы санитарно-бытовые помещения, обеспеченные аптечками с медикаментами и средствами для оказания первой помощи, питьевой кипяченой водой.

6.5. За соблюдение техники безопасности при строительстве дорог несут ответственность главный инженер строительного управления и производитель работ.

6.6. При доставке бетонной смеси автобетоносмесителями необходимо соблюдать следующие правила:

- при их движении по обочине все рабочие должны находиться на противоположной обочине;

- не разрешается подходить к ним до полной их остановки;

- при движении автобетоносмесителей (особенно задним ходом) рабочий, находящийся в безопасной зоне, должен подавать шоферу сигналы.

6.7. Лица, занятые приготовлением и нанесением на бетонное покрытие пленкообразующих материалов, должны работать в комбинезонах, брезентовых рукавицах и защитных очках.

6.8. Категорически запрещается лицам, не имеющим специального удостоверения, управлять механизмами или ремонтировать их.

7. ОХРАНА ОКРУЖАЮЩЕЙ СРЕДЫ

7.1. При строительстве дорог с покрытием из дисперсно-армированных бетонных смесей следует руководствоваться "Правилами организации подготовки и производства земляных и строительных работ в г. Москве" (постановление правительства Москвы № 207 от 17 марта 1998 г.).

7.2. В подготовительный период строительства необходимо:

-оградить участок производства работ;

-расчистить площадку от кустарника и мелколесья, от пней и камней;

- перенести линии связи, электропередачи и трубопроводы;

- снести здания и сооружения;

- снять растительный слой грунта, переместить его на площадки, указанные в проекте, и в дальнейшем использовать его при устройстве газонов;

- произвести пересадку деревьев с трассы дороги;

- оставшиеся деревья рядом с трассой дороги должны быть ограждены с целью недопущения их повреждения при движении построечного транспорта.

7.3. На строительной площадке должны быть определены и оборудованы специальные места для заправки горючим и водой дорожностроительных машин.

7.4. Вдоль построенной проезжей части дороги на тротуарах через 5-6 метров друг от друга следует высаживать деревья с густой кроной.

7.5. Газоны, предусмотренные проектом озеленения дороги, должны быть засеяны многолетними травами.

7.6. При высадке кустарника следует отдавать предпочтение акации, жасмину, сирени.

7.7. Все ИГР и рабочие должны пройти инструктаж по охране окружающей среды в пределах строящейся дороги.

 

Приложение 1

Типы и назначения магистральных
и местного значения улиц и дорог

Типы улиц и дорог

Основное назначение

Магистральные дороги

Скоростная транспортная связь удаленных населенных пунктов между собой, с крупными промышленными районами и автомобильными дорогами общей сети. Движение автотранспорта с преобладанием грузового. Обеспечение скоростного и регулируемого движения

Магистральные улицы общегородского значения

Транспортная связь между жилыми, промышленными, складскими районами, а также с центром города, объектами общегородского значения (вокзал, парк, стадион и т.п.), скоростными магистралями и автомобильными дорогами общей сети.

Магистральные улицы районного значения

Местная транспортная связь в пределах жилых и промышленных районов, транспортная связь жилых и промышленных районов с магистральными улицами общегородского значения и скоростными дорогами

Улицы и дороги местного значения:

 

в промышленных и коммунально-складских зонах

Транспортная и пешеходная связь отдельных промышленных предприятий и складов с магистральными улицами.

внутриквартальные дороги, проезды

Транспортная и пешеходная связь отдельных групп зданий и микрорайонов с магистральными улицами.

Транспортная и пешеходная связь внутри микрорайонов с улицами местного движения; подъезды к отдельным объектам промышленных районов.

Дороги, тротуары, площадки, отмостки, устраиваемые при благоустроительных работах дворовых территорий и соцкультбыта

 

Приложение 2

Свойства водных растворов суперпластификатора С-3 при 20 °С

Концентрация раствора, %

Плотность раствора, г/см3

Содержание сухого вещества, г/л

Теплоемкость,
Дж/
°С

0

0,998

0

4,2

2

1,008

20,2

4,150

5

1,023

51,2

4,074

7

1,033

72,3

4,024

10

1,049

104,9

3,948

12

1,059

127,0

3,898

15

1,074

161,1

3,822

20

1,099

219,8

3,696

25

1,125

281,1

3,570

30

1,150

344,9

3,444

33

1,165

384,4

3,368

35

1,175

411,3

3,318

37

1,185

438,5

3,268

40

1,200

480,2

3,192

 

Приложение 3

Рекомендуемые составы фибробетонных смесей


п/п

Вид материала

Составы

Марка бетона (класс бетона)

400

350

300

300

200

(В 30)

(В 27,5)

(В25)

(В 22,5)

(В 15)

Расход материалов, кг/м3

1.

Вода

175

177

174

160

155

2.

Цемент марки 400

430

380

370

350

275

3.

Песок

710

790

785

860

900

4.

Щебень

1000

970

975

950

810

5.

С-3 (% от массы цемента)

0,7

0,7

0,7

0,7

0,7

6.

Металлическая фибра

75

70

67

65

50

 

Приложение 4

Машины, механизмы, инструмент для строительства улиц и дорог
с конструкциями из дисперсно-армированных бетонных смесей

Этапы работ

Машины и механизмы

Инструмент

Подготовительные работы

Автомашины, экскаватор, бульдозер, кусторез, компрессор, автокран, скрепер

Теодолит, нивелир, мерная лента, лопаты, ломы, грабли

Устройство земляного полотна

Автомашины, экскаватор, бульдозер, автогрейдер, катки, поливомоечная машина, скрепер

Теодолит, нивелир, мерная лента, шаблоны, лопаты, ломы, приборы для определения "К" уплотнения грунта

Устройство дренажа мелкого заложения

Автомашины, автогрейдер, автокран

Нивелир, уровень, шнур, лопаты, ломы

Устройство песчаного подстилающего слоя

Автомашины, бульдозер, катки, поливомоечная машина

3-метровая рейка, нивелир, шаблоны, лопаты, приборы для определения "К" уплотнения песка

Установка бортовых камней

Автомашины, бортоукладчик, автокран

Металлические штыри, шнур, ломы, лопаты, трамбовки, уровень, приспособления для переноса камней

Устройство технологического слоя и основания

Для щебеночных смесей - автомашины, щебнеукладчик или бульдозер, катки. Для укатываемого бетона - бетоноукладчик, катки

Шаблоны, нивелир, лопаты, уровни, 3-метровая рейка, оборудование для распределения смеси, выравнивания поверхности и уплотнения фирмы "Голдблат"

Устройство покрытий

Автобетоносмесители, нарезчик швов, автомашины для доставки укрывочного материала

То же

Устройство тротуаров

Автомашины, плитоукладчик - для сборных покрытий, автобетоносмеситель - для монолитных покрытий

Шаблон для швов, шнур, уровень, нивелир, ручной каток

 

 


Яндекс цитирования


  _________________________________________________________
  Copyright © DocNorma.Ru, 2009 - 2026
  (при копировании материалов библиотеки - ссылка обязательна)