МИНИСТЕРСТВО СВЯЗИ РОССИЙСКОЙ ФЕДЕРАЦИИ
Государственный институт по изысканиям и проектированию сооружений связи
ГИПРОСВЯЗЬ-2
ВЕДОМСТВЕННЫЕ
НОРМЫ
ТЕХНОЛОГИЧЕСКОГО ПРОЕКТИРОВАНИЯ
ГОРОДСКИЕ И СЕЛЬСКИЕ ТЕЛЕФОННЫЕ СЕТИ
Том 1
ВНТП 112-92
Минсвязи РФ
Санкт-Петербург
1992
1.1. ВНТП по проектированию городских и сельских телефонных сетей обязательны для проектирования новых, расширения и реконструкции действующих городских и сельских телефонных сетей на территории РФ.
Для телефонных сетей других ведомств ВНТП определяет лишь требования в части взаимодействия их с общегосударственной сетью связи. Настоящие ВНТП не распространяются на проектирование временных, уникальных и специальных сооружений связи.
1.2. В проектах должно применяться оборудование и кабели, отвечающие новейшим достижениям науки и техники.
1.3. ВНТП состоят из двух томов - Том I, Том II. Том I включает в себя нормативы, требования, указания по проектированию сооружений связи ГТС, СТС, разработанные на основании существующих документов, в т. ч. ВНТП 112-86, ВСН 116-87, с приведением их в соответствие с действующими СНиП и другими нормативными документами, а также опыта проектирования и появления новой техники.
Том II включает в себя расчетные значения нормативов материалоемкости, численности обслуживающего персонала, удельных эксплуатационных расходов по технологическим сооружениям ГТС. Нормативы по СТС могут быть представлены по отдельным запросам.
Данные ВНТП разработаны взамен действующих ВНТП 112-86 и разделов ВСН 116-87, относящихся к линейно-кабельным сооружениям ГТС и СТС.
2.1. Городская и сельская телефонные сети (ГТС и СТС) представляют совокупность коммутационных сооружений (телефонных станций), каналов, линий, оконечных абонентских устройств и электропитающих установок.
ГТС предназначается для обеспечения телефонной связью абонентов города, а СТС - абонентов сельского района.
Совокупность средств связи ГТС и СТС для обеспечения телефонной связью одновременно абонентов административного центра и сельского районов представляет собой комбинированную телефонную сеть (КТС).
ГТС, СТС и КТС предназначены также для передачи данных, факсимильных сообщений, сообщений электронной почты и других видов сообщений в режиме коммутации каналов и по нормам, предъявляемым к телефонным сетям.
2.2. Станции городских телефонных сетей (ГТС) и сельских телефонных сетей (СТС) в зависимости от выполняемых функций классифицируются по типам.
2.2.1. Типы станций ГТС: опорные станции (ОПС), транзитные станции (ТС), опорно-транзитные станции (ОПТС), комбинированные станции (КАТС). ОПС обеспечивает исходящую, входящую местную и междугородную связь к абонентам ОПС и подстанций.
В ОПС включаются:
- абонентские линии (АЛ) и линии таксофонов местной связи (ТсфАТС);
- соединительные линии (СЛ) с другими ОПС;
- соединительные линии с узлами входящего и исходящего сообщения (УВС, УИС);
- соединительные линии с узлом сельско-пригородного сообщения (УСП);
- соединительные линии с узлом ведомственных телефонных станций (УВТС);
- соединительные линии с узлом спецслужб (УСС);
- соединительные линии междугородней связи (СЛМ) от междугородной телефонной станции (МТС) или от узла входящего междугородного сообщения (УВСМ);
- заказно-соединительные линии (ЗСЛ) к междугородной телефонной станции или к узлу заказно-соединительных линий (УЗСЛ);
- линии от оконечных устройств передачи данных (ОУ-ПД);
- линии от кабинных коммутаторов междугородных переговорных пунктов (КПП);
- линии таксофонов междугородной связи;
- соединительные линии с подстанциями (ПС).
ПС - часть оборудования ОПС (концентраторы или мультиплексоры), размещаемая в месте концентрации группы абонентов.
Концентратор - абонентское устройство, объединяющее нагрузку абонентских линий для передачи по общему меньшему пучку соединительных линий.
Мультиплексор - абонентское устройство, содержащее аналого-цифровое преобразование, но без концентрации нагрузки.
ТС - обеспечивает коммутацию транзитной нагрузки.
В ТС включаются соединительные линии встречных ОПС, ОПТС, УПАТС, ТС, АМТС.
ТС выполняет при этом как отдельные, так и совмещенные функции узлов:
- УВС, УИС, предназначенных для включения и коммутации СЛ между ОПС разных узловых районов, между ОПС одного узлового района при радиальном построении внутриузловой связи;
- УИСМ, предназначенного для включения СЛМ от коммутаторов и оборудования полуавтоматики МТС;
- УВСМ, предназначенного для включения и коммутации СЛМ от УИСМ и АМТС к ОПС;
- УСС, обеспечивающего связь абонентов с экстренными, справочно-информационными и заказными службами города;
- УИС «0», коммутирующего СЛ к узлу спецслужб и подключающего децентрализованные спецслужбы;
- УЗСЛ, предназначенного для концентрации в одном пункте ЗСЛ от ряда ОПС и промоборудования для связи с АМТС;
- УОС - предназначенного для организации обходных путей;
- УВТС - предназначенного для включения соединительных линий, по которым осуществляются входящие и исходящие от абонентов УПАТС соединения;
- УСП, предназначенного для организации транзитных соединений между станциями СТС и ГТС, а также между станциями СТС, между станциями СТС и УСС, а также между станциями СТС и АМТС.
УСП организуется на ГТС областного, краевого, республиканского центров или выделенного города при размещении на их территории Советов народных депутатов и хозяйственных организаций сельского района.
В УСП должны включаться:
- СЛ с оконечными и узловыми станциями СТС (ОС, УС), с пригородными станциями, не входящими в СТС, и с удаленными УПАТС;
- СЛ с ОПС, ТС, ОПТС ГТС, на территории которого организован УСП;
- СЛ с УСС;
- СЛМ и ЗСЛ.
Кроме того, на ГТС могут быть организованы некоммутирующие сетевые узлы - СУ.
Опорно-транзитные станции (ОПТС) выполняют функции опорной и транзитной одновременно.
Комбинированные АТС (КАТС) выполняют функции СПС или СПТС и АМТС одновременно.
2.2.2. Перевозимая станция (ПАТС) на ГТС должна применяться в качестве ПС, ОПС при:
- замене стационарной АТС на новое коммутационное оборудование на тех же площадях на период демонтажа старой и монтажа новой станции при реконструкции или техническом перевооружении;
- ускорении предоставления услуг телефонной сети потребителям, путем временного подключения их к ПАТС до окончания строительства стационарной АТС;
- непланируемой замене стационарной АТС, вышедшей из строя в результате аварии, стихийного бедствия и т. п. с предоставлением абонентам связи на период до восстановления стационарной АТС.
Одна и та же ПАТС может быть использована на ГТС неоднократно.
2.2.3. Типы станций СТС:
- ЦС - центральную станцию, расположенную в районном центре, выполняющую одновременно функции телефонной станции райцентра и сельско-пригородного узла СТС.
В ЦС включаются СЛ узловых станций (при 2-х-ступенчатом построении), СЛ оконечных станций (при одноступенчатом построении) и весь состав линий, приведенный в п. 2.2.1 (кроме СЛ с УВС, УИС, УСП).
- УС - узловые станции, расположенные в любых населенных пунктах сельского района. УС предусматривают абонентскую емкость и представляют собой оконечно-транзитные станции, в которые включаются СЛ от ЦС, ОС и других УС. Через УС осуществляется транзитная связь между включенными в нее ОС, а также между этими ОС и ЦС или другими УС (при использовании поперечных связей).
- ОС - оконечные станции, расположенные в любых населенных пунктах сельского района. Соединительные линии ОС включаются в ЦС или УС, а также в ОС при использовании поперечных связей.
Все сельские АТС (кроме УСП) должны включать:
- индивидуальные абонентские линии (АЛ);
- абонентские линии со спаренными телефонными аппаратами с взаимной и без взаимной связи (на ОС и УС обязательно должно предусматриваться спаренное включение с взаимной связью);
- линии удаленных абонентов;
- индивидуальные линии ВПТС, не имеющие права выхода на ОГСТФС;
- линии привилегированных абонентов (для ВПТС);
- концентраторов;
- абонентские линии, включенные в аппаратуру систем передачи;
- линии радиотелефонной связи;
- таксофоны местной связи;
- таксофоны междугородной связи;
- переговорных пунктов для ведения исходящих и входящих междугородных переговоров.
2.3. ГТС, СТС и КТС состоят из абонентской сети и межстанционной сети.
2.3.1. Абонентская сеть представляет совокупность оконечных абонентских устройств (ОАУ) и абонентских линий, соединяющих ОАУ с ОПС, ОС, УС, ЦС, ОПТС, а также соединяющих ОАУ с ПС и ПС с ОПС, ОПТС, ЦС.
2.3.2. Межстанционные сети (МСС) представляют совокупность станций и соединительных линий между СПС, СПТС, ТС, ОС, УС, ЦС.
2.3.3. МСС ГТС по принципу построения подразделяются на нерайонированные, районированные без узлообразований, районированные с узлами исходящего и входящего сообщения.
На сетях малой, средней, большой емкости выбор принципов построения должен экономически обосновываться.
2.3.3.1. АТС электронной системы преимущественно следует внедрять:
- на крупных ГТС, имеющих АМТС электронного типа;
- на ГТС, имеющих подготовленную сеть цифровых систем передачи;
- концентрируя оборудование по типам.
2.3.3.2. Для сетей средней и большой емкости, как правило, должны проектироваться электронные узловые районы емкостью 100 - 200 тыс. номеров, координатные - емкостью 100 тыс. номеров. Открытие новых узлов следует предусматривать при технико-экономическом обосновании с учетом вариантных проработок и умощнения действующих узлов.
2.3.3.3. ТС, ОПТС из оборудования электронных систем, как правило, совмещают функции узлов различного назначения.
2.3.3.4. Для организации межстанционной связи с АТСЭ следует применять соединительные линии, организованные на базе оборудования ЦСП ИКМ. Применение аналоговых СЛ должно быть технико-экономически обосновано.
2.3.3.5. Обходные связи должны использоваться со следующими целями:
- для экономии трактов ИКМ;
- для сохранения работоспособности сети при перегрузках и в аварийных ситуациях.
Обходы организуются разными способами:
- организация отдельных самостоятельных пучков обходных связей;
- организация отдельных обходных узлов;
- организация общих пучков, обеспечивающих одновременно прямую связь в направлении и обходную связь для отдельных направлений.
Максимальное число точек коммутации должно быть не более 4 (6 с учетом двух подстанций - концентраторов), в т. ч. с обходами.
2.3.4. МСС СТС строятся по принципу радиальному (1-ступенчатому) и радиально-узловому (1 - 2-ступенчатому) с возможностью использования поперечных и обходных путей. Предпочтительным следует считать одноступенчатое построение. т. к. тогда обеспечиваются лучшие условия по затуханию, упрощается станционное оборудование, ускоряется процесс соединения между абонентами. Однако, в ряде случаев применение узловых станций может дать экономию линейных сооружений.
При применении на ЦС цифровых коммутационных систем большой емкости принцип построения меняется и может привести к прямому включению в ЦС (опорную станцию) всех абонентов сельского района.
2.3.4.1. Межстанционные соединительные линии могут быть линиями двухстороннего и одностороннего действия и используются одновременно для местной и для междугородней связи.
2.3.4.2. Строительство специальных учрежденческих станций в сельской местности допускается только для крупных предприятий, с включением этих станций в СТС.
3.1. Мощность ОПС, ОПТС и ОС определяется 2-мя показателями:
- 1 - суммой абонентской емкости ( в т. ч. аб. емкости подстанций) и количества таксофонов, включаемых сверх абонентской емкости;
- 2 - суммарным количеством входящих и исходящих соединительных линий.
3.2. Мощность ТС определяется суммарным количеством входящих и исходящих соединительных линий.
3.3. Мощность ЦС, (УС) определяется абонентской емкостью ЦС, (УС) и суммарной абонентской емкостью станций, включенных в ЦС (УС).
3.4. Мощность УСП определяется суммарной емкостью СТС.
3.5. Мощность УВТС определяется суммарной емкостью УПАТС, имеющей право выхода на ГТС.
3.6. Мощность проектируемой МСС измеряется в километрах телефонных каналов и в 1000 №№ вводимой абонентской емкости и емкости УВТС, включение которой в ГТС обеспечивается проектируемыми сооружениями.
3.7. Емкость станции должна рассчитываться по нормам телефонной плотности с учетом количества заявок и состава абонентов.
3.8. Емкость транзитных станций должна предусматриваться с учетом 2-х-летнего развития сети.
3.9. Площади зданий, предназначенные для размещения станций, должны обеспечить развитие их на конечную емкость, определенную схемой развития ГТС, СТС на 15 - 20 лет.
3.10. Строительство новых, расширение, реконструкция или техническое перевооружение действующих станций должно производиться только на базе автоматических телефонных станций из оборудования координатных, квазиэлектронных и электронных систем, обеспечивающих полностью автоматическое установление соединений между абонентами.
3.11. Включение в ОПС, ОПТС линий ОУ-ПД допускается по согласованию с администрацией ГТС и СТС.
3.12. Количество абонентов УПАТС промышленных предприятий и учреждений, проектных и научных организаций, имеющих право выхода на телефонную сеть общего пользования определяется заказчиком.
3.13. В каждой ОПС, ОПТС, ЦС, УС, ОС необходимо предусматривать возможность включения междугородных таксофонов, как сверх, так и в счет емкости станций, в количестве, определенном потребностью и техническими возможностями АТС до 0,4 % от емкости АТС.
Поступающая от них нагрузка должна учитываться при расчете объема оборудования АТС.
3.14. На предприятиях бытового обслуживания могут устанавливаться двухсторонние таксофоны.
4.1.1. Расчет оборудования должен производиться по действующим для каждого типа оборудования «Инструкциям по расчету», с учетом максимально допустимых потерь, приведенных на рис. 4.1 - 4.2, а также величин интенсивности телефонных нагрузок, определенных на основании п.п. 4.1.4 - 4.1.5 данного раздела.
4.1.2. Суммарные потери вызовов от абонента до абонента не должны превышать: при местной связи на ГТС - 30 ‰ (при связи с пригородной зоной и с абонентами УПАТС - 40 ‰), а на СТС - 120 ‰, при внутризоновой связи - 130 ‰, при междугородной связи - 100 ‰ (для абонентов ГТС).
Суммарные потери вызовов от абонента до экстренных спецслужб не должны превышать 10 ‰, до неэкстренных - при одной ступени искания на УСС - 20 ‰, а при 2-х ступенях искания на УСС - 30 ‰.
4.1.3. Норма потерь должна сохраняться независимо от организации связи с обходами или без них.
4.1.4. Расчет интенсивности нагрузки, возникающей от абонентов ГТС с числом УВС пять и более, а также распределение интенсивности нагрузки по направлениям должны основываться на статистических данных учета телефонного сообщения на действующих АТС.
4.1.5. Расчет интенсивности нагрузки, возникающей от абонентов ГТС меньшей емкости при отсутствии статистических данных допускается производить на основании показателей, приведенных в таблице 4.1.
Максимально допустимые потери на ГТС


Продолжение рис. 4.1

Продолжение рис. 4.1

Продолжение рис. 4.1
Максимально допустимые потери на СТС


Продолжение рис. 4.2

Продолжение рис. 4.2
Примечания.
1) * - 4 ‰ нормы потерь при использовании АТСК 50/200, АТСК 50/200М.
2) ** - 30 ‰ для ОС емкостью до 200 №№;
20 ‰ для ОС емкостью 200 до 900 №№;
10 ‰ для ОС емкостью свыше 900 №№.
3) Потери внутри станции учитывают суммарные потери на регистры, частотные приемопередатчики, пути между ступенями искания и на самих ступенях искания.
4) ПСЭ, ТСЭ-Э - электронные;
ОСКЭ, ЦСКЭ-КЭ - квазиэлектронные.
5) При организации общего пучка соединительных линий для местной, междугородной связи и связи со спецслужбами и др. принимаются наименьшие величины потерь из указанных для отдельных видов связи.
|
Количество жителей населенного пункта |
Категории абонентов |
Рразг. И |
Рразг. СП |
|||||
|
Квартирные |
Народно-хозяйственные |
Таксофоны |
||||||
|
Ск |
Тк |
Снх |
Тнх |
Стф |
Ттф |
|||
|
При числе абонентов квартирного сектора свыше 75 % |
||||||||
|
От 20 до 100 тыс. человек |
1,2 |
140 |
2,4 |
90 |
8 |
110 |
0,5 |
0,4 |
|
От 100 до 500 тыс. человек |
1,2 |
140 |
2,7 |
90 |
10 |
110 |
0,5 |
0,4 |
|
Свыше 500 тыс. человек |
1,2 |
140 |
3,3 |
90 |
10 |
110 |
0,5 |
0,4 |
где: С - среднее количество вызовов, приходящихся в ЧНН на одного абонента квартирного (Ск) и народно-хозяйственного (Снх) сектора, по линии таксофона (Стф);
Т - средняя продолжительность разговора в секундах: абонентов квартирного (Тк) и народно-хозяйственного (Тнх) секторов, по линии таксофона (Ттф);
Р - доля состоявшихся разговоров от общего количества вызовов Рразг: индивидуальных абонентов (Рразг. И), абонентов квартирных спаренных (Рразг. СП).
Примечания.
1. В таблице не учтена нагрузка, создаваемая по ЗСЛ.
2. Величины показателей таблицы должны учитываться в расчетах как средние величины.
3. Пользоваться величинами С, Т, Рразг частично по данным учета, а частично по таблице не допускается.
4.1.6. Нагрузка на линиях Тсф АМТС должна также определяться по статистическим данным, а при отсутствии данных принимается равной в среднем 0,65 ЭРл на один таксофон.
4.1.7. Интенсивность внутристанционной нагрузки на станциях ГТС при отсутствии статистических данных определяется на основании табл. 4.2.
|
Интенсивность возникающей абонентской нагрузки АТС в процентах от общей интенсивности возникающей абонентской нагрузки сети |
Процент интенсивности внутристанционной нагрузки от интенсивности возникающей нагрузки АТС |
Интенсивность возникающей абонентской нагрузки АТС в процентах от общей интенсивности возникающей абонентской нагрузки сети |
Процент интенсивности внутристанционной нагрузки от интенсивности возникающей нагрузки АТС |
|
0,5 |
16,0 |
11,0 |
28,3 |
|
1,0 |
18,0 |
12,0 |
30,0 |
|
1,5 |
18,7 |
13,0 |
31,5 |
|
2,0 |
19,0 |
14,0 |
32,9 |
|
2,5 |
19,2 |
15,0 |
33,3 |
|
3,0 |
19,4 |
20,0 |
38,5 |
|
3,5 |
19,7 |
25,0 |
42,4 |
|
4,0 |
20,0 |
30,0 |
46,0 |
|
4,5 |
20,2 |
35,0 |
50,4 |
|
5,0 |
20,4 |
40,0 |
54,5 |
|
5,5 |
20,7 |
45,0 |
58,2 |
|
6,0 |
21,0 |
50,0 |
61,8 |
|
6,5 |
21,7 |
55,0 |
66,6 |
|
7,0 |
22,6 |
60,0 |
69,4 |
|
7,5 |
23,5 |
65,0 |
72,8 |
|
8,0 |
24,2 |
70,0 |
76,4 |
|
8,5 |
25,1 |
75,0 |
80,4 |
|
9,0 |
25,8 |
80,0 |
81,3 |
|
9,5 |
26,4 |
85,0 |
88,1 |
|
10,1 |
27,4 |
90,0 |
92,2 |
|
10,5 |
27,6 |
100,0 |
100,0 |
Интенсивность нагрузки к УСС при отсутствии сервисных спецслужб составляет 3 % от интенсивности, возникающей на АТС абонентской нагрузки. При организации на ГТС сервисных спецслужб интенсивность нагрузок к ним следует принимать по согласованию с заказчиком и соответственно увеличить возникающие нагрузки от абонентов.
Интенсивность исходящих нагрузок от каждой АТС распределяется пропорционально интенсивностям исходящих нагрузок других АТС сети.
Величины нагрузок должны быть уточнены в зависимости от конкретных условий: удаленности и обособленности района, организационного подчинения и взаимоотношений административных и общественных организаций, находящихся на территории обслуживания, структурного состава абонентов и т. п.
4.1.8. При проектировании АТСЭ следует учитывать включение частотных телефонных аппаратов в объеме 5 - 10 % от емкости АТС.
4.1.9. Расчет интенсивности нагрузки абонентов СТС должен осуществляться по статистическим данным удельных телефонных нагрузок, на одного абонента в ЧНН:
- административно-управленческого сектора Увн1, Уисх1, Увх1.
- народно-хозяйственного сектора Увн2, Уисх2, Увх2.
- квартирного сектора Увн3, Уисх3, Увх3.
- таксофона АТС Увн4, Уисх4.
При отсутствии статистических данных следует пользоваться данными таблицы 4.3.
При этом рекомендуется увеличивать исходящие и входящие внешние удельные нагрузки относительно приведенных выше значений на 5 ÷ 10 % для абонентов ОС и УС, расположенных в непосредственной близости от областных центров и др. крупных городов и включаемых в УСП этих городов, а также, если суммарная емкость СТС (включая ЦС) превышает 4000 номеров; на 10 ÷ 12 % для абонентов, имеющих возможность выхода на АМТС, а также в случае, если выход на АМТС предполагается в ближайшие годы. Общее увеличение нагрузок не должно превышать 20 %. При отсутствии статистических данных по таксофонам используются данные, приведенные для административно-управленческого сектора.
4.1.10. Количество межстанционных соединительных линий на СТС необходимо рассчитывать исходя из нагрузки, создаваемой внешними соединениями. Однако точно известных факторов внешнего тяготения на СТС, определяющих распределение потоков телефонного сообщения на сегодня нет.
|
Емкость АТС |
Удельная нагрузка, Эрл, для абонентов сектора |
||||||||
|
административного |
народнохозяйственного |
квартирного |
|||||||
|
Ун.а. |
Ув.а. |
Увн.а. |
Уи.нх. |
Ув.нх. |
Увх.нх. |
Уи.к. |
Ув.к. |
Увн.к |
|
|
50 |
0,044 |
0,027 |
0,038 |
0,013 |
0,008 |
0,011 |
0,0040 |
0,0025 |
0,005 |
|
100 |
0,042 |
0,030 |
0,043 |
0,012 |
0,009 |
0,013 |
0,0035 |
0,0025 |
0,006 |
|
150 |
0,041 |
0,032 |
0,046 |
0,012 |
0,009 |
0,014 |
0,0035 |
0,0030 |
0,007 |
|
200 |
0,040 |
0,033 |
0,049 |
0,012 |
0,010 |
0,016 |
0,0035 |
0,0030 |
0,008 |
|
300 |
0,039 |
0,036 |
0,053 |
0,012 |
0,010 |
0,018 |
0,0035 |
0,0035 |
0,009 |
|
400 |
0,038 |
0,038 |
0,056 |
0,012 |
0,011 |
0,020 |
0,0035 |
0,0035 |
0,010 |
|
500 |
0,037 |
0,040 |
0,059 |
0,012 |
0,011 |
0,022 |
0,0035 |
0,0040 |
0,011 |
|
600 |
0,036 |
0,041 |
0,062 |
0,012 |
0,012 |
0,023 |
0,0035 |
0,0040 |
0,012 |
|
700 |
0,036 |
0,043 |
0,064 |
0,012 |
0,012 |
0,024 |
0,0035 |
0,0045 |
0,012 |
|
800 |
0,035 |
0,044 |
0,066 |
0,012 |
0,012 |
0,025 |
0,0035 |
0,0045 |
0,013 |
|
900 |
0,035 |
0,045 |
0,067 |
0,012 |
0,013 |
0,026 |
0,0035 |
0,0045 |
0,013 |
|
1000 |
0,034 |
0,046 |
0,069 |
0,012 |
0,013 |
0,026 |
0,0035 |
0,0045 |
0,013 |
|
1500 |
0,034 |
0,047 |
0,070 |
0,012 |
0,013 |
0,027 |
0,0035 |
0,0050 |
0,013 |
|
2000 |
0,033 |
0,047 |
0,071 |
0,012 |
0,013 |
0,027 |
0,0035 |
0,0050 |
0,013 |
|
более 2000 |
0,033 |
0,047 |
0,072 |
0,012 |
0,014 |
0,028 |
0,0035 |
0,050 |
0,014 |
4.11. Количество соединительных линий для станций Исток, АТСК 100/2000 производится исходя из телефонной нагрузки по нормативам табл. 4.3. Ориентировочное количество односторонних соединительных линий для связи УС с ЦС приведено в таблице 4.4.
Таблица 4.4
|
Емкость номеров узлового района |
Количество соединительных линий |
|
200 |
11 ´ 2 |
|
500 |
17 ´ 2 |
|
1000 |
27 ´ 2 |
|
2000 |
42 ´ 2 |
|
3000 |
60 ´ 2 |
|
4000 |
68 ´ 2 |
|
5000 |
76 ´ 2 |
Поскольку количество входящих и исходящих соединительных линий примерно равно, то везде указан множитель 2.
Соединительные линии емкостью (в пучке) меньше 35 на СТС должны быть двухстороннего действия.
Количество двухсторонних соединительных линий для станции АТСК 50/200 и 50/200М в зависимости от емкости представлено в табл. 4.5.
Таблица 4.5
|
Емкость номеров ОС |
Количество соединительных линий |
|
|
АТСК-50/200 |
АТСК-50/200(М) |
|
|
50 |
5 |
7 |
|
100 |
7 |
10 |
|
150 |
10 |
13 |
|
200 |
13 |
17 |
Для АТСК-50/200, АТСК-50/200М расчет объема оборудования не производится.
Для станций Исток, АТСК 100/2000 объем станционного оборудования определяется расчетами. Объем оборудования для АТСКЭ Квант до разработки инструкции по расчету оборудования берется согласно типовых проектов.
4.1.12. Нагрузка на ЗСЛ и СЛМ определяется на основании статистических данных. При отсутствии данных нагрузка на ЗСЛ принимается в соответствии с табл. 4.6.
Таблица 4.6
|
Характеристика населения городов |
Средняя нагрузка на ЗСЛ от одного абонента, Эрл |
|
|
1995 г. |
2000 г. |
|
|
До 20 тысяч человек |
0,0060 |
0,0056 |
|
От 20 до 100 тыс. человек |
0,0050 |
0,0043 |
|
От 100 до 500 тыс. человек |
0,0043 |
0,0040 |
|
От 500 до 1 млн. человек |
0,0035 |
0,0032 |
|
Свыше 1 млн. человек |
0,0025 |
0,0024 |
Среднее время занятия ЗСЛ - 150 сек.
Расчетная величина нагрузки на пучках СЛМ не должна превышать 0,75 Эрл на 100 индивидуальных аппаратов и 0,44 Эрл на 100 спаренных. Среднее время занятия СЛМ - 126 сек.
4.1.13. Распределение этой нагрузки по пучкам ЗСЛ и СЛМ районированных ГТС осуществляется пропорционально действующим междугородным нагрузкам АТС с учетом несовпадения ЧНН различных пучков ЗСЛ и СЛМ. При отсутствии сведений о несовпадении ЧНН величину нагрузки на ЗСЛ и СЛМ следует увеличивать на 4 - 6 %.
4.1.14. Организация раздельных пучков соединительных линий по местной и междугородной связи в направлении к сельским ОС и УС допускается при нагрузке на пучок СЛМ не ниже 0,4 Эрл.
4.1.15. При проектировании АТС и ПС в пунктах, где связь с АМТС отсутствует, величину нагрузки необходимо принимать с учетом исходящей междугородной нагрузки.
4.1.16. Нумерация экстренных, справочных и заказных служб должна быть или 2-х или 3-х-значная, единая для всех ГТС и СТС.
Экстренным спецслужбам должны присваиваться следующие номера:
- пожарная помощь - 01;
- милиция - 02;
- скорая медицинская помощь - 03;
- аварийная служба газовой сети - 04.
Наименование, категория и нумерация остальных спецслужб представлены в таблице 4.7.
Таблица 4.7
Наименование, категории и нумерация спецслужб
|
Наименование и категории спецслужб |
Нумерация |
Примечание |
|
|
1. Обязательный перечень служб |
|||
|
1.1. Справочная служба о номерах телефонов абонентов ГТС по полным данным |
09 |
|
|
|
1.2. То же, по неполным данным |
009 |
09 на ГТС с двухзначной нумерацией спецслужб |
|
|
1.3. Заказная и справочная служба АМТС (МТС) |
07 |
|
|
|
1.4. Служба приема телеграмм по телефону |
066 |
06 на ГТС с двухзначной нумерацией спецслужб |
|
|
1.5. Централизованная служба ремонта телефонов |
008 |
08 на ГТС с двухзначной нумерацией спецслужб |
|
|
1.6. Централизованная служба ремонта таксофонов |
064 |
00 на ГТС с двухзначной нумерацией спецслужб |
|
|
1.7. Справочная служба об услугах Минсвязи |
069 |
09 на ГТС с двухзначной нумерацией спецслужб |
|
|
1.8. Справочная служба по претензиям за услуги связи |
053 |
|
|
|
1.9. Служба времени |
060 |
05 на ГТС с двухзначной нумерацией спецслужб |
|
|
1.10. Горсправка |
062 |
|
|
|
1.11. Справочная аптекоуправления |
003 |
|
|
|
1.12. Заказ такси |
058 |
|
|
|
1.13. Справочная железной дороги |
005 |
|
|
|
1.14. Справочная Аэрофлота |
006 |
|
|
|
1.15. Справочная междугородного автобусного сообщения |
004 |
|
|
|
1.16. Заказ ж/д билетов |
055 |
|
|
|
1.17. Заказ авиабилетов |
056 |
|
|
|
1.18. Заказ билетов междугородного автобусного сообщения |
054 |
|
|
|
1.19. Заказная служба бытового обслуживания |
086 |
|
|
|
1.20. Служба погоды |
001 |
|
|
|
1.21. Информация похоронного бюро |
059 |
|
|
|
1.22. Служба УВД |
052 |
|
|
|
1.23. Резерв |
051 |
|
|
|
2. Необязательный перечень служб |
|||
|
2.1. Справочная морского вокзала |
007 или др. |
|
|
|
2.2. Справочная речного вокзала |
007 или др. |
|
|
|
2.3. Заказ билетов на суда морского пароходства |
057 или др. |
|
|
|
2.4. Заказ билетов на суда речного пароходства |
057 или др. |
|
|
|
2.5. Адреса жителей (ЦАБ) |
061 |
|
|
|
2.6. Репертуар зрелищных предприятий |
082 или др. |
|
|
|
2.7. Ремонт телевизоров |
081 или др. |
|
|
|
2.8. Юридическая справка |
063 |
|
|
|
2.9. Бюро поручений |
050 |
|
|
|
2.10. Справочная о кооперативах |
088 |
|
|
|
2.11. Служба обслуживания туристов |
000 или др. |
|
|
|
2.12. Информация бюро путешествий |
000 или др. |
|
|
|
2.13. Информация о подписных изданиях |
065 ил др. |
|
|
|
2.14. Новости киноэкрана |
087 или др. |
|
|
|
2.15. Сказка |
080 |
|
|
|
2.16. Веселые миниатюры |
085 |
|
|
|
2.17. Служба информации ГАИ |
002 или др. |
|
|
|
2.18. Медицинская справочная и консультации |
083 |
|
|
|
2.19. Прогноз погоды по городам страны и столицам зарубежных стран |
067 |
|
|
|
2.20. Учебно-консультационные справки |
068 |
|
|
|
2.21. Справки о выигрышах госзаймов, лотерей, спортлото и т. д. |
084 или др. |
|
|
|
2.22. Служба знакомств |
089 или др. |
|
|
|
2.23. Заказные службы АМТС (МТС) |
071, 073 |
07 на ГТС с двухзначной нумерацией спецслужб |
|
|
2.24. Информационно-справочная служба АМТС (МТС) |
070 |
|
|
|
2.25. Справочные службы АМТС (МТС) |
072, 074 |
|
|
|
2.26. Заказная и справочная служба междугородной связи |
079 |
|
|
|
2.27. Резерв развития |
075 - 078 |
|
|
4.1.17. Количество линий к спецслужбам для телефонных сетей емкостью до 10000 номеров следует принимать по таблице 4.8. При организации спецслужб, не указанных в табл. 4.8, количество линий к ним определяется по согласованию с заказчиком.
|
Назначение |
Нумерация |
Количество линий к спецслужбам на телефонной сети емкостью номеров: |
|||
|
до 3000 |
от 3000 до 6000 |
от 6000 до 8000 |
от 8000 до 10000 |
||
|
Пожарная помощь |
01 |
2 |
3 |
5 |
5 |
|
Милиция |
02 |
2 |
3 |
3 |
3 |
|
Скорая медицинская помощь |
03 |
3 |
3 |
5 |
5 |
|
Аварийная служба газовой сети |
04 |
3 |
4 |
5 |
5 |
|
Заказно-справочная служба МТС |
07 |
рассчитывается по номограммам Гипросвязи |
|||
|
Централизованная служба ремонта телефонов ГТС |
08 |
2 |
3 |
5 |
5 |
|
Справочная служба о номерах телефонов абонентов ГТС |
09 |
по две линии на каждый стол справок |
|||
4.1.18. Количество линий к спецслужбам для телефонных сетей емкостью свыше 10000 номеров определяется расчетом исходя из интенсивности нагрузок на линиях спецслужб. Для этого от заказчика необходимо получить следующие данные:
- среднее число вызовов и среднее время занятия в ЧНН от каждой из действующих АТС к УСС;
- среднее число вызовов и среднее время занятия в ЧНН службы от УСС по направлению к каждой из существующей служб;
- ожидаемое среднее число вызовов и среднее время занятия в ЧНН службы по направлению от УСС к каждой из открываемых служб.
4.1.19. Иногородним абонентам с помощью автоматической внутризоновой и междугородной телефонной связи необходимо обеспечить вызов спецслужб, обеспечивающих выдачу информации:
- о номерах телефонов и адресах жителей;
- о номерах телефонов, адресах и режимах работы различных организаций, предприятий и учреждений;
- об обслуживании туристов;
- о бытовом обслуживании;
- репертуар зрелищных предприятий;
- о поступлении новых товаров;
- о расписании движения различных видов транспорта и т. д.
4.1.20. Ведомственные службы, характеризующиеся ограниченным или местным использованием (справочные бюро больниц, поликлиник, отдельных предприятий, заказные службы отдельных контор и магазинов и т. п.) должны иметь полную нумерацию.
Полную нумерацию временно могут иметь службы сервиса, для которых в будущем будет предусмотрена сокращенная нумерация. Такое решение допускается для служб с ограниченными ресурсами, которые в определенные периоды времени функционируют в условиях резкого повышения спроса на услугу над ее предложением (например, служба заказа ж. д. билетов).
Службы, вызываемые по полной нумерации, в зависимости от величины поступающей на нее нагрузки, включаются на правах абонентской установки, либо на правах коммутаторной установки, с серийным исканием, либо в УВТС или в УВС вместо сотенной, тысячной или десятитысячной группы.
4.1.21. При организации связи с УПАТС необходимо учитывать следующее:
- УВТС, как правило, необходимо организовывать с выделением одного-двух тысячных направлений на ОПС. При отсутствии свободного резерва номерной емкости необходимо создавать УВТС десятитысячной емкости (на правах ОПС);
- тип оборудования УВТС, как правило, выбирается аналогично типу оборудования ОПС, совместно с которой это оборудование устанавливается;
- соединительные линии между УПАТС и городскими и сельскими АТС должны быть односторонними и могут быть общими для местной и междугородной связи. Название односторонних линий - исходящие и входящие - присваивается по отношению к УПАТС;
- УПАТС должны оборудоваться аппаратурой АОН, владельцами УПАТС, независимо от того установлена или планируется к установке АОН на опорной АТС;
- УПАТС свыше 6000 №№ должны включаться в ГАТС на правах ОПС.
4.1.22. Количество соединительных линий с УПАТС определяется расчетом, исходя из телефонной нагрузки, создаваемой действующими УПАТС. При отсутствии статистического учета количество СЛ, как правило, принимается по табл. 4.9.
4.1.23. При использовании табл. 4.9 необходимо учитывать следующее:
а) проектируемое количество СЛ не должно превышать значения допускаемого схемными возможностями отдельных типов УПАТС (УПАТС-100/400, УАТС-50/200М);
б) при общем числе абонентов, имеющих право связи с ГТС на УПАТС типа ДШ не более 300, как правило, предоставляются отдельные пучки СЛ на каждые 100 абонентов. Число входящих СЛ для каждого сотенного пучка определяется по первой строке табл. 4.9;
в) количество СЛ в общем пучке для местной и междугородной связи должно быть сокращено на 2 - 3 линии против указанного в таблице.
|
Количество абонентов с правом выхода на сеть общего пользования |
Количество соединительных линий для УПАТС |
|||||||
|
Промышленных предприятий и учреждений |
Административно-хозяйственных, проектных и научных организаций, гостиниц |
|||||||
|
Исходящие |
Входящие |
Исходящие |
Входящие |
|||||
|
при отсутствии полноавтом. междугор. связи |
при наличии полноавтом. междугор. связи |
местной связи |
междугородной связи |
при отсутствии полноавтом. междугор. связи |
при наличии полноавтом. междугор. связи |
местной связи |
междугородной связи |
|
|
100 |
5 |
6 |
5 |
3 |
6 |
7 |
7 |
3 |
|
200 |
8 |
9 |
9 |
4 |
10 |
11 |
10 |
4 |
|
300 |
10 |
12 |
11 |
4 |
13 |
15 |
14 |
5 |
|
400 |
12 |
14 |
13 |
5 |
15 |
17 |
16 |
6 |
|
500 |
14 |
17 |
15 |
6 |
18 |
21 |
19 |
7 |
|
600 |
16 |
19 |
17 |
6 |
21 |
24 |
22 |
7 |
|
700 |
18 |
22 |
20 |
6 |
23 |
27 |
25 |
8 |
|
800 |
20 |
24 |
22 |
7 |
26 |
30 |
28 |
8 |
|
900 |
22 |
27 |
24 |
7 |
28 |
33 |
30 |
9 |
|
1000 |
24 |
30 |
26 |
8 |
28 |
34 |
30 |
9 |
|
1500 |
34 |
42 |
36 |
10 |
42 |
50 |
44 |
12 |
|
2000 |
40 |
50 |
44 |
12 |
50 |
60 |
54 |
15 |
4.1.24. Нагрузка, создаваемая соединительными линиями с УПАТС, принятым по табл. 4.9, определяется по пропускной способности пучков этих линий при потерях, приведенных на рис. 4.1, 4.2 и принимается, как расчетная.
4.1.25. Выход на сеть общего пользования абонентов УПАТС необходимо осуществлять набором однозначного индекса, с последующим прослушиванием сигнала готовности опорной АТС или без прослушивания (по согласованию с местными органами связи).
4.2.1. При построении абонентских и межстанционных сетей расчет всех длин участков необходимо производить с учетом норм по затуханию и электрических параметров по сопротивлению и емкости.
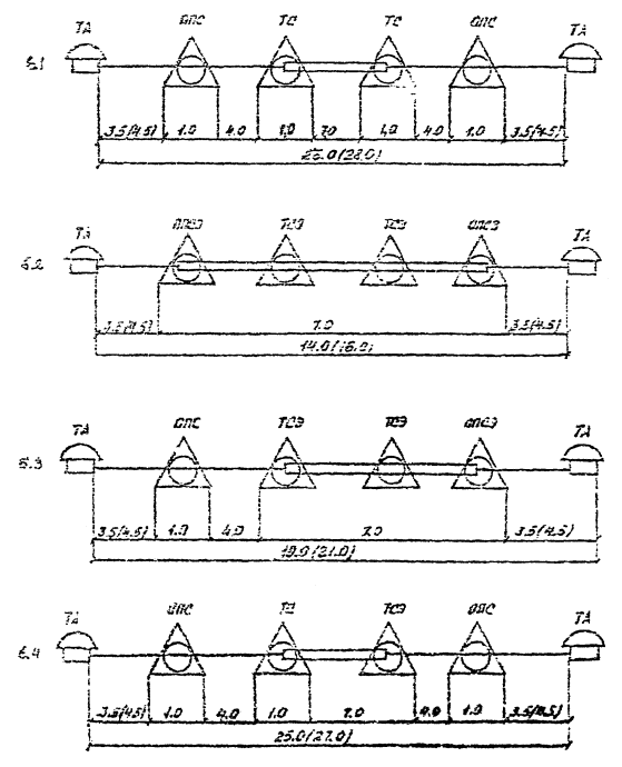
4.2.2. Распределение норм затухания в дБ на частоте 800 Гц на ГТС приведено на рис. 4.3 - 4.9.
Распределение норм затухания в дБ на частоте 800 Гц на СТС приведено на рис. 4.10 - 4.13.
4.2.3. Электрические параметры по сопротивлению и емкости абонентских линий не нормированы и зависят от типа оборудования АТС. Электрические параметры по сопротивлению и емкости соединительных линий представлены на рис. 4.14 - 4.16.
Электрические параметры по сопротивлению и емкости СЛ между аналоговыми АТС и АТСЭ принимаются по нормам для аналоговых станций.
4.2.4. В соответствии с ГОСТ 21 655-87 на местных телефонных сетях в целях устойчивости работы допускается не более 4-х переходов «аналог - цифра - аналог» от абонента до абонента при наличии аналоговых АТС. Применение ЦАВУ, ДАВУ на абонентских линиях в общем количестве переходов не учитывается.
Все транзиты, как правило, должны быть 4-х-проводными. Временно допускается один транзит 2-х-проводный.
При организации связи между абонентами электронных АТС на местной сети допускается один переход «аналог - цифра - аналог».
На участке местной сети для междугородной связи допускается не более 2-х переходов при наличии аналоговых АТС и 1-го перехода при наличии электронных АТС, УПАТС.
Распределение норм затухания на нерайонированной сети

Распределение норм затухания на районированных ГТС

Распределение норм затухания на районированной ГТС с узлами входящего сообщения


Распределение норм затухания на районированной ГТС с узлами исходящего и входящего сообщения



Распределение норм затухания от абонента до МТС на ГТС


Рис. 4.7
Распределение норм затухания от абонента до справочно-информационных и заказных служб на ГТС


Рис. 4.8


Распределение норм затухания на СТС при одноступенчатом радиальном построении

Распределение норм затухания на СТС при двухступенчатом радиально-узловом построении


Распределение норм затухания на СТС при междугородной связи

Распределение норм затухания на комбинированной сети при связи с абонентами СТС и ГТС


Условные обозначения принятые на рисунках
- станции и узлы телефонной коммутации,
содержащие переходное устройство с 2-х-проводного на 4-х-проводный тракт ?????
- физическая двухпроводная линия
- канал систем передачи
3.5 (4.5) - затухание аб. л. для кабелей с диам. жил 0,32 мм
(затухание аб. л. для кабелей с диам. жил 0,5; 0,64; 0,7 мм)
- 4-х-проводный транзит.
АТС ДШ И УВС КООРДИНАТНОГО ТИПА, АТСК И УВС ДЕКАДНО-ШАГОВОГО ТИПА
Нормы по сопротивлению и емкости абонентской сети и НЧ соединительных линий МСС

|
№№ п/п |
Сопротивление проводов, Ом, не более |
Емкость в мкф, не более |
Примечание |
№№ п/п |
Сопротивление проводов, Ом, не более |
Емкость в мкф, не более |
Примечание |
||
|
R (a + b) |
Rc |
R (a + b) |
Rc |
||||||
|
1 + ? |
3000 |
- |
1,6 или 1,3 |
1,3 при РАТС - 47 с РСЛ-ЗШ Rс - 1500 |
11 + 2 |
3000 |
- |
0.9 |
с РСЛ-ЗШ Rc - 1500 |
|
1 |
- |
700 |
21 |
- |
700 |
|
|||
|
15 |
- |
1500 |
- |
12 + ? |
2800 |
- |
1,6 или 1,3 |
1,3 при РАТС или УВС типа АТС-47, с РСЛ-ЗШ Rc - 1500 |
|
|
2 + 15 |
3000 |
- |
0,9 |
|
21 |
- |
700 |
||
|
15 |
- |
1500 |
- |
|
??? |
3000 |
- |
1,6 или 1,3 |
1,3 при УВС типа АТС - 47 с РСЛ-ЗШ Rc - 1500 |
|
3 + 13 |
2800 |
- |
1,6 или 1,3 |
1,3 при РАТС - 47 |
13 |
- |
1500 |
- |
|
|
15 |
- |
1500 |
22 |
- |
700 |
- |
|||
|
1 + 10 |
3000 |
- |
0,9 |
|
??? |
2800 |
- |
1,6 или 1,3 |
1,3 при УВС типа АТС - 47 с РСЛ-ЗШ Rc - 1500 |
|
5 + 11 |
26001) |
- |
1,6 или 1,3 |
1,3 при РАТС или УВС типа АТС - 47 |
23 |
- |
700 |
- |
|
|
4 + 8 |
|
|
|
|
|||||
|
5 + 18 |
3000 |
- |
1,6 |
|
4 |
3000 |
- |
0,9 |
|
|
6 |
- |
700 |
- |
с РСЛ-ЗШ Rс - 1500 |
8 |
3000 |
- |
0,9 |
|
|
18 |
- |
1500 |
- |
|
4 + 9 |
|
|
|
|
|
1 + 15 |
2800 |
- |
1.6 |
|
4 |
3000 |
- |
0,9 |
|
|
19 |
- |
1500 |
- |
|
9 |
2800 |
- |
1,6 |
|
|
1 + 17 |
2800 |
- |
0,9 |
|
5 + 9 |
|
|
|
|
|
5 + 15 |
2800 |
- |
0,9 |
|
5 |
2800 |
- |
1,6 |
|
|
10 + 21 |
300 |
- |
1,6 или 1,3 |
1,3 при РАТС или УВС типа АТС - 47; с РСЛ-ЗШ Rc - 1600 |
9 |
2800 |
- |
1,8 |
|
|
10 |
- |
1500 |
- |
5 + 8 |
|
|
|
|
|
|
21 |
- |
700 |
- |
5 |
2800 |
- |
1,6 |
|
|
|
8 |
3000 |
- |
0,9 |
|
|||||
1) При АТСКУ производства ГДР R (a + b) = 2200 Ом.
В одном соединительном тракте допускается применение 3-х участков при использовании на 2-х из них компл. РСЛК (РСЛ-2), а на 3-ем РСЛП, или на 2-х участках - РСЛП, а на третьем - РСЛК.
Использование на всех 3-х участках только компл. РСЛК (РСЛ-2) или только РСЛП не допускается.
Нормы по сопротивлению соединительных и заказно-соединительных линий (АМТС)

|
№№ п/п |
Сопротивление проводов, Ом, не более |
Емкость в мкф, не более |
Примечание |
№№ п/п |
Сопротивление проводов, Ом, не более |
Емкость в мкф, не более |
Примечание |
||
|
R (a + b) |
Rc |
R (a + b) |
Rc |
||||||
|
1 |
2000 |
1000 |
1,0 |
|
8 + 1 |
3000 |
|
1,6 или 1,3 |
1,3 при РАТС-47 |
|
1 + 2 |
2000 |
|
1,0 |
с РСЛ-ЗШ Rc - 1500 |
8, 10 |
|
1500 на кажд. уч. |
||
|
1 |
|
1000 |
|
??? |
3000 |
|
1,3 или 1,0 |
1,0 при УАТСК-100/2000 и УПАТС-100/400 |
|
|
2 |
|
700 |
|
8, 10 |
|
1500 на кажд. уч. |
|
||
|
3 |
1) 1000, 1500, 1300 |
|
|
1500 при АТС-54, 1300 при связи от ??? через УРСАМ |
2 |
|
700 |
|
с РСЛ-ЗШ Rc - 1500 |
|
11 |
2000 |
700 или 1000 |
1,0 |
Rc - 700 при АТС-ДШС, с РСЛ-ЗШ Rc - 1000 |
|||||
|
??? |
2000 |
|
1,0 |
|
??? |
2000 |
|
1,0 |
То же |
|
4 |
|
1000 |
|
|
11 |
|
700 или 1000 |
|
|
|
5 |
|
700 |
|
с РСЛ-ЗШ Rc - 1500 |
12 |
|
700 |
|
|
|
??? |
2000 |
|
1,0 |
|
13 |
2000 |
|
1,3 |
|
|
4 |
|
1000 |
|
|
??? |
2000 |
|
1,0 |
|
|
5, 2 |
|
700 на каждом участке |
|
с РСЛ-ЗШ Rc - 1500 |
14 |
|
1000 |
|
700 при АТС-ДШС, а с РСЛ-ЗШ Rc - 1000 |
|
15 |
|
700 или 1000 |
|
||||||
|
??? |
2000 |
|
1,0 |
|
??? |
2000 |
|
1,0 |
То же |
|
4 |
|
1000 |
|
|
14 |
|
1000 |
|
|
|
6 |
|
1500 |
|
|
15 |
|
700 или 1000 |
|
|
|
3 |
|
|
|
|
12 |
|
700 |
|
|
|
??? |
|
|
1,0 |
|
16 |
3000 |
700 или 1500 |
1,6 или 1,3 |
1,3 при АТС-47, Rc - 700 при АТС-ДШС, а с РСЛ-ЗШ Rc - 1500 |
|
4 |
|
1000 |
|
|
|||||
|
6 |
|
1500 |
|
|
??? |
3000 |
|
1,3 или 1,0 |
1,0 при УАТСК-100/2000 и УПАТС-100/400 |
|
2 |
|
700 |
|
с РСЛ-ЗШ Rc - 1500 |
16 |
|
700 или 1500 |
|
|
|
7 |
3000 |
1500 |
1,6 или 1,3 |
1,3 при РАТС-47 |
12 |
|
700 |
|
Rc - 700 при АТС-ДШС, а с РСЛ-ЗШ Rc - 1500 |
|
1 + 2 |
3000 |
|
1,3 или 1,0 |
1,0 при УАТСК-100/2000 и УПАТС-100/400 |
|||||
|
7 |
|
1500 |
|
|
??? |
3000 |
|
1,6 или 1,3 |
1,3 при АТС-47 |
|
2 |
|
7001) |
|
с РСЛ-ЗШ Rc - 1500 |
17 |
|
1500 |
|
Rc - 700 при АТС-ДШС, а с РСЛ-ЗШ Rc - 1500 |
|
8 + 9 |
3000 |
|
1,6 или 1,3 |
1,3 при РАТС к УВСМ типа АТС-47 |
18 |
|
700 или 1500 |
|
|
|
8 |
|
1500 |
|
|
??? |
3000 |
|
1,3 или 1,0 |
1,0 при УАТСК-100/2000 и УПАТС-100/400 |
|
9 |
|
700 |
|
с РСЛ-ЗШ Rc - 1500 |
|||||
|
??? |
3000 |
|
1,3 или 1,0 |
1,0 при УАТСК-100/2000 и УПАТС-100/400 |
17 |
|
1500 |
|
|
|
8 |
|
1300 |
|
с РСЛ-ЗШ Rc - 1500 |
18 |
|
700 или 1500 |
|
Rc - 700 при АТС-ДШС, а с РСЛ-ЗШ Rc - 1500 |
|
9, 2 |
|
700 на каждом участке |
|
|
12 |
|
700 |
|
|
*) Rим - 1300, включая сопротивление линейной части встречного комплекта, на УРТС, которое составляет для МБ - 250 Ом, ЦБ×3 - 600 Ом, ЦБ 3×2 - 600 Ом, ЦРТС-100/600 - 300 Ом, передающего стола УАТС - 500 Ом.
1) При связи ПСК-1000К с АТСК Rc £ 750 Ом.
АТСК И УВС КООРДИНАТНОГО ТИПА
Нормы по сопротивлению и емкости абонентской сети и низкочастотных соединительных линий МСС

|
№№ п/п |
Сопротивление проводов, Ом, не более |
Емкость в мкф, не более |
Примечание |
№№ п/п |
Сопротивление проводов, Ом, не более |
Емкость в мкф, не более |
Примечание |
||
|
R (a + b) |
Rc |
R (a + b) |
Rc |
||||||
|
1 |
1300 |
- |
0,5 |
АТСК «Пентаконта» |
13 + 21 |
3000 |
- |
0,9 |
|
|
1000 |
- |
0,5 |
|
14 + 22 |
3000 |
- |
0,9 |
|
|
|
2 |
3000 |
- |
1,0 |
АТСК «Пентаконта» |
22 |
- |
1500 |
- |
|
|
3400 |
- |
1,0 |
R(a + b) при соблюдении по затуханию |
25 + 23 |
28001) |
- |
1,6 или 1,3 |
1,3 при АТС-47 |
|
|
3 |
3000 |
1500 |
1,6 |
?? + 24 |
2800 |
- |
1,6 |
|
|
|
4 |
3000 |
- |
0,9 |
|
24 |
- |
1500 |
- |
|
|
5 |
2800 |
- |
1,6 или 1,3 |
1,3 при АТС-47 |
17 + 25 |
3000 |
- |
1,6 или 1,3 |
1,3 при АТС-47 |
|
6 |
3000 |
700 |
1,6 или 1,3 |
1,3 при АТС-47 РСЛ-3 и Rc - 1500 |
17, 25 |
- |
1500 на каждом участке |
- |
|
|
7 |
3000 |
1500 |
1,6 или 1,3 |
1,3 при АТС-47 |
13 + 26 |
2800 |
- |
1,6 или 1,3 |
1,3 при АТС-47 |
|
8 |
3000 |
- |
0.9 |
|
26 |
- |
1500 |
- |
|
|
9 + 10 |
В зависимости от проводности линии и типов комплектов РСЛ нормы по сопротивлению, емкости см. позиции, обозначенные суммой участков |
19 |
В зависимости от проводности линии и типов комплектов РСЛ нормы по сопротивлению и емкости см. позиции 5, 7, 8, 3, 4. |
||||||
|
13 + 23 |
2800 |
- |
0,9 |
|
|||||
|
15 + 21 |
2800 |
- |
0,9 |
|
27 |
3000 |
- |
0,5 |
При УСС АТС-54, АТС-54А |
|
12 + 20 |
3000 |
- |
1,6 |
|
|||||
|
12, 20 |
- |
1500 на каждом участке |
- |
|
2000 |
- |
0,5 |
- » - АТС-47 |
|
|
2600 |
- |
0,5 |
- » - АТСК |
||||||
|
13 + 11 |
|
|
|
|
13 + 28 |
|
|
|
|
|
13 |
3000 |
- |
0,9 |
|
13 |
3000 |
- |
0,8 |
|
|
11 |
3000 |
- |
0,9 |
|
28 |
2800 |
- |
1,6 |
|
|
15 + 23 |
|
|
|
|
15 + 11 |
|
|
1,6 |
|
|
15 |
2800 |
- |
1,6 |
|
15 |
2800 |
- |
0,9 |
|
|
28 |
2800 |
- |
1,6 |
|
11 |
3000 |
- |
|
|
1) При АТСКУ производства ГДР R(a + b) £ 2200 Ом.
Отсутствие стрелки означает, что электрические параметры одинаковы для исходящей и входящей связи.
В одном соединительном тракте допускается применение 3-х участков при использовании на 2-х из них компл. РСЛП, а на третьем - РСЛК, или на 2-х - РСЛК, а на 3-м - РСЛП.
5.1.1. Испытательно-измерительные столы (ИИС) для АТСКУ, АТС-АМЭ принимаются в количестве, приведенном в табл. 5.1.
При наличии на ГТС централизованного бюро ремонта (ЦБР) или автоматизированной системы технического обслуживания абонентов (АСТОА) на АТСКУ, АТС-АМЭ независимо от емкости устанавливается один ИИС.
Кроме того, для ТС АТСКУ, АТС-АМЭ независимо от мощности и для десятитысячного УБТС следует предусматривать один упрощенный испытательно-измерительный стол.
Для АТСКП (Пентаконта) следует предусматривать 2 испытательно-измерительных стола отечественного производства на емк. 10000 №№.
|
Емкость в номерах АТС |
Количество испытательно-измерительных столов |
|
|
универсальных |
упрощенных |
|
|
до 2000 |
1 |
- |
|
до 5000 |
1 |
1 |
|
до 7000 |
1 |
2 |
|
до 10000 |
1 |
3 (2)* |
|
до 20000 |
2 |
3 |
|
свыше 20000 |
2 |
4 |
Примечание: * - 3 или 2 по количеству стативов СД в тысячной группе минус 1.
Для АТС ИИС устанавливается один на здание для проверки прямых проводов.
5.1.2. На станциях СТС емкостью до 2000 номеров должен устанавливаться один испытательно-измерительный стол, а при емкости свыше 2000 номеров - два стола. На АТС типа АТСК-100/2000 отечественного производства для эксплуатационных проверок использовать прибор ИП-60. Для эксплуатационных проверок на АТСКУ Квант используется ИП-60, на ИАТСКЭ - испытательно-измерительный стол.
5.1.3. Количество столов справок на ГТС до 25000 номеров представлено в табл. 5.2.
5.1.4. На ГТС емкостью от 25000 №№ до 150000 №№ для организации справочной службы устанавливается комплекс оборудования АСПС.
Тип комплекса АСПС представлен в таблице 5.3.
|
Емкость ГТС в номерах |
Количество столов справок |
|
2000 - 4000 |
1 |
|
4000 - 6000 |
2 |
|
6000 - 8000 |
3 |
|
8000 - 10000 |
4 |
|
10000 - 13000 |
5 |
|
13000 - 16000 |
6 |
|
16000 - 19000 |
7 |
|
19000 - 22000 |
8 |
|
23000 - 25000 |
9 |
|
Емкость ГТС в номерах |
Тип комплекса АСПС |
|
25000 - 50000 |
АСПС-10 |
|
50000 - 100000 |
АСПС-26 |
|
100000 - 150000 |
АСПС-52 |
На ГТС емкостью свыше 150000 №№ для справочной службы устанавливается оборудование электронных АТС (СРВ, АРМ).
5.1.5. Количество столов справок справочной службы районного центра должно приниматься по нормам п. 5.1.3 и 5.1.4 по эквивалентной емкости, определяемой по формуле:
N = N1 + K N2
где: N1 - емкость ЦС, а при районированной сети - суммарная емкость всех АТС райцентра;
N2 - суммарная емкость ОС и УС;
К - коэффициент, показывающий насколько меньше вызываются спецслужбы райцентра абонентами ОС и УС по сравнению с абонентами ЦС. Этот коэффициент при отсутствии данных может быть принят равным 0,35.
5.1.6. На АТСК, АТСКУ, с числом таксофонов 80 и более должны устанавливаться столы контроля таксофонов (СКТА) из расчета один стол на 200 таксофонов и два стола при числе таксофонов от 200 до 400.
При организации на ГТС автоматизированной службы контроля таксофонов СКТА не устанавливается.
5.1.7. Для измерения телефонной нагрузки следует устанавливать:
а) на АТС типа АТСК, АТСКУ - один статив учета нагрузки (УН) на станцию емкостью до 5000 номеров и два статива на станцию емкостью до 10000 №№.
На АТС-АМЭ устанавливается оборудование УСИ и ЦЭУ, объем которого определяется в соответствии с указанным в ??????.
Для АТС КП - одна рама со счетчиками на станцию емк. до 10000 №№.
б) для АТС типа К-100/2000У отечественного производства - одна рама на 12 счетчиков на АТС до 500 номеров и дополнительно комплект на 12 счетчиков для АТС от 500 до 2000 номеров.
5.1.8. Для ТС АТСКУ следует предусматривать самостоятельную аппаратуру учета нагрузки по нормам п. 5.1.7, а также самостоятельные стативы СВУ и МГ, а именно по одному стативу СВУ и МГ на 5000 эквивалентных номеров.
Эквивалентную емкость узла из оборудования АТС типа АТСКУ, АТС-АМЭ следует определять по объему оборудования из расчета того, что 33 статива оборудования АТСКУ и 25 стативов АТС-АМЭ, включая промщиты, эквивалентны 1000 номерам абонентской емкости.
При установке в одном зале узлового оборудования координатного и декадно-шагового типа стативы СВУ устанавливаются самостоятельно для каждого типа оборудования.
При установке в одном зале узлового оборудования и оборудования ЛАЦ стативы МГ и СВУ должны быть общими.
5.1.9. Емкость кросса должна быть принята с учетом резерва: по линейной стороне 15 % для абонентского кросса и 30 % для кросса СЛ. По согласованию с заказчиком может быть предусмотрен резерв станционной стороны кросса для охранной сигнализации.
5.1.10. Количество кабеля для монтажа оборудования определяется по расчетам с резервом в размере 2 %, для ЭПУ - 6 %.
5.1.11. Нормативы материалоемкости на единицу мощности предприятий и сооружений связи приведены в томе 2.
5.1.12. Резервные платы и приборы для АТСКУ, АТС-АМЭ, АТС КП, АТСК 100/2000У, ЦСП необходимо учитывать в соответствии с методическими руководствами по проектированию каждого типа оборудования, для АТСЭ резервные платы и приборы определяются заводом-поставщиком оборудования.
5.1.13. Ориентировочный расход станционного кабеля приведен в таблице 5.4.
5.2.1.1. В общей емкости проектируемой кабельной сети должен учитываться запас, размер которого для различных участков сети не должен превышать величин, приведенных в табл. 5.5.
Ориентировочные нормы потребности в станционных кабелях
|
Тип кабелей |
Единица измерения |
Типы сетей и сооружений |
Нормы потребности |
||||||||
|
Координ. оборудование |
Квазиэлектр. оборудование |
Электрон. оборудование |
|||||||||
|
Всего |
в том числе |
Всего |
в том числе |
Всего |
в том числе |
||||||
|
АТС |
МСС |
АТС |
МСС |
АТС |
МСС |
||||||
|
ТСВ |
км на 1000 №№ монтир. емкости |
Городские телефонные сети нерайонированные |
7,1 |
7,1 |
- |
3,0 |
3,0 |
- |
- |
- |
- |
|
районированные без узлов |
8,5 |
7,1 |
1,4 |
4,4 |
3,0 |
1,4 |
- |
- |
- |
||
|
районированные с УВС |
10,0 |
8,0 |
2,0 |
- |
- |
- |
4,4 |
2,4 |
2,0 |
||
|
районированные с УИС, УВС |
11,5 |
8,3 |
3,2 |
- |
- |
- |
5,7 |
2,5 |
3,2 |
||
|
Сельские телефонные сети с: |
|
|
|
|
|
|
|
|
|
||
|
координатными АТС |
|
|
|
|
|
|
|
|
|
||
|
типа 50/200 |
4,8 |
3,7 |
0,9 |
- |
- |
- |
- |
- |
- |
||
|
типа 100/2000 |
8,9 |
8,0 |
0,9 |
- |
- |
- |
- |
- |
- |
||
|
квазиэлектронными |
|
|
|
|
|
|
|
|
|
||
|
до 500 №№ |
- |
- |
- |
2,5 |
1,6 |
0,9 |
- |
- |
- |
||
|
свыше 500 №№ |
- |
- |
- |
3,1 |
2,2 |
0,9 |
- |
- |
- |
||
|
Наименование сети |
Участок прокладки |
Проектируемый запас |
|
|
от |
до |
||
|
Магистральная |
Станции |
Распределительного шкафа или кросса УПАТС |
2 |
|
Станции |
Оконечных устройств (распределительных коробок или кабельных ящиков) |
10 |
|
|
Распределительного шкафа 1 класса |
Распределительного шкафа 5 класса |
2 |
|
|
Распределительная |
Распределительного шкафа |
Оконечных распределительных устройств (распределительных коробок, кабельных ящиков) |
10 |
|
Межстанционная |
Станции ГТС, СТС |
Станции ГТС, СТС, АМТС (МТС) |
2 - 3 |
Примечания.
1. Проектируемый запас кабелей - отношение их свободной емкости к емкости, предусмотренной к задействованию, исчисленное в процентах.
2. В районах обслуживания АТС, где достигается телефонная плотность 1 телефон на одну квартиру, следует предусматривать запас по распределительной сети не более 3 %.
5.2.1.2. При расчете емкости кабельной сети необходимо руководствоваться следующими требованиями и нормами:
- для организации некоммутируемых каналов (прямых проводов) предусматривать до 5 % пар от емкости проектируемой абонентской сети. Конкретную потребность в прямых проводах определять при проектировании по данным заказчика. На межстанционной сети количество пар для организации некоммутируемых каналов определяется потребностью, но не должно превышать 10 % суммарной емкости проектируемых и существующих кабелей по каждому направлению;
- число таксофонов следует предусматривать в объеме - 2 - 4 % емкости проектируемой АТС;
- кабельную емкость абонентской сети для жилых зданий необходимо предусматривать в городах, поселках городского типа и сельской местности - в соответствии с действующими Нормами телефонной плотности. Число спаренных квартирных телефонов следует предусматривать в объеме до 40 % от общего количества телефонных аппаратов индивидуального квартирного сектора (без учета телефонных аппаратов, включенных в подстанцию);
- в радиусе 500 м от АТС необходимо предусматривать включение абонентских устройств непосредственно от кабелей магистральных участков абонентской сети ГТС (прямое питание);
- на ОПС, ОПТС при телефонной плотности 1 телефон на 1 квартиру и многоэтажной застройке следует применять прямое питание независимо от расстояния от станции до зданий;
- в районах временного обслуживания от проектируемой АТС, где на следующих этапах развития планируется строительство новой АТС, следует предусматривать прокладку кабелей емкостью, не превышающей количества соединительных линий от проектируемой до будущей АТС.
5.2.1.3. Максимальная загрузка кабельных распределительных шкафов не должна превышать величин, приведенных в таблице 5.6.
|
Максимальное число магистральных пар |
Емкость кабельного распределительного шкафа |
|
500 |
1200 ´ 2 |
|
250 |
600 ´ 2 |
|
130 |
300 ´ 2 |
|
50 |
150 ´ 2 |
5.2.2.1. При определении потребного количества прокладываемых кабелей в проектах должны предусматриваться их запасы с учетом неровности местности, укладки кабелей в грунт, а также выкладки их по форме котлованов, колодцев и расхода на разделку концов кабелей при проведении электрических измерений, испытаний и сращивания их строительных длин. Нормы расхода кабелей на 1 км трассы приведены в табл. 5.7.
|
Вид прокладки кабеля |
Количество кабеля на 1 км трассы (км) |
|
Электрические кабели |
|
|
В грунте |
1,02 |
|
В кабельной канализации |
1,02 |
|
В коллекторе |
1,01 |
|
Через водные преграды |
определяется проектом* |
|
В грунтах, подверженных пучению |
1,04 |
|
Подвесные кабельные линии связи |
1,025 |
|
Оптические кабели |
|
|
В грунте |
1,02 |
|
В кабельной канализации |
1,057 |
|
В коллекторе |
1,057 |
Примечания.
1. Длина электрических и оптических кабелей на смонтированных усилительных (регенерационных) участках должна соответствовать протяженности трассы с учетом К = 1,01.
2. *) Допускается превышение (до 14 %) длины кабеля по сравнению с шириной реки по зеркалу воды.
5.2.2.2. Минимальные расстояния от кабелей связи, трубопровода кабельной канализации до других подземных и наземных сооружений при сближении или пересечении с последним должны соответствовать нормам, приведенным в таблице 5.8.
5.2.2.3. Глубина прокладки подземных кабелей связи (бронированных и небронированных местных сетей ГТС и СТС) в грунтах I - IV группы должна быть:
- 0,8 м - вне населенных пунктов;
- 0,7 м - в населенных пунктах.
При необходимости прокладки кабелей на глубине менее указанной должна предусматриваться дополнительная защита кабелей от механических повреждений в виде укладки над кабелем кирпича (бетонных плит) поверх слоя просеянной земли или песчаного грунта толщиной 0,1 м.
5.2.2.4. Глубина прокладки подземных кабелей связей в грунтах V группы и выше, а также в грунтах IV группы, разрабатываемых взрывным способом или отбойными молотками, должна быть не менее:
- при выходе скалы на поверхность - 0,4 м для всех типов кабелей (глубина траншей 0,5 м);
- при наличии над скальной породой поверхностного почвенного слоя - 0,6 м для всех кабелей (глубина траншей 0,7 м).
При этом заглубление в твердую породу (скалу) должно быть не более 0,4 м (глубина траншей 0,5 м).
|
Наименование сооружений |
Минимальное расстояние (в свету) до кабелей связи, РТС и кабельной канализации, м |
|
|
параллельное прохождение |
пересечение |
|
|
I. По условиям производства работ и обеспечения бесперебойного действия кабельных линий |
- |
|
|
Мосты магистральные автомобильных и железных дорог общегосударственного и республиканского значения: |
|
|
|
а) через внутренние водные пути, судоходные реки, каналы и водохранилища |
1000* ниже по течению |
|
|
б) через сплавные реки |
300* ниже по течению |
|
|
в) через несплавные и несудоходные реки |
50-100* ниже по течению |
|
|
Мосты автомобильных и железных дорог областного, местного и прочего значения: |
|
|
|
а) через судоходные реки и каналы |
200* ниже по течению |
|
|
б) через остальные реки |
50-100* ниже по течению |
|
|
Железные и автомобильные дороги (от края подошвы насыпи) |
5,0 |
Не менее 1 от полотна автомобильной дороги или подошвы рельсов и 0,8 ниже дна кювета при его наличии** |
|
Трамвайные пути |
2 от ближайшего рельса |
1 ниже подошвы рельса |
|
Путепроводы |
Определяется проектом |
- |
|
Кабельная канализация (от блоков и колодцев) |
0,25 |
0,1 |
|
Городская канализация |
0,5 |
0,25/0,15 |
|
Газопроводы высокого давления до 5395 кПа (до 55 кгс/см2), нефтепроводы и трубопроводы |
10,0** |
0,5/0,15 |
|
Газопроводы высокого давления от 588 до 1177 кПа (от 6 до 12 кгс/см2) |
1/3 |
0,5/0,15 |
|
Газопроводы высокого давления от 294 до 583 кПа (от 3 до 6 кгс/см2) |
1/2,0 |
0,5/0,15 |
|
Газопроводы среднего давления от 5 до 294 кПа (от 0,05 до 3 кгс/см2) |
1/1,5 |
0,5/0,15 |
|
Газопроводы низкого давления 5 кПа (0,05 кгс/см2) |
1,0 |
0,5/0,15 |
|
То же, на стенах зданий |
1,0 |
- |
|
Водопроводы разводящей сети диаметром до 300 мм |
0,5 |
0,25/0,15 |
|
Сточная канализация |
0,5 |
0,25/0,15 |
|
Водопроводы разводящей сети диаметром свыше 300 мм |
1,0 |
0,25/0,15 |
|
Теплосети с учетом температурных компенсаторов |
1,0 |
0,25/0,15 |
|
Дренажи и водостоки |
0,5 |
-/0,15 |
|
Общие коллекторы для подземных сетей |
1,0 |
- |
|
От красной линии домов в городах и поселках городского типа |
1,5 (допускается в отдельных случаях отклонение от указанной нормы с учетом местных условий) |
- |
|
Бортовой камень улицы, дороги |
1,5 |
- |
|
Стволы существующих деревьев на городской трассе |
1,5 |
- |
|
Кабели связи магистральной, внутризоновых сетей и соединительные линии местных сетей с использованием систем передачи |
0,5/0,25 (при условии разработки траншей ручным способом |
-/0,1 |
|
Неуплотненные однопарные кабели СТС |
0,1/- При параллельной прокладке на длине не более 5 км совместно в одной траншее |
-/0,1 |
|
Силовые кабели |
0,5***, *4 |
0,5/0,15 |
|
Кабели радиотрансляционных сетей I класса |
1,0 |
-/0,25 |
|
Кабели радиотрансляционных сетей II класса |
0,5 |
-/0,25 |
|
Стены или опоры тоннелей и путепроводов (на уровне или ниже основания) |
0,5 |
- |
|
Насыпи или бровки каналов |
1,0 от подошвы насыпи или бровки канала |
- |
|
Оросительные каналы |
1,5 от бровки каналов при непросадочных грунтах |
- |
|
II. По условиям защиты кабелей связи |
|
|
|
Опоры ВЛ, напряжением 750 кВ или ближайшие электроды их заземлителей, при удельном сопротивлении грунта: |
|
|
|
- до 100 Ом·м |
15 |
|
|
- от 101 до 500 Ом·м |
25 |
|
|
- от 501 до 1000 Ом·м |
40 |
|
|
- от 1001 Ом·м и более |
50 |
|
|
Опоры ВЛ, напряжением 110 - 500 кВ или ближайшие электроды их заземлителей при удельном сопротивлении грунта: |
|
|
|
- до 100 Ом·м |
10,0*5 |
|
|
- от 101 до 500 Ом·м |
25,0* |
|
|
- от 501 до 1000 Ом·м |
35,0*5 |
|
|
- от 1001 Ом·м и более |
50,0*5 |
|
|
Опоры контактных сетей наземного электротранспорта, светофоров железнодорожных и ВЛ напряжением от 1 до 35 кВ или ближайшие электроды их заземлителей при удельном сопротивлении грунта: |
|
|
|
- до 100 Ом·м |
|
|
|
- от 101 до 500 Ом·м |
10,0*5 |
|
|
- от 501 до 1000 Ом·м |
11,0*5 |
|
|
- от 1001 Ом·м и более |
|
|
|
Заземлители деревянных опор или незаземленные железобетонные опоры ВЛ и контактных сетей наземного электротранспорта с напряжением сети до 1000 В: |
|
|
|
- в населенный местности |
3,0*6 |
|
|
- в ненаселенной местности |
10,0*5, *6 |
|
|
Незаземленные деревянные опоры ВЛ напряжением до 1000 В: |
|
|
|
- в населенный местности |
2,0 |
|
|
- в ненаселенной местности |
5,0*5 |
|
|
- в стесненных условиях |
1,0*7 |
|
|
Заземлители молниеотводов воздушных линий связи |
25,0 |
|
|
Опоры воздушных линий связи |
Определяется по расчету проектом*8 |
|
|
Рельсы трамвайных путей и электрических железных дорог постоянного тока |
Определяется проектом*8 |
|
* Возможность прокладки кабеля выше моста определяется проектом. Расстояние от моста уточняется при согласовании кабельного перехода с организацией, регулирующей судоходство и сплав, но оно не должно быть меньше указанного в табл. 6.3. Указанные нормы не распространяются на кабельные переходы, осуществляемые на территории городов и поселков городского типа.
** В случае дополнительной защиты кабелей от механических повреждений в кювете в виде покрытия кабеля (кирпичом, бетонными плитами и др.) это расстояние может быть уменьшено до 0,5 м.
*** Расстояние от газопроводов или силовых кабелей до кабелей связи при их сближении в русле реки на кабельных переходах определяется проектом.
*4 Допускается уменьшение расстояний прокладки кабелей связи в трубах от силовых кабелей напряжением до 10 кВ: НЧ кабелей 0,1 м; ВЧ кабелей 0,25м.
*5 В стесненных условиях на пересечениях с ВЛ эти расстояния могут быть уменьшены до 5 м прокладкой кабелей связи в стальных трубах (покрытие швеллером) по длине, равной расстоянию между крайними проводами плюс 10 м с каждой стороны от крайних проводов. По условиям защиты от ударов молний эти расстояния также могут быть уменьшены при условии прокладки грозозащитных тросов в соответствии с действующим руководством по защите подземных кабелей связи от ударов молнии.
*6 При прокладке кабелей связи и РТС в каналах кабельной канализации расстояния от опор ВЛ до блоков труб и смотровых устройств могут быть уменьшены соответственно до 1 и 2 м.
*7 Кабель должен быть проложен в стальной трубе или покрыт швеллером или угловой сталью по длине в обе стороны относительно опоры не менее 3 м.
*8 Для однопарных кабелей сельской связи и кабелей радиотрансляционных сетей расстояния определяются условиями производства работ.
Примечания.
1. В числителе указаны расстояния при прокладке кабелей непосредственно в грунте, в знаменателе - в трубах, а при отсутствии дроби - для обоих случаев.
2. Кабели и кабельная канализация прокладываются:
- выше канализационных и водопроводных сетей;
- выше или ниже кабелей связи и силовых кабелей, продуктопроводов, газопроводов, нефтепроводов и теплосетей.
3. При сближениях и пересечениях трассой кабеля воздушных линий связи в населенных пунктах прокладка кабеля должна производиться на расстоянии не менее 1 м от их опор, подпор и оттяжек. При невозможности соблюдения указанного расстояния в стесненных условиях необходимо предусматривать защиту кабеля от механических повреждений в виде покрытия его кирпичом или бетонными плитами в охранной зоне линии.
В вечномерзлых грунтах и в грунтах с глубоким сезонным промерзанием глубина прокладки кабеля должна определяться проектом в соответствии с рекомендациями, изложенными в «Техническом указании по проектированию, строительству и эксплуатации кабельных линий связи в районах вечной мерзлоты», Минсвязи СССР.
5.2.2.5. Минимальные расстояния при кабельном переходе по горизонтали в свету от условной оси перехода через железные дороги должны приниматься:
- до стрелок и крестовин железнодорожного пути и мест присоединения отсасывающих кабелей к рельсам электрифицированных железных дорог - 10 м;
- до стрелок и крестовин железнодорожного пути при ????? грунтах - 20 м;
- до труб, тоннелей и других искусственных сооружений - 30 м;
- до стрелок и крестовин трамвайных путей - 3 м.
5.2.2.6. Число прокладываемых труб на переходах должно предусматриваться, исходя из норм загрузки каналов кабелями различного назначения, приведенных в разделе, с учетом необходимых резервных труб согласно таблицы 5.9.
|
Число труб, прокладываемых через автомобильные и железные дороги |
Число резервных труб |
|
от 1 до 3 |
1 |
|
от 4 до 8 |
2 |
Примечания.
1. Для абонентских кабелей СТС резервные трубы предусматриваться не должны.
2. Для прокладки однопарных кабелей сельских телефонных сетей на пересечениях через автомобильные и железные дороги допускается прокладка асбестоцементных или полиэтиленовых труб с внутренним диаметром менее 100 мм.
5.2.2.7. Расстояния между кабелями проводного вещания, прокладываемыми в кабельной канализации, коллекторах, технических подпольях, помещениях ввода кабелей и непосредственно в грунте с кабелями связи должно быть не менее величин, приведенных в табл. 5.10 с учетом п. 5.2.2.3 (при прокладке кабелей в грунт).
|
Назначение кабеля проводного вещания и номинальное напряжение в нем, В |
Длина параллельного пробега, км |
Допустимое расстояние, см |
|||
|
между кабелями ???? и НЧ кабелем связи |
между кабелями ????? и ВЧ кабелями |
между кабелями ???? и ВЧ кабелями связи |
|||
|
в кабеле связи нет цепей звукового вещания |
в кабеле связи есть цепи звукового вещания |
||||
|
Магистральный фидер НЧ-900, ВЧ-120 |
0,05 |
4 |
11 |
32 |
14 |
|
0,5 |
12 |
34 |
65 |
30 |
|
|
1,0 |
13 |
36 |
78 |
34 |
|
|
2,0 |
14 |
41 |
88 |
38 |
|
|
Распределительный фидер НЧ-240, ВЧ-30 |
0,05 |
2 |
6 |
16 |
7 |
|
0,5 |
6 |
17 |
35 |
15 |
|
|
1,0 |
6 |
19 |
39 |
17 |
|
|
2,0 |
6 |
20 |
44 |
19 |
|
|
3,0 |
7 |
22 |
46 |
20 |
|
|
4,0 |
8 |
23 |
47 |
20 |
|
5.2.2.8. Ориентировочный расход линейного кабеля с учетом поправочных коэффициентов на проектную среднюю длину абонентских и соединительных линий приведен в таблицах 5.11 - 5.14.
5.2.3.1. При расчете числа каналов кабельной канализации для первого и последующего этапов развития сети необходимо учитывать следующее:
- на всех участках, где определена необходимость прокладки распределительных кабелей, следует предусматривать один распределительный канал (необходимость дополнительного канала для распределительных кабелей на отдельных участках должна обосновываться проектом) В исключительных случаях, при обосновании в проекте, допускается прокладка кабелей емкостью до 200 пар магистрального участка абонентской сети в кабельной канализации, предназначенной для прокладки распределительного кабеля;
- в кабельной канализации, где предусматривается прокладка хотя бы в одном из каналов одного или нескольких кабелей на магистральных участках абонентской сети общей емкостью 400 пар или более, а также, где емкость существующих кабелей в одном из каналов равна или превышает 400 пар, следует предусматривать один резервный канал на случай замены поврежденного кабеля;
- на участках между магистральными направлениями кабельной канализации и распределительными шкафами емкостью 1200 ´ 2 должны предусматриваться четыре канала, при емкости распределительного шкафа 600 ´ 2 - три канала, при емкости шкафа 300 ´ 2 - два канала кабельной канализации, а при емкости шкафа 150 х 2 - один канал кабельной канализации.
Ориентировочные нормы потребности в линейных кабелях
|
Тип кабеля |
Единица измерения |
Типы сетей и сооружений |
Нормы потребности |
|||||
|
Координатное и квазиэлектронное оборудование |
Электронное оборудование |
|||||||
|
Всего |
в том числе |
Всего |
в том числе |
|||||
|
АТС |
МСС |
АТС |
МСС |
|||||
|
ТГ, ТБ, ТПП |
км фондового исчисления на 1000 №№ вводимой емкости |
Линейные сооружения |
|
|
|
|
|
|
|
- нерайонированной сети |
36 |
36 |
- |
- |
- |
- |
||
|
- районированной без узлов |
44,6 |
32,8 |
11,8 |
38,0 |
28,8 |
9,2 |
||
|
- районированной с УВС |
43,5 |
31,3 |
12,2 |
36,9 |
28,8 |
8,1 |
||
|
- районированной с УИС, УВС |
38,4 |
30,5 |
7,9 |
34,6 |
26,7 |
7,9 |
||
|
- Московская ГТС |
40,5 |
26,7 |
13,8 |
40,5 |
26,7 |
13,8 |
||
|
- сельской телефонной сети |
28,3 |
28,3 |
- |
- |
- |
- |
||
|
ПРППМ |
км на 1000 №№ вводимой емкости АТС |
- сельской телефонной сети |
|
|
|
|
|
|
|
емк. АТС до 200 №№ |
- |
210 |
- |
- |
- |
- |
||
|
емк. АТС свыше 200 №№ |
- |
50 |
- |
- |
- |
- |
||
|
КСПЛ |
км на 1000 №№ вводимой емк. оконечных и узловых АТС |
- сельской телефонной сети |
135 |
- |
135 |
- |
- |
- |
|
Тип сетей |
Поправочные коэффициенты при средней длине абонентской линии (км) |
|||||||
|
1,0 |
1,2 |
1,4 |
1,6 |
1,8 |
2,0 |
2,2 |
2,5 |
|
|
АТСК |
|
|
|
|
|
|
|
|
|
Нерайонирован. |
0,62 |
0,71 |
0,81 |
0,90 |
1,0 |
1,1 |
1,19 |
1,34 |
|
Районир. без УВС |
0,68 |
0,79 |
0,89 |
1,0 |
1,10 |
1,21 |
1,32 |
1,51 |
|
Районир. с УВС |
0,77 |
0,89 |
1,0 |
1,11 |
1,23 |
1,35 |
1,47 |
1,64 |
|
Районир. с УВС и УИС |
0,87 |
1,0 |
1,13 |
1,26 |
1,38 |
1,51 |
1,64 |
1,83 |
|
АТСЭ |
|
|
|
|
|
|
|
|
|
Сеть без узлов и с УВС |
0,88 |
1,0 |
1,12 |
1,25 |
1,37 |
1,50 |
1,62 |
1,81 |
|
Сеть с УВС и УИС |
1,0 |
1,14 |
1,28 |
1,42 |
1,57 |
1,70 |
1,85 |
2,06 |
|
Типы сетей |
Поправочные коэффициенты при средней длине соединительной линии (км) |
||||||||
|
3 |
4 |
5 |
8 |
10 |
12 |
15 |
20 |
25 |
|
|
Районир. без УВС |
0,93 |
0,96 |
1,0 |
1,10 |
1,17 |
1,24 |
1,35 |
- |
- |
|
Районир. с УВС |
0,76 |
0,80 |
0,83 |
0,93 |
1,0 |
1,07 |
1,17 |
1,34 |
1,51 |
|
Районир. с УВС и УИС |
0,36 |
0,41 |
0,46 |
0,62 |
0,73 |
0,84 |
1,0 |
1,27 |
1,54 |
|
Тип сети |
Поправочные коэффициенты при средней длине абонентской линии (км) |
||||||
|
1,0 |
1,3 |
1,7 |
2,0 |
2,2 |
2,5 |
3,0 |
|
|
Абонентская сеть СТС |
0,51 |
0,60 |
0,84 |
1,0 |
1,07 |
1,21 |
1,45 |
5.2.3.2. Типы смотровых устройств (колодцев) кабельной канализации на сетях связи определяются емкостью вводимых в них труб или блоков с учетом перспективы развития сети и должны соответствовать требованиям, приведенным в табл. 5.15.
5.2.3.3. На сетях связи должны применяться типовые железобетонные колодцы: полносборные, сборные двухзвенной конструкции, специального типа, а также кирпичные. Проектами преимущественно должны предусматриваться полносборные и сборные железобетонные колодцы. Допускается применение кирпичных колодцев в сухих грунтах в случаях, когда для отдельных объектов строительства требуется их небольшое количество, а также при строительстве нетиповых и станционных колодцев, переустройстве существующих с большой загрузкой их кабелями.
Применение кирпичных колодцев или колодцев из других местных материалов должно быть обосновано.
5.2.3.4. При необходимости увеличения емкости существующей кабельной канализации допускается вместо реконструкции колодцев строительство новых с размещением их рядом с существующими.
На межстанционных и головных участках перспективных магистральных трасс на районированных сетях кабельные колодцы малого типа (ККС-3) в проектах не предусматривать.
5.2.3.5. Колодцы для размещения контейнеров НРП следует устанавливать в непосредственной близости от трассы кабельной канализации, но не далее 10 м от существующих колодцев.
В стесненных условиях допускается увеличение этого расстояния до 50 м.
Емкость соединительного блока кабельной канализации должна приниматься с учетом требований п. 5.2.3.4, но не менее 4 каналов.
|
Тип смотрового устройства (колодца) |
Максимальная емк. блока, вводимого в колодец |
Число каналов в основании блока |
Назначение |
|
ККС-1 |
1 |
1 |
Устанавливается на распределительных сетях при длине пролета до 60 м. Допускается монтаж муфт кабелей ТПП до 50 пар. При транзитной прокладке кабеля (без муфт) емкость проходящих кабелей не должна превышать 200 пар |
|
ККС-2 |
2 |
2 |
Допускается монтаж муфт кабелей ТПП до 200´2´0,5 или 300´2´0,32 |
|
ККС-3 |
6 |
2 |
Допускается монтаж муфт кабелей ТПП до 400´2´0,5 |
|
3 |
ТГ до 600´2´0,5, ТПП с диам. 0,32 до 800´2 |
||
|
ККС-4 |
12 |
2 |
Допускается монтаж кабелей местных сетей емкостью до 1200х2 |
|
3 |
|||
|
4 |
|||
|
ККС-5 |
24 |
4 |
Допускается монтаж кабелей местных сетей всех емкостей и установка НРП аппаратуры ИКМ для ГТС |
|
6 |
|||
|
Станционное смотровое устройство ККССр-1 |
36 |
|
Колодец кабельной канализации связи специального типа, разветвительный на 36 каналов |
|
Станционное смотровое устройство ККССр-1 |
48 |
|
Колодец кабельной канализации связи специального типа, разветвительный на 48 каналов |
|
Специальный колодец ККС-5М |
|
|
Колодец кабельной канализации связи для размещения контейнеров НРП К-12 аппаратуры ИКМ-30-4, НРП-6 аппаратуры ИКМ-120-4/5 |
Примечание: Возможность размещения и монтажа муфт кабелей других типов в колодцах должна определяться при разработке проектной документации, исходя из допустимого радиуса их изгиба, размеров муфты, с учетом геометрических размеров смотрового устройства.
5.2.3.6. При шкафной системе построения городской телефонной сети, в зависимости от телефонной плотности, должны применяться телефонные распределительные шкафы емкостью 1200 ´ 2, 600 ´ 2, 300 ´ 2 и 150 ´ 2, как правило, устанавливаемые внутри жилых и общественных зданий (в подъездах, коридорах или специально выделенных помещениях). В исключительных случаях, когда внутри жилых и общественных зданий отсутствуют помещения для размещения распределительных шкафов, допускается их установка у наружных стен зданий или вблизи их.
5.2.3.7. Ввод труб и кабелей в распределительные шкафы, устанавливаемые внутри зданий, должен выполняться непосредственно в шкаф. Установка шкафных колодцев в зданиях не допускается.
5.2.3.8. Заглубление трубопроводов при пересечении рельсовых путей трамвая, железных и автомобильных дорог должно приниматься в соответствии с нормами, приведенными в таблице 5.16.
|
Тип труб по материалу |
Минимальное расстояние от поверхности грунта (дорожного покрова) до верха трубы, м |
||
|
под рельсовыми путями трамвая |
под рельсовыми путями железных дорог |
под автомобильными дорогами |
|
|
Асбестоцементные и полиэтиленовые |
1,0 |
Методом продавливаний, горизонтальное бурение - 2,0 |
1,4 |
|
Бетонные |
1,0 |
При проколе - 2,5 м |
- |
Примечания.
1. При прокладке труб на меньшей глубине должна предусматриваться дополнительная механическая защита из железобетонных плит, слоя бетона и др.
2. Прокладка полиэтиленовых труб под проезжей частью улиц без защитных кожухов запрещается.
5.2.3.9. Расстояния между колодцами кабельной канализации не должна превышать 150 м, а при прокладке кабелей ТПП с количеством пар 1400 и выше - 120 м. В проектах должны, как правило, предусматриваться пролеты максимально допустимой длины
6.1. Режим работы оборудования станций ГТС и СТС должен быть круглосуточным, не допускающим перерыва в течение всего срока службы.
6.2. Среднемесячная норма рабочего времени при 7-часовом рабочем дне принимается равной 173 часам.
6.3. Техническое обслуживание станций координатной и новых систем на ГТС должно осуществляться в две смены по контрольно-корректирующему методу, а ПС - с периодическим обслуживанием.
6.4. Основным способом организации технического обслуживания ГТС должен быть централизованный способ.
6.5. Техническое обслуживание станций СТС должно осуществляться:
- ЦС, ОС и УС емкостью 500 №№ и выше (с учетом емкости узла) в одну смену;
- ОС и УС емкостью до 500 №№ - периодически по мере необходимости персоналом ЦС и УС.
6.6. Численность обслуживающего персонала станционных сооружений ГТС и СТС должна приниматься по нормативам численности, приведенным в приложении 2 и 3 тома II.
6.7. Автоматическую контрольно-испытательную аппаратуру следует предусмотреть согласно инструкции по эксплуатации в соответствии с изложенным в Методических руководствах по проектированию каждого типа АТС.
7.1.1. Выбор типов и марок кабелей, а также их емкость, применяемых для строительства линейных сооружений ГТС и СТС, должен производиться в зависимости от назначения кабельной линии, условий прокладки в соответствии с ТУ и ГОСТами, на основании технико-экономических показателей.
Области применения кабелей определяются климатическими зонами территории СНГ в зависимости от суммы среднемесячных отрицательных температур воздуха, исчисляемых за год в соответствии с ГОСТ 18350-80 «Климат. Районирование и статистические параметры климатических факторов для технических цепей». При необходимости замена предусмотренной в проекте марки кабеля производится по согласованию с заказчиком.
Область применения и электрические параметры кабелей на ГТС и СТС приведены в таблицах 7.1 - 7.4.
7.2.1. Прокладка кабелей при необходимости должна предусматриваться, как правило, в существующей кабельной канализации местных городских и сельских телефонных сетей, и только при отсутствии такой возможности, следует предусматривать постройку новой или докладку каналов к существующей кабельной канализации.
|
Наименование кабелей и проводов по ГОСТ или ТУ |
Марки кабелей и проводов |
Число пар, четверок, ??? сечение жил |
ГОСТ, ТУ |
Область применения |
|
1. Кабель местной связи с полиэтиленовой изоляцией и полиэтиленовой оболочкой |
КСПП |
1´4´0,9 |
ТУ-16К71-061-89 |
Для прокладки в грунте, не подверженном смещению, и в районах, не характеризующихся повышенной опасностью повреждения грызунами |
|
2. То же, с гидрофобным заполнением |
КСПЗП |
1´4´0,64, 1´4´0,9 |
- » - |
То же, в условиях повышенной влажности |
|
3. Кабель местной связи с полиэтиленовой изоляцией, бронированный, с полиэтиленовой оболочкой |
КСППБ |
1´4´0,9 2´4х0,9 |
- » - |
Для прокладки в грунте, не подверженном смещению, и в районах, не характеризующихся повышенной коррозионной опасностью по отношению к стальной броне |
|
4. То же, с гидрофобным заполнением |
КСПЗПБ |
1´4´0,9, 2´4´0,9 |
- » - |
То же, в условиях повышенной влажности |
|
5. Кабель телефонный с полиэтиленовой изоляцией в полиэтиленовой оболочке с алюмополиэтиленовым экраном |
ТППэп |
10÷2400´2´0,32 10÷1200´2´0,4 5÷900´2´0,5 10÷500´2´0,64 |
ГОСТ 22498-88 |
Для прокладки в телефонной канализации, в коллекторах, шахтах, по стенам зданий и подвески на воздушных линиях связи |
|
6. То же, с гидрофобным заполнением |
ТППэпЗ |
10÷300´2´0,32 10÷300´2´0,4 5÷300´2´0,5 10÷100´2´0,64 |
- » - |
То же, в условиях повышенной влажности |
|
7. Кабель телефонный с полиэтиленовой изоляцией в полиэтиленовой оболочке с алюминиевым экраном, бронированный стальными лентами с наружным защитным покровом |
ТППэпБ |
10÷600´2´0,4 10÷600´2´0,5 10÷500´2´0,64 |
- » - |
Для прокладки в грунтах всех категорий, не характеризующихся повышенной коррозионной активностью по отношению к стальной броне, не подверженных мерзлотным деформациям |
|
8. То же, с гидрофобным заполнением |
ТППэпЗБ |
10÷300´2´0,32 10÷300´2´0,4 10÷300´2´0,5 10÷100´2´0,64 |
- » - |
То же, в условиях повышенной влажности |
|
9. Кабель телефонный с полиэтиленовой изоляцией в полиэтиленовой оболочке с алюминиевым экраном со встроенным тросом |
ТППэпт |
10÷100´2´0,5 10÷100´2´0,64 |
- » - |
Для подвески на опорах |
|
10. Кабель телефонный с полиэтиленовой изоляцией с алюминиевым экраном, в поливинилхлоридной оболочке |
ТПВ |
10÷100´2´0,4 10÷100´2´0,5 10÷100´2´0,64 |
- » - |
Для прокладки по наружным и внутренним стенам зданий, внутри помещений и подвески на опорах |
|
11. Кабель телефонный с воздушно-бумажной изоляцией в свинцовой оболочке |
ТГ |
10÷1200´2´0,5 10÷600´2´0,64 |
ТУ 16.К71-008-87 |
Для прокладки в канализации, в коллекторах, по стенам зданий, подвески на опорах, в среде нейтральной по отношению к свинцовой оболочке, в районах не характеризующихся повышенным электромагнитным влиянием |
|
12. Кабель телефонный с воздушно-бумажной изоляцией в свинцовой оболочке, с защитным покровом типа Б |
ТБ |
10÷1200´2´0,5 10÷600´2´0,64 |
- » - |
Для прокладки в грунтах, нейтральных по отношению к свинцовой оболочке, если кабель не подвергается значительным растягивающим или сдавливающим усилиям, в районах, не характеризующихся повышенным электромагнитным влиянием |
|
13. То же, в свинцовой оболочке с защитным покровом типа БпШп |
ТБпШп |
10÷1200´2´0,5 10÷600´2´0,64 |
- » - |
То же, но в грунтах, агрессивных по отношению к свинцовой оболочке и стальной броне |
|
14. То же, в свинцовой оболочке с защитным покровом типа К |
ТК |
20÷600´2´0,5 20÷600´2х0,64 |
- » - |
Для вертикальной прокладки и прокладки через горные, судоходные и сплавные реки, их затопляемые и заболоченные поймы, болота глубиной более 2 м, а также грунтах, подверженных смещению в районах, не характеризующихся повышенным электромагнитным влиянием |
|
15. Кабель местной телефонной связи малопарный с медными жилами, с полиэтиленовой изоляцией, с гидрофобным заполнением, с защитным покровом типа БоШп |
КТПЗБоШп |
5÷10 пар |
ТУ 16.К71-007-87 |
Для прокладки в грунтах различной категории, в канализации и для подвески на опорах воздушных линий связи |
|
16. Кабель телефонной связи распределительный, однопарный с медными жилами, с полиэтиленовой изоляцией в полиэтиленовой оболочке |
ПРППМ |
1´2´0,9 1´2´1,2 |
ТУ 16.705.450-86 |
Кабели предназначены для прокладки в грунте, телефонной канализации, коллекторах, по стенам зданий. Допускается прокладка кабелей ПРППМ на опорах воздушных линий в районах не подверженных сильным гололедам и ветрам |
|
17. Кабель симметричный, высокочастотный, в алюминиевой оболочке с защитным покровом типа Шп |
МКСАШп |
4´4´1,2 7´4´1,2 |
ГОСТ 15125-76 |
Для прокладки в телефонной канализации, трубах, блоках при отсутствии механических воздействий на кабель, в среде, агрессивной по отношению к оболочке, в районах, не характеризующихся повышенным электромагнитным влиянием |
|
18. То же, в стальной гофрированной оболочке с защитным покровом типа Шп |
МКССтШп |
4´4´1,2 7´4´1,2 |
- » - |
То же, и для прокладки по мостам и через несудоходные реки с незаболоченными и устойчивыми берегами и спокойным течением воды (обязательным заглублением в дно) целой строительной длиной |
|
19. То же, в свинцовой оболочке с защитным покровом типа БШп |
МКСБШп |
4´4´1,2 7´4´1,2 |
- » - |
Для прокладки в грунтах, агрессивных к стальной броне, если кабель не подвергается значительным растягивающим усилиям, в районах, не характеризующихся повышенным электромагнитным влиянием |
|
20. То же, в свинцовой оболочке с защитным покровом типа БпШп |
МКСБпШп |
4´4´1,2 7´4´1,2 |
- » - |
То же, но в грунтах, агрессивных по отношению к свинцовой оболочке и стальной броне |
|
21. То же, в алюминиевой оболочке с защитным покровом типа БпШп |
МКСАБпШп |
4´4´1,2 7´4´1,2 |
- » - |
Для прокладки в грунтах всех категорий, кроме подверженных мерзлотных деформациям (выпучивание, морозобойные трещины), в районах, характеризующихся повышенным электромагнитным влиянием, и в воде при пересечении неглубоких болот, несудоходных и несплавных рек со спокойным течением воды |
|
22. То же, в алюминиевой оболочке с защитным покровом типа Бп |
МКСАБп |
4´4´1,2 7´4´1,2 |
- » - |
То же, но в грунтах, не агрессивных по отношению к стальной броне |
|
23. Кабель грозостойкий симметричный высокочастотный с кордельно-полистирольной изоляцией в алюминиевой оболочке с защитным покровом типа Шп |
МКГСАШп |
4´4´1,2 |
ТУ 16.К11-07-69 |
Для прокладки в районах характеризующихся повышенной грозодеятельностью, в грунтах I - III групп без каменистых включений и плывунов, кроме подверженных мерзлотным деформациям (выпучивание и морозобойные трещины) в телефонной канализации, трубах, блоках и по мостам |
|
24. То же, в алюминиевой оболочке с защитным покровом, состоящим из слоя вязкого подклеивающего состава или битума и полиэтиленового шланга, стальной гофрированной брони и наружного покрова типа Шп |
МКГСАСптШп |
4´4´1,2 |
- » - |
Для прокладки в районах характеризующихся повышенной грозодеятельностью и электромагнитным влиянием в грунтах всех групп, кроме подверженных мерзлотным деформациям (выпучивание и морозобойные трещины) и в воде при пересечении неглубоких болот, несудоходных и несплавных рек со спокойным течением воды |
|
25. Провод телефонный распределительный с медными жилами с полиэтиленовой изоляцией |
ТРП |
1´2´0,4 1´2´0,5 |
ГОСТ 20575-75 |
Предназначен для стационарной скрытой и открытой абонентской проводки телефонной распределительной сети и по наружным стенам зданий |
|
26. То же, м поливинилхлоридной изоляцией |
ТРВ |
1´2´0,4 1´2´0,5 |
- » - |
- » - |
|
27. Кабель телефонной станционный с медными жилами с изоляцией и оболочкой из поливинилхлоридного пластика |
ТСВ |
103´2´0,4 103´2´0,5 |
ТУ 16.К71-005-87 |
Предназначен для монтажа низкочастотного станционного оборудования |
Примечания.
1. ТППэп, ТПВэпЗ, ТППэпЗБ, ТППэпБ, ТППэпт, ТПВ применяются в условиях, не характеризующихся повышенным электромагнитным влиянием.
2. Для кабелей в тропическом исполнении к обозначению основной марки добавляется через дефис индекс «Т», «ТС», КСПЗП-Т, КСПЗПБ-Т, ТППэп-ТС, ТППэпБ-ТС, ТППэпЗ-Т, ТГ-Т, ТБ-Т, МКСВПп-Т, МКСБПШп-Т, МКСАБПшП-Т, ПРППМ-Т, ТСВ-Т, провод ТРП-Т.
|
Параметры |
Частота тока, кГц |
Нормы для кабелей типа |
||
|
Т (ТУ 16К71-008-87) |
ТП (ГОСТ 22498-88) |
МКС (ГОСТ 15125-76) |
||
|
Электрическое сопротивление токопроводящей жилы на 1 км при t = 20 °C, Ом |
постоянный ток |
|
|
|
|
0,32 мм |
- |
216 ± 13 |
- |
|
|
0,4 мм |
- |
139 ± 9 |
- |
|
|
0,5 мм |
90 ± 5 |
|
- |
|
|
0,64 мм |
55 ± 3 |
55 ± 3 |
- |
|
|
0,7 мм |
45 ± 3 |
45 ± 3 |
- |
|
|
1,2 мм |
- |
- |
15,85 |
|
|
Электрическое сопротивление изоляции токопроводящих жил, на 1 км при t = 20 °C, мОм, не менее: |
- » - |
|
|
|
|
для 100 % значений |
800 |
6500 |
10000 |
|
|
для 80 % значений |
- |
8000 |
- |
|
|
для кабелей с гидрофобным заполнением |
- |
5000 |
- |
|
|
Рабочая емкость пересчитанная на 1 км длины, НФ: |
|
|
|
|
|
для кабелей без гидрофобного заполнения |
0,8 или 1,0 |
- |
45 ± 5 |
- |
|
для кабелей с гидрофобным заполнением |
50 ± 5 |
|||
|
с изоляцией трубчато-бумажной j- 0,5/j - 0,64 |
- » - |
52/50 |
- |
- |
|
с изоляцией пористо-бумажной j - 0,5 |
- » - |
55/- |
- |
- |
|
для семичетверочных кабелей (кроме кабелей в стальной гофрированной оболочке) |
0,8 |
- |
- |
24,0 ± 0,8 |
|
Испытательное напряжение в течение 1 мин, В: |
|
|
|
|
|
между жилами рабочих пар |
0,05 |
- |
1000 |
- |
|
пост. ток |
- |
15000 |
- |
|
|
между жилами и алюминиевой оболочкой |
0,05 |
- |
5000 |
- |
|
пост. ток |
- |
75000 |
- |
|
|
Между жилами и экраном для кабелей на пост. напряжение до 315 В |
0,05 |
|
2000 |
|
|
пост. ток |
|
3000 |
|
|
|
Между жилами и экраном для кабелей на пост. напряжение до 220 В |
0,05 |
|
500 |
|
|
пост. ток |
|
750 |
|
|
|
Испытательное напряжение в течение 2 мин, В: |
|
|
|
|
|
между жилами и между жилами и оболочкой |
0,05 |
500 |
- |
- |
|
пост. ток |
750 |
- |
- |
|
|
Все жилы по отношению к оболочке |
0,05 |
- |
- |
2000 |
|
Коэффициент затухания |
|
|
|
|
|
0,32 мм |
0,8 |
- |
1,92/2,02 |
- |
|
0,4 мм |
- » - |
- |
1,54/1,64 |
- |
|
0,5 мм |
- » - |
- |
1,24/1,31 |
- |
|
0,64 мм |
- » - |
- |
0,97/1,02 |
- |
|
0,7 мм |
- » - |
- |
0,88/0,92 |
- |
|
То же, для кабелей с трубчатой изоляцией |
|
|
|
|
|
|
0,8 |
1,24/0,97 |
- |
- |
|
- » - с пористо-бумажной изоляцией d - 0,6 мм, дБ/км |
- » - |
1,91 |
- |
- |
|
То же, для кабелей в алюминиевой оболочке, дБ/км |
|
|
|
|
|
емк. 4 ´ 4 |
550 |
- |
- |
3,64 |
|
емк. 7 ´ 4 дБ/км |
- » - |
- |
- |
|
Электрические параметры кабелей типа КСПП
|
Параметры |
Частота, кГц |
Норма |
Коэффициент пересчета нормы на другую длину |
|
|
на высшую категорию |
на первую категорию |
|||
|
1. Электрическое сопротивление токопроводящей жилы, пересчитанное на 1 км длины и температуру 20 °С, не более |
пост. ток |
28,4 |
28,4 |
|
|
2. Омическая асимметрия, пересчитанная на 750 м длины, t = 20 °С, Ом, не более: |
|
|
|
|
|
для 100 % значений |
- » - |
0,5 |
0,5 |
|
|
для 95 % значений |
- » - |
0,8 |
0,8 |
|
|
3. Электрическое сопротивление изоляции жил, пересчитанное на 1 км длины, , t = 20 °С, МОм, не менее |
- » - |
15000 |
15000 |
|
|
4. Испытательное напряжение между жилами, а также между жилами и экраном в течение 2 мин, В |
0,05 |
2000 |
2000 |
|
|
пост. ток |
2000 |
3000 |
|
|
|
5. Рабочая емкость, пересчитанная на 1 км длины, НФ, не более |
0,8 |
3500,0 |
|
|
|
6. Электрическое сопротивление изоляции оболочки и защитного шланга, пересчитанное на 1 км длины и t = 20 °С, МОм, не менее |
пост. ток |
5000 |
5000 |
|
|
!!! Пропущен лист!!! |
||||
|
11. Волновое сопротивление, Ом |
|
|
|
|
|
????????????????? |
120 |
119 ± 5 |
|
|
|
????????????????? |
350 |
115 ± 5 |
|
|
|
????????????????? |
550 |
113 ± 5 |
|
|
|
????????????????? |
700 |
113 ± 5 |
|
|
|
12. Коэффициент защитного действия, пересчитанный на 1 км при ????? ЭДС 30 В |
0,05 |
0,99 |
0,99 |
|
Примечания.
1. l - фактическая длина кабеля, м;
2. Количество кабелей, предназначенных для уплотнения до 120 кГц не должно превышать 10 % от ????? партии.
Типы, марки, параметры и область применения оптических кабелей связи
|
Марка кабеля |
Номер ТУ |
Тип оптического волокна |
Коэфф. затухания на длине волны |
Строит. длина кабеля |
Область применения |
|
|
0,85 мкм |
1,3 мкм |
|||||
|
ОК-50-2-5-8 |
ТУ 16-705.296-86 |
многомодовый |
5,0 |
- |
2000 |
Предназначен для ГТС, для прокладки в кабельной канализации, трубах, блоках и коллекторах ручным и механизированным способом |
|
ОК-50-2-3-8 |
3,0 |
- |
|
|||
|
ОК-50-2-5-4 |
5,0 |
- |
|
|||
|
ОК-50-2-3-4 |
3,0 |
- |
|
|||
|
ОК-50-3-3-8 |
3,0 |
- |
|
|||
|
ОК-50-3-5-8 |
5,0 |
- |
|
|||
|
ОК-50-3-3-4 |
3,0 |
- |
|
|||
|
ОК-50-3-5-4 |
5,0 |
- |
|
|||
|
ОКК-50-01-0,7-4 |
ТУ 16.К71-084-90 |
многомодовый |
- |
0,7 |
2000 |
|
|
ОКК-50-01-0,7-8 |
- |
|
|
|||
|
ОКК-50-01-0,7-16 |
- |
|
|
|||
|
ОКК-50-01-1,0-4 |
- |
1,0 |
2000 |
|||
|
ОКК-50-01-1,0-8 |
- |
|
|
|||
|
ОКК-50-01-1,0-16 |
ТУ 16.К71-084-90 |
многомодовый |
- |
1,0 |
2000 |
Предназначен для ГТС, для прокладки в кабельной канализации, трубах, блоках и коллекторах ручным и механизированным способом |
|
ОКК-50-02-0,7-4 |
- |
0,7 |
2000 |
|||
|
ОКК-50-02-0,7-8 |
- |
|
|
|||
|
ОКК-50-02-0,7-16 |
- |
|
|
|||
|
ОКК-50-02-1,0-4 |
- |
1,0 |
2000 |
|||
|
ОКК-50-02-1,0-8 |
- |
|
|
|||
|
ОКК-50-02-1,0-16 |
- |
|
|
|||
|
ОКК-10-01-1,0-4 |
одномодовый |
- |
|
|
||
|
ОКК-10-01-1,0-8 |
- |
|
|
|||
|
ОКК-10-01-1,0-16 |
- |
|
|
|||
|
ОКК-10-02-1,0-4 |
- |
|
|
|||
|
ОКК-10-02-1,0-8 |
- |
|
|
|||
|
ОКК-10-02-1,0-16 |
- |
|
|
|||
|
ОККО-50-01-0,7-4 |
ТУ 16.К71-084-90 |
многомодовый |
- |
0,7 |
2000 |
Предназначен для ГТС, для прокладки в кабельной канализации, трубах, блоках и коллекторах ручным и механизированным способом и с дополнительной защитой от грызунов |
|
ОККО-50-01-0,7-8 |
- |
|
|
|||
|
ОККО-50-01-0,7-16 |
- |
|
|
|||
|
ОККО-50-01-1,0-4 |
- |
1,0 |
2000 |
|||
|
ОККО-50-01-1,0-8 |
- |
|
|
|||
|
ОККО-50-01-1,0-16 |
- |
|
|
|||
|
ОККО-50-02-0,7-4 |
- |
0,7 |
2000 |
|||
|
ОККО-50-02-0,7-8 |
- |
|
|
|||
|
ОККО-50-02-0,7-16 |
- |
|
|
|||
|
ОККО-50-02-1,0-4 |
ТУ 16.К71-084-90 |
многомодовый |
- |
1,0 |
2000 |
Предназначен для ГТС, для прокладки в кабельной канализации, трубах, блоках и коллекторах ручным и механизированным способом и с дополнительной защитой от грызунов |
|
ОККО-50-02-1,0-8 |
- |
|
|
|||
|
ОККО-50-02-1,0-16 |
- |
|
|
|||
|
ОККО-10-01-1,0-4 |
одномодовый |
- |
1,0 |
2000 |
Предназначен для ГТС, для прокладки в кабельной канализации, трубах, блоках и коллекторах ручным и механизированным способом |
|
|
ОККО-10-01-1,0-8 |
- |
|
|
|||
|
ОККО-10-01-1,0-16 |
- |
|
|
|||
|
ОККО-10-02-1,0-4 |
- |
|
|
|||
|
ОККО-10-02-1,0-8 |
- |
|
|
|||
|
ОККО-10-02-1,0-16 |
- |
|
|
|||
|
ОКС-10-01-1,0-4 |
одномодовый |
- |
1,0 |
300 |
Предназначен для прокладки внутри станций |
|
|
ОКС-10-01-1,0-6 |
- |
|
|
|||
|
ОКС-50-01-1,0-4 |
многомодовый |
- |
1,0 |
300 |
||
|
ОКС-50-01-1,0-6 |
- |
|
|
|||
|
ОКС-50-02-1,0-1 |
- |
|
|
|||
|
ОКС-50-03-1,0-1 |
- |
|
|
|||
|
ОКС-50-04-1,0-1 |
- |
|
|
|||
|
ОКС-10-02-1,0-1 |
одномодовый |
- |
1,0 |
300 |
||
|
ОКС-10-03-1,0-1 |
- |
|
|
|||
|
ОКС-10-04-1,0-1 |
- |
|
|
|||
|
ОККС-50-01-0,7-4 |
ТУ 16.К71-084-90 |
многомодовый |
- |
0,7 |
2000 |
Прокладка в каб. кан., трубах, блоках и коллекторах, в грунтах всех категорий, кроме подверженных мерзлотным деформациям и в воде при пересечении неглубоких болот, несудоходных и несплавных рек со спокойным течением воды (с заглуб. в дно) ручн. и механ. способом |
|
ОККС-50-01-0,7-8 |
- |
|
|
|||
|
ОККС-50-01-0,7-16 |
- |
|
|
|||
|
ОККС-50-01-1,0-4 |
- |
1,0 |
|
|||
|
ОККС-50-01-1,0-8 |
- |
|
|
|||
|
ОККС-50-01-1,0-16 |
- |
|
|
|||
|
ОККС-10-01-1,0-4 |
одномодовый |
- |
1,0 |
2000 |
||
|
ОККС-10-01-1,0-8 |
- |
|
|
|||
|
ОККС-10-01-1,0-16 |
- |
|
|
|||
|
ОККАК-50-01-0,7-4 |
ТУ 16.К71-084-90 |
многомодовый |
- |
0,7 |
2000 |
Предназначен для прокладки через судоходные реки, болота глубиной более двух метров и в мерзлотных грунтах |
|
ОККАК-50-01-0,7-8 |
- |
|
|
|||
|
ОККАК-50-01-1,0-4 |
- |
|
|
|||
|
ОККАК-50-01-1,0-8 |
- |
|
|
|||
|
ОККАК-10-01-1,0-4 |
одномодовый |
- |
1,0 |
2000 |
||
|
ОККАК-10-01-1,0-8 |
- |
|
|
|||
7.2.2. Прокладка в одном канале кабелей местных сетей связи с магистральными кабелями ЕАСС не допускается.
7.2.3. Кабели в алюминиевой оболочке типа МКСА встречных направлений передачи в аналоговых и цифровых системах передачи могут прокладываться в одном канале кабельной канализации на протяжении всего усилительного (регенерационного) участка.
7.2.4. Допускается совместная прокладка в одном канале кабельной канализации не более трех, а в исключительном случае - четырех кабелей типа МКС емкостью до 7 ´ 4, используемых однотипными системами передачи и имеющих одинаковые уровни и направления передачи, а также низкочастотных кабелей всех типов и высокочастотных кабелей при условии, что сумма диаметров прокладываемых кабелей не должна превышать 0,75 диаметра канала.
7.2.5. Прокладка кабелей сетей проводного вещания в каналах кабельной канализации совместно с кабелями связи допускается при следующих условиях:
- в отдельном канале, на протяжении всей трассы;
- номинальное напряжение кабельной линии не должно превышать 240 В;
- использования экранированных кабелей с заземлением экрана с двух сторон при сопротивлении заземляющего устройства согласно ГОСТ 464-79*;
- длина участка параллельной прокладки кабелей сетей проводного вещания в кабельной канализации с любым из кабелей связи, размещенных в смежных каналах, не должна превышать 2 км для экранированного кабеля (РБПЗЭП, РМПЗЭП) и 3 км для экранированного и бронированного кабеля (РБПЗЭПБ, РМПЗЭПБ);
- отсутствие в смежном канале кабелей связи с использованием систем передачи с частотным разделением каналов.
7.2.6. В кабельной канализации, коллекторах, технических подпольях и коллекторах малого сечения (сцепках) должны прокладываться небронированные кабели связи.
7.2.7. В тоннелях метрополитена должны прокладываться бронированные кабели без джутового покрова (с покровом типа ???), а в вентиляционных шахтах на вертикальных спусках - кабели с покровом типа К.
7.2.8. При параллельной прокладке в коллекторах кабелей связи и силовых кабелей кабели связи должны располагаться на 20 см ниже силовых кабелей.
7.2.9. При прокладке в коллекторах кабелей связи последние должны располагаться не менее чем на 10 см выше труб водопровода, теплосети и других трубопроводов.
7.2.10. При прокладке оптических кабелей в кабельной канализации и коллекторах следует руководствоваться рекомендациями, изложенными в «Руководстве по прокладке, монтажу и сдаче в эксплуатацию волоконно-оптических линий связи ГТС (линейно-кабельные сооружения)».
Кроме указанного, следует учитывать, что прокладка оптических кабелей в кабельной канализации должна, как правило, осуществляться в свободном канале, который использовать в дальнейшем для прокладки электрических кабелей запрещается. В указанном канале в последующем допускается прокладка только оптических кабелей.
Количество одновременно закладываемых в канал полиэтиленовых трубок типа ПНД-32-Т определяется проектом с учетом перспективы развития ГТС.
Прокладка оптических кабелей в канале, занятом электрическими кабелями, допускается в полиэтиленовой трубе типа ПНД-32-Т, которую следует затягивать в канал каждого пролета.
7.3.1. Прокладка кабелей связи в грунте I - III групп, а также в грунтах IV группы (при условии выполнения двух-трехкратной ???? грунта) должна производиться бестраншейным способом с применением кабелеукладочной техники. Отступление от этого правила должно быть обосновано в проекте.
7.3.2. При разработке траншей и котлованов для прокладки кабелей в скальных грунтах следует использовать буровзрывную технику, однако этот способ работ необходимо применять только в тех случаях, когда исключена возможность применения для этих целей существующей строительной техники.
7.3.3. В скальных грунтах V группы и выше, а также в грунтах IV группы, разрабатываемых взрывным способом, отбойными молотками или другими высокопроизводительными машинами и механизмами, кабели следует укладывать в траншею с устройством постели и верхнего покрывающего слоя из разрыхленной земли или песчаного грунта толщиной до 10 см каждый. Необходимость устройства постели из привозного песчаного грунта обосновывается проектом.
7.3.4. При пересечении автомобильных и железных дорог, проезжей части улиц и трамвайных путей кабели следует прокладывать в асбестоцементных или полиэтиленовых трубах диам. 100 мм с выводом по обе стороны от подошвы насыпи или полевой бровки на длину не менее 1 м.
При устройстве переходов в местах с высоким уровнем грунтовых вод и в случаях прокладки труб выше границы промерзания должны предусматриваться защитные мероприятия от раздавливания кабеля льдом в соответствии с «Инструкцией по защите кабелей связи от сдавливания льдом в затопляемой кабельной канализации».
7.3.5. При пересечении постоянных грунтовых непрофилированных дорог, в том числе съездов с автомобильных дорог, допускается прокладка кабелей в заранее подготовленную траншею без труб, но с покрытием их кирпичом или железобетонными плитами.
7.4.1. Подвеску кабелей связи на опорах воздушных линий, при соответствующем обосновании, допускается предусматривать на распределительных участках абонентских сетей ГТС при телефонизации районов индивидуальной застройки, на абонентских и межстанционных линиях СТС, а также на внутризоновых сетях, (в горной местности, где подземная прокладка кабелей затруднена, в местах с густой сетью арыков, на переходе кабельных линий через глубокие овраги и реки, имеющие обрывистые склоны и др.).
7.4.2. Подвеску кабелей городских и сельских телефонных сетей следует, как правило, предусматривать на опорах существующих воздушных линий связи. Строительство новых столбовых линий для этих целей, без обоснования в проекте, запрещается. При необходимости их постройки следует преимущественно использовать железобетонные опоры или деревянные - в железобетонных приставках.
Для подвески кабелей связи ГТС и СТС в населенных пунктах могут быть также использованы стоечные опоры, устанавливаемые на крышах зданий.
7.4.5. Для защиты от ударов молний все кабельные, угловые, а также промежуточные опоры на переходах должны оборудоваться молниеотводами.
7.4.6. К подвеске следует предусматривать специальные кабели, содержащие в своей конструкции несущий стальной трос (ТППэпт, КСППт), которые следует крепить на специальных консолях, устанавливаемых на опорах. Допускается подвеска на опорах ВЛС кабелей типа ТППэп (ТПВ), ТГ и КСПП на стальном канате из оцинкованных проволок.
7.4.7. На опорах ВЛС городских и сельских телефонных сетей допускается подвеска кабелей емкостью не более 100 пар, на опорах стоечных линий - не более 30 пар.
7.4.8. На опоре ВЛС кабели связи должны размещаться ниже проводов.
Несущий трос на ВЛС, используемых для подвески кабелей ГТС и СТС, должен быть заземлен в начале и конце линии, а также через каждые 250 м. Вне населенных пунктов несущий трос следует заземлять в среднем через 2 - 3 км. Если участок подвесного кабеля не превышает по длине 2 км, то заземления необходимо оборудовать на концах участка.
7.4.9. Расстояние от земли до подвесного кабеля связи должно быть не менее 6 м.
Расстояние между нижним проводом фидерной линии РС и подвесным кабелем связи при их пересечении должно быть не менее 1,25 м.
7.5.1. Кабельные переходы через водные преграды, в зависимости от назначения кабельных линий и местных условий, могут выполняться:
- кабелями, прокладываемыми под водой;
- кабелями, прокладываемыми по мостам;
- подвесными кабелями на опорах.
7.5.2. Минимальные расстояния трасс кабельных линий от мостов магистральных автомобильных и железных дорог общегосударственного и республиканского значения, а также от мостов автомобильных и железных дорог областного, местного и прочего значений должны соответствовать нормам, приведенным в табл. 5.8.
7.5.3. Кабели местных первичных сетей связи следует прокладывать через водные преграды, как правило, по мостам. Допускается подвеска кабелей указанных сетей на опорах при переходах через несудоходные реки шириной до 10 м, при этом емкость кабелей местных сетей не должна превышать 100 пар.
7.5.4. На переходах кабельных линий через судоходные и сплавные реки следует предусматривать прокладку кабелей по двум створам на расстоянии не менее 300 м один от другого.
7.5.5. Резервирование кабелей местных первичных сетей ГТС на переходах через водные преграды следует предусматривать только в тех случаях, когда между оконечными станциями (РАТС, УВС, УИС) связь организуется только по одному кабельному направлению.
Резервирование кабелей местных первичных сетей СТС, местных вторичных сетей СТС, ГТС на переходах через водные преграды не производится.
При наличии на трассе мостов прокладка одного (резервного) кабеля должна осуществляться по мосту. Второй кабель на переходе через водную преграду должен прокладываться от моста на расстоянии, указанном в табл. 5.8.
7.5.6. На судоходных и сплавных реках, независимо от их глубин, а также на несудоходных и несплавных реках глубиной до 3 м от рабочего горизонта воды, кабели связи следует прокладывать с заглублением в дно реки.
7.5.7. На водохранилищах и озерах, за пределами судового хода, а также на несудоходных и несплавных реках, глубиной более 3 м, при отсутствии особых требований согласовывающих организаций о заглублении кабелей связи, их прокладку следует предусматривать без заглубления в дно. Заглубление кабелей в прибрежной части водоема, обязательно, с учетом возможного размыва берегов на период срока службы кабеля связи, определенного ГОСТ и ТУ.
7.5.8. Через водные преграды со стабильным, не изменяющимся руслом (дном), кабели связи должны прокладываться в дно на глубину не менее 1 м.
Через реки с изменяющимся руслом и особыми гидрогеологическими условиями (горные и предгорные реки, реки с размываемыми берегами) величина заглубления кабеля определяется проектом, при этом прокладка кабелей должна производиться на глубину не менее 0,5 м ниже расчетной отметки возможного размыва дна.
7.5.9. Прокладка кабелей ножевыми кабелеукладчиками на переходах вблизи существующих подводных сооружений (кабелей связи, дюкеров, водозаборов) допускается на расстоянии не менее 30 м от них и не ближе 100 м от переходов через водные преграды силовых кабелей.
7.5.10. Однопарные кабели СТС и проводного вещания через несудоходные реки, независимо от их глубины, прокладываются в русле реки без заглубления.
7.5.11. В пойменной части трассы, до места стыка с подземным кабелем, подводный кабель должен быть углублен на 0,9 - 1,2 м. Необходимость большего заглубления определяется проектом в зависимости от условий согласования.
7.5.12. При устройстве переходов через реки и каналы, берега которых имеют гранитную или железобетонную облицовку, кабели через облицовку прокладываются в стальных трубах диам. 100 - 125 мм. Количество прокладываемых стальных труб определяется проектом с учетом перспективы развития сети и эксплуатационного запаса. На переходах до 12 кабелей должна предусматриваться одна, а на переходах от 13 до 24 кабелей - две резервные трубы для эксплуатационных потребностей. Облицовка берега должна быть восстановлена. Стальные трубы должны иметь на всем протяжении антикоррозийное покрытие.
7.5.13. В береговой части перехода должен устанавливаться колодец на тротуаре или газоне. В стесненных условиях допускается размещение колодца или его части под мостовой.
При числе труб в пакете до 12 включительно проектом должен предусматриваться колодец типа ККС-5, а при числе труб от 13 до 24 - нетиповой колодец. Прокладка на переходе более 24 труб не допускается.
7.5.14. По мосту кабели должны прокладываться в предусмотренных для этого конструкциях (выносных консолях, трубах, наружных подвесках и др.) в соответствии с требованием СНиП 2.05.03-84. Способ прокладки кабелей по мосту, а также конструктивные решения должны определяться проектом.
7.5.15. Если мост имеет разводную часть, то на всем ее протяжении прокладывается подводный кабель. Соединительные муфты с подводным кабелем должны располагаться в смотровых устройствах на пролетных конструкциях моста.
7.5.16. Прокладываемые по мостам кабели должны иметь пластмассовые или стальные и алюминиевые оболочки со шланговым пластмассовым покрытием.
Прокладка по мостам кабелей в свинцовых оболочках не допускается.
7.5.17. На кабельных переходах через внутренние судоходные пути на судоходных и сплавных реках должны устанавливаться знаки судовой обстановки, оборудуемые в соответствии с Правилами плавания по внутренним судоходным путям РСФСР и союзных республик, Инструкцией по содержанию судоходной обстановки на внутренних водных путях Минречфлота РСФСР, ГОСТ 20339-79 и ГОСТ 26600-85.
В городах и поселках городского типа линии электроосвещения для знаков судовой обстановки, как правило, должны быть подземными.
На набережных, облицованных гранитом или бетонными блоками, створные знаки должны устанавливаться непосредственно на их стенах.
7.6.1. Линейные сооружения абонентской сети в городах с телефонной плотностью, близкой к насыщению, проектируются и строятся, в основном, по бесшкафной системе.
Построение абонентской сети по шкафной системе следует предусматривать в городах с телефонной плотностью 1 телефон на 3 - 4 квартиры с применением зон прямого питания.
7.6.2. Телефонизацию отдельных районов от проектируемой АТС обеспечивать, как правило, путем применения выносных телефонных станций-подстанций.
7.6.3. При потребности строящихся и расширяемых предприятий и организаций в 50-ти телефонах и более не рекомендуется установку телефонов от ОПС, ПТС, а предусматривать строительство УПАТС по техническим условиям за счет средств и материальных ресурсов потребителей.
7.6.4. При реконструкции и расширении сети в существующих районах, при необходимости, следует предусматривать ликвидацию существующих распределительных шкафов с переключением магистральных кабелей на «прямое питание» силами эксплуатации.
7.6.5. Прокладка кабелей межшкафной связи должна быть обоснована проектом и осуществляться отдельными кабелями. Допускается включение межшкафных связей в кабели абонентской сети, число их не должно быть более 50 пар.
7.6.6. Принципы построения абонентских сетей квазиэлектронных АТС те же, что и для аналоговых сетей.
7.6.7. Абонентские сети электронных АТС должны строиться по принципу «наложенных» сетей по отношению к существующим, т. е. с широким применением удаленных ПС (ОПС) с охватом территории нескольких существующих аналоговых АТС.
7.6.8. Для максимального использования абонентских линий следует применять аппаратуру АВУ, ЦАВУ, АЦК.
7.6.9. Абонентские сети подстанций должны строиться, как правило, по бесшкафной системе, т. к. средняя длина абонентской линии ПС не превышает 0,5 ÷ 0,9 км, а роль распределительных шкафов практически выполняют кроссы подстанций.
7.6.10. Установка ОПС, ОПТС емкостью 10000 №№ с выносными подстанциями целесообразна при низких телефонных плотностях. Установка подстанций целесообразна на расстоянии не менее 1,5 - 2,0 км.
7.7.1. Ввод кабелей в здания АТС емкостью 10000 номеров и более должен осуществляться с двух противоположных направлений.
7.7.2. Для ввода кабелей в проем фундамента или стены здания АТС, АМТС (МТС) следует закладывать вводный блок из асбоцементных (бетонных) труб с внутренним диаметром каналов 100 мм. Емкость блока определяется проектом в зависимости от числа вводимых кабелей с учетом запасных каналов на развитие (не менее 100 % каналов, занимаемых линейными кабелями по проекту).
7.7.3. При вводе всех типов кабелей в тоннели метрополитена следует предусматривать установку электроизолирующих муфт. Места их установки на кабелях определяются проектом.
7.7.4. Вводы кабелей в здания телефонных станций должны предусматриваться:
- при емкости телефонной станции 100 и менее номеров - подземными или подвесными кабелями;
- при емкости телефонной станции более 100 номеров - подземными кабелями.
7.7.5. Многопарные кабели ГТС емкостью свыше 100 ´ 2 в помещениях их ввода должны распаиваться в разветвительных муфтах (перчатках) на кабели емкостью 100 ´ 2, прокладываемые в кросс по специальным металлическим желобам или непосредственно в кросс через отверстия в междуэтажных перекрытиях. На АТС емкостью более 1000 номеров распайка линейных кабелей и монтаж разветвительных муфт в станционных колодцах запрещается.
7.7.6. В отдельных случаях монтаж многопарных кабелей допускается производить не в помещениях их ввода, а в специальных помещениях - перчаточных, которые должны располагаться в первых этажах зданий АТС непосредственно над помещениями ввода кабелей.
7.7.7. Кабели соединительных линий ГТС типа МКС, Т, ТП, используемые для систем передачи с дистанционным питанием, из помещения ввода кабелей (шахта, перчаточная) должны прокладываться непосредственно в ЛАЦ на стойки вводно-кабельного оборудования (без захода в кросс).
7.7.8. В помещения ввода кабелей зданий АТС свыше 300 номеров допускается вводить кабели связи минимальной емкости, но не менее 100 ´ 2. Указанные требования не распространяются на кабели связи других ведомств.
7.7.9. На участке от станционных разветвительных муфт до линейной стороны кросса должны предусматриваться кабели с изоляцией и оболочкой из поливинилхлорида (марки ТСВ).
7.7.10. Кабельными вводами следует оборудовать здания, в которых число проектируемых абонентских устройств более трех.
7.7.11. Кабельные подземные вводы в здания должны предусматриваться через блоки кабельной канализации, полупроходные коллекторы, технические подполья и подвалы.
7.7.12. В здания, расположенные внутри кварталов, кабельные вводы следует устраивать с помощью перемычек кабельной канализации от других зданий квартала или используя внутриквартальные коллекторы малого сечения. При длине перемычек кабельной канализации до 30 м колодцы не устанавливаются, а при длине 30 м и более у одного из вводов должен предусматриваться колодец ККС-2.
Измерительную и проверочную аппаратуру следует предусматривать в соответствии с приведенными нормами для станционных сооружений таблицы 8.1 - 8.11; для оборудования систем передачи таблицы 8.12 - 8.16; для линейных эксплуатационных служб таблицы 8.17 - 8.18 для нового строительства. При расширении и дооборудовании существующих сооружений количество и номенклатура определяется с учетом имеющихся.
Нормы проверочной и измерительной аппаратуры для станционных сооружений типа АТСКУ, АТС-АМЭ, ПСК-1000, ПСК-1000К
|
Наименование аппаратуры |
Кол-во на станцию, шт. |
Кол-во на УИС, УВС, УСП, УСС, УВТС с числом стативов, шт.- |
Кол-во на ПСК-1000К, шт. |
||
|
от 3000 №№ до 4000 №№ |
до 10000 №№ |
до 80 |
свыше 80 |
1000 №№ |
|
|
Прибор комбинированный (ампер-вольтметр-тестер) |
2 |
3 |
2 |
3 |
1 |
|
Магазин сопротивления рычажный. Предел измерения до 99999,3 Ом |
11) |
11) |
11) |
11) |
1 |
|
Осциллограф двухлучевой (полоса частот 0 -5 мГц) |
- |
11) |
11) |
11) |
1 |
|
Частотомер электронно-счетный до 300 мГц |
11) |
11) |
11) |
11) |
1 |
|
Прибор комбинированный (ампер-вольтметр-испытатель транзисторов) |
12) |
12) |
11) 2) |
11) 2) |
- |
|
Измеритель интервалов времени |
11) |
11) |
- |
- |
1 |
|
Микровольтметр переменного тока |
1 |
1 |
11) |
11) |
1 |
|
Измерительно-коммутационный прибор (аттенюатор) |
11) |
11) |
11) |
11) |
- |
|
Измеритель параметров номеронабирателей и реле |
11) |
11) |
11) |
11) |
- |
|
Электросекундомер |
11) |
11) |
11) |
11) |
1 |
|
Телефон двуухий высокоомный с оголовьем и шнуром |
12 |
15 на АТС до 6000 №№, 18 на АТС до 8000 №№, 22 на АТС до 10000 №№ |
8 |
15 - до 240 стат., 22 - более 240 стат. |
1 |
|
Магазин емкостей. Предел измерений по 1,11 мкф при рабочих частотах 40 - 10000 Гц |
- |
11) |
11) |
11) |
- |
|
Магазин затухания по 300 кГц |
11) |
11) |
11) |
11) |
- |
|
Гигрограф метеорологический |
1 |
1 |
1 |
1 |
- |
|
Психрометр аспирационный |
1 |
1 |
1 |
1 |
1 |
Примечания.
1. Приборы являются общими для ОПС и ТС, расположенными в одном здании, и заказываются в указанном количестве для первой из служб при общей эквивалентной емкости 20000 номеров. Если общая емкость превышает 20000 номеров, то количество приборов на здание по данным позициям удваивается.
2. Для АТС-АМЭ не предусматривать.
Нормы проверочной и измерительной аппаратуры для АТСК типа «Пентаконта» емк. 10000 номеров
|
Наименование аппаратуры |
Количество в шт. |
|
Измеритель интервалов времени |
1 |
|
Селективный вольтметр |
1 |
|
Электронный вольтметр переменного тока |
1 |
|
Генератор низкочастотный |
1 |
|
Магазин затухания R вх. = 600 Ом |
1 |
|
Частотомер электронно-счетный на 300 МГц |
1 |
|
Прибор комбинированный (ампервольтметр-тестер) |
4 |
|
Осциллограф двухлучевой (полоса частот 0 - 8 МГц) |
1 |
|
Магазин сопротивлений рычажный. Предел измерения до 99999,3 Ом |
1 |
Нормы измерительной аппаратуры для УЗСЛ из оборудования АТСКУ, АТС-АМЭ
|
Наименование аппаратуры |
Количество на узел в шт. |
|
Ампервольтметр (тестер) |
1 |
|
Генератор сигналов звуковой и ультразвуковой частоты |
1 |
|
Осциллограф портативный (полоса частот 0 - 1 мГц) |
1* |
|
Частотомер электронно-счетный до 300 МГц универсальный |
1* |
|
Милливольтметр |
1* |
|
Магазин сопротивления рычажный 6-ти декадный. Предел измерений до 99999,3 Ом |
1* |
|
Прибор комбинированный (ампервольтметр-испытатель транзисторов) |
1* |
|
Измеритель интервалов времени |
1 |
|
Прибор измерительный |
1 |
|
Измерительно-коммутационый прибор (аттенюатор) |
1* |
Примечание: * Приборы являются общими для АТС и ТС, расположенных в одном здании и заказываются в указанном количестве для первой из служб. В случае размещения УЗСЛ в общем зале с ЛАЦ эти приборы для УЗСЛ не заказываются.
Нормы измерительной аппаратуры для аппаратуры АОН-М электронного типа для АТС типа АТСКУ и АТС ДШ
|
Наименование аппаратуры |
Количество на АТСК, АТСШ емк. до 10000 №№, шт. |
|
Осциллограф универсальный |
1* |
|
Частотомер электронно-счетный |
1* |
|
Генератор сигналов низкочастотный |
1* |
|
Магазин затуханий |
1* |
|
Прибор комбинированный (ампервольтметр) |
1* |
|
Вольтметр универсальный цифровой |
1* |
Примечание: * - Приборы заказываются в случае отсутствии на АТС.
Нормы проверочной и измерительной аппаратуры для станционных сооружений типа ЭАТС-200
|
Наименование приборов |
Кол-во приборов |
Примечание |
|
Частотомер электронно-счетный вычислительный от 0,01 Гц до 500 мГц |
5 |
на ГТС в т. ч. 1 на ЦТЭ |
|
Прибор комбинированный |
2 |
в ЦТЭ для профилактических измерений в т. ч. 1 переносн. |
|
Вольтметр цифровой 100 мкВ - 1000 В |
2 |
то же |
Нормы проверочной и измерительной аппаратуры для станционных сооружений типа МТ-20
|
Наименование приборов |
Кол-во приборов |
Примечание |
|
Вольтметр универсальный |
2 |
на автозал ОПС, ТС, ОПТС |
|
Осциллограф двухканальный 0 - 350 МГц |
1 |
- » - |
|
Осциллограф универсальный сервисный 0 - 100 МГц |
1 |
- » - |
|
Прибор комбинированный |
1 |
- » - |
Нормы измерительной аппаратуры для сельских АТС координатного типа
|
Наименование аппаратуры |
Един. изм. |
Количество для станции емкостью номеров |
||
|
до 200 |
до 1000 |
до 2000 |
||
|
Ампервольтметр (тестер) |
шт. |
- |
1 |
2 |
|
Вольтметр постоянного тока переносной со шкалой 0 - 3 В |
- » - |
- |
1 |
1 |
|
Ампервольтметр многопредельный переносной. Пределы измерений: |
шт. |
- |
- |
1 |
|
по току 0,00 В - 5 А |
||||
|
по 2,5 - 1000 В |
||||
|
Психрометр |
шт. |
1 |
1 |
2 |
|
Прибор для измерения параметров реле |
шт. |
1 |
1 |
1 |
Нормы измерительной аппаратуры для оборудования АОН и промоборудования ЦС АТСК-100/2000У
|
Наименование аппаратуры |
Един. изм. |
Количество для оборудования |
||
|
УПИ |
УЗПИ |
ПР-МГ-ИКЗСЛС |
||
|
Частотомер электронно-счетный до 50 МГц |
шт. |
1 |
1 |
1 |
|
Милливольтметр переменного тока |
шт. |
1 |
1 |
|
|
Генератор сигналов звуковой и ультразвуковой частоты |
- » - |
- |
1 |
1 |
|
Магазин затухания до 300 кГц |
- » - |
- |
- |
1 |
|
Прибор для проверки транзисторов |
- » - |
1 |
- |
1 |
|
Измеритель коэффициента нелинейных искажений |
- » - |
1 |
1 |
1 |
|
Прибор для измерения временных параметров реле |
- » - |
- |
1 |
1 |
|
Анализатор гармоник низких частот |
- » - |
1 |
- |
- |
Примечание: Приборы одного наименования, независимо от состава АОН и промоборудования, заказываются по одной шт.
Нормы проверочной и измерительной аппаратуры для АТСКЭ типа «Квант-С»
|
Наименование аппаратуры |
Кол-во в шт. |
|
Микровольтметр переменного тока (0,01 мВ - 300 В) |
1 |
|
Частотомер электронно-счетный (до 1000 МГц) |
1 |
|
Осциллограф (до 10 МГц) |
1 |
|
Прибор комбинированный (ампер-вольтметр-тестер) |
1 |
|
Измеритель параметров номеронабирателей и реле ИНИР |
1 |
Нормы измерительной и проверочной аппаратуры для станций ИАТСКЭ-1 типа «Исток»
|
Наименование аппаратуры |
Кол-во в шт. |
|
Многошкальный вольтметр (0,75 ÷ 3000 мА; (7,5 ÷ 30 А; 15 ÷ 300 мВ; 0,75 ÷ 600 В) |
1 |
|
Частотомер (до 1500 МГц) |
1 |
|
Вольтметр универсальный цифровой постоянного и переменного тока (пост. ток 10 мкВ - 1000 В, перем. ток 10 мкВ - 300 В) |
1 |
|
Осциллограф универсальный (до 100 МГц) |
1 |
|
Прибор комбинированный (ампер-вольтметр-тестер) |
1 |
|
Осциллограф универсальный двухлучевой (до 20 МГц) |
1 |
Нормы измерительной и проверочной аппаратуры для ГЦТЭ (РЦТЭ) станций ИАТСКЭ типа «Исток»
|
Наименование аппаратуры |
Кол-во в шт. |
|
Осциллограф универсальный (полоса частот 0 - 50 МГц) |
2 |
|
Осциллограф универсальный двухлучевой (полоса частот 0 - 1 МГц) |
2 |
|
Частотомер электронносчетный (0 - 10 МГц) |
2 |
|
Милливольтметр переменного тока лабораторный (0 - 5 МГц) |
2 |
|
Прибор комбинированный (ампер-вольтметр-тестер) |
4 |
|
Генератор игналов низкочастотный (0 - 20 кГц) |
2 |
|
Микроомметр |
1 |
Нормы измерительной аппаратуры для оборудования систем передачи на ЦС
|
Наименование аппаратуры |
Количество на ЦС независимо от типа аппаратуры и числа систем в шт. |
Примечание |
|
Измерительный генератор 0,25 - 650 кГц с запасными частями |
2 |
|
|
Указатель уровня 0,25 - 650 кГц с запасными частями |
2 |
|
|
Магазин затухания до 10 МГц (R = 75 Ом) |
1 |
|
|
Генератор сигналов звуковой и ультразвуковой частоты 20 Гц - 0,2 МГц |
2 |
|
|
Измерительный чемодан |
2 |
|
|
Псофометр |
1 |
|
|
Милливольтметр переменного тока |
2 |
|
|
Вольтметр универсальный |
1 |
|
|
Осциллограф упрощенный. Полоса частот 10 МГц |
2 |
|
|
Частотомер электронносчетный |
1 |
|
|
Прибор для проверки транзисторов |
1 |
|
|
Магазин затухания по 300 кГц |
1 |
|
|
Милливольтметр постоянного тока |
1 |
|
|
Полупроводниковый измеритель уровня по 2,5 МГц |
1 |
|
|
Телефон двуухий высокоомный с оголовьем и шнуром |
1 |
|
|
Прибор эксплуатационных измерений |
2 |
|
|
Комплект линейный для настройки линейного тракта |
2 |
только для типа ИКМ-15 «Зона» (ИКМ 15´2) |
|
Комплект проверки линейного тракта |
2 |
только для типа ИКМ-15 «Зона» (ИКМ 15´2) |
|
Измеритель затухания кабельных линий |
2 |
только для типа ИКМ-30С |
|
Измеритель шумов квантования |
2 |
то же |
Нормы измерительной аппаратуры для оконечного оборудования ЛАЦ типа ИКМ-30-4
|
Наименование аппаратуры |
Количество в зависимости от числа 30-канальных станций, шт. |
||||
|
до 50 |
до 100 |
до 150 |
до 300 |
более 300 |
|
|
Прибор комбинированный (ампервольтметр-тестер) |
3 |
4 |
4 |
4 |
5 |
|
Осциллограф портативный. Полоса частот 0 - 50 МГц |
2 |
2 |
2 |
2 |
3 |
|
Псофометр |
2 |
2 |
3 |
3 |
3 |
|
Указатель уровня широкополосный |
2 |
2 |
3 |
3 |
3 |
|
Генератор сигналов звуковой и ультразвуковой частоты с малыми нелинейными искажениями |
2 |
2 |
3 |
3 |
3 |
|
Анализатор спектра |
2 |
2 |
3 |
3 |
3 |
|
Вольтметр универсальный цифровой |
2 |
2 |
2 |
2 |
2 |
|
Частотомер электронносчетный |
2 |
2 |
2 |
2 |
2 |
Нормы измерительной аппаратуры для оборудования типа ИКМ-30 (ИКМ-30-4, РСМ-30 и т. д.) на обслуживаемом регенерационном пункте (ОРП)
|
Наименование аппаратуры |
Количество на ЛАЦ, в зависимости от количества промежуточных трактов |
||||
|
30 |
60 |
90 |
120 |
более 150 |
|
|
Прибор комбинированный (ампервольтметр-тестер) |
1 |
2 |
2 |
3 |
3 |
|
Указатель уровня широкополосный |
- |
- |
1 |
1 |
1 |
|
Измерительный генератор 0,25 - 650 кГц с запасными частями |
см. примечание |
||||
|
Осциллограф портативный. Полоса частот 0 - 50 МГц. |
см. примечание |
||||
Примечание: Приборы заказываются по одному прибору на промежуточный пункт при числе линейных трактов более 200.
Нормы измерительной аппаратуры для оборудования типа ИКМ-30 (ИКМ-30-4, РСМ-30 и т. д.) на обслуживаемом регенерационном пункте (ОРП)
|
№№ п.п. |
Наименование прибора |
Количество приборов |
|
|
до 40 систем |
свыше 40 систем |
||
|
1 |
Указатель уровня селективный диапазон 30 - 300 кГц |
2 |
3 |
|
2 |
Генератор сигналов низкочастотный |
2 |
3 |
|
3 |
Измеритель шумов |
2 |
3 |
|
4 |
Частотомер электронносчетный портативный до 100 МГц |
2 |
3 |
|
5 |
Осциллограф |
2 |
2 |
|
6 |
Вольтметр универсальный цифровой |
2 |
2 |
|
7 |
Прибор комбинированный (ампервольтметр-тестер) |
2 |
3 |
Нормы измерительной аппаратуры для волоконно-оптических систем (ВССП)
|
№№ п.п. |
Наименование прибора |
Количество приборов |
|
|
до 40 систем |
свыше 40 систем |
||
|
1 |
Тестер оптический |
2 |
3 |
|
2 |
Ваттметр поглощаемой мощности |
2 |
3 |
|
3 |
Генератор оптических и электрических импульсов |
2 |
3 |
|
4 |
Измеритель коэффициента ошибок |
2 |
2 |
|
5 |
Определитель места обрыва в оптическом кабеле |
1 |
1 |
Нормы измерительных приборов для вновь организуемых линейных эксплуатационных служб ГТС
|
Наименование приборов |
Емкость телефонной станции в номерах |
При емкости сети 15000 номеров и более для произв. лаборат. |
|
|
до 5000 |
до 10000 |
||
|
1. Измерения на постоянном токе |
|
|
|
|
Кабельный прибор |
1 |
2 |
2 |
|
Испытатель электрической прочности изоляции |
1 |
2 |
2 |
|
Прибор кабельщика-спайщика |
1 |
3 |
3 |
|
Мегометр |
1 |
2 |
2 |
|
Прибор для измерения блуждающих токов |
1 |
1 |
1 |
|
2. Измерения на переменном токе |
|
|
|
|
Генератор измерительный низкой частоты |
- |
- |
1 |
|
Генератор измерительный высокой частоты |
- |
- |
1 |
|
Широкополосный измеритель уровня |
- |
- |
1 |
|
Избирательный измеритель уровня |
- |
- |
1 |
|
Комплект приборов (генератор, измеритель уровня НЧ) |
- |
- |
1 |
|
Комплект приборов для измерения переходного затухания |
- |
- |
1 |
|
Измеритель переходного затухания |
- |
1 |
1 |
|
Мост универсальный |
- |
- |
1 |
|
Магазин сопротивлений |
- |
- |
2 |
|
Псофометр |
- |
- |
1 |
|
Измеритель напряжения помех |
- |
- |
2 |
|
Прибор для отыскания кабельных пар |
1 |
2 |
2 |
|
3. Измерения при эксплуатации |
|
|
|
|
Измеритель сопротивления заземлений |
1 |
1 |
1 |
|
Прибор для испытания разрядников |
1 |
1 |
1 |
|
Газоанализатор |
4 |
6 |
10 |
|
Тестер |
1 |
2 |
2 |
|
Галоидный течеискатель |
1 |
1 |
1 |
|
Кабелеискатель |
1 |
1 |
1 |
|
Металлоискатель |
1 |
1 |
1 |
Нормы измерительной аппаратуры для вновь организуемых линейных эксплуатационных служб СТС
|
Наименование аппаратуры |
Един. изм. |
Количество при емкости телефонных станций |
||
|
до 200 номеров |
до 500 номеров |
до 1000 номеров |
||
|
Кабельный прибор |
шт. |
1 |
1 |
1 |
|
Испытатель электрической прочности изоляции |
- » - |
- |
- |
1 |
|
Генератор измерительный низкой частоты |
- » - |
- |
1 |
2 |
|
Широкополосный измеритель уровней |
- » - |
- |
1 |
2 |
|
Избирательный измеритель уровней |
- » - |
- |
1 |
2 |
|
Комплект приборов (генератор, измеритель уровня) низкой частоты |
- » - |
1 |
1 |
1 |
|
Комплект приборов для измерения переходных затуханий |
- » - |
- |
1 |
1 |
|
Мост универсальный |
- » - |
- |
1 |
1 |
|
Магазин сопротивлений переменного тока |
- » - |
- |
1 |
2 |
|
Псофометр |
- » - |
- |
1 |
1 |
|
Тестер |
- » - |
1 |
1 |
1 |
|
Трассопоисковый прибор |
- » - |
1 |
2 |
2 |
|
Генератор испытательных сигналов для трассопоисковых приборов |
- » - |
1 |
1 |
1 |
|
Прибор для отыскания кабельных пар |
- » - |
- |
2 |
2 |
|
Измеритель сопротивления заземления |
- » - |
- |
1 |
1 |
|
Прибор для испытания разрядников |
- » - |
- |
1 |
1 |
|
Прибор для проверки телефонных аппаратов и номеронабирателей |
- » - |
1 |
1 |
1 |
|
Испытатель кабельных линий |
- » - |
- |
1 |
1 |
|
Газоанализатор |
- » - |
- |
1 |
1 |
9.1. На ГТС предусматриваются здания различного назначения для размещения:
- ОПС;
- ОПС и ОПТС, СПС и ТС, ОПТС и ТС;
- ЦС;
- трансформаторных подстанций;
- дизельных.
ЦТЭ, справочная служба, административные службы ГТС размещаются, как правило, в зданиях совместно с ОПС, ТС, ОПТС.
Допускается размещать оборудование ЦС, ОПС на площади не более 100 м2 для телефонизации жилых зданий в первом, втором и цокольном этажах жилых зданий.
Телефонные станции СТС (ОС) располагаются в зданиях контор или отделений связи, а ЦС в зданиях РУС.
9.2. Величина площади здания на ??? зависит не только от типа оборудования, но и от объема оборудования, размещаемого в нем.
Поэтому, приведенные в таблицах 9.1, 9.2 величины получены для определенных вариантов размещения и могут служить как контрольные цифры, используемые при проектировании для предварительного расчета объема здания при разработке Т?О, а также при других предварительных расчетах.
При разработке проектов и рабочих проектов площади помещений автозалов, ЛАЦ, кроссов, ввода кабелей, компрессорной, аккумуляторной и выпрямительной определяются составом и размещением оборудования.
Площадь зданий ОПС, ОПТС ГТС, СТС
|
Наименование единицы емкости |
Площадь в м2/1 № |
|
|
Координатные АТС |
Квазиэлектронные и электронные АТС |
|
|
1 абонентский номер ОПС |
0,11 (0,08)1) |
0,05 |
|
1 эквивалентный номер ОПТС |
0,15 |
0,07 |
|
1 абонентский номер ОС |
0,25 |
0,11 ÷ 0,2 в зав. от емк. ОС |
|
1 абонентский номер УС, ЦС |
0,3 |
0,14 |
Примечание: 1) В скобках дана площадь для АТС-АМЭ.
Площадь зданий для ПС
|
Тип подстанций |
Площадь (м2/1 №) |
|
ПСК-1000К |
0,06 |
|
МТ-20 |
0,04 - 0,06 в зав. от емк. ПС |
|
ЭАТС-200 |
0,020 |
|
Квант |
0,040 - 0,09 в зав. от емк. КЭПС |
|
S-12, EWS?? |
0,010 |
|
АЦК-1000 |
|
9.3. Номенклатура и нормы площадей станции ГТС должны соответствовать требованиям, приведенным в таблице 9.3 - 9.7.
Производственные помещения станций ГТС
|
Наименование помещений |
Ед. изм. |
Размеры площади для станций конечной емкости номеров |
|
|
до 10000 включительно |
в одном здании 2000 - 60000 |
||
|
1. Автоматный зал (автозал) ОПС |
м2 |
ü определяется типом, составом и |
|
|
2. Автоматный зал ТС, ОПТС |
м2 |
ï размещением оборудования |
|
|
3. Линейно-аппаратный цех |
м2 |
ï |
|
|
4. Кросс |
м2 |
ï |
|
|
5. Помещение ввода кабелей (шахта) |
м2 |
ï |
|
|
6. Компрессорная |
м2 |
ï |
|
|
7. Выпрямительная |
м2 |
ï |
|
|
8. Аккумуляторная |
м2 |
þ |
|
|
9. Кислотная и тамбур |
м2 |
6 + 1,5 |
6 + 1,5 |
|
10. Дистилляторная |
м2 |
4 |
4 |
|
11. Комната контрольно-испытательной аппаратуры (КИА) для АТСКУ, АТС-АМЭ |
м2 |
Определяется составом и размещением оборудования |
|
|
12. Комната управления и контроля АТСКУ, АТС-АМЭ |
м2 |
- |
2 - 3 комнаты по 10 |
|
13. Комната ЗИП, устранение мелких неполадок и пайка (регулировочная) |
м2 |
- |
18 |
|
14. Телетайпная для ОПС, ОПТС, ТС-МТ-20 |
м2 |
Определяется составом и размещением оборудования |
|
|
15. ЦТЭ |
м2 |
|
|
|
16. Комната инженерно-технического персонала |
м2 |
- |
1 комната на здание - 18 |
|
17. Аппаратная охранной сигнализации |
м2 |
18 |
30 |
|
18. Дизельная 5) |
|
Определяется типом АДЭС |
|
Примечания.
1). Для АТС емкостью до 10000 №№ включительно, помещения 1, 3, 4, 11, 12, 13, 16 совмещаются.
2). Для АТСЭ емкостью до 20000 №№ включительно допускается совмещение помещений автозала, кросса и ЛАЦа.
3). Для станций емкостью до 5000 №№ помещения дистилляторной не следует предусматривать.
4). В помещении 4 должен быть предусмотрен резерв площади для установки кросса в объеме 20 % абонентской емкости для охранной сигнализации.
5). Необходимость помещения дизельной определяется в соответствии с ВСН-332-88.
Производственные помещения справочной службы
|
Наименование помещений |
Размеры площади, м2, для справочной службы |
||
|
типа АСПС-10 |
типа АСПС-26 |
типа АСПС-52 |
|
|
А. Производственные помещения |
|
|
|
|
Справочный зал |
50 |
100 |
200 |
|
Стативная |
10 |
10 |
10 |
|
Комната производственного контроля |
10 |
10 |
10 |
|
Б. Подсобно-производственные помещения |
|
|
|
|
Комнаты корректоров и машбюро |
16 |
16 |
24 |
|
Комната множительной техники |
18 |
18 |
18 |
|
Переплетная |
18 |
18 |
18 |
Производственные помещения служб ГТС
|
Наименование помещений |
Размеры площади, м2 |
|
Линейно-кабельный цех: |
|
|
Начальник цеха и секретарь |
18 |
|
Кабельная мастерская |
18 |
|
Группа технического учета |
18 |
|
Измерительная группа |
18 |
|
Комната измерительных приборов |
18 |
|
Станционный цех: |
18 |
|
Начальник цеха и секретарь |
18 |
|
Группа ЭПУ |
18 |
|
Группа аппар. систем передачи |
18 |
|
Помещения для приборов и оборудования |
48 |
|
Цех (участок) эксплуатации абонентских устройств: |
|
|
Начальник цеха (участка) |
9 |
|
Мастерская по ремонту телефонных аппаратов |
18 |
|
Помещение для обслуживающего персонала |
36 |
|
Кладовая инструментов и запчастей |
18 |
|
Участок (цех) по эксплуатации таксофонов: |
|
|
Начальник участка (цеха) |
9 |
|
Мастерская по ремонту таксофонов |
18 |
|
Помещения для обслуживающего персонала |
36 |
|
Кладовая инструментов и запчастей |
18 |
|
Цех развития: |
|
|
Начальник цеха развития |
9 |
|
Группа развития |
18 |
|
Абонентский отдел |
48 |
|
Производственная лаборатория |
Примечания.
1. Количество цехов зависит от организационной структуры, принятой на ГТС или административном телефонном узле.
2. Производственная лаборатория размещается с учетом того, что она является, как правило, общей для всей ГТС. Площадь для производственной лаборатории рассчитывается согласно производственного штата.
Административные помещения ГТС (телефонного узла)
|
Наименование помещений |
Размеры площади, м2 |
|
Кабинет начальника ГТС (телефонного узла) |
30 |
|
Кабинет зам. начальника ГТС (узла) |
18 |
|
Кабинет главного инженера ГТС (узла) |
20 |
|
Приемная начальника ГТС (узла) |
ü Принимается по общесоюзным |
|
Секретарь |
ï нормативам в зависимости от |
|
Отдел кадров |
ï штата работающих |
|
Помещение № 1 |
ï |
|
Бухгалтерия и плановый отдел |
ï |
|
Машинописное бюро |
þ |
9.5. Номенклатура и нормы площадей помещений станции СТС должны соответствовать требованиям, приведенным в табл. 9.7 - 9.8.
Производственные помещения станций СТС
|
Наименование помещений |
Размер площади, м2, для станций конечной емкости номеров, до |
|||
|
100 (128) |
200 (256) |
2000 (2048) |
4000 (4096) |
|
|
1. Автоматный зал |
25 (14) для ОС |
50 (28) для ОС |
600 (250) для ЦС |
1200 (450) для ЦС |
|
30 (14) для УС |
60 (28) для УС |
|||
|
2. ЛАЦ |
Совмещен с автозалом |
160 |
||
|
3. Кросс (???) |
Совместно с оборудованием АТС |
|
||
|
4. Выпрямительная |
- » - |
|
ü Определяется составом и |
|
|
5. Помещения ввода кабелей |
- |
- |
ï размещением оборудования |
|
|
- |
- |
ï |
||
|
7. Аккумуляторная |
- |
- |
ï |
|
|
- |
- |
þ |
||
|
- |
- |
- |
12 - 15 |
|
|
- |
- |
4 ÷ 2 |
6 ÷ 2 |
|
|
11. Дистилляторная |
- |
- |
4 |
4 |
|
- |
- |
25 - 30 |
25 - 30 |
|
|
13. Комната инженерно-технического персонала |
- |
- |
10 |
10 |
|
14. Комната по текущему ремонту |
- |
- |
10 |
10 |
Примечания.
1. На указанных площадях емкость АТС квазиэлектронного типа может быть превышена с учетом их комплектации до значений указанных в скобках.
2. При размещении ЦС в зданиях районных узлов связи (РУС) помещения, указанные в п.п. 6, 8, 9, 10, 12 должны быть совмещены для всех служб электросвязи.
9.6. Отдельное помещение выпрямительной следует предусматривать в зданиях конечной емкостью 3000 номеров и более.
9.7. Помещения ввода кабелей и компрессорная должны предусматриваться для АТС, как правило, в подвальном (цокольном) помещении, а в зданиях без подвала на первом этаже с устройством приямков в полу помещения.
9.8. Отдельное помещение для справочной службы следует предусматривать в райцентре при эквивалентной емкости всех станций СТС не менее 3000 номеров. Эквивалентная емкость определяется в соответствии с п. 5.1.5.
9.9. На СТС помещение дистилляторной и кислотной предусматриваются только в здании ЦС.
9.10. Службы СТС должны, как правило, предусматриваться в зданиях ЦС.
Номенклатура и нормы площадей служб СТС приводятся в таблице 9.8.
Производственные помещения служб СТС
|
Наименование помещений |
Размер площади (кв. м.) |
|
|
АТС до 2000 №№ (насел. 8 - 10 тыс. чел) |
АТС до 4000 №№ (насел. 11 - 15 тыс. чел) |
|
|
Группа эксплуатации абонентских устройств |
15 |
25 |
|
Группа эксплуатации линейных сооружений |
15 |
15 |
|
Группа эксплуатации таксофонов |
10 |
15 |
|
Группа развития и ремонта |
15 |
25 |
|
Абонентский отдел |
15 |
25 |
|
Группа технического учета |
15 |
15 |
|
Производственная или измерительная лаборатория |
10 |
20 |
Примечание: При размещении ЦС в здании РУС приведенные помещения должны совмещаться для всех служб электросвязи.
9.11. Помещения административных служб СТС должны быть общими для всего предприятия связи и размещаться, как правило, в здании РУС. Размеры помещений принимаются по общесоюзным нормативам в зависимости от штата работающих.
9.12. Помещение военизированной охраны следует предусматривать для сельских АТС конечной емкостью не менее 2000 номеров, размещаемых в самостоятельных зданиях.
9.13. Номенклатура и нормы площади бытовых помещений зданий телефонных станций определяются в соответствии с требованиями главы СНиП «Вспомогательные здания и помещения промышленных предприятий. Нормы проектирования» и «Перечнем ?????????????????????.
10.1. Здание телефонной станции должно быть расположено в центре телефонной нагрузки.
10.2. Взаимное расположение технологических помещений в здании АТС должно предусматривать экономию кабеля и удобство эксплуатации.
10.3. Расположение помещений в здании АТС должно исключать проход через автоматный зал. Проход предусматривается только на случай пожара.
10.4. Помещения кросса и автоматного зала должны быть смежными (между этажами или на одном этаже). Ближе к кроссу должен располагаться автоматный зал ОПС, ОПТС.
10.5. На ГТС малой и средней емкости оборудование УСС, УВТС, УЗСЛ должно размещаться, как правило, совместно с оборудованием МТС или УИС, УВС.
10.6. Оборудование управляющего комплекса (УК) ИАТСКЭ, как правило, должно размещаться в соседнем с автозалом помещении. В этом же помещении размещается оборудование машинной периферии (телетайпы и перфораторы).
10.7. На АТСЭ комната с телетайпами должна размещаться смежно с автозалом.
10.8. Комната КИА должна располагаться смежно с автозалом и иметь самостоятельный вход.
10.9. В помещениях кросса должны размещаться каркасы кроссов абонентских и соединительных линий, вводно-коммутационных устройств (ВКУ), испытательно-измерительные столы (испытательные приборы), оборудование контроля за работой таксофонов, стативы с усилителями, абонентские установки высокочастотные (АВУ) и с дельта-модуляцией (Д-АВУ), Ц-АВУ, а также каналообразующая аппаратура телеграфной связи и оборудование ЛАЦ небольшого объема (до 5 стоек).
Помещение кросса должно располагаться, как правило, непосредственно над помещением ввода кабелей.
10.10. Помещения ввода кабелей связи и компрессорных (для размещения оборудования содержания кабелей под избыточным воздушным давлением) должно размещаться в отдельных смежных помещениях.
10.11. Помещение ввода и распайки линейных кабелей должно располагаться в подвальном, цокольном или на первом этаже. Вход в помещение должен быть самостоятельным из коридора.
10.12. Входы (выходы) в помещения ввода кабелей и компрессорных должны предусматриваться раздельно.
10.13. Помещение компрессорной должно быть изолировано.
10.14. Помещение ЛАЦ на ГТС должно быть, как правило, расположено рядом с автоматным залом ТС, ОПТС.
10.15. Аппаратуру систем передачи (СП) на станциях СТС следует размещать, как правило, в автоматном зале, в зданиях РУС - в ЛАЦе.
10.16. Помещение выпрямительной должно быть смежным с помещением аккумуляторной и располагаться, как правило, под автоматным залом.
Аккумуляторную, как правило, необходимо размещать в сторону дворовой части.
10.17. Дистилляторная и кислотная должна размещаться, как правило, смежно с аккумуляторной.
10.18. Регулировочная, комната пайки и комната инженерно-технического персонала должна располагаться в непосредственной близости от автозала, а помещение охранной сигнализации - вблизи кросса. Рабочее место регулировщика для сельских АТС емк. до 2000 номеров следует располагать в общем помещении с кроссом.
10.19. Абонентский отдел должен быть расположен на первом этаже и иметь свободный доступ клиентуры.
10.20. Цеха: линейно-кабельный, эксплуатации абонентских устройств и эксплуатации таксофонов, обслуживающие определенную группу станционных районов, должна быть, как правило, сконцентрированы в одном здании.
10.21. Цех развития должен размещаться в общем здании с администрацией ГТС или административного телефонного узла.
11.1. Размещение оборудования в автоматных залах и помещениях ЛАЦ должно выполняться с таким расчетом, чтобы свободная площадь, предназначенная для последующего расширения, могла быть, как правило, временно изолирована и использована эксплуатационной службой для других нужд.
11.2. Расположение рядов с оборудованием АТС, кроме АТСКУ, АТС-АМЭ, может быть как односторонним, так и двухсторонним.
11.3. Координатное оборудование в автоматных залах шириной до 18 м, как правило, располагается односторонними рядами, а в залах большей ширины - двухсторонними.
11.4. Ряды располагаются параллельно друг другу.
11.5. Начало отсчета рядов ведется от главного входа в автозал, либо от стативов абонентского оборудования.
11.6. Нумерация стативных рядов должна быть на левой стороне автозала нечетной, а на правой - четной, для АТСКУ, АТС-АМЭ, что определяется при размещении наблюдателя лицом к стороне, от которой начинается отсчет рядов. Для АТС с программным управлением нумерация рядов продолжается на другой стороне.
11.7. На всех типах станций, кроме АТСКУ, АТС-АМЭ, стативы в рядах должны быть расположены лицевой стороной приборов к главному входу в автоматный зал (со стороны основного входа в здание АТС), а на АТСКУ, АТС-АМЭ таким образом, чтобы в соседних рядах они были обращены друг к другу монтажными или лицевыми сторонами, при этом стативы первого ряда должны быть обращены лицевыми сторонами к главному входу.
11.8. Нумерация стативов и рядов станции с программным управлением включает номер зала или порядковый номер станции, номер ряда и порядковый номер или буквенное обозначение статива в ряду.
Порядковый номер стативов с одноименными приборами для остальных систем АТС должен начинаться с первого ряда, с лицевой стороны слева направо.
11.9. Главный проход автозала должен быть не менее 1200 мм при одностороннем расположении, а при двухстороннем - 1500 мм.
11.10. Минимальные размеры других эксплуатационных проходов зависят от типа оборудования и приведены в Методических руководствах по проектированию каждого типа оборудования.
11.11. При размещении ИИС на каждые два стола должно предусматриваться место для размещения картотеки размером 400 ´ 400 мм.
11.12. Размещение столов в кроссе должно производиться с соблюдением проходов в соответствии с табл. 11.1.
|
Наименование участка |
Расстояние, мм |
|
Проход с монтажной стороны столов |
800 |
|
Проход с лицевой стороны столов |
1500 |
|
От торца стола до стены, при наличии бокового прохода с другой стороны |
200 |
11.13. В помещениях ввода кабелей необходимо предусматривать металлоконструкции. Их следует устанавливать а один или несколько рядов.
Центральный проход между металлоконструкциями должен быть не менее 1,5 м (между концами консолей), а боковые проходы (между концами консолей и стеной) - не менее 0,8 м.
Расстояние между консолями по вертикали должно быть не менее 0,2 м, а расстояние от пола до первой консоли - 0,3 м (при горизонтальной распайке кабелей) или 0,15 м (при вертикальной распайке кабелей).
12.1. Здания АТС должны быть не ниже II степени огнестойкости. ЦС емкостью до 1000 №№, ОС емкостью до 200 номеров возможно размещать в зданиях III степени огнестойкости.
12.2. Число эвакуационных выходов из здания и с каждого этажа следует принимать по расчету, но не менее двух в соответствии с требованиями СНиП 11-90-81.
12.3. Планировочные и конструктивные решения зданий связи, размеры дверных проемов, лестничных клеток и коридоров должны предусматривать возможность монтажа и демонтажа оборудования связи, электротехнического и санитарно-технического оборудования как на период строительства, так и эксплуатации с учетом норм пожарной безопасности. Необходимость транспортных и монтажных проемов определяется технологией.
Монтажные проемы в наружных стенах, как правило, совмещаются с оконными проемами:
- для оборудования АТСКУ, АТС-АМЭ не менее 1,8 м по высоте и 1,2 м по ширине;
- для оборудования АТСЭ не менее 2,8 м по высоте и 1,2 м по ширине.
Монтажные проемы во внутренних стенах и перегородках, как правило, совмещаются со стандартным дверным заполнением. Для оборудования АТСКУ не менее 2,3 м по высоте и 1,1 м по ширине.
Для оборудования АТСЭ не менее 2,8 м по высоте и 1,2 м по ширине. В последнем монтажный проем рекомендуется заполнять стандартными дверными полотнами с дополнительной фрамугой.
12.4. В многоэтажных зданиях связи, требующих постоянного пребывания персонала, высотой более 15 м от планировочной отметки земли до отметки чистого пола верхнего этажа, следует предусматривать грузопассажирские лифты, количество, размеры и грузоподъемность которых определяется грузопотоком, габаритами и весом мелкогабаритного транспортируемого оборудования. Разовый подъем крупногабаритного оборудования на этаже (при монтаже станции) может быть осуществлен посредством стационарного мачтового грузопассажирского подъемника или другого вида подъемного механизма, доставляемого к зданию на период монтажа оборудования.
12.5. Ограждающие конструкции зданий связи следует проектировать с учетом требований СНиП 2.01.01-82, СНиП 11-3-79 исходя из температуры внутреннего воздуха и относительной влажности воздуха в помещениях согласно ГОСТ 12.1.005-76.
12.6. Над помещениями, где устанавливается аппаратура связи, электропитающие распределительные устройства, не допускается размещать помещения, связанные с потреблением воды (туалеты, умывальные, душевые, кондиционеры, столовые и буфеты).
12.7. Через помещения ввода кабелей не допускается прокладка силовых кабелей и транзитных инженерных коммуникаций.
12.8. Технологические требования к помещению аккумуляторной, выпрямительной и дистилляторной принимаются в соответствии с правилами устройств электроустановок (ПУЭ) и ВСН-332-88.
12.9. Междуэтажные перекрытия над помещениями ввода кабелей должны быть газонепроницаемыми, при этом следует учитывать технологические требования к указанным помещениям, приведенным во «Временных рекомендациях по предотвращению попадания газа в помещения ввода кабелей предприятий связи» и «Руководства по герметизации вводов кабелей предприятий связи», Минсвязи СССР.
Междуэтажное перекрытие над помещениями аккумуляторной, кислотной, электролитной и тамбуров к ним также должно быть газонепроницаемым.
12.10. В помещениях справочного зала АСПС конструкция пола должна обеспечивать размещение подпольных коммуникаций (труб, каналов).
12.11. В помещениях автозалов, ЛАЦ, кросса, КИА, УК, телетайпной предусматриваются пылезащитные мероприятия.
Чистые полы в производственных помещениях АТС должны настилаться на несгораемое основание (шлакобетон, керамзитобетон и т. п.).
12.11.1. Полы должны быть ровными, беспыльными, легко поддающимися очистке пылесосом и допускающих влажную уборку.
12.11.2. Поверхность стен и потолков должна быть гладкая из материалов, не выделяющих пыль и допускающих систематическую очистку от пыли.
12.11.3. Заполнение оконных и дверных проемов уплотняющими прокладками в притворах и фальцах.
12.12. Ограждающие конструкции производственных помещений должны обладать требуемой звукоизоляцией. Расчетные шумовые характеристики от технологического, электротехнического, санитарно-технического оборудования, а также внешних шумов (в городах, поселках) определяется в каждом конкретном случае при разработке проекта.
Допустимый уровень шума на рабочем месте в производственных помещениях должен соответствовать требованиям ГОСТ 12.1.003-83 и ведомственных норм допустимого шума на предприятиях связи, утвержденных МС СССР № 19 от 16.01.84 г.
В помещениях, где уровень шума превышает допустимые пределы необходимо предусматривать звукопоглощающие покрытия стен и потолка.
12.13. В производственных помещениях при длине помещения свыше 10 м необходимо предусматривать не менее двух дверных проемов.
12.14. Естественная освещенность помещения АТС принимается в соответствии главы СНиП 11-4-79 «Естественное и искусственное освещение», ОСТ 32-9-31 и условиями максимальной изоляции технологического оборудования от наружной среды, защита от инсоляции, проникновения пыли, продувания и т. п.
Коэффициенты естественной освещенности КЕО для различных помещений приведены в таблице 12.1.
|
Наименование помещений |
Коэффициент естественного освещения (КЕО), %, при боковом освещении |
|
1. Автозал ОПС, ТС, ОПТС, УСП, ЦС, УС, ОС, ЛАЦ |
0 |
|
2. Кросс |
0,51) |
|
3. Помещение ввода кабелей (шахта) |
0 |
|
4. Компрессорная |
не нормируется |
|
5. Выпрямительная |
не нормируется |
|
6. Аккумуляторная с кислотной |
не нормируется |
|
7. Дистилляторная |
не нормируется |
|
8. Комната ЗИП |
не нормируется |
|
9. Комната КИА |
0,1 |
|
10. Регулировочная, комната по текущему ремонту |
1,5 |
|
11. Комната управления и контроля телетайпная, комната ЦТЭ |
1,5 |
|
12. Комната инженерно-технического персонала |
1,0 |
|
13. Аппаратная охранной сигнализации |
0,1 |
|
14. Справочный зал |
1,5 |
|
15. Стативная справочной службы |
0 |
|
16. Комната производственного контроля |
1,0 |
|
17. Комната корректоров и машбюро |
1,5 |
|
18. Комната множительной техники |
не нормируется |
|
19. Переплетная |
0,5 |
|
20. Зал ЭВМ (УК «Исток») |
1,2 |
Примечание: 1) Для кроссов, размещаемых в зданиях АТС без постоянного присутствия обслуживающего персонала, коэффициент естественной освещенности равен 0.
12.15. В производственных помещениях, где естественное освещение не требуется (автозал и др.), но оконные проемы предусмотрены по архитектурным соображениям, последние должны быть оборудованы солнцезащитными устройствами (жалюзи, шторы и др.) для уменьшения притока тепла от солнечной радиации.
12.16. Искусственная освещенность помещения АТС принимается в соответствии с требованиями главы СНиП «Естественное и искусственное освещение» и Инструкции по проектированию искусственного освещения предприятий связи (ВСН 45.122-77).
12.17. Аварийное освещение в зданиях АТС следует предусматривать на рабочих местах согласно перечня, приведенного в таблице 12.2, а для эвакуации людей по нормам главы СНиП «Естественное и искусственное освещение. Нормы проектирования».
|
Наименование помещений |
Рабочие места |
|
Комната контроля и управления, телетайпная, ЦТЭ |
рабочие места |
|
Кросс |
ИИС |
|
Справочный зал |
справочные столы |
12.18. В помещениях аккумуляторных батарей и выпрямительных должно быть исключено попадание солнечных лучей на выпрямители и аккумуляторы.
В связи с этим необходимо оконные проемы заполнять стеклоблоками, матовыми стеклами или предусматривать покраску стекол белой краской.
12.19. Число работающих мужчин и женщин в максимальную смену следует принимать в соответствии с нормативом численности, представленном в томе 2.
12.20. Основные нормативные данные производственных помещений, где отражены нагрузки на перекрытия от технологического оборудования, требования к покрытию пола и внутренней отделке, приведены в табл. 12.5.
12.21. При выборе отделочного материала необходимо руководствоваться приказом Минздрава СССР от 14.05.77 г. № 410 ДСП.
12.22. Чистое покрытие пола производственных помещений должно быть антистатическим, обеспечивающим стекание и отвод электростатического электричества.
Запрещается использование поливинилхлорида, так как он не обладает антистатическими свойствами, а при пожаре выделяет агрессивные газы.
|
Наименование помещений |
Нормативная высота от пола до выступающих частей потолка, мм |
Нормативная нагрузка на перекрытие, кг/мм2 |
Тип покрытия пола |
Внутренняя отделка стен и потолка |
Примечание |
|
Автозал с оборудованием АТСЭ типа МТ-20 |
3100 |
600 |
листовой антиста тический материал |
улучшенная покраска масляная |
1) Рекомендуется анти статический линолеум на тканевой основе |
|
Помещение ПС МТ-20 |
2500 |
600 |
- » - |
- » - |
- » - |
|
Автозал с оборудованием типа ЭАТС-200 Н = 2600 мм |
3350 |
500 |
- » - |
- » - |
- » - |
|
Н = 2200 мм |
2950 |
500 |
- » - |
- » - |
- » - |
|
Помещение ПСК-1000К |
2500 |
450 |
- » - |
- » - |
- » - |
|
Автозал с оборудованием АТСКЭ «Квант» |
3200 |
450 |
- » - |
- » - |
- » - |
|
Автозал и КИА с оборудованием типа АТСКУ, АТС-АМЭ |
3600 |
850 |
- » - |
- » - |
- » - |
|
Автозал с оборудованием типа К-100/2000У |
3000 |
740 |
- » - |
- » - |
- » - |
|
Помещение ввода кабелей ГТС с вертикальной распайкой |
3500 |
600 |
безискровый асфальтобетон или цементно-песчаный с железнением |
известковая побелка или водоэмульсион ная краска |
|
|
То же, с горизонтальной распайкой |
2500 |
600 |
- » - |
- » - |
|
|
То же, на СТС для станций емкостью до 4000 №№ |
2400 |
750 |
безискровый асфальтобетон |
известковая побелка |
|
|
Компрессорная |
2400 |
100 |
листовой антистатический материал1) |
звукопоглощающее покрытие3) |
с доведением уровня шума до 65 дБ 3) |
|
Телетайпная МТ-20 |
2500 |
250 |
- » - |
- » - |
|
|
ЦТЭ ЭАТС-200 |
2500 |
250 |
- » - |
улучшенная покраска масляная |
|
|
ЛАЦ ГТС Н = 2600 мм |
3350 |
600 |
- » - |
- » - |
|
|
Н = 2100 мм |
2950 |
600 |
- » - |
- » - |
|
|
ЛАЦ СТС Н = 2600 мм |
3350 |
400 |
- » - |
- » - |
|
|
Н = 2100 мм |
2950 |
400 |
- » - |
- » - |
|
|
Малогабаритный кросс поставки ЧССР: |
|
|
листовой антистатический материал1) |
улучшенная покраска масляная |
|
|
Н = 2350 мм |
2700 |
800 |
|
||
|
Н = 2875 мм |
3300 |
1000 |
|
||
|
Кросс МТ-20: Н1 = 2150 мм |
2550 |
100 |
- » - |
- » - |
|
|
Н2 = 2720 мм |
3220 |
150 |
- » - |
- » - |
|
|
Н3 = 3400 мм |
3900 |
200 |
- » - |
- » - |
|
|
Кросс ВКУ-У Н = 2530 мм |
3000 |
750 |
- » - |
- » - |
|
|
Н = 3040 мм |
3500 |
750 |
- » - |
- » - |
|
|
Кросс типа К-100/2000 |
3000 |
460 |
- » - |
- » - |
|
|
Выпрямительная |
3000 |
1000 |
плиточный |
- » - |
|
|
Аккумуляторная и кислотная |
2800 (для станций типа К 50/200 и 50/200М - 2600 |
1000 |
кислотоупорная, плиточный или безискровый асфальтобетон |
кислотоупорная покраска |
|
|
Дистилляторная |
2300 |
300 |
плиточный |
водоэмульсионная покраска |
|
|
Справочная служба АСПС: |
|
|
|
|
|
|
Справочный зал |
3500 |
450 |
листовой антистатический материал |
звукопоглощающее покрытие3) |
|
|
Стативная справочной |
3600 |
450 |
- » - |
улучшенная покраска масляная |
|
|
Комната производственного контроля |
2700 |
450 |
листовой материал |
водоэмульсионная покраска |
|
|
Комната корректоров и машбюро |
2700 |
300 |
- » - |
- » - |
|
|
Комната множительной техники |
2700 |
845 |
- » - |
- » - |
|
|
Переплетная |
2700 |
300 |
- » - |
- » - |
|
|
Службы ГТС: |
|
|
|
|
|
|
Кабельная мастерская, цех эксплуатации абонентских устройств, кабельно-канализационный, эксплуатации таксофонов, развития, производственная лаборатория, мастерская по ремонту телефонных аппаратов и другие производственные помещения |
|
из листового материала |
водоэмульсионная покраска |
|
|
|
Административные помещения |
по главе СНиП 2.09.04-87 |
|
- » - |
- » - |
|
Примечания.
1) - Шум, создаваемый в помещении телетайпной, составляет 68 дБ.
2) - Расчет нормативных нагрузок на перекрытия произведен исходя из следующих условий:
- перекрытия из сборных железобетонных плит;
- ширина плит 1200 мм;
- швы между плитами не залиты;
- оборудование расположено вдоль всей плиты;
- расстояние между рядами минимальное.
Если фактическая несущая нагрузка меньше указанной, необходимо изменить вышеперечисленные условия или усилить перекрытия.
12.23. В табл. 12.3 указаны минимально допустимые высоты помещений, которые должны округляться до ближайшей модульной высоты этажа.
12.24. В нормативную нагрузку на перекрытие входит:
постоянная нагрузка - эквивалентная длительно действующая нагрузка от устанавливаемого оборудования (вес оборудования с кабелем и желобами);
внешняя нагрузка, состоящая из:
а) монтажной нагрузки (для зданий связи - 1,5 кПа (150 кг/м2));
б) кратковременной нагрузки от веса людей - 1,0 кПа (100 кг/м2).
Собственный вес конструкции перекрытия в нормативную нагрузку не входит.
Коэффициент надежности по нагрузке для веса оборудования следует принимать по СНиП 11-6-74.
В реконструируемых и приспосабливаемых помещениях коэффициент надежности по нагрузке принимается равным 1,2.
При приспособлении существующих помещений для размещения технологического оборудования связи необходимо проверить несущую способность перекрытия в зависимости от фактического размещения технологического оборудования с учетом временной нагрузки.
Нормативная нагрузка от технологического оборудования представлена в табл. 12.3.
12.25. В производственных помещениях распаковка оборудования запрещается. Распаковка должна производиться в помещении, расположенном смежно или поблизости от производственных помещений.
Для распаковки может быть использован коридор или другое помещение (комната инженерно-технического персонала и т. п.).
12.26. Производственные помещения АТС должны отделяться от других помещений несгораемыми стенами или перегородками с пределом огнестойкости не менее 0,75 часа.
Аналогичными стенами и перегородками должны быть отделены помещения АТС от остальных помещений при размещении ее в административном или общественном здании.
Входы в помещения встроенных АТС должны быть отдельными.
12.27. В сейсмических районах здания предприятий связи должны быть запроектированы на расчетную сейсмическую нагрузку с учетом природных факторов, усугубляющих сейсмическое воздействие (район строительства, неблагоприятные геологические условия, форму сооружения в плане и т. п.).
12.28. Тепловыделения для расчета вентиляции следует определять из потребляемой мощности с учетом коэффициента неравномерности в течение суток (Кн) и коэффициента уменьшения телефонной нагрузки в летнее время (Кт). Потребляемая мощность определяется из величины тока, потребляемого в час наибольшей нагрузки с учетом коэффициента использования (Ки). Величины коэффициентов приведены в таблице 12.4.
|
АТС |
Кн |
Кт |
Ки |
|
ОПС типа АТСКУ, АТС-АМЭ при народно-хозяйственном секторе свыше 20 % |
0,75 |
0,8 |
0,8 |
|
То же, до 20 % |
0,8 |
0,8 |
0,8 |
|
ТС типа АТСКУ, АТС-АМЭ |
0,8 |
0,9 |
0,8 |
|
ЛАЦ ИКМ, АТСЭ |
1 |
1 |
1 |
12.29. Отопление, вентиляция и кондиционирование следует проектировать в соответствии со СНиП 2.04.05-86, ГОСТ 12.1.005-88 «Общие санитарно-гигиенические требования к воздуху рабочей зоны»; тепловыделениям, рассчитанным по п. 12.28, и технологическими требованиями к температурно-влажностному режиму, указанному в Технических условиях на оборудование.
12.30. В зданиях АТС следует, как правило, предусматривать центральное водяное отопление.
12.31. Для производственных помещений, с теплоизбытками следует предусматривать:
- устройства для отключения систем отопления;
- температуру на поверхности нагревательных приборов не более 95 °С;
- нагревательные приборы с легкоочищаемой поверхностью.
12.32. Расчетную температуру воздуха для отопления и кратность воздухообмена в помещениях следует принимать по табл. 12.5.
|
Наименование помещений |
Расчетная температура воздуха в помещении для отопления, °С |
Кратность воздухообмена |
||
|
приток воздуха |
удаление воздуха |
|||
|
1. Помещения с электронным оборудованием: автозал, аппаратная охранной сигнализации, ЦТЭ, ЛАЦ |
5° (дежурное отопление) |
|
по расчету на ассимиляцию термоизбытков в соответствии с технологическими требованиями и ГОСТ 12.1.005-88 |
|
|
2. Автозал с оборудованием координатного типа, КИА, стативная АСПС |
18° |
|
||
|
3. Комната инженерно-технического персонала; мастерская по ремонту телефонных аппаратов; цех эксплуатации абонентских устройств; цех кабельно-канализационный; комната производственного контроля; группа технического учета; измерительная группа; группа развития; абонентский отдел; производственная лаборатория; комната измерительных приборов; группа ЭПУ; кабельная мастерская; телетайпная |
18° |
1,5 |
1,5 |
|
|
5. Справочный зал при числе работающих: |
|
|
|
|
|
а) 30 человек и менее |
18° |
1,5 |
1,5 |
|
|
но не менее 30 м3/ч наружного воздуха на 1 человека |
||||
|
б) более 30 человек |
18° |
по расчету на ассимиляцию теплоизбытков с температурой в рабочей зоне не более 25 °С |
||
|
6. Зал ЭВМ (УК) |
в соответствии с требованиями СН 512-78 |
|||
|
7. Регулировочная (пайка) 2) |
18° |
1,5 |
1,5 |
|
|
8. Помещение ввода кабелей |
10° |
1,5 |
1,5 |
|
|
9. Компрессорная |
10° |
1 |
- |
|
|
10. Кросс |
18° |
1 |
1 |
|
|
11. Аккумуляторная с кислотными аккумуляторами |
10° |
по расчету в соответствии с РП.1.167-2-87 |
||
|
12. Кислотная |
10° |
- |
2 |
|
|
13. Дистилляторная |
- |
- |
1 |
|
|
14. Выпрямительная |
5° (дежурное отопление) |
по расчету на ассимиляцию теплоизбытков по допустимым параметрам |
||
1) Температура воздуха должна быть не ниже 18 °С при начальном этапе установки технологического оборудования. На период монтажа и наладки оборудования температуру воздуха 18 °С следует поддерживать переносимыми электронагревательными приборами.
2) Пайка производится не более 2-х часов в смену.
12.33. Температура воздуха в помещениях с избытками явного тепла должна быть не ниже 18 °С при минимальных тепловыделениях. В помещениях, где предусматриваются пылезащитные мероприятия, следует предусматривать превышение притока над вытяжкой на 20 %, но не более 1,5 кратности воздухообмена в 1 час и не менее 100 м3/час на каждую дверь помещения.
12.34. В помещениях (кроме аккумуляторных) зданий городских телефонных станций емкостью 1000 номеров и менее, и зданий отделений связи общим объемом 2500 м3 и менее, должна предусматриваться естественная вентиляция в объеме 1 кратного воздухообмена в час.
12.35. Для помещений с оборудованием АТСЭ следует предусматривать очистку приточного воздуха в соответствии с технологическими требованиями к чистоте воздуха.
Для остальных помещений очистку приточного воздуха от пыли следует осуществлять в фильтрах III класса. Применение масляных фильтров не допускается.
12.36. В помещениях ввода кабелей связи должна предусматриваться подача воздуха в нижнюю зону помещения. При этом забор воздуха должен осуществляться на уровне 2 м от земли. В холодный период года воздух подается без подогрева.
Удаление воздуха должно осуществляться из верхней зоны помещения. Установка задвижек и шиберов на воздуховодах не допускается.
12.37. За расчетный воздухообмен в помещении с кислотными аккумуляторами следует принимать количество воздуха, необходимого для обеспечения ПДК серной кислоты и допустимой взрывоопасной концентрации водорода при заряде самой большой батареи и одновременном подзаряде всех остальных батарей.
При расчете воздухообмена использовать «Методическое руководство по проектированию РН.1.167-2-87», выпущенное институтом Гипросвязь г. Москва.
При проектировании помещений аккумуляторной должны быть учтены требования ПУЭ-76 раздел IV.
Во всех случаях в помещениях аккумуляторной должен быть обеспечен 2-х кратный воздухообмен в час.
В тамбур-шлюз аккумуляторной следует предусматривать подачу воздуха согласно СНиП 2.04.05-86.
12.38. Перечень производственных помещений станций ГТС с указанием категорий по взрывной, взрывопожароопасной и пожарной опасности представлен в таблице 12.6.
Перечень производственных помещений АТС с указанием классов и категорий по взрывоопасности и пожароопасности
|
Наименование помещений |
Класс по ПУЭ |
Категория по СНиП |
|
1. Автоматный зал ОПС, ОПТС, ПС, ЦС, УС, ОС, ЛАЦ |
не нормируется |
В |
|
2. Кросс |
не нормируется |
В |
|
3. Помещение ввода кабелей связи в наземных зданиях (шахта) |
В-1б |
В |
|
4. Компрессорная |
В-1б |
Г |
|
5. Помещение дизельных электростанций |
не нормируется |
Г |
|
6. Помещение пристроенной, встроенной комплектной трансформаторной подстанции (КТП) с трансформаторами |
|
|
|
а) масляными |
не нормируется |
В |
|
б) сухими |
не нормируется |
Д |
|
7. Помещение со свинцовыми (кислотными) аккумуляторами открытого и закрытого типа, установленными на стеллажах |
|
|
|
а) при заряде (в том числе формировочном и контрольном перезаряде) напряжением более 2,3 В |
В-1а |
по методике СНиП 24-86 |
|
б) при заряде напряжением до 2,3 В |
не нормируется |
|
|
8. Помещение со щелочными аккумуляторами, установленными на стеллажах |
В-1а |
|
|
9. Помещение с аккумуляторами закрытого типа, установленными в вентилируемых шкафах |
на класс помещения аккумуляторы не влияют |
по методике ОНТП 24-86 |
|
10. Дистилляторная, электролитная (кислотная, щелочная) |
не нормируется |
Д |
|
11. Выпрямительная |
не нормируется |
Г |
|
12. Комната контрольно-испытательной аппаратуры (КИА) |
не нормируется |
В |
|
13. Комната ЗИП, устранение мелких неполадок, пайка (регулировочная) |
не нормируется |
В |
|
14. Комната управления и контроля |
не нормируется |
- |
|
15. Комната инженерно-технологического персонала |
не нормируется |
- |
|
16. Аппаратная охранной сигнализации |
не нормируется |
В |
|
17. Телетайпная, ЦТЭ ЭАТС-200 |
не нормируется |
В |
|
18. Помещения справочной службы |
не нормируется |
В |
|
19. Помещения УК ИАТСКЭ |
не нормируется |
в соответствии с тре бованием СН 512-78 |
12.41. Категории технологических электроприемников предприятий проводной связи по обеспечению надежности их электроснабжения приведены в таблице 12.7.
|
Технологические электроприемники на предприятиях и объектах |
Категория по надежности электроснабжения |
|
Городские телефонные станции емкостью свыше 20000 №№ на районированной сети, транзитные узлы любого назначения (УИС, УВС, УВСМ, УСС и т. д.) |
Особая группа I категории |
|
Городские телефонные станции емкостью свыше 3000 №№ на нерайонированных сетях |
- » - |
|
Городские телефонные станции емкостью свыше 3000 №№ до 20000 №№ на районированных сетях |
- » - |
|
Городские телефонные станции емкостью до 300 №№ на районированной и нерайонированной сети, справочная служба, ЦТЭ, узел сбора информ. по учету стоимости телефонных разговоров, АТС и подстанций электронных систем емкостью свыше 100 до 3000 №№ на городских районированных и нерайонированных сетях |
I |
|
Подстанция типа ПСК-1000 емкостью до 3000 №№, подстанции и АТС электронных систем емкостью до 1000 №№ |
II*) |
|
Центральная станция (ЦС) сельской телеф. сети, УСП |
Особая группа I категории |
|
Узловые станции (УС) сельской телефонной сети, оконечные станции СТС емкостью 512 №№ и выше |
I |
|
Оконечные станции (ОС) СТС менее 512 №№ |
I |
Примечание: *) При включении абонентов ПД категория уточняется с заказчиком.
12.42. Помещения станций ГТС и СТС должны быть телефонизированы, часофицированы, а помещения без постоянного пребывания обслуживающего персонала должны быть оборудованы автоматической пожарной сигнализацией. Нормы числа телефонных аппаратов, извещателей тревожной сигнализации, вторичных электрочасов и абонентских устройств радиотрансляционной сети приведены в таблице 12.8.
12.43. Число извещателей на трансформаторной подстанции принимается по числу трансформаторов и дополнительно по два чувствителя в РУ-6 10 кВ и щитовой.
12.44. Все помещения зданий АТС ГТС и СТС на первом этаже здания должны быть оборудованы автоматической охранной сигнализацией на разбитие стекол, входная дверь в здании - на открывание. На ГТС - с выводом на пульт охранной сигнализации, на СТС - без вывода, с организацией наружной шумовой сигнализации.
|
Наименование помещений |
Число телефонов городской АТС |
Извещатели пожарной сигнализации |
Вторичных электрочасов настенных |
Абонентских устройств РТ сети (точек) |
|
I. Производственные помещения станций ГТС |
||||
|
1. Автоматный зал (автозал) ОПС, ТС, ПС, ОПТС |
1 |
дым |
1 |
1 |
|
2. Линейно-аппаратный цех |
1 |
дым |
1 |
1 |
|
3. Кросс |
11) |
дым |
1 |
1 |
|
4. Помещение ввода кабелей (шахта) |
- |
дым, газ2) |
- |
- |
|
5. Компрессорная |
- |
дым |
- |
- |
|
6. Выпрямительная |
- |
- |
- |
- |
|
7. Аккумуляторная |
- |
- |
- |
- |
|
8. Кислотная и тамбур |
- |
- |
- |
- |
|
9. Дистилляторная |
- |
- |
- |
- |
|
10. Комната контрольно-испытательной аппаратуры (КИА) |
- |
дым |
- |
- |
|
11. Комната управления и контроля |
1 |
- |
1 |
1 |
|
12. Телетайпная |
1 |
дым |
1 |
1 |
|
13. ЦТЭ |
1 |
дым |
1 |
1 |
|
14. Комната ЗИП, устранение мелких неполадок и пайка (регулировочная) |
- |
дым |
- |
- |
|
15. Комната инженерно-технического персонала и хранения технической документации и распечаток с телетайпов |
1 |
тепло |
1 |
1 |
|
16. Аппаратная охранной сигнализации |
- |
дым |
- |
- |
|
III. Производственные помещения справочной службы |
||||
|
17. Справочный зал |
- |
дым или тепло |
- |
- |
|
18. Стативная |
- |
дым |
- |
- |
|
19. Комната производственного контроля |
1 |
дым |
1 |
1 |
|
20. Комнаты корректоров и машбюро |
- |
тепло |
- |
- |
|
21. Комната множительной техники |
- |
дым |
- |
- |
|
22. Переплетная |
- |
тепло |
- |
- |
|
IV. Производственные помещения служб ГТС |
||||
|
Линейно-кабельный цех: |
|
|
|
|
|
23. Начальник цеха и секретарь |
1 |
тепло |
- |
- |
|
24. Кабельная мастерская |
1 |
тепло |
- |
- |
|
25. Группа технического учета |
1 |
тепло |
- |
- |
|
26. Измерительная группа |
1 |
тепло |
- |
- |
|
27. Комната измерительных приборов |
- |
дым |
- |
- |
|
Станционный цех: |
|
|
|
|
|
28. Начальник цеха и секретарь |
1 |
тепло |
- |
- |
|
29. Группа ЭПУ |
1 |
тепло |
- |
- |
|
30. Группа аппар. систем перед. |
1 |
тепло |
- |
- |
|
31. Помещение для приборов и оборудования |
- |
дым |
- |
- |
|
Цех (участок) эксплуатации абонентских устройств: |
|
|
|
|
|
32. Начальник цеха (участка) |
1 |
тепло |
- |
- |
|
33. Мастерская по ремонту телефонных аппаратов |
1 |
дым |
- |
- |
|
34. Помещение для обслуживающего персонала |
1 |
тепло |
- |
- |
|
35. Кладовая инструментов и запчастей |
1 |
дым |
- |
- |
|
Участок (цех) по эксплуатации таксофонов: |
|
|
|
|
|
36. Начальник участка (цеха) |
1 |
тепло |
- |
- |
|
37. Мастерская по ремонту таксофонов |
1 |
тепло |
- |
- |
|
38. Помещение для обслуживающего персонала |
1 |
тепло |
- |
- |
|
39. Кладовая инструментов и запчастей |
- |
дым |
- |
- |
|
Цех развития: |
|
|
|
|
|
43. Начальник цеха развития |
1 |
тепло |
- |
- |
|
44. Группа развития |
1 |
тепло |
- |
- |
|
45. Абонентский отдел |
1 |
тепло |
- |
- |
|
46. Производственная лаборатория |
1 |
дым |
- |
- |
|
V. Производственные помещения станций СТС |
||||
|
47. Автоматный зал |
1 |
дым |
1 |
1 |
|
48. Кросс (ВКУ) |
1 |
дым |
1 |
1 |
|
49. Выпрямительная |
- |
дым |
- |
- |
|
50. Помещение ввода кабелей |
- |
дым и газ2) |
- |
- |
|
51. Компрессорная |
- |
дым |
- |
- |
|
52. Аккумуляторная |
- |
дым |
- |
- |
|
53. Справочная |
1 |
тепло |
- |
1 |
|
54. Регулировочная |
- |
дым |
- |
1 |
|
55. Кислотная |
- |
- |
- |
- |
|
56. Дистилляторная |
- |
- |
- |
- |
|
57. Управляющий комплекс (УК) |
1 |
дым |
- |
1 |
|
58. Комната инженерно-технического персонала |
1 |
тепло |
1 |
1 |
|
59. Комната по текущему ремонту |
1 |
тепло |
- |
1 |
|
VI. Производственные помещения служб СТС |
||||
|
60. Группа эксплуатации абонентских устройств |
1 |
тепло |
- |
1 |
|
61. Группа эксплуатации линейных сооружений |
1 |
тепло |
- |
1 |
|
62. Группа эксплуатации таксофонов |
1 |
тепло |
- |
1 |
|
63. Группа развития и ремонта |
1 |
тепло |
- |
1 |
|
64. Группа технического учета |
1 |
тепло |
- |
1 |
|
65. Абонентский отдел |
1 |
тепло |
- |
1 |
|
66. Производственная или измерительная лаборатория |
1 |
тепло |
- |
1 |
Примечания.
1) Предусматривается при наличии ИИС.
2) Предусматривается с момента освоения газоанализаторов.
12.45. Группы санитарной характеристики производственных процессов для различных помещений согласно СНиП 2.09.04-87 представлены в таблице 12.9.
|
Наименование помещений |
Группа санитарной характеристики производственных процессов |
|
1. Автоматный зал ОПС, ТС, ОПТС |
Iа |
|
2. Линейно-аппаратный цех |
Iа |
|
3. Кросс |
Iа |
|
4. Помещение ввода кабелей (шахта) |
Iб |
|
5. Компрессорная |
IIIа |
|
6. Выпрямительная |
Iб |
|
7. Аккумуляторная |
IIIа |
|
8. Кислотная и тамбур |
IIIа |
|
9. Дистилляторная |
- |
|
10. Комната контрольно-испытательной аппаратуры (КИА) для АТСКУ, АТС-АМЭ |
Iа |
|
11. Комната управления и контроля ОПС, ТС - АТСКУ, АТС-АМЭ |
Iа |
|
12. Комната ЗИП, устранение мелких неполадок и пайка (регулировочная) |
IIIа |
|
13. Телетайпная для ОПС, ОПТС, ТС - МТ-20 |
Iа |
|
14. ЦТЭ ЭАТС-200 |
Iа |
|
15. Комната инженерно-технического персонала и хранения |
Iа |
|
16. Аппаратная охранной сигнализации |
Iа |
|
17. Дизельная |
Iб |
|
18. Зал ЭВМ (УК) |
Iа |
|
19. Помещение для технического обслуживания и хранения ЗИП |
Iа |
|
20. Справочный зал |
Iа |
|
21. Стативная АСПС |
Iа |
|
22. Комната производственного контроля |
Iа |
|
23. Комната корректоров и машбюро |
Iа |
|
24. Комната множительной техники |
IIIа |
|
25. Переплетная |
IIIа |
13.1.1. Марки применяемых станционных кабелей и проводов должны соответствовать требованиям действующих ГОСТ.
13.1.2. Межстоечные соединения цепей тональной частоты АТС, аппаратуры систем передачи, входные и выходные цепи усилителей низкой частоты должны выполняться станционными низкочастотными кабелями в оболочке из пластиката пониженной горючести (типа ТСВнг).
13.1.3. Входные и выходные цепи НЧ усилителей должны быть разнесены по разным кабелям.
13.1.4. При проектировании и монтаже межстоечных соединений аппаратуры цифровых систем передачи должны выполняться следующие условия:
1) цепи приема и передачи необходимо разносить по разным кабелям;
2) цепи приема и передачи одного сигнального канала должны выполняться в одной паре кабеля.
13.1.5. Для индукторных и зуммерных цепей на участке от СВУ до рядовых сборных рамок АТС координатного и декадно-шагового типа должны предусматриваться экранированным проводом. Для сигнальных цепей по остальным участкам АТС прокладываются станционные низкочастотные кабели и провода.
13.1.6. Для высокочастотных и цифровых цепей должны применяться высокочастотные экранированные кабели (типа КМС).
13.1.7. На минусовых магистральных шинах в автозалах и ЛАЦ должны быть установлены контрольно-измерительные щиты (КИЩ).
13.1.8. Сеть ремонтного освещения с напряжением не выше 42 В должна предусматриваться в производственных помещениях АТС и ЛАЦ со стативным оборудованием для питания переносных светильников и электропаяльников.
13.1.9. Сеть местного (рядового) освещения проектируется для станций, комплектуемых оборудованием рядового освещения промышленного изготовления. Эта сеть освещения выполняется кабелями и проводами с алюминиевыми жилами.
На АТС, в комплектации которых оборудование рядового освещение отсутствует, местное освещение предусматривается от штепсельных розеток ремонтного освещения.
13.1.10. Соединение низкочастотных цепей на промежуточных устройствах (кросс, промщиты, вводно-коммутационные устройства, стойки промежуточных переключений) должны производиться кроссовым проводом с медными жилами.
13.1.11. Составление схем кроссировок на промщитах должно производиться по действующим инструкциям.
13.2.1. Каркасы оборудования АТС должны быть заземлены. Шина заземления прокладывается от щитка заземлений до автозала и далее вдоль бокового прохода по конструкциям рядов.
Ответвления на ряды АТС следует выполнять проводом с алюминиевыми жилами, при этом должно быть обеспечено соединение каркасов всех стативов ряда шлейфом без разрыва. Аналогичным проводом следует делать ответвления к оборудованию, установленному вне рядов.
13.2.2. Линейные сооружения, а также необслуживаемые регенерационные пункты должны быть оборудованы защитными заземляющими устройствами, сопротивление которых следует принимать в соответствии с ГОСТ 464-79* «Заземления для стационарных установок проводной связи, радиорелейных станций, радиотрансляционных узлов и антенн систем коллективного приема телевидения».
Защита кабельных линий СТС и ГТС должна осуществляться:
а) от опасных и мешающих напряжений и токов согласно:
- Требованиям ГОСТ 5237-81;
- Правил защиты устройств проводной связи, железнодорожной сигнализации и телемеханики от опасного и мешающего влияния линий электропередач;
- Руководства по защите систем передачи от мешающего влияния радиостанций, Минсвязи СССР;
- Правил защиты устройств проводной связи и проводного вещания от влияния тяговой сети электрических железных дорог переменного тока, Минсвязи СССР;
- Правил защиты устройств проводной связи от влияния тяговой сети электрических железных дорог постоянного тока, Минсвязи СССР;
- Нормы допустимых продольных ЭДС, индуктируемых на участках сближения кабельных линий СТС, уплотняемых различными системами передачи, с ЛЭП и с электрифицированными железными дорогами приведены в таблице 13.1.
|
Система |
Допустимая продольная ЭДС, В, при влиянии |
Участок, к которому относится норма |
||
|
длительном |
кратковременном |
|||
|
ВЛ |
эл. ж. д. |
|||
|
КНК-12 |
- |
1360 |
830 |
Секция ДП |
|
КНК-12 |
150 |
480 |
230 |
усилительный участок |
|
ИКМ-15 |
150 |
650 |
участок сближения в пределах полусекции ДП |
|
|
ИКМ-30С-4 |
||||
|
Зона-15 |
||||
|
ИКМ-15/30 |
||||
|
«Кедр» |
||||
б) от всех видов коррозии согласно требованиям ГОСТ 9.015-74*:
- Руководства по проектированию и защите от коррозии подземных металлических сооружений связи, Минсвязи СССР;
- Рекомендаций по совместной защите от коррозии подземных металлических сооружений связи и трубопроводов, Минсвязи СССР.
в) от ударов молний - согласно требованиям Руководства по защите подземных кабелей от ударов молний, Минсвязи СССР.
Примечание: Кроме указанных в подпунктах а - в документов при разработке проектов необходимо также учитывать требования:
- Рекомендаций по одновременной защите кабелей связи от коррозии, уларов молнии и электромагнитных влияний, изд. Минсвязи СССР;
- Временных указаний по защите персонала и сооружений связи и радиофикации на участках пересечения и сближения с линиями электропередачи 750 кВ, изд. Минсвязи СССР;
- Правил устройства электроустановок (ПУЭ) - разделы II 3, и 4 и 5, изд. Минэнерго СССР.
В дополнение к Руководству по защите подземных кабелей от ударов молнии необходимо учитывать следующее:
а) защиту от ударов молний одночетверочных кабелей всех типов (в металлических и неметаллических оболочках) на загородных участках трасс необходимо предусматривать только в тех случаях, когда кабели прокладываются:
в районах с повышенной грозодеятельностью (со скальным грунтом при грозодеятельности свыше 80 часов в год и в районах вечной мерзлоты с грозодеятельностью свыше 20 часов в год), а также в горных районах, районах со скальным грунтом при удельном сопротивлении грунтов свыше 500 Ом·м и в районах вечной мерзлоты, в районах, где существующие одночетверочные кабели подвергались повреждениям от ударов молний чаще установленной Руководством по защите подземных кабелей от ударов молний нормы;
в местах сближения с отдельно стоящими деревьями и опорами линий связи и линий электропередач;
б) одночетверочные кабели при прохождении вдоль ЛЭП и ВЛС с соблюдением условий, изложенных в п. 2а, должны быть защищены от ударов молний с помощью прокладки одного троса. При этом, при прокладке кабелей по открытой местности, должна предусматриваться прокладка одного троса над кабелем на расстоянии 0,4 м от него, а при прокладке кабеля вдоль леса, ВЛС или ЛЭП трос следует прокладывать на одной глубине с кабелем на расстоянии 1 - 5 м от него (в сторону леса, ВЛС или ЛЭП);
в) абонентские комплекты и комплекты соединительных линий телефонных станций и абонентские пункты ГТС и СТС должны быть защищены в соответствии с требованием ГОСТ 5238-81.
14.1. Для исключения и возмещения наносимого ущерба природной среде и возникновения нежелательных экологических воздействий, особенно в наиболее ранимых и опасных районах (государственные заповедники и национальные природные парки, места миграции ценных животных, нерестилища рыб ценных пород, береговые зоны морей, рек, районы вечной мерзлоты, горная местность с осыпными и камнепадными проявлениями и др.), в проектах строительства линейно-кабельных сооружений связи должны, по согласованию с соответствующими организациями, предусматриваться природоохранные мероприятия или средства по компенсации причиненного ущерба.
14.2. При разработке траншей и котлованов для прокладки по сельскохозяйственным угодьям (пашня, пастбища и др.) и землям лесных хозяйств по согласованию с землепользователями должны предусматриваться мероприятия по рекультивации временно отводимых на период строительства земель и средства на восстановление плодородного слоя почвы.
14.3. При разработке мероприятий по рекультивации земель, охране недр и животного мира необходимо руководствоваться требованиями государственных и отраслевых регламентирующих документов по охране недр, животного мира и восстановлению земель, а также утвержденным Минсвязи СССР методическим руководством «Рекультивация земель, нарушаемых при строительстве объектов связи» и СНиП 1.02.01-85.
14.4. В проектах кабельных переходов через водные преграды должны предусматриваться мероприятия, исключающие возможность загрязнения окружающей среды, а также обеспечивающие сохранение рыбных запасов при их строительстве согласно рекомендациям методического руководства по проектированию Минсвязи СССР «Кабельные переходы связи через водные преграды с учетом требований охраны окружающей среды».
14.5. При демонтаже свинцовых аккумуляторов в рабочих проектах и рабочей документации необходимо включать требование о нейтрализации электролита перед сливом его в канализацию.
15.1. В проектной документации на строительство линейно-кабельных сооружений связи и проводного вещания должны предусматриваться мероприятия, обеспечивающие безопасные условия труда строителей в соответствии с требованиями СНиП 11-4-80 и «Правил техники безопасности при работах на кабельных линиях связи и проводного вещания», изд. Минсвязи СССР.
15.2. В рабочей документации должны указываться опасные, с точки зрения техники безопасности, места по трассе прокладки линейных кабелей (охранные зоны подземных линейных сооружений и пересечения - с газопроводами, нефтепроводами, водопроводами, силовыми кабелями, магистральными кабельными линиями связи, высоковольтными линиями электропередачи) и определяться требования к способам и порядку выполнения строительно-монтажных работ в строгом соответствии с проектными решениями и условиями согласований эксплуатационных организаций или владельцев указанных подземных и наземных линейных сооружений.
15.3. В проектной документации на строительство станционных сооружений связи для предотвращения распределения пожара из помещения в помещение необходимо предусматривать заполнение свободного пространства, оставшегося после прокладки кабелей и проводов в проемах или трубах между помещениями, в том числе между этажами, легко удаляемыми негорючими материалами (минеральной ватой и др.).
16.1. Продолжительность строительства проектируемых объектов и сооружений ГТС и СТС должна определяться в соответствии с Нормами продолжительности строительства и задела в строительстве предприятий, зданий и сооружений, СНиП 1.04.03-85, раздел Г.
16.2. Производительность труда работников ГТС, занятых обслуживанием проектируемых объектов и сооружений, должна определяться как отношение тарифных доходов за год, получаемых от проектируемых сооружений, к проектной численности работников.
16.3. Уровень (степень) использования проектируемых сооружений ГТС и СТС должен соответствовать Нормам продолжительности и уровням освоения (задействования) проектных мощностей и экономических показателей, вводимых в действие предприятий, объектов, утвержденным Постановлением Госплана СССР от 10 мая 1984 г. № 95.
16.4. В условиях насыщенности улиц населенных пунктов подземными коммуникациями и в связи с требованиями техники безопасности при производстве работ следует предусматривать в проектах линейных сооружений уровень механизации земляных работ по вскрытию уличных покрытий, разработке и обратной засыпке траншей и котлованов не менее 20 - 25 % в городах и 35 % на загородных участках (с учетом местных условий).
16.5. Себестоимость продукции (годовые эксплуатационные расходы, отнесенные на единицу мощности) должна определяться в проектах сооружений ГТС и сопоставляться с Нормативами удельных эксплуатационных расходов на единицу мощности - (Нормативы эффективности капитальных вложений. Себестоимость продукции см. том II) в условиях стабильной экономики.
АИ - ступень абонентского искания
АВУ - абонентская установка ВЧ
АЛ - абонентская линия
АМТС - автоматическая междугородная телефонная станция
АОН - аппаратура определения номера и категории вызывающего абонента
АПУС - аппаратура повременного учета стоимости
АСКТ - автоматическая система контроля таксофонов
АСП - аналоговая аппаратура систем передач
АСТОА - автоматическая система технического обслуживания абонентов
АТС - автоматическая телефонная станция
АТСШ, АТСК, АТСКУ - автоматическая телефонная станция шаговая, координатная, координатная усовершенствованная
АТС-АМЭ - аналоговая модернизированная с электронным управлением соответственно
АТСКП - автоматическая телефонная станция типа «Пентаконта»
АТСЭ - автоматическая телефонная станция электронная
АУД - аппаратура установки данных
АЦКТ - аппаратура централизованного контроля таксофонов
АЦО - аналого-цифровое оборудование
ВВГ - вторичное временное группообразование
ВКС - вводно-кабельная стойка
ВКУ - вводно-коммутационное устройство
ВЛС - воздушные линии связи
ВПТС - внутрипроизводственная ТС
ГАТС - городская АТС
ГИ, ГИМ - ступень группового искания (М - междугородная)
ГТС - городская телефонная сеть
ЗСЛ - заказно-соединительная линия
ДТС - диспетчерская телефонная связь
Д-АВУ - абонентская высокочастотная установка с дельта-модуляцией
ИАТСКЭ - интегральная АТС квазиэлектронная
ИИС - испытательно-измерительные столы
КИА - контрольно-испытательная аппаратура
КПП - кабина переговорного пункта
КСА - комплект спаренного абонента
КИЩ - контрольно-измерительные щиты
КТС - комбинированная телефонная сеть
ЛАЦ - линейно-аппаратный цех
ЛИ - ступень линейного искания
МСС - межстанционная связь
МТС - междугородная телефонная связь
МУС - межузловая связь
ОЛТ - оборудование линейного тракта
ОПС - опорная станция
ОПТС - опорно-транзитная станция
ОС - оконечная станция
ОУ-ПД - оконечное устройство передачи данных
ПР - промрегистр
ПС, ПСК - подстанция (К - координатная)
ПСП - промежуточная стойка переключений
ПДИ - передача дискретной информации
РСЛ - комплект реле соединительных линий
РУС - рабочий узел связи
РДП - коммутационная установка районных диспетчерских пунктов
САЦО - стойка аналого-цифрового оборудования ИКМ-30
СВУ - сигнально-вызывное устройство
СКТ - стол контроля за работой таксофонов
СЛ, СЛМ - соединительная линия (М - междугородной связи)
СОЛТ - стойка оконечной линейной трансляции ИКМ-30
СП - аппаратура системы передачи
СТОА - служба технического обслуживания абонентов
СТС - сельская телефонная сеть
ТС - транзитная станция
ТсфАТС - таксофон городской
ТсфМТС - таксофон междугородный
ТЭО - технико-экономическое образование
УВТС - узел ведомственных телефонных станций
УИС, УВС, УВСМ - узел исходящего, входящего, входящего междугородного сообщения соответственно
УИСМ - узел исходящей связи междугородный
УЗСЛ - узел заказно-соединительных линий
УК - управляющий комплекс
УРТС - учрежденческая ручная телефонная станция
УС - узловая станция
УСП - узел сельско-пригородный
УСС - узел спецслужб
УПАТС - учрежденческо-производственная автоматическая станция
УПТС - учрежденческо-производственная телефонная станция
УОК-Ц - устройство оперативного контроля централизованное
УИС «0» - узел исходящей связи «0» пучков
УОС - узел обходной связи
УТ - узел транзитный
ЦБР - централизованное бюро ремонта
ЦСП - цифровая аппаратура систем передачи
ЦС - центральная станция
ЦТЭ - центр технической эксплуатации
ЦЭТ - центр эксплуатации таксофонов
ЧНН - час наибольшей нагрузки
ЭАТОА - электронная аппаратура технического обслуживания
ЭПУ - электропитающая установка.
СОДЕРЖАНИЕ
|
_________________________________________________________ |