АЛЬБОМ ТИПОВЫХ КОНСТРУКЦИЙ
ШТУЦЕРА ДЛЯ СОСУДОВ И АППАРАТОВ СТАЛЬНЫХ СВАРНЫХ
Типы, основные параметры, размеры и
общие технические требования
АТК 24.218.06-90
СОДЕРЖАНИЕ
ПРЕДИСЛОВИЕ
1. РАЗРАБОТАН Акционерным обществом «Центральное конструкторское бюро нефтеаппаратуры» (АО «ЦКБН»).
2. ПРИНЯТ И ВВЕДЕН В ДЕЙСТВИЕ Указанием Министерства тяжелого машиностроения СССР от 20 сентября 1990 г. № ВА-002-1-8993.
3. ПЕРЕИЗДАНИЕ 1995 г. октябрь.
4. СРОК ПРОВЕРКИ - 2000 г.
Периодичность проверки - 5 лет.
АЛЬБОМ ТИПОВЫХ КОНСТРУКЦИЙ
ШТУЦЕРА ДЛЯ СОСУДОВ И АППАРАТОВ СТАЛЬНЫХ СВАРНЫХ
Типы, основные
параметры, размеры и
общие технические требования
Дата введения 1995-12-01
Настоящий альбом типовых конструкций устанавливает типы, пределы применения, конструкцию и основные размеры штуцеров для сосудов и аппаратов, применяемых в нефтеперерабатывающей, нефтехимической, химической, газовой и других смежных отраслях промышленности на условное давление от 0,6 до 16,0 МПа, температуру от минус 70 до 600 °С.
В настоящем стандарте использованы ссылки на следующие стандарты:
ГОСТ 380-88 Сталь углеродистая обыкновенного качества. Марки.
ГОСТ 550-75 Трубы стальные бесшовные для нефтеперерабатывающей и нефтехимической промышленности. Технические условия.
ГОСТ 1050-88 Прокат сортовой, калиброванный со специальной отделкой поверхности на углеродистой качественной конструкционной стали. Общие технические условия.
ГОСТ 4543-71 Сталь легированная конструкционная. Марки и технические требования.
ГОСТ 5520-79 Сталь листовая углеродистая низколегированная и легированная для котлов и сосудов, работающих под давлением. Технические условия.
ГОСТ 5632-72 Стали высоколегированные и сплавы коррозионностойкие, жаростойкие и жаропрочные. Марки и технические требования.
ГОСТ 7350-77 Сталь толстолистовая коррозионностойкая, жаростойкая и жаропрочная. Технические условия.
ГОСТ 8479-70 Поковки на конструкционной углеродистой и легированной стали. Общие технические условия.
ГОСТ 8731-87 Трубы стальные бесшовные горячедеформированные и теплодеформированные. Технические условия.
ГОСТ 8733-87 Трубы стальные бесшовные холоднодеформированные и теплодеформированные. Технические условия.
ГОСТ 9940-81 Трубы бесшовные горячедеформированные из коррозионностойкой стали. Технические условия.
ГОСТ 9941-81 Трубы бесшовные холодно- и теплодеформированные из коррозионностойкой стали. Технические условия.
ГОСТ 10706-76 Трубы стальные электросварные прямошовные. Технические требования.
ГОСТ 12816-80 Фланцы арматуры соединительных частей и трубопроводов на Ру от 0,1 до 20,0 МПа (от 1 до 200 кгс/см2). Общие технические требования.
ГОСТ 12620-80 Фланцы стальные плоские приварные на Ру от 0,1 до 2,5 МПа (от 1 до 25 кгс/см2). Конструкция и размеры.
ГОСТ 12821-80 Фланцы стальные приварные встык на Ру от 0,1 до 20,0 МПа (от 1 до 200 кгс/см2). Конструкция и размеры.
ГОСТ 14637-89 Прокат толстолистовой из углеродистой стали обыкновенного качества. Технические условия.
ГОСТ 19201-89 Прокат из стали повышенной прочности. Общие технические условия.
ГОСТ 25054-81 Поковки из коррозионно-стойких сталей и сплавов. Общие технические условия.
ОСТ 26-291-94 Сосуды и аппараты стальные сварные. Общие технические условия.
ОСТ 26-2043-91 Болты, шпильки, гайки и шайбы для фланцевых соединений. Технические требования.
ТУ 14-3-460-75 Трубы стальные бесшовные для паровых котлов и трубопроводов.
ТУ 14-3-1905-93 Трубы бесшовные горячие и холоднодеформированные из коррозионностойкой стали марок 08Х22Н6Т(ЭП53), 08Х21Н6М2Т(ЭП54) и 10Х14Г14Н4Т (ЭИ711).
3.1. Альбом включает в себя рисунки, таблицы штуцеров, патрубков и общие технические требования.
3.2. Штуцера по конструкции и размерам предусматриваются пяти типов.
Типы штуцеров, номенклатура и условия их применения в зависимости от давления и температуры должны соответствовать таблице 1.
Тип 1 - штуцера с фланцами стальными плоскими приварными на условное давление от 0,6 до 2,5 МПа и температуру от минус 70 до 300 °С (рисунки 1 - 5, таблицы 2 - 12);
Тип 2 - штуцера с фланцами стальными приварными встык на условное давление от 0,6 до 16,0 МПа и температуру от минус 70 до 600 °С (рисунки 6 - 11, таблицы 13 - 25);
Тип 3 - штуцера утолщенные цельнокованные прямые на условное давление от 1,6 до 16,0 МПа и температуру от минус 70 до 600 °С (рисунки 12 - 15, таблицы 26 - 31);
Тип 4 - штуцера с утолщенными патрубками с фланцами приварными встык на условное давление от 1,6 до 16,0 МПа и температуру от минус 70 до 600 °С (рисунки 16 - 21, таблицы 32 - 43);
Тип 5 - штуцера цельнокованные с шейкой на условное давление от 6,3 до 16,0 МПа и температуру от минус 70 до 600 °С (рисунок 22, таблицы 44 - 46).
(Измененная редакция, Изм. № 1).
Таблица 1
Номенклатура штуцеров
|
Штуцера с фланцами стальными плоскими приварными с соединительным выступом |
Штуцера с фланцами стальными плоскими приварными с выступом или впадиной |
Штуцера с фланцами стальными плоскими приварными с шипом или пазом |
|||||||||||||
|
Тип 1 |
|
|
|
||||||||||||
|
исполнение 1 |
исполнения 2, 3 |
исполнения 4, 5 |
|||||||||||||
|
Ру, МПа (кгс/см2) |
0,6 (6) |
1,0 (10) |
1,6 (16) |
2,5 (25) |
0,6 (6) |
1,0 (10) |
1,6 (16) |
2,5 (25) |
4,0 (40) |
|
0,6 (6) |
1,0 (10) |
1,6 (16) |
2,5 (25) |
|
|
Проход условный, Dy, мм |
15 |
|
|
|
|
|
|
|
|
- |
- |
|
|
|
|
|
20 |
|
|
|
|
|
|
|
|
|
|
|
|
|||
|
25 |
|
|
|
|
|
|
|
|
|
|
|
|
|||
|
32 |
|
|
|
|
|
|
|
|
|
|
|
|
|||
|
40 |
|
|
|
|
|
|
|
|
|
|
|
|
|||
|
50 |
|
|
|
|
|
|
|
|
|
|
|
|
|||
|
80 |
|
|
|
|
|
|
|
|
|
|
|
|
|||
|
100 |
|
|
|
|
|
|
|
|
|
|
|
|
|||
|
150 |
|
|
|
|
|
|
|
|
|
|
|
|
|||
|
200 |
|
|
|
|
|
|
|
|
|
|
|
|
|||
|
250 |
|
|
|
|
|
|
|
|
|
|
|
|
|||
|
300 |
|
|
|
|
|
|
|
|
|
|
|
|
|||
|
350 |
|
|
|
|
|
|
|
|
|
|
|
|
|||
|
400 |
|
|
|
|
|
|
|
|
|
|
|
|
|||
|
500 |
|
|
|
|
|
|
|
|
|
|
|
|
|||
|
Температура, °С |
От минус 70 до 300 |
||||||||||||||
Продолжение табл. 1
|
Наименование |
Штуцера с фланцами стальными приварными встык с соединительным выступом |
Штуцера с фланцами стальными приварными встык с выступом или впадиной |
Штуцера с фланцами стальными приварными встык с шипом или пазом |
Штуцера с фланцами стальными приварными встык под прокладку овального сечения |
|||||||||||||||||
|
Тип 2 |
|
|
|
|
|||||||||||||||||
|
исполнение 1 |
исполнения 2, 3 |
исполнения 4, 5 |
Исполнение 6 |
||||||||||||||||||
|
Ру, МПа (кгс/см2) |
1,0 (10) |
1,6 (16) |
2,5 (25) |
4,0 (40) |
0,6 (6) |
1,0 (10) |
1,6 (16) |
2,5 (25) |
4,0 (40) |
6,3 (63) |
0,6 (6) |
1,0 (10) |
1,6 (16) |
2,5 (25) |
4,0 (40) |
6,3 (63) |
6,3 (63) |
10,0 (100) |
16,0 (160) |
|
|
|
Dy, мм |
15 |
- |
|
|
|
|
|
|
|
|
|
- |
- |
|
- |
|
- |
|
|
|
- |
|
20 |
|
|
|
|
|
|
|
|
|
|
|
|
|
|
|||||||
|
25 |
|
|
|
|
|
|
|
|
|
|
|
|
|
|
|||||||
|
32 |
|
|
|
|
|
|
|
|
|
|
|
|
|
|
|||||||
|
40 |
|
|
|
|
|
|
|
|
|
|
|
|
|
|
|||||||
|
50 |
|
|
|
|
|
|
|
|
|
|
|
|
|
|
|||||||
|
80 |
|
|
|
|
|
|
|
|
|
|
|
|
|
|
|||||||
|
100 |
|
|
|
|
|
|
|
|
|
|
|
|
|
|
|||||||
|
150 |
|
|
|
|
|
|
|
|
|
|
|
|
|
|
|||||||
|
200 |
|
|
|
|
|
|
|
|
|
|
|
|
|
|
|||||||
|
250 |
|
|
|
|
|
|
|
|
|
|
|
|
|
|
|||||||
|
300 |
|
|
|
|
|
|
|
|
|
|
|
|
|
|
|||||||
|
350 |
|
|
|
|
|
|
|
|
|
|
|
|
|
|
|||||||
|
400 |
|
|
|
|
|
|
|
|
|
|
|
|
|
|
|||||||
|
500 |
|
|
|
|
|
|
|
|
|
|
|
|
|
|
|||||||
|
Температура, °С |
От минус 70 до 600 |
||||||||||||||||||||
Продолжение табл. 1
|
Наименование |
Штуцера утолщенные с соединительным выступом |
Штуцера утолщенные с выступом или впадиной |
Штуцера утолщенные под прокладку овального сечения |
|||||||||||
|
Тип 2 |
|
|
|
|||||||||||
|
исполнение 1 |
исполнения 2, 3 |
исполнение 4 |
||||||||||||
|
Ру, МПа (кгс/см2) |
1,0 (10) |
1,6 (16) |
2,5 (25) |
4,0 (40) |
0,6 (6) |
1,0 (10) |
1,6 (16) |
2,5 (25) |
4,0 (40) |
6,3 (63) |
6,3 (63) |
10,0 (100) |
16,0 (160) |
|
|
Dy, мм |
15 |
- |
- |
- |
|
- |
- |
- |
- |
|
|
|
|
|
|
20 |
|
|
|
|
|
|
||||||||
|
25 |
|
|
|
|
|
|
||||||||
|
32 |
|
|
|
|
|
|
||||||||
|
40 |
|
|
|
|
|
|
||||||||
|
50 |
|
|
|
|
|
|
||||||||
|
80 |
|
|
|
|
|
|
||||||||
|
100 |
|
|
|
|
|
|
||||||||
|
150 |
|
|
|
|
|
|
||||||||
|
200 |
|
|
|
|
|
|
||||||||
|
250 |
|
|
|
|
|
|
||||||||
|
300 |
|
|
|
|
|
|
||||||||
|
350 |
|
|
|
|
|
|
||||||||
|
400 |
|
|
|
|
|
|
||||||||
|
500 |
|
|
|
|
|
|
||||||||
|
Температура, °С |
От минус 70 до 600 |
|||||||||||||
Продолжение табл. 1
|
Наименование |
Штуцера утолщенные с соединительным выступом |
Штуцера утолщенные с выступом или впадиной |
Штуцера с фланцами стальными приварными встык с шипом или пазом |
Штуцера утолщенные под прокладку овального сечения |
||||||||||||||||
|
Тип 4 |
|
|
|
|
||||||||||||||||
|
исполнение 1 |
исполнения 2, 3 |
исполнения 4, 5 |
Исполнение 6 |
|||||||||||||||||
|
Ру, МПа (кгс/см2) |
1,0 (10) |
1,6 (16) |
2,5 (25) |
4,0 (40) |
0,6 (6) |
1,0 (10) |
1,6 (16) |
2,5 (25) |
4,0 (40) |
6,3 (63) |
0,6 (6) |
1,0 (10) |
1,6 (16) |
2,5 (25) |
4,0 (40) |
6,3 (63) |
6,3 (63) |
10,0 (100) |
16,0 (160) |
|
|
Dy, мм |
15 |
- |
|
|
|
- |
- |
|
|
|
|
- |
- |
|
- |
|
- |
|
|
|
|
20 |
|
|
|
|
|
|
|
|
|
|
|
|
||||||||
|
25 |
|
|
|
|
|
|
|
|
|
|
|
|
||||||||
|
32 |
|
|
|
|
|
|
|
|
|
|
|
|
||||||||
|
40 |
|
|
|
|
|
|
|
|
|
|
|
|
||||||||
|
50 |
|
|
|
|
|
|
|
|
|
|
|
|
||||||||
|
80 |
|
|
|
|
|
|
|
|
|
|
|
|
||||||||
|
100 |
|
|
|
|
|
|
|
|
|
|
|
|
||||||||
|
150 |
|
|
|
|
|
|
|
|
|
|
|
|
||||||||
|
200 |
|
|
|
|
|
|
|
|
|
|
|
|
||||||||
|
250 |
|
|
|
|
|
|
|
|
|
|
|
|
||||||||
|
300 |
|
|
|
|
|
|
|
|
|
|
|
|
||||||||
|
350 |
|
|
|
|
|
|
|
|
|
|
|
|
||||||||
|
400 |
|
|
|
|
|
|
|
|
|
|
|
|
||||||||
|
500 |
|
|
|
|
|
|
|
|
|
|
|
|
||||||||
|
Температура, °С |
От минус 70 до 600 |
|||||||||||||||||||
Окончание табл. 1
|
Наименование |
Штуцера цельнокованные под прокладку овального сечения |
|||
|
Тип 5 |
|
|||
|
Ру, МПа (кгс/см2) |
6,3 (63) |
10,0 (100) |
16,0 (160) |
|
|
Dy, мм |
15 |
|
|
|
|
20 |
|
|
|
|
|
25 |
|
|
|
|
|
32 |
|
|
|
|
|
40 |
|
|
|
|
|
50 |
|
|
|
|
|
80 |
|
|
|
|
|
100 |
|
|
|
|
|
150 |
|
|
|
|
|
200 |
|
|
|
|
|
250 |
|
|
|
|
|
300 |
|
|
|
|
|
350 |
|
|
|
|
|
400 |
|
|
|
|
|
500 |
|
|
|
|
|
Температура, °С |
От минус 70 до 600 |
|||
(Измененная редакция, Изм. № 1).
3.2.1. Штуцера типа 1 с фланцами стальными плоскими приварными на условное давление от 0,6 до 2,5 МПа и температуру от минус 70 до 300 °С имеют пять исполнений:
исполнение 1 - с соединительным выступом на условное давление от 0,6 до 2,5 МПа (рисунок 1, таблицы 2 - 5);
исполнение 2 - с выступом на условное давление 1,0 до 2,5 МПа (рисунок 2, таблицы 6 - 8а);
исполнение 3 - с впадиной на условное давление от 1,0 до 2,5 МПа (рисунок 3, таблицы 6 - 8а);
исполнение 4 - с шипом на условное давление от 0,6 до 2,5 МПа (рисунок 4, таблицы 9 - 12);
исполнение 5 - с пазом на условное давление от 0,6 до 2,5 МПа (рисунок 5, таблицы 9 - 12).
Размеры уплотнительных поверхностей «шип-паз» под фторопластовые прокладки должны соответствовать указанным на рисунках 4, 5 и в таблице 47.
(Измененная редакция, Изм. № 1).
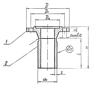
Тип 1
Исполнение 1
1 - фланец по ГОСТ 12820
2 - патрубок
Рисунок 1
Таблица 2
Рy 0,6 МПа (6 кгс/см2)
Размеры в миллиметрах
|
dв |
D |
D1 |
D2 |
b |
h |
d |
n |
l |
H |
dн |
S |
Масса, кг |
|
|
25 |
33 |
100 |
75 |
60 |
12 |
2 |
11 |
4 |
150 |
155 |
32 |
3,5 |
1,1 |
|
210 |
215 |
1,2 |
|||||||||||
|
32 |
39 |
120 |
90 |
70 |
13 |
14 |
150 |
155 |
38 |
1,4 |
|||
|
210 |
215 |
1,6 |
|||||||||||
|
40 |
46 |
130 |
100 |
80 |
3 |
150 |
155 |
45 |
1,7 |
||||
|
210 |
215 |
2,0 |
|||||||||||
|
50 |
59 |
140 |
110 |
90 |
150 |
155 |
57 |
4,0 |
2,1 |
||||
|
210 |
215 |
2,4 |
|||||||||||
|
80 |
91 |
185 |
150 |
128 |
15 |
18 |
150 |
155 |
89 |
5,0 |
4,0 |
||
|
210 |
215 |
4,6 |
|||||||||||
|
100 |
110 |
205 |
170 |
148 |
150 |
155 |
108 |
6,0 |
5,2 |
||||
|
210 |
215 |
6,1 |
|||||||||||
|
150 |
161 |
260 |
225 |
202 |
17 |
8 |
150 |
155 |
159 |
7,9 |
|||
|
210 |
215 |
9,2 |
|||||||||||
|
200 |
222 |
315 |
280 |
258 |
19 |
150 |
160 |
219 |
8,0 |
12,1 |
|||
|
210 |
220 |
14,6 |
|||||||||||
|
250 |
276 |
370 |
335 |
312 |
20 |
3 |
18 |
12 |
150 |
160 |
273 |
10 |
17,4 |
|
210 |
220 |
21,3 |
|||||||||||
|
300 |
328 |
435 |
395 |
365 |
4 |
22 |
180 |
190 |
325 |
24,3 |
|||
|
240 |
250 |
28,9 |
|||||||||||
|
350 |
380 |
485 |
445 |
415 |
22 |
180 |
193 |
377 |
12 |
32,0 |
|||
|
240 |
253 |
38,5 |
|||||||||||
|
400 |
429 |
535 |
495 |
465 |
24 |
16 |
200 |
213 |
426 |
40,0 |
|||
|
260 |
273 |
47,5 |
|||||||||||
|
500 |
534 |
640 |
600 |
570 |
25 |
200 |
213 |
530 |
51,5 |
||||
|
260 |
273 |
60,5 |
Таблица 3
Рy 1,0 МПа (10 кгс/см2)
Размеры в миллиметрах
|
Dy |
dв |
D |
D1 |
D2 |
b |
h |
d |
n |
l |
H |
dн |
S |
Масса, кг |
|
200 |
222 |
335 |
295 |
268 |
21 |
3 |
22 |
8 |
180 |
190 |
219 |
8 |
15,5 |
|
240 |
250 |
18,0 |
|||||||||||
|
250 |
276 |
390 |
350 |
320 |
23 |
12 |
180 |
191 |
273 |
10 |
22,4 |
||
|
240 |
251 |
26,3 |
|||||||||||
|
300 |
328 |
440 |
400 |
370 |
24 |
4 |
200 |
211 |
325 |
28,4 |
|||
|
260 |
271 |
33,0 |
|||||||||||
|
350 |
380 |
500 |
450 |
430 |
16 |
200 |
213 |
377 |
12 |
37,5 |
|||
|
260 |
273 |
44,0 |
|||||||||||
|
400 |
429 |
565 |
515 |
482 |
26 |
26 |
200 |
213 |
426 |
46,0 |
|||
|
260 |
273 |
53,5 |
|||||||||||
|
500 |
534 |
670 |
620 |
585 |
28 |
20 |
230 |
243 |
530 |
63,0 |
|||
|
290 |
303 |
72,0 |
Таблица 4
Рy 1,6 МПа(16 кгс/см2)
Размеры в миллиметрах
|
Dy |
dв |
D |
D1 |
D2 |
b |
h |
d |
n |
l |
H |
dн |
S |
Масса, кг |
|
80 |
91 |
195 |
160 |
133 |
21 |
3 |
18 |
4 |
160 |
165 |
89 |
5 |
5,4 |
|
220 |
225 |
6,0 |
|||||||||||
|
100 |
110 |
215 |
180 |
158 |
23 |
8 |
160 |
165 |
108 |
6 |
7,1 |
||
|
220 |
225 |
8,0 |
|||||||||||
|
150 |
161 |
280 |
240 |
212 |
25 |
22 |
180 |
185 |
153 |
12,0 |
|||
|
240 |
245 |
13,2 |
|||||||||||
|
203 |
222 |
335 |
295 |
258 |
27 |
12 |
160 |
190 |
219 |
8 |
17,6 |
||
|
240 |
250 |
20,0 |
|||||||||||
|
250 |
276 |
405 |
355 |
320 |
28 |
3 |
26 |
12 |
180 |
190 |
273 |
10 |
26,0 ! |
|
240 |
250 |
30,0 |
|||||||||||
|
300 |
328 |
460 |
410 |
370 |
4 |
200 |
210 |
325 |
33,3 |
||||
|
260 |
270 |
38,0 |
|||||||||||
|
350 |
380 |
520 |
470 |
430 |
30 |
16 |
200 |
210 |
377 |
12 |
44,5 |
||
|
260 |
270 |
51,0 |
|||||||||||
|
400 |
429 |
580 |
525 |
462 |
34 |
30 |
230 |
240 |
426 |
59,2 |
|||
|
290 |
300 |
66,5 |
|||||||||||
|
500 |
534 |
710 |
650 |
585 |
44 |
33 |
20 |
240 |
255 |
530 |
93,8 |
||
|
300 |
315 |
103,0 |
Таблица 5
Рy 2,5 МПа(25 кгс/см2)
Размеры в миллиметрах
|
Dy |
dв |
D |
D1 |
D2 |
b |
h |
d |
n |
l |
H |
dн |
S |
Масса, кг |
|
15 |
19 |
95 |
65 |
47 |
14 |
2 |
14 |
4 |
150 |
155 |
18 |
3,5 |
0,9 |
|
210 |
215 |
1,0 |
|||||||||||
|
20 |
26 |
105 |
75 |
58 |
16 |
150 |
155 |
25 |
1,3 |
||||
|
210 |
215 |
1,4 |
|||||||||||
|
25 |
33 |
115 |
85 |
68 |
150 |
155 |
32 |
1,6 |
|||||
|
210 |
215 |
1,7 |
|||||||||||
|
32 |
39 |
135 |
100 |
78 |
18 |
18 |
160 |
165 |
38 |
2,3 |
|||
|
220 |
225 |
2,4 |
|||||||||||
|
40 |
46 |
145 |
110 |
88 |
19 |
3 |
160 |
165 |
45 |
2,8 |
|||
|
220 |
225 |
3,0 |
|||||||||||
|
50 |
59 |
160 |
125 |
102 |
21 |
160 |
165 |
57 |
4,0 |
3,5 |
|||
|
220 |
225 |
3,9 |
|||||||||||
|
80 |
91 |
195 |
160 |
133 |
23 |
8 |
160 |
165 |
89 |
5,0 |
5,8 |
||
|
220 |
225 |
6,4 |
|||||||||||
|
100 |
110 |
230 |
190 |
158 |
25 |
22 |
180 |
185 |
108 |
6,0 |
8,6 |
||
|
240 |
245 |
9,6 |
|||||||||||
|
150 |
161 |
300 |
250 |
212 |
27 |
3 |
26 |
8 |
180 |
185 |
159 |
6 |
14,3 |
|
240 |
245 |
15,6 |
|||||||||||
|
200 |
222 |
360 |
310 |
278 |
29 |
12 |
180 |
190 |
219 |
8 |
20,9 |
||
|
240 |
250 |
23,4 |
|||||||||||
|
250 |
276 |
425 |
370 |
335 |
31 |
30 |
180 |
190 |
273 |
10 |
30,6 |
||
|
240 |
250 |
34,5 |
|||||||||||
|
300 |
328 |
485 |
430 |
390 |
32 |
4 |
16 |
200 |
210 |
325 |
39,5 |
||
|
260 |
270 |
44,2 |
|||||||||||
|
350 |
380 |
550 |
490 |
450 |
38 |
33 |
230 |
243 |
377 |
12 |
59,2 |
||
|
290 |
303 |
65,7 |
|||||||||||
|
400 |
429 |
610 |
550 |
505 |
40 |
250 |
263 |
426 |
75,3 |
||||
|
310 |
323 |
82,6 |
|||||||||||
|
500 |
534 |
730 |
660 |
615 |
48 |
39 |
20 |
260 |
273 |
530 |
107,2 |
||
|
320 |
333 |
116,4 |
Тип 1
Исполнение 2
1 - фланец по ГОСТ 12820
2 - патрубок
Рисунок 2
Тип 1
Исполнение 3
1 - фланец по ГОСТ 12820
2 - патрубок
Рисунок 3
Таблица 6
Ру 1,0 МПа(10 кгс/см2)
Размеры в миллиметрах
|
dв |
D |
D1 |
D2 |
D4 |
D6 |
h2 |
b |
h |
h1 |
d |
n |
l |
H |
dн |
S |
Масса, кг |
||
|
Исполнение |
||||||||||||||||||
|
2 |
3 |
|||||||||||||||||
|
200 |
222 |
335 |
295 |
268 |
259 |
260 |
3 |
21 |
3 |
4 |
22 |
8 |
180 |
190 |
219 |
8 |
16,0 |
15,5 |
|
240 |
250 |
18,5 |
18,0 |
|||||||||||||||
|
250 |
276 |
390 |
350 |
320 |
312 |
313 |
23 |
12 |
180 |
190 |
273 |
10 |
22,5 |
22,0 |
||||
|
240 |
250 |
26,5 |
26,0 |
|||||||||||||||
|
300 |
328 |
440 |
400 |
370 |
363 |
364 |
4 |
24 |
4 |
5 |
200 |
210 |
325 |
28,5 |
28,0 |
|||
|
260 |
270 |
33,0 |
32,5 |
|||||||||||||||
|
350 |
380 |
500 |
460 |
430 |
421 |
422 |
16 |
200 |
210 |
377 |
12 |
37,5 |
37,0 |
|||||
|
260 |
270 |
44,0 |
43,0 |
|||||||||||||||
|
400 |
429 |
565 |
515 |
482 |
473 |
474 |
26 |
26 |
200 |
210 |
426 |
46,0 |
45,0 |
|||||
|
260 |
270 |
53,5 |
52,5 |
|||||||||||||||
|
500 |
534 |
670 |
620 |
585 |
575 |
576 |
28 |
20 |
230 |
240 |
530 |
63,5 |
62,5 |
|||||
|
290 |
300 |
72,5 |
71,5 |
|||||||||||||||
Таблица 7
Ру 1,6 МПа(16 кгс/см2)
Размеры в миллиметрах
|
Dy |
dв |
D |
D1 |
D2 |
D4 |
D6 |
h2 |
b |
h |
h1 |
d |
n |
l |
H |
dн |
S |
Масса, кг |
|
|
Исполнение |
||||||||||||||||||
|
2 |
3 |
|||||||||||||||||
|
80 |
91 |
195 |
160 |
133 |
120 |
121 |
3 |
21 |
3 |
4 |
18 |
4 |
160 |
165 |
89 |
5 |
5,5 |
5,5 |
|
220 |
225 |
6,0 |
6,0 |
|||||||||||||||
|
100 |
110 |
215 |
180 |
158 |
149 |
150 |
23 |
8 |
160 |
165 |
108 |
6 |
7,5 |
7,0 |
||||
|
220 |
225 |
8,0 |
8,0 |
|||||||||||||||
|
150 |
161 |
280 |
240 |
212 |
203 |
204 |
25 |
22 |
180 |
185 |
159 |
12,0 |
12,0 |
|||||
|
240 |
245 |
13,5 |
13,0 ! |
|||||||||||||||
|
200 |
222 |
335 |
295 |
268 |
253 |
260 |
27 |
12 |
180 |
190 |
219 |
8 |
18,0 |
17,5 |
||||
|
240 |
250 |
20,5 |
20,0 |
|||||||||||||||
|
250 |
276 |
405 |
355 |
320 |
312 |
313 |
28 |
26 |
180 |
190 |
273 |
10 |
26,5 |
26,0 |
||||
|
240 |
250 |
30,0 |
30,0 |
|||||||||||||||
|
300 |
328 |
450 |
410 |
378 |
363 |
354 |
4 |
4 |
5 |
200 |
210 |
325 |
33,0 |
33,0 |
||||
|
260 |
270 |
38,0 |
37,5 |
|||||||||||||||
|
350 |
380 |
520 |
470 |
438 |
421 |
422 |
30 |
26 |
16 |
200 |
210 |
377 |
12 |
44,5 |
44,0 |
|||
|
260 |
270 |
51,0 |
50,0 |
|||||||||||||||
|
400 |
429 |
580 |
525 |
490 |
473 |
474 |
34 |
30 |
230 |
240 |
426 |
59,0 |
58,5 |
|||||
|
290 |
300 |
66,5 |
65,5 |
|||||||||||||||
|
500 |
534 |
710 |
650 |
610 |
575 |
576 |
44 |
33 |
20 |
240 |
255 |
530 |
93,0 |
92,5 |
||||
|
300 |
315 |
102,5 |
102,0 |
|||||||||||||||
Таблица 8
Ру 2,5 МПа(25 кгс/см2)
Размеры в миллиметрах
|
Dy |
dв |
D |
D1 |
D2 |
D4 |
D6 |
h2 |
b |
h |
h1 |
d |
n |
l |
H |
dн |
S |
Масса, кг |
|
|
Исполнение |
||||||||||||||||||
|
2 |
3 |
|||||||||||||||||
|
15 |
19 |
95 |
65 |
47 |
39 |
40 |
3 |
14 |
2 |
4 |
14 |
4 |
150 |
155 |
18 |
3,5 |
0,9 |
0,9 |
|
210 |
215 |
1,0 |
1,0 |
|||||||||||||||
|
20 |
26 |
105 |
75 |
58 |
50 |
51 |
16 |
150 |
155 |
25 |
1,3 |
1,3 |
||||||
|
210 |
215 |
1,4 |
1,4 |
|||||||||||||||
|
25 |
33 |
115 |
85 |
68 |
57 |
58 |
150 |
155 |
32 |
1,6 |
1,6 |
|||||||
|
210 |
215 |
1,7 |
1,7 |
|||||||||||||||
|
32 |
39 |
135 |
100 |
78 |
65 |
66 |
18 |
18 |
160 |
165 |
38 |
2,3 |
2,2 |
|||||
|
220 |
225 |
2,5 |
2,5 |
|||||||||||||||
|
40 |
46 |
145 |
110 |
88 |
75 |
76 |
19 |
3 |
160 |
165 |
45 |
2,8 |
2,8 |
|||||
|
220 |
225 |
3,0 |
2,9 |
|||||||||||||||
|
50 |
59 |
160 |
125 |
102 |
87 |
88 |
21 |
160 |
165 |
57 |
4,0 |
3,4 |
3,5 |
|||||
|
220 |
225 |
3,7 |
3,8 |
|||||||||||||||
|
80 |
91 |
195 |
160 |
133 |
120 |
121 |
23 |
8 |
160 |
165 |
89 |
5,0 |
5,7 |
5,7 |
||||
|
220 |
225 |
6,3 |
6,3 |
|||||||||||||||
|
100 |
110 |
230 |
190 |
158 |
149 |
150 |
25 |
22 |
180 |
185 |
108 |
6,0 |
8,6 |
8,5 |
||||
|
240 |
245 |
9,5 |
9,4 |
|||||||||||||||
|
150 |
161 |
300 |
250 |
212 |
203 |
204 |
3 |
27 |
26 |
180 |
185 |
159 |
6 |
14,5 |
14,0 |
|||
|
240 |
245 |
16,0 |
15,5 |
|||||||||||||||
|
200 |
222 |
30 |
310 |
278 |
259 |
260 |
29 |
12 |
180 |
190 |
219 |
8 |
21,0 |
21,0 |
||||
|
240 |
250 |
23,5 |
23,0 |
|||||||||||||||
|
250 |
276 |
425 |
370 |
335 |
312 |
313 |
31 |
30 |
180 |
190 |
273 |
10 |
30,5 |
30,5 |
||||
|
240 |
250 |
34,5 |
34,5 |
|||||||||||||||
|
300 |
328 |
485 |
430 |
390 |
363 |
364 |
4 |
32 |
4 |
5 |
16 |
200 |
210 |
325 |
39,0 |
39,0 |
||
|
260 |
270 |
44,0 |
43,5 |
|||||||||||||||
|
350 |
380 |
550 |
490 |
450 |
421 |
422 |
38 |
33 |
230 |
243 |
377 |
12 |
59,5 |
59,0 |
||||
|
290 |
303 |
66,0 |
65,5 |
|||||||||||||||
|
400 |
429 |
610 |
550 |
473 |
474 |
474 |
40 |
250 |
263 |
426 |
75,0 |
74,а |
||||||
|
310 |
323 |
82,0 |
82,0 |
|||||||||||||||
|
500 |
534 |
730 |
660 |
575 |
576 |
576 |
48 |
39 |
20 |
260 |
273 |
530 |
106,0 |
106,0 |
||||
|
320 |
333 |
116,0 |
115,0 |
|||||||||||||||
Таблица 8а
Ру 0,6 МПа (6 кгс/см2)
Размеры в миллиметрах
|
Dy |
dв |
D |
D1 |
D2 |
D4 |
D6 |
h2 |
b |
h |
h1 |
d |
n |
l |
H |
dн |
S |
Масса, кг |
|
|
Исполнение |
||||||||||||||||||
|
2 |
3 |
|||||||||||||||||
|
200 |
222 |
315 |
280 |
258 |
249 |
250 |
3 |
19 |
3 |
4 |
18 |
8 |
180 |
190 |
219 |
8 |
13,4 |
13,1 |
|
240 |
250 |
15,9 |
15,6 |
|||||||||||||||
|
250 |
276 |
370 |
335 |
312 |
303 |
304 |
20 |
12 |
180 |
190 |
273 |
10 |
19,1 |
18,8 |
||||
|
240 |
250 |
23,0 |
22,7 |
|||||||||||||||
|
300 |
328 |
435 |
395 |
365 |
356 |
357 |
4 |
4 |
5 |
22 |
200 |
210 |
325 |
25,5 |
25,1 |
|||
|
260 |
270 |
30,1 |
29,8 |
|||||||||||||||
|
350 |
380 |
485 |
445 |
415 |
406 |
407 |
22 |
200 |
210 |
377 |
12 |
33,8 |
33,4 |
|||||
|
260 |
270 |
40,3 |
39,9 |
|||||||||||||||
|
400 |
429 |
535 |
495 |
465 |
456 |
457 |
24 |
16 |
200 |
210 |
426 |
39,2 |
38,8 |
|||||
|
260 |
270 |
46,6 |
46,1 |
|||||||||||||||
|
500 |
534 |
640 |
600 |
570 |
561 |
562 |
25 |
230 |
240 |
530 |
54,2 |
53,6 |
||||||
|
290 |
300 |
63,4 |
62,8 |
|||||||||||||||
(Измененная редакция, Изм. № 1).
Тип 1
Исполнение 4
1 - фланец по ГОСТ 12820
2 - патрубок
Рисунок 4
Тип 1
Исполнение 6
1 - фланец по ГОСТ 12820
2 - патрубок
Рисунок 5
Таблица 9
Ру 0,6 МПа(6 кгс/см2)
Размеры в миллиметрах
|
dв |
D |
D1 |
D2 |
D3 |
D4 |
D5 |
D6 |
h2 |
b |
h |
h1 |
d |
n |
l |
H |
dн |
S |
Масса, кг |
||
|
Исполнение |
||||||||||||||||||||
|
4 |
5 |
|||||||||||||||||||
|
25 |
33 |
100 |
75 |
60 |
41 |
50 |
40 |
52 |
3 |
12 |
2 |
4 |
11 |
4 |
150 |
155 |
32 |
3,5 |
1,2 |
1,2 |
|
210 |
215 |
1,4 |
1,5 |
|||||||||||||||||
|
32 |
39 |
120 |
90 |
70 |
49 |
59 |
48 |
60 |
13 |
14 |
150 |
155 |
38 |
1,5 |
1,6 |
|||||
|
210 |
215 |
1,7 |
1,7 |
|||||||||||||||||
|
40 |
46 |
130 |
100 |
80 |
55 |
69 |
54 |
70 |
3 |
150 |
155 |
45 |
1,8 |
1,8 |
||||||
|
210 |
215 |
2,0 |
2,0 |
|||||||||||||||||
|
50 |
59 |
140 |
110 |
90 |
66 |
80 |
65 |
81 |
150 |
155 |
57 |
4,0 |
2,1 |
2,1 |
||||||
|
210 |
215 |
2,3 |
2,3 |
|||||||||||||||||
|
80 |
91 |
185 |
150 |
128 |
101 |
115 |
100 |
116 |
15 |
18 |
150 |
155 |
89 |
5,0 |
3,9 |
4,0 |
||||
|
210 |
215 |
4,5 |
4,6 |
|||||||||||||||||
|
100 |
110 |
205 |
170 |
148 |
117 |
167 |
116 |
138 |
150 |
155 |
108 |
6,0 |
5,1 |
5,1 |
||||||
|
210 |
215 |
6,0 |
6,0 |
|||||||||||||||||
|
150 |
161 |
260 |
225 |
202 |
171 |
191 |
170 |
192 |
17 |
8 |
150 |
155 |
159 |
7,7 |
7,7 |
|||||
|
210 |
215 |
9,2 |
9,2 |
|||||||||||||||||
|
200 |
222 |
315 |
280 |
258 |
229 |
249 |
228 |
250 |
19 |
18 |
150 |
160 |
219 |
8 |
12,0 |
12,0 |
||||
|
210 |
220 |
14,6 |
14,6 |
|||||||||||||||||
|
250 |
276 |
370 |
335 |
312 |
283 |
313 |
282 |
304 |
20 |
12 |
150 |
160 |
273 |
10 |
17,5 |
17,5 |
||||
|
210 |
220 |
21,6 |
21,6 |
|||||||||||||||||
|
300 |
328 |
435 |
395 |
365 |
336 |
356 |
335 |
357 |
4 |
4 |
5 |
22 |
180 |
190 |
325 |
24,5 |
24,5 |
|||
|
240 |
250 |
29,5 |
29,5 |
|||||||||||||||||
|
350 |
380 |
485 |
445 |
415 |
386 |
416 |
385 |
407 |
22 |
180 |
193 |
377 |
12 |
32,0 |
32,0 |
|||||
|
240 |
253 |
38,5 |
38,5 |
|||||||||||||||||
|
400 |
429 |
535 |
495 |
465 |
436 |
456 |
435 |
457 |
24 |
16 |
200 |
213 |
426 |
39,5 |
39,5 |
|||||
|
260 |
273 |
47,5 |
47,5 |
|||||||||||||||||
|
500 |
534 |
640 |
600 |
570 |
540 |
541 |
540 |
562 |
25 |
200 |
213 |
530 |
51.0 |
51.0 |
||||||
|
260 |
273 |
60,5 |
60,5 |
|||||||||||||||||
Таблица 10
Ру 1,0 МПа(10 кгс/см2)
Размеры в миллиметрах
|
Dy |
dв |
D |
D1 |
D2 |
D3 |
D4 |
D5 |
D6 |
h2 |
b |
h |
h1 |
d |
n |
l |
H |
dн |
S |
Масса, кг |
|
|
Исполнение |
||||||||||||||||||||
|
4 |
5 |
|||||||||||||||||||
|
50 |
59 |
160 |
125 |
102 |
73 |
87 |
72 |
88 |
3 |
15 |
3 |
4 |
18 |
4 |
150 |
155 |
57 |
4 |
2,8 |
2,8 |
|
210 |
215 |
3,2 |
3,2 |
|||||||||||||||||
|
80 |
91 |
195 |
160 |
133 |
106 |
120 |
105 |
121 |
17 |
150 |
155 |
89 |
5 |
4,7 |
4,8 |
|||||
|
210 |
215 |
5,3 |
5,3 |
|||||||||||||||||
|
100 |
110 |
215 |
180 |
158 |
129 |
149 |
128 |
150 |
19 |
8 |
150 |
155 |
108 |
6 |
6,5 |
6,5 |
||||
|
210 |
215 |
7,1 |
7,1 |
|||||||||||||||||
|
150 |
161 |
280 |
240 |
212 |
183 |
203 |
182 |
204 |
21 |
22 |
180 |
185 |
159 |
10,5 |
11,0 |
|||||
|
240 |
245 |
12,0 |
12,0 |
|||||||||||||||||
|
200 |
222 |
335 |
295 |
268 |
239 |
259 |
238 |
260 |
180 |
190 |
219 |
8 |
15,3 |
15,3 |
||||||
|
240 |
250 |
18,0 |
18.0 |
|||||||||||||||||
|
250 |
276 |
390 |
350 |
320 |
292 |
312 |
291 |
313 |
23 |
12 |
180 |
190 |
273 |
10 |
22,5 |
22,5 |
||||
|
240 |
250 |
28,5 |
28,5 |
|||||||||||||||||
|
300 |
328 |
440 |
400 |
370 |
343 |
363 |
342 |
364 |
4 |
24 |
4 |
5 |
22 |
12 |
200 |
210 |
325 |
10 |
28,0 |
28,5 |
|
260 |
270 |
33,0 |
33,0 |
|||||||||||||||||
|
350 |
380 |
500 |
460 |
430 |
395 |
421 |
394 |
422 |
16 |
200 |
210 |
377 |
12 |
37,3 |
37,3 |
|||||
|
260 |
270 |
43,8 |
43,8 |
|||||||||||||||||
|
400 |
429 |
565 |
515 |
482 |
447 |
473 |
446 |
474 |
26 |
27 |
200 |
210 |
426 |
46,0 |
45,5 |
|||||
|
260 |
270 |
48,5 |
48,5 |
|||||||||||||||||
|
500 |
534 |
670 |
620 |
585 |
549 |
575 |
548 |
576 |
28 |
20 |
230 |
240 |
530 |
63,8 |
63,8 |
|||||
|
230 |
300 |
72,8 |
72,8 |
|||||||||||||||||
Таблица 11
Ру 1,6 МПа(16 кгс/см2)
Размеры в миллиметрах
|
Dy |
dв |
D |
D1 |
D2 |
D3 |
D4 |
D5 |
D6 |
h2 |
b |
h |
h1 |
d |
n |
l |
H |
dн |
S |
Масса, кг |
|
|
Исполнение |
||||||||||||||||||||
|
4 |
5 |
|||||||||||||||||||
|
80 |
91 |
195 |
160 |
133 |
106 |
120 |
105 |
121 |
3 |
21 |
3 |
4 |
18 |
4 |
160 |
165 |
89 |
5 |
5,3 |
5,4 |
|
220 |
225 |
5,9 |
6,0 |
|||||||||||||||||
|
100 |
110 |
215 |
180 |
158 |
129 |
149 |
128 |
150 |
23 |
8 |
160 |
165 |
108 |
6 |
7,1 |
7,1 |
||||
|
220 |
225 |
8,1 |
8,1 |
|||||||||||||||||
|
150 |
161 |
280 |
240 |
212 |
183 |
203 |
182 |
204 |
25 |
22 |
180 |
185 |
159 |
12,0 |
12,0 |
|||||
|
240 |
245 |
13,5 |
13,5 |
|||||||||||||||||
|
200 |
222 |
335 |
295 |
268 |
239 |
259 |
238 |
260 |
27 |
12 |
180 |
190 |
219 |
8 |
17,8 |
17,8 |
||||
|
240 |
250 |
20,4 |
20,4 |
|||||||||||||||||
|
250 |
276 |
405 |
355 |
320 |
292 |
312 |
291 |
313 |
28 |
26 |
180 |
190 |
273 |
10 |
26,3 |
26,3 |
||||
|
240 |
250 |
30,5 |
30,5 |
|||||||||||||||||
|
300 |
328 |
460 |
410 |
378 |
343 |
363 |
342 |
364 |
4 |
4 |
5 |
200 |
210 |
325 |
33,1 |
33,1 |
||||
|
260 |
270 |
38,0 |
37,5 |
|||||||||||||||||
|
350 |
380 |
520 |
470 |
438 |
395 |
421 |
394 |
422 |
30 |
26 |
16 |
200 |
210 |
377 |
12 |
44,5 |
44,0 |
|||
|
260 |
270 |
50,5 |
50,0 |
|||||||||||||||||
|
400 |
429 |
580 |
525 |
490 |
447 |
473 |
446 |
474 |
34 |
30 |
230 |
240 |
426 |
59,0 |
58,5 |
|||||
|
290 |
300 |
66,0 |
66,0 |
|||||||||||||||||
|
500 |
534 |
710 |
650 |
610 |
549 |
575 |
548 |
576 |
44 |
33 |
20 |
240 |
255 |
530 |
93,5 |
93,5 |
||||
|
300 |
315 |
103,0 |
103,0 |
|||||||||||||||||
Таблица 12
Ру 2,5 МПа(25 кгс/см2)
Размеры в миллиметрах
|
Dy |
dв |
D |
D1 |
D2 |
D3 |
D4 |
D5 |
D6 |
h2 |
b |
h |
h1 |
d |
n |
l |
H |
dн |
S |
Масса, кг |
|
|
Исполнение |
||||||||||||||||||||
|
4 |
5 |
|||||||||||||||||||
|
15 |
19 |
95 |
65 |
47 |
29 |
39 |
28 |
40 |
3 |
14 |
2 |
4 |
14 |
4 |
150 |
155 |
18 |
3,5 |
0,9 |
0,9 |
|
210 |
215 |
1,0 |
1,0 |
|||||||||||||||||
|
20 |
26 |
105 |
75 |
58 |
36 |
50 |
35 |
51 |
16 |
150 |
155 |
25 |
1,4 |
1,3 |
||||||
|
210 |
215 |
1,5 |
1,4 |
|||||||||||||||||
|
25 |
33 |
115 |
85 |
68 |
43 |
57 |
42 |
58 |
150 |
155 |
32 |
1,6 |
1,5 |
|||||||
|
210 |
215 |
1,8 |
1,8 |
|||||||||||||||||
|
32 |
39 |
135 |
100 |
78 |
51 |
65 |
50 |
66 |
18 |
18 |
160 |
165 |
38 |
2,3 |
2,3 |
|||||
|
220 |
225 |
2,5 |
2,5 |
|||||||||||||||||
|
40 |
46 |
145 |
110 |
88 |
61 |
75 |
60 |
76 |
19 |
3 |
160 |
165 |
45 |
2,8 |
2,8 |
|||||
|
220 |
225 |
3,0 |
3,0 |
|||||||||||||||||
|
50 |
59 |
160 |
125 |
102 |
73 |
87 |
72 |
88 |
21 |
160 |
165 |
57 |
4,0 |
3,4 |
3,5 |
|||||
|
220 |
225 |
3,7 |
3,7 |
|||||||||||||||||
|
80 |
91 |
195 |
160 |
133 |
106 |
120 |
105 |
121 |
23 |
8 |
160 |
165 |
89 |
5,0 |
5,6 |
5,7 |
||||
|
220 |
225 |
6,3 |
6,4 |
|||||||||||||||||
|
100 |
110 |
230 |
190 |
158 |
129 |
149 |
128 |
150 |
25 |
22 |
180 |
185 |
108 |
6,0 |
8,5 |
8,5 |
||||
|
240 |
245 |
9,5 |
9,5 |
|||||||||||||||||
|
150 |
161 |
300 |
250 |
212 |
183 |
203 |
182 |
204 |
27 |
26 |
180 |
185 |
159 |
14,0 |
14,0 |
|||||
|
240 |
245 |
15,5 |
15,5 |
|||||||||||||||||
|
200 |
222 |
360 |
310 |
278 |
239 |
259 |
238 |
260 |
29 |
12 |
180 |
190 |
219 |
8 |
20,8 |
20,8 |
||||
|
240 |
250 |
23,5 |
23,5 |
|||||||||||||||||
|
250 |
278 |
425 |
370 |
335 |
292 |
312 |
291 |
313 |
31 |
30 |
180 |
190 |
273 |
10 |
30,5 |
31,0 |
||||
|
240 |
250 |
34,5 |
35,0 |
|||||||||||||||||
|
300 |
328 |
485 |
430 |
390 |
343 |
363 |
342 |
364 |
4 |
32 |
4 |
5 |
16 |
200 |
210 |
325 |
39,0 |
39,5 |
||
|
260 |
270 |
44,0 |
44,5 |
|||||||||||||||||
|
350 |
380 |
550 |
490 |
450 |
395 |
421 |
294 |
422 |
38 |
33 |
230 |
243 |
377 |
12 |
59,0 |
59,5 |
||||
|
290 |
303 |
65,5 |
66,0 |
|||||||||||||||||
|
400 |
429 |
610 |
550 |
505 |
447 |
473 |
446 |
474 |
40 |
250 |
263 |
426 |
74,5 |
75,0 |
||||||
|
310 |
323 |
82,5 |
82,5 |
|||||||||||||||||
|
500 |
534 |
730 |
660 |
615 |
549 |
575 |
548 |
576 |
48 |
39 |
20 |
260 |
273 |
530 |
107,5 |
108,5 |
||||
|
320 |
333 |
116,5 |
117,5 |
|||||||||||||||||
Пример условного обозначения штуцера Dу 500 мм, Ру 1,0 МПа, типа 1, исполнения 4, l = 230 мм, фланец из стали 20, патрубок из стали 20:
Штуцер 500 - 1,0 - 1 - 4 - 230 - 20 АТК 24.218.06-90.
То же, фланец из стали 10Г2, патрубок из стали 20:
Штуцер 500 - 1,0 - 1 - 4 - 230 - 10Г2 - 20 АТК 24.218.06-90.
То же, под фторопластовую прокладку:
Штуцер 500 - Ф - 1 - 4 - 230 - 10Г2 - 20 АТК 24.218.06-90.
3.2.2. Штуцера типа 2 с фланцами стальными приварными встык на условное давление от 0,6 до 16,0 МПа и температуру от минус 70 до 600 °С имеют шесть исполнений:
исполнение 1 - с соединительным выступом на условное давление от 1,6 до 4,0 МПа (рисунок 6, таблицы 13 - 15);
исполнение 2 - с выступом на условное давление от 0,6 до 6,3 МПа (рисунок 7, таблицы 16 - 20а);
исполнение 3 - с впадиной на условное давление от 0,6 до 6,3 МПа (рисунок 8, таблицы 16 - 20а);
исполнение 4 - с шипом на условное давление 1,6; 4,0 МПа (рисунок 9, таблицы 21; 22);
исполнение 5 - с пазом на условное давление 1,6; 4,0 МПа (рисунок 10, таблицы 21; 22);
исполнение 6 - под прокладку овального сечения на условное давление от 6,3 до 16,0 МПа (рисунок 11, таблицы 23 - 25).
Размеры уплотнительные поверхностей «шип-паз» под фторопластовые прокладки должны соответствовать указанным на рисунках 9; 10 и в таблице 47.
(Измененная редакция, Изм. № 1).
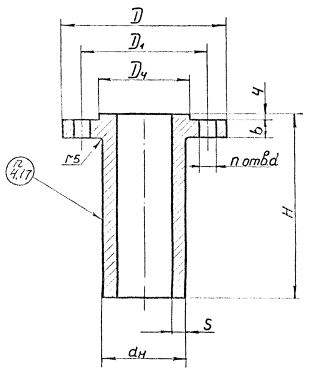
Тип 2
Исполнение 1
1 - фланец по ГОСТ 12820-80
2 - патрубок
Рисунок 6
Таблица 13
Ру 1,6 МПа (16 кгс/см2)
Размеры в миллиметрах
D |
D1 |
D2 |
b |
d |
n |
l |
H |
dн |
S |
Масса, кг |
|
|
80 |
195 |
160 |
133 |
17 |
18 |
4 |
120 |
173 |
89 |
5 |
5,4 |
|
180 |
233 |
6,1 |
|||||||||
|
100 |
215 |
180 |
158 |
8 |
120 |
173 |
108 |
6 |
6,7 |
||
|
180 |
233 |
7,6 |
|||||||||
|
150 |
280 |
240 |
212 |
19 |
22 |
120 |
180 |
159 |
11,0 |
||
|
180 |
240 |
12,5 |
|||||||||
|
200 |
335 |
295 |
268 |
21 |
12 |
120 |
181 |
219 |
8 |
16,8 |
|
|
180 |
241 |
19,3 |
|||||||||
|
250 |
405 |
355 |
320 |
23 |
26 |
120 |
188 |
273 |
10 |
25,2 |
|
|
180 |
248 |
29,0 |
|||||||||
|
300 |
460 |
410 |
370 |
24 |
150 |
220 |
325 |
34,5 |
|||
|
210 |
280 |
39,0 |
|||||||||
|
350 |
520 |
470 |
430 |
28 |
16 |
150 |
224 |
377 |
12 |
48,2 |
|
|
210 |
284 |
54,7 |
|||||||||
|
400 |
580 |
525 |
482 |
32 |
30 |
160 |
239 |
426 |
62,6 |
||
|
220 |
299 |
70,0 |
|||||||||
|
500 |
710 |
650 |
585 |
38 |
33 |
20 |
180 |
274 |
530 |
98,5 |
|
|
240 |
334 |
107,8 |
Таблица 14
Ру 2,5 МПа (25 кгс/см2)
Размеры в миллиметрах
|
Dy |
D |
D1 |
D2 |
b |
d |
n |
l |
H |
dн |
S |
Масса, кг |
|
100 |
230 |
190 |
158 |
21 |
22 |
8 |
120 |
132 |
108 |
6 |
8,3 |
|
180 |
242 |
9,3 |
|||||||||
|
150 |
300 |
250 |
212 |
25 |
26 |
120 |
192 |
159 |
15,2 |
||
|
180 |
252 |
16,6 |
|||||||||
|
200 |
360 |
310 |
278 |
27 |
12 |
120 |
199 |
219 |
8 |
22,5 |
|
|
180 |
259 |
25,0 |
|||||||||
|
250 |
425 |
370 |
335 |
29 |
30 |
120 |
199 |
273 |
10 |
32,2 |
|
|
180 |
259 |
36,1 |
|||||||||
|
300 |
485 |
430 |
390 |
32 |
16 |
150 |
234 |
325 |
45,0 |
||
|
210 |
294 |
49,6 |
|||||||||
|
350 |
550 |
490 |
450 |
36 |
33 |
150 |
239 |
377 |
12 |
63,0 |
|
|
210 |
299 |
69,5 |
|||||||||
|
400 |
610 |
550 |
505 |
40 |
160 |
264 |
426 |
84,5 |
|||
|
220 |
324 |
92,0 |
|||||||||
|
500 |
730 |
660 |
615 |
44 |
39 |
20 |
180 |
284 |
530 |
116,5 |
|
|
240 |
344 |
125,7 |
Таблица 15
Ру 4,0 МПа (40 кгс/см2)
Размеры в миллиметрах
|
Dy |
D |
D1 |
D2 |
b |
d |
n |
l |
H |
dн |
S |
Масса, кг |
|
15 |
95 |
65 |
47 |
14 |
14 |
4 |
120 |
155 |
18 |
3,5 |
0,9 |
|
180 |
215 |
1,0 |
|||||||||
|
20 |
105 |
75 |
58 |
120 |
156 |
25 |
1,2 |
||||
|
180 |
216 |
1,3 |
|||||||||
|
25 |
115 |
85 |
66 |
120 |
158 |
32 |
1,5 |
||||
|
180 |
218 |
1,7 |
|||||||||
|
32 |
135 |
100 |
78 |
16 |
18 |
120 |
165 |
38 |
2,2 |
||
|
160 |
225 |
2,4 |
|||||||||
|
40 |
145 |
110 |
63 |
120 |
168 |
45 |
2,7 |
||||
|
180 |
228 |
2,9 |
|||||||||
|
50 |
160 |
125 |
102 |
17 |
120 |
168 |
57 |
4 |
3,5 |
||
|
180 |
228 |
3,8 |
|||||||||
|
80 |
195 |
160 |
133 |
21 |
8 |
120 |
178 |
89 |
5 |
6,1 |
|
|
180 |
238 |
6,7 |
Тип 2
Исполнение 2
1 - фланец по ГОСТ 12821
2 - патрубок
Рисунок 7
Тип 2
Исполнение 3
1 - фланец по ГОСТ 12821
2 - патрубок
Рисунок 8
Таблица 16
Ру 1,0 МПа (10 кгс/см2)
Размеры в миллиметрах
D |
D1 |
D4 |
D6 |
b |
d |
n |
l |
H |
dн |
S |
Масса, кг |
||
|
Исполнение |
|||||||||||||
|
2 |
3 |
||||||||||||
|
200 |
335 |
295 |
259 |
260 |
19 |
22 |
8 |
120 |
183 |
219 |
8 |
16,0 |
15,5 |
|
180 |
243 |
18,5 |
18,0 |
||||||||||
|
250 |
390 |
350 |
312 |
313 |
21 |
12 |
120 |
185 |
273 |
10 |
22,2 |
21,4 |
|
|
180 |
245 |
26,0 |
25,3 |
||||||||||
|
300 |
440 |
400 |
363 |
364 |
22 |
150 |
215 |
325 |
31,0 |
29,4 |
|||
|
210 |
275 |
36,0 |
34,0 |
||||||||||
|
350 |
500 |
460 |
421 |
422 |
16 |
150 |
215 |
377 |
12 |
41,0 |
38,8 |
||
|
210 |
275 |
47,4 |
45,3 |
||||||||||
|
400 |
565 |
515 |
473 |
474 |
26 |
160 |
225 |
426 |
50,0 |
47,3 |
|||
|
220 |
285 |
57,4 |
55,0 |
||||||||||
|
500 |
670 |
620 |
575 |
576 |
24 |
20 |
180 |
250 |
530 |
67,6 |
64,6 |
||
|
340 |
310 |
76,8 |
73,8 |
||||||||||
Таблица 17
Ру 1,6 МПа (16 кгс/см2)
Размеры в миллиметрах
|
Dy |
D |
D1 |
D4 |
D6 |
b |
d |
n |
l |
H |
dн |
S |
Масса, кг |
|
|
Исполнение |
|||||||||||||
|
2 |
3 |
||||||||||||
|
80 |
195 |
160 |
120 |
121 |
17 |
18 |
4 |
120 |
175 |
89 |
5 |
5,4 |
5,3 |
|
180 |
235 |
6,1 |
6,0 |
||||||||||
|
100 |
215 |
180 |
149 |
150 |
8 |
120 |
175 |
108 |
6 |
6,6 |
6,5 |
||
|
180 |
235 |
7,5 |
7,4 |
||||||||||
|
150 |
280 |
240 |
203 |
204 |
19 |
22 |
120 |
182 |
159 |
11,0 |
10,5 |
||
|
180 |
242 |
12,5 |
12,0 |
||||||||||
|
200 |
335 |
295 |
259 |
260 |
21 |
12 |
120 |
183 |
219 |
8 |
17,0 |
16,5 |
|
|
180 |
243 |
19,2 |
18,8 |
||||||||||
|
250 |
405 |
355 |
312 |
313 |
23 |
26 |
120 |
190 |
273 |
10 |
23,0 |
22,0 |
|
|
180 |
250 |
27,0 |
26,0 |
||||||||||
|
300 |
460 |
410 |
363 |
364 |
24 |
150 |
221 |
325 |
32,3 |
32,5 |
|||
|
210 |
281 |
39,0 |
37,5 |
||||||||||
|
350 |
520 |
470 |
421 |
422 |
28 |
16 |
150 |
225 |
377 |
12 |
48,2 |
45,6 |
|
|
210 |
285 |
54,7 |
52,1 |
||||||||||
|
400 |
580 |
525 |
473 |
474 |
32 |
30 |
160 |
240 |
426 |
62,2 |
60,7 |
||
|
220 |
300 |
69,6 |
68,0 |
||||||||||
|
500 |
710 |
650 |
575 |
576 |
38 |
33 |
20 |
180 |
275 |
530 |
98,0 |
96,7 |
|
|
240 |
335 |
107,1 |
105,8 |
||||||||||
Таблица 18
Ру 2,5 МПа (25 кгс/см2)
Размеры в миллиметрах
|
Dy |
D |
D1 |
D4 |
D6 |
b |
d |
n |
l |
H |
dн |
S |
Масса, кг |
|
|
Исполнение |
|||||||||||||
|
2 |
3 |
||||||||||||
|
100 |
230 |
190 |
149 |
150 |
21 |
22 |
8 |
120 |
183 |
108 |
6 |
8,4 |
8,1 |
|
180 |
243 |
9,3 |
9,0 |
||||||||||
|
150 |
300 |
250 |
203 |
204 |
25 |
26 |
120 |
193 |
159 |
15,3 |
14,6 |
||
|
180 |
253 |
16,6 |
16,0 |
||||||||||
|
200 |
360 |
310 |
259 |
260 |
27 |
12 |
120 |
200 |
219 |
8 |
22,2 |
22,0 |
|
|
180 |
260 |
24,7 |
24,4 |
||||||||||
|
250 |
425 |
370 |
312 |
313 |
29 |
30 |
120 |
200 |
273 |
10 |
32,0 |
31,0 |
|
|
180 |
260 |
35,8 |
35,0 |
||||||||||
|
300 |
485 |
430 |
363 |
364 |
32 |
16 |
150 |
234 |
325 |
44,0 |
43,6 |
||
|
210 |
294 |
48,7 |
48,3 |
||||||||||
|
350 |
550 |
490 |
421 |
422 |
36 |
33 |
150 |
239 |
377 |
12 |
62,0 |
61,0 |
|
|
210 |
299 |
68,3 |
67,5 |
||||||||||
|
400 |
610 |
550 |
473 |
474 |
40 |
160 |
264 |
426 |
83,2 |
82,0 |
|||
|
220 |
324 |
93,5 |
89,5 |
||||||||||
|
500 |
730 |
660 |
575 |
576 |
44 |
39 |
20 |
180 |
284 |
530 |
115,8 |
114,0 |
|
|
240 |
344 |
125,0 |
123,3 |
||||||||||
Таблица 19
Ру 4,0 МПа (40 кгс/см2)
Размеры в миллиметрах
|
Dy |
D |
D1 |
D4 |
D6 |
b |
d |
n |
l |
H |
dн |
S |
Масса, кг |
|
|
Исполнение |
|||||||||||||
|
2 |
3 |
||||||||||||
|
15 |
95 |
65 |
39 |
40 |
14 |
14 |
4 |
120 |
157 |
18 |
3,5 |
0,9 |
0,9 |
|
180 |
217 |
1,0 |
0,9 |
||||||||||
|
20 |
105 |
75 |
50 |
51 |
120 |
158 |
25 |
1,3 |
1,2 |
||||
|
180 |
218 |
1,4 |
1,3 |
||||||||||
|
25 |
115 |
85 |
57 |
58 |
120 |
160 |
32 |
15 |
1,4 |
||||
|
180 |
220 |
1,7 |
1,6 |
||||||||||
|
32 |
135 |
100 |
65 |
66 |
16 |
18 |
120 |
167 |
38 |
2,2 |
2,1 |
||
|
180 |
227 |
2,4 |
2,3 |
||||||||||
|
40 |
145 |
110 |
75 |
76 |
120 |
169 |
45 |
2,6 |
2,5 |
||||
|
180 |
229 |
2,8 |
2,7 |
||||||||||
|
50 |
160 |
125 |
67 |
88 |
17 |
120 |
169 |
57 |
4,0 |
3,4 |
3,3 |
||
|
180 |
229 |
3,7 |
3,6 |
||||||||||
|
80 |
195 |
160 |
120 |
121 |
21 |
8 |
120 |
179 |
89 |
5,0 |
6,1 |
5,8 |
|
|
180 |
239 |
6,7 |
6,5 |
||||||||||
|
100 |
230 |
190 |
149 |
150 |
23 |
22 |
120 |
190 |
108 |
6,0 |
8,9 |
8,7 |
|
|
180 |
250 |
9,8 |
9,6 |
||||||||||
|
150 |
300 |
250 |
203 |
204 |
27 |
26 |
120 |
193 |
159 |
16,0 |
15,5 |
||
|
180 |
253 |
17,5 |
17,0 |
||||||||||
|
200 |
375 |
320 |
259 |
260 |
35 |
30 |
12 |
120 |
210 |
219 |
8 |
29,0 |
28,5 |
|
180 |
270 |
31,5 |
31,0 |
||||||||||
|
250 |
445 |
385 |
312 |
313 |
39 |
33 |
120 |
223 |
273 |
10 |
45,0 |
44,5 |
|
|
180 |
283 |
49,0 |
48,2 |
||||||||||
|
300 |
510 |
450 |
363 |
364 |
42 |
16 |
150 |
267 |
325 |
62,2 |
62,0 |
||
|
210 |
327 |
67,0 |
66,5 |
||||||||||
|
350 |
570 |
510 |
421 |
422 |
48 |
150 |
271 |
377 |
12 |
86,0 |
84,2 |
||
|
210 |
331 |
92,5 |
91,0 |
||||||||||
|
400 |
655 |
585 |
473 |
474 |
54 |
39 |
180 |
320 |
426 |
128,0 |
127,0 |
||
|
240 |
380 |
135,0 |
134,5 |
||||||||||
|
500 |
755 |
670 |
575 |
576 |
50 |
45 |
20 |
180 |
325 |
530 |
14 |
160,0 |
158,0 |
|
240 |
385 |
171,0 |
169,0 |
||||||||||
Таблица 20
Ру 6,3 МПа (40 кгс/см2)
Размеры в миллиметрах
|
Dy |
D |
D1 |
D4 |
D6 |
b |
d |
n |
l |
H |
dн |
S |
Масса, кг |
|
|
Исполнение |
|||||||||||||
|
2 |
3 |
||||||||||||
|
15 |
105 |
75 |
39 |
40 |
16 |
14 |
4 |
120 |
170 |
18 |
3,5 |
1,3 |
1,2 |
|
180 |
230 |
1,4 |
1,3 |
||||||||||
|
20 |
125 |
90 |
50 |
51 |
18 |
18 |
120 |
178 |
25 |
4,0 |
2,1 |
2,0 |
|
|
180 |
238 |
2,2 |
2,1 |
||||||||||
|
25 |
135 |
100 |
57 |
58 |
20 |
120 |
180 |
32 |
2,6 |
2,5 |
|||
|
180 |
240 |
2,8 |
2,7 |
||||||||||
|
32 |
150 |
110 |
65 |
66 |
21 |
22 |
120 |
184 |
38 |
3,4 |
3,3 |
||
|
180 |
244 |
3,6 |
3,5 |
||||||||||
|
40 |
165 |
125 |
75 |
76 |
120 |
189 |
45 |
4,2 |
4,1 |
||||
|
180 |
249 |
4,5 |
4,4 |
||||||||||
|
50 |
175 |
135 |
87 |
88 |
23 |
120 |
191 |
57 |
5,2 |
5,1 |
|||
|
180 |
251 |
5,5 |
5,4 |
||||||||||
|
80 |
210 |
170 |
120 |
121 |
27 |
8 |
120 |
196 |
89 |
5,0 |
8,4 |
8,2 |
|
|
180 |
256 |
9,0 |
8,9 |
||||||||||
|
100 |
250 |
200 |
149 |
150 |
29 |
26 |
120 |
202 |
108 |
6 |
12,5 |
12,3 |
|
|
160 |
262 |
13,4 |
13,2 |
||||||||||
|
150 |
340 |
280 |
203 |
204 |
35 |
33 |
120 |
230 |
159 |
28,1 |
27,0 |
||
|
180 |
290 |
29,5 |
28,2 |
||||||||||
|
200 |
405 |
345 |
259 |
260 |
41 |
12 |
120 |
235 |
219 |
8 |
43,5 |
41,1 |
|
|
180 |
295 |
46,0 |
43,6 |
||||||||||
|
250 |
470 |
400 |
312 |
313 |
45 |
39 |
150 |
270 |
273 |
10 |
63,5 |
60,0 |
|
|
210 |
330 |
67,5 |
64,0 |
||||||||||
Таблица 20а
Ру 0,6 МПа (6 кгс/см2)
Размеры в миллиметрах
|
Dy |
D |
D1 |
D4 |
D6 |
b |
d |
n |
l |
H |
dн |
S |
Масса, кг |
|
|
Исполнение |
|||||||||||||
|
2 |
3 |
||||||||||||
|
15 |
80 |
55 |
33 |
34 |
10 |
11 |
4 |
120 |
152 |
18 |
3,5 |
0,6 |
0,5 |
|
160 |
212 |
0,6 |
0,6 |
||||||||||
|
20 |
90 |
65 |
43 |
44 |
120 |
154 |
25 |
0,8 |
0,7 |
||||
|
180 |
214 |
0,9 |
0,8 |
||||||||||
|
25 |
100 |
75 |
51 |
52 |
12 |
120 |
154 |
32 |
1,1 |
1,0 |
|||
|
180 |
214 |
1,2 |
1,2 |
||||||||||
|
32 |
120 |
90 |
59 |
60 |
14 |
120 |
157 |
38 |
1,4 |
1,4 |
|||
|
180 |
217 |
1,6 |
1,6 |
||||||||||
|
40 |
130 |
100 |
69 |
70 |
120 |
159 |
45 |
1,8 |
1,7 |
||||
|
180 |
219 |
2,0 |
1,9 |
||||||||||
|
50 |
140 |
110 |
80 |
81 |
12 |
120 |
159 |
57 |
4 |
2,0 |
2,1 |
||
|
180 |
219 |
2,5 |
2,4 |
||||||||||
|
80 |
185 |
150 |
115 |
116 |
13 |
18 |
120 |
161 |
89 |
5 |
4,0 |
4,0 |
|
|
180 |
221 |
4,6 |
4,7 |
||||||||||
|
100 |
205 |
170 |
137 |
138 |
120 |
162 |
108 |
6 |
4,9 |
4,8 |
|||
|
180 |
222 |
5,8 |
5,8 |
||||||||||
|
150 |
260 |
225 |
191 |
192 |
15 |
8 |
120 |
167 |
159 |
8,6 |
7,7 |
||
|
180 |
227 |
9,9 |
9,0 |
||||||||||
|
200 |
315 |
280 |
249 |
250 |
17 |
120 |
174 |
219 |
8 |
14,3 |
12,7 |
||
|
180 |
234 |
16,8 |
15,2 |
||||||||||
|
250 |
370 |
335 |
303 |
304 |
18 |
12 |
120 |
174 |
273 |
10 |
18,5 |
18,0 |
|
|
180 |
234 |
22,4 |
22,0 |
||||||||||
|
300 |
435 |
395 |
356 |
357 |
22 |
150 |
205 |
325 |
26,0 |
26,0 |
|||
|
210 |
265 |
30,6 |
30,4 |
||||||||||
|
350 |
485 |
445 |
406 |
407 |
150 |
205 |
377 |
12 |
34,9 |
33,8 |
|||
|
210 |
265 |
41,3 |
40,3 |
||||||||||
|
400 |
535 |
495 |
456 |
457 |
16 |
160 |
215 |
426 |
39,3 |
39,0 |
|||
|
220 |
275 |
46,6 |
46,3 |
||||||||||
|
500 |
640 |
600 |
561 |
562 |
19 |
180 |
235 |
530 |
56,7 |
53,5 |
|||
|
240 |
295 |
65,9 |
62,7 |
||||||||||
(Измененная редакция, Изм. № 1).
Тип 2
Исполнение 4
1 - фланец по ГОСТ 12821
2 - патрубок
Рисунок 9
Тип 2
Исполнение 5
1 - фланец по ГОСТ 12821
2 - патрубок
Рисунок 10
Таблица 21
Ру 1,6 МПа (16 кгс/см)
Размеры в миллиметрах
|
D |
D1 |
D3 |
D4 |
D5 |
D6 |
b |
d |
n |
l |
H |
dн |
S |
Масса, кг |
||
|
Исполнение |
|||||||||||||||
|
4 |
5 |
||||||||||||||
|
50 |
160 |
125 |
73 |
87 |
72 |
88 |
13 |
18 |
4 |
120 |
169 |
57 |
4 |
2,8 |
2,9 |
|
180 |
229 |
3,1 |
3,2 |
||||||||||||
|
80 |
195 |
160 |
106 |
120 |
105 |
121 |
17 |
120 |
174 |
89 |
5 |
5,3 |
5,4 |
||
|
180 |
234 |
5,9 |
6,0 |
||||||||||||
|
100 |
215 |
180 |
129 |
149 |
128 |
150 |
8 |
120 |
175 |
108 |
6 |
6,5 |
6,6 |
||
|
180 |
235 |
7,4 |
7,5 |
||||||||||||
|
150 |
280 |
240 |
183 |
203 |
182 |
204 |
19 |
22 |
120 |
182 |
159 |
10,5 |
11,0 |
||
|
180 |
242 |
12,0 |
12,5 |
||||||||||||
|
200 |
335 |
295 |
239 |
259 |
238 |
260 |
21 |
12 |
120 |
183 |
219 |
8 |
16,0 |
16,5 |
|
|
180 |
243 |
18,5 |
19,0 |
||||||||||||
|
250 |
405 |
355 |
292 |
312 |
291 |
313 |
23 |
26 |
120 |
190 |
273 |
10 |
24,5 |
25,0 |
|
|
180 |
250 |
28,5 |
29,0 |
||||||||||||
|
300 |
460 |
410 |
343 |
363 |
342 |
364 |
24 |
150 |
221 |
325 |
33,3 |
33,8 |
|||
|
210 |
281 |
37,9 |
38,4 |
||||||||||||
Ру 4,0 МПа (40 кгс/см)
Размеры в миллиметрах
|
Dy |
D |
D1 |
D3 |
D4 |
D5 |
D6 |
b |
d |
n |
l |
H |
dн |
S |
Масса, кг |
|
|
Исполнение |
|||||||||||||||
|
4 |
5 |
||||||||||||||
|
15 |
95 |
65 |
29 |
39 |
28 |
40 |
14 |
14 |
4 |
120 |
157 |
18 |
3,5 |
0,9 |
0,9 |
|
180 |
217 |
1,0 |
1,0 |
||||||||||||
|
20 |
105 |
75 |
36 |
50 |
35 |
51 |
120 |
158 |
25 |
1,2 |
1,2 |
||||
|
180 |
218 |
1,3 |
1,3 |
||||||||||||
|
25 |
115 |
85 |
43 |
57 |
42 |
58 |
120 |
160 |
32 |
1,5 |
1,5 |
||||
|
180 |
220 |
1,6 |
1,6 |
||||||||||||
|
32 |
135 |
100 |
51 |
65 |
50 |
66 |
16 |
18 |
120 |
167 |
38 |
2,2 |
2,2 |
||
|
180 |
227 |
2,4 |
2,4 |
||||||||||||
|
40 |
145 |
110 |
61 |
75 |
60 |
76 |
120 |
169 |
45 |
2,6 |
2,6 |
||||
|
180 |
229 |
2,8 |
2,8 |
||||||||||||
|
50 |
160 |
125 |
73 |
87 |
72 |
88 |
17 |
120 |
169 |
57 |
4,0 |
3,4 |
3,4 |
||
|
180 |
229 |
3,7 |
3,7 |
||||||||||||
|
80 |
195 |
160 |
106 |
120 |
105 |
121 |
21 |
8 |
120 |
179 |
69 |
5,0 |
5,9 |
6,0 |
|
|
180 |
239 |
6,6 |
6,7 |
||||||||||||
|
100 |
230 |
190 |
129 |
149 |
128 |
150 |
23 |
22 |
120 |
190 |
108 |
6 |
9,0 |
9,1 |
|
|
180 |
250 |
9,9 |
10,0 |
||||||||||||
|
150 |
300 |
250 |
163 |
203 |
182 |
204 |
27 |
26 |
120 |
193 |
159 |
15,5 |
16,0 |
||
|
180 |
253 |
17,0 |
17,1 |
||||||||||||
|
200 |
375 |
320 |
239 |
259 |
238 |
260 |
35 |
30 |
12 |
120 |
210 |
219 |
8 |
29,2 |
29,0 |
|
180 |
270 |
31,7 |
31,5 |
||||||||||||
|
250 |
445 |
385 |
292 |
312 |
291 |
313 |
39 |
33 |
120 |
223 |
273 |
10 |
44,7 |
45,2 |
|
|
180 |
283 |
48,6 |
49,0 |
||||||||||||
|
300 |
510 |
450 |
343 |
363 |
342 |
364 |
42 |
16 |
150 |
267 |
325 |
63,0 |
64,0 |
||
|
210 |
327 |
67,5 |
68,5 |
||||||||||||
Тип 2
Исполнение 6
1 - фланец по ГОСТ 12821
2 - патрубок
Рисунок 11
Таблица 23
Ру 6,3 МПа (63 кгс/см2)
Размеры в миллиметрах
|
D |
D1 |
D8 |
b |
d |
n |
l |
H |
dн |
S |
Масса, кг |
|
|
50 |
175 |
135 |
85 |
23 |
22 |
4 |
120 |
190 |
57 |
4 |
5,2 |
|
180 |
250 |
5,5 |
|||||||||
|
80 |
210 |
170 |
115 |
27 |
8 |
120 |
195 |
89 |
5 |
8,1 |
|
|
180 |
255 |
8,8 |
|||||||||
|
100 |
250 |
200 |
145 |
29 |
25 |
120 |
200 |
108 |
6 |
12,3 |
|
|
180 |
260 |
13,2 |
|||||||||
|
150 |
340 |
280 |
205 |
35 |
33 |
120 |
228 |
159 |
27,0 |
||
|
180 |
288 |
28,3 |
|||||||||
|
200 |
405 |
345 |
285 |
41 |
12 |
120 |
233 |
219 |
8 |
41,0 |
|
|
180 |
293 |
43,5 |
|||||||||
|
250 |
470 |
400 |
320 |
45 |
39 |
150 |
268 |
273 |
10 |
60,0 |
|
|
210 |
328 |
63,7 |
|||||||||
|
300 |
530 |
460 |
375 |
50 |
16 |
180 |
304 |
325 |
20 |
94,1 |
|
|
240 |
364 |
103,0 |
|||||||||
|
350 |
595 |
525 |
420 |
56 |
39 |
180 |
324 |
377 |
20 |
128,1 |
|
|
240 |
384 |
138,7 |
|||||||||
|
400 |
670 |
585 |
480 |
62 |
45 |
180 |
339 |
426 |
22 |
174,4 |
|
|
240 |
399 |
187,5 |
Таблица 24
Ру 10,0 МПа (100 кгс/см2)
Размеры в миллиметрах
|
Dy |
D |
D1 |
D8 |
b |
d |
n |
l |
H |
dн |
S |
Масса, кг |
|
50 |
195 |
145 |
85 |
25 |
26 |
4 |
120 |
191 |
57 |
7 |
7,0 |
|
180 |
251 |
7,5 |
|||||||||
|
80 |
230 |
180 |
115 |
31 |
8 |
120 |
210 |
89 |
8 |
11,7 |
|
|
180 |
270 |
12,7 |
|||||||||
|
100 |
265 |
210 |
145 |
35 |
30 |
120 |
220 |
108 |
10 |
17,3 |
|
|
180 |
280 |
18,8 |
|||||||||
|
150 |
350 |
290 |
205 |
43 |
33 |
12 |
120 |
248 |
159 |
12 |
37,0 |
|
180 |
308 |
39,7 |
|||||||||
|
200 |
430 |
360 |
265 |
51 |
39 |
150 |
293 |
219 |
18 |
67,2 |
|
|
210 |
353 |
72,5 |
|||||||||
|
250 |
500 |
430 |
320 |
57 |
150 |
313 |
273 |
20 |
104,1 |
||
|
210 |
373 |
111,6 |
|||||||||
|
300 |
585 |
500 |
375 |
66 |
45 |
16 |
180 |
354 |
325 |
154,8 |
|
|
240 |
424 |
163,8 |
|||||||||
|
350 |
655 |
560 |
420 |
72 |
52 |
180 |
379 |
377 |
20 |
201,2 |
|
|
240 |
439 |
211,8 |
|||||||||
|
400 |
715 |
620 |
480 |
76 |
180 |
384 |
426 |
22 |
290,6 |
||
|
240 |
444 |
263,7 |
Таблица 25
Ру 16,0 МПа (160 кгс/см2)
Размеры в миллиметрах
|
Dy |
D |
D1 |
D8 |
b |
d |
n |
l |
H |
dн |
S |
Масса, кг |
|
15 |
105 |
75 |
35 |
18 |
14 |
4 |
120 |
172 |
18 |
3,5 |
1,4 |
|
180 |
232 |
1,5 |
|||||||||
|
20 |
125 |
90 |
45 |
20 |
18 |
120 |
178 |
25 |
4,0 |
2,3 |
|
|
180 |
233 |
2,4 |
|||||||||
|
25 |
135 |
100 |
50 |
22 |
120 |
178 |
32 |
2,8 |
|||
|
180 |
238 |
2,9 |
|||||||||
|
32 |
150 |
110 |
65 |
22 |
120 |
187 |
38 |
5,0 |
3,5 |
||
|
180 |
247 |
3,7 |
|||||||||
|
40 |
165 |
125 |
75 |
25 |
120 |
195 |
45 |
4,6 |
|||
|
180 |
255 |
4,9 |
|||||||||
|
50 |
195 |
145 |
95 |
27 |
26 |
120 |
198 |
57 |
7,0 |
7,4 |
|
|
180 |
258 |
7,9 |
|||||||||
|
80 |
230 |
180 |
130 |
33 |
8 |
120 |
213 |
89 |
8,0 |
12,1 |
|
|
180 |
273 |
13,0 |
|||||||||
|
100 |
265 |
210 |
160 |
37 |
30 |
120 |
223 |
108 |
10 |
18,0 |
|
|
180 |
283 |
19,5 |
|||||||||
|
150 |
350 |
290 |
205 |
47 |
33 |
12 |
120 |
253 |
159 |
12 |
39,1 |
|
180 |
313 |
41,8 |
|||||||||
|
200 |
430 |
360 |
275 |
57 |
39 |
150 |
298 |
219 |
18 |
71,2 |
|
|
210 |
358 |
76,6 |
|||||||||
|
250 |
500 |
430 |
330 |
65 |
150 |
318 |
273 |
20 |
111,0 |
||
|
210 |
378 |
118,5 |
|||||||||
|
300 |
585 |
500 |
380 |
74 |
45 |
16 |
180 |
369 |
325 |
22 |
166,2 |
|
240 |
429 |
176,1 |
Пример условного обозначения штуцера с фланцем стальным приварным встык Dу 250 мм на Ру 1,6 МПа, типа 2 исполнения 4, l = 180 мм, фланец из стали 20, патрубок из стали 20:
Штуцер 250 - 1,6 - 2 - 4 - 180 - 20 АТК 24.218.06-90.
То же, фланец из стали 10Г2, патрубок из стали 20:
Штуцер 250 - 1,6 - 2 - 4 - 180 - 10Г2 - 20 АТК 24.218.06-90.
То же, под фторопластовую прокладку:
Штуцер 250 - 1,6 - Ф - 2 - 4 - 180 - 10Г2 - 20 АТК 24.218.06-90.
3.2.3. Штуцера типа 3 утолщенные цельнокованные прямые на условное давление от 1,6 до 16,0 МПа и температуру от минус 70 до 600 °С имеют четыре исполнения:
исполнение 1 - с соединительным выступом на условное давление 4,0 МПа (рисунок 12, таблица 26);
исполнение 2 - с выступом на условное давление 4,0; 6,3 MПa (рисунок 13, таблицы 27; 28);
исполнение 3 - с впадиной на условное давление 4,0; 6.3 МПа (рисунок 14, таблицы 27; 28);
исполнение 4 - под прокладку овального сечения на условное давление от 6,3 до 16,0 МПа (рисунок 15, таблицы 29 - 31).
Тип 3
Исполнение 1
Рисунок 12
Таблица 26
Py 4,0 МПа (40 кгс/см2)
Размеры в миллиметрах
|
D |
D1 |
D2 |
b |
h |
d |
n |
H |
dн |
S |
Масса, кг |
|
|
15 |
95 |
65 |
47 |
14 |
2 |
14 |
4 |
200 |
30 |
10 |
1,6 |
|
20 |
105 |
75 |
58 |
38 |
2,2 |
||||||
|
25 |
115 |
85 |
68 |
45 |
2,7 |
||||||
|
32 |
135 |
100 |
78 |
16 |
18 |
56 |
14 |
4,5 |
|||
|
40 |
145 |
110 |
88 |
3 |
64 |
5,0 |
|||||
|
50 |
160 |
125 |
102 |
17 |
76 |
6,0 |
|||||
|
60 |
195 |
160 |
133 |
21 |
8 |
112 |
16 |
11,5 |
Тип 3
Исполнение 2
Рисунок 13
Тип 3
Исполнение 3
Рисунок 14
Таблица 27
Py 4,0 МПа (40 кгс/см2)
Размеры в миллиметрах
|
D |
D1 |
D2 |
D4 |
D6 |
b |
d |
n |
l |
H |
dн |
S |
Масса, кг |
||
|
Исполнение |
||||||||||||||
|
2 |
3 |
|||||||||||||
|
15 |
95 |
65 |
47 |
39 |
40 |
14 |
2 |
14 |
4 |
200 |
30 |
10 |
1,8 |
1,7 |
|
20 |
105 |
75 |
58 |
50 |
51 |
38 |
2,6 |
2,5 |
||||||
|
25 |
115 |
85 |
68 |
57 |
58 |
45 |
2,7 |
2,6 |
||||||
|
32 |
135 |
100 |
78 |
65 |
66 |
16 |
18 |
56 |
14 |
4,1 |
4,0 |
|||
|
40 |
145 |
110 |
88 |
75 |
76 |
3 |
64 |
4,9 |
4,8 |
|||||
|
50 |
160 |
125 |
102 |
87 |
88 |
17 |
76 |
6,3 |
6,2 |
|||||
|
80 |
195 |
160 |
133 |
120 |
121 |
21 |
8 |
112 |
16 |
11,0 |
11,0 |
|||
Py 6,3 МПа (63 кгс/см2)
Размеры в миллиметрах
|
Dy |
D |
D1 |
D2 |
D4 |
D6 |
b |
d |
n |
l |
H |
dн |
S |
Масса, кг |
|
|
Исполнение |
||||||||||||||
|
2 |
3 |
|||||||||||||
|
15 |
105 |
75 |
47 |
39 |
40 |
16 |
2 |
14 |
4 |
240 |
38 |
16 |
3,2 |
3,1 |
|
20 |
125 |
90 |
58 |
50 |
51 |
18 |
18 |
48 |
5,0 |
4,9 |
||||
|
25 |
135 |
100 |
68 |
57 |
58 |
20 |
52 |
6,1 |
6,0 |
|||||
|
32 |
150 |
110 |
78 |
65 |
66 |
21 |
22 |
64 |
7,5 |
7,4 |
||||
|
40 |
165 |
125 |
88 |
75 |
76 |
3 |
74 |
20 |
9,6 |
9,1 |
||||
|
50 |
175 |
135 |
102 |
87 |
88 |
23 |
86 |
12,3 |
11,8 |
|||||
|
80 |
210 |
170 |
133 |
120 |
121 |
27 |
8 |
120 |
16,2 |
16,0 |
||||
Тип 3
Исполнение 4
Рисунок 15
Таблица 29
Ру 6,3 МПа (63 кгс/см)
Размеры в миллиметрах
|
D |
D1 |
D9 |
D8 |
b |
h |
h3 |
b2 |
r |
d |
n |
H |
dн |
S |
Масса, кг |
|
|
50 |
175 |
135 |
102 |
85 |
23 |
3 |
8 |
12 |
4 |
22 |
4 |
240 |
86 |
20 |
11,0 |
|
80 |
210 |
170 |
133 |
115 |
27 |
8 |
120 |
16,5 |
Таблица 30
Ру 10,0 МПа (100 кгс/см)
Размеры в миллиметрах
|
Dy |
D |
D1 |
D9 |
D8 |
b |
h |
h3 |
b2 |
r |
d |
n |
H |
dн |
S |
Масса, кг |
|
50 |
195 |
145 |
102 |
85 |
25 |
3 |
8 |
12 |
4,0 |
26 |
4 |
260 |
86 |
20 |
12,8 |
|
80 |
230 |
180 |
150 |
115 |
31 |
8 |
124 |
24 |
21,8 |
Таблица 31
Ру 16,0 МПа (160 кгс/см)
Размеры в миллиметрах
|
Dy |
D |
D1 |
D9 |
D8 |
b |
h |
h3 |
b2 |
r |
d |
n |
H |
dн |
S |
Масса, кг |
|
15 |
105 |
75 |
55 |
35 |
18 |
2 |
6,5 |
9 |
2,8 |
14 |
4 |
300 |
38 |
16 |
3,3 |
|
20 |
125 |
90 |
58 |
45 |
20 |
18 |
48 |
5,0 |
|||||||
|
25 |
135 |
100 |
68 |
50 |
22 |
52 |
5,7 |
||||||||
|
32 |
150 |
110 |
78 |
65 |
|
22 |
64 |
8,4 |
|||||||
|
40 |
165 |
125 |
88 |
75 |
25 |
3 |
76 |
20 |
13,4 |
||||||
|
50 |
195 |
145 |
115 |
95 |
27 |
8,0 |
12 |
4,0 |
26 |
|
86 |
16,3 |
|||
|
80 |
230 |
180 |
150 |
130 |
33 |
8 |
320 |
124 |
24 |
27,8 |
Пример условного обозначения штуцера утолщенного, цельнокованного прямого Dy 50, на Ру 4,0 МПа, типа 3 исполнения 1, H = 200 мм из стали 10Г2:
Штуцер 50 - 4,0 - 3 - 1 - 200 - 10Г2 АТК 24.21806-90.
3.2.4. Штуцера типа 4 с утолщенными патрубками с фланцами приварными встык на условное давление от 1,6 до 16,0 МПа и температуру от минус 70 до 600 °С имеют шесть исполнений:
исполнение 1 - с соединительным выступом на условное давление от 1,6 до 4,0 МПа (рисунок 16, таблицы 32 - 34);
исполнение 2 - с выступом на условное давление от 1,6 до 6,3 МПа (рисунок 17, таблицы 35 - 38);
исполнение 3 - с впадиной на условное давление от 1,6 до 6,3 МПа (рисунок 18, таблицы 35 - 38);
исполнение 4 - с шипом на условное давление 1,6; 4,0 МПа (рисунок 19, таблицы 39; 40);
исполнение 5 - с пазом на условное давление 1,6; 4,0 МПа (рисунок 20, таблицы 39; 40);
исполнение 6 - под прокладку овального сечения на условное давление от 6,3 до 16,0 МПа (рисунок 21, таблицы 41 - 43).
Размеры уплотнительных поверхностей «шип-паз» под фторопластовые прокладки должны соответствовать указанным на рисунках 19; 20 и в таблице 47.
Тип 4
Исполнение 1
1 - фланец по ГОСТ 12821
2 - патрубок
Рисунок 16
Таблица 32
Ру 1,6 МПа (16 кгс/cм2)
Размеры в миллиметрах
|
D |
D1 |
D2 |
b |
d |
n |
l |
H |
dн |
S |
Исполнение патрубка поз. 2 |
Масса, кг |
|
|
80 |
195 |
160 |
133 |
17 |
18 |
4 |
180 |
233 |
95 |
10 |
2 |
8,1 |
|
100 |
215 |
180 |
158 |
8 |
114 |
9,5 |
||||||
|
150 |
280 |
240 |
212 |
19 |
22 |
240 |
168 |
12 |
17,0 |
|||
|
200 |
335 |
295 |
268 |
21 |
12 |
241 |
228 |
14 |
25,5 |
|||
|
245 |
22 |
34,0 |
||||||||||
|
250 |
405 |
355 |
320 |
23 |
26 |
200 |
268 |
286 |
16 |
39,0 |
||
|
299 |
22 |
47,0 |
||||||||||
|
300 |
460 |
410 |
370 |
24 |
220 |
290 |
335 |
16 |
51,0 |
|||
|
351 |
25 |
66,0 |
||||||||||
|
350 |
520 |
470 |
430 |
28 |
16 |
260 |
334 |
395 |
22 |
84,0 |
||
|
412 |
30 |
3; 4 |
101,0 |
|||||||||
|
400 |
580 |
525 |
482 |
32 |
30 |
339 |
442 |
22 |
2 |
102,0 |
||
|
458 |
30 |
3; 4 |
118,0 |
|||||||||
|
500 |
710 |
650 |
585 |
38 |
33 |
20 |
310 |
404 |
545 |
22 |
2 |
159,0 |
|
573 |
36 |
3; 4 |
208,0 |
Таблица 33
Py 2,5 МПа (25 кгс/см2)
Размеры в миллиметрах
|
Dy |
D |
D1 |
D2 |
b |
d |
n |
l |
H |
dн |
S |
Исполнение патрубка поз. 2 |
Масса, кг |
|
100 |
230 |
190 |
158 |
21 |
22 |
8 |
180 |
241 |
121 |
12 |
2 |
12,5 |
|
150 |
200 |
250 |
212 |
25 |
26 |
251 |
168 |
21,0 |
||||
|
180 |
16 |
24,0 |
||||||||||
|
200 |
360 |
310 |
278 |
27 |
12 |
258 |
228 |
14 |
31,0 |
|||
|
245 |
22 |
33,5 |
||||||||||
|
250 |
425 |
370 |
335 |
29 |
30 |
200 |
278 |
286 |
16 |
46,0 |
||
|
299 |
22 |
54,0 |
||||||||||
|
314 |
30 |
3; 4 |
61,4 |
|||||||||
|
300 |
485 |
430 |
390 |
32 |
16 |
260 |
344 |
335 |
16 |
2 |
66,5 |
|
|
351 |
25 |
84,5 |
||||||||||
|
363 |
30 |
3; 4 |
92,4 |
|||||||||
|
350 |
550 |
490 |
450 |
36 |
33 |
280 |
369 |
395 |
22 |
2 |
103,0 |
|
|
412 |
30 |
3; 4 |
121,4 |
|||||||||
|
432 |
40 |
143,6 |
||||||||||
|
400 |
610 |
550 |
505 |
40 |
300 |
404 |
442 |
22 |
2 |
133,0 |
||
|
458 |
30 |
3; 4 |
154,5 |
|||||||||
|
478 |
40 |
181,5 |
||||||||||
|
500 |
730 |
660 |
615 |
44 |
39 |
20 |
350 |
454 |
545 |
22 |
2 |
188,0 |
|
560 |
30 |
3; 4 |
220,0 |
|||||||||
|
590 |
45 |
278,2 |
Таблица 34
Py 4,0 МПа (40 кгс/см2)
Размеры в миллиметрах
|
Dy |
D |
D1 |
D2 |
b |
d |
n |
l |
H |
dн |
S |
Исполнение патрубка поз. 2 |
Масса, кг |
|
15 |
95 |
65 |
47 |
14 |
14 |
4 |
180 |
215 |
32 |
10 |
2 |
2,0 |
|
20 |
105 |
75 |
58 |
216 |
38 |
2,5 |
||||||
|
25 |
115 |
85 |
68 |
218 |
45 |
2,8 |
||||||
|
32 |
135 |
100 |
78 |
16 |
18 |
225 |
50 |
3,7 |
||||
|
40 |
145 |
110 |
88 |
228 |
57 |
4,3 |
||||||
|
50 |
160 |
125 |
102 |
17 |
68 |
5,4 |
||||||
|
80 |
195 |
160 |
133 |
21 |
8 |
238 |
95 |
8,7 |
Тип 4
Исполнение 2
1 - фланец по ГОСТ 12821
2 - патрубок
Рисунок 17
Тип 4
Исполнение 3
1 - фланец по ГОСТ 12821
2 - патрубок
Рисунок 18
Таблица 35
Py 1,6 МПа (16 кгс/см2)
Размеры в миллиметрах
|
D |
D1 |
D4 |
D6 |
b |
d |
n |
l |
H |
dн |
S |
Исполнение патрубка поз. 2 |
Масса, кг |
||
|
Исполнение |
||||||||||||||
|
2 |
3 |
|||||||||||||
|
80 |
195 |
160 |
120 |
121 |
17 |
18 |
4 |
180 |
235 |
95 |
10 |
2 |
8,1 |
8,0 |
|
100 |
215 |
180 |
149 |
150 |
8 |
114 |
9,4 |
9,3 |
||||||
|
150 |
280 |
240 |
203 |
204 |
19 |
22 |
242 |
168 |
12 |
17,0 |
16,5 |
|||
|
200 |
335 |
295 |
259 |
260 |
21 |
12 |
243 |
228 |
14 |
25,5 |
25,0 |
|||
|
245 |
22 |
34,0 |
33,5 |
|||||||||||
|
250 |
405 |
355 |
312 |
313 |
23 |
26 |
200 |
270 |
286 |
16 |
36,5 |
36,0 |
||
|
299 |
22 |
44,5 |
44,0 |
|||||||||||
|
300 |
460 |
410 |
363 |
364 |
24 |
220 |
291 |
335 |
16 |
51,0 |
49,0 |
|||
|
351 |
25 |
66,0 |
64,0 |
|||||||||||
|
350 |
520 |
470 |
421 |
422 |
28 |
16 |
260 |
335 |
395 |
22 |
84,0 |
81,5 |
||
|
412 |
30 |
3; 4 |
101,0 |
98,5 |
||||||||||
|
400 |
580 |
525 |
473 |
474 |
32 |
30 |
340 |
442 |
22 |
2 |
102,0 |
100,0 |
||
|
458 |
30 |
3; 4 |
117,6 |
116,0 |
||||||||||
|
500 |
710 |
650 |
575 |
576 |
38 |
33 |
20 |
310 |
405 |
545 |
22 |
2 |
158,0 |
157,0 |
|
573 |
36 |
3; 4 |
207,3 |
206,0 |
||||||||||
Таблица 36
Py 2,5 МПа (25 кгс/см2)
Размеры в миллиметрах
|
Dy |
D |
D1 |
D4 |
D6 |
b |
d |
n |
l |
H |
dн |
S |
Исполнение патрубка поз. 2 |
Масса, кг |
|
|
Исполнение |
||||||||||||||
|
2 |
3 |
|||||||||||||
|
100 |
230 |
190 |
149 |
150 |
21 |
22 |
8 |
180 |
243 |
121 |
12 |
2 |
12,5 |
12,0 |
|
150 |
300 |
250 |
203 |
204 |
25 |
26 |
253 |
168 |
21,5 |
21,0 |
||||
|
180 |
16 |
24,5 |
23,5 |
|||||||||||
|
200 |
360 |
310 |
259 |
260 |
27 |
12 |
260 |
228 |
14 |
31,0 |
30,5 |
|||
|
245 |
22 |
39,0 |
38,7 |
|||||||||||
|
250 |
425 |
370 |
312 |
313 |
29 |
30 |
200 |
280 |
286 |
16 |
45,4 |
44,6 |
||
|
299 |
22 |
53,3 |
52,5 |
|||||||||||
|
314 |
30 |
3; 4 |
61,1 |
60,3 |
||||||||||
|
300 |
485 |
430 |
363 |
364 |
32 |
16 |
260 |
345 |
335 |
16 |
2 |
65,1 |
64,6 |
|
|
351 |
25 |
84,5 |
83,0 |
|||||||||||
|
363 |
30 |
3; 4 |
91,5 |
91,0 |
||||||||||
|
350 |
550 |
490 |
421 |
422 |
36 |
33 |
16 |
280 |
370 |
395 |
22 |
2 |
101,4 |
100,5 |
|
412 |
30 |
3; 4 |
120,4 |
119,5 |
||||||||||
|
432 |
40 |
142,6 |
141,7 |
|||||||||||
|
403 |
610 |
550 |
473 |
474 |
40 |
300 |
405 |
442 |
22 |
2 |
132,0 |
131,0 |
||
|
458 |
30 |
3; 4 |
153,3 |
152,1 |
||||||||||
|
478 |
40 |
180,3 |
179,1 |
|||||||||||
|
500 |
730 |
660 |
575 |
576 |
44 |
39 |
20 |
350 |
455 |
545 |
22 |
2 |
187,0 |
185,0 |
|
560 |
30 |
3; 4 |
219,2 |
217,5 |
||||||||||
|
590 |
45 |
277,5 |
275,8 |
|||||||||||
Таблица 37
Py 4,0 МПа (40 кгс/см2)
Размеры в миллиметрах
|
Dy |
D |
D1 |
D4 |
D6 |
b |
d |
n |
l |
H |
dн |
S |
Исполнение патрубка поз. 2 |
Масса, кг |
|
|
Исполнение |
||||||||||||||
|
2 |
3 |
|||||||||||||
|
50 |
160 |
125 |
87 |
88 |
17 |
18 |
4 |
180 |
229 |
68 |
10 |
2 |
5,4 |
5,3 |
|
80 |
195 |
160 |
120 |
121 |
21 |
8 |
239 |
95 |
8,7 |
8,5 |
||||
|
100 |
230 |
190 |
149 |
150 |
23 |
22 |
250 |
121 |
12 |
12,9 |
12,6 |
|||
|
127 |
16 |
15,0 |
14,7 |
|||||||||||
|
150 |
300 |
250 |
203 |
204 |
27 |
26 |
253 |
168 |
12 |
21,7 |
21,1 |
|||
|
189 |
22 |
3; 4 |
30,1 |
29,5 |
||||||||||
|
200 |
375 |
320 |
259 |
260 |
35 |
30 |
12 |
190 |
280 |
228 |
14 |
2 |
38,0 |
37,6 |
|
245 |
22 |
47,0 |
46,6 |
|||||||||||
|
260 |
30 |
3; 4 |
51,9 |
51,5 |
||||||||||
|
250 |
445 |
385 |
312 |
313 |
39 |
33 |
230 |
333 |
299 |
22 |
2 |
71,1 |
70,3 |
|
|
314 |
30 |
3; 4 |
76,8 |
76,0 |
||||||||||
|
325 |
36 |
88,7 |
87,9 |
|||||||||||
|
300 |
510 |
450 |
363 |
364 |
42 |
16 |
270 |
387 |
344 |
22 |
2 |
97,1 |
96,8 |
|
|
363 |
30 |
3; 4 |
113,5 |
113,2 |
||||||||||
|
373 |
36 |
121,0 |
120,7 |
|||||||||||
|
350 |
570 |
510 |
421 |
422 |
48 |
300 |
421 |
395 |
22 |
2 |
129,1 |
127,5 |
||
|
412 |
30 |
3; 4 |
150,2 |
148,6 |
||||||||||
|
442 |
45 |
184,0 |
182,4 |
|||||||||||
|
400 |
655 |
585 |
473 |
474 |
54 |
39 |
330 |
470 |
442 |
22 |
2 |
180,3 |
179,8 |
|
|
458 |
30 |
3; 4 |
204,6 |
204,1 |
||||||||||
|
478 |
40 |
235,0 |
234,6 |
|||||||||||
|
498 |
50 |
264,0 |
263,6 |
|||||||||||
|
500 |
755 |
670 |
575 |
576 |
58 |
45 |
20 |
380 |
525 |
555 |
30 |
2 |
273,9 |
271,9 |
|
585 |
45 |
3; 4 |
335,9 |
333,9 |
||||||||||
|
605 |
55 |
375,3 |
373,3 |
|||||||||||
Таблица 38
Py 6,3 МПа (63 кгс/см2)
Размеры в миллиметрах
|
Dy |
D |
D1 |
D4 |
D6 |
b |
d |
n |
l |
H |
dн |
S |
Исполнение патрубка поз. 2 |
Масса, кг |
|
|
Исполнение |
||||||||||||||
|
2 |
3 |
|||||||||||||
|
50 |
175 |
135 |
87 |
88 |
23 |
22 |
4 |
180 |
251 |
68 |
10 |
2 |
7,2 |
7,1 |
|
80 |
210 |
170 |
120 |
121 |
27 |
8 |
256 |
95 |
10 |
11,1 |
11,0 |
|||
|
102 |
14 |
12,7 |
12,5 |
|||||||||||
|
100 |
250 |
200 |
149 |
150 |
29 |
26 |
262 |
121 |
12 |
16,5 |
16,3 |
|||
|
127 |
16 |
18,6 |
18,4 |
|||||||||||
|
150 |
340 |
280 |
203 |
204 |
35 |
33 |
200 |
310 |
168 |
12 |
34,5 |
33,2 |
||
|
189 |
22 |
3; 4 |
42,3 |
41,0 |
||||||||||
|
200 |
405 |
345 |
259 |
260 |
41 |
12 |
240 |
355 |
228 |
14 |
2 |
56,2 |
53,8 |
|
|
245 |
22 |
67,5 |
65,1 |
|||||||||||
|
260 |
30 |
3; 4 |
76,2 |
73,8 |
||||||||||
|
250 |
470 |
400 |
312 |
313 |
45 |
39 |
270 |
390 |
290 |
22 |
2 |
93,1 |
89,6 |
|
|
306 |
30 |
3; 4 |
105,3 |
101,8 |
||||||||||
|
318 |
36 |
113,8 |
110,3 |
|||||||||||
Тип 4
Исполнение 4
1 - фланец по ГОСТ 12821
2 - патрубок
Рисунок 19
Тип 4
Исполнение 5
1 - фланец по ГОСТ 12821
2 - патрубок
Рисунок 20
Таблица 39
Ру 1,6 МПа (16 кгс/см2)
Размеры в миллиметрах
|
D |
D1 |
D3 |
D4 |
D5 |
D6 |
b |
d |
n |
l |
H |
dн |
S |
Исполнение патрубка поз. 2 |
Масса, кг |
||
|
Исполнение |
||||||||||||||||
|
4 |
5 |
|||||||||||||||
|
80 |
195 |
160 |
106 |
120 |
105 |
121 |
17 |
18 |
4 |
180 |
235 |
95 |
10 |
2 |
8,0 |
8,1 |
|
100 |
215 |
180 |
129 |
149 |
128 |
150 |
8 |
114 |
9,3 |
9,4 |
||||||
|
150 |
280 |
240 |
183 |
203 |
182 |
204 |
19 |
22 |
242 |
168 |
12 |
16,5 |
16,6 |
|||
|
200 |
335 |
295 |
239 |
259 |
238 |
260 |
21 |
12 |
243 |
228 |
14 |
24,5 |
24,7 |
|||
|
245 |
22 |
32,8 |
33,0 |
|||||||||||||
|
250 |
405 |
355 |
292 |
312 |
291 |
313 |
23 |
26 |
200 |
270 |
286 |
16 |
38,0 |
38,2 |
||
|
299 |
22 |
45,9 |
46,1 |
|||||||||||||
|
300 |
460 |
410 |
343 |
363 |
342 |
364 |
24 |
220 |
291 |
335 |
16 |
49,3 |
49,8 |
|||
|
351 |
25 |
64,6 |
65,1 |
|||||||||||||
Ру 4,0 МПа (40 кгс/см2)
Размеры в миллиметрах
|
Dy |
D |
D1 |
D3 |
D4 |
D5 |
D6 |
b |
d |
n |
l |
H |
dн |
S |
Исполнение патрубка поз. 2 |
Масса, кг |
|
|
Исполнение |
||||||||||||||||
|
4 |
5 |
|||||||||||||||
|
50 |
160 |
125 |
73 |
87 |
72 |
88 |
17 |
18 |
4 |
180 |
229 |
68 |
10 |
2 |
5,3 |
5,4 |
|
80 |
195 |
160 |
106 |
120 |
105 |
121 |
21 |
8 |
239 |
95 |
8,6 |
8,7 |
||||
|
100 |
230 |
190 |
129 |
149 |
128 |
150 |
23 |
22 |
250 |
121 |
12 |
13,0 |
13,1 |
|||
|
127 |
16 |
15,1 |
15,2 |
|||||||||||||
|
150 |
300 |
250 |
183 |
203 |
182 |
204 |
27 |
26 |
253 |
168 |
12 |
21,4 |
21,5 |
|||
|
189 |
22 |
3; 4 |
29,8 |
29,9 |
||||||||||||
|
200 |
375 |
320 |
239 |
259 |
238 |
260 |
35 |
30 |
12 |
190 |
280 |
228 |
14 |
2 |
38,2 |
38,0 |
|
245 |
22 |
47,2 |
47,0 |
|||||||||||||
|
260 |
30 |
3; 4 |
52,7 |
51,9 |
||||||||||||
|
250 |
445 |
385 |
292 |
312 |
291 |
313 |
39 |
33 |
230 |
333 |
299 |
22 |
2 |
70,7 |
71,2 |
|
|
314 |
30 |
3; 4 |
76,4 |
76,9 |
||||||||||||
|
325 |
36 |
88,3 |
88,8 |
|||||||||||||
Тип 4
Исполнение 6
1 - фланец по ГОСТ 12821
2 - патрубок
Рисунок 21
Таблица 41
Ру 6,3 МПа (63 кгс/см2)
Размеры в миллиметрах
|
D |
D1 |
D8 |
b |
d |
n |
l |
H |
dн |
S |
Исполнение патрубка поз. 2 |
Масса, кг |
|
|
50 |
175 |
135 |
85 |
23 |
22 |
4 |
180 |
250 |
68 |
10 |
2 |
7,0 |
|
80 |
210 |
170 |
115 |
27 |
8 |
255 |
95 |
11,0 |
||||
|
102 |
14 |
12,4 |
||||||||||
|
100 |
250 |
200 |
145 |
29 |
26 |
260 |
121 |
12 |
16,3 |
|||
|
200 |
127 |
16 |
18,4 |
|||||||||
|
150 |
340 |
280 |
205 |
35 |
33 |
308 |
168 |
12 |
33,3 |
|||
|
189 |
22 |
3; 4 |
41,1 |
|||||||||
|
200 |
405 |
345 |
265 |
41 |
12 |
240 |
353 |
228 |
14 |
2 |
53,7 |
|
|
245 |
22 |
65,0 |
||||||||||
|
260 |
30 |
3; 4 |
73,7 |
|||||||||
|
250 |
470 |
400 |
320 |
45 |
39 |
270 |
388 |
290 |
22 |
2 |
89,4 |
|
|
306 |
30 |
3; 4 |
101,5 |
|||||||||
|
318 |
35 |
113,3 |
||||||||||
|
300 |
530 |
460 |
375 |
50 |
16 |
300 |
424 |
351 |
30 |
2 |
136,6 |
|
|
373 |
40 |
3; 4 |
155,0 |
|||||||||
|
395 |
50 |
170,8 |
||||||||||
|
350 |
595 |
525 |
420 |
56 |
39 |
340 |
484 |
402 |
30 |
2 |
183,8 |
|
|
422 |
40 |
3; 4 |
214,6 |
|||||||||
|
432 |
45 |
228,3 |
||||||||||
|
442 |
50 |
241,8 |
||||||||||
|
400 |
670 |
585 |
400 |
62 |
45 |
370 |
529 |
446 |
30 |
2 |
247,6 |
|
|
466 |
40 |
3; 4 |
281,0 |
|||||||||
|
46 |
50 |
314,8 |
||||||||||
|
506 |
60 |
347,1 |
Таблица 42
Ру 10,0 МПа (100 кгс/см2)
Размеры в миллиметрах
|
Dy |
D |
D1 |
D8 |
b |
d |
n |
l |
H |
dн |
S |
Исполнение патрубка поз. 2 |
Масса, кг |
|
50 |
195 |
145 |
85 |
25 |
26 |
4 |
180 |
251 |
68 |
10 |
2 |
8,6 |
|
80 |
233 |
180 |
115 |
31 |
8 |
200 |
290 |
102 |
14 |
15,9 |
||
|
114 |
20 |
3; 4 |
17,3 |
|||||||||
|
100 |
265 |
210 |
145 |
35 |
30 |
300 |
133 |
25,7 |
||||
|
150 |
350 |
290 |
205 |
43 |
33 |
12 |
220 |
348 |
176 |
2 |
47,3 |
|
|
186 |
25 |
3; 4 |
51,8 |
|||||||||
|
200 |
430 |
360 |
265 |
51 |
39 |
260 |
403 |
234 |
22 |
2 |
83,8 |
|
|
250 |
30 |
3; 4 |
93,1 |
|||||||||
|
262 |
36 |
100,3 |
||||||||||
|
250 |
500 |
430 |
320 |
57 |
303 |
463 |
299 |
30 |
2 |
143,4 |
||
|
316 |
40 |
3; 4 |
160,1 |
|||||||||
|
325 |
45 |
167,9 |
||||||||||
|
300 |
585 |
500 |
375 |
66 |
45 |
16 |
330 |
514 |
344 |
30 |
2 |
203,5 |
|
363 |
40 |
3; 4 |
215,7 |
|||||||||
|
384 |
50 |
248,8 |
||||||||||
|
350 |
655 |
560 |
420 |
72 |
52 |
16 |
360 |
559 |
412 |
40 |
294,4 |
|
|
432 |
50 |
326,0 |
||||||||||
|
450 |
60 |
348,2 |
||||||||||
|
400 |
715 |
620 |
480 |
76 |
380 |
584 |
456 |
40 |
360,5 |
|||
|
476 |
50 |
395,3 |
||||||||||
|
496 |
60 |
428,8 |
||||||||||
|
516 |
70 |
460,8 |
Таблица 43
Ру 16,0 МПа (160 кгс/см2)
Размеры в миллиметрах
|
Dy |
D |
D1 |
D8 |
b |
d |
n |
l |
H |
dн |
S |
Исполнение патрубка поз. 2 |
Масса, кг |
|
15 |
105 |
75 |
35 |
18 |
14 |
4 |
220 |
272 |
36 |
12 |
2 |
2,8 |
|
44 |
16 |
3,6 |
||||||||||
|
20 |
125 |
90 |
45 |
20 |
18 |
278 |
42 |
12 |
4,0 |
|||
|
50 |
16 |
5,0 |
||||||||||
|
25 |
135 |
100 |
50 |
22 |
49 |
12 |
4,8 |
|||||
|
57 |
16 |
6,0 |
||||||||||
|
30 |
150 |
110 |
65 |
22 |
287 |
12 |
5,9 |
|||||
|
63 |
16 |
7,0 |
||||||||||
|
40 |
165 |
125 |
75 |
25 |
295 |
12 |
7,2 |
|||||
|
77 |
20 |
10,2 |
||||||||||
|
50 |
195 |
145 |
95 |
27 |
26 |
298 |
70 |
12 |
10,1 |
|||
|
85 |
20 |
13,3 |
||||||||||
|
80 |
230 |
180 |
130 |
33 |
26 |
8 |
220 |
313 |
102 |
14 |
2 |
16,9 |
|
114 |
20 |
3; 4 |
19,1 |
|||||||||
|
100 |
265 |
210 |
160 |
37 |
30 |
323 |
133 |
22 |
26,4 |
|||
|
150 |
350 |
290 |
205 |
47 |
33 |
12 |
240 |
373 |
176 |
20 |
2 |
52,4 |
|
196 |
30 |
3; 4 |
60,5 |
|||||||||
|
200 |
430 |
360 |
275 |
57 |
39 |
290 |
438 |
250 |
30 |
102,0 |
||
|
280 |
45 |
123,4 |
||||||||||
|
250 |
500 |
430 |
330 |
65 |
335 |
503 |
308 |
36 |
168,2 |
|||
|
346 |
55 |
206,4 |
||||||||||
|
300 |
585 |
500 |
380 |
74 |
45 |
16 |
360 |
549 |
363 |
40 |
243,0 |
|
|
384 |
50 |
270,0 |
||||||||||
|
414 |
65 |
306,7 |
Пример условного обозначения штуцера Dу 100 мм, на Ру 1,6 МПа, типа 4 исполнения 4, S = 10 мм, l = 180 мм, фланец из стали 20, патрубок из стали 20:
Штуцер 100 - 1,6 - 4 - 4 - 10 - 180 - 20 АТК 24.218.06-90.
То же, фланец из стали 20, патрубок из стали 10Г2:
Штуцер 100 - 1,6 - 4 - 4 - 10 - 180 - 20-10Г2 АТК 24.218.06-90.
То же под фторопластовую прокладку:
Штуцер 100 - 16 - Ф -4 - 4 - 10 - 180 - 20 - 10Г2 АТК 24.218.06-90.
3.2.5. Штуцера типа 5 цельнокованные с шейкой, под прокладку овального сечения на условное давление от 6,3 до 16,0 МПа (рисунок 22, таблицы 44 - 46).
Тип 5
Рисунок 22
Таблица 44
Ру 6,3 МПа (63 кгс/см2)
Размеры в миллиметрах
|
D |
D1 |
D2 |
D8 |
Dm |
Dn |
b |
h |
h3 |
b2 |
r |
d |
n |
l |
l1 |
H |
dн |
S |
Масса, кг |
|
|
100 |
250 |
200 |
158 |
145 |
140 |
110 |
29 |
3 |
8 |
12 |
4 |
26 |
8 |
153 |
42 |
260 |
121 |
12 |
16,3 |
|
127 |
16 |
18,4 |
|||||||||||||||||
|
150 |
340 |
280 |
212 |
205 |
206 |
161 |
35 |
33 |
173 |
308 |
189 |
22 |
41,1 |
||||||
|
200 |
405 |
345 |
285 |
265 |
264 |
222 |
41 |
12 |
213 |
353 |
245 |
65,0 |
|||||||
|
46 |
260 |
30 |
73,7 |
||||||||||||||||
|
250 |
470 |
400 |
345 |
320 |
316 |
278 |
45 |
39 |
243 |
50 |
388 |
290 |
22 |
89,4 |
|||||
|
306 |
30 |
101,5 |
|||||||||||||||||
|
237 |
56 |
318 |
36 |
113,3 |
|||||||||||||||
|
300 |
530 |
460 |
410 |
375 |
370 |
330 |
50 |
4 |
16 |
274 |
50 |
424 |
351 |
30 |
136,6 |
||||
|
264 |
60 |
373 |
40 |
155,0 |
|||||||||||||||
|
254 |
70 |
395 |
50 |
170,8 |
|||||||||||||||
|
350 |
595 |
525 |
465 |
420 |
430 |
382 |
56 |
314 |
56 |
484 |
402 |
30 |
188,8 |
||||||
|
304 |
66 |
422 |
40 |
214,6 |
|||||||||||||||
|
299 |
71 |
432 |
45 |
228,3 |
|||||||||||||||
|
294 |
76 |
442 |
50 |
241,8 |
|||||||||||||||
|
400 |
670 |
585 |
535 |
480 |
484 |
432 |
62 |
45 |
344 |
58 |
529 |
446 |
30 |
247,6 |
|||||
|
334 |
68 |
466 |
40 |
281,0 |
|||||||||||||||
|
324 |
78 |
486 |
50 |
314,8 |
|||||||||||||||
|
314 |
88 |
506 |
60 |
347,1 |
Таблица 45
Ру 10,0 МПа (100 кгс/см2)
Размеры в миллиметрах
|
Dy |
D |
D1 |
D2 |
D8 |
Dm |
Dn |
b |
h |
h3 |
b2 |
r |
d |
n |
l |
l1 |
H |
dн |
S |
Масса, кг |
|
100 |
265 |
210 |
158 |
145 |
146 |
110 |
35 |
3 |
8 |
12 |
4 |
30 |
8 |
173 |
46 |
300 |
133 |
20 |
25,7 |
|
150 |
350 |
290 |
212 |
205 |
214 |
161 |
43 |
33 |
12 |
193 |
348 |
176 |
47,3 |
||||||
|
186 |
25 |
51,8 |
|||||||||||||||||
|
200 |
430 |
360 |
285 |
265 |
276 |
222 |
51 |
39 |
233 |
57 |
403 |
234 |
22 |
83,8 |
|||||
|
250 |
30 |
93,1 |
|||||||||||||||||
|
227 |
63 |
262 |
36 |
100,3 |
|||||||||||||||
|
250 |
500 |
430 |
345 |
320 |
340 |
276 |
57 |
273 |
57 |
463 |
299 |
30 |
143,4 |
||||||
|
263 |
67 |
316 |
40 |
160,1 |
|||||||||||||||
|
258 |
73 |
325 |
45 |
167,9 |
|||||||||||||||
|
300 |
585 |
500 |
410 |
375 |
400 |
330 |
66 |
4 |
45 |
16 |
304 |
57 |
514 |
344 |
30 |
203,5 |
|||
|
294 |
67 |
363 |
40 |
215,7 |
|||||||||||||||
|
284 |
77 |
384 |
50 |
248,8 |
|||||||||||||||
|
350 |
655 |
560 |
465 |
420 |
460 |
382 |
72 |
11 |
17 |
5,8 |
52 |
324 |
67 |
559 |
412 |
40 |
294,4 |
||
|
314 |
77 |
432 |
50 |
326,0 |
|||||||||||||||
|
304 |
87 |
450 |
60 |
348,2 |
|||||||||||||||
|
400 |
715 |
620 |
535 |
480 |
510 |
432 |
76 |
344 |
67 |
584 |
456 |
40 |
360,5 |
||||||
|
334 |
77 |
476 |
50 |
395,3 |
|||||||||||||||
|
324 |
87 |
496 |
60 |
428,8 |
|||||||||||||||
|
314 |
97 |
516 |
70 |
460,8 |
Таблица 46
Ру 16,0 МПа (160 кгс/см2)
Размеры в миллиметрах
|
Dy |
D |
D1 |
D2 |
D8 |
Dm |
Dn |
b |
h |
h3 |
b2 |
r |
d |
n |
l |
l1 |
H |
dн |
S |
Масса, кг |
|
100 |
265 |
210 |
158 |
160 |
146 |
110 |
37 |
3 |
8 |
12 |
4,0 |
30 |
8 |
193 |
49 |
323 |
133 |
22 |
26,4 |
|
150 |
350 |
290 |
212 |
205 |
214 |
161 |
47 |
10 |
14 |
4,2 |
33 |
12 |
213 |
46 |
373 |
176 |
20 |
52,4 |
|
|
196 |
30 |
60,5 |
|||||||||||||||||
|
200 |
430 |
360 |
285 |
275 |
276 |
222 |
57 |
11 |
17 |
5,8 |
39 |
263 |
50 |
438 |
250 |
102,0 |
|||
|
248 |
65 |
280 |
45 |
123,4 |
|||||||||||||||
|
250 |
500 |
430 |
345 |
330 |
340 |
278 |
65 |
302 |
59 |
503 |
308 |
36 |
168,2 |
||||||
|
283 |
78 |
346 |
55 |
206,4 |
|||||||||||||||
|
300 |
585 |
500 |
410 |
380 |
400 |
330 |
74 |
4 |
14 |
23 |
3,5 |
45 |
16 |
324 |
65 |
549 |
363 |
40 |
243,0 |
|
314 |
75 |
384 |
50 |
270,0 |
|||||||||||||||
|
299 |
90 |
414 |
65 |
306,7 |
Пример условного обозначения штуцера Dу 100 мм, на Pу 16,0 МПа, типа 5, S = 22 мм, Н = 323 мм, из стали 10Г2:
Штуцер 100 - 16 - 5 - 22 - 323 - 10Г2 АТК 24.218.06-90.
Таблица 47
Размеры уплотнительных поверхностей «шип-паз» под фторопластовые прокладки
|
Py, МПа |
D3, D5 |
D4, D6 |
h1 |
h2 |
|
|
15 |
До 6,3 |
22 |
34 |
4 |
3 |
|
Св. 6,3 до 20 |
28 |
40 |
|||
|
20 |
До 6,3 |
32 |
44 |
||
|
Св. 6,3 до 20 |
35 |
51 |
|||
|
25 |
До 6,3 |
40 |
52 |
||
|
Св. 6,3 до 20 |
42 |
58 |
|||
|
32 |
До 6,3 |
48 |
60 |
||
|
Св. 6,3 до 20 |
50 |
66 |
|||
|
40 |
До 6,3 |
54 |
70 |
||
|
Св. 6,3 до 20 |
60 |
76 |
|||
|
50 |
До 6,3 |
65 |
81 |
||
|
Св. 6,3 до 20 |
72 |
88 |
|||
|
80 |
До 6,3 |
100 |
116 |
||
|
Св. 6,3 до 20 |
105 |
121 |
|||
|
100 |
До 6,3 |
116 |
138 |
6 |
5 |
|
Св. 6,3 до 20 |
128 |
150 |
|||
|
125 |
До 6,3 |
145 |
167 |
||
|
Св. 6,3 до 20 |
154 |
176 |
|||
|
150 |
До 6,3 |
170 |
192 |
||
|
Св. 6,3 до 20 |
182 |
204 |
|||
|
200 |
До 6,3 |
228 |
250 |
||
|
Св. 6,3 до 20 |
238 |
260 |
|||
|
250 |
До 6,3 |
282 |
304 |
||
|
Св. 6,3 до 20 |
291 |
313 |
|||
|
300 |
До 6,3 |
335 |
357 |
||
|
Св. 6,3 до 20 |
342 |
364 |
|||
|
350 |
До 6,3 |
385 |
407 |
||
|
Св. 6,3 до 20 |
394 |
422 |
|||
|
400 |
До 6,3 |
435 |
457 |
||
|
Св. 6,3 до 20 |
446 |
474 |
|||
|
450 |
До 6,3 |
488 |
510 |
||
|
Св. 6,3 до 20 |
496 |
524 |
|||
|
500 |
До 6,3 |
540 |
562 |
||
|
Св. 6,3 до 20 |
548 |
576 |
(Измененная редакция, Изм. № 1).
3.2.6. Патрубки штуцеров разработаны на условное давление от 0,6 до 16,0 МПа и температуру от минус 70 до 600 °С.
По конструкции и размерам патрубки предусматриваются четырех исполнений:
исполнение 1 - рисунок 23, таблица 48;
исполнение 2 - рисунок 23, таблица 49;
исполнение 3 - рисунок 23, таблица 50;
исполнение 4 - рисунок 23, таблица 50.

Рисунок 23
Таблица 48
Размеры в миллиметрах
|
dн |
S |
l |
Масса, кг |
|
|
15 |
18 |
3,5 |
120 |
0,2 |
|
150 |
||||
|
180 |
||||
|
210 |
0,3 |
|||
|
20 |
25 |
120 |
0,2 |
|
|
150 |
0,3 |
|||
|
180 |
||||
|
210 |
0,4 |
|||
|
4,0 |
120 |
0,2 |
||
|
180 |
0,4 |
|||
|
25 |
32 |
3,5 |
120 |
0,3 |
|
150 |
0,4 |
|||
|
180 |
||||
|
210 |
0,5 |
|||
|
4,0 |
120 |
0,3 |
||
|
180 |
0,5 |
|||
|
32 |
38 |
3,5 |
120 |
0,4 |
|
150 |
||||
|
160 |
0,5 |
|||
|
180 |
||||
|
210 |
0,6 |
|||
|
220 |
0,7 |
|||
|
4,0 |
120 |
0,4 |
||
|
180 |
0,6 |
|||
|
5,0 |
120 |
0,5 |
||
|
180 |
0,7 |
|||
|
40 |
45 |
3,5 |
120 |
0,4 |
|
150 |
0,5 |
|||
|
160 |
0,6 |
|||
|
180 |
||||
|
210 |
0,8 |
|||
|
220 |
||||
|
4,0 |
120 |
0,5 |
||
|
180 |
0,7 |
|||
|
5,0 |
120 |
0,6 |
||
|
180 |
0,9 |
|||
|
50 |
57 |
4,0 |
120 |
0,6 |
|
150 |
0,8 |
|||
|
160 |
||||
|
180 |
0,9 |
|||
|
210 |
1,1 |
|||
|
220 |
1,2 |
|||
|
7,0 |
120 |
1,0 |
||
|
180 |
1,6 |
|||
|
80 |
89 |
5,0 |
120 |
1,2 |
|
150 |
1,6 |
|||
|
160 |
1,7 |
|||
|
180 |
1,9 |
|||
|
210 |
2,2 |
|||
|
220 |
2,3 |
|||
|
8,0 |
120 |
1,9 |
||
|
180 |
2,9 |
|||
|
100 |
108 |
6,0 |
120 |
1,8 |
|
150 |
2,3 |
|||
|
160 |
2,4 |
|||
|
180 |
2,7 |
|||
|
210 |
3,2 |
|||
|
220 |
3,3 |
|||
|
240 |
3,6 |
|||
|
10,0 |
120 |
2,9 |
||
|
180 |
4,4 |
|||
|
150 |
159 |
6,0 |
120 |
2,7 |
|
150 |
3,4 |
|||
|
180 |
4,1 |
|||
|
210 |
4,8 |
|||
|
240 |
5,4 |
|||
|
12,0 |
120 |
5,2 |
||
|
180 |
7,8 |
|||
|
200 |
219 |
8,0 |
120 |
5,0 |
|
150 |
6,2 |
|||
|
180 |
7,5 |
|||
|
210 |
8,7 |
|||
|
240 |
10,0 |
|||
|
18,0 |
150 |
13,4 |
||
|
210 |
18,7 |
|||
|
250 |
273 |
10,0 |
120 |
7,8 |
|
150 |
9,7 |
|||
|
180 |
11,7 |
|||
|
210 |
13,6 |
|||
|
240 |
15,6 |
|||
|
20,0 |
150 |
18,7 |
||
|
210 |
26,2 |
|||
|
300 |
325 |
10,0 |
150 |
11,7 |
|
180 |
14,0 |
|||
|
200 |
15,5 |
|||
|
210 |
16,3 |
|||
|
240 |
18,6 |
|||
|
260 |
20,2 |
|||
|
20,0 |
180 |
27,1 |
||
|
240 |
36,1 |
|||
|
22,0 |
180 |
29,6 |
||
|
240 |
39,5 |
|||
|
350 |
377 |
12,0 |
150 |
16,2 |
|
180 |
19,4 |
|||
|
200 |
21,6 |
|||
|
210 |
22,7 |
|||
|
230 |
24,8 |
|||
|
240 |
25,9 |
|||
|
260 |
28,1 |
|||
|
290 |
31,3 |
|||
|
320 |
34,6 |
|||
|
20,0 |
180 |
31,7 |
||
|
200 |
35,2 |
|||
|
240 |
42,3 |
|||
|
60 |
45,8 |
|||
|
400 |
426 |
12,0 |
160 |
19,6 |
|
180 |
22,1 |
|||
|
200 |
24,5 |
|||
|
220 |
27,0 |
|||
|
230 |
28,2 |
|||
|
240 |
29,4 |
|||
|
250 |
30,6 |
|||
|
260 |
31,9 |
|||
|
290 |
35,5 |
|||
|
310 |
38,0 |
|||
|
22,0 |
180 |
39,5 |
||
|
240 |
52,6 |
|||
|
500 |
530 |
12,0 |
180 |
27,6 |
|
200 |
30,7 |
|||
|
230 |
35,3 |
|||
|
240 |
36,8 |
|||
|
260 |
39,9 |
|||
|
290 |
44,5 |
|||
|
300 |
46,0 |
|||
|
320 |
49,1 |
|||
|
14,0 |
180 |
32,1 |
||
|
240 |
42,8 |
Пример условного обозначения патрубка исполнения 1, dн = 32 мм, S = 3,5 мм, l = 150 мм, из стали 10Г2:
Патрубок 1 - 32 - 3,5 - 150 - 10Г2 АТК 24.218.06-90.
Таблица 49
Размеры в миллиметрах
|
dн |
S |
Dт |
l |
Масса, кг |
|
|
15 |
32 |
10 |
19 |
180 |
1,2 |
|
36 |
12 |
220 |
1,6 |
||
|
44 |
16 |
2,4 |
|||
|
20 |
38 |
10 |
26 |
180 |
1,5 |
|
42 |
12 |
220 |
2,0 |
||
|
50 |
16 |
3,0 |
|||
|
25 |
45 |
10 |
33 |
100 |
1,6 |
|
49 |
12 |
220 |
2,4 |
||
|
57 |
16 |
|
3,6 |
||
|
32 |
50 |
10 |
39 |
100 |
1,8 |
|
57 |
12 |
220 |
2,9 |
||
|
63 |
16 |
4,0 |
|||
|
40 |
57 |
10 |
46 |
180 |
2,1 |
|
63 |
12 |
220 |
3,3 |
||
|
77 |
20 |
6,2 |
|||
|
50 |
68 |
10 |
58 |
180 |
2,6 |
|
70 |
12 |
220 |
3,8 |
||
|
85 |
20 |
7,0 |
|||
|
80 |
95 |
10 |
90 |
180 |
3,9 |
|
102 |
14 |
5,5 |
|||
|
200 |
6,1 |
||||
|
220 |
6,7 |
||||
|
100 |
114 |
10 |
110 |
180 |
4,6 |
|
121 |
12 |
5,8 |
|||
|
127 |
16 |
7,9 |
|||
|
150 |
168 |
12 |
161 |
8,5 |
|
|
200 |
9,1 |
||||
|
176 |
20 |
220 |
15,4 |
||
|
240 |
18,5 |
||||
|
180 |
16 |
180 |
11,5 |
||
|
200 |
228 |
14 |
222 |
180 |
13,5 |
|
100 |
14,0 |
||||
|
240 |
17,7 |
||||
|
234 |
22 |
260 |
30,0 |
||
|
245 |
180 |
21,8 |
|||
|
190 |
23,0 |
||||
|
240 |
29,0 |
||||
|
250 |
286 |
16 |
278 |
200 |
21,3 |
|
290 |
22 |
270 |
39,3 |
||
|
299 |
200 |
29,2 |
|||
|
230 |
33,8 |
||||
|
30 |
300 |
58,0 |
|||
|
300 |
335 |
16 |
330 |
220 |
27,7 |
|
260 |
32,7 |
||||
|
344 |
22 |
270 |
46,5 |
||
|
30 |
330 |
75,7 |
|||
|
351 |
220 |
43,0 |
|||
|
25 |
260 |
51,0 |
|||
|
30 |
300 |
63,6 |
|||
|
350 |
395 |
22 |
382 |
260 |
51,8 |
|
280 |
55,8 |
||||
|
300 |
59,5 |
||||
|
402 |
30 |
340 |
92,4 |
||
|
400 |
442 |
22 |
432 |
260 |
58,8 |
|
300 |
68,0 |
||||
|
330 |
74,8 |
||||
|
446 |
30 |
370 |
112,7 |
||
|
500 |
545 |
22 |
535 |
310 |
87,2 |
|
350 |
90,5 |
||||
|
555 |
30 |
360 |
145,9 |
Пример условного обозначения патрубка исполнения 2, dн =12 мм, l = 180 мм, из стали 10Г2:
Патрубок 2 - 57 - 12 - 180 - 10Г2 АТК 24.218.06-90.
Таблица 50
Размеры в миллиметрах
|
dн |
S |
Dn |
l |
h |
r* |
Масса, кг |
|
|
80 |
114 |
20 |
90 |
200 |
20 |
12 |
7,1 |
|
220 |
8,9 |
||||||
|
100 |
133 |
110 |
200 |
10,2 |
|||
|
22 |
220 |
11 |
11,3 |
||||
|
150 |
186 |
25 |
161 |
13 |
19,9 |
||
|
189 |
22 |
180 |
14 |
13,6 |
|||
|
200 |
16,9 |
||||||
|
196 |
30 |
240 |
18 |
26,6 |
|||
|
200 |
250 |
222 |
260 |
14 |
39,3 |
||
|
290 |
44,2 |
||||||
|
260 |
190 |
19 |
27,9 |
||||
|
240 |
37,7 |
||||||
|
262 |
36 |
260 |
20 |
46,4 |
|||
|
280 |
45 |
290 |
29 |
65,5 |
|||
|
250 |
306 |
30 |
278 |
270 |
14 |
51,4 |
|
|
308 |
36 |
335 |
21 |
15 |
76,0 |
||
|
314 |
30 |
200 |
20 |
18 |
37,0 |
||
|
230 |
39,5 |
||||||
|
316 |
40 |
300 |
21 |
19 |
74,7 |
||
|
318 |
36 |
270 |
20 |
20 |
60,0 |
||
|
325 |
230 |
24 |
51,4 |
||||
|
45 |
300 |
22 |
23 |
82,5 |
|||
|
346 |
55 |
335 |
34 |
114,2 |
|||
|
300 |
363 |
30 |
330 |
260 |
20 |
17 |
59,1 |
|
270 |
62,9 |
||||||
|
40 |
330 |
24 |
97,0 |
||||
|
360 |
106,4 |
||||||
|
373 |
36 |
270 |
20 |
22 |
70,4 |
||
|
40 |
300 |
26 |
88,0 |
||||
|
384 |
50 |
330 |
23 |
27 |
121,1 |
||
|
360 |
133,4 |
||||||
|
305 |
300 |
20 |
33 |
103,8 |
|||
|
414 |
65 |
360 |
23 |
42 |
170,1 |
||
|
350 |
412 |
30 |
382 |
260 |
20 |
15 |
69,1 |
|
280 |
74,8 |
||||||
|
300 |
80,6 |
||||||
|
40 |
360 |
25 |
124,8 |
||||
|
422 |
340 |
20 |
118,2 |
||||
|
432 |
280 |
25 |
97,0 |
||||
|
45 |
340 |
131,9 |
|||||
|
50 |
360 |
25 |
156,4 |
||||
|
442 |
45 |
300 |
20 |
30 |
114,4 |
||
|
50 |
340 |
145,3 |
|||||
|
450 |
60 |
360 |
26 |
34 |
178,7 |
||
|
400 |
456 |
40 |
432 |
380 |
28 |
12 |
149,4 |
|
458 |
30 |
260 |
20 |
13 |
75,0 |
||
|
300 |
89,7 |
||||||
|
330 |
99,1 |
||||||
|
466 |
40 |
370 |
23 |
17 |
146,1 |
||
|
476 |
50 |
380 |
28 |
22 |
184,2 |
||
|
478 |
40 |
432 |
300 |
20 |
23 |
116,7 |
|
|
330 |
129,6 |
||||||
|
486 |
50 |
370 |
23 |
27 |
179,9 |
||
|
496 |
60 |
380 |
28 |
32 |
217,7 |
||
|
498 |
50 |
330 |
20 |
33 |
158,6 |
||
|
506 |
60 |
370 |
23 |
37 |
212,2 |
||
|
516 |
70 |
380 |
28 |
42 |
249,7 |
||
|
500 |
560 |
30 |
535 |
350 |
20 |
13 |
131,0 |
|
573 |
36 |
310 |
19 |
137,0 |
|||
|
585 |
45 |
380 |
25 |
207,9 |
|||
|
590 |
350 |
28 |
189,3 |
||||
|
605 |
55, |
380 |
35 |
247,3 |
|||
|
* Для исполнения 3. |
|||||||
Пример условного обозначения патрубка исполнения 3, dн = 114 мм, S = 20 мм, l = 200 мм, из стали 10Г2:
Патрубок 3 - 114 - 20 - 200 - 10Г2 АТК 24.218.06-90.
То же исполнения 4:
Патрубок 4 - 114 - 20 - 200 - 10Г2 АТК 24.218.06-90.
4.1. Штуцера сосудов и аппаратов должны изготавливаться в соответствии с требованиями настоящего альбома, ОСТ 26-291 по рабочим чертежам, утвержденным в установленном порядке.
4.2. Конструкция и размеры плоских фланцев должны соответствовать ГОСТ 12820, фланцев приварных встык - ГОСТ 12821.
Технические требования на фланцы должны соответствовать ГОСТ 12816, ГОСТ 12820, ГОСТ 12821.
4.3. Пределы применения штуцеров выбираются в соответствии с пределами применения фланцев.
4.4. Требования к материалам, виды их испытаний, назначение и условия их применения должны соответствовать ОСТ 26-291.
4.5. Материалы фланцев должны соответствовать указанным в таблице 51.
Таблица 51
|
Технические требования к материалу |
Температура стенки, °С |
|
|
Ст3сп; Ст3пс ГОСТ 380 |
от минус 20 до 300 |
|
|
20К ГОСТ 5520 |
от минус 20 до 300 |
|
|
16ГС ГОСТ 5520 |
от минус 40 до 300 |
|
|
09Г2С ГОСТ 5520 |
от минус 70 до 300 |
|
|
08X22H6T, 08Х21Н6М2Г ГОСТ 5632 |
ГОСТ 7350 ГруппаМ2б |
от минус 40 до 300 |
|
12Х18Н10Т, 10Х17Н13М2Т ГОСТ 5632 |
ГОСТ 7350 ГруппаМ2б |
от минус 70 до 300 |
|
20 ГОСТ 1050 |
ГОСТ 8479, ГрIV-КП195 и ГрIV-КП215 |
от минус 30 до 475 |
|
15ХМ ГОСТ 4543 |
ГОСТ 8479; ГрIV-КП195; ГрIV-КП215 |
от 0 до 560 |
|
08Х22Н6Т, 08Х21Н6М2Т ГОСТ 5632 |
ГОСТ 25054; ГрIV; ГрIVК |
от минус 40 до 300 |
|
12Х10Н10Т, 10Х17Н13М2Т ГОСТ 5632 |
ГОСТ 25054; ГрIV. ГрIVК |
от минус 70 до 600 |
|
10Г2 ГОСТ 4543 |
ГОСТ 8479; ГрIV-КП215 |
от минус 70 до 475 |
|
09Г2С ГОСТ 19281 |
ГОСТ 8479; ГрIV-КП245 |
от минус 70 до 475 |
4.6. Материалы патрубков должны соответствовать указанным в таблице 52.
Таблица 52
|
Технические требования к материалу |
Температура стенки, °С |
|
|
Ст3сп; Ст3пс ГОСТ 380 |
ГОСТ 14637; ГОСТ 10706, Группа В |
от минус 20 до 425 |
|
10,20 ГОСТ 1050 |
от минус 30 до 475 |
|
|
20 ГОСТ 1050 |
от минус 20 до 425 |
|
|
10Г2 ГОСТ 4543 |
ГОСТ 550 |
от минус 70 до 475 |
|
09Г2С ГОСТ 5520 |
от минус 70 до 300 |
|
|
15ХМ ТУ 14-3-460 |
ТУ 14-3-460 |
от 0 до 560 |
|
16ГС ГОСТ 5520 |
от минус 40 до 300 |
|
|
12Х18Н10Т, 08Х18Н10Т, 10Х17Н13М2Т ГОСТ 5632 |
от минус 70 до 600 |
|
|
08Х22Н6Т ГОСТ 5632 |
от минус 40 до 300 |
|
|
08Х21Н6М2Т ГОСТ 5632 |
ГОСТ 7350, Группа М2б; ТУ 14-3-1905 |
от минус 40 до 300 |
Примечания к таблицам 51; 52:
1. Категория сталей марок Ст3, 20К, 16ГС, 09Г2С выбирается при разработке конструкторской документации в зависимости от условий эксплуатации.
2. Стали марок 10Г2; 09Г2 рекомендуется применять при температуре стенки ниже минус 40 °С.
3. Фланцы из стали марки 20 допускается применять при температуре ниже минус 30 до минус 40 °С при условии термообработки - закалки и последующего высокого отпуска или нормализации после приварки фланцы к патрубку.
4. Трубы по ГОСТ 10706 Группы В применяются только до температуры 400 °С.
5. Допускается применение патрубков толщиной не более 12 мм из сталей марок 10; 20 до минус 40 °С.
4.7. Материалы цельнокованных штуцеров и утолщенных патрубков должны соответствовать таблице 53.
Таблица 53
|
Технические требования к материалу |
Температура стенки, °С |
|
|
20 ГОСТ 1050 |
ГОСТ 8479; ГрIV-КП195; ГрIV-КП215 |
от минус 30 до 475 |
|
10Г2 ГОСТ 4543 |
ГОСТ 8479; ГрIV-КП215 |
от минус 70 до 475 |
|
09Г2С ГОСТ 19281 |
ГОСТ 8479; ГрIV-КП245 |
от минус 70 до 475 |
|
15ХМ ГОСТ 4543 |
ГОСТ 8479; ГрIV-К275С |
от 0 до 560 |
|
12Х18Н10Т ГОСТ 5632 |
ГОСТ 25054; ГрIV и ГрIVК |
от минус 70 до 600 |
|
10Х17Н13М2Т ГОСТ 5632 |
ГОСТ 25054; ГрIV; ГрIVК |
от минус 70 до 600 |
|
08Х22М6Т, 08Х21Н6М2Т ГССТ 5632 |
ГОСТ 25054; ГрIV; ГрIVК |
от минус 40 до 30 |
4.8. Допускается применение других материалов в соответствии с ОСТ 26-291.
4.9. Допускается изготовление штуцеров с уменьшенными или увеличенными длинами патрубков, при этом измененная длина патрубка указывается в условном обозначении штуцера, масса штуцера пересчитывается.
4.10. Масса штуцера подсчитана при плотности стали 7850 кг/м3 и может отличаться от указанной в пределах ± 3 %.
4.11. Пробное гидравлическое испытание штуцеров производить совместно с аппаратом в соответствии с ОСТ 26-291.
4.12. Допускается подрезка патрубков по внутреннему диаметру сосуда или аппарата.
4.13. Вылеты штуцеров приведены в приложении А рисунках А.1, А.2, А.3, таблицах А.1; А.2; А.3.
4.14. Разделка кромок и способ приварки патрубка к фланцу определяются предприятием-изготовителем по действующей нормативно-технической документации.
4.15. В технически обоснованных случаях допускается заменять толщины патрубков, изготавливаемых из труб, в сторону увеличения, при этом масса штуцеров пересчитывается.
4.16. Требования к крепежным изделиям по ОСТ 26-2043.
4.17. Маркировать: условное обозначение без наименования изделия, товарный знак предприятия-изготовителя.
Для штуцеров не имеющих самостоятельной поставки, маркировку производить в порядке, принятом на предприятии-изготовителе.
4.18. Штуцера с гладкой уплотнительной поверхностью не допускается применять в сосудах 1-й и 2-й групп.
(Измененная редакция, Изм. № 1).
(рекомендуемое)
А.1. Вылеты штуцеров типов 1 и 2 должны соответствовать рисунку А.1, таблице A.1.
Рисунок A.1
Таблица A.1
Размеры в миллиметрах
|
Dy |
Py, МПа (кгс/см2) |
||||||
|
1,0 (10) |
1,6 (16) |
2,5 (25) |
4,0 (40) |
6,3 (63) |
10 (100) |
16 (160) |
|
|
Н1 |
|||||||
|
15 |
- |
|
|
|
|
- |
|
|
20 |
|||||||
|
25 |
|||||||
|
32 |
|||||||
|
40 |
|
|
|||||
|
50 |
|
|
|
||||
|
80 |
|
|
|||||
|
100 |
|
|
|||||
|
150 |
|
|
|
|
|||
|
200 |
|
|
|
|
|||
|
250 |
|
|
|
||||
|
300 |
|
|
|
|
|||
|
350 |
|
- |
|||||
|
400 |
|
|
|
||||
|
500 |
|
- |
- |
||||
Примечание - Вылеты штуцеров на Ру 0,6 МПа соответствуют вылету штуцеров на Ру 1,0 МПа.
4.2 Вылеты утолщенных штуцеров типа 3 должны соответствовать рисунку А.2, таблице А.2.
Рисунок А.2
Размеры в миллиметрах
|
Dy |
Py, МПа (кгс/см2) |
|||
|
4,0 (40) |
6,3 (63) |
10 (100) |
16 (160) |
|
|
Н1 |
||||
|
15 |
150 |
180 |
- |
180 |
|
20 |
||||
|
25 |
||||
|
32 |
||||
|
40 |
||||
|
50 |
180 |
|||
|
80 |
200 |
200 |
||
А.3. Вылеты утолщенных штуцеров типа 4 и 5 должны соответствовать рисунку А.3, таблице А.3.
Рисунок А.3
Размеры в миллиметрах
|
Dy |
Py, МПа (кгс/см2) |
|||||
|
1,6 (16) |
2,5 (25) |
4,0 (40) |
6,3 (63) |
10 (100) |
16 (160) |
|
|
Н1 |
||||||
|
15 |
- |
- |
180 |
- |
- |
180 |
|
20 |
||||||
|
25 |
||||||
|
32 |
||||||
|
40 |
||||||
|
50 |
180 |
180 |
||||
|
80 |
180 |
200 |
200 |
|||
|
100 |
180 |
200 |
200 |
220 |
||
|
150 |
200 |
200 |
220 |
250 |
260 |
|
|
200 |
220 |
270 |
300 |
340 |
||
|
250 |
220 |
220 |
270 |
300 |
360 |
400 |
|
300 |
260 |
320 |
340 |
410 |
450 |
|
|
350 |
250 |
290 |
340 |
390 |
450 |
- |
|
400 |
260 |
320 |
380 |
420 |
470 |
|
|
500 |
300 |
350 |
410 |
- |
- |
|
|
_________________________________________________________ |