Система нормативных документов в строительстве
СВОД ПРАВИЛ
ПО ПРОЕКТИРОВАНИЮ И СТРОИТЕЛЬСТВУ
ПРОЕКТИРОВАНИЕ И МОНТАЖ
ТРУБОПРОВОДОВ СИСТЕМ ОТОПЛЕНИЯ
С ИСПОЛЬЗОВАНИЕМ
МЕТАЛЛОПОЛИМЕРНЫХ ТРУБ
СП 41-102-98
ГОСУДАРСТВЕННЫЙ КОМИТЕТ
РОССИЙСКОЙ ФЕДЕРАЦИИ
ПО СТРОИТЕЛЬНОЙ, АРХИТЕКТУРНОЙ И ЖИЛИЩНОЙ ПОЛИТИКЕ
(ГОССТРОЙ РОССИИ)
Москва
1999
ПРЕДИСЛОВИЕ
1 РАЗРАБОТАН Научно-исследовательским институтом московского строительства (НИИМосстрой) Российской Федерации и техническим комитетом в составе: МНИИТЭП, ГПК СантехНИИпроект, НИИсантехники, НИКИМТ, ЗАО «Гента», ТОО НПП «ВладВЭД»
2 ОДОБРЕН для применения:
Госстроем России, письмо № 13-220 от 16.04.98;
Межгосударственной научно-технической комиссией по стандартизации, техническому нормированию и сертификации в строительстве (МНТКС), протокол от 20.05.98
3 Настоящий Свод правил представляет собой аутентичный текст Межгосударственного свода правил МСП 4.02-101-98 «Проектирование и монтаж трубопроводов систем отопления с использованием металлополимерных труб»
СОДЕРЖАНИЕ
СП 41-102-98
СВОД ПРАВИЛ ПО ПРОЕКТИРОВАНИЮ И СТРОИТЕЛЬСТВУ
ПРОЕКТИРОВАНИЕ И МОНТАЖ
ТРУБОПРОВОДОВ СИСТЕМ ОТОПЛЕНИЯ
С ИСПОЛЬЗОВАНИЕМ МЕТАЛЛОПОЛИМЕРНЫХ ТРУБ
DESIGN AND INSTALLATION OF PIPELINES FOR HEATING
SYSTEMS USING METALPOLIMERIC PIPES
Настоящий Свод правил содержит рекомендации по проектированию и монтажу систем отопления с использованием металлополимерных труб.
При разработке Свода правил использованы опыт применения их при монтаже систем отопления и горячего водоснабжения в Российской Федерации и результаты сертификационных испытаний.
Металлополимерная труба представляет собой пятислойную конструкцию (рисунок 1), состоящую из тонкостенной алюминиевой трубы, на которую изнутри и снаружи наносится клеевая основа, а затем - «сшитый» полиэтилен.
Металлополимерная труба сочетает следующие достоинства металлической и пластмассовой труб:
- 100 %-ная кислородонепроницаемость;
- коррозионная стойкость;
- отсутствие минеральных отложений на стенках труб;
- долговечность 25 лет;
- морозоустойчивость;
- надежность работы в условиях повышенной сейсмичности;
- повышенная шумопоглощающая способность;
- удобство транспортирования;
- технологичность монтажа - трубы легко гнутся, позволяют огибать элементы помещений, не требуется точная подгонка линейных размеров;
- монтаж непосредственно без сварки, нарезки резьбы, с оборудованием и приборами из стали, латуни, пластмасс при помощи соединительных деталей.
По мере расширения области применения металлополимерных труб в Свод правил будут внесены необходимые дополнения.
В разработке настоящего Свода правил принимали участие:
В.А. Глухарев (Госстрой России), А.В. Сладков, Р.Б. Шехтер (НИИМосстрой), В.И. Сасин (НИИсантехники), А.Г. Гонтуар (ЗАО «Каучук»), С.И. Прижижецкий (МНИИТЭП), Т.И. Садовская (ГПК СантехНИИпроект), Л.П. Домарацкая (НИКИМТ), А.В. Чурдалев (ЗАО «Гента»), Ю.М. Рапопорт (АО «Каучук-пласт»), В.Э. Дорофеев (ТОО НПП «ВладВЭД»).
Замечания и предложения по совершенствованию Свода правил следует направлять в ГП ЦНС.
Рисунок 1 - Структура металлополимерной трубы
1.1 Металлополимерные трубы (далее - трубы) применяют при проектировании и монтаже систем отопления, расчетная температура которых не превышает 90 °С при давлении в трубах не более 1,0 МПа по данным нормативных документов на трубы или сертификационных испытаний.
1.2 Металлополимерные трубы могут быть использованы в системах центрального, местного отопления жилых, общественных, административно-бытовых и промышленных зданий, вновь возводимых и реконструируемых, а также для систем подогрева грунта в теплицах и оранжереях.
1.3 Не допускается прокладывать трубы в помещениях по пожарной опасности категории Г, а также в помещениях с источниками тепловых излучений с температурой поверхности более 150 °С.
1.4 Металлополимерные трубы не могут быть использованы без защитных экранов в помещениях, где вблизи возможна электродуговая или газовая сварка при аварийных ремонтных работах.
1.5 При проектировании и монтаже следует также соблюдать требования других нормативных документов по отопительным системам.
2.1 Настоящий Свод правил содержит рекомендации к действующим нормативным документам и распространяется на проектирование и монтаж центрального и автономного отопления с использованием металлополимерных труб.
2.2 Система отопления может быть выполнена полностью из металлополимерных труб или вместе с трубами из других материалов (сталь, медь и т.д.) в зависимости от необходимых диаметров.
2.3 Металлополимерные трубы, применяемые для систем отопления, должны иметь сертификат соответствия требованиям нормативных документов.
2.4 Срок службы трубопроводов систем отопления должен быть не менее 25 лет.
2.5 Типы, размеры и технические характеристики металлополимерных труб по данным фирм-изготовителей представлены в приложении А (таблицы A.1 и А.2).
Допускается для систем отопления применение труб, не уступающих по показателям требованиям нормативных документов и настоящего Свода правил, имеющих сертификат или техническое свидетельство.
2.6 В комплекте с металлополимерными трубами должны поставляться латунные соединительные детали отечественного или импортного производства, имеющие сертификат соответствия. Варианты соединительных деталей и элементов некоторых фирм представлены в приложении В и Г.
ОБЩИЕ УКАЗАНИЯ
3.1 Проектирование систем отопления с использованием металлополимерных труб включает в себя выбор типа труб и соответствующих им соединительных деталей и арматуры, выбор параметров теплоносителя, выполнение гидравлического и теплотехнического расчетов, выбор способа прокладки и условий, обеспечивающих долговечность труб без перенапряжения материала и соединений трубопровода.
3.2 Выбор типа труб проводится с учетом условий работы трубопровода, давления и температуры, необходимого срока службы, места прокладки труб и назначения помещения.
3.3 Прокладка труб систем отопления должна предусматриваться скрытой в плинтусах, за экранами, в штробах, шахтах и каналах. Допускается открытая прокладка в местах, где исключается их механическое и термическое повреждение и прямое воздействие ультрафиолетового излучения. Способ прокладки трубопроводов должен обеспечивать возможность замены их при ремонте.
Замоноличивание труб (без кожуха) в строительные конструкции допускается в зданиях со сроком службы менее 20 лет при расчетном сроке службы труб 40 лет и более.
При скрытой прокладке трубопроводов следует предусматривать доступ при ремонте в места расположения разборных соединений и арматуры.
3.4 В системе теплоснабжения следует предусматривать приборы автоматического регулирования параметров теплоносителя (температуры, давления) с целью защиты труб от превышения допустимых величин. Не допускается применение металлополимерных труб в системах с элеваторными узлами.
Трубопроводы из металлополимерных труб следует проектировать после запорной арматуры на тепловых пунктах.
Не допускается применять трубы для расширительного, предохранительного, переливного, сигнального трубопроводов.
3.5 Системы центрального отопления, полностью или частично смонтированные из металлополимерных труб, по своему принципиальному решению делятся на:
а) системы напольного отопления, где металлополимерные трубы являются одновременно и нагревательными элементами (с температурой теплоносителя не выше 55 °С);
б) системы с трубопроводами из металлополимерных труб и нагревательными приборами (радиаторами, конвекторами) или в комбинации с системой кондиционирования воздуха.
3.6 Расчет систем отопления с использованием металлополимерных труб может быть выполнен по существующим методикам (вручную по математическим зависимостям и номограммам или с помощью компьютерных программ).
3.7 Системы напольного отопления наиболее целесообразно использовать для отопления помещений большой площади (магазины, крытые рынки, вокзалы, дорожки бассейнов). Система напольного отопления может быть также применена в коттеджах и отдельных зданиях общественного назначения (детских дошкольных учреждениях, гостиницах), административных зданиях и зданиях специального назначения, где применение напольного отопления предусмотрено функциональной технологией.
Применение напольных систем отопления из металлополимерных труб разрешается только от автономного источника теплоснабжения (на объект) или от центрального источника теплоснабжения по независимой схеме.
3.8 Возможные варианты укладки труб в системах напольного отопления представлены на рисунке 2:
схема А - одиночный змеевик;
схема В - параллельная укладка труб подающей и обратной воды;
схема С - трубопроводы подающей и обратной воды уложены параллельной спиралью.
Схема А обеспечивает легкий монтаж труб и более равномерное распределение температуры по поверхности пола. Основным преимуществом схемы А является то, что она легко адаптируется ко всем видам конструкции пола.
Схема В обеспечивает равномерную среднюю температуру, но при ней возможны более высокие колебания перепада температуры на малых площадях.
Схема С подходит для жилых домов с повышенной потребностью теплоты.
При раскладке труб подающий трубопровод следует укладывать ближе к наружным стенам.
СХЕМА А
Изменение температуры на поверхности пола
СХЕМА В

Изменение температуры на поверхности пола
СХЕМА С

Изменение температуры на поверхности пола
Рисунок 2 - Схемы укладки труб в системах напольного отопления и графики изменения температуры на поверхности пола
3.9 Среднюю температуру поверхности пола следует принимать с учетом требований нормативных документов, а также ограничений для различных видов покрытия (например, максимально допустимая температура для паркета 27 °С).
3.10 Виды покрытий из искусственных материалов должны иметь показатели, в том числе санитарно-гигиенические, разрешающие применение их в конструкции теплого пола.
3.11 Кроме средней величины температуры пола, на комфортность помещений влияет неравномерность температуры на поверхности пола. Перепад температуры на отдельных участках пола при напольном отоплении не должен превышать 10 °С (оптимально 5 °С).
3.12 Вариант прокладки трубопроводов систем отопления с встроенными в полы нагревательными элементами из металлополимерных труб представлен на рисунке 3.
1 - настил пола; 2 - слой бетона; 3 - труба нагревательного элемента; 4 - скоба якорная; 5 - тепло- и гидроизоляция; 6 - плита перекрытия; 7 - боковая теплоизоляция
Рисунок 3 - Прокладка трубопроводов системы отопления со встроенными в полы нагревательными элементами из металлополимерных труб
3.13 Глубина укладки металлополимерной трубы определяется в зависимости от температуры теплоносителя и материала покрытия пола.
3.14 Оптимальный шаг укладки металлополимерных труб (расстояние между осями) определяется конкретно колебаниями температуры на поверхности пола и экономическими соображениями.
3.15 Система центрального отопления, полностью или частично выполненная из металлополимерных труб, может быть с нижней и верхней разводкой, однотрубная или двухтрубная.
Применение труб рекомендуется в системах:
- с горизонтальными двухтрубными ветками для группы параллельно-последовательно подсоединенных отопительных приборов (рисунки 4, 5);
- с горизонтальными однотрубными ветками для группы последовательно подсоединенных приборов (рисунок 6);
- с распределительными коллекторами (рисунки 7, 8).
В системах с распределительными коллекторами присоединение отопительных приборов может быть осуществлено путем прокладки металлополимерных труб в форме «петель» в полу или вдоль стен под плинтусами.
Рекомендуется, чтобы каждая петля обслуживала одну квартиру или группу помещений одного потребителя. К одному коллектору может присоединяться до 8 «петель».
На рисунке 9 представлен вариант подсоединения отопительных приборов к стоякам отопления.
3.16 Рекомендуемые скорости теплоносителя в металлополимерных трубопроводах допускается принимать на 20 % больше, чем в стальных трубопроводах.
3.17 В системах отопления с использованием металлополимерных труб следует предусматривать автоматические или ручные воздухоотводчики на отопительных приборах и на распределительных коллекторах.
Встроенный терморегулятор
Рисунок 4 - Система отопления с горизонтальными двухтрубными ветками для группы параллельно-последовательно соединенных отопительных приборов

Рисунок 5 - Узлы подсоединения отопительных приборов к двухтрубной системе отопления
Рисунок 6 - Система отопления с горизонтальными однотрубными ветками для группы последовательно соединенных отопительных приборов
Рисунок 7 - Распределительный коллектор системы отопления
Рисунок 8 - Вариант подсоединения распределительных коллекторов к стоякам из металлополимерных труб
Рисунок 9 - Подсоединение отопительных приборов к стоякам из стальных труб
ГИДРАВЛИЧЕСКИЕ ХАРАКТЕРИСТИКИ МЕТАЛЛОПОЛИМЕРНЫХ ТРУБ
3.18 При гидравлическом расчете падение давления DР в системе отопления складывается из потерь давления на трение по длине трубопровода l и потерь давления на преодоление местных сопротивлений
DP = Rl + Z, (1)
где R - удельная линейная потеря давления на 1 м длины, Па/м;
Z - потеря давления на местное сопротивление, Па/м.
3.19 Гидравлические характеристики металлополимерных труб различных фирм при t = 80 °С представлены в приложении Б. Потери давления по длине, Па/м, можно определить по формуле
(2)
где l - коэффициент сопротивления по длине;
V - скорость течения воды, м/с;
dр - расчетный диаметр трубы, м.
Коэффициент сопротивления по длине l следует определять по формуле
(3)
где b - число подобия режимов течения воды;
Кэ - коэффициент эквивалентной шероховатости, м;
Reф - число Рейнольдса фактическое.
Приведенный (внутренний) диаметр dр следует определять по формуле
dp = 0,5(2dн + Ddн - 4S - 2DS), (4)
где dн - наружный диаметр трубы, м;
Ddн - допуск на наружный диаметр трубы, м;
S - толщина стенки трубы, м;
DS - допуск на толщину стенки трубы, м.
Фактическое число Рейнольдса Reф определяется по формуле
(5)
где vt - коэффициент кинематической вязкости воды, м2/с, определяемый по таблице 1.
Таблица 1
|
Коэффициент кинематической вязкости воды vр м2/с |
|
|
35 |
0,73 × 10-6 |
|
40 |
0,66 × 10-6 |
|
45 |
0,6 × 10-6 |
|
50 |
0,55 × 10-6 |
|
55 |
0,51 × 10-6 |
|
60 |
0,47 × 10-6 |
|
65 |
0,43 × 10-6 |
|
70 |
0,41 × 10-6 |
|
80 |
0,36 × 10-6 |
|
90 |
0,32 × 10-6 |
Число Рейнольдса Reкв соответствующее началу квадратичной области гидравлических сопротивлений при турбулентном движении воды, определяется по формуле
(6)
Число подобия режимов течения воды b определяется по формуле
(7)
Коэффициент эквивалентной (равномерно-зернистой) шероховатости Кэ, м, принимается равным 1,0 × 10-6 м.
3.20 При средней температуре теплоносителя, отличной от 80 °С, следует учесть согласно таблице 2 поправочный коэффициент а к значениям R, приведенным в приложении Б (при t = 80 °С)
Rt = R × а, (8)
где Rt - удельный перепад давления при средней расчетной температуре теплоносителя и расходе G, Па/м;
R - значение удельного перепада давления (приложение Б) при t = 80 °С и при том же значении G, Па/м.
Таблица 2
|
90 |
80 |
70 |
60 |
50 |
40 |
|
|
Коэффициент а |
0,98 |
1,0 |
1,02 |
1,05 |
1,08 |
1,11 |
3.21 Падение давления при преодолении местных сопротивлений Z, Па, может быть определено из зависимости
(9)
где Sx - сумма коэффициентов местных сопротивлений на рассчитываемом участке трубопровода;
V - скорость теплоносителя в трубопроводе, м/с;
r - плотность жидкости при температуре теплоносителя, кг/м3.
Ориентировочные значения коэффициентов местных сопротивлений соединительных деталей элементов системы отопления приведены в таблице 3.
Гидравлические характеристики отопительных приборов: вентилей, клапанов, включая термостатические, представлены в справочных изданиях фирм-изготовителей и разработчиков нормативной документации.
Таблица 3
|
Детали |
Схематическое изображение деталей |
Значение коэффициента |
|
|
1 |
Отвод с радиусом закругления ³ 5 d: 90° 45° |
|
0,3 - 0,5 |
|
2 |
Тройники: на проход |
|
0,5 |
|
3 |
на ответвление 90° |
|
1,5 |
|
4 |
на слияние 90° |
|
1,5 |
|
5 |
на разделение потока |
|
3,0 |
|
6 |
Крестовина: на проход |
|
2,0 |
|
7 |
на ответвление |
|
3,0 |
|
8 |
Отступ |
|
0,5 |
|
9 |
Обход |
|
1,0 |
|
10 |
Внезапное расширение сужение |
|
1,0 0,5 |
|
11 |
Соединение с обжимной гайкой |
См. приложение Г |
1,5 |
КОМПЕНСАЦИЯ ТЕМПЕРАТУРНЫХ УДЛИНЕНИЙ
3.22 Компенсация температурных удлинений может быть осуществлена за счет самокомпенсации участков трубопровода, установкой компенсаторов и правильной расстановкой неподвижных и скользящих опор.
В качестве компенсаторов предпочтительно использовать углы поворотов трубопроводов. На прямых участках трубопровода необходимо предусматривать П-образные, Г-образные, петлевые и другие компенсаторы, расстояния между которыми определяются расчетом.
В качестве неподвижных опор могут быть использованы держатели для труб, закрепленные на строительных конструкциях, или укрепленные в них кронштейны.
3.23 Удлинение отрезка трубопровода при изменении температуры теплоносителя и окружающей среды (рисунок 10) определяется по формуле
Dl = 0,025LDt, (10)
где Dl - изменение длины трубы, мм;
L - длина участка трубопровода при температуре монтажа, м;
Dt - перепад температур между температурой воздуха в помещении при монтаже и эксплуатации, °С;
0,025 - коэффициент линейного расширения трубы, мм/м.
3.24 Расчет компенсирующей способности П-образных компенсаторов и Г-образных элементов трубопровода производится по формуле (рисунок 11)
(11)
где Lк - вылет компенсатора;
dн - наружный диаметр трубы, мм;
Dl - изменение длины участка трубопровода при изменении температуры воздуха при монтаже и эксплуатации;
30 - коэффициент эластичности для полимерных труб.
На рисунке 12 показан пример традиционного решения компенсации удлинений стояков для систем отопления с применением металлополимерных труб.
Перепад температур, °С
Рисунок 10 - Диаграмма для определения удлинения труб


1 - П-образный; 2 - Г-образный; 3 - петлеобразный; a - положение трубы при максимальной температуре; в - то же, при минимальной; Lк - вылет компенсатора; Х - неподвижная опора; = скользящая опора
Рисунок 11 - Устройство компенсаторов
Рисунок 12 - Подсоединение отопительных приборов к стоякам отопления из металлополимерных труб
ТЕПЛОВЫЕ ХАРАКТЕРИСТИКИ МЕТАЛЛОПОЛИМЕРНЫХ ТРУБ
3.25 По данным рекомендаций института НИИсантехники, тепловой поток металлополимерных труб длиной l, м, можно определять по следующей зависимости (рисунок 13)
(12)
где
- температура на
внутренней поверхности трубопровода, °С;
tс - температура на наружной поверхности трубопровода, °С;
Q - тепловой поток, Вт;
l - длина трубы, м;
t - температура теплоносителя, °С;
tвз - температура воздушной среды, °С;
aн - коэффициент наружной теплоотдачи, Вт/м2 × К;
dн - наружный диаметр трубы, мм;
l - коэффициент теплопроводности, Вт/м × К;
dв - внутренний диаметр трубы, мм;
aвн - коэффициент внутренней теплоотдачи, Вт/м2 × К;
a - без теплоизоляции; б - с изоляцией; 1, 2 - полиэтиленовая оболочка; 3 - алюминиевая труба; 4 - теплоизоляция
Рисунок 13 - Схема металлополимерной трубы для расчета теплопередачи через цилиндрическую стенку
При оценке возможности выпадения конденсата на поверхности трубы необходимо определить температуру наружной стенки трубы и сопоставить ее с температурой точки росы tр.
(13)
где tвз - температура воздушной среды, °С;
aн - коэффициент наружной теплоотдачи, Вт/м2 × К.
Выпадения конденсата не будет при условии tc > tр.
3.26 При использовании теплоизоляции тепловой поток теплоизолированной трубы приближенно может быть определен по следующей зависимости
(14)
где dиз - наружный диаметр изоляции, м;
lиз - коэффициент теплопроводности изоляции, Вт/м × К.
Это соотношение справедливо при условии идеального контакта наружной поверхности трубы с изоляцией. При накладной изоляции обычно условие не соблюдается и воздушная прослойка играет роль дополнительного слоя.
3.27 По данным НИИсантехники в таблицах 4 и 5 представлены результаты тепловых испытаний металлополимерных труб в виде зависимости линейной плотности теплового потока q, Вт/м, от температурного напора Θ, °С, при горизонтальном расположении открыто проложенных труб на высоте 100 мм от пола и вертикальном расположении труб. В среднем тепловой поток q, Вт/м, зависит от фактического температурного напора Θ, °С, в степени 1,2, т.е.
(15)
где С - коэффициент, принимаемый для различных диаметров труб по столбцу «0» в таблицах 4 и 5 при Θ = 70 °С, Вт/м;
70 - нормативная разность температур (температурный напор), °С;
Θ - фактическая разность среднеарифметической температуры теплоносителя в трубе и расчетной температуры воздуха в помещении, °С, рассчитываемая по формуле
, (16)
где tн и tк - соответственно начальная и конечная температура теплоносителя;
tв - температура воздуха в помещении.
3.28 Полезный тепловой поток открыто проложенных металлополимерных труб учитывается в пределах 90 - 100 % приведенного в таблицах 4 и 5 (в зависимости от способа прокладки).
3.29 При прокладке горизонтальных труб под потолком рекомендуется учитывать 70 - 80 % их расчетного теплового потока.
3.30 Тепловой поток вертикальных труб снижается в среднем:
- при экранировании открытого стояка из полимерных труб металлическим экраном на 25 %;
- при скрытой прокладке в глухой борозде на 50 %;
- при скрытой прокладке в вентилируемой борозде на 10 %.
3.31 Общий тепловой поток от одиночных труб, замоноличенных в междуэтажных перекрытиях отапливаемых помещений и во внутренних перегородках из тяжелого бетона (lбет ³ 1,8 Вт/м × К, rбет ³ 2000 кг/м3), увеличивается в среднем в 2,0 раза (при оклейке стен обоями - в 1,8 раза).
3.32 Общий тепловой поток от одиночных труб в наружных ограждениях из тяжелого бетона (lбет ³ 1,8 Вт/м × К, rбет ³ 2000 кг/м3) увеличивается в среднем в 1,6 раза (при оклейке стен обоями - в 1,4 раза), причем полезный тепловой поток при наличии эффективной теплоизоляции между трубой и наружной поверхностью стены составляет в среднем 90 % общего.
Таблица 4 - Тепловой поток 1 м открыто проложенных горизонтальных металлополимерных труб
|
Θ, °С |
Тепловой поток 1 м трубы, Вт/м, через 1 °C |
||||||||||
|
0 |
1 |
2 |
3 |
4 |
5 |
6 |
7 |
8 |
9 |
||
|
16 |
|
20,5 |
21,4 |
22,2 |
23,0 |
23,9 |
24,7 |
25,6 |
26,4 |
27,3 |
28,2 |
|
20 |
30 |
24,8 |
25,8 |
26,8 |
27,8 |
28,8 |
29,9 |
30,9 |
31,9 |
33,0 |
34,0 |
|
25 |
|
29,4 |
30,6 |
31,8 |
33,0 |
34,2 |
35,4 |
36,6 |
37,8 |
39,1 |
40,3 |
|
16 |
|
29,0 |
29,9 |
30,8 |
31,6 |
32,5 |
33,4 |
34,3 |
35,2 |
36,1 |
37,0 |
|
20 |
40 |
35,0 |
36,1 |
37,2 |
38,2 |
39,3 |
40,4 |
41,4 |
42,5 |
43,6 |
44,7 |
|
25 |
|
41,5 |
42,8 |
44,0 |
45,3 |
46,6 |
47,8 |
49,1 |
50,4 |
51,7 |
53,0 |
|
16 |
|
37,9 |
38,8 |
39,8 |
40,7 |
41,6 |
42,5 |
43,4 |
44,4 |
45,3 |
46,3 |
|
20 |
50 |
45,8 |
46,9 |
48,0 |
49,1 |
50,2 |
51,4 |
52,5 |
53,6 |
54,7 |
55,9 |
|
25 |
|
54,3 |
55,6 |
56,9 |
58,2 |
59,5 |
60,9 |
62,2 |
63,5 |
64,9 |
66,2 |
|
16 |
|
47,2 |
48,2 |
49,1 |
50,0 |
51,0 |
52,0 |
52,9 |
53,9 |
54,9 |
55,8 |
|
20 |
60 |
57,0 |
58,2 |
59,3 |
60,4 |
61,6 |
62,8 |
63,9 |
65,1 |
66,2 |
67,4 |
|
25 |
|
67,6 |
68,9 |
70,3 |
71,6 |
73,0 |
74,4 |
75,8 |
77,1 |
78,5 |
79,9 |
|
16 |
|
56,8 |
57,8 |
58,8 |
59,7 |
60,7 |
61,7 |
62,7 |
63,7 |
64,7 |
65,7 |
|
20 |
70 |
68,6 |
69,8 |
71,0 |
72,1 |
73,3 |
74,5 |
75,7 |
76,9 |
78,1 |
79,3 |
|
25 |
|
81,3 |
82,7 |
84,1 |
85,5 |
86,9 |
88,3 |
89,7 |
91,2 |
92,6 |
94,0 |
|
16 |
|
66,7 |
67,7 |
68,7 |
69,7 |
70,7 |
71,7 |
72,7 |
73,7 |
74,8 |
75,8 |
|
20 |
80 |
80,5 |
81,7 |
82,9 |
84,2 |
85,4 |
86,6 |
87,8 |
89,0 |
90,3 |
91,5 |
|
25 |
|
95,4 |
96,9 |
98,3 |
99,7 |
101,2 |
102,6 |
104,1 |
105,5 |
107,0 |
108,4 |
|
16 |
|
76,8 |
77,8 |
78,8 |
79,9 |
80,9 |
81,9 |
83,0 |
84,0 |
85,1 |
86,1 |
|
20 |
90 |
92,7 |
94,0 |
95,2 |
96,5 |
97,7 |
99,0 |
100,2 |
101,5 |
102,7 |
104,0 |
|
25 |
|
109,9 |
111,4 |
112,8 |
114,3 |
115,8 |
117,3 |
118,8 |
120,2 |
121,7 |
123,2 |
Таблица 5 - Тепловой поток 1 м открыто проложенных вертикальных металлополимерных труб
|
Θ, °С |
Тепловой поток 1 м трубы, Вт/м, через 1 °С |
||||||||||
|
0 |
1 |
2 |
3 |
4 |
5 |
6 |
7 |
8 |
9 |
||
|
16 |
|
18,5 |
19,2 |
20,0 |
20,7 |
21,5 |
22,2 |
23,0 |
23,8 |
24,6 |
25,3 |
|
20 |
30 |
21,8 |
22,7 |
23,6 |
24,5 |
25,4 |
26,3 |
27,2 |
28,1 |
29,0 |
29,9 |
|
25 |
|
25,3 |
26,3 |
27,3 |
28,4 |
29,4 |
30,4 |
31,5 |
32,5 |
33,6 |
34,6 |
|
16 |
|
26,1 |
26,9 |
27,7 |
28,5 |
29,3 |
30,1 |
30,9 |
31,7 |
32,5 |
33,3 |
|
20 |
40 |
30,8 |
31,8 |
32,7 |
33,6 |
34,6 |
35,5 |
36,5 |
37,4 |
38,4 |
39,3 |
|
25 |
|
35,7 |
36,8 |
37,9 |
39,0 |
40,0 |
41,1 |
42,2 |
43,3 |
44,4 |
45,6 |
|
16 |
|
34,1 |
35,0 |
35,8 |
36,6 |
37,4 |
38,3 |
39,1 |
40,0 |
40,8 |
41,6 |
|
20 |
50 |
40,3 |
41,3 |
42,2 |
43,2 |
44,2 |
45,2 |
46,2 |
47,2 |
48,2 |
49,2 |
|
25 |
|
46,7 |
47,8 |
48,9 |
50,1 |
51,2 |
52,3 |
53,5 |
54,6 |
55,8 |
56,9 |
|
16 |
|
42,5 |
43,3 |
44,2 |
45,0 |
45,9 |
46,8 |
47,6 |
48,5 |
49,4 |
50,2 |
|
20 |
60 |
50,2 |
51,2 |
52,2 |
53,2 |
54,2 |
55,2 |
56,2 |
57,3 |
58,3 |
59,3 |
|
25 |
|
58,1 |
59,3 |
60,4 |
61,6 |
62,8 |
64,0 |
65,2 |
66,3 |
67,5 |
68,7 |
|
16 |
|
51,1 |
52,0 |
52,9 |
53,8 |
54,6 |
55,5 |
56,4 |
57,3 |
58,2 |
59,1 |
|
20 |
70 |
60,4 |
61,4 |
62,4 |
63,5 |
64,5 |
65,6 |
66,6 |
67,7 |
68,7 |
69,8 |
|
25 |
|
69,9 |
71,1 |
72,3 |
73,5 |
74,7 |
76,0 |
77,2 |
78,4 |
79,6 |
80,8 |
|
16 |
|
60,0 |
60,9 |
61,8 |
62,7 |
63,6 |
64,5 |
65,4 |
66,4 |
67,3 |
68,2 |
|
20 |
80 |
70,8 |
71,9 |
73,0 |
74,1 |
75,1 |
76,2 |
77,3 |
78,4 |
79,4 |
80,5 |
|
25 |
|
82,1 |
83,3 |
84,5 |
85,8 |
87,0 |
88,3 |
89,5 |
90,8 |
92,0 |
93,3 |
|
16 |
|
69,1 |
70,0 |
71,0 |
71,9 |
72,8 |
73,7 |
74,7 |
75,6 |
76,6 |
77,5 |
|
20 |
90 |
81,6 |
82,7 |
83,8 |
84,9 |
86,0 |
87,1 |
88,2 |
89,3 |
90,4 |
91,5 |
|
25 |
|
94,5 |
95,8 |
97,0 |
98,3 |
99,6 |
100,9 |
102,1 |
103,4 |
104,7 |
106,0 |
3.33 При скрытой прокладке одиночных труб, замоноличенных в легком бетоне с пластификатором, расчетный тепловой поток увеличивается в 1,1 - 1,15 раза.
3.34 При прокладке труб в стандартных штробах, полностью заполненных самотвердеющей пенистой изоляцией, тепловой поток труб снижается в случае размещения в наружных стенах на 15 - 20 %, во внутренних перегородках - на 5 - 10 %.
4.1 Перевозка, погрузка и разгрузка металлополимерных труб должны осуществляться при температуре наружного воздуха не ниже минус 20 °С.
4.2 Перевозка металлополимерных труб может быть осуществлена любым видом транспорта (желательно в крытых автомашинах и вагонах) в отрезках или бухтах, в горизонтальном положении.
4.3 При погрузочно-разгрузочных работах, транспортировании и хранении металлополимерные трубы необходимо оберегать от механических повреждений.
Запрещается сбрасывать трубы с транспортных средств или волочить по любой поверхности.
Во время погрузки следует применять стропы из мягкого материала.
4.4 Хранить металлополимерные трубы необходимо в закрытом помещении или под навесом в горизонтальном положении, на ровном полу, настиле, щитах, оберегая от прямых солнечных лучей. Высота штабеля не должна превышать 2,0 м. При хранении труб в складских помещениях температура окружающего воздуха не должна превышать 50 °С, а расстояние от нагревательных приборов должно быть не менее 1,0 м.
ОБЩИЕ УКАЗАНИЯ
5.1 Монтаж металлополимерных труб должен осуществляться по монтажному проекту при температуре окружающей среды не ниже 10 °С.
5.2 Перед прокладкой металлополимерных труб в помещении необходимо закончить все электрогазосварочные работы, установить элементы крепления, а при открытой прокладке - закончить отделочные работы.
При скрытой прокладке трубопроводов в местах расположения разборных соединений и арматуры следует предусматривать люки или съемные щиты, не имеющие острых выступов.
Стояки целесообразно размещать в каналах, нишах, бороздах, за декоративными панелями или, как исключение, замоноличивать их в стенах и перегородках.
Горизонтальные трубопроводы и подводки к отопительным приборам допускается размещать по перекрытиям и за плинтусами (рисунок 14). Открытые участки можно закрывать декоративными элементами.
а - в отапливаемых помещениях на междуэтажных перекрытиях между квартирами; б - в отапливаемых помещениях на перекрытиях над неотапливаемыми помещениями или в подвале; 1 - покрытие пола; 2 - слой бетона; 3 - слой гидроизоляции; 4 - слой звукоизоляции; 5 - слой теплоизоляции; 6 - трубопровод; 7 - засыпка; 8 - перекрытие; 9 - теплоизоляция трубы
Рисунок 14 - Скрытая прокладка разводящих трубопроводов из металлополимерных труб в полу
Открытая прокладка металлополимерных труб допускается в местах, исключающих их механическое и термическое повреждение и прямое воздействие ультрафиолетового излучения.
5.3 Не допускаются сплющивания и переломы трубопровода во время монтажа.
При изломе трубу следует выпрямить и придать ей цилиндрическую форму деревянным или резиновым молотком. Такую операцию допускается осуществлять только один раз на данном участке.
5.4 Бухты металлополимерных труб, хранившиеся или транспортировавшиеся на монтаж (заготовительный участок) при температуре ниже 0 °С, должны быть перед раскаткой выдержаны в течение 24 ч при температуре не ниже 10 °С.
В процессе размотки бухты и монтажа трубопровода необходимо следить, чтобы труба не перекручивалась.
Прокладку трубы следует вести, не допуская растягивающих напряжений, свободные концы закрывать заглушками во избежание попадания грязи и мусора в трубу.
5.5 Радиус изгиба должен быть не менее пяти наружных диаметров трубы. При изгибе менее 5dн следует пользоваться спиральной пружиной. Трубы гнут плавно без нагрева, в холодном состоянии.
5.6 При монтаже систем напольного отопления должны выполняться следующие условия:
- отопительные трубы для одного помещения следует изготавливать из целого куска трубы;
- покровный слой тепловой изоляции и гидроизоляция не должен иметь щелей;
- трубы не должны проходить под деформационными швами бетонной заливки, в противном случае они должны иметь защитную оболочку длиной не менее 1 м;
- трубы к теплоизоляции следует крепить с помощью специальных V-образных «якорных» скоб. Допускается прикреплять трубу к металлической сетке проволокой с мягкой прокладкой;
- трубопровод напольного отопления должен заливаться бетонным раствором или закрываться покрытием только после проведения гидравлических испытаний на герметичность. Труба при заливке должна находиться под давлением 0,3 МПа;
- нагреваемая площадь одного змеевика не должна превышать 30 м2 с максимальной длиной одной из сторон 8 м. Между однородными площадями бетонного покрытия следует делать деформационные швы шириной 0,5 см, которые следует заполнять эластичным материалом. Слой раствора должен быть тщательно выровнен;
- при бетонировании необходимо избегать смещения, вертикального изгиба, сдавливания или повреждения труб;
- минимальная высота заливки над поверхностью трубы должна быть не менее 3 см. Цементно-песчаная смесь должна быть не ниже марки 400 с пластификатором.
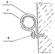
5.7 Для прохода труб через строительные конструкции необходимо предусматривать гильзы. Внутренний диаметр гильзы должен быть на 5 - 10 мм больше наружного диаметра прокладываемой трубы (рисунок 15). Зазор между трубой и гильзой необходимо заделать мягким несгораемым материалом, допускающим перемещение трубы вдоль продольной оси.
Рисунок 15 - Установка гильзы для прокладки труб в стенах и перекрытиях
5.8 Расстояние в свету между строительной конструкцией и металлополимерным трубопроводом, проходящим вдоль нее, должно быть не менее 20 мм,
5.9 Металлополимерные трубы для трубопроводов отопления и горячего водоснабжения следует прокладывать на расстоянии не менее 50 мм выше других трубопроводов.
5.10 Соединение металлополимерных труб со стальными трубопроводами, запорно-регулирующей арматурой и отопительными приборами выполняется на резьбе с помощью специальных соединительных деталей (приложение В, Г).
ВХОДНОЙ КОНТРОЛЬ ТРУБ И КОМПЛЕКТУЮЩИХ ИЗДЕЛИЙ
5.11 До проведения монтажных работ металлополимерные трубы, соединительные детали, арматура и средства крепления должны быть подвергнуты входному контролю.
Трубы, соединительные детали, а также средства крепления должны иметь сопроводительный документ, подтверждающий соответствие их нормативным требованиям.
5.12 Трубы должны иметь маркировку, указывающую диаметр трубы, допустимую температуру и давление. На поверхности труб не должно быть механических повреждений и изломов. Трубы не должны быть скручены или сплющены.
5.13 На штуцерах и накидных гайках соединительных деталей резьба должна быть нарезана в соответствии с ГОСТ 6357, класс прочности В. Сопрягаемые детали не должны иметь выбоин, заусенцев, царапин. Резиновые прокладки должны иметь правильную геометрическую форму.
5.14 Средства крепления металлополимерных труб должны иметь поверхность, исключающую возможность механического повреждения труб. Крепления не должны иметь острых кромок и заусенцев. Размеры хомутов, фиксаторов, скоб должны строго соответствовать диаметрам труб. Металлические крепления должны иметь мягкие прокладки и антикоррозионные покрытия.
ТЕХНОЛОГИЯ ПОДГОТОВИТЕЛЬНЫХ РАБОТ
5.15 До начала монтажа трубопроводов необходимо выполнить следующие подготовительные операции:
отобрать трубы и соединительные детали, прошедшие входной контроль;
разметить трубу в соответствии с проектом или по месту с учетом припуска на последующую обработку при максимальном использовании материала труб. Разметка труб может быть осуществлена стандартными мерительными инструментами: измерительной линейкой, складным метром, рулеткой, а также специально изготовленным шаблоном и разметочным приспособлением. Риски для отрезки на трубе наносятся карандашом или маркером.
Недопустимо нанесение царапин или надрезов на поверхности трубы.
5.16 Разрезку труб следует производить согласно разметке ножницами, под углом 90° к оси трубы, не допуская смятия трубы и образования заусенцев. Отклонение плоскости реза не должно превышать 5°.
Для устранения погрешностей торцов труб необходимо осуществлять калибровку концов труб с помощью развертки. Овальность торцов труб должна быть не более 1 %.
СОЕДИНЕНИЕ ТРУБ И ПРИСОЕДИНЕНИЕ К АРМАТУРЕ
5.17 Вариант соединения с обжимной гайкой состоит из следующих операций:
- для изгиба трубы с r < 5dн (наружный диаметр) необходимо применять пружину;
- используя пружину, выпрямить лишние искривления трубы (приблизительно 150 - 160 мм);
- специальными ножницами обрезать трубу под углом 90° к оси трубы;
- обработать поверхность трубы калиброванной разверткой (сначала стороной 1 на глубину риски на наружной поверхности развертки, затем стороной 2 снять внутреннюю фаску);
- надеть на трубу латунную обжимную гайку;
- вручную запрессовать соединительный элемент до упора на глубину для труб наружным диаметром, мм: 16 - 8 мм; 20 - 10 мм, 25 - 12 мм.
Соединение трубы с фасонными деталями, имеющими наружную резьбу, осуществляется по сопрягаемым поверхностям деталей без уплотнения резьбовой гайки.
Для присоединения труб к деталям, имеющим внутреннюю резьбу, необходимо использовать ниппель с уплотнением резьбовой части.
5.18 Для присоединения к приборам, имеющим внутреннюю резьбу, можно применять соединение с обжимной гайкой и обжимным кольцом с уплотнением резьбовой части (рисунок 16).
5.19 Уплотнение резьбовых соединений со стальными трубопроводами и арматурой может быть осуществлено льняной прядью, лентой ФУМ или любым другим уплотнительным материалом.
5.20 Установка соединительной детали с обжимной втулкой (приложение Г) выполняется следующим образом:
- снять фаску под углом 45° по внутренней поверхности торца трубы;
- надеть на трубу обжимную втулку;
- надеть на штуцер соединительной детали накидную гайку и уплотнительное кольцо;
- установить штуцер в трубу с помощью приспособления;
- натянуть на трубу со штуцером втулку;
- вынуть трубу из приспособления;
- обжать втулку на трубе с помощью приспособления для обкатки, вынуть трубу из приспособления.
1 - металлополимерная труба; 2 - обжимная гайка, 3 - разрезное обжимное упругое кольцо; 4 - соединительная вставка с наружной резьбой
Рисунок 16 - Соединение с обжимной гайкой и обжимным кольцом
КРЕПЛЕНИЕ ТРУБОПРОВОДОВ
5.21 Расстановка креплений металлополимерных трубопроводов осуществляется таким образом, чтобы исключить предельно допустимые напряжения в материале трубы от линейных температурных удлинений трубопровода.
5.22 Расстояние между креплениями следует принимать согласно таблице 6.
Таблица 6
В миллиметрах
|
Расстояние между скользящими креплениями |
||||
|
при горизонтальной прокладке |
при вертикальной прокладке |
|||
|
До 16 |
500 |
1000* |
1000 |
2000* |
|
20 |
500 |
1000* |
1000 |
2000* |
|
25 |
750 |
1000* |
1200 |
2000* |
|
32 |
|
1000* |
|
2400* |
|
40 |
|
1000* |
|
2400* |
|
50 |
|
1000* |
|
3000 |
|
* Для труб «МЕТАПОЛ» |
||||

1 - труба; 2 - фиксатор; 3 - хомут; 4 - шуруп (дюбель)
Рисунок 17 - Крепление труб к стенам и перегородкам
1 - хомут; 2 - труба; 3 - мягкая прокладка; 4 - теплоизоляция; 5 - болт; 6 - гайка; 7 - подвеска; 8 - кронштейн
Рисунок 18 - Крепление трубопроводов
Необходимо предусматривать крепление на поворотах и ответвлениях трубопроводов.
5.23 Распределительные коллекторы и запорно-регулирующую арматуру следует закреплять с помощью самостоятельных неподвижных креплений для устранения передачи усилий на трубопровод в процессе эксплуатации.
5.24 Для закрепления труб рекомендуется применять изделия согласно каталогам фирм-изготовителей труб или иные опоры, применяемые для пластмассовых труб. Возможные способы крепления представлены на рисунках 17, 18.
ИСПЫТАНИЕ СИСТЕМЫ ОТОПЛЕНИЯ
5.25 После выполнения монтажных работ следует провести испытание системы на герметичность при давлении, превышающем рабочее в 1,5 раза, но не менее 0,6 МПа, при постоянной температуре воды.
5.26 При подготовительных работах перед гидравлическим испытанием системы необходимо:
- отключить (временно снять) предохранительные клапаны, регулировочные клапаны, датчики и др., если допустимое давление указанной арматуры меньше величины пробного давления по 5.25;
- отключенные элементы заменить заглушками или запорными клапанами, допустимое давление для которых больше величины пробного давления;
- подключить к системе манометр с точностью измерения 0,01 МПа.
5.27 Систему следует заполнить водой медленно при открытых воздухоспускных устройствах во избежание образования воздушных пробок.
5.28 Гидравлические испытания необходимо проводить при постоянной температуре в два этапа:
1-й этап - в течение 30 мин дважды поднимать давление до расчетной величины через каждые 10 мин. В последующие 30 мин падение давления в системе не должно превышать 0,06 МПа;
2-й этап - в последующие 2 ч падение давления (от давления, достигнутого на 1-м этапе) не должно быть больше, чем на 0,02 МПа.
5.29 Гидравлическое испытание системы напольного отопления необходимо проводить до заливки трубопроводов бетоном (раствором).
5.30 Тепловое испытание напольных систем отопления из металлополимерных труб следует осуществлять после того, как бетон окончательно затвердеет, т.е. через 20 - 28 дн. Испытания следует начинать с температуры теплоносителя 25 °С с ежедневным увеличением температуры на 5 °С до тех пор, пока она не будет соответствовать проектной величине.
РЕМОНТНЫЕ РАБОТЫ
5.31 Слесари-сантехники, производящие ремонт, должны быть ознакомлены со свойствами металлополимерных труб и технологией их обработки.
5.32 При замене труб во время ремонта не допускается ставить трубы меньшего диаметра, чем заменяемые трубы.
5.33 В случае повреждения участка трубопровода целесообразно вырезать поврежденный участок. Замена производится с помощью отрезка трубы нужной длины, соединяемого с трубопроводом специальными соединительными деталями. Поврежденный участок трубы монтируется при помощи 2 соединений с накидной гайкой через ниппель с уплотнением резьбовой части или двухсторонних соединений с обжимной гайкой и обжимным кольцом без уплотнения резьбовой части.
5.34 При проведении сварочных или иных огневых работ в местах возможного термического или механического повреждения труб необходимо ставить ограждения.
5.35 Для очистки наружной поверхности труб следует применять материал, исключающий механические повреждения.
5.36 При замерзании системы наличие пробок в трубе можно определить по местному увеличению диаметра (расширению) трубы или по слою инея и льда на поверхности. Прогревать трубу следует теплым воздухом или горячей водой температурой до 90 °С. Категорически запрещается использовать открытое пламя и обстукивать трубы молотком. При первой возможности следует заменить поврежденный отрезок трубы.
5.37 При ослаблении заделки между трубой и гильзой, проходящей через строительные конструкции, необходимо её уплотнить герметиком из негорючих материалов.
6.1 При монтаже систем отопления из металлополимерных труб следует соблюдать требования техники безопасности в строительстве по действующей нормативной документации.
6.2 При заготовительном производстве и монтаже запрещается производить электросварочные работы на расстоянии от металлополимерных труб менее 2 м.
Металлополимерные трубы относятся к категории горючих, трудновоспламеняемых материалов. Средства пожаротушения - распыленная вода, пена, песок, кошма.
6.3 Металлополимерные трубы в процессе монтажа и эксплуатации не выделяют в окружающую среду токсичных веществ и не оказывают вредного влияния на организм человека при непосредственном контакте.
6.4 Монтаж металлополимерных труб должны проводить слесари-сантехники, прошедшие специальное обучение и ознакомленные со спецификой обработки таких труб.
Работы по монтажу внутренних систем отопления из этих труб разрешается производить только исправным инструментом, при соблюдении условий его эксплуатации.
6.5 Гидравлическое испытание систем следует производить в присутствии мастера или производителя работ. Слесари, проводящие испытания, должны находиться в безопасных местах на случай выбивания заглушек.
Таблица A.1 - Сортамент и масса металлополимерных труб
В миллиметрах
|
№ п.п. |
Изготовитель, нормативно-техническая документация, поставщик |
Номинальный диаметр |
Толщина стенки с допуском |
Толщина алюминиевой фольги с допуском |
Теоретическая масса 1 м длины, кг |
|
|
внутренний с допуском |
наружный с допуском |
|||||
|
1 |
НИКИМТ (Россия), ТУ 2248-004-07629379-97 |
|
16 + 0,3 |
|
|
0,095 |
|
|
25 + 0,3 |
|
0,2 ± 0,01 |
0,2 |
||
|
2 |
АО «Каучук-пласт» (Россия), ТУ 2248-001-29325094-97, ЗАО «Гента» (Россия) |
10-0,2 |
14 + 0,15 |
|
0,2 ± 0,02 |
0,092 |
|
12-0,2 |
16 + 0,15 |
|
0,2 ± 0,02 |
0,105 |
||
|
14-0,2 |
18 + 0,15 |
|
0,2 ± 0,02 |
0,128 |
||
|
|
20 + 0,15 |
|
0,24 ± 0,02 |
0,150 |
||
|
|
25 + 0,20 |
|
0,24 ± 0,02 |
0,204 |
||
|
3 |
ТОО НПП «ВладВЭД» (Россия) - поставщик |
12 |
16,0 ± 0,3 |
2,25 ± 0,2 |
0,5 ± 0,04 |
0,125 |
|
15 |
20,0 ± 0,3 |
2,50 ± 0,2 |
0,5 ± 0,04 |
0,185 |
||
|
20 |
26,0 ± 0,3 |
3,00 ± 0,2 |
0,7 ± 0,04 |
0,300 |
||
|
26 |
32,3 ± 0,3 |
3,20 ± 0,2 |
0,7 ± 0,04 |
0,390 |
||
|
32 |
40,3 ± 0,3 |
3,90 ± 0,2 |
0,7 ± 0,04 |
0,550 |
||
|
40 |
48,0 ± 0,3 |
4,00 ± 0,3 |
0,8 ± 0,04 |
0,755 |
||
|
50 |
60,0 ± 0,3 |
4,80 ± 0,3 |
0,8 ± 0,04 |
0,985 |
||
|
60 |
76,0 ± 0,3 |
5,20 ± 0,3 |
1,0 ± 0,04 |
1,480 |
||
Таблица A.2 - Основные физико-механические показатели металлополимерных труб
|
Показатели |
Единица измерения |
Значение |
|
|
1 |
Коэффициент теплопроводности |
Вт/м · К |
0,45 |
|
2 |
Коэффициент линейного расширения |
1/°С |
2,5 × 10-5 |
|
3 |
Коэффициент эквивалентной равномерно-зернистой шероховатости |
мм |
0,01 |
|
4 |
Прочность кольцевых образцов при разрыве в поперечном направлении, не менее для труб размерами, мм: |
Н |
|
|
|
10 - 14 |
|
2100 |
|
|
12 - 16 |
|
2400 |
|
|
14 - 18 |
|
2400 |
|
|
16 - 20 |
|
2400 |
|
|
20 - 25 |
|
2400 |
|
5 |
Изменение длины после прогрева при температуре (120 - 3) °С в течение (60 + 1) мин |
% не более |
1 |
|
6 |
Стойкость при постоянном внутреннем давлении (без разрушений) при температуре, °С: |
МПа |
|
|
|
20 - в течение 1 ч |
|
4,5 |
|
|
95 » » 1 ч |
|
1,8 |
|
|
95 » » 100 ч |
|
1,6 |
|
|
95 » » 1000 ч |
|
1,4 |
Таблица Б.1 - Гидравлические характеристики металлополимерных труб при коэффициенте шероховатости 0,01 мм. Температура теплоносителя 80 °С
|
Потери давления на трение R, Па/м |
Диаметр трубопровода dв/dн, мм |
|||||||||
|
10/14 |
12/16 |
14/18 |
16/20 |
20/25 |
||||||
|
Скорость движения теплоносителя V, м/с |
Расход теплоносителя G, л/ч |
Скорость движения теплоносителя V, м/с |
Расход теплоносителя G, л/ч |
Скорость движения теплоносителя V, м/с |
Расход теплоносителя G, л/ч |
Скорость движения теплоносителя V, м/с |
Расход теплоносителя G, л/ч |
Скорость движения теплоносителя V, м/с |
Расход теплоносителя G, л/ч |
|
|
0,49 |
|
|
|
|
0,01 |
5,40 |
0,010 |
6,64 |
0,010 |
11,25 |
|
0,98 |
0,010 |
2,65 |
0,010 |
3,95 |
0,01 |
5,40 |
0,020 |
13,27 |
0,020 |
22,50 |
|
1,96 |
0,020 |
5,29 |
0,020 |
7,90 |
0,02 |
10,79 |
0,030 |
19,91 |
0,030 |
33,74 |
|
3,92 |
0,030 |
7,94 |
0,030 |
11,84 |
0,04 |
21,59 |
0,040 |
26,55 |
0,050 |
56,24 |
|
5,88 |
0,040 |
10,58 |
0,040 |
15,79 |
0,05 |
26,99 |
0,060 |
39,82 |
0,070 |
78,73 |
|
7,84 |
0,040 |
10,58 |
0,050 |
19,74 |
0,06 |
32,38 |
0,070 |
46,46 |
0,080 |
89,98 |
|
9,81 |
0,050 |
13,23 |
0,060 |
23,69 |
0,07 |
37,78 |
0,080 |
53,10 |
0,100 |
112,48 |
|
19,62 |
0,080 |
21,16 |
0,100 |
39,48 |
0,11 |
59,37 |
0,120 |
79,64 |
0,150 |
168,71 |
|
39,23 |
0,130 |
34,39 |
0,150 |
59,22 |
0,17 |
91,76 |
0,180 |
119,47 |
0,220 |
247,45 |
|
58,84 |
0,160 |
42,32 |
0,190 |
75,02 |
0,21 |
113,35 |
0,230 |
152,65 |
0,280 |
314,93 |
|
78,45 |
0,190 |
50,26 |
0,220 |
86,86 |
0,25 |
134,94 |
0,270 |
179,20 |
0,330 |
371,17 |
|
98,06 |
0,220 |
58,20 |
0,250 |
98,71 |
0,28 |
151,13 |
0,310 |
205,75 |
0,370 |
416,16 |
|
117,68 |
0,240 |
63,49 |
0,280 |
110,55 |
0,31 |
167,32 |
0,340 |
225,66 |
0,410 |
461,15 |
|
137,29 |
0,260 |
68,78 |
0,310 |
122,40 |
0,34 |
183,51 |
0,370 |
245,57 |
0,450 |
506,14 |
|
156,90 |
0,280 |
74,07 |
0,330 |
130,29 |
0,37 |
199,71 |
0,400 |
265,48 |
0,480 |
539,88 |
|
176,52 |
0,300 |
79,36 |
0,350 |
138,19 |
0,40 |
215,90 |
0,430 |
285,39 |
0,520 |
584,87 |
|
196,13 |
0,320 |
84,65 |
0,380 |
150,03 |
0,42 |
226,69 |
0,450 |
298,67 |
0,550 |
618,62 |
|
215,74 |
0,340 |
89,94 |
0,400 |
157,93 |
0,44 |
237,49 |
0,480 |
318,58 |
0,580 |
652,36 |
|
235,36 |
0,360 |
95,23 |
0,420 |
165,83 |
0,47 |
253,68 |
0,500 |
331,85 |
0,600 |
674,85 |
|
254,97 |
0,380 |
100,52 |
0,440 |
173,72 |
0,49 |
264,47 |
0,520 |
345,13 |
0,630 |
708,60 |
|
274,58 |
0,390 |
103,17 |
0,450 |
177,67 |
0,51 |
275,27 |
0,550 |
365,04 |
0,660 |
742,34 |
|
294,20 |
0,410 |
108,46 |
0,470 |
185,57 |
0,53 |
286,06 |
0,570 |
378,31 |
0,680 |
764,83 |
|
313,81 |
0,420 |
111,10 |
0,490 |
193,47 |
0,55 |
296,86 |
0,590 |
391,58 |
0,710 |
798,58 |
|
333,42 |
0,440 |
116,39 |
0,510 |
201,36 |
0,57 |
307,65 |
0,610 |
404,86 |
0,730 |
821,07 |
|
353,04 |
0,450 |
119,04 |
0,520 |
205,31 |
0,58 |
313,05 |
0,630 |
418,13 |
0,760 |
854,81 |
|
372,65 |
0,470 |
124,33 |
0,540 |
213,21 |
0,60 |
323,85 |
0,650 |
431,41 |
0,780 |
877,31 |
|
392,26 |
0,480 |
126,97 |
0,560 |
221,10 |
0,62 |
334,64 |
0,670 |
444,68 |
0,800 |
899,80 |
|
411,88 |
0,490 |
129,62 |
0,570 |
225,05 |
0,64 |
345,44 |
0,690 |
457,95 |
0,820 |
922,30 |
|
431,49 |
0,510 |
134,91 |
0,590 |
232,95 |
0,65 |
350,83 |
0,700 |
464,59 |
0,840 |
944,79 |
|
451,10 |
0,520 |
137,56 |
0,600 |
236,90 |
0,67 |
361,63 |
0,720 |
477,87 |
0,870 |
978,54 |
|
470,72 |
0,530 |
140,20 |
0,610 |
240,84 |
0,69 |
372,42 |
0,740 |
491,14 |
0,890 |
1001,03 |
|
490,33 |
0,540 |
142,85 |
0,630 |
248,74 |
0,70 |
377,82 |
0,750 |
497,78 |
0,910 |
1023,53 |
|
509,94 |
0,560 |
148,14 |
0,640 |
252,69 |
0,72 |
388,62 |
0,770 |
511,05 |
0,930 |
1046,02 |
|
529,56 |
0,570 |
150,78 |
0,660 |
260,59 |
0,73 |
394,01 |
0,790 |
524,32 |
0,940 |
1057,27 |
|
549,17 |
0,580 |
153,43 |
0,670 |
264,53 |
0,75 |
404,81 |
0,800 |
530,96 |
0,960 |
1079,76 |
|
568,78 |
0,590 |
156,07 |
0,680 |
268,48 |
0,76 |
410,21 |
0,820 |
544,24 |
0,980 |
1102,26 |
|
588,40 |
0,600 |
158,72 |
0,700 |
276,38 |
0,78 |
421,00 |
0,830 |
550,87 |
1,000 |
1124,76 |
|
608,01 |
0,610 |
161,36 |
0,710 |
280,33 |
0,79 |
426,40 |
0,850 |
564,15 |
1,020 |
1147,25 |
|
627,62 |
0,630 |
166,65 |
0,720 |
284,28 |
0,80 |
431,80 |
0,860 |
570,78 |
1,040 |
1169,75 |
|
647,24 |
0,640 |
169,30 |
0,730 |
288,22 |
0,82 |
442,59 |
0,880 |
584,06 |
1,050 |
1180,99 |
|
666,85 |
0,650 |
171,94 |
0,750 |
296,12 |
0,83 |
447,99 |
0,890 |
590,69 |
1,070 |
1203,49 |
|
686,47 |
0,660 |
174,59 |
0,760 |
300,07 |
0,85 |
458,78 |
0,910 |
603,97 |
1,090 |
1225,98 |
|
706,08 |
0,670 |
177,23 |
0,770 |
304,02 |
0,86 |
464,18 |
0,920 |
610,61 |
1,110 |
1248,48 |
|
725,69 |
0,680 |
179,88 |
0,780 |
307,97 |
0,87 |
469,58 |
0,940 |
623,88 |
1,120 |
1259,73 |
|
745,31 |
0,690 |
182,53 |
0,790 |
311,91 |
0,88 |
474,98 |
0,950 |
630,52 |
1,140 |
1282,22 |
|
764,92 |
0,700 |
185,17 |
0,800 |
315,86 |
0,90 |
485,77 |
0,960 |
637,15 |
1,150 |
1293,47 |
|
784,54 |
0,710 |
187,82 |
0,820 |
323,76 |
0,91 |
491,17 |
0,980 |
650,43 |
1,170 |
1315,96 |
|
804,15 |
0,720 |
190,46 |
0,830 |
327,71 |
0,92 |
496,56 |
0,990 |
657,06 |
1,190 |
1338,46 |
|
829,76 |
0,730 |
193,11 |
0,840 |
331,65 |
0,93 |
501,96 |
1,000 |
663,70 |
1,200 |
1349,71 |
|
843,38 |
0,740 |
195,75 |
0,850 |
335,60 |
0,95 |
512,76 |
1,020 |
676,98 |
1,220 |
1372,20 |
|
862,99 |
0,750 |
198,40 |
0,860 |
339,55 |
0,96 |
518,15 |
1,030 |
683,61 |
1,230 |
1383,45 |
|
882,60 |
0,760 |
201,04 |
0,870 |
343,50 |
0,97 |
523,55 |
1,040 |
690,25 |
1,250 |
1405,94 |
|
902,22 |
0,770 |
203,69 |
0,880 |
347,45 |
0,98 |
528,95 |
1,060 |
703,52 |
1,260 |
1417,19 |
|
921,83 |
0,770 |
203,69 |
0,890 |
351,40 |
0,99 |
534,35 |
1,070 |
710,16 |
1,280 |
1439,69 |
|
941,44 |
0,780 |
206,33 |
0,900 |
355,34 |
1,01 |
545,14 |
1,080 |
716,80 |
1,290 |
1450,93 |
|
961,06 |
0,790 |
208,98 |
0,910 |
359,29 |
1,02 |
550,54 |
1,090 |
723,44 |
1,310 |
1473,43 |
|
980,67 |
0,800 |
211,62 |
0,920 |
363,24 |
1,03 |
555,94 |
1,100 |
730,07 |
1,320 |
1484,68 |
|
1019,90 |
0,820 |
216,91 |
0,940 |
371,14 |
1,05 |
566,73 |
1,130 |
749,98 |
1,350 |
1518,42 |
|
1059,12 |
0,840 |
222,20 |
0,960 |
379,03 |
1,07 |
577,53 |
1,150 |
763,26 |
1,380 |
1552,16 |
|
1098,35 |
0,850 |
224,85 |
0,980 |
386,93 |
1,09 |
588,32 |
1,170 |
776,53 |
1,410 |
1585,90 |
|
1137,58 |
0,870 |
230,14 |
1,000 |
394,83 |
1,12 |
604,51 |
1,200 |
796,44 |
1,430 |
1608,40 |
|
1176,80 |
0,890 |
235,43 |
1,020 |
402,72 |
1,14 |
615,31 |
1,220 |
809,72 |
1,460 |
1642,14 |
|
1216,03 |
0,900 |
238,08 |
1,040 |
410,62 |
1,16 |
626,10 |
1,240 |
822,99 |
1,480 |
1664,64 |
|
1255,26 |
0,920 |
243,37 |
1,060 |
418,52 |
1,18 |
636,90 |
1,260 |
836,26 |
1,510 |
1698,38 |
|
1294,48 |
0,930 |
246,01 |
1,080 |
426,41 |
1,20 |
647,65 |
1,280 |
849,54 |
1,540 |
1732,12 |
|
1333,71 |
0,950 |
251,30 |
1,090 |
430,36 |
1,22 |
658,49 |
1,310 |
869,45 |
1,560 |
1754,62 |
|
1372,94 |
0,970 |
256,59 |
1,110 |
438,26 |
1,24 |
669,28 |
1,330 |
882,72 |
1,590 |
1788,36 |
|
1412,16 |
0,980 |
259,24 |
1,130 |
446,15 |
1,26 |
680,08 |
1,350 |
896,00 |
1,610 |
1810,86 |
|
1451,39 |
1,000 |
264,53 |
1,140 |
450,10 |
1,27 |
685,48 |
1,370 |
909,27 |
1,630 |
1833,35 |
|
1490,62 |
1,010 |
267,17 |
1,160 |
458,00 |
1,29 |
696,27 |
1,390 |
922,55 |
1,660 |
1867,09 |
|
1529,84 |
1,030 |
272,47 |
1,180 |
465,90 |
1,31 |
707,07 |
1,410 |
935,82 |
1,680 |
1889,59 |
|
1569,07 |
1,040 |
275,11 |
1,190 |
469,84 |
1,33 |
717,86 |
1,430 |
949,09 |
1,700 |
1912,08 |
|
1600,30 |
1,050 |
277,76 |
1,210 |
477,74 |
1,35 |
728,66 |
1,450 |
962,37 |
1,730 |
1945,83 |
|
1647,52 |
1,070 |
283,05 |
1,230 |
485,64 |
1,37 |
739,45 |
1,460 |
969,00 |
1,750 |
1968,32 |
|
1686,75 |
1,080 |
285,69 |
1,240 |
489,59 |
1,38 |
744,85 |
1,480 |
982,28 |
1,770 |
1990,82 |
|
1725,98 |
1,100 |
290,98 |
1,260 |
497,48 |
1,40 |
755,64 |
1,500 |
995,55 |
1,790 |
2013,31 |
|
1765,21 |
1,110 |
293,63 |
1,270 |
501,43 |
1,42 |
766,44 |
1,520 |
1008,83 |
1,820 |
2047,05 |
|
1804,43 |
1,120 |
296,27 |
1,290 |
509,33 |
1,43 |
771,83 |
1,540 |
1022,10 |
1,840 |
2069,55 |
|
1843,66 |
1,140 |
301,56 |
1,300 |
515,28 |
1,45 |
782,63 |
1,560 |
1035,38 |
1,860 |
2092,04 |
|
1882,89 |
1,150 |
304,21 |
1,320 |
521,17 |
1,47 |
793,42 |
1,570 |
1042,01 |
1,880 |
2114,54 |
|
1922,11 |
1,160 |
306,85 |
1,330 |
525,12 |
1,48 |
798,82 |
1,590 |
1055,29 |
1,900 |
2137,03 |
|
1961,34 |
1,170 |
309,50 |
1,350 |
533,02 |
1,50 |
809,62 |
1,610 |
1068,56 |
1,920 |
2159,53 |
|
2010,37 |
1,190 |
314,79 |
1,370 |
540,91 |
1,52 |
820,41 |
1,630 |
1081,83 |
1,950 |
2193,27 |
|
2059,41 |
1,210 |
320,08 |
1,390 |
548,81 |
1,54 |
831,21 |
1,650 |
1095,11 |
1,970 |
2215,77 |
|
2108,44 |
1,220 |
322,73 |
1,400 |
552,76 |
1,56 |
842,00 |
1,670 |
1108,38 |
2,000 |
2249,51 |
|
2157,47 |
1,240 |
328,02 |
1,420 |
560,65 |
1,58 |
852,80 |
1,700 |
1128,29 |
2,020 |
2272,01 |
|
2206,51 |
1,250 |
330,66 |
1,440 |
568,55 |
1,60 |
863,59 |
1,720 |
1141,57 |
2,050 |
2305,75 |
|
2255,54 |
1,270 |
335,95 |
1,460 |
576,45 |
1,62 |
874,39 |
1,740 |
1154,84 |
2,070 |
2328,24 |
|
2304,57 |
1,280 |
338,60 |
1,470 |
580,40 |
1,64 |
885,18 |
1,760 |
1168,12 |
2,100 |
2361,99 |
|
2353,61 |
1,300 |
343,89 |
1,490 |
588,29 |
1,66 |
895,98 |
1,780 |
1181,39 |
2,120 |
2384,48 |
|
2402,64 |
1,310 |
346,53 |
1,510 |
596,19 |
1,68 |
906,77 |
1,800 |
1194,66 |
2,140 |
2406,98 |
|
2451,67 |
1,330 |
351,82 |
1,520 |
600,14 |
1,69 |
912,17 |
1,820 |
1207,94 |
2,170 |
2440,72 |
|
2500,71 |
1,340 |
354,47 |
1,540 |
608,09 |
1,71 |
922,96 |
1,840 |
1221,21 |
2,190 |
2463,21 |
|
2549,74 |
1,360 |
359,76 |
1,560 |
615,93 |
1,73 |
933,76 |
1,860 |
1234,49 |
2,210 |
2485,71 |
|
2598,77 |
1,370 |
362,41 |
1,570 |
619,88 |
1,75 |
944,55 |
1,870 |
1241,12 |
2,240 |
2519,45 |
|
2647,81 |
1,380 |
365,05 |
1,590 |
627,78 |
1,77 |
955,35 |
1,890 |
1254,40 |
2,260 |
2541,95 |
|
2696,84 |
1,400 |
370,34 |
1,600 |
631,72 |
1,78 |
960,75 |
1,910 |
1267,67 |
2,280 |
2564,44 |
|
2745,88 |
1,410 |
372,99 |
1,620 |
639,62 |
1,80 |
971,54 |
1,930 |
1280,94 |
2,300 |
2586,94 |
|
2794,91 |
1,430 |
378,28 |
1,640 |
647,52 |
1,82 |
982,34 |
1,950 |
1294,22 |
2,320 |
2609,43 |
|
2843,94 |
1,440 |
380,92 |
1,650 |
651,46 |
1,84 |
993,13 |
1,970 |
1307,49 |
2,350 |
2643,17 |
|
2892,98 |
1,450 |
383,57 |
1,670 |
659,36 |
1,85 |
998,53 |
1,990 |
1320,77 |
2,370 |
2665,67 |
|
2942,01 |
1,470 |
388,86 |
1,680 |
663,31 |
1,87 |
1009,32 |
2,000 |
1327,40 |
2,390 |
2688,16 |
|
2991,04 |
1,480 |
391,50 |
1,700 |
671,21 |
1,89 |
1020,12 |
2,020 |
1340,68 |
2,410 |
2710,66 |
|
3040,08 |
1,490 |
394,15 |
1,710 |
675,15 |
1,90 |
1025,51 |
2,040 |
1353,95 |
2,430 |
2733,15 |
|
3089,11 |
1,510 |
399,44 |
1,730 |
683,05 |
1,92 |
1036,31 |
2,060 |
1367,23 |
2,450 |
2755,65 |
|
3138,14 |
1,520 |
402,08 |
1,740 |
687,00 |
1,94 |
1047,10 |
2,070 |
1373,86 |
2,470 |
2778,15 |
|
3187,18 |
1,530 |
404,73 |
1,760 |
694,90 |
1,95 |
1052,50 |
2,090 |
1387,14 |
2,490 |
2800,64 |
|
3236,21 |
1,540 |
407,38 |
1,770 |
698,84 |
1,97 |
1063,30 |
2,110 |
1400,41 |
2,510 |
2823,14 |
|
3285,24 |
1,560 |
412,67 |
1,790 |
706,74 |
1,98 |
1068,69 |
2,130 |
1413,69 |
2,530 |
2845,63 |
|
3334,28 |
1,570 |
415,31 |
1,800 |
710,69 |
2,00 |
1079,49 |
2,140 |
1420,32 |
2,550 |
2868,13 |
|
3383,31 |
1,580 |
417,96 |
1,810 |
714,64 |
2,02 |
1090,28 |
2,160 |
1433,60 |
2,570 |
2890,62 |
|
3432,34 |
1,590 |
420,60 |
1,830 |
722,53 |
2,03 |
1095,68 |
2,180 |
1446,87 |
2,590 |
2913,12 |
|
3481,38 |
1,610 |
425,89 |
1,840 |
726,48 |
2,05 |
1106,48 |
2,190 |
1453,51 |
2,610 |
2935,61 |
|
3530,41 |
1,620 |
428,54 |
1,860 |
734,38 |
32,06 |
1111,87 |
2,210 |
1466,78 |
2,630 |
2958,11 |
|
3579,44 |
1,630 |
431,18 |
1,870 |
738,33 |
2,08 |
1122,67 |
2,230 |
1480,06 |
2,650 |
2980,60 |
|
3628,48 |
1,640 |
433,83 |
1,880 |
742,28 |
2,09 |
1128,07 |
2,240 |
1486,69 |
2,670 |
3003,10 |
|
3677,51 |
1,660 |
439,12 |
1,900 |
750,17 |
2,11 |
1138,86 |
2,260 |
1499,97 |
2,690 |
3025,59 |
|
3726,55 |
1,670 |
441,76 |
1,910 |
754,12 |
2,12 |
1144,26 |
2,280 |
1513,24 |
2,710 |
3048,09 |
|
3775,58 |
1,680 |
444,41 |
1,920 |
758,07 |
2,14 |
1155,05 |
2,290 |
1519,88 |
2,730 |
3070,58 |
|
3824,61 |
1,690 |
447,05 |
1,940 |
765,96 |
2,15 |
1160,45 |
2,310 |
1533,15 |
2,750 |
3093,08 |
|
3873,65 |
1,700 |
449,70 |
1,950 |
769,91 |
2,17 |
1171,25 |
2,320 |
1539,79 |
2,770 |
3115,57 |
|
3922,68 |
1,710 |
452,35 |
1,960 |
773,86 |
2,18 |
1176,64 |
2,340 |
1553,06 |
2,790 |
3138,07 |
|
4020,75 |
1,740 |
460,28 |
1,990 |
785,71 |
2,22 |
1192,84 |
2,370 |
1572,97 |
2,820 |
3171,81 |
|
4118,81 |
1,760 |
465,57 |
2,020 |
795,55 |
2,24 |
1209,03 |
2,400 |
1592,88 |
2,860 |
3216,80 |
|
4216,88 |
1,780 |
470,86 |
2,040 |
805,45 |
2,27 |
1225,22 |
2,430 |
1612,80 |
2,900 |
3261,79 |
|
4314,95 |
1,810 |
478,80 |
2,070 |
817,29 |
2,30 |
1241,41 |
2,460 |
1632,71 |
2,930 |
3295,53 |
|
4413,01 |
1,830 |
484,09 |
2,090 |
825,19 |
2,33 |
1257,60 |
2,490 |
1652,62 |
2,970 |
3340,52 |
|
4511,08 |
1,850 |
489,38 |
2,120 |
837,03 |
2,35 |
1268,40 |
2,520 |
1672,53 |
3,000 |
3374,27 |
|
4609,15 |
1,870 |
494,67 |
2,140 |
844,93 |
2,38 |
1284,59 |
2,550 |
1692,44 |
|
|
|
4707,22 |
1,890 |
499,96 |
2,170 |
856,78 |
2,41 |
1300,78 |
2,580 |
1712,35 |
|
|
|
4805,28 |
1,910 |
505,25 |
2,190 |
864,67 |
2,43 |
1311,58 |
2,610 |
1732,26 |
|
|
|
4903,35 |
1,930 |
510,54 |
2,220 |
876,52 |
2,46 |
1327,77 |
2,640 |
1752,17 |
|
|
|
5001,42 |
1,960 |
518,48 |
2,240 |
884,41 |
2,49 |
1343,96 |
2,660 |
1765,45 |
|
|
|
5099,48 |
1,980 |
523,77 |
2,260 |
892,31 |
2,51 |
1354,76 |
2,690 |
1785,36 |
|
|
|
5197,55 |
2,000 |
529,06 |
2,290 |
904,15 |
2,54 |
1370,95 |
2,720 |
1805,27 |
|
|
|
5295,62 |
2,020 |
534,35 |
2,310 |
912,05 |
2,56 |
1381,75 |
2,750 |
1825,18 |
|
|
|
5393,68 |
2,040 |
539,64 |
2,330 |
919,95 |
2,59 |
1397,94 |
2,770 |
1838,45 |
|
|
|
5491,75 |
2,060 |
544,93 |
2,360 |
931,79 |
2,62 |
1414,13 |
2,800 |
1858,37 |
|
|
|
5589,82 |
2,080 |
550,22 |
2,380 |
939,69 |
2,64 |
1424,93 |
2,830 |
1878,28 |
|
|
|
5687,89 |
2,100 |
555,51 |
2,400 |
947,59 |
2,66 |
1435,72 |
2,850 |
1891,55 |
|
|
|
5785,95 |
2,120 |
560,80 |
2,420 |
955,48 |
2,69 |
1451,91 |
2,880 |
1911,46 |
|
|
|
5884,02 |
2,130 |
563,45 |
2,440 |
963,38 |
2,71 |
1462,71 |
2,910 |
1931,37 |
|
|
|
5982,09 |
2,150 |
568,74 |
2,470 |
975,22 |
2,74 |
1478,90 |
2,930 |
1944,65 |
|
|
|
6080,15 |
2,170 |
574,03 |
2,490 |
983,12 |
2,76 |
1489,69 |
2,960 |
1964,56 |
|
|
|
6178,22 |
2,190 |
579,32 |
2,510 |
991,02 |
2,79 |
1505,89 |
2,980 |
1977,83 |
|
|
|
6276,29 |
2,210 |
584,61 |
2,530 |
998,91 |
2,81 |
1516,68 |
3,000 |
1991,11 |
|
|
|
6374,35 |
2,230 |
589,90 |
2,550 |
1006,81 |
2,83 |
1527,48 |
|
|
|
|
|
6472,42 |
2,250 |
595,19 |
2,570 |
1014,71 |
2,86 |
1543,67 |
|
|
|
|
|
6570,49 |
2,270 |
600,48 |
2,590 |
1022,60 |
2,88 |
1554,46 |
|
|
|
|
|
6668,56 |
2,280 |
603,13 |
2,610 |
1030,50 |
2,90 |
1565,26 |
|
|
|
|
|
6766,62 |
2,300 |
608,42 |
2,630 |
1038,40 |
2,92 |
1576,05 |
|
|
|
|
|
6864,69 |
2,320 |
613,71 |
2,650 |
1046,29 |
2,95 |
1592,25 |
|
|
|
|
|
6962,76 |
2,340 |
619,00 |
2,680 |
1058,14 |
2,97 |
1603,04 |
|
|
|
|
|
7060,82 |
2,360 |
624,29 |
2,700 |
1066,03 |
2,99 |
1613,84 |
|
|
|
|
|
7158,90 |
2,370 |
626,93 |
2,720 |
1073,93 |
3,00 |
1619,23 |
|
|
|
|
|
7256,96 |
2,390 |
632,23 |
2,740 |
1081,83 |
|
|
|
|
|
|
|
7355,02 |
2,410 |
637,52 |
2,750 |
1085,77 |
|
|
|
|
|
|
|
7453,09 |
2,420 |
640,16 |
2,770 |
1093,67 |
|
|
|
|
|
|
|
7551,16 |
2,440 |
645,45 |
2,790 |
1101,57 |
|
|
|
|
|
|
|
7649,23 |
2,460 |
650,74 |
2,810 |
1109,46 |
|
|
|
|
|
|
|
7747,29 |
2,480 |
656,03 |
2,830 |
1117,36 |
|
|
|
|
|
|
|
7845,36 |
2,490 |
658,68 |
2,850 |
1125,26 |
|
|
|
|
|
|
Таблица B.1 - Соединительные детали для монтажа систем из металлополимерных труб по ТУ 2248-001-29325094-97, ТУ 2248-004-07629379-97
|
№ п.п. |
Наименование и эскиз детали |
Размеры, дюйм, мм |
|
1 |
Соединение с обжимной гайкой
|
1/2´1216 3/4´1620 1´2025 |
|
2 |
Соединение переходное с обжимной гайкой и обжимным кольцом
|
1/2´1014 3/4´1216 1´1620 |
|
3 |
Соединение с обжимной гайкой для терморегуляторов
|
M22´1,5/10-14 M22´1,5/12-16 M24´1,5/12-16 G3/4´10-14 G3/4´12-16 |
|
4 |
Гайка накидная латунная
|
1014´3/8 1216´1/2 1620´3/4 2025´1 |
|
5 |
Угольник Н
|
1/2 3/4 |
|
6 |
Угольник В
|
1/2 3/4 |
|
7 |
Угольник Н-В
|
1/2 3/4 1 |
|
8 |
Установочный угольник
|
1/2 |
|
9 |
Тройник Н
|
1/2 3/4 1 |
|
10 |
Тройник переходной Н
|
1´3/4´1 |
|
11 |
Тройник В
|
1/2 3/4 |
|
12 |
Тройник переходной H-B-H
|
3/4´1/2´3/4 |
|
13 |
Тройник плоский с креплением
|
1/2 |
|
14 |
Тройник угловой с креплением
|
1/2 |
|
15 |
Крестовина переходная
|
3/4´1/2 1´3/4 |
|
16 |
Ниппель Н
|
1/2 3/4 1 |
|
17 |
Ниппель переходной
|
1/2´3/4 3/4´1 |
|
18 |
Муфта
|
1/2 3/4 1 |
|
19 |
Переходник H-B
|
1/2 3/4 1 |
|
20 |
Переходник переходной H-B
|
1/2´3/4 3/4´1 |
|
21 |
Заглушка Н
|
1/2 3/4 1 |
|
22 |
Заглушка В
|
1/2 3/4 1 |
|
23 |
Распределитель
|
G1-2´1/2 |
|
24 |
Коллектор
|
R2 R3 R4 R5 R6 R7 R8 R9 R10 R11 R12 |
|
25 |
Фиксатор пластмассовый одинарный
|
10 - 14 12 - 16 16 - 20 20 - 25 |
|
26 |
Фиксатор пластмассовый двойной
|
20 - 25 |
Таблица В.2 - Сортамент фитингов «МЕТАПОЛ», выпускаемых ТОО НПП «ВладВЭД»
|
п.п. |
Наименование и эскиз детали |
Размеры, мм, дюйм |
|||||
|
А |
Б |
С |
С1 |
a |
б |
||
|
1 |
Колено С
|
|
|
|
|
|
|
|
12 |
12 |
31,2 |
31,2 |
25 |
25 |
||
|
15 |
15 |
33,2 |
33,2 |
29 |
29 |
||
|
20 |
20 |
38 |
38 |
35 |
35 |
||
|
26 |
26 |
46,5 |
46,5 |
43 |
43 |
||
|
32 |
32 |
62 |
62 |
56 |
56 |
||
|
40 |
40 |
67 |
67 |
63,5 |
63,5 |
||
|
2 |
Колено с внутренней резьбой
|
|
|
|
|
|
|
|
12 |
1/2 |
31,2 |
22 |
25 |
26,8 |
||
|
15 |
1/2 |
33,2 |
24 |
29 |
26,8 |
||
|
20 |
1/2 |
38 |
23 |
35 |
26,8 |
||
|
20 |
3/4 |
38 |
23 |
35 |
31,7 |
||
|
20 |
1 |
40 |
24 |
35 |
37,8 |
||
|
26 |
1 |
46,5 |
30 |
43 |
37,8 |
||
|
32 |
5/4 |
62 |
37 |
56 |
50,8 |
||
|
40 |
3/2 |
67 |
48 |
63,5 |
58,5 |
||
|
3 |
Колено с внутренней резьбой удлиненное
|
|
|
|
|
|
|
|
12 |
1/2 |
31,2 |
37 |
25 |
26,8 |
||
|
15 |
1/2 |
33,2 |
42,0 |
29 |
26,8 |
||
|
4 |
Муфта
|
|
|
|
|
|
|
|
12 |
12 |
38,8 |
- |
25 |
25 |
||
|
15 |
15 |
39,8 |
- |
29 |
29 |
||
|
20 |
20 |
44,0 |
- |
35 |
35 |
||
|
26 |
26 |
51,0 |
- |
43 |
43 |
||
|
32 |
32 |
60,0 |
- |
56 |
56 |
||
|
40 |
40 |
80,0 |
- |
63,5 |
63,5 |
||
|
5 |
Муфта с внутренней резьбой
|
|
|
|
|
|
|
|
12 |
1/2 |
35,4 |
- |
25 |
21,9 |
||
|
15 |
1/2 |
35,9 |
- |
29 |
26,8 |
||
|
15 |
3/4 |
36,9 |
- |
29 |
31,7 |
||
|
20 |
3/4 |
38,0 |
- |
35 |
31,7 |
||
|
20 |
1 |
43,5 |
- |
35 |
37,8 |
||
|
26 |
1 |
47,5 |
- |
43 |
37,8 |
||
|
32 |
5/4 |
57,5 |
- |
56 |
50,8 |
||
|
40 |
3/2 |
77,0 |
- |
63,5 |
58,5 |
||
|
6 |
Муфта с наружной резьбой
|
|
|
|
|
|
|
|
12 |
1/2 |
37,5 |
- |
25 |
21,9 |
||
|
15 |
1/2 |
38 |
- |
29 |
26,8 |
||
|
15 |
3/4 |
39,5 |
- |
29 |
31,7 |
||
|
20 |
3/4 |
40,5 |
- |
35 |
31,7 |
||
|
20 |
1 |
44,5 |
- |
35 |
37,8 |
||
|
26 |
1 |
47,5 |
- |
43 |
37,8 |
||
|
32 |
5/4 |
53,5 |
- |
56 |
50,8 |
||
|
40 |
3/2 |
68,5 |
- |
63,5 |
58,5 |
||
|
7 |
Заглушка
|
|
|
|
|
|
|
|
12 |
- |
25,5 |
- |
25 |
21,9 |
||
|
15 |
- |
26,0 |
- |
29 |
26,8 |
||
|
20 |
- |
27,0 |
- |
35 |
31,7 |
||
|
8 |
Муфта-переходник
|
|
|
|
|
|
|
|
12 |
15 |
40,8 |
- |
25 |
29 |
||
|
20 |
15 |
42,4 |
- |
35 |
29 |
||
|
26 |
15 |
44,0 |
- |
43 |
29 |
||
|
26 |
20 |
46,0 |
- |
43 |
35 |
||
|
32 |
20 |
49,0 |
- |
56 |
35 |
||
|
32 |
26 |
55,0 |
- |
56 |
43 |
||
|
40 |
15 |
57,0 |
- |
63,5 |
29 |
||
|
40 |
20 |
71,0 |
- |
63,5 |
35 |
||
|
40 |
26 |
75,0 |
- |
63,5 |
43 |
||
|
40 |
32 |
77,0 |
- |
63,5 |
56 |
||
Окончание таблицы В.2
|
№ п.п. |
Наименование и эскиз детали |
Размеры, мм, дюйм |
|||||||
|
А |
Б |
В |
С |
С1 |
а |
б |
в |
||
|
9 |
Тройник
|
12 |
12 |
12 |
62,4 |
31,2 |
25 |
25 |
25 |
|
15 |
15 |
15 |
66,5 |
33,25 |
29 |
29 |
29 |
||
|
20 |
20 |
20 |
76,0 |
38,0 |
35 |
35 |
35 |
||
|
26 |
26 |
26 |
90,0 |
45,0 |
43 |
43 |
43 |
||
|
32 |
32 |
32 |
125,0 |
62,5 |
56 |
56 |
56 |
||
|
40 |
40 |
40 |
145 |
72,0 |
63,5 |
63,5 |
63,5 |
||
|
12 |
12 |
15 |
65,0 |
31,0 |
25 |
25 |
29 |
||
|
15 |
15 |
12 |
62,0 |
32,5 |
29 |
29 |
25 |
||
|
15 |
15 |
20 |
74,0 |
35,0 |
29 |
29 |
35 |
||
|
20 |
15 |
15 |
70,0 |
37,0 |
35 |
29 |
29 |
||
|
20 |
20 |
12 |
70,0 |
35,0 |
35 |
35 |
25 |
||
|
20 |
20 |
15 |
70,0 |
35,0 |
35 |
35 |
29 |
||
|
26 |
26 |
15 |
76,5 |
43,0 |
43 |
43 |
29 |
||
|
26 |
26 |
20 |
81,0 |
43,0 |
43 |
43 |
35 |
||
|
32 |
32 |
20 |
100,5 |
50,5 |
56 |
56 |
35 |
||
|
32 |
32 |
26 |
108,0 |
56,0 |
56 |
56 |
43 |
||
|
40 |
40 |
32 |
130,0 |
65,0 |
63,5 |
63,5 |
56 |
||
|
10 |
Тройник с внутренней резьбой
|
12 |
12 |
1/2 |
62,4 |
22 |
25 |
25 |
- |
|
15 |
15 |
1/2 |
64 |
21 |
29 |
29 |
- |
||
|
15 |
15 |
1/2 |
64 |
31 |
29 |
29 |
- |
||
|
20 |
20 |
3/4 |
80 |
24 |
35 |
35 |
- |
||
|
20 |
20 |
1 |
88 |
29 |
35 |
35 |
- |
||
|
26 |
26 |
1 |
93 |
31,5 |
43 |
43 |
- |
||
|
40 |
40 |
1/2 |
110 |
38 |
63,5 |
63,5 |
- |
||
|
40 |
40 |
3/4 |
120 |
43 |
63,5 |
63,5 |
- |
||
|
40 |
40 |
1 |
125 |
50 |
63,5 |
63,5 |
- |
||
|
40 |
40 |
5/4 |
130 |
60 |
63,5 |
63,5 |
- |
||
|
40 |
40 |
3/2 |
140 |
70 |
63,5 |
63,5 |
- |
||
|
Примечания 1 Фитинги для труб внутренним диаметром больше 32 мм могут быть выполнены из чугуна, покрытого тефлоном. 2 Сортамент фитингов для труб внутренним диаметром больше 40 мм следует уточнить в ТОО НПП «ВладВЭД». |
|||||||||
Таблица Г.1 - Сортамент соединительных деталей для металлополимерных труб по ТУ 2248-004-07629379-97
В миллиметрах
|
№ п.п. |
Наименование и эскиз детали |
dн |
D |
L |
Масса, г |
Назначение |
|
1 |
Соединение штуцерное с накидной гайкой и обжимной втулкой
|
16 |
G1/2-B |
42 |
60 |
Применяется в напорных системах с температурой воды до 90 °С и давлением до 1 МПа для присоединения к арматуре с наружной резьбой, к отопительным приборам |
|
2 |
Соединение штуцерное с наружной резьбой и обжимной втулкой
|
16 |
G1/2-B |
43 |
48 |
То же, для присоединения к муфтовой арматуре и стандартным фасонным частям с трубной резьбой |
Ключевые слова: система отопления, металлополимерные трубы, проектирование, монтаж
|
_________________________________________________________ |